ARCHITECTURE OF 8086MICROPROCESSOR 
By 
A.S.Krishna
What is a Microprocessor ? 
A microprocessor incorporates the functions of a 
computer's central processing unit (CPU) on a single 
integrated circuit (IC), or at most a few integrated 
circuits. 
The microprocessor is a multipurpose, programmable 
device that accepts digital data as input, processes it 
according to instructions stored in its memory, and 
provides results as output. It has internal memory. 
Microprocessors operate on numbers and symbols 
represented in the binary numeral system.
What is 8086 Microprocessor ? 
The 8086 is also called iAPX 86. It is a 16-bit 
microprocessor chip designed by Intel between early 
1976 and mid-1978, when it was released. 
It is notable as the processor used in the original IBM 
PC.
Architecture of an 8086 
Microprocessor 
The architecture of 8086 provides a number of 
improvements over 8085 architecture. 
It supports a 16-bit ALU, a set of 16-bit registers 
and provides segmented memory addressing 
capability, a rich instruction set, powerful interrupt 
structure, fetched instruction queue for overlapped 
fetching and execution etc.,
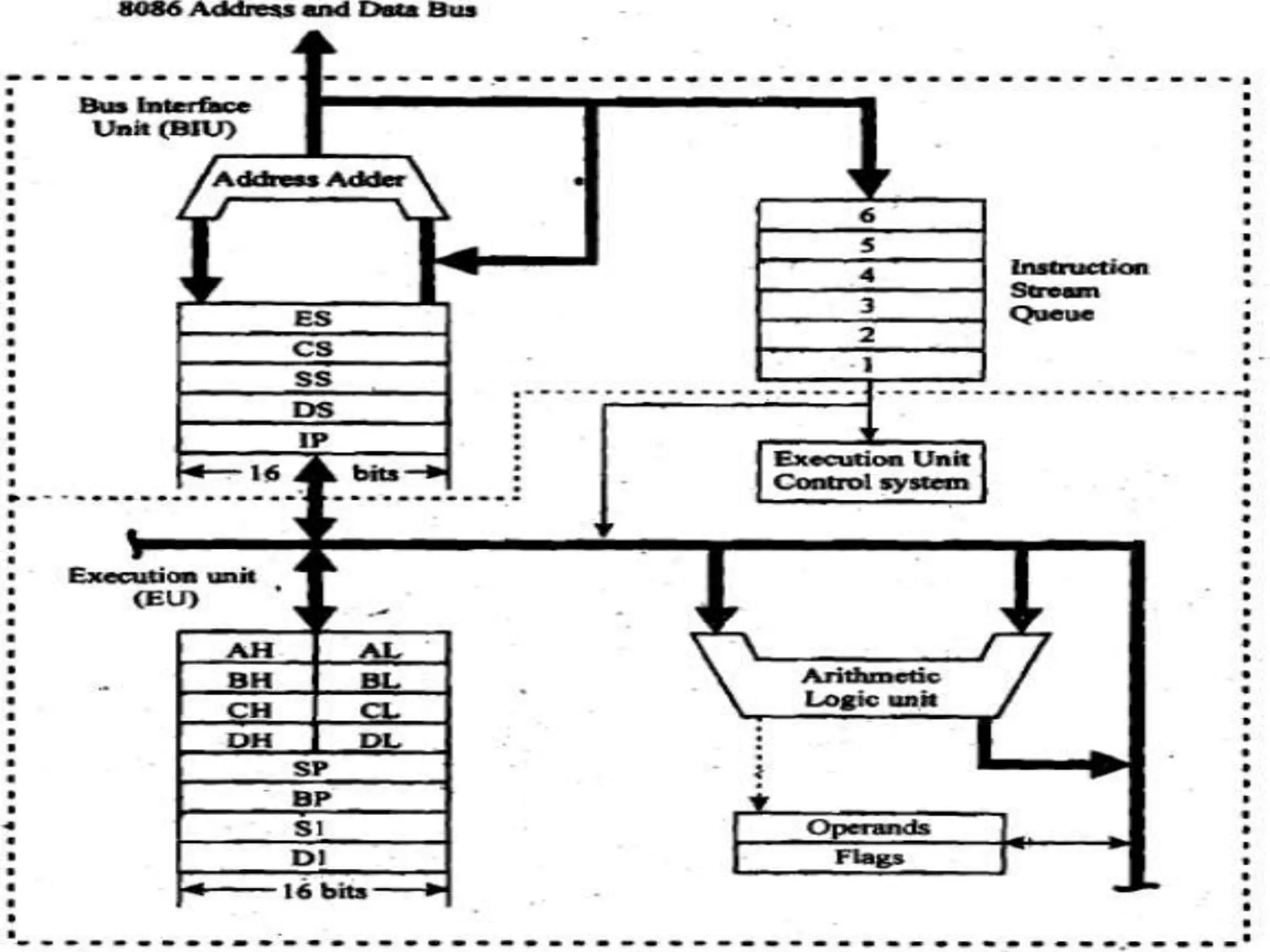
Bus Interface Unit (BIU) 
In the BIU we have some collection components. They 
are:- 
1. Address Adder. 
2. Segment Registers and Program Counter. 
3. Instruction Queue
1. Address Adder 
In the address adder the adder adds 
the addresses and transfer them to the 
memory though the internal data bus 
path.
2. Segment Registers and 
Program Counter 
Segment Registers 
Code segment 
Data segment 
Stack segment 
Extra segment 
Segment Registers 
CS 
DS 
SS 
ES 
Program Counter 
IP 
Program Counter 
Instruction Pointer
3. Instruction Queue 
Instruction Queue 
6 
5 
4 
3 
2 
1 
This a Queue which can 
store the given instructions 
one-by-one.
Execution Unit(EU) 
In the EU we have some collection components. 
They are:- 1. General Registers. 
2. Execution Unit Control System. 
3. ALU 
4. Operands and Flags.
1. General Registers 
 In this we have two types of registers. 
They are:- 1. Main Registers. 
2. Index Registers. 
Main Registers 
AH AL AX(Primary accumulator) 
BH BL BX(Base accumulator) 
CH CL CX(Counter accumulator) 
DH DL DX(accumulator other 
funtions)
Index Registers 
SP Stack Pointer 
BP Base Pointer 
SI Source Index 
DI Destination Index
2. Execution Unit Control System 
In this unit the Execution is controlled and is 
transferred to the all other components through the 
internal data bus. 
3. ALU(Arithmetic Logical Unit) 
Here all the ALU operation are performed and 
transferred the data through the internal data bus.
4.Flags Registers 
This flag is identical to 8085 flag register, with an 
additional overflow flag, which is not present in 8085. 
The 8086 has a 16-bit flag register which is divided into 
two parts, viz.(a) condition code (or) status flags and (b) 
machine control flags. 
The condition code flag register is the lower byte of the 
16-bit flag register along with the overflow flag. 
 The machine control flag register is the higher byte of 
the flag register of 8086 which contains three flags, viz. 
direction flag(D), interrupt flag(I) and trap flag(T).
The bit configuration of 8086 flag 
register. 
15 14 13 12 11 10 9 8 7 6 5 4 3 2 1 0 
X X X X O D I T S Z X Ac X P X Cy 
O – Overflow flag 
D – Direction flag 
I – Interrupt flag 
T – Trap flag 
S – Sign flag 
Z – Zero flag 
Ac – Auxillary carry flag 
P – Parity flag 
Cy – Carry flag 
X – Not used (or) Future use
Memory Address and data bus interface 
Address/Status 
A16/S3 
Address/Data 
AD0/AD15 
Instruction Queue (6 bytes) 
Decoding circuit 
Timing and control circuit 
Clock and control signals 
Address Adder 
CS 
DS 
SS 
ES 
IP 
ALU (16) 
FLAGS (16) 
15 0 
AH AL 
BH BL 
CH CL 
DH DL 
IP 
IP 
IP 
IP 
AX 
BX 
CX 
DX 
Register Bank 
B 
I 
U 
E 
U
Pin Diagram of 
8086 
Microprocessor
MPMC Microprocessor
MPMC Microprocessor

MPMC Microprocessor

  • 1.
  • 2.
    What is aMicroprocessor ? A microprocessor incorporates the functions of a computer's central processing unit (CPU) on a single integrated circuit (IC), or at most a few integrated circuits. The microprocessor is a multipurpose, programmable device that accepts digital data as input, processes it according to instructions stored in its memory, and provides results as output. It has internal memory. Microprocessors operate on numbers and symbols represented in the binary numeral system.
  • 3.
    What is 8086Microprocessor ? The 8086 is also called iAPX 86. It is a 16-bit microprocessor chip designed by Intel between early 1976 and mid-1978, when it was released. It is notable as the processor used in the original IBM PC.
  • 4.
    Architecture of an8086 Microprocessor The architecture of 8086 provides a number of improvements over 8085 architecture. It supports a 16-bit ALU, a set of 16-bit registers and provides segmented memory addressing capability, a rich instruction set, powerful interrupt structure, fetched instruction queue for overlapped fetching and execution etc.,
  • 6.
    Bus Interface Unit(BIU) In the BIU we have some collection components. They are:- 1. Address Adder. 2. Segment Registers and Program Counter. 3. Instruction Queue
  • 7.
    1. Address Adder In the address adder the adder adds the addresses and transfer them to the memory though the internal data bus path.
  • 9.
    2. Segment Registersand Program Counter Segment Registers Code segment Data segment Stack segment Extra segment Segment Registers CS DS SS ES Program Counter IP Program Counter Instruction Pointer
  • 11.
    3. Instruction Queue Instruction Queue 6 5 4 3 2 1 This a Queue which can store the given instructions one-by-one.
  • 13.
    Execution Unit(EU) Inthe EU we have some collection components. They are:- 1. General Registers. 2. Execution Unit Control System. 3. ALU 4. Operands and Flags.
  • 14.
    1. General Registers  In this we have two types of registers. They are:- 1. Main Registers. 2. Index Registers. Main Registers AH AL AX(Primary accumulator) BH BL BX(Base accumulator) CH CL CX(Counter accumulator) DH DL DX(accumulator other funtions)
  • 15.
    Index Registers SPStack Pointer BP Base Pointer SI Source Index DI Destination Index
  • 17.
    2. Execution UnitControl System In this unit the Execution is controlled and is transferred to the all other components through the internal data bus. 3. ALU(Arithmetic Logical Unit) Here all the ALU operation are performed and transferred the data through the internal data bus.
  • 19.
    4.Flags Registers Thisflag is identical to 8085 flag register, with an additional overflow flag, which is not present in 8085. The 8086 has a 16-bit flag register which is divided into two parts, viz.(a) condition code (or) status flags and (b) machine control flags. The condition code flag register is the lower byte of the 16-bit flag register along with the overflow flag.  The machine control flag register is the higher byte of the flag register of 8086 which contains three flags, viz. direction flag(D), interrupt flag(I) and trap flag(T).
  • 20.
    The bit configurationof 8086 flag register. 15 14 13 12 11 10 9 8 7 6 5 4 3 2 1 0 X X X X O D I T S Z X Ac X P X Cy O – Overflow flag D – Direction flag I – Interrupt flag T – Trap flag S – Sign flag Z – Zero flag Ac – Auxillary carry flag P – Parity flag Cy – Carry flag X – Not used (or) Future use
  • 22.
    Memory Address anddata bus interface Address/Status A16/S3 Address/Data AD0/AD15 Instruction Queue (6 bytes) Decoding circuit Timing and control circuit Clock and control signals Address Adder CS DS SS ES IP ALU (16) FLAGS (16) 15 0 AH AL BH BL CH CL DH DL IP IP IP IP AX BX CX DX Register Bank B I U E U
  • 23.
    Pin Diagram of 8086 Microprocessor