E3145/6/1
THE TRANSFER FUNCTION
THE TRANSFER FUNCTION
OBJECTIVES
General Objective : To understand and interpret the concept of transfer
function.
Specific Objectives : At the end of the unit you will be able to :
 State the definition of transfer function.
 Identify the transfer function from a simple electric
circuit.
 Solve the transfer function from block diagram of open-
loop control system and closed-loop control system.
 Reduce a block diagram of multiple subsystem to a
single block representing the transfer function from input
to output.
 Rewrite the reduction method of block diagram.
UNIT6
E3145/6/2
THE TRANSFER FUNCTION
6.0 EXPLANATION OF THE TRANSFER FUNCTION
In this unit we discuss how to find a mathematical model, called a
Transfer Function, for linear, time-invariant electrical, mechanical and
electromechanical systems. The transfer functions is define as G(s) =
C(s)/R(s), or the ratio of the Laplace transform of the output to the Laplace
Transform of the input. This relationship is algebraic and also adapts itself to
modeling interconnected subsystems.
We realize that the physical world consists of more systems than what
we have illustrated in this unit. For example, we could apply transfer function
modeling to electrical systems. Of course, we must assume these systems to
be linear, or make linear approximations, in order to use this modeling
technique.
6.1 DEFINITION OF TRANSFER FUNCTION
INPUTINPUT
The “transfer function” of a
system is :
The ratio of Laplace
Transform of the output
variable to the Laplace
Transform of the input
variable with all the initial
conditions zero.
E3145/6/3
THE TRANSFER FUNCTION
Whenever a system is perturbed by some input signal all, of the
dependent variables in the system vary as a result. The “transfer function”
of a system is the ratio of Laplace Transform of the output variable to
the Laplace Transform of the input variable with all the initial
conditions zero. When a physical system is analysed, a mathematical
model is developed by writing differential equations with the help of various
physical laws governing the system.
The steps involved in obtaining the transfer function are as follows :
(i) Write the differential equations governing the system.
(ii) Laplace Transform the equations i.e, to replace the terms
involving d/dt by s and ∫ dt by 1/s .
(iii) Obtain the ratio of Transformed output to input variables.
6.2 DERIVATION OF TRANSFER FUNCTION FROM THE EASIER
ELECTRIC CIRCUIT
There are assumptions made while deriving Transfer Function of
electrical systems.
(i) When a device is a part of a larger system, it should not load
the source which provides it input signal, i.e., ideally the source
should have zero (or low) internal impedance.
(ii) The output of the device should not be loaded by the
component that receives its output signal. The systems is
approximated by linear lumped parameters model with suitable
assumptions
The loading effects occur with electrical, mechanical, electromechanical and
fluid devices and should be taken into account while deriving transfer
functions.
E3145/6/4
THE TRANSFER FUNCTION
Let us now implement the procedure of the deriving the transfer
functions through various examples to follow :
Example 6.1 : Obtain the transfer function of the circuit shown in Figure 6.1
Figure 6.1 : An RLC electrical circuit
(Source : Katsuhiko Ogata (1990), Modern Control Engineering)
Assume the current response i (t) due to a change in applied voltage
v (t) is required.
Application of Kirchhoff’s voltage law around the circuit gives
∫++= idt
Cdt
di
LtRitvi
1
)()(
(6.2.1)
∫= idt
C
tvo
1
)(
(6.2.2)
Laplace Transforming equations (6.2.1) and (6.2.2) we have,
)(
1
)()()( sI
Cs
sLsIsRIsVi ++= (6.2.3)
R L
C vo
(t)vi
(t)
E3145/6/5
THE TRANSFER FUNCTION
)(
1
)( sI
Cs
sVo = (6.2.4)
Hence we have from equations (6.2.3) and (6.2.4),
1
1
)(
)(
2
++
=
CsRLCssVi
sVo
Example 6.2 : Derive the transfer function of the circuit shown in Figure 6.2
Figure 6.2 : An RC electrical circuit
(Source : Katsuhiko Ogata (1990), Modern Control Engineering)
Writing the differential equations with the help of Kirchhoff’s voltage law
∫+= idt
C
tRitvi
1
)()( (6.2.5)
∫= idt
C
tvo
1
)(
(6.2.6)
Laplace Transforming equations (6.2.5) and (6.2.6) we have,
)(
1
)()( sI
Cs
sRIsVi += (6.2.7)
R
C vo
(t)vi
(t)
E3145/6/6
THE TRANSFER FUNCTION
)(
1
)( sI
Cs
sVo = (6.2.8)
Hence we have from equations (6.2.7) and (6.2.8),
sRCsVi
sVo
+
=
1
1
)(
)(
E3145/6/7
THE TRANSFER FUNCTION
Activity 6A
TEST YOUR UNDERSTANDING BEFORE YOU CONTINUE WITH THE
NEXT INPUT…!
6.1 Define the transfer function.
6.2 For the network given, what is the transfer function?
C
vo
(t)vi
(t)
R
E3145/6/8
THE TRANSFER FUNCTION
Feedback To Activity 6A
6.1 The “transfer function” of a system is the ratio of Laplace
Transform of the output variable to the Laplace Transform of the
input variable with all the initial conditions zero.
6.2 Writing the differential equations with the help of Kirchhoff’s voltage
law
)(
1
)( tRiidt
C
tvi += ∫ (6.2.9)
)()( tRitvo = (6.2.10)
Laplace Transforming equations (6.2.9) and (6.2.10) we have,
)()(
1
)( sRIsI
Cs
sVi += (6.2.11)
)()( sRIsVo =
(6.2.12)
Hence we have from equations (6.2.11) and (6.2.12),
E3145/6/9
THE TRANSFER FUNCTION
RCs
RCs
sVi
sVo
+
=
1)(
)(
6.3 DERIVATION OF TRANSFER FUNCTION FROM BLOCK DIAGRAM
SYSTEMS
We can make a simple transfer function from a complete
diagram whether in open-loop control system or closed-loop control
system.
6.3.1 Open-loop Control System
A system without feedback is called an open-loop system.
Figure 6.3 : Block diagram of open-loop system
(Source : Katsuhiko Ogata (1990), Modern Control Engineering)
For open loop system,
INPUTINPUT
G(s)
R(s) C(s)
Input Output
E3145/6/10
THE TRANSFER FUNCTION
C(s) = G(s) R(s)
6.3.2 Closed-loop control system
All automatic control systems are of the closed-loop type of control
system. This is necessitated by the introduction of feedback for
comparing the reference input R(s), with the controlled output C(s).
Figure 6.4 : Block diagram of closed-loop system
(Source : Katsuhiko Ogata (1990), Modern Control Engineering)
Let us assume that,
R(s) = input (reference) or controlling variable
C(s) = output or controlled variable
B(s) = feedback signal
G(s) = C(s) / E(s) = forward path transfer function
E(s) = Actuating signal
H(s) = feedback transfer function
B(s)
R(s) C(s)
E(s)
G(s)
H(s)
_
E3145/6/11
THE TRANSFER FUNCTION
)(
)(
sE
sB
= G(s) H(s) = (open) loop transfer function
M(s) =
)(
)(
sR
sC
= closed-loop transfer function (control ratio)
From Figure 6.4, we have
C(s) = G(s) E(s) (6.3.1)
E(s) = R(s) – B(s)
= R(s) – H(s) C(s) (6.3.2)
Eliminating E(s) from equation (6.3.1) and (6.3.2), we have
C(s) = G(s) R(s) – G(s) H(s)C(s)
)(
)(
sR
sC
= M(s) =
)()(1
)(
sHsG
sG
+
(6.3.3)
Hence, the system shown in Figure 6.4 can be reduced to single block
shown in Figure 6.5.
Figure 6.5 : Reduce form of Figure 6.4
)()(1
)(
sHsG
sG
+
R(s) C(s)
E3145/6/12
THE TRANSFER FUNCTION
Equation (6.3.3) is valid for negative feedback system. Hence, for a positive
feedback system we have
)(
)(
sR
sC
= M(s) =
)()(1
)(
sHsG
sG
−
In general, for a positive/negative feedback systems, the control ratio is
given by
)(
)(
sR
sC
= M(s) =
)()(1
)(
sHsG
sG
±
as the case may be.
6.3.3 Block Diagram Reduction Rules
Rule (1) : Combining blocks in cascade
≡
Figure 6.6 (a) : Blocks in cascade
G1 G2
R1
R1G1
R1G1G2
G1G2
G1 R1G1G2
E3145/6/13
THE TRANSFER FUNCTION
Rule (2) : Combining blocks in Parallel
≡
Figure 6.6 (b) : Blocks in Parallel
Rule (3) : Moving a pick-off point after a block
≡
Figure 6.6 (c) : Moving a pick-off point after a block
G1
G2
RG1
R
±
+
RG1RG2
G1G2
RG1RG2R
RG2
G
RG
R
R
G
R RG
G
1
R
E3145/6/14
THE TRANSFER FUNCTION
Rule (4) : Moving a take-off point ahead of a block
≡
Figure 6.6 (d) : Moving a take-off point ahead of a block
Rule (5) : Moving a summing point after a block
≡
Figure 6.6 (e) : Moving a summing point after a block
R
G
RG
RG
G
G
RG
RG
R
R1
R2
R1R2
G
G[R1R2]
G
R1
+
R1G+
G
±
G[R1R2]
R2G
R2
±
E3145/6/15
THE TRANSFER FUNCTION
Rule (6) : Moving a summing point ahead of a block
≡
Figure 6.6 (f) : Moving a summing point ahead of a block
Rule (7) : Eliminating a feedback loop
≡
Figure 6.6 (g) : Eliminating a feedback loop
R2
R1R2/G
G
R1GR2
+G
R1 R1G+
±
R1GR2
R2
±
1/G
R1
G
H
R
±
+
C
R
GH
G
±1
C
E3145/6/16
THE TRANSFER FUNCTION
Figure 6.6 (a,b,c,d,e,f,g) : Block diagram reduction rules
(Source : Katsuhiko Ogata (1990), Modern Control Engineering)
6.3.4 A Block Diagram Reduction
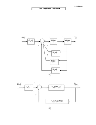
The block diagram of a multiple-loop feedback control system is
shown in Figure 6.6. Use block diagram reduction to simplify this to a single
block relating C(s) to R(s). Note that, for clarity, the dependency upon s has
been omitted from the transfer functions within the blocks.
Figure 6.7 Block Diagram
G1
(s) G2
(s) G3
(s)
C(s)
H1
(s)
H2
(s)
H3
(s)
R(s) +
+_ _
+
+
E3145/6/17
THE TRANSFER FUNCTION
(a)
(b)
+
G1
(s) G3
(s)G2
(s)
H3
(s)
H2
(s)
H1
(s)
R(s) C(s)
- -
G1
(s) G2
(s)G3
(s)
H1
(s)H2
(s)H3
(s)
R(s) C(s)
-
+
E3145/6/18
THE TRANSFER FUNCTION
(c)
Figure 6.8 (a,b,c) : Steps to reduce the block diagram
(Source : Katsuhiko Ogata (1990), Modern Control Engineering)
Steps to reduce the block diagram :
(Figure6.8(a)) collapse summing junctions;
(Figure6.8(b)) form equivalent cascaded system in the forward
path and equivalent parallel system in the
feedback path;
(Figure6.8(c)) form equivalent feedback system and multiply by
cascaded G1(s)
Finally, the feedback system is reduced and multiplied by G1(s) to
yield the equivalent transfer function shown in Figure 6.7 (c ).
6.3.5 Block Diagram of Two Input System
In the present of more than one input to a system, the system may be
a single output system called a multiple-input-single-output (MISO) system or
[ ])()()()()(1
)()()(
32132
123
sHsHsHsGsG
sGsGsG
+−+
R(s) C(s)
E3145/6/19
THE TRANSFER FUNCTION
a multiple output system called a multiple-input-multiple-output (MIMO)
system. The output of the system are obtained by applying the ‘law of
homogeneity’ or ‘Principle of Superposition’.
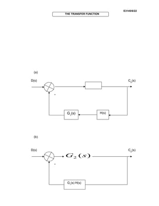
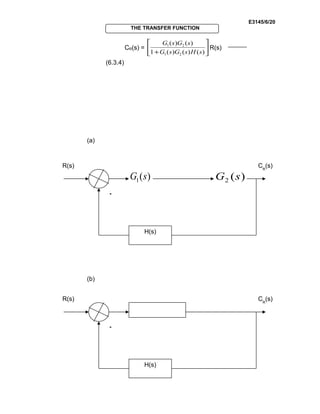
Let us consider a two-input linear system as shown in Figure 6.9.
Figure 6.9 : Block diagram of a two-input system
(Source : Katsuhiko Ogata (1990), Modern Control Engineering)
The response to the input R(s) is obtained by letting the disturbance
signal D(s) = 0. The corresponding block diagram is shown in Figure
6.9, which gives
CR(s) = )(
)( sR
sC acting alone with D(s) = 0
D(s)
_
)(1 sG )(2 sG
H(s)
R(s) C(s)
E3145/6/20
THE TRANSFER FUNCTION
CR(s) = 





+ )()()(1
)()(
21
21
sHsGsG
sGsG
R(s)
(6.3.4)
(a)
(b)
)(1 sG )(2 sG
H(s)
R(s) CR
(s)
-
H(s)
R(s) CR
(s)
-
E3145/6/21
THE TRANSFER FUNCTION
(c)
Figure 6.10(a,b,c) : Block Diagram Reduction with R(s) alone.
(Source : Katsuhiko Ogata (1990), Modern Control Engineering)
Similarly the response to the disturbance signal D(s) is obtained by
assuming R(s) = 0. The block diagram for this case is shown in Figure
6.11, which gives
CD(s) = )(
)( sD
sC acting alone with R(s) = 0
CD(s) = 





+ )()()(1
)(
21
2
sHsGsG
sG
D(s)
(6.3.5)
The actual response of the system when both R(s) and D(s) are acting
is obtained by adding the two individual responses CR(s) and CD(s).
)()()(1
)()(
21
21
sHsGsG
sGsG
+
R(s)
CR
(s)
E3145/6/22
THE TRANSFER FUNCTION
(a)
(b)
)(2 sG
G1
(s) H(s)
D(s) CD
(s)
-
H(s)
D(s) CD
(s)
-
G1
(s)
E3145/6/23
THE TRANSFER FUNCTION
(c)
Figure 6.11 (a,b,c) : Block Diagram Reduction with D(s) alone.
(Source : Katsuhiko Ogata (1990), Modern Control Engineering)
This example shows how superposition may be used to handle
system with more than one input :
Example 6.3: Determine the output Y(s) in the system shown below.
3+s
K
s
2
S + 1
R(s)
D(s)
Y(s)
-
+
+ +
)()()(1
)(
21
2
sHsGsG
sG
+
D(s)
CD
(s)
E3145/6/24
THE TRANSFER FUNCTION
Figure 6.12 : Block diagram of a two input system in the Laplace domain
(Source : Katsuhiko Ogata (1990), Modern Control Engineering)
Solution :
1. Setting D(s) = 0, gives the transfer function between Y(s)
and R(s) as :
)1(2)3(
2
)(
)(
+++
=
sKss
K
sR
sY
2. Setting R(s) = 0, gives the transfer function between Y(s)
and D(s) as :
)1(2)3(
)3(2
)(
)(
+++
+
=
sKss
s
sD
sY
Since a Laplace transfer function is a linear operator, the
principle of superposition is used to generate the overall output
as the sum of the two input contributions:
)1(2)3(
)()3(2
)1(2)3(
)(2
)(
+++
+
+
+++
=
sKss
sDs
sKss
sKR
sY
or
E3145/6/25
THE TRANSFER FUNCTION
)1(2)3(
)()3(2)(2
)(
+++
++
=
sKss
sDssKR
sY
Activity 6B
TEST YOUR UNDERSTANDING BEFORE YOU CONTINUE WITH THE
NEXT INPUT…!
6.3 The block diagram of a certain system is shown below. Determine
the transfer function Y(s)/U(s).
6.4 The block diagram of a certain system is shown below. Determine
the transfer function C(s)/R(s).
G1
(s) G2
(s)
U(s)
-
Y(s)
E3145/6/26
THE TRANSFER FUNCTION
Feedback To Activity 6B
6.3
)(
)(
sU
sY
=
)()(1
)()(
21
21
sGsG
sGsG
+
6.4
)(
)(
sR
sC
=
)(1
)(
sG
sG
+
G(s)
R(s)
-
C(s)
E3145/6/27
THE TRANSFER FUNCTION
KEY FACTS
1. The transfer functions is define as G(s) = C(s)/R(s), or the ratio of the
Laplace transform of the output to the Laplace Transform of the input.
E3145/6/28
THE TRANSFER FUNCTION
SELF-ASSESSMENT
You are approaching success. Try all the questions in this self-assessment
section and check your answers with those given in the Feedback on Self-
Assessment given on the next page. If you face any problems, discuss it
with your lecturer. Good luck.
Q6-1 State the steps to obtain the transfer function.
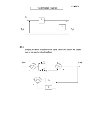
Q6-2
(a) The transfer function E0(s)/E1(s) of the RC-network shown is
given by:
Eo
(t)Ei
(t)
R
C
E3145/6/29
THE TRANSFER FUNCTION
(b)
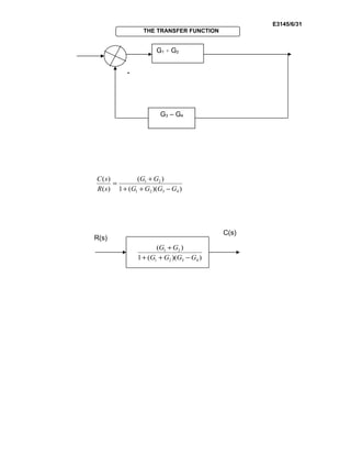
Q6-3
Simplify the block diagram in the figure below and obtain the closed
loop in transfer function C(s)/R(s).
Eo
(t)Ei
(t)
R
L
2G
1G
G4
R(s) C(s)
G3
-
+
+
+
-
E3145/6/30
THE TRANSFER FUNCTION
Feedback To Self-Assessment
Have you tried the questions????? If “YES”, check your answers now.
Q6-1 The steps involved in obtaining the transfer function are as follows :
(i) To write the differential equations governing the system.
(ii) To Laplace Transform the equations i.e, to replace the terms
involving d/dt by s and ∫ dt by 1/s .
(iii) To obtain the ratio of Transformed output to input variables.
Q6-2 (a)
1
1
)(
)(0
+
=
RCssE
sE
i
(b)
LsR
Ls
sE
sE
i +
=
)(
)(0
Q6-3
R(s) C(s)
E3145/6/31
THE TRANSFER FUNCTION
))((1
)(
)(
)(
4321
21
GGGG
GG
sR
sC
−++
+
=
))((1
)(
4321
21
GGGG
GG
−++
+
G1 + G2
G3 – G4
-
R(s)
C(s)

Basic Control System unit6

  • 1.
    E3145/6/1 THE TRANSFER FUNCTION THETRANSFER FUNCTION OBJECTIVES General Objective : To understand and interpret the concept of transfer function. Specific Objectives : At the end of the unit you will be able to :  State the definition of transfer function.  Identify the transfer function from a simple electric circuit.  Solve the transfer function from block diagram of open- loop control system and closed-loop control system.  Reduce a block diagram of multiple subsystem to a single block representing the transfer function from input to output.  Rewrite the reduction method of block diagram. UNIT6
  • 2.
    E3145/6/2 THE TRANSFER FUNCTION 6.0EXPLANATION OF THE TRANSFER FUNCTION In this unit we discuss how to find a mathematical model, called a Transfer Function, for linear, time-invariant electrical, mechanical and electromechanical systems. The transfer functions is define as G(s) = C(s)/R(s), or the ratio of the Laplace transform of the output to the Laplace Transform of the input. This relationship is algebraic and also adapts itself to modeling interconnected subsystems. We realize that the physical world consists of more systems than what we have illustrated in this unit. For example, we could apply transfer function modeling to electrical systems. Of course, we must assume these systems to be linear, or make linear approximations, in order to use this modeling technique. 6.1 DEFINITION OF TRANSFER FUNCTION INPUTINPUT The “transfer function” of a system is : The ratio of Laplace Transform of the output variable to the Laplace Transform of the input variable with all the initial conditions zero.
  • 3.
    E3145/6/3 THE TRANSFER FUNCTION Whenevera system is perturbed by some input signal all, of the dependent variables in the system vary as a result. The “transfer function” of a system is the ratio of Laplace Transform of the output variable to the Laplace Transform of the input variable with all the initial conditions zero. When a physical system is analysed, a mathematical model is developed by writing differential equations with the help of various physical laws governing the system. The steps involved in obtaining the transfer function are as follows : (i) Write the differential equations governing the system. (ii) Laplace Transform the equations i.e, to replace the terms involving d/dt by s and ∫ dt by 1/s . (iii) Obtain the ratio of Transformed output to input variables. 6.2 DERIVATION OF TRANSFER FUNCTION FROM THE EASIER ELECTRIC CIRCUIT There are assumptions made while deriving Transfer Function of electrical systems. (i) When a device is a part of a larger system, it should not load the source which provides it input signal, i.e., ideally the source should have zero (or low) internal impedance. (ii) The output of the device should not be loaded by the component that receives its output signal. The systems is approximated by linear lumped parameters model with suitable assumptions The loading effects occur with electrical, mechanical, electromechanical and fluid devices and should be taken into account while deriving transfer functions.
  • 4.
    E3145/6/4 THE TRANSFER FUNCTION Letus now implement the procedure of the deriving the transfer functions through various examples to follow : Example 6.1 : Obtain the transfer function of the circuit shown in Figure 6.1 Figure 6.1 : An RLC electrical circuit (Source : Katsuhiko Ogata (1990), Modern Control Engineering) Assume the current response i (t) due to a change in applied voltage v (t) is required. Application of Kirchhoff’s voltage law around the circuit gives ∫++= idt Cdt di LtRitvi 1 )()( (6.2.1) ∫= idt C tvo 1 )( (6.2.2) Laplace Transforming equations (6.2.1) and (6.2.2) we have, )( 1 )()()( sI Cs sLsIsRIsVi ++= (6.2.3) R L C vo (t)vi (t)
  • 5.
    E3145/6/5 THE TRANSFER FUNCTION )( 1 )(sI Cs sVo = (6.2.4) Hence we have from equations (6.2.3) and (6.2.4), 1 1 )( )( 2 ++ = CsRLCssVi sVo Example 6.2 : Derive the transfer function of the circuit shown in Figure 6.2 Figure 6.2 : An RC electrical circuit (Source : Katsuhiko Ogata (1990), Modern Control Engineering) Writing the differential equations with the help of Kirchhoff’s voltage law ∫+= idt C tRitvi 1 )()( (6.2.5) ∫= idt C tvo 1 )( (6.2.6) Laplace Transforming equations (6.2.5) and (6.2.6) we have, )( 1 )()( sI Cs sRIsVi += (6.2.7) R C vo (t)vi (t)
  • 6.
    E3145/6/6 THE TRANSFER FUNCTION )( 1 )(sI Cs sVo = (6.2.8) Hence we have from equations (6.2.7) and (6.2.8), sRCsVi sVo + = 1 1 )( )(
  • 7.
    E3145/6/7 THE TRANSFER FUNCTION Activity6A TEST YOUR UNDERSTANDING BEFORE YOU CONTINUE WITH THE NEXT INPUT…! 6.1 Define the transfer function. 6.2 For the network given, what is the transfer function? C vo (t)vi (t) R
  • 8.
    E3145/6/8 THE TRANSFER FUNCTION FeedbackTo Activity 6A 6.1 The “transfer function” of a system is the ratio of Laplace Transform of the output variable to the Laplace Transform of the input variable with all the initial conditions zero. 6.2 Writing the differential equations with the help of Kirchhoff’s voltage law )( 1 )( tRiidt C tvi += ∫ (6.2.9) )()( tRitvo = (6.2.10) Laplace Transforming equations (6.2.9) and (6.2.10) we have, )()( 1 )( sRIsI Cs sVi += (6.2.11) )()( sRIsVo = (6.2.12) Hence we have from equations (6.2.11) and (6.2.12),
  • 9.
    E3145/6/9 THE TRANSFER FUNCTION RCs RCs sVi sVo + = 1)( )( 6.3DERIVATION OF TRANSFER FUNCTION FROM BLOCK DIAGRAM SYSTEMS We can make a simple transfer function from a complete diagram whether in open-loop control system or closed-loop control system. 6.3.1 Open-loop Control System A system without feedback is called an open-loop system. Figure 6.3 : Block diagram of open-loop system (Source : Katsuhiko Ogata (1990), Modern Control Engineering) For open loop system, INPUTINPUT G(s) R(s) C(s) Input Output
  • 10.
    E3145/6/10 THE TRANSFER FUNCTION C(s)= G(s) R(s) 6.3.2 Closed-loop control system All automatic control systems are of the closed-loop type of control system. This is necessitated by the introduction of feedback for comparing the reference input R(s), with the controlled output C(s). Figure 6.4 : Block diagram of closed-loop system (Source : Katsuhiko Ogata (1990), Modern Control Engineering) Let us assume that, R(s) = input (reference) or controlling variable C(s) = output or controlled variable B(s) = feedback signal G(s) = C(s) / E(s) = forward path transfer function E(s) = Actuating signal H(s) = feedback transfer function B(s) R(s) C(s) E(s) G(s) H(s) _
  • 11.
    E3145/6/11 THE TRANSFER FUNCTION )( )( sE sB =G(s) H(s) = (open) loop transfer function M(s) = )( )( sR sC = closed-loop transfer function (control ratio) From Figure 6.4, we have C(s) = G(s) E(s) (6.3.1) E(s) = R(s) – B(s) = R(s) – H(s) C(s) (6.3.2) Eliminating E(s) from equation (6.3.1) and (6.3.2), we have C(s) = G(s) R(s) – G(s) H(s)C(s) )( )( sR sC = M(s) = )()(1 )( sHsG sG + (6.3.3) Hence, the system shown in Figure 6.4 can be reduced to single block shown in Figure 6.5. Figure 6.5 : Reduce form of Figure 6.4 )()(1 )( sHsG sG + R(s) C(s)
  • 12.
    E3145/6/12 THE TRANSFER FUNCTION Equation(6.3.3) is valid for negative feedback system. Hence, for a positive feedback system we have )( )( sR sC = M(s) = )()(1 )( sHsG sG − In general, for a positive/negative feedback systems, the control ratio is given by )( )( sR sC = M(s) = )()(1 )( sHsG sG ± as the case may be. 6.3.3 Block Diagram Reduction Rules Rule (1) : Combining blocks in cascade ≡ Figure 6.6 (a) : Blocks in cascade G1 G2 R1 R1G1 R1G1G2 G1G2 G1 R1G1G2
  • 13.
    E3145/6/13 THE TRANSFER FUNCTION Rule(2) : Combining blocks in Parallel ≡ Figure 6.6 (b) : Blocks in Parallel Rule (3) : Moving a pick-off point after a block ≡ Figure 6.6 (c) : Moving a pick-off point after a block G1 G2 RG1 R ± + RG1RG2 G1G2 RG1RG2R RG2 G RG R R G R RG G 1 R
  • 14.
    E3145/6/14 THE TRANSFER FUNCTION Rule(4) : Moving a take-off point ahead of a block ≡ Figure 6.6 (d) : Moving a take-off point ahead of a block Rule (5) : Moving a summing point after a block ≡ Figure 6.6 (e) : Moving a summing point after a block R G RG RG G G RG RG R R1 R2 R1R2 G G[R1R2] G R1 + R1G+ G ± G[R1R2] R2G R2 ±
  • 15.
    E3145/6/15 THE TRANSFER FUNCTION Rule(6) : Moving a summing point ahead of a block ≡ Figure 6.6 (f) : Moving a summing point ahead of a block Rule (7) : Eliminating a feedback loop ≡ Figure 6.6 (g) : Eliminating a feedback loop R2 R1R2/G G R1GR2 +G R1 R1G+ ± R1GR2 R2 ± 1/G R1 G H R ± + C R GH G ±1 C
  • 16.
    E3145/6/16 THE TRANSFER FUNCTION Figure6.6 (a,b,c,d,e,f,g) : Block diagram reduction rules (Source : Katsuhiko Ogata (1990), Modern Control Engineering) 6.3.4 A Block Diagram Reduction The block diagram of a multiple-loop feedback control system is shown in Figure 6.6. Use block diagram reduction to simplify this to a single block relating C(s) to R(s). Note that, for clarity, the dependency upon s has been omitted from the transfer functions within the blocks. Figure 6.7 Block Diagram G1 (s) G2 (s) G3 (s) C(s) H1 (s) H2 (s) H3 (s) R(s) + +_ _ + +
  • 17.
    E3145/6/17 THE TRANSFER FUNCTION (a) (b) + G1 (s)G3 (s)G2 (s) H3 (s) H2 (s) H1 (s) R(s) C(s) - - G1 (s) G2 (s)G3 (s) H1 (s)H2 (s)H3 (s) R(s) C(s) - +
  • 18.
    E3145/6/18 THE TRANSFER FUNCTION (c) Figure6.8 (a,b,c) : Steps to reduce the block diagram (Source : Katsuhiko Ogata (1990), Modern Control Engineering) Steps to reduce the block diagram : (Figure6.8(a)) collapse summing junctions; (Figure6.8(b)) form equivalent cascaded system in the forward path and equivalent parallel system in the feedback path; (Figure6.8(c)) form equivalent feedback system and multiply by cascaded G1(s) Finally, the feedback system is reduced and multiplied by G1(s) to yield the equivalent transfer function shown in Figure 6.7 (c ). 6.3.5 Block Diagram of Two Input System In the present of more than one input to a system, the system may be a single output system called a multiple-input-single-output (MISO) system or [ ])()()()()(1 )()()( 32132 123 sHsHsHsGsG sGsGsG +−+ R(s) C(s)
  • 19.
    E3145/6/19 THE TRANSFER FUNCTION amultiple output system called a multiple-input-multiple-output (MIMO) system. The output of the system are obtained by applying the ‘law of homogeneity’ or ‘Principle of Superposition’. Let us consider a two-input linear system as shown in Figure 6.9. Figure 6.9 : Block diagram of a two-input system (Source : Katsuhiko Ogata (1990), Modern Control Engineering) The response to the input R(s) is obtained by letting the disturbance signal D(s) = 0. The corresponding block diagram is shown in Figure 6.9, which gives CR(s) = )( )( sR sC acting alone with D(s) = 0 D(s) _ )(1 sG )(2 sG H(s) R(s) C(s)
  • 20.
    E3145/6/20 THE TRANSFER FUNCTION CR(s)=       + )()()(1 )()( 21 21 sHsGsG sGsG R(s) (6.3.4) (a) (b) )(1 sG )(2 sG H(s) R(s) CR (s) - H(s) R(s) CR (s) -
  • 21.
    E3145/6/21 THE TRANSFER FUNCTION (c) Figure6.10(a,b,c) : Block Diagram Reduction with R(s) alone. (Source : Katsuhiko Ogata (1990), Modern Control Engineering) Similarly the response to the disturbance signal D(s) is obtained by assuming R(s) = 0. The block diagram for this case is shown in Figure 6.11, which gives CD(s) = )( )( sD sC acting alone with R(s) = 0 CD(s) =       + )()()(1 )( 21 2 sHsGsG sG D(s) (6.3.5) The actual response of the system when both R(s) and D(s) are acting is obtained by adding the two individual responses CR(s) and CD(s). )()()(1 )()( 21 21 sHsGsG sGsG + R(s) CR (s)
  • 22.
    E3145/6/22 THE TRANSFER FUNCTION (a) (b) )(2sG G1 (s) H(s) D(s) CD (s) - H(s) D(s) CD (s) - G1 (s)
  • 23.
    E3145/6/23 THE TRANSFER FUNCTION (c) Figure6.11 (a,b,c) : Block Diagram Reduction with D(s) alone. (Source : Katsuhiko Ogata (1990), Modern Control Engineering) This example shows how superposition may be used to handle system with more than one input : Example 6.3: Determine the output Y(s) in the system shown below. 3+s K s 2 S + 1 R(s) D(s) Y(s) - + + + )()()(1 )( 21 2 sHsGsG sG + D(s) CD (s)
  • 24.
    E3145/6/24 THE TRANSFER FUNCTION Figure6.12 : Block diagram of a two input system in the Laplace domain (Source : Katsuhiko Ogata (1990), Modern Control Engineering) Solution : 1. Setting D(s) = 0, gives the transfer function between Y(s) and R(s) as : )1(2)3( 2 )( )( +++ = sKss K sR sY 2. Setting R(s) = 0, gives the transfer function between Y(s) and D(s) as : )1(2)3( )3(2 )( )( +++ + = sKss s sD sY Since a Laplace transfer function is a linear operator, the principle of superposition is used to generate the overall output as the sum of the two input contributions: )1(2)3( )()3(2 )1(2)3( )(2 )( +++ + + +++ = sKss sDs sKss sKR sY or
  • 25.
    E3145/6/25 THE TRANSFER FUNCTION )1(2)3( )()3(2)(2 )( +++ ++ = sKss sDssKR sY Activity6B TEST YOUR UNDERSTANDING BEFORE YOU CONTINUE WITH THE NEXT INPUT…! 6.3 The block diagram of a certain system is shown below. Determine the transfer function Y(s)/U(s). 6.4 The block diagram of a certain system is shown below. Determine the transfer function C(s)/R(s). G1 (s) G2 (s) U(s) - Y(s)
  • 26.
    E3145/6/26 THE TRANSFER FUNCTION FeedbackTo Activity 6B 6.3 )( )( sU sY = )()(1 )()( 21 21 sGsG sGsG + 6.4 )( )( sR sC = )(1 )( sG sG + G(s) R(s) - C(s)
  • 27.
    E3145/6/27 THE TRANSFER FUNCTION KEYFACTS 1. The transfer functions is define as G(s) = C(s)/R(s), or the ratio of the Laplace transform of the output to the Laplace Transform of the input.
  • 28.
    E3145/6/28 THE TRANSFER FUNCTION SELF-ASSESSMENT Youare approaching success. Try all the questions in this self-assessment section and check your answers with those given in the Feedback on Self- Assessment given on the next page. If you face any problems, discuss it with your lecturer. Good luck. Q6-1 State the steps to obtain the transfer function. Q6-2 (a) The transfer function E0(s)/E1(s) of the RC-network shown is given by: Eo (t)Ei (t) R C
  • 29.
    E3145/6/29 THE TRANSFER FUNCTION (b) Q6-3 Simplifythe block diagram in the figure below and obtain the closed loop in transfer function C(s)/R(s). Eo (t)Ei (t) R L 2G 1G G4 R(s) C(s) G3 - + + + -
  • 30.
    E3145/6/30 THE TRANSFER FUNCTION FeedbackTo Self-Assessment Have you tried the questions????? If “YES”, check your answers now. Q6-1 The steps involved in obtaining the transfer function are as follows : (i) To write the differential equations governing the system. (ii) To Laplace Transform the equations i.e, to replace the terms involving d/dt by s and ∫ dt by 1/s . (iii) To obtain the ratio of Transformed output to input variables. Q6-2 (a) 1 1 )( )(0 + = RCssE sE i (b) LsR Ls sE sE i + = )( )(0 Q6-3 R(s) C(s)
  • 31.