ECNG 3015
Industrial and Commercial Electrical
              Systems



                 Lecturer
        Prof Chandrabhan Sharma
                   #7
             System Earthing
SYSTEM EARTHING
Reason for earthing:

      -     To provide means to carry electric currents to earth
            under normal and fault conditions without exceeding
            any operating and equipment limits or adversely
            affecting continuity of service.

      -     To ensure that a person in the vicinity of the
            grounded facilities is not exposed to the danger
            of critical electric shock.
Earth resistivity:

        -       measured either Ω.m

        -       affected by moisture content of the soil

                → since conduction in soil is electrolytic in nature

Soil resistivity falls sharply when moisture content falls below 22 % by
weight.

  Electrodes should be buried deep enough

                -       to ensure that the moisture content of the
                        surrounding soil does not vary from season to
                        season.

                -       and have permanent contact with moist soil
The Human factor

         -        normal, healthy person can feel 1 mA

         -        10-25 mA can cause loss of muscular control

         -          100 mA can result in ventricular fibrillation
                  (death), burns etc.

Note:
For practical grounding studies, the threshold of ventricular fibrillation is
the major concern, i.e. most grounding mats are designed to limit the current
through the average human body to below threshold.
Studies have shown that 99.5 % of healthy persons can tolerate a
current through the heart without going into V.F. given by

                      0.116
                 Ib         ....................................(1)
                         T

               where I b     maximumbody currentin A


               T - is thedurat ionof current in seconds



Note:
Large currents can be accommodated once ‘T’ is kept below the value given by
equation 1.
STEP AND TOUCH VOLTAGES
The body can tolerate more current flowing from one leg to the
other than it can from one hand to the legs.


TOUCH VOLTAGE: (refer to the equivalent circuit below.)

                                                  Ib




                                                            Rg
                                                       Ig        earth rod
                resistivity of the soil must be
                very low to ensure that most
               of the current flows to ground.
The circuit below shows the hazards due to touch voltages.

The body current Ib is driven by the potential between A and B.

The worst possible touch potential (mesh potential) occurs at or
near to the centre of a grid mesh.
STEP VOLTAGE: (refer to the equivalent circuit below.)




 Here, current flows from one foot to another due to the potential
 difference between A and B.

 Hence the step voltage is the voltage which a man would receive
 across the body by taking a 1m step in a radial direction from the earth
 electrode.
In both cases;

          Rb = 1000 Ω                  (IEEE Std 80 -2000)

           Rf = 3    s              where s – soil resistivity and
                                    treating the foot as a circular plate
                                    electrode
Actually, the body itself has a total measured resistance of 2300 Ω hand to
hand and 1100 Ω hand to foot.
From the equivalent circuit for touch voltage, the effective
resistance under consideration for hand to foot would be:
                           Rf       but R b 1000    and       Rf   3
 R effective,Touch   Rb                                                s
                           2
                          R effective,Touch   1000 1.5    s
And for foot to foot currents:

  R effective,Step R b 2R f   again, R b 1000        and   Rf   3   s


               R effective,Step 1000 6   s


    Applying the above two equations to equation (1), we have:
                               (0.116)(10 1.5 s ) 116 0.17
                                         00                                 s
 E Touch max I b (1000 1.5 s )
                                         T                     T

                                     (0.116)(10 6 s )
                                              00           116 0.7      s
 and EStep max     I b (1000 6 s )
                                             T                 T

The grid voltage depends upon three basic factors:
        1.       Ground resistivity
        2.       Available fault current
        3.       Grid geometry
1. Ground Resistivity:
                   Type of ground            Resistivity (Ωm)
        Wet organic soil                           10
        Moist soil                                 102
        Dry soil                                   103
        Bed rock                                   104


                                     Eelctricfield (V/l ) RA
     Volume Resistivity                                         m
                                    Current Density(I/A) l


                        Where
                        R resistance
                        A cross- sectionarea and
                        l length
2. Available fault current:
The maximum ground fault current (S.L.G) is given by :

                                    3V
             I                               "
                  3Rg (R1 R 2       R 0 ) j(X1 X 2 X0 )


      Where
                 V phase voltage
                 R g grid resistanceto earth
       R1 , R 2 , R 0   positive,negativeand zero seq. resistance
                  "
                 X1     positiveseq. subtransient reactance
      and X 2 , X 0     negativeand zero seq. reactance
To account for the initial d.c. offset of the fault current, I is
multiplied by an appropriate correction factor known as the
decrement factor.

            Shock            Cycles (60 Hz)     Decrement factor
          Duration (s)       Fault duration

             0.008                1/2                 1.65

              0.1                  6                  1.25

             0.25                 15                  1.10

                5                  30                 1.00


                     Shock and Fault Duration
A more accurate value of the decrement factor (D) is given by

                                        -2 T
                      1       1 X        X
                                           R
                D       T      . 1 e
                      T         R

      Where
      T durationof fault (s) (obtained from relay setting)
        system frequency in radians/s
      X totalsystem reactance
      R   totalsystem reactance
3. Grid Geometry:

The potential rise of points protected by a grounding mat depends
on such factors as:

       a.     grid burial depth

       b.     length and diameter of conductor

       c.     space between each conductor

       d.     distribution of current throughout the grid

       e.     proximity of the fault electrode and the system
              grounding electrodes to the grid conductors
EARTH ELECTRODES:
1. Hemisphere electrode at the earth surface




For a hemisphere of radius ‘r’ from which a total current ‘I’ spreads
out in a radial direction into the earth:

                                                    I
        Current density (i ) at a distance ( x)
                                                  2πx 2
The voltage drop at distance x across a hemispherical shell
  of thickness dx is given by:
                                             I
          Voltage drop (dv)         i dx       2
                                                 dx (V)
                                           2πx

                               dv      I
          Potential gradient                    e x (V/m)
                               dx    2πx 2

Vx = voltage drop from ‘r’ to ‘x’

            x     I                               I 1       1
i.e. Vx             2
                      dx                   Vx
            r   2πx                              2π r       x

Voltage at t heelectrodesurface w.r.t remoteearthpot ential
                                        I
                    (x      ) E0
                                     2πr
I
               and at distance x    Ex
                                          2π x

                                                     E0
    The resistance R at the electrode surface is R
                                                      I   2π r

Question:
For a hemispherical electrode, r = 0.5 m, = 10 .m and
I = 100 A. Find the resistance at the electrode surface and the
potential gradient at distance 0.6m from the electrode surface.
 Soln :

 a. T heresistanceat t heelect rodesurface is R
                                                 2π r
                                                 10
                                                          3.18
                                              2π (0.5)
I
b. P otentialgradient,e x       2
                                  ,
                            2πx
(where x is thehorizontal distancefrom thecentreof theh/sphere)
                            10 x 100
                                          131.5 V/m
                          2π(0.5 0.6) 2
             If    50 m
                        th e x
                         en      657.6V/m     E step is fatal
2. Spherical electrode
Hemisphere electrode at the earth surface with insulated lead wire
buried at depth, ‘h’ having radius ‘r’.
 Case 1.
           ‘h’ very large:

 The area of the sphere is twice that of the hemisphere so all the
 previous equations would be halved.
                                                 I
                     Potential gradient, e x
                                               4πx 2

    and potential thesurface of thesphereand at distance x is
                at
                        I                 I
                 E0           and E x        respectively
                      4πr               4πx
E0
AND the resistance R at the electrode surface is R
                                                      I   4π r

Case 2.
          ‘h’ finite – h>> r

The non-uniformity due to the earths surface may be eliminated by
considering identical and equal current flowing from an image
electrode a distance ‘h’ above the earth surface.

See diagram on next page.
T hepot ent ial point P1 is due t o bot h elect rodes:
                   at
                               I 1      1
                  i.e. E P1
                              4π x1     x'


For a point on the surface of the electrode: x1 = r , x’ = 2h

                                              I 1    1
           potential thesurface E 0
                   at
                                             4π r    2h

                                               I     r
                                      E0          1
                                             4π r   2h

                                   E0                     r
                          But R                      1
                                    I         4π r       2h
For a point P2 on t heEart hSurface :
                                  I         2
                     i.e. E P2
                                 4π    x2       h2

      Potential
              gradient at thesurface:

                  dE P2           I         2x
                          e P2                     3
                   dx            4π
                                      (x2        2 2
                                                h )

and when x 0 thepotential theearthsurface verticall aboveis :
                        at                        y
                    I 2
             EV
                   4π h
thepotential
                    between th surface of thesphereand
                             e
       theearthsurface verticall aboveit is (T ouchVoltage):
                               y
                                  I 1 3
                       E0 - EV
                                 4π r 2h
   Touch voltage increases with increase in ‘h’

Similarly,it can be shown thatwhen x 0.6 themaximum voltageis :
                        I    2
               e max           2
                                       i.e. (Step Voltage)
                       4π (1.6h)

   Step voltage decreases with depth of electrode.
3. Rod electrode
A rod or pipe in which the length of the rod (l ) >> the diameter
of the rod (d) can be broken up into ‘n’ spherical electrodes.


                    For therod theearthresistanceis :
                                                  4l
                                  R          ln
                                      2π l        d

                                             d
                   If theradius of thesphere   then the
                                             2
                                                             l
                   diameteris d and thenumber of spheresn
                                                             d
I
          also          ex
                             2π x(l 2   x2 )


                          2x
and E 0 E x   0.366 i log          (Step Voltage)
                          d

where i current/le
                 ngth
     x horizontal
                distanceon theearth' surface from therod
                                   s
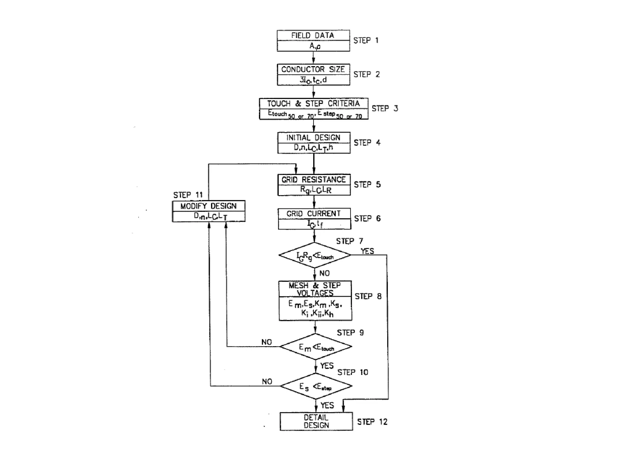
EARTH MAT DESIGN
Knowing the tolerable step and touch voltage limits, we can now
design and construct the ground system for a substation using a
step by step procedure as follows:

1. Determine the soil characteristics (resistivity).

2. Determine the maximum possible fault current (SLG).

3. Prepare preliminary design of grounding system.

4. Calculate the resistance of the designed grounding system in (3).

5.Calculate the maximum grid potential rise.

6.Calculate the step voltages at periphery of the mat.
7. Calculate the internal step and touch voltages.

8. Refine the design so as to satisfy 5, 6 and 7 for safety.

9. Construct the mat as per design (make sure measured values
   compares favourably with the calculated values)

10. Review 5, 6, 7, 8 based on actual measurement and modify (
   additional electrodes, screens, barriers etc.).
Step 3 – Preliminary grounding design

Having obtained (1) and (2), we can now do a grounding design.

Assumption –   the grounding system will take the form of a grid of
               horizontally buried conductors

3.1 Determination of conductor size on the grid:

This can be estimated by the equation below;


                              Tm Ta
                      log10                1
                              234 Ta
               I A
                               33s
where
I currentin Amps
A coppercross- sectionarea (circular mills or mm2 )
s timein secondsduring which I is applied
Tm maximumallowable temp. C in
Ta   ambient te in C
              mp.


1974circular mills 1 mm2
3.2 Determination of conductor length required for gradient
control

In this part of the analysis, Touch voltages are used for the
basis of analysis

Also, Touch voltages from a grounded structure to the center
of a rectangle of grid mesh are used instead of touch voltages
at a horizontal distance of 1 m.

Laurent developed the following approximate equations

               Estep = 0.1 0.5 i
               Etouch = 0.6 0.8 i
               Emesh = i
Where
        Estep = step voltage over a horizontal distance of 1 m

        Etouch = touch voltage over a horizontal distance of 1 m
                from the grid conductor

        Emesh = potential difference in volts, from grid
                conductor to ground surface at center of a grid
                mesh

             = soil resistivity (Ωm)

          i = current in amp (per m of buried conductor),
              flowing into the ground
In order to allow for the non-uniformity in flow of ground current
 per unit length of buried conductor we write:

                   I
E mesh    k mki
                   L

where
    km        coefficien which ta intoaccount th physicalparameters
                       t        kes            e
              of thegrid D, d, h
         ki   an irregularity correctionfactor
            averageresistivit ( m)
                            y
          I max.totalr.m.scurrentflowing between ground grid and earth
              [adjust for future growth]
          L    totallengthof buried conductor(m)
For safe touch vol
                 tages we must have:
                               116 0.17   s           I
                      E mesh                  k mki
                                    t                 L


                       k mki I t
 From which L
                      116 0.17     s




 where
               s   resistivit immediatel beneath th foot
                            y          y          e
           t       max.durationof shock (s)
Step 4 – Calculation of grounding system resistance


                      R
                           4r        L
   where
        R    resist anceof t hegrounding syst em
        r    t heradius in m of a circular plat ehavingt hesame
             area as t hatoccupiedby t hegrid

             derived from t hecircular plat eelect rodeformula
         4
              eliminat eerrorsdue t o t hefact t hatt hegrid is not a
         L
              t ue circular plat e
                r
Step 5 – Maximum Grid Potential Rise : E

                   E IR
                   where I     max.s/c currentin thegrid
                        R      resistanceof thegrid

                      116 0.17        s
  if E   E touch                          then the
                                                 preliminar design is o.k.
                                                          y
                           t

 Step 6 – Step voltage at the periphery
                for homogeneous soil =                s


                                          I    116 0.7    s
                   E stepmax   kski
                                          L        t

                   similar toE mesh but k m      ks
Step 7 –
If the length of the conductor calculated before is used (L), then
the internal step and touch voltages should be within the limits.

The values can be decreased by increasing the length of
conductor.

Aside:
         Actually: if    d = diameter of conductor
                         D = spacing
                         n = no. of parallel conductors
                         h = depth of burial

         1      D2       1      3   5    7            2n 1
  km        ln             ln              ..........
         2π    16hd      π      4   6    8            2n 2
  where t henumber of t ermsin ln is (n - 2)
1   1         1         1       1
      and k s                                         .........
                π   2h      D h        2D      3D
      where thenumber of termsin thebrackets n

Step 8 –
If calculations based on preliminary design indicate dangerous
potential can exist, the following remedies can be taken:

a.   Decrease R by either
       - Increasing area of grid, or
       - Increase L by the use of earth rods
       - Spacing the grid closer which increases L

b.   Addition of a relatively high resistance surface layer (crushed
     stone) to increase the resistance in series with the body. Use
     approximately 4’ thickness of ½’ washed gravel.
Example:
An electric utility plans to install a new 132 kV substation to feed an
industrial load. The proposed area of the substation is a rectangle of
dimension 42 m x 100 m. The soil in the area is non-homogenous with s =
3000 Ωm and = 1316 Ωm. The system has the following impedances X” =
40.5, X2 = 41 and X0 = 41 Ω respectively. The protection is so designed that
the clearing time is 0.4 s. Given km = 0.568 and ks = 0.814 and an irregularity
factor ki = 2.0. Estimate, taking account of a decrement factor of D of 1.3
and future growth of fault level of 125%:

a.   The minimum length of copper conductor required to keep touch and
     step voltages within safe limits.

b.   The resistance of the earth mat using the estimated copper in (a).

c.   Give a proposed layout of the grid calculate the actual length of
     conductor used (Maximum grid spacing = 6 m and length of earth rods
     = 3 m).

d.   For the layout in (c), check whether the maximum step voltage
     developed is within tolerable limits.
Solution:
Estimated fault current for existing system is:
                          3VLN          3      132 x 103
Ifault (SLG fault)      "
                                             x             1260A
                     j(X1 X 2 X0 )     181.5       3

        Design fault current 1260 x D x growth factor
                             1260 x 1.3 x 1.25
                             2047.5A

                                     k mki I t
(a) Recall, t heconduct orlengt h L
                                    116 0.17      s




                                     0.568x 2.0 x 1316 x 2047.5x 0.4
                                           116 (0.17 x 3000)

                                     3092.5m
(b) Resistanceof earthmat is given by R
                                          4r     L

                                                  1        1
                                          1316
                                                 4r        L

              Now πr 2   42 x 100      r 36.6m

                               1      1
                R    1316                            9.4
                            4(36.6) 3092.5


(c) Layout
  Let the
        spacingon the m side be 4 m and on the42 m side be 6m
                    100
                                          100                  42
  T hen the
          lengthof conductorfor grid          1 42                1 100 1892m
                                           4                   6
3092 5 1892
                                          .
 Min.no.of 3 m earthrods required                        400
                                            3

Eitherreduce thespacingor bury 440rods (10%)

Let the of earthrods be 440
       no.
        totallengthof conductoris now 440 x 3 1320m

 Hence totallengthof copper to used 1892 1320
                              be
                                         3212m


                        I   0.814x 2.0 x 1316 x 2047.5
(d) Max.E step   kski
                        L             3212
                            1365.7V
116 0.7   s     116 (0.7 x 3000)
       T olerableE step
                              t                 0.4
                                        3503.8V


         Since Estepmax    Esteptolerable then the
                                                 design is good

    Aside
    T hemax.grid potential
                         rise E IR
                                2047.5x 9.4
                                19.276kV

To avoid this being transferred, it is necessary to isolate the
substation circuits from the supply circuits i.e. substation ground
not the common ground, therefore all m/c and other equipment
neutrals should be grounded at their site.
Earth mat




  Cu
ECNG 3015- System Earthing

ECNG 3015- System Earthing

  • 1.
    ECNG 3015 Industrial andCommercial Electrical Systems Lecturer Prof Chandrabhan Sharma #7 System Earthing
  • 2.
    SYSTEM EARTHING Reason forearthing: - To provide means to carry electric currents to earth under normal and fault conditions without exceeding any operating and equipment limits or adversely affecting continuity of service. - To ensure that a person in the vicinity of the grounded facilities is not exposed to the danger of critical electric shock.
  • 3.
    Earth resistivity: - measured either Ω.m - affected by moisture content of the soil → since conduction in soil is electrolytic in nature Soil resistivity falls sharply when moisture content falls below 22 % by weight. Electrodes should be buried deep enough - to ensure that the moisture content of the surrounding soil does not vary from season to season. - and have permanent contact with moist soil
  • 4.
    The Human factor - normal, healthy person can feel 1 mA - 10-25 mA can cause loss of muscular control - 100 mA can result in ventricular fibrillation (death), burns etc. Note: For practical grounding studies, the threshold of ventricular fibrillation is the major concern, i.e. most grounding mats are designed to limit the current through the average human body to below threshold.
  • 5.
    Studies have shownthat 99.5 % of healthy persons can tolerate a current through the heart without going into V.F. given by 0.116 Ib ....................................(1) T where I b maximumbody currentin A T - is thedurat ionof current in seconds Note: Large currents can be accommodated once ‘T’ is kept below the value given by equation 1.
  • 6.
    STEP AND TOUCHVOLTAGES The body can tolerate more current flowing from one leg to the other than it can from one hand to the legs. TOUCH VOLTAGE: (refer to the equivalent circuit below.) Ib Rg Ig earth rod resistivity of the soil must be very low to ensure that most of the current flows to ground.
  • 7.
    The circuit belowshows the hazards due to touch voltages. The body current Ib is driven by the potential between A and B. The worst possible touch potential (mesh potential) occurs at or near to the centre of a grid mesh.
  • 8.
    STEP VOLTAGE: (referto the equivalent circuit below.) Here, current flows from one foot to another due to the potential difference between A and B. Hence the step voltage is the voltage which a man would receive across the body by taking a 1m step in a radial direction from the earth electrode.
  • 9.
    In both cases; Rb = 1000 Ω (IEEE Std 80 -2000) Rf = 3 s where s – soil resistivity and treating the foot as a circular plate electrode Actually, the body itself has a total measured resistance of 2300 Ω hand to hand and 1100 Ω hand to foot. From the equivalent circuit for touch voltage, the effective resistance under consideration for hand to foot would be: Rf but R b 1000 and Rf 3 R effective,Touch Rb s 2 R effective,Touch 1000 1.5 s
  • 10.
    And for footto foot currents: R effective,Step R b 2R f again, R b 1000 and Rf 3 s R effective,Step 1000 6 s Applying the above two equations to equation (1), we have: (0.116)(10 1.5 s ) 116 0.17 00 s E Touch max I b (1000 1.5 s ) T T (0.116)(10 6 s ) 00 116 0.7 s and EStep max I b (1000 6 s ) T T The grid voltage depends upon three basic factors: 1. Ground resistivity 2. Available fault current 3. Grid geometry
  • 11.
    1. Ground Resistivity: Type of ground Resistivity (Ωm) Wet organic soil 10 Moist soil 102 Dry soil 103 Bed rock 104 Eelctricfield (V/l ) RA Volume Resistivity m Current Density(I/A) l Where R resistance A cross- sectionarea and l length
  • 12.
    2. Available faultcurrent: The maximum ground fault current (S.L.G) is given by : 3V I " 3Rg (R1 R 2 R 0 ) j(X1 X 2 X0 ) Where V phase voltage R g grid resistanceto earth R1 , R 2 , R 0 positive,negativeand zero seq. resistance " X1 positiveseq. subtransient reactance and X 2 , X 0 negativeand zero seq. reactance
  • 13.
    To account forthe initial d.c. offset of the fault current, I is multiplied by an appropriate correction factor known as the decrement factor. Shock Cycles (60 Hz) Decrement factor Duration (s) Fault duration 0.008 1/2 1.65 0.1 6 1.25 0.25 15 1.10 5 30 1.00 Shock and Fault Duration
  • 14.
    A more accuratevalue of the decrement factor (D) is given by -2 T 1 1 X X R D T . 1 e T R Where T durationof fault (s) (obtained from relay setting) system frequency in radians/s X totalsystem reactance R totalsystem reactance
  • 15.
    3. Grid Geometry: Thepotential rise of points protected by a grounding mat depends on such factors as: a. grid burial depth b. length and diameter of conductor c. space between each conductor d. distribution of current throughout the grid e. proximity of the fault electrode and the system grounding electrodes to the grid conductors
  • 16.
    EARTH ELECTRODES: 1. Hemisphereelectrode at the earth surface For a hemisphere of radius ‘r’ from which a total current ‘I’ spreads out in a radial direction into the earth: I Current density (i ) at a distance ( x) 2πx 2
  • 17.
    The voltage dropat distance x across a hemispherical shell of thickness dx is given by: I Voltage drop (dv) i dx 2 dx (V) 2πx dv I Potential gradient e x (V/m) dx 2πx 2 Vx = voltage drop from ‘r’ to ‘x’ x I I 1 1 i.e. Vx 2 dx Vx r 2πx 2π r x Voltage at t heelectrodesurface w.r.t remoteearthpot ential I (x ) E0 2πr
  • 18.
    I and at distance x Ex 2π x E0 The resistance R at the electrode surface is R I 2π r Question: For a hemispherical electrode, r = 0.5 m, = 10 .m and I = 100 A. Find the resistance at the electrode surface and the potential gradient at distance 0.6m from the electrode surface. Soln : a. T heresistanceat t heelect rodesurface is R 2π r 10 3.18 2π (0.5)
  • 19.
    I b. P otentialgradient,ex 2 , 2πx (where x is thehorizontal distancefrom thecentreof theh/sphere) 10 x 100 131.5 V/m 2π(0.5 0.6) 2 If 50 m th e x en 657.6V/m E step is fatal
  • 20.
    2. Spherical electrode Hemisphereelectrode at the earth surface with insulated lead wire buried at depth, ‘h’ having radius ‘r’. Case 1. ‘h’ very large: The area of the sphere is twice that of the hemisphere so all the previous equations would be halved. I Potential gradient, e x 4πx 2 and potential thesurface of thesphereand at distance x is at I I E0 and E x respectively 4πr 4πx
  • 21.
    E0 AND the resistanceR at the electrode surface is R I 4π r Case 2. ‘h’ finite – h>> r The non-uniformity due to the earths surface may be eliminated by considering identical and equal current flowing from an image electrode a distance ‘h’ above the earth surface. See diagram on next page.
  • 23.
    T hepot ential point P1 is due t o bot h elect rodes: at I 1 1 i.e. E P1 4π x1 x' For a point on the surface of the electrode: x1 = r , x’ = 2h I 1 1 potential thesurface E 0 at 4π r 2h I r E0 1 4π r 2h E0 r But R 1 I 4π r 2h
  • 24.
    For a pointP2 on t heEart hSurface : I 2 i.e. E P2 4π x2 h2 Potential gradient at thesurface: dE P2 I 2x e P2 3 dx 4π (x2 2 2 h ) and when x 0 thepotential theearthsurface verticall aboveis : at y I 2 EV 4π h
  • 25.
    thepotential between th surface of thesphereand e theearthsurface verticall aboveit is (T ouchVoltage): y I 1 3 E0 - EV 4π r 2h Touch voltage increases with increase in ‘h’ Similarly,it can be shown thatwhen x 0.6 themaximum voltageis : I 2 e max 2 i.e. (Step Voltage) 4π (1.6h) Step voltage decreases with depth of electrode.
  • 26.
    3. Rod electrode Arod or pipe in which the length of the rod (l ) >> the diameter of the rod (d) can be broken up into ‘n’ spherical electrodes. For therod theearthresistanceis : 4l R ln 2π l d d If theradius of thesphere then the 2 l diameteris d and thenumber of spheresn d
  • 27.
    I also ex 2π x(l 2 x2 ) 2x and E 0 E x 0.366 i log (Step Voltage) d where i current/le ngth x horizontal distanceon theearth' surface from therod s
  • 28.
    EARTH MAT DESIGN Knowingthe tolerable step and touch voltage limits, we can now design and construct the ground system for a substation using a step by step procedure as follows: 1. Determine the soil characteristics (resistivity). 2. Determine the maximum possible fault current (SLG). 3. Prepare preliminary design of grounding system. 4. Calculate the resistance of the designed grounding system in (3). 5.Calculate the maximum grid potential rise. 6.Calculate the step voltages at periphery of the mat.
  • 29.
    7. Calculate theinternal step and touch voltages. 8. Refine the design so as to satisfy 5, 6 and 7 for safety. 9. Construct the mat as per design (make sure measured values compares favourably with the calculated values) 10. Review 5, 6, 7, 8 based on actual measurement and modify ( additional electrodes, screens, barriers etc.).
  • 30.
    Step 3 –Preliminary grounding design Having obtained (1) and (2), we can now do a grounding design. Assumption – the grounding system will take the form of a grid of horizontally buried conductors 3.1 Determination of conductor size on the grid: This can be estimated by the equation below; Tm Ta log10 1 234 Ta I A 33s
  • 31.
    where I currentin Amps Acoppercross- sectionarea (circular mills or mm2 ) s timein secondsduring which I is applied Tm maximumallowable temp. C in Ta ambient te in C mp. 1974circular mills 1 mm2
  • 32.
    3.2 Determination ofconductor length required for gradient control In this part of the analysis, Touch voltages are used for the basis of analysis Also, Touch voltages from a grounded structure to the center of a rectangle of grid mesh are used instead of touch voltages at a horizontal distance of 1 m. Laurent developed the following approximate equations Estep = 0.1 0.5 i Etouch = 0.6 0.8 i Emesh = i
  • 33.
    Where Estep = step voltage over a horizontal distance of 1 m Etouch = touch voltage over a horizontal distance of 1 m from the grid conductor Emesh = potential difference in volts, from grid conductor to ground surface at center of a grid mesh = soil resistivity (Ωm) i = current in amp (per m of buried conductor), flowing into the ground
  • 34.
    In order toallow for the non-uniformity in flow of ground current per unit length of buried conductor we write: I E mesh k mki L where km coefficien which ta intoaccount th physicalparameters t kes e of thegrid D, d, h ki an irregularity correctionfactor averageresistivit ( m) y I max.totalr.m.scurrentflowing between ground grid and earth [adjust for future growth] L totallengthof buried conductor(m)
  • 35.
    For safe touchvol tages we must have: 116 0.17 s I E mesh k mki t L k mki I t From which L 116 0.17 s where s resistivit immediatel beneath th foot y y e t max.durationof shock (s)
  • 36.
    Step 4 –Calculation of grounding system resistance R 4r L where R resist anceof t hegrounding syst em r t heradius in m of a circular plat ehavingt hesame area as t hatoccupiedby t hegrid derived from t hecircular plat eelect rodeformula 4 eliminat eerrorsdue t o t hefact t hatt hegrid is not a L t ue circular plat e r
  • 37.
    Step 5 –Maximum Grid Potential Rise : E E IR where I max.s/c currentin thegrid R resistanceof thegrid 116 0.17 s if E E touch then the preliminar design is o.k. y t Step 6 – Step voltage at the periphery for homogeneous soil = s I 116 0.7 s E stepmax kski L t similar toE mesh but k m ks
  • 38.
    Step 7 – Ifthe length of the conductor calculated before is used (L), then the internal step and touch voltages should be within the limits. The values can be decreased by increasing the length of conductor. Aside: Actually: if d = diameter of conductor D = spacing n = no. of parallel conductors h = depth of burial 1 D2 1 3 5 7 2n 1 km ln ln .......... 2π 16hd π 4 6 8 2n 2 where t henumber of t ermsin ln is (n - 2)
  • 39.
    1 1 1 1 1 and k s ......... π 2h D h 2D 3D where thenumber of termsin thebrackets n Step 8 – If calculations based on preliminary design indicate dangerous potential can exist, the following remedies can be taken: a. Decrease R by either - Increasing area of grid, or - Increase L by the use of earth rods - Spacing the grid closer which increases L b. Addition of a relatively high resistance surface layer (crushed stone) to increase the resistance in series with the body. Use approximately 4’ thickness of ½’ washed gravel.
  • 41.
    Example: An electric utilityplans to install a new 132 kV substation to feed an industrial load. The proposed area of the substation is a rectangle of dimension 42 m x 100 m. The soil in the area is non-homogenous with s = 3000 Ωm and = 1316 Ωm. The system has the following impedances X” = 40.5, X2 = 41 and X0 = 41 Ω respectively. The protection is so designed that the clearing time is 0.4 s. Given km = 0.568 and ks = 0.814 and an irregularity factor ki = 2.0. Estimate, taking account of a decrement factor of D of 1.3 and future growth of fault level of 125%: a. The minimum length of copper conductor required to keep touch and step voltages within safe limits. b. The resistance of the earth mat using the estimated copper in (a). c. Give a proposed layout of the grid calculate the actual length of conductor used (Maximum grid spacing = 6 m and length of earth rods = 3 m). d. For the layout in (c), check whether the maximum step voltage developed is within tolerable limits.
  • 42.
    Solution: Estimated fault currentfor existing system is: 3VLN 3 132 x 103 Ifault (SLG fault) " x 1260A j(X1 X 2 X0 ) 181.5 3 Design fault current 1260 x D x growth factor 1260 x 1.3 x 1.25 2047.5A k mki I t (a) Recall, t heconduct orlengt h L 116 0.17 s 0.568x 2.0 x 1316 x 2047.5x 0.4 116 (0.17 x 3000) 3092.5m
  • 43.
    (b) Resistanceof earthmatis given by R 4r L 1 1 1316 4r L Now πr 2 42 x 100 r 36.6m 1 1 R 1316 9.4 4(36.6) 3092.5 (c) Layout Let the spacingon the m side be 4 m and on the42 m side be 6m 100 100 42 T hen the lengthof conductorfor grid 1 42 1 100 1892m 4 6
  • 44.
    3092 5 1892 . Min.no.of 3 m earthrods required 400 3 Eitherreduce thespacingor bury 440rods (10%) Let the of earthrods be 440 no. totallengthof conductoris now 440 x 3 1320m Hence totallengthof copper to used 1892 1320 be 3212m I 0.814x 2.0 x 1316 x 2047.5 (d) Max.E step kski L 3212 1365.7V
  • 45.
    116 0.7 s 116 (0.7 x 3000) T olerableE step t 0.4 3503.8V Since Estepmax Esteptolerable then the design is good Aside T hemax.grid potential rise E IR 2047.5x 9.4 19.276kV To avoid this being transferred, it is necessary to isolate the substation circuits from the supply circuits i.e. substation ground not the common ground, therefore all m/c and other equipment neutrals should be grounded at their site.
  • 46.