Generic Name
Acetate Cellulose Acetate; Triacetate where not less than 92%of
the cellulose is acetylated
Acrylic At least 85% Acrylonitrile unite
Aramid Polyamide in which at least 85% of the amide linkages are
directly attached to two aromaticrings
Glass Glass
Modacrylic Lessthan 85%but at least 35% acrylonitrileunits
Nylon Polyamide in which less than 85% of the amide linkages
are directly attached to two aromaticrings
Olefin At least 85% ethylene,propylene, or other olefin units
Polyester At least 85%ester of a substituted aromatic carboxylic
acid includingbut not restricted to substituted
terephthalate units and parasubstituted
hydroxybenzoate units
Rayon Regenerated cellulose withless than 15% chemically
combined substituents
Saran At least 80%vinylidene chloride
Spandex Elastomer of at least 85% of a segmented polyurethane
Vinal At least 50% vinyl alcoholunits and at least 85% total
vinyl alcohol and acetal units
_-
3-2 ManMade FibersAnd Their Proprtles
Wet Spinning
TvDical Wet SDun Fibers
Viscose
Acrilan
Creslan
Disadvantages
Slow (70 - 150 yddmin)
0' Washing to remove impurities
Solvent and chemical recovery
Advantages
Large tows can be handled
ManMadeFibersAnd Thek Propertla 3-3
Dry Spinning
TvDical Dry SRun Fibers
Acetate (acetone solvent)
Triacetate (methylene chloride)
Spandex (some) (dimethyl formamide)
Disadvantages
Flammable solvent hazards
0 ' Solvent recovery
Slow (?) (200- 400 yddmin)
Advantages
Yarn does not require purification
_-
3-4 Man MadeFibersAnd Their Properties
I
Melt Spinning
TvDical Melt Spun Fibers
Nylons
0 Polyester
Polypropylene
Disadvantages
Separate drawing step (unless spin draw)
Advantages
High speed (275to 1500 yddmin);(4000 yddmin spin draw)
Nosolvents
No purificationproblems
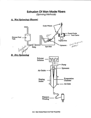
Extrusion Of Man Made Fibers
(SpinningMethods)
A. Wet Spinning (Ravon)
c
B. Dry Spinning
Polymer
Solution
--
Air Outlet
Heating
Jacket
Winding -
Filament
3-6 Man MadeFibersAnd Their Properties
C. Melt SRinning
,- J
Hopper i =
Storage -
6%jp
RollFinish -.I
Filament
d f I - Winding
ManMadeFlbersAnd Their Properties 3-7
Textile Fiber Parameters
Fibrous materials should possess certain properties for them to be
usekl as textile raw materials. Those properties which are essential
for acceptance as a suitable raw material may be classified as "primary
properties", while those which add specificdesirable character
or aesthetics to the end product and its use may be classified as
"secondary properties".
Prima- ProDerties
Length; length-width ratio
Tenacity (strength)
Flexibility (pliability)
Acceptable extensibilityfor processing
Cohesion
Uniformity of properties
Secondary ProDerties
0
0
0
--
0
0
Physical shape (cross-section, surface contour, etc.
Specificgravity (influence weight, cover, etc.)
Moisture regain and moisture absorption (comfort,static
electricity, etc.)
Elastic character - tensile and compression
Thermoplasticity (softeningpoint and heat-set character)
3-6 Man MadeFibersAnd Thelr Properties
0 Dyeability
Resistance to solvents, corrosive chemicals, micro-organisms, and
environmental conditions
Flammability
Luster
Note: Cost is always a factor to consider
ManMadeAben And Their Properties 3-9
Figure3-1 TypicalStress-StrainCurves Of
Various Fibers
5 10 15 20 2 5 3 0 35 4 0 4 5 50
SMnPercent
3-10 ManMadeFibersAnd Their Properties
Key Fiber PropertiesDeterminedby Polymer
CompositionAnd Structure
Melting Point
Modulus
Elasticity and recovery from strain
Tensile strength
Density
Moisture absorption
Dyeability
comfort
_-
ManMadeflbenAnd Thelr Propertles 3-11
&1,>?$
......... ,,.+ I.'#=....:.:.. ........:::'..:.:.:.,..... -*-
Flat Oval, Lumen
Convolutions
Cotton
Cicular, Uniform in
diameter
Nylon, Dacron
CuprammoniumRayon
Examples of Fiber Shapes
Y-Shaped
Celacbud
Acetate
CumulofiNylon
Type 20
Oval to round,
Overlappingscales
Medulla
Wool
Dog-Bone
Orlon, Verel,
Lycra
,y'
...
Ribbon-Shaped
Dyne1
$&&.
2'2EE=.........
Trilobal
Antron
Nylon
Triangular,Round
edges,Uniform in
man-mades
Silk, Nylon
Type90Dacron
Type 62
Lobular
Lengthwise
Striations
Acetate
Circular,Serrated,
Lengthwise
Striations
Viscose Rayon
3-12 ManMade FibersAnd Thelr Properties
Density and Specific Gravity'
Fiber Densits (dcc)
Natural Fibers
Cotton
Flax
Silk
Wool
Man-madeFibers
Acetate
Acrylic
Aramid
Flurocarbon
Glass
Modacrylic
Nylon
Nylon Qiana
Olefin
Polyester
Rayon
Spandex
1.52
1.52
1.25
1.32
1.32
1.17- 1.18
1.38- 1.44
2.2
2.49-2.73
1.30- 1.37
1.14
1.03
0.91
1.22or 1.38
1.50- 1.52
1.20- 1.22
*Ratio of weight of a given volume of fiber to an equal volume of water
_-
Man Made FibersAnd Thelr Properties 3-13
I
I Absorbency
Fiber Moisture Regain*
Natural Fibers
Cotton 7-11
Flax 12
Silk 11
Wool 13- 18
Man-made Fibers
Acetate
Arne1triacetate
Acrylic
&amid
Flurocarbon
Glass
Modacrylic
Nylon
Nylon Qiana
Olefin
Polyester
Rayon
Rayon HWM
Spandex
6.0
3.2
1.3- 2.5
4.5
0
0 - 0.3
0.4 -4.0
4.0 -4.5
2.5
0.01- 0.1
0.4 - 0.8
15
11.5- 13
0.75 - 1.3
*Moisture re ain is expressed as a percentage of the moisture-free
weight at 70 Farenheit and 65% relative humidity.f
3-14 Man MadeRbersAnd Their Propertla
Heat And Textile Materials
Important Criteria to Consider
Softening, melting, or decompositiontemperatures
Tendency of the fiber and fabric to shrink when heat-relaxed, or
stretch when heated and under tension
Ability of the fabric to heat set
Ability of the fabric to h c t i o n properly at elevated temperatures in
one time or repeated use
Ability of the fabric to ftnction properly at room temperature (or
some other lowertemperature)after exposure at high temperature
for a given period of time
_-
Man ModeFibersAnd Thelr Properties 3-15
Table 3-1 Thermal Properties
1
Fiber
kNaturalFben
I Cotton
I Wool
Acetate
I Acrylic
I Aramid
I Glass
I Modacrylic
I Novoloid
I Nylon6
I Nylon66
I Olefin
I PolyesterPET
I PolyesterPCDT
~ -saran
;---Vinyon
Spandex
Melting Point Softening Safe Ironing
OF O C OF OC OF O C
StickingPoint Temperature*
Nonmelting 425 218
Nonmelting 450 232
Nonmelting 300 149
Nonmelting 300 149
446 230 364 184 350 177
575 302 482 250 464 240
I 400-490 204-254 I 300-350 149-176 1
IDoes not melt, carbonizes above 800' F
1400-3033
200-250 93-121
Nonmelting
414 212 340 171 300 149
482 250 445 229 350 177
150
127 I (lowest possible)
275 135 1 260
480 249 460 238 325 163
550 311 490 254 350 177
Nonmelting 375 191
350 177 300 149 Do not iron
446 230 347 175 300 149
285 140 200 93 Do not iron
-
3-16 ManMade FibersAnd Their PropeC.nes
Comparative Fiber Properties - Effect Of Acids
Acrylic
Modacrylic
Polyester
Rayon
Acetate
Triacetate
Nylon 66
Olefin
Glass
Cotton
Wool
Resistant to most acids
Resistant to most acids
Resistant to most mineral ac
96%sulhric
is;disintegrated by
Disintegrates in hot dilute and cold concentrated acids
Soluble in acetic acid, decomposed by strong acids
Similar to acetate
Decomposed by strong mineral acids, resistant to
weak acids
Very resistant
Resists most acids. Etched by hydrofluoric acid and
hot phosphoric acid
Similar to rayon
Destroyed by hot sulfuric, otherwise unaffected
by acids
--
Man MadeRbersAnd Their Properties 3-17
Comparative Fiber Properties - EffectsOf Alkalies
Acrylic
Modacrylic
Polyester
Rayon
Acetate
Triacetate
Nylon 66
Olefin
Glass
Cotton
Wool
Destroyed by strong alkalies at a boil, resists
weak alkalies
Resistant to alkalies
Resistant to cold alkalies, slowlydecomposed at a boil
by strong alkalies
No effectby cold, weak alkalies, swells and loses
strength in concentrated alkalies
Saponified,little effect from cold weak alkalies
Not effected up to pH 9.8,205' F; better than acetate
Little or no effect
Very resistant
Attacked by hot weak alkalies and concen-
trated alkalies
Swellswhen treated with caustic soda but is
not damaged
Attacked by weak alkalies,destroyed by
strong alkalies
3-18 ManMadeFibersAnd Their Propetties
I
Comparative Fiber Properties - Effect Of
Acrylic
Modacrylic
Polyester
Rayon
Acetate
Triacetate
Nylon 66
Olefin
Glass
Cotton
Wool
Organic Solvents
Unaffected
Soluble in warm acetone, otherwise unaffected
Soluble in some phenolic compounds, other-
wise unaffected
Unaffected
Soluble in acetone, dissolved or swollenby
many others
Solublein acetone, chloroform and swollen by others
Generallyunaffected,soluble in some
phenolic compounds
Solublein chlorinated hydrocarbons above 160'
Unaffected
Resistant
Generallyresistant
ManMade FibersAnd Their Properh 3-19
Comparative Fiber Properties - EffectOf Sunlight
Acrylic
Modacrylic
Polyester
Rayon
Acetate
Triacetate
Nylon 66
Olefin
Glass
Cotton
Wool
Little or no effect
Highly resistant, some loss of strength and
discoloration after constant exposure
Someloss of strength, no discoloration,very resistant
behind glass
Generally resistant, loses strength after long exposure
Approximately same as rayon
Resistant, loses strength afterlong exposure
No discoloration,strength loss after long exposure
Very resistant, retains 95% strength after 6
months exposure
None
Strength loss on long exposure
Strength loss, dyeing is affected
3-20 ManMade FibersAnd Their Properties
I
Rayon
(A CellulosicMan-MadeFiber)
ComDosition
Regenerated cellulose
Physical ProDerties
0
0
0
0
0
0
--
0
Microscopic Appearance
-Striations seen in viscose and high-strength rayon
-If delustered, scattered specks of pigment can be seen.
Length
-Filament and staple
Color
-Transparent unless dulled by pigments
Luster
-High unless delusteringpigment added
Strength
-Fair to excellent
-Regular rayon has fair strength
-High tenacity types have good to excellent strength
Elasticity
-Regular rayon is low
-High strength rayon is good
Resiliency
-High wet-strength rayon is better
ManMade FibersAnd Their Properties 3-21
MoistureAbsorption
-Higher than natural cellulose
-Fibers swell in water
-Weaker when wet
Heat
-Loses strength above 300' F
-Decomposesbetween 350and 400' F
Flammability
-Burns rapidly unless treated
Electrical Conductivity
-Fair -static charge can be reduced with specialfinishes
SpecificGravity
-1.52(similarto cotton)
Chemical ProDerties (similar to cotton)
Easily damagedby strong acids
Resistant to alkalies, reduction in strength if concentrated
Lengthy exposure to sunlight weakens the fabric
Greater f i n i t y for dyes than cotton
3-22 ManMadeFibersAnd Their Properties
Acrylic
(A Wool-LikeFiber)
ComDosition
Acrylonitrile and small amounts of other monomers
Physical Properties
Microscopic appearance
-Uniform and smooth surface
-Irregular spaced striations
Length
* -Mainly a staple fiber
Color
-White to off-white
Luster
-Bright, semidull, or dull
Strength
-Fair to good strength
Elasticity
-Good
Resilience
-Good
--
Water Absorption
-1-3%
Man Madeflbers And Their Properties 3-23
Heat
-Yellowing may occur above 300' F
-Softeningor stickingabout 450' F
Flammability
-Burns with yellow flame
Electrical Conductivity
-Fair to good
Specific Gravity
-Good bulk and coveringpower
-1.14to 1.19
Chemical ProDerties
Damaged only by strong concentrated acids
Not normally affected by alkalies
Very resistant to ultraviolet light
3-24 ManMade FibersAnd Their Properties
I
Nylon
(A Polyamide Fiber)
ComDosition
Nylon 66 - Polyhexamethylene Adipamide
Nylon 6 - Caprolactam
Phvsical Proverties
Microscopic Appearance
-Very smooth and even
Length
, -Filament and staple
Color
-Off-white
Luster
-High natural luster can be controlled
Strength
-Exceptionally high (60,000 - 108,000)pounds per square inch
Elasticity
-Exceptionally high
Resiliency
-Very good
--
Moisture Absorption
-3.8%
ManMadeFibersAnd Thelr Properties 3-25
I
~
0
0
0
0
Heat
-High resistance, melts at 482' F
Flammability
-Melts slowly
-Does not support combustion
Electrical Conductivity
-Low, generates static
Specific Gravity
'- 1.14(low density)
Chemical ProDerties
Weakened by concentrated strong acids
High resistance to alkalies
Loses strength in prolonged exposure to sunlight -bright yam more
resistant than dull yam
3-26 ManMadeFibersAnd Their Properties
Polyester
(Most VersatileFiber)
ComDosition
Combination of TerephthalicAcid or Dimethylterephthalate and
Ethylene Glycol
Phvsical ProDerties
Microscopic Appearance
-Smooth,even,rodlike, different cross-sectionalshapes
Length
. -Filament and staple
Color
-White
Luster
-Bright or dull
Strength
-Good to excellent
Elasticity
-Fair to good
-Greater than cotton or rayon
Resilience
-Excellent_-
Moisture Absorption
-Less than 1%
Man Mode FibersAnd Thelr Properties 3-27
Heat
-Softeningor stickingtemperature is above 400' F (thermoplastic)
Flammability
-B u m slowly
Electrical Conductivity
-Accumulates static changes
Specific Gravity
-Typically 1.38
ChemicalPronerties
Good resistance to most acids
Good resistance to most alkalies
Good sunlight resistance
--
3-26 ManMade FibersAnd Thelr Properties
I
--
Figure 3-2 Productionof Polyester
Drying
r - l
Drawing
FilamentYam
StapleFiber
3
1DrawingTow
2 Crimping
3 Drying/HeatSetting
4 Cutting
ManMade FibenAnd Thelr Propertles 3-29
Acetate
(A Cellulosic Man-MadeFiber)
ComDosition
Acetate Ester of Cellulose
Phvsical ProDerties
Microscopic Appearance
-Striations farther apart than viscose rayon
-Lobed cross-section
Length
-Filament and staple
Color
-Transparent unless dulled by pigments
Luster
-Bright, semibright,or dull
Strength
-Moderate
-Less than rayon when wet
Elasticity
-Not very high
-Similar to rayon
--
Resilience
-Poor
3-30 ManMadeFlbersAnd Their Properties
Moisture Absorption
-6%,little strength loss when wet
Heat
-Ironingtemperatures of 275' F are satisfactory
Flammability
-Slowly combustible
Electrical Conductivity
-Good
SpecificGravity
-1.32
Chemical ProDerties
Concentratedstrong acidswill decompose it
Strong alkalies will damage it
Long exposuresto sunlight produce a weakeningeffect
--
Man MadeFibersAnd Their Properties 3-31
1
Polypropylene
(An Olefin Fiber)
ComDosition
Propylene
Physical ProDerties
Microscopic Appearance
-Smoothand rodlike
Length
-Filament and staple
Color
-Translucent
Luster
-Dull, semidull,bright
Strength
-Excellent strength (dependson degree of polymerization)
Elasticity
-Good
Resilience
-Good resistance to crushing
0 Moisture Absorption
-None
3-32 ManMadeAbets And Thek Properties
I
Heat
-Melts at about 330' F
-Progressive shrinkage can occur at 140' F to 212' F
Flammability
-Slowburning
Electrical Conductivity
-Excellent
Specific Gravity
* -0.90to 0.91
Chemical ProDerties
Very resistant to most acids
Very resistant to alkalies
Dye pigmentsusually added to the liquid before fibers are extruded
Loses strength in sunlight, degradesupon long exposure
--
Man MadeRbenAnd Thelr Properties 3-33
Polyethylene
(An OlefinFiber)
Composition
Ethylene
Phvsical ProDerties
Microscopic Appearance
-Smooth and rodlike
Length
-Filament and staple
Color
-Translucent
Luster
-Dull, semidull,bright
Strength
-Fair to good (dependson degree of polymerization)
Elasticity
-Good
Resilience
-Good resistance to crushing
6 - Moisture Absorption
-None
3-34 ManMadeFibersAnd Their Propertles
I
Heat
-Very heat-sensitive
-Melts at about 260' F
Flammability
-Slow burning
Electrical Conductivity
-Excellent
SpecificGravity
-0.90to 0.91
Chemical ProDerties
Very resistant to most acids
Very resistafit to alkalies
Dye pigments usually added to the liquid before fibers are extruded
Loses strength in sunlight, degradesupon long exposure
_-
Man MadeFibersAnd Their Properties 3-35
Moisture
Regain
(96)
Elongation Softening
(%I Melting
Point ("F)
7 - 8 3 - 7 NONECotton 1.5- 1.55
Acetate 1.32 6
(sM00-445'F
23 - 24 (m)500°F
1.5- 2.5 35 -39 (sM20'FAcrylic 1.16 - 1.18
NONE 3.1 -5.3 I(s)135O-156O0
Nylon 66
Polyester
1.14
1.38
l6-4.2 -4.5
(sM5OF
(mM80-500'F
0.4 -0.8
(sM5'F
(mM82'F
12-67
13
16
1
DNM
350400°F
DNM
310-350'F
9 - 26 Decomposes
30 -40 Decomposes
R.LIYOI1,
HT
1.50 - 1.53
Table 3-2 Textile Fiber Properties
Tenacity
(wet)(gpd)
Tenacity
(gpd)
specific
Gravity
3.0 -4.9 3.3 -6.4
I I
I I
1.3 - 1.5 1.2 - 1.4
2.0 - 3.6 1.6 -2.9
Glass 9.6 - 19.9 6.7 - 19.92.50 - 2.55
F
~ ~~
3.0 - 7.2
~~
2.6 -6.1
I 1
2.2 -6.6 2.2 -6.6
I
3.0 -5.7 1.9 -4.3
Wool 1- 1.51.31
DNM
350-4509
3 - 5 I 2511
3-36 ManMade RbersAnd Thelr PrOpertres
Summary Of PropertiesDesired For Textile Fibers
Azmarel and Domestic Reauirements
0
0
0
0
0
0
0
0
0
0
0
Tenacity: 3 - 5 gramddenier
Elongation at break: 10-35%
Recovery from elongation: 100%at strains up to 5%
Modulus of elasticity: 30 - 60 gramddenier
Moisture absorbency: 2 - 5%
Zero strengthtemperature (excessive creep and softeningpoint):
above 215' C
High abrasion resistance (varieswith type fabric structure)
Dyeable
Low flammability
Insoluble withlow swellingin water, in moderatelystrong acids
and bases and conventional organic solvents from room temperature
to 100' c
Ease of care
Industrial Reauirements
Tenacity: 7 -8graddenier
Elongation atbreak: 8- 15%
Modulus of elasticity: 80graddenier or more conditioned, 50
graddenier wet
Zero strength temperature: 250' C or above
--
Man Made FibersAnd Their Properties 3-37
Fiber Property Chart
Fiber Prover& Is Due To Contn'buter To Fabric
ProDertv
Abrasion Resistance
The ability of a fiber to
withstand the rubbing or
abrasion it gets in
everyday use
Tough outer layer, scales, Durability
or skin
Fiber toughness Resistance to splitting
Flexible molecular chains
Abrasion resistance
Absorbency or
Moisture Regain
The percentage of moisture
a bone-dry fiber Will absorb
from the air under
standard conditions of
.temperatureand moisture
Hydroxyl groups
Amorphousareas
Aging Resistance
Chemical structure
Comfort, warmth, water
repellency, absorbency, static
Dyeability, spotting
Shrinkage
Wrinkle resistance
build-up
Storingof fabrics
ChemicalReactivity
The effect of acids, alkali,
oxidizingagents, solvents
Polar groups of molecules Care required in
cleaning/bleaching,ability to
take acid or alkali finishes
Cohesiveness
The ability of fibers to cling
together during spinning,
not importantin
continuous filament
Crimp or twists Resistance to ravel
Cover
The ability to occupy
space for concealment
or protection
Crimp, curl, or twist
Cross-sectional shape
Warmth in fabric
Cost -less fiber needed
Creep
Delayed elasticity;
Recovers gradually
--&om strain
Lack of side chains, cross
links, strong bonds; in fabric
poor orientation
Streak dyeingand shiners
Density
see SpecificGravity
Dyeability
The fibers’receptivity to
coloration by dyes
Elastic Recovery
The ability offibers to
recover from strain
Elasticity
The ability of a stretched
material to retum
immediately to its
original size
Electric Conductivity
The ability to transfer
electrical charges
Elongation
The ability to be strztched,
extended, or lengthened;
varies at different tempera-
tures and when wet or dry
Feltability
The ability of fibers to
mat together
Flammability
The ability to ignite
and burn
Amorphous areas and
dye sites
Molecular structure: side
chains, crosslinkages,
strong bonds
Aesthetics and colorfastness
Processability of fabrics
Resiliency
Delayed elasticity or creep
Chemical structure: Poorconductivity causes
polar groups fabric to cling to the body,
electric shocks
Fiber crimp Increases tear strength
Molecular structure: mole- Reduces brittleness
cular crimp orientation Provides “give”
and stretchiness
Scale structure of wool
Chemical composition
Hand
The way a fiber feels: silky,
harsh, soft,crisp, dry
Cross-sectional shape,
crimp, diameter, length
Heat Conductivity
away fiom the body
-- - The ability to conduct heat Crimp
Cross-sectionalshape
Fabrics can be made directly
€?omfibers
Special care required
duringwashing
Fabrics bum
Hand offabric
Warmth
ManModeFibersAnd Their Properties 3-39
Heat Sensitivity
The ability to soften,melt, Heat vibrates molecules
or shrink when subjected Fewerintermolecular ironing temperatures
to heat forces and cross links
Determine safe washing and
Hydrophilic or
Hygroscopic
Bee Absorbency
Luster
The light reflected from Smoothness
a surface;more subdued Fiber length
than shine; light rays are
Flat or lobal shapebroken up
Loft or Compressional
Resiliency
The ability to spring back
to original thickness after Stiffness
being compressed
Fiber crimp
Luster
Luster Shine
Springiness, good cover
Resistance to flattening
Mildew Resistance Low absorption Care during storage
Moth Resistance Molecule has no sulfur Care during storage
Pilling
The bailing up of fiber
ends on the surface High molecular weight Unsightly appearance
of fabrics
PillingFiber strength
SpecificGravityand
Density
The measures of the weight
of a fiber; Density is the
weight in grams per cubic
centimeter and specific
gravity is the ratio of the
mass of the fiber to an
equal volume of water
at doc.
Molecular weight
--
Warmth without weight
Loftiness -full and light
Buoyancy to fabric
3-40 Man Made FibersAnd Their Properties
¶
StiffnessorRigidity
The opposite of flexibility;
the resistance to bending
or creasing
Strength
The ability to resist stress;
expressed as tensile
strength (pounds per
square inch) or as tenacity
(gramsper denier)
Sunlight Resistance
The ability to withstand
degradation from
direct sunlight
Toughness
Ratio of breaking stress to
breaking strain
Body of fabric
Resistance to insertion of
yam twist
Molecular structure: Durability, tear strength,
orientation, crystallinity, sagging,pilling
degree of polymerization Sheererfabrics possible with
stronger fine fibers
Chemical composition Durability of curtains and
draperies, outdoorfurniture,
outdoor carpeting
Outer surface of "skin"
of fiber deformation,gives
Resists rupture from
frictional resistance
Wicking
The ability of a fiber to
transfer moisture along composition of
its surface outer surfaces
Chemicaland physical Makes fabrics comfortable
3-41
Fiber Blends -Some Reasons For Blending
To facilitate processing
To improve properties
-Abrasion resistance
-Strength
-Absorbency
-Add bulk and warmth
-Hand
-Dimensional stability
-Resistance to wrinkling
To produce multi-color fabrics
To reduce cost
3-42
A book of Man Made Fibre

A book of Man Made Fibre

  • 3.
    Generic Name Acetate CelluloseAcetate; Triacetate where not less than 92%of the cellulose is acetylated Acrylic At least 85% Acrylonitrile unite Aramid Polyamide in which at least 85% of the amide linkages are directly attached to two aromaticrings Glass Glass Modacrylic Lessthan 85%but at least 35% acrylonitrileunits Nylon Polyamide in which less than 85% of the amide linkages are directly attached to two aromaticrings Olefin At least 85% ethylene,propylene, or other olefin units Polyester At least 85%ester of a substituted aromatic carboxylic acid includingbut not restricted to substituted terephthalate units and parasubstituted hydroxybenzoate units Rayon Regenerated cellulose withless than 15% chemically combined substituents Saran At least 80%vinylidene chloride Spandex Elastomer of at least 85% of a segmented polyurethane Vinal At least 50% vinyl alcoholunits and at least 85% total vinyl alcohol and acetal units _- 3-2 ManMade FibersAnd Their Proprtles
  • 4.
    Wet Spinning TvDical WetSDun Fibers Viscose Acrilan Creslan Disadvantages Slow (70 - 150 yddmin) 0' Washing to remove impurities Solvent and chemical recovery Advantages Large tows can be handled ManMadeFibersAnd Thek Propertla 3-3
  • 5.
    Dry Spinning TvDical DrySRun Fibers Acetate (acetone solvent) Triacetate (methylene chloride) Spandex (some) (dimethyl formamide) Disadvantages Flammable solvent hazards 0 ' Solvent recovery Slow (?) (200- 400 yddmin) Advantages Yarn does not require purification _- 3-4 Man MadeFibersAnd Their Properties
  • 6.
    I Melt Spinning TvDical MeltSpun Fibers Nylons 0 Polyester Polypropylene Disadvantages Separate drawing step (unless spin draw) Advantages High speed (275to 1500 yddmin);(4000 yddmin spin draw) Nosolvents No purificationproblems
  • 7.
    Extrusion Of ManMade Fibers (SpinningMethods) A. Wet Spinning (Ravon) c B. Dry Spinning Polymer Solution -- Air Outlet Heating Jacket Winding - Filament 3-6 Man MadeFibersAnd Their Properties
  • 8.
    C. Melt SRinning ,-J Hopper i = Storage - 6%jp RollFinish -.I Filament d f I - Winding ManMadeFlbersAnd Their Properties 3-7
  • 9.
    Textile Fiber Parameters Fibrousmaterials should possess certain properties for them to be usekl as textile raw materials. Those properties which are essential for acceptance as a suitable raw material may be classified as "primary properties", while those which add specificdesirable character or aesthetics to the end product and its use may be classified as "secondary properties". Prima- ProDerties Length; length-width ratio Tenacity (strength) Flexibility (pliability) Acceptable extensibilityfor processing Cohesion Uniformity of properties Secondary ProDerties 0 0 0 -- 0 0 Physical shape (cross-section, surface contour, etc. Specificgravity (influence weight, cover, etc.) Moisture regain and moisture absorption (comfort,static electricity, etc.) Elastic character - tensile and compression Thermoplasticity (softeningpoint and heat-set character) 3-6 Man MadeFibersAnd Thelr Properties
  • 10.
    0 Dyeability Resistance tosolvents, corrosive chemicals, micro-organisms, and environmental conditions Flammability Luster Note: Cost is always a factor to consider ManMadeAben And Their Properties 3-9
  • 11.
    Figure3-1 TypicalStress-StrainCurves Of VariousFibers 5 10 15 20 2 5 3 0 35 4 0 4 5 50 SMnPercent 3-10 ManMadeFibersAnd Their Properties
  • 12.
    Key Fiber PropertiesDeterminedbyPolymer CompositionAnd Structure Melting Point Modulus Elasticity and recovery from strain Tensile strength Density Moisture absorption Dyeability comfort _- ManMadeflbenAnd Thelr Propertles 3-11
  • 13.
    &1,>?$ ......... ,,.+ I.'#=....:.:..........:::'..:.:.:.,..... -*- Flat Oval, Lumen Convolutions Cotton Cicular, Uniform in diameter Nylon, Dacron CuprammoniumRayon Examples of Fiber Shapes Y-Shaped Celacbud Acetate CumulofiNylon Type 20 Oval to round, Overlappingscales Medulla Wool Dog-Bone Orlon, Verel, Lycra ,y' ... Ribbon-Shaped Dyne1 $&&. 2'2EE=......... Trilobal Antron Nylon Triangular,Round edges,Uniform in man-mades Silk, Nylon Type90Dacron Type 62 Lobular Lengthwise Striations Acetate Circular,Serrated, Lengthwise Striations Viscose Rayon 3-12 ManMade FibersAnd Thelr Properties
  • 14.
    Density and SpecificGravity' Fiber Densits (dcc) Natural Fibers Cotton Flax Silk Wool Man-madeFibers Acetate Acrylic Aramid Flurocarbon Glass Modacrylic Nylon Nylon Qiana Olefin Polyester Rayon Spandex 1.52 1.52 1.25 1.32 1.32 1.17- 1.18 1.38- 1.44 2.2 2.49-2.73 1.30- 1.37 1.14 1.03 0.91 1.22or 1.38 1.50- 1.52 1.20- 1.22 *Ratio of weight of a given volume of fiber to an equal volume of water _- Man Made FibersAnd Thelr Properties 3-13
  • 15.
    I I Absorbency Fiber MoistureRegain* Natural Fibers Cotton 7-11 Flax 12 Silk 11 Wool 13- 18 Man-made Fibers Acetate Arne1triacetate Acrylic &amid Flurocarbon Glass Modacrylic Nylon Nylon Qiana Olefin Polyester Rayon Rayon HWM Spandex 6.0 3.2 1.3- 2.5 4.5 0 0 - 0.3 0.4 -4.0 4.0 -4.5 2.5 0.01- 0.1 0.4 - 0.8 15 11.5- 13 0.75 - 1.3 *Moisture re ain is expressed as a percentage of the moisture-free weight at 70 Farenheit and 65% relative humidity.f 3-14 Man MadeRbersAnd Their Propertla
  • 16.
    Heat And TextileMaterials Important Criteria to Consider Softening, melting, or decompositiontemperatures Tendency of the fiber and fabric to shrink when heat-relaxed, or stretch when heated and under tension Ability of the fabric to heat set Ability of the fabric to h c t i o n properly at elevated temperatures in one time or repeated use Ability of the fabric to ftnction properly at room temperature (or some other lowertemperature)after exposure at high temperature for a given period of time _- Man ModeFibersAnd Thelr Properties 3-15
  • 17.
    Table 3-1 ThermalProperties 1 Fiber kNaturalFben I Cotton I Wool Acetate I Acrylic I Aramid I Glass I Modacrylic I Novoloid I Nylon6 I Nylon66 I Olefin I PolyesterPET I PolyesterPCDT ~ -saran ;---Vinyon Spandex Melting Point Softening Safe Ironing OF O C OF OC OF O C StickingPoint Temperature* Nonmelting 425 218 Nonmelting 450 232 Nonmelting 300 149 Nonmelting 300 149 446 230 364 184 350 177 575 302 482 250 464 240 I 400-490 204-254 I 300-350 149-176 1 IDoes not melt, carbonizes above 800' F 1400-3033 200-250 93-121 Nonmelting 414 212 340 171 300 149 482 250 445 229 350 177 150 127 I (lowest possible) 275 135 1 260 480 249 460 238 325 163 550 311 490 254 350 177 Nonmelting 375 191 350 177 300 149 Do not iron 446 230 347 175 300 149 285 140 200 93 Do not iron - 3-16 ManMade FibersAnd Their PropeC.nes
  • 18.
    Comparative Fiber Properties- Effect Of Acids Acrylic Modacrylic Polyester Rayon Acetate Triacetate Nylon 66 Olefin Glass Cotton Wool Resistant to most acids Resistant to most acids Resistant to most mineral ac 96%sulhric is;disintegrated by Disintegrates in hot dilute and cold concentrated acids Soluble in acetic acid, decomposed by strong acids Similar to acetate Decomposed by strong mineral acids, resistant to weak acids Very resistant Resists most acids. Etched by hydrofluoric acid and hot phosphoric acid Similar to rayon Destroyed by hot sulfuric, otherwise unaffected by acids -- Man MadeRbersAnd Their Properties 3-17
  • 19.
    Comparative Fiber Properties- EffectsOf Alkalies Acrylic Modacrylic Polyester Rayon Acetate Triacetate Nylon 66 Olefin Glass Cotton Wool Destroyed by strong alkalies at a boil, resists weak alkalies Resistant to alkalies Resistant to cold alkalies, slowlydecomposed at a boil by strong alkalies No effectby cold, weak alkalies, swells and loses strength in concentrated alkalies Saponified,little effect from cold weak alkalies Not effected up to pH 9.8,205' F; better than acetate Little or no effect Very resistant Attacked by hot weak alkalies and concen- trated alkalies Swellswhen treated with caustic soda but is not damaged Attacked by weak alkalies,destroyed by strong alkalies 3-18 ManMadeFibersAnd Their Propetties
  • 20.
    I Comparative Fiber Properties- Effect Of Acrylic Modacrylic Polyester Rayon Acetate Triacetate Nylon 66 Olefin Glass Cotton Wool Organic Solvents Unaffected Soluble in warm acetone, otherwise unaffected Soluble in some phenolic compounds, other- wise unaffected Unaffected Soluble in acetone, dissolved or swollenby many others Solublein acetone, chloroform and swollen by others Generallyunaffected,soluble in some phenolic compounds Solublein chlorinated hydrocarbons above 160' Unaffected Resistant Generallyresistant ManMade FibersAnd Their Properh 3-19
  • 21.
    Comparative Fiber Properties- EffectOf Sunlight Acrylic Modacrylic Polyester Rayon Acetate Triacetate Nylon 66 Olefin Glass Cotton Wool Little or no effect Highly resistant, some loss of strength and discoloration after constant exposure Someloss of strength, no discoloration,very resistant behind glass Generally resistant, loses strength after long exposure Approximately same as rayon Resistant, loses strength afterlong exposure No discoloration,strength loss after long exposure Very resistant, retains 95% strength after 6 months exposure None Strength loss on long exposure Strength loss, dyeing is affected 3-20 ManMade FibersAnd Their Properties
  • 22.
    I Rayon (A CellulosicMan-MadeFiber) ComDosition Regenerated cellulose PhysicalProDerties 0 0 0 0 0 0 -- 0 Microscopic Appearance -Striations seen in viscose and high-strength rayon -If delustered, scattered specks of pigment can be seen. Length -Filament and staple Color -Transparent unless dulled by pigments Luster -High unless delusteringpigment added Strength -Fair to excellent -Regular rayon has fair strength -High tenacity types have good to excellent strength Elasticity -Regular rayon is low -High strength rayon is good Resiliency -High wet-strength rayon is better ManMade FibersAnd Their Properties 3-21
  • 23.
    MoistureAbsorption -Higher than naturalcellulose -Fibers swell in water -Weaker when wet Heat -Loses strength above 300' F -Decomposesbetween 350and 400' F Flammability -Burns rapidly unless treated Electrical Conductivity -Fair -static charge can be reduced with specialfinishes SpecificGravity -1.52(similarto cotton) Chemical ProDerties (similar to cotton) Easily damagedby strong acids Resistant to alkalies, reduction in strength if concentrated Lengthy exposure to sunlight weakens the fabric Greater f i n i t y for dyes than cotton 3-22 ManMadeFibersAnd Their Properties
  • 24.
    Acrylic (A Wool-LikeFiber) ComDosition Acrylonitrile andsmall amounts of other monomers Physical Properties Microscopic appearance -Uniform and smooth surface -Irregular spaced striations Length * -Mainly a staple fiber Color -White to off-white Luster -Bright, semidull, or dull Strength -Fair to good strength Elasticity -Good Resilience -Good -- Water Absorption -1-3% Man Madeflbers And Their Properties 3-23
  • 25.
    Heat -Yellowing may occurabove 300' F -Softeningor stickingabout 450' F Flammability -Burns with yellow flame Electrical Conductivity -Fair to good Specific Gravity -Good bulk and coveringpower -1.14to 1.19 Chemical ProDerties Damaged only by strong concentrated acids Not normally affected by alkalies Very resistant to ultraviolet light 3-24 ManMade FibersAnd Their Properties
  • 26.
    I Nylon (A Polyamide Fiber) ComDosition Nylon66 - Polyhexamethylene Adipamide Nylon 6 - Caprolactam Phvsical Proverties Microscopic Appearance -Very smooth and even Length , -Filament and staple Color -Off-white Luster -High natural luster can be controlled Strength -Exceptionally high (60,000 - 108,000)pounds per square inch Elasticity -Exceptionally high Resiliency -Very good -- Moisture Absorption -3.8% ManMadeFibersAnd Thelr Properties 3-25
  • 27.
    I ~ 0 0 0 0 Heat -High resistance, meltsat 482' F Flammability -Melts slowly -Does not support combustion Electrical Conductivity -Low, generates static Specific Gravity '- 1.14(low density) Chemical ProDerties Weakened by concentrated strong acids High resistance to alkalies Loses strength in prolonged exposure to sunlight -bright yam more resistant than dull yam 3-26 ManMadeFibersAnd Their Properties
  • 28.
    Polyester (Most VersatileFiber) ComDosition Combination ofTerephthalicAcid or Dimethylterephthalate and Ethylene Glycol Phvsical ProDerties Microscopic Appearance -Smooth,even,rodlike, different cross-sectionalshapes Length . -Filament and staple Color -White Luster -Bright or dull Strength -Good to excellent Elasticity -Fair to good -Greater than cotton or rayon Resilience -Excellent_- Moisture Absorption -Less than 1% Man Mode FibersAnd Thelr Properties 3-27
  • 29.
    Heat -Softeningor stickingtemperature isabove 400' F (thermoplastic) Flammability -B u m slowly Electrical Conductivity -Accumulates static changes Specific Gravity -Typically 1.38 ChemicalPronerties Good resistance to most acids Good resistance to most alkalies Good sunlight resistance -- 3-26 ManMade FibersAnd Thelr Properties
  • 30.
    I -- Figure 3-2 ProductionofPolyester Drying r - l Drawing FilamentYam StapleFiber 3 1DrawingTow 2 Crimping 3 Drying/HeatSetting 4 Cutting ManMade FibenAnd Thelr Propertles 3-29
  • 31.
    Acetate (A Cellulosic Man-MadeFiber) ComDosition AcetateEster of Cellulose Phvsical ProDerties Microscopic Appearance -Striations farther apart than viscose rayon -Lobed cross-section Length -Filament and staple Color -Transparent unless dulled by pigments Luster -Bright, semibright,or dull Strength -Moderate -Less than rayon when wet Elasticity -Not very high -Similar to rayon -- Resilience -Poor 3-30 ManMadeFlbersAnd Their Properties
  • 32.
    Moisture Absorption -6%,little strengthloss when wet Heat -Ironingtemperatures of 275' F are satisfactory Flammability -Slowly combustible Electrical Conductivity -Good SpecificGravity -1.32 Chemical ProDerties Concentratedstrong acidswill decompose it Strong alkalies will damage it Long exposuresto sunlight produce a weakeningeffect -- Man MadeFibersAnd Their Properties 3-31
  • 33.
    1 Polypropylene (An Olefin Fiber) ComDosition Propylene PhysicalProDerties Microscopic Appearance -Smoothand rodlike Length -Filament and staple Color -Translucent Luster -Dull, semidull,bright Strength -Excellent strength (dependson degree of polymerization) Elasticity -Good Resilience -Good resistance to crushing 0 Moisture Absorption -None 3-32 ManMadeAbets And Thek Properties
  • 34.
    I Heat -Melts at about330' F -Progressive shrinkage can occur at 140' F to 212' F Flammability -Slowburning Electrical Conductivity -Excellent Specific Gravity * -0.90to 0.91 Chemical ProDerties Very resistant to most acids Very resistant to alkalies Dye pigmentsusually added to the liquid before fibers are extruded Loses strength in sunlight, degradesupon long exposure -- Man MadeRbenAnd Thelr Properties 3-33
  • 35.
    Polyethylene (An OlefinFiber) Composition Ethylene Phvsical ProDerties MicroscopicAppearance -Smooth and rodlike Length -Filament and staple Color -Translucent Luster -Dull, semidull,bright Strength -Fair to good (dependson degree of polymerization) Elasticity -Good Resilience -Good resistance to crushing 6 - Moisture Absorption -None 3-34 ManMadeFibersAnd Their Propertles
  • 36.
    I Heat -Very heat-sensitive -Melts atabout 260' F Flammability -Slow burning Electrical Conductivity -Excellent SpecificGravity -0.90to 0.91 Chemical ProDerties Very resistant to most acids Very resistafit to alkalies Dye pigments usually added to the liquid before fibers are extruded Loses strength in sunlight, degradesupon long exposure _- Man MadeFibersAnd Their Properties 3-35
  • 37.
    Moisture Regain (96) Elongation Softening (%I Melting Point("F) 7 - 8 3 - 7 NONECotton 1.5- 1.55 Acetate 1.32 6 (sM00-445'F 23 - 24 (m)500°F 1.5- 2.5 35 -39 (sM20'FAcrylic 1.16 - 1.18 NONE 3.1 -5.3 I(s)135O-156O0 Nylon 66 Polyester 1.14 1.38 l6-4.2 -4.5 (sM5OF (mM80-500'F 0.4 -0.8 (sM5'F (mM82'F 12-67 13 16 1 DNM 350400°F DNM 310-350'F 9 - 26 Decomposes 30 -40 Decomposes R.LIYOI1, HT 1.50 - 1.53 Table 3-2 Textile Fiber Properties Tenacity (wet)(gpd) Tenacity (gpd) specific Gravity 3.0 -4.9 3.3 -6.4 I I I I 1.3 - 1.5 1.2 - 1.4 2.0 - 3.6 1.6 -2.9 Glass 9.6 - 19.9 6.7 - 19.92.50 - 2.55 F ~ ~~ 3.0 - 7.2 ~~ 2.6 -6.1 I 1 2.2 -6.6 2.2 -6.6 I 3.0 -5.7 1.9 -4.3 Wool 1- 1.51.31 DNM 350-4509 3 - 5 I 2511 3-36 ManMade RbersAnd Thelr PrOpertres
  • 38.
    Summary Of PropertiesDesiredFor Textile Fibers Azmarel and Domestic Reauirements 0 0 0 0 0 0 0 0 0 0 0 Tenacity: 3 - 5 gramddenier Elongation at break: 10-35% Recovery from elongation: 100%at strains up to 5% Modulus of elasticity: 30 - 60 gramddenier Moisture absorbency: 2 - 5% Zero strengthtemperature (excessive creep and softeningpoint): above 215' C High abrasion resistance (varieswith type fabric structure) Dyeable Low flammability Insoluble withlow swellingin water, in moderatelystrong acids and bases and conventional organic solvents from room temperature to 100' c Ease of care Industrial Reauirements Tenacity: 7 -8graddenier Elongation atbreak: 8- 15% Modulus of elasticity: 80graddenier or more conditioned, 50 graddenier wet Zero strength temperature: 250' C or above -- Man Made FibersAnd Their Properties 3-37
  • 39.
    Fiber Property Chart FiberProver& Is Due To Contn'buter To Fabric ProDertv Abrasion Resistance The ability of a fiber to withstand the rubbing or abrasion it gets in everyday use Tough outer layer, scales, Durability or skin Fiber toughness Resistance to splitting Flexible molecular chains Abrasion resistance Absorbency or Moisture Regain The percentage of moisture a bone-dry fiber Will absorb from the air under standard conditions of .temperatureand moisture Hydroxyl groups Amorphousareas Aging Resistance Chemical structure Comfort, warmth, water repellency, absorbency, static Dyeability, spotting Shrinkage Wrinkle resistance build-up Storingof fabrics ChemicalReactivity The effect of acids, alkali, oxidizingagents, solvents Polar groups of molecules Care required in cleaning/bleaching,ability to take acid or alkali finishes Cohesiveness The ability of fibers to cling together during spinning, not importantin continuous filament Crimp or twists Resistance to ravel Cover The ability to occupy space for concealment or protection Crimp, curl, or twist Cross-sectional shape Warmth in fabric Cost -less fiber needed Creep Delayed elasticity; Recovers gradually --&om strain Lack of side chains, cross links, strong bonds; in fabric poor orientation Streak dyeingand shiners
  • 40.
    Density see SpecificGravity Dyeability The fibers’receptivityto coloration by dyes Elastic Recovery The ability offibers to recover from strain Elasticity The ability of a stretched material to retum immediately to its original size Electric Conductivity The ability to transfer electrical charges Elongation The ability to be strztched, extended, or lengthened; varies at different tempera- tures and when wet or dry Feltability The ability of fibers to mat together Flammability The ability to ignite and burn Amorphous areas and dye sites Molecular structure: side chains, crosslinkages, strong bonds Aesthetics and colorfastness Processability of fabrics Resiliency Delayed elasticity or creep Chemical structure: Poorconductivity causes polar groups fabric to cling to the body, electric shocks Fiber crimp Increases tear strength Molecular structure: mole- Reduces brittleness cular crimp orientation Provides “give” and stretchiness Scale structure of wool Chemical composition Hand The way a fiber feels: silky, harsh, soft,crisp, dry Cross-sectional shape, crimp, diameter, length Heat Conductivity away fiom the body -- - The ability to conduct heat Crimp Cross-sectionalshape Fabrics can be made directly €?omfibers Special care required duringwashing Fabrics bum Hand offabric Warmth ManModeFibersAnd Their Properties 3-39
  • 41.
    Heat Sensitivity The abilityto soften,melt, Heat vibrates molecules or shrink when subjected Fewerintermolecular ironing temperatures to heat forces and cross links Determine safe washing and Hydrophilic or Hygroscopic Bee Absorbency Luster The light reflected from Smoothness a surface;more subdued Fiber length than shine; light rays are Flat or lobal shapebroken up Loft or Compressional Resiliency The ability to spring back to original thickness after Stiffness being compressed Fiber crimp Luster Luster Shine Springiness, good cover Resistance to flattening Mildew Resistance Low absorption Care during storage Moth Resistance Molecule has no sulfur Care during storage Pilling The bailing up of fiber ends on the surface High molecular weight Unsightly appearance of fabrics PillingFiber strength SpecificGravityand Density The measures of the weight of a fiber; Density is the weight in grams per cubic centimeter and specific gravity is the ratio of the mass of the fiber to an equal volume of water at doc. Molecular weight -- Warmth without weight Loftiness -full and light Buoyancy to fabric 3-40 Man Made FibersAnd Their Properties
  • 42.
    ¶ StiffnessorRigidity The opposite offlexibility; the resistance to bending or creasing Strength The ability to resist stress; expressed as tensile strength (pounds per square inch) or as tenacity (gramsper denier) Sunlight Resistance The ability to withstand degradation from direct sunlight Toughness Ratio of breaking stress to breaking strain Body of fabric Resistance to insertion of yam twist Molecular structure: Durability, tear strength, orientation, crystallinity, sagging,pilling degree of polymerization Sheererfabrics possible with stronger fine fibers Chemical composition Durability of curtains and draperies, outdoorfurniture, outdoor carpeting Outer surface of "skin" of fiber deformation,gives Resists rupture from frictional resistance Wicking The ability of a fiber to transfer moisture along composition of its surface outer surfaces Chemicaland physical Makes fabrics comfortable 3-41
  • 43.
    Fiber Blends -SomeReasons For Blending To facilitate processing To improve properties -Abrasion resistance -Strength -Absorbency -Add bulk and warmth -Hand -Dimensional stability -Resistance to wrinkling To produce multi-color fabrics To reduce cost 3-42