Fermentation
M.Sc. Biotechnology Part II (Sem III)
Mumbai University
Paper III - Unit I & II
By: Mayur D. Chauhan
1
Fermentation
• Fermentation is a metabolic process that converts
sugar to acids, gases or alcohol.
• It occurs in yeast and bacteria, but also in oxygen-
starved muscle cells, as in the case of lactic acid
fermentation.
• Fermentation is also used more broadly to refer
to the bulk growth of microorganisms on a
growth medium, often with the goal of producing
a specific chemical product.
• The science of fermentation is known as
zymology
2
Range of Fermentation Processes
• To Produce Microbial cells or Biomass
• To Produce Microbial Enzymes
• To Produce Microbial Metabolites
• To Produce Recombinant Products
• To modify a compound which is added to the
fermentation (Transformation)
3
Steps to carry out a Fermentation
• The formulation of media to be used in
culturing the process organism during the
development of the inoculum and in the
production fermenter.
• The sterilization of the medium, fermenters
and ancillary equipment.
• The production of an active, pure culture in
sufficient quantity to inoculate the production
vessel.
4
• The growth of the organism in the production
fermenter under optimum conditions for
product formation.
• The extraction of the product and its
purification.
• The disposal of effluents produced by the
process
5
Basic Design of a Fermenter
6
Various components of an ideal fermenter for batch process are:
7
Monitoring and controlling parts of fermenter are:
8
Basic Functions of a Fermenter
• The vessel should be capable of being operated
aseptically for a number of days and should be
reliable in long-term operation and meet the
requirements of containment regulations.
• Adequate aeration and agitation should be
provided to meet the metabolic requirements of
the micro-organism. However, the mixing should
not cause damage to the organism.
• Power consumption should be as low as possible.
• A system of temperature control should be
provided.
9
• A system of pH control should be provided.
• Sampling facilities should be provided.
• Evaporation losses from the fermenter should
not be excessive.
• The vessel should be designed to require the
minimal use of labour in operation,
harvesting, cleaning and maintenance.
• Ideally the vessel should be suitable for a
range of processes, but this may be restricted
because of containment regulations.
10
• The vessel should be constructed to ensure
smooth internal surfaces, using welds instead
of flange joints whenever possible.
• The vessel should be of similar geometry to
both smaller and larger vessels in the pilot
plant or plant to facilitate scale-up.
• The cheapest materials which enable
satisfactory results to be achieved should be
used.
• There should be adequate service provisions
for individual plants
11
Hazard Assessment Systems
• Once the organism has been allocated to a hazard
group, the appropriate containment requirements can
be applied.
• Hazard group 1 organisms used on a large scale only
require Good Industrial Large Scale Practice (GILSP).
• Processes in this category need to be operated
aseptically but no containment steps are necessary,
including prevention of escape of organisms.
• If the organism is placed in Hazard group 4 the
stringent requirements of level 3 will have to be met
before the process can be operated.
12
13
Materials for Body Construction of a
Fermenter
• In fermentations with strict aseptic requirements
it is important to select materials that can
withstand repeated steam sterilization cycles.
• On a small scale (1 to 30 dm3) it is possible to use
glass and/or stainless steel.
• Glass is useful because it gives smooth surfaces,
is non-toxic, corrosion proof and it is usually easy
to examine the interior of the vessel.
14
Two basic types of Fermenters
• A glass vessel with a round or flat bottom and
a top flanged carrying plate.
• All vessels of this type have to be sterilized by
autoclaving.
15
16
• A glass cylinder with stainless-steel top and
bottom plates.
• Vessels with two stainless steel plates cost
approximately 50% more than those with just
a top plate.
• At pilot and large scale, when all fermenters
are sterilized in situ, any materials used will
have to be assessed on their ability to
withstand pressure sterilization and corrosion
and on their potential toxicity and cost.
17
18
• Pilot scale and Industrial scale vessels are
normally constructed of stainless steel or at
least have a stainless-steel cladding to limit
corrosion.
• The American Iron and Steel Institute (AISI)
states that steels containing less than 4%
chromium are classified as steel alloys and
those containing more than 4% are classified
as stainless steels.
• Mild steel coated with glass or phenolic epoxy
materials has occasionally been used
19
• The corrosion resistance of stainless steel is
thought to depend on the existence of a thin
hydrous oxide film on the surface of the metal.
• The composition of this film varies with different
steel alloys and different manufacturing process
treatments such as rolling, pickling or heat
treatment.
• The film is stabilized by chromium and is
considered to be continuous, non-porous,
insoluble and self healing.
• If damaged, the film will repair itself when
exposed to air or an oxidizing agent.
20
• The minimum amount of chromium needed to
resist corrosion will depend on the corroding
agent in a particular environment, such as
acids, alkalis, gases, soil, salt or fresh water.
• Increasing the chromium content enhances
resistance to corrosion, but only grades of
steel containing at least 10 to 13% chromium
develop an effective film.
21
• The inclusion of nickel in high percent
chromium steels enhances their resistance
and improves their engineering properties.
• The presence of molybdenum improves the
resistance of stainless steels to solutions of
halogen salts and pitting by chloride ions in
brine or sea water.
• Corrosion resistance can also be improved by
tungsten, silicone and other elements.
22
• At this stage it is important to consider the
ways in which a reliable aseptic seal is made
between glass and glass, glass and metal or
metal and metal joints such as between a
fermenter vessel and a detachable top or base
plate.
23
Types of Seals
Gasket Seal
Lip Seal
O ring Seal
24
25
• With glass and metal, a seal can be made with a
compressible gasket, a lip seal or an '0' ring.
• With metal to metal joints only an '0' ring is
suitable.
• Nitryl or butyl rubbers are normally used for
these seals as they will withstand fermentation
process conditions.
• A single '0' ring seal is adequate for GILSP and
levels 1 and B2, a double '0' ring seal is required
for levels 2 and B3 and a double '0' ring seal with
steam between the seals (steam tracing) is
necessary for levels 3 and B4
26
Aeration and Agitation
• Primary purpose of aeration is to provide
microorganisms in submerged culture with
sufficient oxygen for metabolic requirements.
• While agitation should ensure that a uniform
suspension of microbial cells is achieved in a
homogenous nutrient medium.
27
Agitator (Impellers)
• The agitator is required to achieve a number
of mixing objectives, e.g. bulk fluid and gas-
phase mixing, air dispersion, oxygen transfer,
heat transfer, suspension of solid particles and
maintaining a uniform environment
throughout the vessel contents.
• Agitators may be classified as disc turbines,
vaned discs, open turbines of variable pitch
and propellers.
28
29
• The disc turbine consists of a disc with a series
of rectangular vanes set in a vertical plane
around the circumference.
• The vaned disc has a series of rectangular
vanes attached vertically to the underside.
• Air from the sparger hits the underside of the
disc and is displaced towards the vanes where
the air bubbles are broken up into smaller
bubbles.
30
Modern Agitator Develoments
• Four other modern agitator developments,
the Scaba 6SRGT, the Prochem Maxflo T, the
Lightning A315 and the Ekato Intermig are
derived from open turbines
31
32
• The Scaba 6SRGT agitator is one which, at a
given power input, can handle a high air flow
rate before flooding.
• This radial-flow agitator is also better for bulk
blending than a Rushton turbine, but does not
give good top to bottom blending in a large
fermenter which leads to lower
concentrations of oxygen in broth away from
the agitators and higher concentrations of
nutrients, acid or alkali, or antifoams near the
feed forts.
33
• Another is the Prochem Maxflo agitator. It of four,
five or six hydrofoil blades set at a critical on a
central hollow hub.
• A high hydrodynamic thrust is created during
rotation, increasing the downwards pumping
capacity of the blades.
• Good mixing and aeration in high viscosity broths
may also be achieved by a dual impeller
combination, where the lower impeller acts as
the gas disperser and the upper impeller acts
primarily as a device for aiding circulation of
vessel contents.
34
Stirrer Glands and Bearings
• The satisfactory sealing of the stirrer shaft
assembly top plate has been one of the most
difficult problems to overcome in the
construction of fermentation equipment
which can be operated aseptically for long
periods.
• The stirrer shaft can enter the vessel from the
top, side or bottom of the vessel.
35
A simple Stirrer Seal
36
• A porous bronze bearing for a 13-mm shaft was
fitted in the centre of the fermenter top and
another in a yoke directly above it.
• The bearings were pressed into steel housings,
which screwed into position in the yoke and the
fermenter top.
• The lower bearing and housing were covered
with a skirt-like shield having a 6.5 mm overhang
which rotated with the shaft and prevented air-
borne contaminants from settling on the bearing
and working their way through it into the
fermenter.
37
Four Main Types
The Stuffing Box (Packed Gland seal)
The Mechanical Seal
Simple Bush Seal
The Magnetic Drive Seal
38
The Stuffing Box (Packed Gland Seal)
• The shaft is sealed by several layers of packing
rings of asbestos or cotton yarn, pressed
against the shaft by a gland follower.
• Chain et al. (1954) used two stuffing boxes on
the agitator shaft with a space in between
kept filled with steam.
• These seals are sufficient for the requirements
of GILSP containment.
39
40
The Mechanical Seal
• The seal is composed of two parts, one part is
stationary in the bearing housing, the other
rotates on the shaft, and the two components are
pressed together by springs or expanding
bellows.
• The two meeting surfaces have to be precision
machined, the moving surface normally consists
of a carbon-faced unit while the stationary unit is
of stellite-faced stainless steel.
41
42
Magnetic Drive
• The problems of providing a satisfactory seal
when the impeller shaft passes through the
top or bottom plate of the fermenter may be
solved by the use of a magnetic drive in which
the impeller shaft does not pierce the vessel.
• A magnetic drive consists of two magnets: one
driving and one driven.
43
• The driving magnet is held in bearings in a
housing on the outside of the head plate and
connected to a drive shaft.
• The internal driven magnet is placed on one
end of the impeller shaft and held in bearings
in a suitable housing on the inner surface of
the headplate.
44
Baffles
• Four baffles are normally incorporated into
agitated vessels of all sizes to prevent a vortex
and to improve aeration efficiency.
• Baffles are metal strips roughly one-tenth of
the vessel diameter and attached radially to
the wall.
• The agitation effect is only slightly increased
with wider baffles, but drops sharply with
narrower baffles.
45
• It is recommended that baffles should be
installed so that a gap existed between them
and the vessel wall, so that there was a
scouring action around and behind the baffles
thus minimizing microbial growth on the
baffles and the fermenter walls.
• Extra cooling coils may be attached to baffles
to improve the cooling capacity of a fermenter
without unduly affecting the geometry.
46
Aeration System (Spargers)
• A sparger may be defined as a device for
introducing air into the liquid in a fermenter.
• Three basic types of sparger have been used
and may be described as the Porous sparger,
the Orifice sparger (a perforated pipe) and the
Nozzle sparger (an open or partially closed
pipe).
47
Porous Sparger
• The porous sparger of sintered glass, ceramics
or metal, has been used primarily on a
laboratory scale in non-agitated vessels.
• The bubble size produced from such spargers
is always 10 to 100 times larger than the pore
size of the aerator block.
• There is also the problem of the fine holes
becoming blocked by growth of the microbial
culture.
48
Orifice Sparger
• In small stirred fermenters the perforated
pipes were arranged below the impeller in the
form of crosses or rings (ring sparger),
approximately three-quarters of the impeller
diameter.
• In most designs the air holes were drilled on
the under surfaces of the tubes making up the
ring or cross.
49
• Sparger holes should be at least 6 mm (1/4
inch) diameter because of the tendency of
smaller holes to block and to minimize the
pressure drop.
50
Nozzle Sparger
• Single open or partially closed pipe as a
sparger to provide the stream of air bubbles
• Ideally the pipe should be positioned centrally
below the impeller and as far away as possible
from it to ensure that the impeller is not
flooded by the air stream.
51
Sterilization of Air Supply for
Fermentation
• Sterile air will be required in very large volumes
in many aerobic fermentation processes.
• Heating and Filtration are the main methods for
sterilization. Heat is generally too costly for full
scale operation.
• Glass wool, glass fibre or mineral slag wool have
been used as filter material, but currently most
fermenters are fitted with cartridge-type filters.
52
Two Procedures based on the
construction of filter unit.
• During sterilization the main nonsterile air-
inlet valve A is shut, and initially the sterile air
valve B is closed.
• Steam is applied at valve C and air is purged
downwards through the filter to a bleed valve
at the base.
53
• When the steam is issuing freely through the
bleed valve, the valve B is opened to allow
steam to pass into the fermenter as well as
the filter.
• It is essential to adjust the bleed valve to
ensure that the correct sterilization pressure is
maintained in the fermenter and filter for the
remainder of the sterilization cycle.
54
55
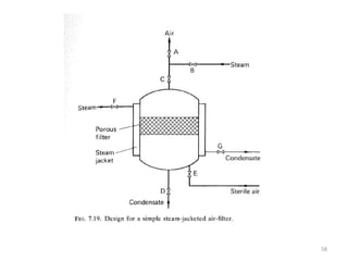
Use of Steam jacketed Air Filter
• At the beginning of a sterilization cycle the
valve A will be closed and steam passed
through valves B and C, and bled out of D.
• Simultaneously steam will be passed into the
steam jacket through valve F and out of G.
• When steam is issuing freely from valve D,
valve F, may be opened and steam circulated
into the fermenter.
56
• The bleed valve D will have to be adjusted to
ensure that the correct pressure is
maintained.
• Once the sterilization cycle is complete, valves
Band E are closed and A is opened to allow air
to pass through the heated filter and out of
valve D to dry the filter.
• Finally the steam supply to the steam jacket is
stopped.
• Valve D is closed and valve E opened, thus
introducing sterile air into the fermenter to
achieve a slight positive pressure in the vessel.
57
58
Valves and Steam Traps
• Valves attached to fermenters and ancillary
equipment are used for controlling the flow of
liquids and gases in a variety of ways.
• There are four main types of valves,
59
• Simple ON/OFF valves which are either fully
open or fully closed.
• Valves which provide coarse control of flow
rates.
• Valves which may be adjusted very precisely
so that flow rates may be accurately
controlled.
• Safety valves which are constructed in such a
way that liquids or gases will flow in only one
direction.
60
Gate Valves
• In this valve, a sliding disc is moved in or out
of the flow path by turning the stem of the
valve.
• It is suitable for general purposes on a steam
or a waterline for use when fully open or fully
closed and therefore should not be used for
regulating flow.
• Not suitable for aseptic conditions
61
• there may be leakage round the stem of the
valve which is sealed by a simple stuffing box.
• This means that the nut around the stem and
the packing must be checked regularly.
62
63
Globe Valves
• In this valve, a horizontal disc or plug is raised
or lowered in its seating to control the rate of
flow.
• It is not suitable for aseptic operation because
of potential leakage round the valve stem
which is similar in design to that of the gate
valve.
• There is a high pressure drop across the valve
because of the flow path.
64
65
Piston Valves
• The piston valve is similar to a globe valve
except that flow is controlled by a piston
passing between two packing rings.
• This design has proved in practice to be very
efficient under aseptic operation.
• There may be blockage problems with
mycelial culture and the pressure drop is
similar to a globe valve.
66
67
Needle Valve
• The needle valve is similar to the globe valve,
except that the disc is replaced by a tapered
plug or needle fitting into a tapered valve seat.
• The valve body can be used to give fine
control of steam or liquid flow.
• Accurate control of flow is possible because of
the variable orifice formed between the
tapered plug and the tapered seat.
• The aseptic applications are very limited.
68
69
Plug Valves
• In this valve there is a parallel or tapered plug
sitting in a housing through which an orifice,
A, has been been machined.
• When the plug is turned through 90° the valve
is fully open and the flow path is determined
by the cross-sectional area of A, which may
not be as large as that of the pipeline.
70
71
Ball Valve
• This valve has been developed from the plug
valve.
• The valve element is a stainless-steel ball through
which an orifice is machined.
• The ball is sealed between two wiping surfaces
which wipe the surface and prevent deposition of
matter at this point.
• The valve is suitable for aseptic operation, can
handle mycelial broths and can be operated
under high temperatures and pressures.
72
73
Butterfly Valve
• The butterfly valve consists of a disc which
rotates about a shaft in a housing.
• The disc closes against a seal to stop the flow
of liquid.
• This type of valve is normally used in large
diameter pipes operating under low pressure
where absolute closure is not essential. It is
not suitable for aseptic operation.
74
75
Pinch Valve
• In the pinch valve a flexible sleeve is closed by
a pair of pinch bars or some other mechanism
which can be operated by compressed air
remotely or automatically.
• The valve is suitable for aseptic operation with
fermentation broths, even when mycelial, as
there are no dead spaces in the valve
structure, and the closing mechanism is
isolated from the contents of the piping.
76
77
Diaphragm Valve
• Like the pinch valve, the diaphragm valve
makes use of a flexible closure, with or
without a weir.
• Suitable for aseptic operation.
78
Most Suitable Valve
• Among these group of valves which have just
been described, globe and butterfly valves are
most commonly used for ON/OFF
applications, gate valves for crude flow
control, needle valves for accurate flow
control and ball, pinch or diaphragm valves for
all sterile uses.
79
Check Valves
• The purpose of the check valve is to prevent accidental
reversal of flow of liquid or gas in a pipe due to
breakdown in some part of the equipment.
• There are three basic types of valve: swing check, lift
check and combined stop and check with a number of
variants.
• The swing check valve is most commonly used in
fermenter designs.
• The functional part is a hinged disc which closes
against a seat ring when the intended direction of flow
is accidentally reversed.
80
81
Pressure Control Valves
• When planning the design of a plant for a
specific process, the water, steam and air
should be at different, but specified pressures
and flow rates in different parts of the
equipment.
• For this reason it is essential to control
pressures precisely and this can be done using
reduction or retaining valve.
82
Two Main Types
Pressure Reduction Valve
Pressure Retaining Valve
83
Pressure Reduction Valve
• Pressure-reduction valves are incorporated
into pipelines when it is necessary to reduce
from a higher to a lower pressure, and be able
to maintain the lower pressure in the
downstream side within defined irrespective
of changes in the inlet pressure or changes in
demand for gas, steam or water.
84
Pressure Retaining Valve
• A pressure retaining valve will maintain
pressure in the pipeline upstream of itself and
the valve is designed to open with a rising
upstream pressure.
85
Steam Traps
• In all steam lines it is essential to remove any
steam condensate which accumulates in the
piping to ensure optimum process conditions
• This may be achieved by incorporating steam
traps, which will collect and remove
automatically any condensate at appropriate
points in steam lines
86
• A steam trap has two elements. One is a valve
and seat assembly which provides an opening,
which may be of variable size, to ensure
effective removal of any condensate.
• The second element is a device which will
open or close the valve by measuring some
parameter of the condensate reaching it to
determine whether it should be discharged.
87
Types of Fermenter
The Waldhof type
The Tower Fermenter
Cylindro Conical Vessel
Air-lift Fermenter
88
Deep Jet Fermenter
Cyclone column
The packed tower
Rotating Disc Fermenter
89
The Waldhof Fermenter
• The fermenter was of carbon steel, clad in
stainless steel, 7.9 m in diameter and 4.3-m
high with a centre draught tube 1.2m in
diameter.
• Trade Name of such fermenters are Acetators
and Cavitators.
90
• Fundamental studies by Hromatka and Ebner
on vinegar production showed that if
Acetobacter cells were to remain active in a
stirred aerated fermenter, the distribution of
air had to be almost perfect within the entire
contents of the vessel.
• They solved the full-scale problem by the use
of a self-aspirating rotor.
91
92
• In this design, the turning rotor sucked in air
and broth and dispersed the mixture through
the rotating stator (d).
• The aerator also worked without a compressor
and was self-priming.
• Vinegar fermentations often foam and
chemical antifoams were not thought feasible
because they would decrease aeration
efficiency and additives were not desirable in
vinegar.
93
• A mechanical defoamer therefore had to be
incorporated into the vessel and as foam
builds up it is forced into a chamber in which a
rotor turns at 1,000 to 1,450 rpm.
• The centrifugal force breaks the foam and
separates it into gas and liquid.
• The liquid is pumped back into the fermenter
and the gas escapes by a venting mechanism.
94
• Vinegator is a self-aspirating stirrer and a
central suction tube which aerates a good
recirculation of liquid.
• Additional air is provided by a compressor.
• Foam is broken down by a mechanical
defoamer
95
Tower Fermenter
• The main feature appears to be their
height:diameter ratio or aspect ratio.
• Tower fermenter as an elongated non-
mechanically stirred fermenter with an aspect
ratio of at least 6:1 for the tubular section or
10:1 overall, through which there is a
unidirectional flow of gases.
96
Examples
• Pfizer Ltd has always used non-agitated tower
vessels for a range of mycelial fermentation
processes including citric acid and
tetracyclines.
• A vertical-tower beer fermenter design was
patented by Shore et al. .(1964).
• Perforated plates were positioned at intervals
in the tower to maintain maximum yeast
production
97
Cylindro Conical Vessels
• The vessel consists of a stainless-steel vertical tube
with a hemispherical top and a conical base with an
included angle of approximately 70°.
• Aspect ratios are usually 3:1 and fermenter heights are
10 to 20 m.
• Operating volumes are chosen to suit the individual
brewery requirements, but are often 150,000 to
200,000 dm3.
• Vessels are not normally agitated unless a particularly
flocculant yeast is used, but small impellers may be
used to ensure homogeneity when filling with wort
98
99
Advantages of Cylindro conical vessels
• Reduced process times may be achieved due
to increased movement within the vessel.
• Primary fermentation and conditioning may
be carried out in the same vessel.
• The sedimented yeast may be easily removed
since yeast separation is good.
• The maturing time may be reduced by gas
washing with carbon dioxide.
100
Air Lift Fermenter
• An air-lift fermenter is essentially a gastight
baffled riser tube (liquid ascending) connected to
a downcomer tube (liquid descending).
• The driving force for circulation of medium in the
vessel is produced by the difference in density
between the liquid column in the riser (excess air
bubbles in the medium) and the liquid column in
the downcomer (depleted in air bubbles after
release at the top of the loop).
101
102
• Circulation times in loops of 45-m height may be
120 seconds.
• This type of vessel can be used for continuous
culture.
• It would be uneconomical to use a mechanically
stirred fermenter to produce SCP (single-cell
protein) from methanol as a carbon substrate, as
heat removal would be needed in external
cooling loops because of the high rate of aeration
and agitation required to operate the process.
• To overcome these problems, particularly that of
cooling the medium when mechanical agitation is
used, air-lift fermenters with outer or inner loops
were chosen.
103
104
Deep Jet Fermenter
• Some designs of continuous culture fermenter
achieve the necessary mechanical power input
with a pump to circulate the liquid medium
from the fermenter through a gas entrainer
and back to the fermenter.
• Two basic construction principles have been
used for the gas entrainer nozzles- Injector
and the Ejector.
105
106
• In an injector a jet of medium is surrounded
by a jet of compressed air.
• In an ejector the liquid jet enters into a larger
converging-diverging nozzle and entrains the
gas around the jet.
• The gas which is sucked into the converging-
diverging jet is dispersed in that zone.
107
Cyclone Column
• Dawson (1974) developed the cyclone column,
particularly for the growth of filamentous cultures.
• The culture liquid was pumped from the bottom to the
top of the cyclone column through a closed loop.
• The descending liquid ran down the walls of the
column in a relatively thin film.
• Nutrients and air were fed in near the base of the
column whilst the exhaust gases left at the top of the
column.
• Good gas exchange, lack of foaming and limited wall
growth have been claimed with this fermenter.
108
109
Oxygen requirements of Fermentation
• A microbial culture must be supplied with
oxygen during growth at a rate sufficient to
satisfy the organisms' demand.
• The oxygen demand of an industrial
fermentation process is normally satisfied by
aerating and agitating the fermentation broth.
110
Important Terms
• Specific Oxygen Rate (Qo2)- It is the milli moles
(mm) of oxygen consumed per gram dry
weight of cells per hour.
• Dissolved Oxygen Concentration – Amount of
Oxygen in the fermentation medium.
• Ccrit – It is the maximum concentration of
oxygen that can be utilized by an organism.
Below the Ccrit Value, there is no change in the
oxygen uptake rate.
111
112
Effects of Dissolved Oxygen
concentration
• Hirose and Shibai’s (1980) investigations of
amino acid biosynthesis by Brevibacterium
flavum provides an excellent example of the
effects of the dissolved oxygen concentration
on the production of range of closely related
metabolites.
113
• These workers demonstrated the critical
dissolved oxygen concentration for B. flavum
to be 0.01 mg dm-3 and considered the extent
of oxygen supply to the culture in terms of the
degree of 'oxygen satisfaction’, that is the
respiratory rate of the culture expressed as a
fraction of the maximum respiratory.
• A value of oxygen satisfaction below unity
implied that the dissolved oxygen
concentration was below the critical level.
114
115
• It may be seen that the production of
members of the glutamate and aspartate
families of amino acids was affected
detrimentally by levels of oxygen satisfaction
below 1.0, whereas optimum production of
phenylalanine, valine and leucine occurred at
oxygen satisfaction levels of 0.55, 0.60 and
0.85, respectively.
116
• It may be seen that the glutamate and aspartate
families are all produced from tricarboxylic acid (TCA)
cycle intermediates, whereas phenylalanine, valine and
leucine are produced from the glycolysis intermediates,
pyruvate and phosphoenol pyruvate.
• Oxygen excess should give rise to abundant TCA cycle
intermediates, whereas oxygen limitation should result
in less glucose being oxidized via the TCA cycle,
allowing more intermediates to be available for
phenylalanine, valine and leucine biosynthesis.
• Thus, some degree of metabolic disruption results in
greater production of pyruvate derived amino acids.
117
• An example of the effect of dissolved oxygen
on secondary metabolism is provided by Zhou
et al. 's (1992) work on cephalosporin C
synthesis by Cephalosporium acremonium.
• These workers demonstrated that the critical
oxygen concentration for cephalosporin C
synthesis during the production phase was
20% saturation.
• At dissolved oxygen concentrations below 20%
cephalosporin C concentration declined and
penicillin N increased.
118
Oxygen Supply
• Bartholomew et at. (1950) represented the
transfer of oxygen from air to the cell, during a
fermentation, as occurring in a number of steps:
• The transfer of oxygen from an air bubble into
solution.
• The transfer of the dissolved oxygen through the
fermentation medium to the microbial cell.
• The uptake of the dissolved oxygen by the cell
119
• The rate of oxygen transfer from air bubble to
the liquid phase may be described by the
equation:
120
• CL – It is the concentration of dissolved oxygen
in the fermentation broth (mmoles dm-3)
• t – It is time (hour)
• dCL /dt – It is the change in oxygen
concentration over a time period, i.e. the
oxygen transfer rate (mmoles O2 dm-3 h-1),
• KL - is the mass transfer coefficient (cm-1),
• a - It is the gas/liquid interface area per liquid
volume (cm2 cm-3),
• C* - It is the saturated dissolved oxygen
concentration (mmoles dm-3 ).
121
• KL may be considered as the sum of the
reciprocals of the resistances to the transfer of
oxygen from gas to liquid and (C* - CL ) may be
considered as the 'driving force' across the
resistances.
• The volumetric mass-transfer coefficient (KLa)
is used as a measure of the aeration capacity
of a fermenter.
• The larger the KLa, the higher the aeration
capacity of the system.
122
Methods of Determining KLa
• The sulphite oxidation technique
• Gassing out techniques: The static method
and The dynamic method
• Oxygen Balance technique
123
The Sulphite Oxidation technique
• Cooper et at. (1944) were the first to describe the
determination of oxygen-transfer rates in aerated
vessels by the oxidation of sodium sulphite
solution.
• This technique does not require the
measurement of dissolved oxygen concentrations
but relies on the rate of conversion of a 0.5 M
solution of sodium sulphite to sodium sulphate in
the presence of a copper or cobalt catalyst.
124
• Na2SO3 + 0.5 O2 = Na2SO4
• The rate of reaction is such that as oxygen
enters solution it is immediately consumed in
the oxidation of sulphite, so that the sulphite
oxidation rate is equivalent to the oxygen-
transfer rate.
• The dissolved oxygen concentration, for all
practical purposes, will be zero and the KLa
may then be calculated from the equation:
• OTR = KLa x C*
125
• The procedure is carried out as follows: the
fermenter is batched with a 0.5 M solution of
sodium sulphite containing 10-3 M Cuz+ ions
and aerated and agitated at fixed rates;
samples are removed at set time intervals
(depending on the aeration and agitation
rates) and added to excess iodine solution
which reacts with the unconsumed sulphite,
the level of which may be determined by a
back titration with standard sodium
thiosulphate solution.
126
Advantages and Disadvantages
• The sulphite oxidation method has the advantage
of simplicity and, also, the technique involves
sampling the bulk liquid in the fermenter and,
therefore, removes some of the problems of
conditions varying through the volume of the
vessel.
• However, the method is time consuming (one
determination taking up to 3 hours, depending on
the aeration and agitation rates) and is
notoriously inaccurate
127
• The rheology of a sodium sulphite solution is
completely different from that of a
fermentation broth, especially a mycelial one
so that it is impossible to relate the results of
sodium sulphite determinations to real
fermentations.
128
Gassing out techniqques
• The estimation of the KLa of a fermentation
system by gassing-out techniques depends
upon monitoring the increase in dissolved
oxygen concentration of a solution during
aeration and agitation.
• The oxygen transfer rate will decrease during
the period of aeration as CL approaches C*
due to the decline in the driving force (C* - CL)
129
• The oxygen transfer rate, at anyone time, will
be equal to the slope of the tangent to the
curve of values of dissolved oxygen
concentration against time of aeration.
• To monitor the increase in dissolved oxygen
over an adequate range it is necessary first to
decrease the oxygen level to a low value.
• Two methods have been employed to achieve
this lowering of the dissolved oxygen
concentration - the static method and the
dynamic method.
130
131
The Static Method of Gassing out
• Oxygen concentration of the solution is
lowered by gassing the liquid out with
nitrogen gas, so that the solution is 'scrubbed'
free of oxygen.
• The deoxygenated liquid is then aerated and
agitated and the increase in dissolved oxygen
monitored using some form of dissolved
oxygen probe.
132
• The increase in dissolved oxygen
concentration has already been described by
the equation,
• Integration of the equation yields,
• In(C* - CL) = -KLat
• A plot of In (C* - CL) against time will yield a
straight line of slope Kla.
133
134
Advantages and Disadvantages
• This technique has the advantage over the
sulphite oxidation method in that it is very
rapid (15 mins) and may utilize the
fermentation medium, to which may be added
dead cells or mycelium at a concentration
equal to that produced during the
fermentation.
135
• However, employing th fermentation medium
with, or without killed biomass necissitates
the use of membrane type electrode, the
response type of which may be inadequate to
reflect the true change in the rate of
oxygenation over a short period of time.
136
• Whilst the method is acceptable for small
scale vessels, there are severe limitations to its
use on large scale fermenters which have high
gas residence times.
• When the air supply to such a vessel is
resumed after deoxygenation with nitrogen,
the oxygen concentration in the gas phase
may change with time as the nitrogen is
replaced with air.
• Thus, C* will no longer be constant.
137
The Dynamic Method of Gassing Out
• The procedure involves stopping the supply of
air to the fermentation which results in a
linear decline in the dissolved oxygen
concentration due to the respiration of the
culture.
138
139
• The slope of the line AB is a measure of the
respiration rate of the culture.
• At point B the aeration is resumed and the
dissolved oxygen concentration increases until
it reaches concentration X.
• Over the period BC, the observed increase in
dissolved oxygen concentration is the
difference between he transfer of oxygen into
solution and the uptake of oxygen by the
respiring culture as expressed by the
equation,
140
• dCL/ dt = Kla (C* - CL) - xQo2
• Where x is the concentration of the biomass
and Qo2 is the specific respiration rate.
• The above equation maybe rearranged as,
• Plot of CL versus dCL/dt + xQo2 will yield a
straight line, the slope of which will equal -
l/KLa
141
142
Advantages and Disadvantages
• The dynamic gassing-out method has the
advantage over the previous methods of
determining the Kla during an actual
fermentation and may be used to determine
KLa values at different stages in the process.
• It may be difficult to apply the technique a
fermentation which has an oxygen demand
close the supply capacity of the fermenter
143
References
• Principles of Fermentation Technology by P.F.
Stanbury
144
145

Basic design of a fermenter

  • 1.
    Fermentation M.Sc. Biotechnology PartII (Sem III) Mumbai University Paper III - Unit I & II By: Mayur D. Chauhan 1
  • 2.
    Fermentation • Fermentation isa metabolic process that converts sugar to acids, gases or alcohol. • It occurs in yeast and bacteria, but also in oxygen- starved muscle cells, as in the case of lactic acid fermentation. • Fermentation is also used more broadly to refer to the bulk growth of microorganisms on a growth medium, often with the goal of producing a specific chemical product. • The science of fermentation is known as zymology 2
  • 3.
    Range of FermentationProcesses • To Produce Microbial cells or Biomass • To Produce Microbial Enzymes • To Produce Microbial Metabolites • To Produce Recombinant Products • To modify a compound which is added to the fermentation (Transformation) 3
  • 4.
    Steps to carryout a Fermentation • The formulation of media to be used in culturing the process organism during the development of the inoculum and in the production fermenter. • The sterilization of the medium, fermenters and ancillary equipment. • The production of an active, pure culture in sufficient quantity to inoculate the production vessel. 4
  • 5.
    • The growthof the organism in the production fermenter under optimum conditions for product formation. • The extraction of the product and its purification. • The disposal of effluents produced by the process 5
  • 6.
    Basic Design ofa Fermenter 6
  • 7.
    Various components ofan ideal fermenter for batch process are: 7
  • 8.
    Monitoring and controllingparts of fermenter are: 8
  • 9.
    Basic Functions ofa Fermenter • The vessel should be capable of being operated aseptically for a number of days and should be reliable in long-term operation and meet the requirements of containment regulations. • Adequate aeration and agitation should be provided to meet the metabolic requirements of the micro-organism. However, the mixing should not cause damage to the organism. • Power consumption should be as low as possible. • A system of temperature control should be provided. 9
  • 10.
    • A systemof pH control should be provided. • Sampling facilities should be provided. • Evaporation losses from the fermenter should not be excessive. • The vessel should be designed to require the minimal use of labour in operation, harvesting, cleaning and maintenance. • Ideally the vessel should be suitable for a range of processes, but this may be restricted because of containment regulations. 10
  • 11.
    • The vesselshould be constructed to ensure smooth internal surfaces, using welds instead of flange joints whenever possible. • The vessel should be of similar geometry to both smaller and larger vessels in the pilot plant or plant to facilitate scale-up. • The cheapest materials which enable satisfactory results to be achieved should be used. • There should be adequate service provisions for individual plants 11
  • 12.
    Hazard Assessment Systems •Once the organism has been allocated to a hazard group, the appropriate containment requirements can be applied. • Hazard group 1 organisms used on a large scale only require Good Industrial Large Scale Practice (GILSP). • Processes in this category need to be operated aseptically but no containment steps are necessary, including prevention of escape of organisms. • If the organism is placed in Hazard group 4 the stringent requirements of level 3 will have to be met before the process can be operated. 12
  • 13.
  • 14.
    Materials for BodyConstruction of a Fermenter • In fermentations with strict aseptic requirements it is important to select materials that can withstand repeated steam sterilization cycles. • On a small scale (1 to 30 dm3) it is possible to use glass and/or stainless steel. • Glass is useful because it gives smooth surfaces, is non-toxic, corrosion proof and it is usually easy to examine the interior of the vessel. 14
  • 15.
    Two basic typesof Fermenters • A glass vessel with a round or flat bottom and a top flanged carrying plate. • All vessels of this type have to be sterilized by autoclaving. 15
  • 16.
  • 17.
    • A glasscylinder with stainless-steel top and bottom plates. • Vessels with two stainless steel plates cost approximately 50% more than those with just a top plate. • At pilot and large scale, when all fermenters are sterilized in situ, any materials used will have to be assessed on their ability to withstand pressure sterilization and corrosion and on their potential toxicity and cost. 17
  • 18.
  • 19.
    • Pilot scaleand Industrial scale vessels are normally constructed of stainless steel or at least have a stainless-steel cladding to limit corrosion. • The American Iron and Steel Institute (AISI) states that steels containing less than 4% chromium are classified as steel alloys and those containing more than 4% are classified as stainless steels. • Mild steel coated with glass or phenolic epoxy materials has occasionally been used 19
  • 20.
    • The corrosionresistance of stainless steel is thought to depend on the existence of a thin hydrous oxide film on the surface of the metal. • The composition of this film varies with different steel alloys and different manufacturing process treatments such as rolling, pickling or heat treatment. • The film is stabilized by chromium and is considered to be continuous, non-porous, insoluble and self healing. • If damaged, the film will repair itself when exposed to air or an oxidizing agent. 20
  • 21.
    • The minimumamount of chromium needed to resist corrosion will depend on the corroding agent in a particular environment, such as acids, alkalis, gases, soil, salt or fresh water. • Increasing the chromium content enhances resistance to corrosion, but only grades of steel containing at least 10 to 13% chromium develop an effective film. 21
  • 22.
    • The inclusionof nickel in high percent chromium steels enhances their resistance and improves their engineering properties. • The presence of molybdenum improves the resistance of stainless steels to solutions of halogen salts and pitting by chloride ions in brine or sea water. • Corrosion resistance can also be improved by tungsten, silicone and other elements. 22
  • 23.
    • At thisstage it is important to consider the ways in which a reliable aseptic seal is made between glass and glass, glass and metal or metal and metal joints such as between a fermenter vessel and a detachable top or base plate. 23
  • 24.
    Types of Seals GasketSeal Lip Seal O ring Seal 24
  • 25.
  • 26.
    • With glassand metal, a seal can be made with a compressible gasket, a lip seal or an '0' ring. • With metal to metal joints only an '0' ring is suitable. • Nitryl or butyl rubbers are normally used for these seals as they will withstand fermentation process conditions. • A single '0' ring seal is adequate for GILSP and levels 1 and B2, a double '0' ring seal is required for levels 2 and B3 and a double '0' ring seal with steam between the seals (steam tracing) is necessary for levels 3 and B4 26
  • 27.
    Aeration and Agitation •Primary purpose of aeration is to provide microorganisms in submerged culture with sufficient oxygen for metabolic requirements. • While agitation should ensure that a uniform suspension of microbial cells is achieved in a homogenous nutrient medium. 27
  • 28.
    Agitator (Impellers) • Theagitator is required to achieve a number of mixing objectives, e.g. bulk fluid and gas- phase mixing, air dispersion, oxygen transfer, heat transfer, suspension of solid particles and maintaining a uniform environment throughout the vessel contents. • Agitators may be classified as disc turbines, vaned discs, open turbines of variable pitch and propellers. 28
  • 29.
  • 30.
    • The discturbine consists of a disc with a series of rectangular vanes set in a vertical plane around the circumference. • The vaned disc has a series of rectangular vanes attached vertically to the underside. • Air from the sparger hits the underside of the disc and is displaced towards the vanes where the air bubbles are broken up into smaller bubbles. 30
  • 31.
    Modern Agitator Develoments •Four other modern agitator developments, the Scaba 6SRGT, the Prochem Maxflo T, the Lightning A315 and the Ekato Intermig are derived from open turbines 31
  • 32.
  • 33.
    • The Scaba6SRGT agitator is one which, at a given power input, can handle a high air flow rate before flooding. • This radial-flow agitator is also better for bulk blending than a Rushton turbine, but does not give good top to bottom blending in a large fermenter which leads to lower concentrations of oxygen in broth away from the agitators and higher concentrations of nutrients, acid or alkali, or antifoams near the feed forts. 33
  • 34.
    • Another isthe Prochem Maxflo agitator. It of four, five or six hydrofoil blades set at a critical on a central hollow hub. • A high hydrodynamic thrust is created during rotation, increasing the downwards pumping capacity of the blades. • Good mixing and aeration in high viscosity broths may also be achieved by a dual impeller combination, where the lower impeller acts as the gas disperser and the upper impeller acts primarily as a device for aiding circulation of vessel contents. 34
  • 35.
    Stirrer Glands andBearings • The satisfactory sealing of the stirrer shaft assembly top plate has been one of the most difficult problems to overcome in the construction of fermentation equipment which can be operated aseptically for long periods. • The stirrer shaft can enter the vessel from the top, side or bottom of the vessel. 35
  • 36.
  • 37.
    • A porousbronze bearing for a 13-mm shaft was fitted in the centre of the fermenter top and another in a yoke directly above it. • The bearings were pressed into steel housings, which screwed into position in the yoke and the fermenter top. • The lower bearing and housing were covered with a skirt-like shield having a 6.5 mm overhang which rotated with the shaft and prevented air- borne contaminants from settling on the bearing and working their way through it into the fermenter. 37
  • 38.
    Four Main Types TheStuffing Box (Packed Gland seal) The Mechanical Seal Simple Bush Seal The Magnetic Drive Seal 38
  • 39.
    The Stuffing Box(Packed Gland Seal) • The shaft is sealed by several layers of packing rings of asbestos or cotton yarn, pressed against the shaft by a gland follower. • Chain et al. (1954) used two stuffing boxes on the agitator shaft with a space in between kept filled with steam. • These seals are sufficient for the requirements of GILSP containment. 39
  • 40.
  • 41.
    The Mechanical Seal •The seal is composed of two parts, one part is stationary in the bearing housing, the other rotates on the shaft, and the two components are pressed together by springs or expanding bellows. • The two meeting surfaces have to be precision machined, the moving surface normally consists of a carbon-faced unit while the stationary unit is of stellite-faced stainless steel. 41
  • 42.
  • 43.
    Magnetic Drive • Theproblems of providing a satisfactory seal when the impeller shaft passes through the top or bottom plate of the fermenter may be solved by the use of a magnetic drive in which the impeller shaft does not pierce the vessel. • A magnetic drive consists of two magnets: one driving and one driven. 43
  • 44.
    • The drivingmagnet is held in bearings in a housing on the outside of the head plate and connected to a drive shaft. • The internal driven magnet is placed on one end of the impeller shaft and held in bearings in a suitable housing on the inner surface of the headplate. 44
  • 45.
    Baffles • Four bafflesare normally incorporated into agitated vessels of all sizes to prevent a vortex and to improve aeration efficiency. • Baffles are metal strips roughly one-tenth of the vessel diameter and attached radially to the wall. • The agitation effect is only slightly increased with wider baffles, but drops sharply with narrower baffles. 45
  • 46.
    • It isrecommended that baffles should be installed so that a gap existed between them and the vessel wall, so that there was a scouring action around and behind the baffles thus minimizing microbial growth on the baffles and the fermenter walls. • Extra cooling coils may be attached to baffles to improve the cooling capacity of a fermenter without unduly affecting the geometry. 46
  • 47.
    Aeration System (Spargers) •A sparger may be defined as a device for introducing air into the liquid in a fermenter. • Three basic types of sparger have been used and may be described as the Porous sparger, the Orifice sparger (a perforated pipe) and the Nozzle sparger (an open or partially closed pipe). 47
  • 48.
    Porous Sparger • Theporous sparger of sintered glass, ceramics or metal, has been used primarily on a laboratory scale in non-agitated vessels. • The bubble size produced from such spargers is always 10 to 100 times larger than the pore size of the aerator block. • There is also the problem of the fine holes becoming blocked by growth of the microbial culture. 48
  • 49.
    Orifice Sparger • Insmall stirred fermenters the perforated pipes were arranged below the impeller in the form of crosses or rings (ring sparger), approximately three-quarters of the impeller diameter. • In most designs the air holes were drilled on the under surfaces of the tubes making up the ring or cross. 49
  • 50.
    • Sparger holesshould be at least 6 mm (1/4 inch) diameter because of the tendency of smaller holes to block and to minimize the pressure drop. 50
  • 51.
    Nozzle Sparger • Singleopen or partially closed pipe as a sparger to provide the stream of air bubbles • Ideally the pipe should be positioned centrally below the impeller and as far away as possible from it to ensure that the impeller is not flooded by the air stream. 51
  • 52.
    Sterilization of AirSupply for Fermentation • Sterile air will be required in very large volumes in many aerobic fermentation processes. • Heating and Filtration are the main methods for sterilization. Heat is generally too costly for full scale operation. • Glass wool, glass fibre or mineral slag wool have been used as filter material, but currently most fermenters are fitted with cartridge-type filters. 52
  • 53.
    Two Procedures basedon the construction of filter unit. • During sterilization the main nonsterile air- inlet valve A is shut, and initially the sterile air valve B is closed. • Steam is applied at valve C and air is purged downwards through the filter to a bleed valve at the base. 53
  • 54.
    • When thesteam is issuing freely through the bleed valve, the valve B is opened to allow steam to pass into the fermenter as well as the filter. • It is essential to adjust the bleed valve to ensure that the correct sterilization pressure is maintained in the fermenter and filter for the remainder of the sterilization cycle. 54
  • 55.
  • 56.
    Use of Steamjacketed Air Filter • At the beginning of a sterilization cycle the valve A will be closed and steam passed through valves B and C, and bled out of D. • Simultaneously steam will be passed into the steam jacket through valve F and out of G. • When steam is issuing freely from valve D, valve F, may be opened and steam circulated into the fermenter. 56
  • 57.
    • The bleedvalve D will have to be adjusted to ensure that the correct pressure is maintained. • Once the sterilization cycle is complete, valves Band E are closed and A is opened to allow air to pass through the heated filter and out of valve D to dry the filter. • Finally the steam supply to the steam jacket is stopped. • Valve D is closed and valve E opened, thus introducing sterile air into the fermenter to achieve a slight positive pressure in the vessel. 57
  • 58.
  • 59.
    Valves and SteamTraps • Valves attached to fermenters and ancillary equipment are used for controlling the flow of liquids and gases in a variety of ways. • There are four main types of valves, 59
  • 60.
    • Simple ON/OFFvalves which are either fully open or fully closed. • Valves which provide coarse control of flow rates. • Valves which may be adjusted very precisely so that flow rates may be accurately controlled. • Safety valves which are constructed in such a way that liquids or gases will flow in only one direction. 60
  • 61.
    Gate Valves • Inthis valve, a sliding disc is moved in or out of the flow path by turning the stem of the valve. • It is suitable for general purposes on a steam or a waterline for use when fully open or fully closed and therefore should not be used for regulating flow. • Not suitable for aseptic conditions 61
  • 62.
    • there maybe leakage round the stem of the valve which is sealed by a simple stuffing box. • This means that the nut around the stem and the packing must be checked regularly. 62
  • 63.
  • 64.
    Globe Valves • Inthis valve, a horizontal disc or plug is raised or lowered in its seating to control the rate of flow. • It is not suitable for aseptic operation because of potential leakage round the valve stem which is similar in design to that of the gate valve. • There is a high pressure drop across the valve because of the flow path. 64
  • 65.
  • 66.
    Piston Valves • Thepiston valve is similar to a globe valve except that flow is controlled by a piston passing between two packing rings. • This design has proved in practice to be very efficient under aseptic operation. • There may be blockage problems with mycelial culture and the pressure drop is similar to a globe valve. 66
  • 67.
  • 68.
    Needle Valve • Theneedle valve is similar to the globe valve, except that the disc is replaced by a tapered plug or needle fitting into a tapered valve seat. • The valve body can be used to give fine control of steam or liquid flow. • Accurate control of flow is possible because of the variable orifice formed between the tapered plug and the tapered seat. • The aseptic applications are very limited. 68
  • 69.
  • 70.
    Plug Valves • Inthis valve there is a parallel or tapered plug sitting in a housing through which an orifice, A, has been been machined. • When the plug is turned through 90° the valve is fully open and the flow path is determined by the cross-sectional area of A, which may not be as large as that of the pipeline. 70
  • 71.
  • 72.
    Ball Valve • Thisvalve has been developed from the plug valve. • The valve element is a stainless-steel ball through which an orifice is machined. • The ball is sealed between two wiping surfaces which wipe the surface and prevent deposition of matter at this point. • The valve is suitable for aseptic operation, can handle mycelial broths and can be operated under high temperatures and pressures. 72
  • 73.
  • 74.
    Butterfly Valve • Thebutterfly valve consists of a disc which rotates about a shaft in a housing. • The disc closes against a seal to stop the flow of liquid. • This type of valve is normally used in large diameter pipes operating under low pressure where absolute closure is not essential. It is not suitable for aseptic operation. 74
  • 75.
  • 76.
    Pinch Valve • Inthe pinch valve a flexible sleeve is closed by a pair of pinch bars or some other mechanism which can be operated by compressed air remotely or automatically. • The valve is suitable for aseptic operation with fermentation broths, even when mycelial, as there are no dead spaces in the valve structure, and the closing mechanism is isolated from the contents of the piping. 76
  • 77.
  • 78.
    Diaphragm Valve • Likethe pinch valve, the diaphragm valve makes use of a flexible closure, with or without a weir. • Suitable for aseptic operation. 78
  • 79.
    Most Suitable Valve •Among these group of valves which have just been described, globe and butterfly valves are most commonly used for ON/OFF applications, gate valves for crude flow control, needle valves for accurate flow control and ball, pinch or diaphragm valves for all sterile uses. 79
  • 80.
    Check Valves • Thepurpose of the check valve is to prevent accidental reversal of flow of liquid or gas in a pipe due to breakdown in some part of the equipment. • There are three basic types of valve: swing check, lift check and combined stop and check with a number of variants. • The swing check valve is most commonly used in fermenter designs. • The functional part is a hinged disc which closes against a seat ring when the intended direction of flow is accidentally reversed. 80
  • 81.
  • 82.
    Pressure Control Valves •When planning the design of a plant for a specific process, the water, steam and air should be at different, but specified pressures and flow rates in different parts of the equipment. • For this reason it is essential to control pressures precisely and this can be done using reduction or retaining valve. 82
  • 83.
    Two Main Types PressureReduction Valve Pressure Retaining Valve 83
  • 84.
    Pressure Reduction Valve •Pressure-reduction valves are incorporated into pipelines when it is necessary to reduce from a higher to a lower pressure, and be able to maintain the lower pressure in the downstream side within defined irrespective of changes in the inlet pressure or changes in demand for gas, steam or water. 84
  • 85.
    Pressure Retaining Valve •A pressure retaining valve will maintain pressure in the pipeline upstream of itself and the valve is designed to open with a rising upstream pressure. 85
  • 86.
    Steam Traps • Inall steam lines it is essential to remove any steam condensate which accumulates in the piping to ensure optimum process conditions • This may be achieved by incorporating steam traps, which will collect and remove automatically any condensate at appropriate points in steam lines 86
  • 87.
    • A steamtrap has two elements. One is a valve and seat assembly which provides an opening, which may be of variable size, to ensure effective removal of any condensate. • The second element is a device which will open or close the valve by measuring some parameter of the condensate reaching it to determine whether it should be discharged. 87
  • 88.
    Types of Fermenter TheWaldhof type The Tower Fermenter Cylindro Conical Vessel Air-lift Fermenter 88
  • 89.
    Deep Jet Fermenter Cyclonecolumn The packed tower Rotating Disc Fermenter 89
  • 90.
    The Waldhof Fermenter •The fermenter was of carbon steel, clad in stainless steel, 7.9 m in diameter and 4.3-m high with a centre draught tube 1.2m in diameter. • Trade Name of such fermenters are Acetators and Cavitators. 90
  • 91.
    • Fundamental studiesby Hromatka and Ebner on vinegar production showed that if Acetobacter cells were to remain active in a stirred aerated fermenter, the distribution of air had to be almost perfect within the entire contents of the vessel. • They solved the full-scale problem by the use of a self-aspirating rotor. 91
  • 92.
  • 93.
    • In thisdesign, the turning rotor sucked in air and broth and dispersed the mixture through the rotating stator (d). • The aerator also worked without a compressor and was self-priming. • Vinegar fermentations often foam and chemical antifoams were not thought feasible because they would decrease aeration efficiency and additives were not desirable in vinegar. 93
  • 94.
    • A mechanicaldefoamer therefore had to be incorporated into the vessel and as foam builds up it is forced into a chamber in which a rotor turns at 1,000 to 1,450 rpm. • The centrifugal force breaks the foam and separates it into gas and liquid. • The liquid is pumped back into the fermenter and the gas escapes by a venting mechanism. 94
  • 95.
    • Vinegator isa self-aspirating stirrer and a central suction tube which aerates a good recirculation of liquid. • Additional air is provided by a compressor. • Foam is broken down by a mechanical defoamer 95
  • 96.
    Tower Fermenter • Themain feature appears to be their height:diameter ratio or aspect ratio. • Tower fermenter as an elongated non- mechanically stirred fermenter with an aspect ratio of at least 6:1 for the tubular section or 10:1 overall, through which there is a unidirectional flow of gases. 96
  • 97.
    Examples • Pfizer Ltdhas always used non-agitated tower vessels for a range of mycelial fermentation processes including citric acid and tetracyclines. • A vertical-tower beer fermenter design was patented by Shore et al. .(1964). • Perforated plates were positioned at intervals in the tower to maintain maximum yeast production 97
  • 98.
    Cylindro Conical Vessels •The vessel consists of a stainless-steel vertical tube with a hemispherical top and a conical base with an included angle of approximately 70°. • Aspect ratios are usually 3:1 and fermenter heights are 10 to 20 m. • Operating volumes are chosen to suit the individual brewery requirements, but are often 150,000 to 200,000 dm3. • Vessels are not normally agitated unless a particularly flocculant yeast is used, but small impellers may be used to ensure homogeneity when filling with wort 98
  • 99.
  • 100.
    Advantages of Cylindroconical vessels • Reduced process times may be achieved due to increased movement within the vessel. • Primary fermentation and conditioning may be carried out in the same vessel. • The sedimented yeast may be easily removed since yeast separation is good. • The maturing time may be reduced by gas washing with carbon dioxide. 100
  • 101.
    Air Lift Fermenter •An air-lift fermenter is essentially a gastight baffled riser tube (liquid ascending) connected to a downcomer tube (liquid descending). • The driving force for circulation of medium in the vessel is produced by the difference in density between the liquid column in the riser (excess air bubbles in the medium) and the liquid column in the downcomer (depleted in air bubbles after release at the top of the loop). 101
  • 102.
  • 103.
    • Circulation timesin loops of 45-m height may be 120 seconds. • This type of vessel can be used for continuous culture. • It would be uneconomical to use a mechanically stirred fermenter to produce SCP (single-cell protein) from methanol as a carbon substrate, as heat removal would be needed in external cooling loops because of the high rate of aeration and agitation required to operate the process. • To overcome these problems, particularly that of cooling the medium when mechanical agitation is used, air-lift fermenters with outer or inner loops were chosen. 103
  • 104.
  • 105.
    Deep Jet Fermenter •Some designs of continuous culture fermenter achieve the necessary mechanical power input with a pump to circulate the liquid medium from the fermenter through a gas entrainer and back to the fermenter. • Two basic construction principles have been used for the gas entrainer nozzles- Injector and the Ejector. 105
  • 106.
  • 107.
    • In aninjector a jet of medium is surrounded by a jet of compressed air. • In an ejector the liquid jet enters into a larger converging-diverging nozzle and entrains the gas around the jet. • The gas which is sucked into the converging- diverging jet is dispersed in that zone. 107
  • 108.
    Cyclone Column • Dawson(1974) developed the cyclone column, particularly for the growth of filamentous cultures. • The culture liquid was pumped from the bottom to the top of the cyclone column through a closed loop. • The descending liquid ran down the walls of the column in a relatively thin film. • Nutrients and air were fed in near the base of the column whilst the exhaust gases left at the top of the column. • Good gas exchange, lack of foaming and limited wall growth have been claimed with this fermenter. 108
  • 109.
  • 110.
    Oxygen requirements ofFermentation • A microbial culture must be supplied with oxygen during growth at a rate sufficient to satisfy the organisms' demand. • The oxygen demand of an industrial fermentation process is normally satisfied by aerating and agitating the fermentation broth. 110
  • 111.
    Important Terms • SpecificOxygen Rate (Qo2)- It is the milli moles (mm) of oxygen consumed per gram dry weight of cells per hour. • Dissolved Oxygen Concentration – Amount of Oxygen in the fermentation medium. • Ccrit – It is the maximum concentration of oxygen that can be utilized by an organism. Below the Ccrit Value, there is no change in the oxygen uptake rate. 111
  • 112.
  • 113.
    Effects of DissolvedOxygen concentration • Hirose and Shibai’s (1980) investigations of amino acid biosynthesis by Brevibacterium flavum provides an excellent example of the effects of the dissolved oxygen concentration on the production of range of closely related metabolites. 113
  • 114.
    • These workersdemonstrated the critical dissolved oxygen concentration for B. flavum to be 0.01 mg dm-3 and considered the extent of oxygen supply to the culture in terms of the degree of 'oxygen satisfaction’, that is the respiratory rate of the culture expressed as a fraction of the maximum respiratory. • A value of oxygen satisfaction below unity implied that the dissolved oxygen concentration was below the critical level. 114
  • 115.
  • 116.
    • It maybe seen that the production of members of the glutamate and aspartate families of amino acids was affected detrimentally by levels of oxygen satisfaction below 1.0, whereas optimum production of phenylalanine, valine and leucine occurred at oxygen satisfaction levels of 0.55, 0.60 and 0.85, respectively. 116
  • 117.
    • It maybe seen that the glutamate and aspartate families are all produced from tricarboxylic acid (TCA) cycle intermediates, whereas phenylalanine, valine and leucine are produced from the glycolysis intermediates, pyruvate and phosphoenol pyruvate. • Oxygen excess should give rise to abundant TCA cycle intermediates, whereas oxygen limitation should result in less glucose being oxidized via the TCA cycle, allowing more intermediates to be available for phenylalanine, valine and leucine biosynthesis. • Thus, some degree of metabolic disruption results in greater production of pyruvate derived amino acids. 117
  • 118.
    • An exampleof the effect of dissolved oxygen on secondary metabolism is provided by Zhou et al. 's (1992) work on cephalosporin C synthesis by Cephalosporium acremonium. • These workers demonstrated that the critical oxygen concentration for cephalosporin C synthesis during the production phase was 20% saturation. • At dissolved oxygen concentrations below 20% cephalosporin C concentration declined and penicillin N increased. 118
  • 119.
    Oxygen Supply • Bartholomewet at. (1950) represented the transfer of oxygen from air to the cell, during a fermentation, as occurring in a number of steps: • The transfer of oxygen from an air bubble into solution. • The transfer of the dissolved oxygen through the fermentation medium to the microbial cell. • The uptake of the dissolved oxygen by the cell 119
  • 120.
    • The rateof oxygen transfer from air bubble to the liquid phase may be described by the equation: 120
  • 121.
    • CL –It is the concentration of dissolved oxygen in the fermentation broth (mmoles dm-3) • t – It is time (hour) • dCL /dt – It is the change in oxygen concentration over a time period, i.e. the oxygen transfer rate (mmoles O2 dm-3 h-1), • KL - is the mass transfer coefficient (cm-1), • a - It is the gas/liquid interface area per liquid volume (cm2 cm-3), • C* - It is the saturated dissolved oxygen concentration (mmoles dm-3 ). 121
  • 122.
    • KL maybe considered as the sum of the reciprocals of the resistances to the transfer of oxygen from gas to liquid and (C* - CL ) may be considered as the 'driving force' across the resistances. • The volumetric mass-transfer coefficient (KLa) is used as a measure of the aeration capacity of a fermenter. • The larger the KLa, the higher the aeration capacity of the system. 122
  • 123.
    Methods of DeterminingKLa • The sulphite oxidation technique • Gassing out techniques: The static method and The dynamic method • Oxygen Balance technique 123
  • 124.
    The Sulphite Oxidationtechnique • Cooper et at. (1944) were the first to describe the determination of oxygen-transfer rates in aerated vessels by the oxidation of sodium sulphite solution. • This technique does not require the measurement of dissolved oxygen concentrations but relies on the rate of conversion of a 0.5 M solution of sodium sulphite to sodium sulphate in the presence of a copper or cobalt catalyst. 124
  • 125.
    • Na2SO3 +0.5 O2 = Na2SO4 • The rate of reaction is such that as oxygen enters solution it is immediately consumed in the oxidation of sulphite, so that the sulphite oxidation rate is equivalent to the oxygen- transfer rate. • The dissolved oxygen concentration, for all practical purposes, will be zero and the KLa may then be calculated from the equation: • OTR = KLa x C* 125
  • 126.
    • The procedureis carried out as follows: the fermenter is batched with a 0.5 M solution of sodium sulphite containing 10-3 M Cuz+ ions and aerated and agitated at fixed rates; samples are removed at set time intervals (depending on the aeration and agitation rates) and added to excess iodine solution which reacts with the unconsumed sulphite, the level of which may be determined by a back titration with standard sodium thiosulphate solution. 126
  • 127.
    Advantages and Disadvantages •The sulphite oxidation method has the advantage of simplicity and, also, the technique involves sampling the bulk liquid in the fermenter and, therefore, removes some of the problems of conditions varying through the volume of the vessel. • However, the method is time consuming (one determination taking up to 3 hours, depending on the aeration and agitation rates) and is notoriously inaccurate 127
  • 128.
    • The rheologyof a sodium sulphite solution is completely different from that of a fermentation broth, especially a mycelial one so that it is impossible to relate the results of sodium sulphite determinations to real fermentations. 128
  • 129.
    Gassing out techniqques •The estimation of the KLa of a fermentation system by gassing-out techniques depends upon monitoring the increase in dissolved oxygen concentration of a solution during aeration and agitation. • The oxygen transfer rate will decrease during the period of aeration as CL approaches C* due to the decline in the driving force (C* - CL) 129
  • 130.
    • The oxygentransfer rate, at anyone time, will be equal to the slope of the tangent to the curve of values of dissolved oxygen concentration against time of aeration. • To monitor the increase in dissolved oxygen over an adequate range it is necessary first to decrease the oxygen level to a low value. • Two methods have been employed to achieve this lowering of the dissolved oxygen concentration - the static method and the dynamic method. 130
  • 131.
  • 132.
    The Static Methodof Gassing out • Oxygen concentration of the solution is lowered by gassing the liquid out with nitrogen gas, so that the solution is 'scrubbed' free of oxygen. • The deoxygenated liquid is then aerated and agitated and the increase in dissolved oxygen monitored using some form of dissolved oxygen probe. 132
  • 133.
    • The increasein dissolved oxygen concentration has already been described by the equation, • Integration of the equation yields, • In(C* - CL) = -KLat • A plot of In (C* - CL) against time will yield a straight line of slope Kla. 133
  • 134.
  • 135.
    Advantages and Disadvantages •This technique has the advantage over the sulphite oxidation method in that it is very rapid (15 mins) and may utilize the fermentation medium, to which may be added dead cells or mycelium at a concentration equal to that produced during the fermentation. 135
  • 136.
    • However, employingth fermentation medium with, or without killed biomass necissitates the use of membrane type electrode, the response type of which may be inadequate to reflect the true change in the rate of oxygenation over a short period of time. 136
  • 137.
    • Whilst themethod is acceptable for small scale vessels, there are severe limitations to its use on large scale fermenters which have high gas residence times. • When the air supply to such a vessel is resumed after deoxygenation with nitrogen, the oxygen concentration in the gas phase may change with time as the nitrogen is replaced with air. • Thus, C* will no longer be constant. 137
  • 138.
    The Dynamic Methodof Gassing Out • The procedure involves stopping the supply of air to the fermentation which results in a linear decline in the dissolved oxygen concentration due to the respiration of the culture. 138
  • 139.
  • 140.
    • The slopeof the line AB is a measure of the respiration rate of the culture. • At point B the aeration is resumed and the dissolved oxygen concentration increases until it reaches concentration X. • Over the period BC, the observed increase in dissolved oxygen concentration is the difference between he transfer of oxygen into solution and the uptake of oxygen by the respiring culture as expressed by the equation, 140
  • 141.
    • dCL/ dt= Kla (C* - CL) - xQo2 • Where x is the concentration of the biomass and Qo2 is the specific respiration rate. • The above equation maybe rearranged as, • Plot of CL versus dCL/dt + xQo2 will yield a straight line, the slope of which will equal - l/KLa 141
  • 142.
  • 143.
    Advantages and Disadvantages •The dynamic gassing-out method has the advantage over the previous methods of determining the Kla during an actual fermentation and may be used to determine KLa values at different stages in the process. • It may be difficult to apply the technique a fermentation which has an oxygen demand close the supply capacity of the fermenter 143
  • 144.
    References • Principles ofFermentation Technology by P.F. Stanbury 144
  • 145.