Transistor Biasing
(Transistor Biasing)
1.
2.
3.
1.
2.
3.
1
1.
Biasing)
2.
(Transistor Biasing)
2
3.
4
1. Fixed Bias Circuit)
2. Emitter-Stabilized
3. Voltage Divider
4. DC DC Bias with
(Transistor Biasing)
3
(Transistor Biasing)
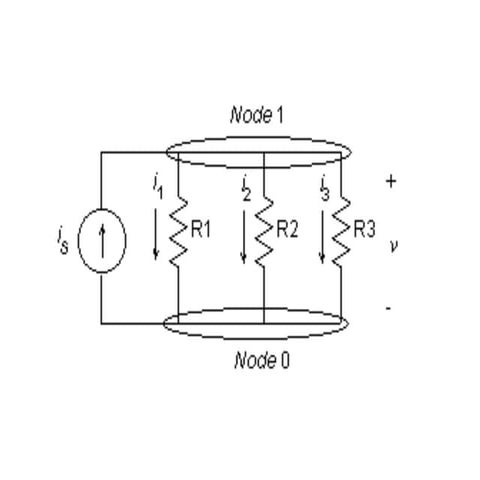
3.1 Fixed Bias Circuit)
3.2 Emitter-Stabilized Bi
IB RB
-
-
-
(ß)
RE
(ß)
-
-
4
(Transistor Biasing)
3.3 Voltage Divider Bia
3.4 DC DC Bias with Volt
-
–
Input
-
IC, VCE
-
210ER R
5
4.
4.1 Fixed Bias Circuit)
(Transistor Biasing)
4.1 Fixed Bias Circuit)
(a) (b)
1. Input Output 4.1 (b
2. Capacitor
Capacitor
6
0.7 ( )
= 0.3 ( )
,
( 1)
BE
BE
C
FE
B
C B
E C B
E B B
E B C
V V Silicon
V V Germanium
I
h
I
I I
I I I
I I I
I I I
(Transistor Biasing)(
3.
………………………………………
……………………….... 4-6
4. (Kirchhoff's
Voltage Law, KVL)
……………………… 4-1
…………………………………… 4
…………………………………....
……………………………….... 4
7
BCC R BE
CC B B BE
CC BE B B
CC BE
B
B
V V V
V I R V
V V I R
V V
I
R
(Kirchhoff's Voltage Law, KVL)
“
(Transistor Biasing)
4.1 (c) Input
4.1 (b)
Input
BR B BV I R
…………....
4-7 …………....
…………....
…………....
8
0
CCC R CE
CC C C CE
CE CC C C
C CE
B BE
E
V V V
V I R V
V V I R
V V
V V
V
(Kirchhoff's Voltage Law, KVL)
(Transistor Biasing)
4.1 (d) Output
4.1 (b)
Output
……….... 4
CR C CV I R 4-11 …….... 4
…….... 4
…………..……....
4-14…………..……....
4-15…………..……....
4-16
9
12 V 0.7 V
47.08 uA
240 kΩ
(50)(47.08 uA ) 2.35 mA
= 12 V (2.35 mA)(2.2 kΩ )
= 6.83 V
0.7 V
6.83 V
CC BE
B
B
C B
CE CC C C
B BE
C CE
V V
I
R
I I
V V I R
V V
V V
1. 4.1 (e) IB, IC, V(Transistor Biasing)
4.1 (e)
* *
2.35 mA 47.08 uA
2.397 mA
E C B
E C
I I I
I I
…….... 4-4
4-3
4-13
4-15
4-14
4-10
10
(Transistor Biasing)
4.1
(Transistor Biasing)4.2 Emitter-Stabilized
4.2 Emitter-Stabilize
(a) (b)
11
0
( 1)
( 1) 0
( 1)
[ ( 1) ]
-
( 1)
CC B B BE E E
E B
CC BE B B B E
CC BE B B B E
CC BE B B E
CC BE
B
B E
V I R V I R
I I
V V I R I R
V V I R I R
V V I R R
V V
I
R R
0
0
( ) 0
( )
CC C C CE E E
E C
CC C C CE C E
CC CE C C E
CE CC C C E
V I R V I R
I I
V I R V I R
V V I R R
V V I R R
(Transistor Biasing)
4.2 (c) Input 4.2 (d) O
…. 4-6 …. 4-6
…....
4-17
….
4-18
12
(Transistor Biasing)4.3 Voltage Divider
4.3 Voltage Divi
(a) (b)
4.3 (a)
13
1 2ThR R R
1 2
2
1 2
2
1 2
1 2
1
2
2
( )
[ ]
CC R R
CC
CC
Th R
CC
Th
V V V IR IR
V I R R
V
I
R R
E V IR
V
E R
R R
(Transistor Biasing)
4.3 (c) 4.3 (d)
4.3 (e) VR2
…..…..….
4-19
...…..….
4-20
14
0
( 1)
( 1) 0
( 1)
[ ( 1) ]
-
( 1)
Th B Th BE E E
E B
Th BE B Th B E
Th BE B Th B E
Th BE B Th E
Th BE
B
Th E
E I R V I R
I I
E V I R I R
E V I R I R
E V I R R
E V
I
R R
(Transistor Biasing)
4.3 (f) ...…..….
4-21
Output
15
' 0
'
' ,
0
0
= ( )
[ ( )]
CC C C B B BE E E
C B C
C C E C
CC C C B B BE C E
C B
CC B C B B BE B E
CC BE B C B B B E
B C B E
CC BE B B C E
V I R I R V I R
I I I
I I I I
V I R I R V I R
I I
V I R I R V I R
V V I R I R I R
I R R R
V V I R R R
I
-
( )
CC BE
B
B C E
V V
R R R
(Transistor Biasing)4.4 DC DC Bias
with Voltage Feedback)
4.4 DC
...…..….
4-22
(a)
(b)
16
' 0
'
' ,
0
( ) 0
( )
CC C C CE E E
C B C
C C E C
CC C C CE C E
CC CE C C E
CE CC C C E
V I R V I R
I I I
I I I I
V I R V I R
V V I R R
V V I R R
(Transistor Biasing)
4.4 (c)
Output
17
(Transistor Biasing)

Transistor bias circuit

  • 1.
  • 2.
  • 3.
  • 4.
    3. 4 1. Fixed BiasCircuit) 2. Emitter-Stabilized 3. Voltage Divider 4. DC DC Bias with (Transistor Biasing) 3
  • 5.
    (Transistor Biasing) 3.1 FixedBias Circuit) 3.2 Emitter-Stabilized Bi IB RB - - - (ß) RE (ß) - - 4
  • 6.
    (Transistor Biasing) 3.3 VoltageDivider Bia 3.4 DC DC Bias with Volt - – Input - IC, VCE - 210ER R 5
  • 7.
    4. 4.1 Fixed BiasCircuit) (Transistor Biasing) 4.1 Fixed Bias Circuit) (a) (b) 1. Input Output 4.1 (b 2. Capacitor Capacitor 6
  • 8.
    0.7 ( ) =0.3 ( ) , ( 1) BE BE C FE B C B E C B E B B E B C V V Silicon V V Germanium I h I I I I I I I I I I I I (Transistor Biasing)( 3. ……………………………………… ……………………….... 4-6 4. (Kirchhoff's Voltage Law, KVL) ……………………… 4-1 …………………………………… 4 ………………………………….... ……………………………….... 4 7
  • 9.
    BCC R BE CCB B BE CC BE B B CC BE B B V V V V I R V V V I R V V I R (Kirchhoff's Voltage Law, KVL) “ (Transistor Biasing) 4.1 (c) Input 4.1 (b) Input BR B BV I R ………….... 4-7 ………….... ………….... ………….... 8
  • 10.
    0 CCC R CE CCC C CE CE CC C C C CE B BE E V V V V I R V V V I R V V V V V (Kirchhoff's Voltage Law, KVL) (Transistor Biasing) 4.1 (d) Output 4.1 (b) Output ……….... 4 CR C CV I R 4-11 …….... 4 …….... 4 …………..…….... 4-14…………..…….... 4-15…………..…….... 4-16 9
  • 11.
    12 V 0.7V 47.08 uA 240 kΩ (50)(47.08 uA ) 2.35 mA = 12 V (2.35 mA)(2.2 kΩ ) = 6.83 V 0.7 V 6.83 V CC BE B B C B CE CC C C B BE C CE V V I R I I V V I R V V V V 1. 4.1 (e) IB, IC, V(Transistor Biasing) 4.1 (e) * * 2.35 mA 47.08 uA 2.397 mA E C B E C I I I I I …….... 4-4 4-3 4-13 4-15 4-14 4-10 10
  • 12.
  • 13.
  • 14.
    0 ( 1) ( 1)0 ( 1) [ ( 1) ] - ( 1) CC B B BE E E E B CC BE B B B E CC BE B B B E CC BE B B E CC BE B B E V I R V I R I I V V I R I R V V I R I R V V I R R V V I R R 0 0 ( ) 0 ( ) CC C C CE E E E C CC C C CE C E CC CE C C E CE CC C C E V I R V I R I I V I R V I R V V I R R V V I R R (Transistor Biasing) 4.2 (c) Input 4.2 (d) O …. 4-6 …. 4-6 ….... 4-17 …. 4-18 12
  • 15.
    (Transistor Biasing)4.3 VoltageDivider 4.3 Voltage Divi (a) (b) 4.3 (a) 13
  • 16.
    1 2ThR RR 1 2 2 1 2 2 1 2 1 2 1 2 2 ( ) [ ] CC R R CC CC Th R CC Th V V V IR IR V I R R V I R R E V IR V E R R R (Transistor Biasing) 4.3 (c) 4.3 (d) 4.3 (e) VR2 …..…..…. 4-19 ...…..…. 4-20 14
  • 17.
    0 ( 1) ( 1)0 ( 1) [ ( 1) ] - ( 1) Th B Th BE E E E B Th BE B Th B E Th BE B Th B E Th BE B Th E Th BE B Th E E I R V I R I I E V I R I R E V I R I R E V I R R E V I R R (Transistor Biasing) 4.3 (f) ...…..…. 4-21 Output 15
  • 18.
    ' 0 ' ' , 0 0 =( ) [ ( )] CC C C B B BE E E C B C C C E C CC C C B B BE C E C B CC B C B B BE B E CC BE B C B B B E B C B E CC BE B B C E V I R I R V I R I I I I I I I V I R I R V I R I I V I R I R V I R V V I R I R I R I R R R V V I R R R I - ( ) CC BE B B C E V V R R R (Transistor Biasing)4.4 DC DC Bias with Voltage Feedback) 4.4 DC ...…..…. 4-22 (a) (b) 16
  • 19.
    ' 0 ' ' , 0 () 0 ( ) CC C C CE E E C B C C C E C CC C C CE C E CC CE C C E CE CC C C E V I R V I R I I I I I I I V I R V I R V V I R R V V I R R (Transistor Biasing) 4.4 (c) Output 17
  • 20.