By
SWAPNIL SHAHADE
APPLICATION OF MECHATRONICS
IN DEFENCE
ON WATER SURVEILLANCE ROBOT
LITERATURE SURVEY
J.N. Lyguarus , K.N Tarchanidis “An Underwater Remotely Operated
Vehicle”
In this control,communication and positioning subsystems are presented.
The communication system comprises a twin fiber optic cable for two way
communication. In this thrusters are used to drive boat.
But HERE in this application “On water Surveillance Robot” the communication
between boat and user is wireless done by using RF transreciever.
Since the communication is wireless ,hardware complexity is reduced ..
Thus communication range is not limited to length of the cable used for
communication.
Boris J Rozman, Lev L. Utyakov “ Micro Rov for Under water
Observations ”
 It is a small sized MicroRov named GNOM intended for under water investigations and
observations was made .
 It contains video camera, thrusters ,light , and sensors. GNOM is operated by using
joysticks.
 Thus here also wired communication is present.
 But in the project “On water Surveillance Robot” wireless communication is done, thus
reducing the complexity.
INTRODUCTION
 The idea is to receive the image of the intruder and hostages, find its exact
location and sends it to the control section .
 The data transmitted includes distance of intruder from boat and image of
captured by camera is received by microcontroller in control section.
 The distance measured by IR sensor and images is captured by camera in
robotic section.
According to the commands given by operator at control section the necessary
actions can be taken.
The intruder can be put down by laser gun mounted on robotic section
,depending on the command given by operator at control section.
In this way the robot is self sufficient for security purpose .
BLOCK DIAGRAM- ON WATER
SURVEILLANCE ROBOT
BLOCK DIAGRAM
Robotic-Section
Robotic Section
• Boat is made to rotate by varying the motion of the two propellers which are driven
by two dc motors.
• Boat can be made to rotate either clockwise or anticlockwise.
• The sensor which is mounted at the top of the stepper motor works as the detecting
device for any interference that tries to intrude into the water territory guarded by
our robot.
• The distance of the intruder from the boat will also be measured by the Ultrasonic
sensor.
• Relay will in turn activate the gun which can be used to put down the intruder at
that instant only.
• The aim of the gun is made perfect by moving the boat using the VB software made
available to the remote user.
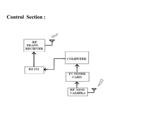
Control Section :
CONTROL SECTION
• When the RF transreciever receives this data, it transmits it back up the RS232 link
to your PC’s serial port and it is displayed on your screen.
• After that from control section the person at the computer will transmit the
necessary action to the robot.
 The control screen shows the following controls:-
• Forward :- both the propellers move clockwise when it is pressed.
• Reverse :- both the propellers move anticlockwise when it is pressed.
• Left :- first propeller moves clockwise and second moves anticlockwise when it is
pressed.
• Right :- first propeller moves anticlockwise and second moves clockwise when it
is pressed.
• Stop :- both the propellers stops and the boat stops working.
• All the actions are reflected on the VB screen of our PC and the generated
commands are passed to the boat via RF transmission.The microcontroller controls
the robotic actions with the corresponding command received.
COMPONENTS (which can be used)
• D. C. Motor:
12v, 250m a, 150rpm, permanent magnet motor.
• Stepper Motor:
12v, 1.83 deg/step, unipolar, permanent magnet.
• IR Module (GP2D12):
Supply voltage range :- (-3) to 7V.
Range of I.R sensor :- 10 to 80 cm.
Judgment distance :- 24 cm.
Low cost
• Relay:
Contact form :- DPDT
Relay on condition: 5v, 50m a.
 WIRELESS CAMERA WS-309AS:
• Power Dissipation:<=640mW
• Output Frequency: 2.4G
• Voltage: (Tx-9V) (Rx-12V)
• Current: (Tx-300mA ) (Rx-500mA)
• Transmission range 30 meters.
• Angular Field of View: 38 deg
RF TRANSCIEVER MODULE:
•Worldwide 2.4GHz ISM band operation
•Up to 2Mbps on air data rate
•Ultra low power operation
•11.3mA TX at 0dBm output power
•12.3mA RX at 2Mbps air data rate
•On chip voltage regulator
•1.9 to 3.6V supply range
•±60ppm 16MHz crystal
•5V tolerant inputs
• Single handed control & supervision.
• Less time consumption.
• No installation problem.
• Sensors & other devices have longer life.
• Can work in hazardous situation where human beings can not reach.
tej-trupti-shruti
ADVANTAGES
•It can be used for searching the victims in
flooded disaster areas.
•People drowning in the sea-bodies can be
detected by the I.R and we can get exact
location of the people blocked in that place.
•Thus by getting perfect location we can save
them.
CAN BE USED IN MILITARY APPLICATION
tej-trupti-shruti
FUTURE SCOPE
• As a replacement of RF module we can use high transmitting range
module that can transmit data over a long distance and with higher speed.
• The robot can also be operated by using solar energy .
• We can also use it as a robot to robot communication located at different
locations in the water-bodies. Thus a large area is covered.
• Different cryptography techniques can be made in use for proper security
of our data that is to be transmitted.
REFERENCES
• WS-309AS 1.2G Wireless Mini Camera-www.vdocapture.com.htm
• J . N. Lygoraus ,Vol 59 . No. 3 “An underwater Remotely Operated
Vehicle”
• Boris J Rozman ,Vol 2 “Micro Rov For Underwater Observation ”.
Thank You…

APPLICATION OF MECHATRONICS IN DEFENCE

  • 1.
    By SWAPNIL SHAHADE APPLICATION OFMECHATRONICS IN DEFENCE ON WATER SURVEILLANCE ROBOT
  • 2.
    LITERATURE SURVEY J.N. Lyguarus, K.N Tarchanidis “An Underwater Remotely Operated Vehicle” In this control,communication and positioning subsystems are presented. The communication system comprises a twin fiber optic cable for two way communication. In this thrusters are used to drive boat. But HERE in this application “On water Surveillance Robot” the communication between boat and user is wireless done by using RF transreciever. Since the communication is wireless ,hardware complexity is reduced .. Thus communication range is not limited to length of the cable used for communication.
  • 3.
    Boris J Rozman,Lev L. Utyakov “ Micro Rov for Under water Observations ”  It is a small sized MicroRov named GNOM intended for under water investigations and observations was made .  It contains video camera, thrusters ,light , and sensors. GNOM is operated by using joysticks.  Thus here also wired communication is present.  But in the project “On water Surveillance Robot” wireless communication is done, thus reducing the complexity.
  • 4.
    INTRODUCTION  The ideais to receive the image of the intruder and hostages, find its exact location and sends it to the control section .  The data transmitted includes distance of intruder from boat and image of captured by camera is received by microcontroller in control section.  The distance measured by IR sensor and images is captured by camera in robotic section. According to the commands given by operator at control section the necessary actions can be taken. The intruder can be put down by laser gun mounted on robotic section ,depending on the command given by operator at control section. In this way the robot is self sufficient for security purpose .
  • 5.
    BLOCK DIAGRAM- ONWATER SURVEILLANCE ROBOT
  • 6.
  • 7.
    Robotic Section • Boatis made to rotate by varying the motion of the two propellers which are driven by two dc motors. • Boat can be made to rotate either clockwise or anticlockwise. • The sensor which is mounted at the top of the stepper motor works as the detecting device for any interference that tries to intrude into the water territory guarded by our robot. • The distance of the intruder from the boat will also be measured by the Ultrasonic sensor. • Relay will in turn activate the gun which can be used to put down the intruder at that instant only. • The aim of the gun is made perfect by moving the boat using the VB software made available to the remote user.
  • 8.
  • 9.
    CONTROL SECTION • Whenthe RF transreciever receives this data, it transmits it back up the RS232 link to your PC’s serial port and it is displayed on your screen. • After that from control section the person at the computer will transmit the necessary action to the robot.  The control screen shows the following controls:- • Forward :- both the propellers move clockwise when it is pressed. • Reverse :- both the propellers move anticlockwise when it is pressed. • Left :- first propeller moves clockwise and second moves anticlockwise when it is pressed. • Right :- first propeller moves anticlockwise and second moves clockwise when it is pressed. • Stop :- both the propellers stops and the boat stops working. • All the actions are reflected on the VB screen of our PC and the generated commands are passed to the boat via RF transmission.The microcontroller controls the robotic actions with the corresponding command received.
  • 10.
    COMPONENTS (which canbe used) • D. C. Motor: 12v, 250m a, 150rpm, permanent magnet motor. • Stepper Motor: 12v, 1.83 deg/step, unipolar, permanent magnet. • IR Module (GP2D12): Supply voltage range :- (-3) to 7V. Range of I.R sensor :- 10 to 80 cm. Judgment distance :- 24 cm. Low cost • Relay: Contact form :- DPDT Relay on condition: 5v, 50m a.
  • 11.
     WIRELESS CAMERAWS-309AS: • Power Dissipation:<=640mW • Output Frequency: 2.4G • Voltage: (Tx-9V) (Rx-12V) • Current: (Tx-300mA ) (Rx-500mA) • Transmission range 30 meters. • Angular Field of View: 38 deg
  • 12.
    RF TRANSCIEVER MODULE: •Worldwide2.4GHz ISM band operation •Up to 2Mbps on air data rate •Ultra low power operation •11.3mA TX at 0dBm output power •12.3mA RX at 2Mbps air data rate •On chip voltage regulator •1.9 to 3.6V supply range •±60ppm 16MHz crystal •5V tolerant inputs
  • 13.
    • Single handedcontrol & supervision. • Less time consumption. • No installation problem. • Sensors & other devices have longer life. • Can work in hazardous situation where human beings can not reach. tej-trupti-shruti ADVANTAGES
  • 14.
    •It can beused for searching the victims in flooded disaster areas. •People drowning in the sea-bodies can be detected by the I.R and we can get exact location of the people blocked in that place. •Thus by getting perfect location we can save them.
  • 15.
    CAN BE USEDIN MILITARY APPLICATION tej-trupti-shruti
  • 16.
    FUTURE SCOPE • Asa replacement of RF module we can use high transmitting range module that can transmit data over a long distance and with higher speed. • The robot can also be operated by using solar energy . • We can also use it as a robot to robot communication located at different locations in the water-bodies. Thus a large area is covered. • Different cryptography techniques can be made in use for proper security of our data that is to be transmitted.
  • 17.
    REFERENCES • WS-309AS 1.2GWireless Mini Camera-www.vdocapture.com.htm • J . N. Lygoraus ,Vol 59 . No. 3 “An underwater Remotely Operated Vehicle” • Boris J Rozman ,Vol 2 “Micro Rov For Underwater Observation ”.
  • 18.