českoslovENSKÁ socIALISTICKÁ
REPUBLIKA
o ŘAD PR o PATENTY A vy NÁLEzy
Vydáno 15. září 1961 Vyloženo 15. března 1961
PATENTNÍspis č.
100873
Právo k využití vynálezu přísluší státu podle 3 odst. 6 zák. .
34/1957 Sb.
BOHUSLAV ROUD, UNIČOV
Universální vzpěrový drapák .
Přihlášeno . prosince 1959 (Pv 7062-59) Platnost patentu od .
prosince 1959
Vynález se týká otočného uložení horní a spodní kladnice drapáku a zajišťování
jakékoliv polohy kladnice šroubovými upínadly.
Přístavní jeřáby používají pro překládání sypkého materiálu vzpěrových drapáků
dvojího druhu, a to drapáků podélně uspořádaných, kdy osa kladek je téměř
rovnoběžná se směrem zavírání čelistí, a drapáků příčně uspořádaných, kdy osa kladek
je téměř kolmá na směr zavírání čelistí. Drapáky se tedy otvírají buď souběžně s osou
výložníkového jeřábu, nebo ve směru jízdy: mostového jeřábu, či kolmo na osu
výložníku, nebo kolmo na jízdu mostového jeřábu. -
Dosavadní řešení používají dvou drapáků s různě uloženými pevnými kladnicemi a
jeřábník si podle potřeby přepíná drapáky demontáží a montáží přídržních a zavíracích lan. Jiné
řešení používá přestavitelného příčníku a rámu horní kladnice o 90° demontováním čepů vzpěr,
pootočením horního příčníku, opětovnou montáží čepů vzpěr a pootočením dolní kladnice
otočně uložené v rámu spodního příčníku a upevněné jedním šroubem.
Při použití dvou typů drapáků, a to podélného a příčného uspořádání, se zvyšuje o
100% počet drapáků potřebných pro jeden jeřáb, což zvyšuje investiční pořizovací
náklady a nutí výrobce vyhotovovat dvojí výkresovou dokumentaci a vyrábět dva typu
vzpěrových drapáků. Při přestavitelném uspořádání o 90° je nutná poměrně namáhavá
demontáž a montáž rámů kladnic a čepů vzpěr.
70
2 - 100873
· Popsané nevýhody odstraňuje drapák podle vynálezu, jehož pod-. stata
spočívá v tom, že horní a spodní kladnice jsou uloženy ve zvláštních rámech,
které mají v rozích vevařeny středicí a vodicí špalky, po nichž se obě kladnice
pootáčejí v kruhových vybráních plechů horního a spodního příčníku. Oba rámy
kladnic jsou v kterékoliv poloze zajistitelné jednoduchými šroubovými upínadly. . .
-
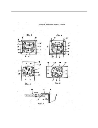
Provedení drapáku podle vynálezu je příkladně uvedeno na při
pojených, výkresech, kde představuje obr. 1 příčné uspořádání drapáku, obr. 2 podélné
uspořádání téhož drapáku, obr. 3 horní kladnici s otočným rámem, obr. 4 stejnou
kladnici, ale pootočenou o 90°, obr. 5 spodní kladnici s otočným rámem, obr. 6 stejnou
kladnici, ale pootočenou o 90°, obr. 7 řez otočným rámem kladnice a jeho uložením v
hprním příčníku drapáku. • -
V horním příčníku 1 je v kruhovém vybrání horního plechu 2 otočně uložen rám 3
horní kladnice pomocí čtyř držicích a středicích špalků . Ve spodním příčníku 5 je
obdobně uložen v kruhovém vybrání spodního plechu 7 rám 6 spodní kladnice. K horní
části rámu 3 horní kladnice a k spodní části rámu 6 spodní kladnice jsou přivařeny krycí
plechy a ke zkoseným rohům obou rámů 3 a B středicí a držicí špalky . Rám 3 horní
kladnice je obdélníkového tvaru a nese osu 8 horní kladnice, rám 6 spodní kladnice je
čtvercového tvaru a nese osu 19 spodní kladnice. Na osu 8 horní kladnice je uložen
náboj závěsu drapáku 10 pro přídržná lana 12, s vodicími pouzdry 11 pro zavírací laha
13. . . . . * · . . . . . .
Spojení horního příčníku 1 s čelistmi 16 je provedeno vzpěrami
14 uloženými na čepech 15 horního příčníku 1 a v kloubech 17 čelistí 16, které jsou
uloženy ve spodním příčníku 5 na čepech 18.
Při změně směru otevírání čelistí 16 se uvolní šrouby upínadel 20, uložených na
horním plechu 2 horního příčníku 1 a spodním plechu 7 spodního příčníku . Otevřený
drapák se spustí na zem, obě kladnice se vzájemně pevně spojí k zajištění správného .
úhlu náběhu lan a takto Svázané obě kladnice nebo čelisti 16 s příčníky 1 a 5 se
pootočí o žádaný úhel na špalcích 4 ve vybrání
- horního plechu 2 horního příčníku 1 a spodního plechu 7 spodního
příčníku 5 a opětovným utažením šroubů jednoduchých upínadel 20 se zajistí nová
poloha čelistí 16 drapáku.
Použití otočného uložení horní a spodní kladnice drapáku umožňuje vytvořit
typisované řady různých obsahů drapáků pro určitou nosnost, určené pro různé
materiály s rozdílnou specifickou vahou. Z jedné typisované stavebnice lze
jednoduchým a rychlým způsobem u výrobce sestavit a vyrobit požadovaný drapák, v
provozu přestavit drapák o jakýkoliv úhel vzhledem k ose výložníku nebo ke směru .
jízdy mostového jeřábu a při údržbě vynětím vadné kladnice jako celku a vložením
náhradní kladnice se zajistí rychlá oprava a snadná údržba.
Předmět patentu
Universální vzpěrový drapák s přestavitelnou horní a spodní kladnicí k přestavení
drapáku souběžně s osou nebo kolmo k ose výložníku, vyznačený tím, že rám (3] horní
kladnice je otočně uložen na špalcích v kruhovém vybrání horního plechu horního
příčníku (1) a rám 6] spodní kladnice je obdobně otočně uložen v kruhovém vybrání
spodního plechu (7) spodního příčníku (5), přičemž rámy (3 a 6) obou kladnic jsou v
jakékoliv poloze zajistitelné upínadly (20).
Severografian. p, závod 03
Příloha k patentnímu spisu č. 100873

100873

  • 2.
    českoslovENSKÁ socIALISTICKÁ REPUBLIKA o ŘADPR o PATENTY A vy NÁLEzy Vydáno 15. září 1961 Vyloženo 15. března 1961 PATENTNÍspis č. 100873 Právo k využití vynálezu přísluší státu podle 3 odst. 6 zák. . 34/1957 Sb. BOHUSLAV ROUD, UNIČOV Universální vzpěrový drapák . Přihlášeno . prosince 1959 (Pv 7062-59) Platnost patentu od . prosince 1959 Vynález se týká otočného uložení horní a spodní kladnice drapáku a zajišťování jakékoliv polohy kladnice šroubovými upínadly. Přístavní jeřáby používají pro překládání sypkého materiálu vzpěrových drapáků dvojího druhu, a to drapáků podélně uspořádaných, kdy osa kladek je téměř rovnoběžná se směrem zavírání čelistí, a drapáků příčně uspořádaných, kdy osa kladek je téměř kolmá na směr zavírání čelistí. Drapáky se tedy otvírají buď souběžně s osou výložníkového jeřábu, nebo ve směru jízdy: mostového jeřábu, či kolmo na osu výložníku, nebo kolmo na jízdu mostového jeřábu. - Dosavadní řešení používají dvou drapáků s různě uloženými pevnými kladnicemi a jeřábník si podle potřeby přepíná drapáky demontáží a montáží přídržních a zavíracích lan. Jiné řešení používá přestavitelného příčníku a rámu horní kladnice o 90° demontováním čepů vzpěr, pootočením horního příčníku, opětovnou montáží čepů vzpěr a pootočením dolní kladnice otočně uložené v rámu spodního příčníku a upevněné jedním šroubem.
  • 3.
    Při použití dvoutypů drapáků, a to podélného a příčného uspořádání, se zvyšuje o 100% počet drapáků potřebných pro jeden jeřáb, což zvyšuje investiční pořizovací náklady a nutí výrobce vyhotovovat dvojí výkresovou dokumentaci a vyrábět dva typu vzpěrových drapáků. Při přestavitelném uspořádání o 90° je nutná poměrně namáhavá demontáž a montáž rámů kladnic a čepů vzpěr.
  • 5.
    70 2 - 100873 ·Popsané nevýhody odstraňuje drapák podle vynálezu, jehož pod-. stata spočívá v tom, že horní a spodní kladnice jsou uloženy ve zvláštních rámech, které mají v rozích vevařeny středicí a vodicí špalky, po nichž se obě kladnice pootáčejí v kruhových vybráních plechů horního a spodního příčníku. Oba rámy kladnic jsou v kterékoliv poloze zajistitelné jednoduchými šroubovými upínadly. . . - Provedení drapáku podle vynálezu je příkladně uvedeno na při pojených, výkresech, kde představuje obr. 1 příčné uspořádání drapáku, obr. 2 podélné uspořádání téhož drapáku, obr. 3 horní kladnici s otočným rámem, obr. 4 stejnou kladnici, ale pootočenou o 90°, obr. 5 spodní kladnici s otočným rámem, obr. 6 stejnou kladnici, ale pootočenou o 90°, obr. 7 řez otočným rámem kladnice a jeho uložením v hprním příčníku drapáku. • - V horním příčníku 1 je v kruhovém vybrání horního plechu 2 otočně uložen rám 3 horní kladnice pomocí čtyř držicích a středicích špalků . Ve spodním příčníku 5 je obdobně uložen v kruhovém vybrání spodního plechu 7 rám 6 spodní kladnice. K horní části rámu 3 horní kladnice a k spodní části rámu 6 spodní kladnice jsou přivařeny krycí plechy a ke zkoseným rohům obou rámů 3 a B středicí a držicí špalky . Rám 3 horní kladnice je obdélníkového tvaru a nese osu 8 horní kladnice, rám 6 spodní kladnice je čtvercového tvaru a nese osu 19 spodní kladnice. Na osu 8 horní kladnice je uložen náboj závěsu drapáku 10 pro přídržná lana 12, s vodicími pouzdry 11 pro zavírací laha 13. . . . . * · . . . . . . Spojení horního příčníku 1 s čelistmi 16 je provedeno vzpěrami 14 uloženými na čepech 15 horního příčníku 1 a v kloubech 17 čelistí 16, které jsou uloženy ve spodním příčníku 5 na čepech 18. Při změně směru otevírání čelistí 16 se uvolní šrouby upínadel 20, uložených na horním plechu 2 horního příčníku 1 a spodním plechu 7 spodního příčníku . Otevřený drapák se spustí na zem, obě kladnice se vzájemně pevně spojí k zajištění správného . úhlu náběhu lan a takto Svázané obě kladnice nebo čelisti 16 s příčníky 1 a 5 se pootočí o žádaný úhel na špalcích 4 ve vybrání - horního plechu 2 horního příčníku 1 a spodního plechu 7 spodního příčníku 5 a opětovným utažením šroubů jednoduchých upínadel 20 se zajistí nová poloha čelistí 16 drapáku. Použití otočného uložení horní a spodní kladnice drapáku umožňuje vytvořit typisované řady různých obsahů drapáků pro určitou nosnost, určené pro různé
  • 6.
    materiály s rozdílnouspecifickou vahou. Z jedné typisované stavebnice lze jednoduchým a rychlým způsobem u výrobce sestavit a vyrobit požadovaný drapák, v provozu přestavit drapák o jakýkoliv úhel vzhledem k ose výložníku nebo ke směru . jízdy mostového jeřábu a při údržbě vynětím vadné kladnice jako celku a vložením náhradní kladnice se zajistí rychlá oprava a snadná údržba. Předmět patentu Universální vzpěrový drapák s přestavitelnou horní a spodní kladnicí k přestavení drapáku souběžně s osou nebo kolmo k ose výložníku, vyznačený tím, že rám (3] horní kladnice je otočně uložen na špalcích v kruhovém vybrání horního plechu horního příčníku (1) a rám 6] spodní kladnice je obdobně otočně uložen v kruhovém vybrání spodního plechu (7) spodního příčníku (5), přičemž rámy (3 a 6) obou kladnic jsou v jakékoliv poloze zajistitelné upínadly (20). Severografian. p, závod 03
  • 10.
    Příloha k patentnímuspisu č. 100873