československá socialistickÁ
REPUBLIKA
Vydáno 15. srpna 1961 Vyloženo 15. února 1961
PATENTNÍ SPIs č.
100647
Třída 45 b, 2
Právo k využití vynálezu přísluší státu podle 3 odst. 6
zák. . 84/1957 Sb. ZDENĚK HUBENÝ a VLADIMIR
HEIZLAR, oba NÄCHOD
Drtič mrvy
Přihlášeno 10. května 1960 (Fv3042-60) (Platnost patentu od
10. května 1960.
Vynález se týká drtiče chlévské mrvy. Jsou známy drtiče mrvy různých
konstrukcí, zejména drtiče, u nichž v sítovém bubnu obíhají kladiva. Tyto drtiče
mají poměrně malý výkon, což je způsobeno tím, že nemají přímé pracovní
zapojení na vyrovnávací jímku. . . . . Předmětem vynálezu je drtič tohoto typu,
který se vyznačuje velikým výkonem a který drtí mrvu velmi jemně, a to proto, že
jeho úpravou se umožní, aby materiál vstupoval plynule ve velkém množství
mezi činné plochy kladiv a plášť bubnu a byl tam účinně drcen. . . . Podstatný
význak vynálezu spočívá v tom, že drtič mrvy lze napojit 10 přímo na
vyrovnávací jímku, která může být přímo zapojena na výtlačné čerpadlQ. Tím
odpadá nutnost použití míchacích jímek s pomocným ústrojím, což značně
zlevňuje zařízení.
Příklad provedení vynálezu je znázorněn na výkresech, kde značí: obr. 1
schematický pohled zepředu na drtič; : obr. 2 je odpovídající půdorys; . . . . . - obr. 3 je
schematický pohled na celkové uspořádání, dosud známého
typisovaného druhu; . . . . . . obr. 4 je schéma zjednodušeného uspořádání při
použití drtiče podle
vynálezu. 20 . Na rámu 1. je uložen elektromotor 2, který klínovými řemeny 3
přenáší pohyb na kladiva . Kladiva se otáčejí v bubnovém sítu , které podle
vynálezu je eliptického tvaru; takže v některých místech je
1 0 0 6 47
30
2 . . . . 100647
mezi vnitřním povrchem bubnu a činnou plochou kladiv větší mezera než v jiných
místech, jak je patrno z výkresu, kde pouze pro informaci. je ve vodorovném
směru zakreslena větší vůle a ve svislém směru malá vůle. V praktickém
provedení jsou osy elipsy skloněny asi v úhlu 45° vůči vodorovné rovině. ” - . . . .
. .
Kladiva 4 jsou vytvořena tak, že jejich profil odpovídá písmenu E, jak je
patrno z obr. 2, přičemž stojima 6 obíhá u zadní stěny 7 bubnu a obě krajní
ramena , 8 tvoří vlastní činné plochy kladiv. Kladiva
“ jsou upevněna na hřídeli , který je patřičně uložen v. rámu stroje. .
Materiál se přivádí do stroje násypkou 10 obvyklého tvaru a drcená
mrva se odvádí odtokovým potrubím 11.
Do drtiče se přivádí voda potrubím 12 tak, že přitéká na horní
část bubnu, splachuje materiál a zároveň jej dopravuje do odtokového
potrubí 11. z potrubí 12 je vedena odbočká 13 ústící dg násypky
10
a množství vody , proudícílze regulovat na příklad šoupátkem 14 nebo
jakkoli jinak. « »
Při práci jé mrva přiváděna do násypky 10 a vzhledem ke zvláštnímu tvaru,
kladiva může vstupovat plným proudem do bubnu, protože stojina 6 jí v tom :
nebrání. Mrva zaplní tedy prakticky celý vnitřní prostor bubnu 5 a vstupuje mezi
plášť bubnu a činné plochy kladiv
, zejména v místech, kde tyto činně plochy jsou
nejdéle oá bubnu
pro jeho elipsovitý tvar. Při otáčení kladiv se jejich činné plochy
. přibližují plášti bubnu, čímž nastává účinné drcení až do místa, kdy
činné plochy kladiv s se nejvíce přiblíží plášti bubnu . Rozdrcená mrva pak vystupuje
potrubím 11.
Násypka 10 je uložena na závěsech 14, takže vnikneli do bubnu . cizí těleso, na
příklad kus železa neb pod., lze násypku 10 rychle odklopit a těleso odstranit. Aby se
zamezilo poškození stroje, je do náhonu vložena spojka proti přetížení nebo jakýkoli jiný
zajišťovací orgán. - .
Stroj podle vynálezu je výhodný tím, že tvar síta zaručuje pozvolné protlačování
mrvy, takže stroj je stejnoměrně zatěžován. Voda proudící na povrch síta splachuje
protlačovánoü hmotu a tím umožňuje rychlý
provoz a zabraňuje ucpání síta. Proud vody z potrubí 13 napomáhá
splachování materiálu pod kladiva, čímž se rovněž snižuje třecí odpor,
který vzniká při drcení. ' -
Přítokové à odtokové koncovky jsou přizpůsobeny tak, aby se
dalo použít typisovaných koncovek. ' · . . . . Vzhledem k neobyčejně vysokému
výkonu drtiče podle vynálezu
- lze pozměnit celé uspořádánítypisovaných staveb pro kejdové hos
podářství. - - m .
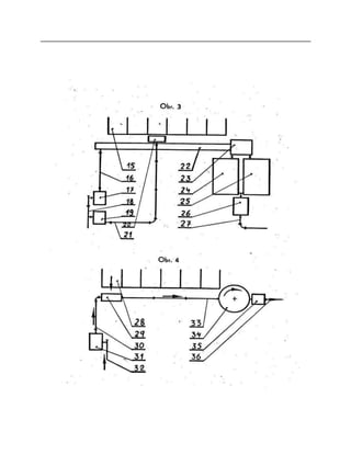
V obr. 3 je znázorněno toto uspořádání; vztahovou značkou 15 je označeno
kvasiště, 16, je potrubí na splachování žlabů, 17 splachovací čerpadlo, 18 vodní
zdroj, 19. čerpadlo dopravující vodu do drtiče, 20 drtič, 21. potrubí dopravující
vodu do drtičė, 22 žlab, 23 přepouštěcí
jímka, 24 a 25 jsou míchací jímky, 26 čerpadlo, 27 výtokové potrubí.
. Podle vynálezu lze celé toto uspořádání zjednodušit. a . hlavně zlevnit tím, že se
vynechají fhíchací jímky a zařízení se uspořádá
tak, jak naznačeno v obr. 4. V tomto uspořádání znázorňuje: 28 kvasiště,
29 drtič, 30 potrubí na dopravu, vody do drtiče, vytvořené z trubek s
rychlospojkami, 31 je čerpadlo, 32 zdroj vody, 33 potrubí s rychlospojkami,
vedoucí od drtiče do vyrovnávací jímky 34, z níž čerpá
přímo čerpadlo 35 pro dopravu kejdy výtlačným řádem 36.
Tohoto uspořádání lze použít vzhledem k velmi vysokému výkonu
- - drtiče a uvedeného je zřejmé, že odpadnutím míchacích jímek jakož
i přepouštěcí jímky se celé zařízení zlevní a zjednoduší.
Rovněž tak
100647
odpadá splachovací žlab 22, který je nahrazen jednoduchým potrubím. Další výhoda
vynálezu spočívá v tom, že zařízení lze postavit kdekoliv a není vázáno na zvláštní
komplex jímek a žlabů, jako je tomu u dosavadních zařízení. Rovněž provozní náklady
se sníží, protože odpadají . motory pro pohon míchacího zařízení. . .
Drtič podle vynálezu se při praktických zkouškách velmi dobře osvědčil, což jest
mimo jiné způsobeno i tím, že materiál je mezi pláštěm bubnu a činnou plochou kladiv
jednak plynule stlačován a tím drcen, a kromě toho velmi účinně převalován tak, že se
tře a odírá o přibližující se pracovní plochy. Tento nový efekt stroje podle vynálezu vede
k získání neobyčejně jemné a velmi dobře promíšené kejdy.
Předmět patentu
Drtič mrvy s kladivy profilu ve tvaru písmena E, obíhajícími v bubnu tvaru elipsy,
vyznačený tím, že drtič je napojen přímo na vyrovnávací jímku (34), která je přímo
zapojena na výtlačné čerpadlo
Severografia, n. p, závod 03
Obr.
Obr. 2
100647
100647

100647

  • 2.
    československá socialistickÁ REPUBLIKA Vydáno 15.srpna 1961 Vyloženo 15. února 1961 PATENTNÍ SPIs č. 100647 Třída 45 b, 2 Právo k využití vynálezu přísluší státu podle 3 odst. 6 zák. . 84/1957 Sb. ZDENĚK HUBENÝ a VLADIMIR HEIZLAR, oba NÄCHOD Drtič mrvy Přihlášeno 10. května 1960 (Fv3042-60) (Platnost patentu od 10. května 1960. Vynález se týká drtiče chlévské mrvy. Jsou známy drtiče mrvy různých konstrukcí, zejména drtiče, u nichž v sítovém bubnu obíhají kladiva. Tyto drtiče mají poměrně malý výkon, což je způsobeno tím, že nemají přímé pracovní zapojení na vyrovnávací jímku. . . . . Předmětem vynálezu je drtič tohoto typu, který se vyznačuje velikým výkonem a který drtí mrvu velmi jemně, a to proto, že jeho úpravou se umožní, aby materiál vstupoval plynule ve velkém množství mezi činné plochy kladiv a plášť bubnu a byl tam účinně drcen. . . . Podstatný význak vynálezu spočívá v tom, že drtič mrvy lze napojit 10 přímo na vyrovnávací jímku, která může být přímo zapojena na výtlačné čerpadlQ. Tím odpadá nutnost použití míchacích jímek s pomocným ústrojím, což značně zlevňuje zařízení.
  • 3.
    Příklad provedení vynálezuje znázorněn na výkresech, kde značí: obr. 1 schematický pohled zepředu na drtič; : obr. 2 je odpovídající půdorys; . . . . . - obr. 3 je schematický pohled na celkové uspořádání, dosud známého typisovaného druhu; . . . . . . obr. 4 je schéma zjednodušeného uspořádání při použití drtiče podle vynálezu. 20 . Na rámu 1. je uložen elektromotor 2, který klínovými řemeny 3 přenáší pohyb na kladiva . Kladiva se otáčejí v bubnovém sítu , které podle vynálezu je eliptického tvaru; takže v některých místech je 1 0 0 6 47
  • 5.
    30 2 . .. . 100647 mezi vnitřním povrchem bubnu a činnou plochou kladiv větší mezera než v jiných místech, jak je patrno z výkresu, kde pouze pro informaci. je ve vodorovném směru zakreslena větší vůle a ve svislém směru malá vůle. V praktickém provedení jsou osy elipsy skloněny asi v úhlu 45° vůči vodorovné rovině. ” - . . . . . . Kladiva 4 jsou vytvořena tak, že jejich profil odpovídá písmenu E, jak je patrno z obr. 2, přičemž stojima 6 obíhá u zadní stěny 7 bubnu a obě krajní ramena , 8 tvoří vlastní činné plochy kladiv. Kladiva “ jsou upevněna na hřídeli , který je patřičně uložen v. rámu stroje. . Materiál se přivádí do stroje násypkou 10 obvyklého tvaru a drcená mrva se odvádí odtokovým potrubím 11. Do drtiče se přivádí voda potrubím 12 tak, že přitéká na horní část bubnu, splachuje materiál a zároveň jej dopravuje do odtokového potrubí 11. z potrubí 12 je vedena odbočká 13 ústící dg násypky 10 a množství vody , proudícílze regulovat na příklad šoupátkem 14 nebo jakkoli jinak. « » Při práci jé mrva přiváděna do násypky 10 a vzhledem ke zvláštnímu tvaru, kladiva může vstupovat plným proudem do bubnu, protože stojina 6 jí v tom : nebrání. Mrva zaplní tedy prakticky celý vnitřní prostor bubnu 5 a vstupuje mezi plášť bubnu a činné plochy kladiv , zejména v místech, kde tyto činně plochy jsou nejdéle oá bubnu pro jeho elipsovitý tvar. Při otáčení kladiv se jejich činné plochy . přibližují plášti bubnu, čímž nastává účinné drcení až do místa, kdy činné plochy kladiv s se nejvíce přiblíží plášti bubnu . Rozdrcená mrva pak vystupuje potrubím 11. Násypka 10 je uložena na závěsech 14, takže vnikneli do bubnu . cizí těleso, na příklad kus železa neb pod., lze násypku 10 rychle odklopit a těleso odstranit. Aby se zamezilo poškození stroje, je do náhonu vložena spojka proti přetížení nebo jakýkoli jiný
  • 6.
    zajišťovací orgán. -. Stroj podle vynálezu je výhodný tím, že tvar síta zaručuje pozvolné protlačování mrvy, takže stroj je stejnoměrně zatěžován. Voda proudící na povrch síta splachuje protlačovánoü hmotu a tím umožňuje rychlý provoz a zabraňuje ucpání síta. Proud vody z potrubí 13 napomáhá splachování materiálu pod kladiva, čímž se rovněž snižuje třecí odpor, který vzniká při drcení. ' - Přítokové à odtokové koncovky jsou přizpůsobeny tak, aby se dalo použít typisovaných koncovek. ' · . . . . Vzhledem k neobyčejně vysokému výkonu drtiče podle vynálezu - lze pozměnit celé uspořádánítypisovaných staveb pro kejdové hos podářství. - - m . V obr. 3 je znázorněno toto uspořádání; vztahovou značkou 15 je označeno kvasiště, 16, je potrubí na splachování žlabů, 17 splachovací čerpadlo, 18 vodní zdroj, 19. čerpadlo dopravující vodu do drtiče, 20 drtič, 21. potrubí dopravující vodu do drtičė, 22 žlab, 23 přepouštěcí jímka, 24 a 25 jsou míchací jímky, 26 čerpadlo, 27 výtokové potrubí. . Podle vynálezu lze celé toto uspořádání zjednodušit. a . hlavně zlevnit tím, že se vynechají fhíchací jímky a zařízení se uspořádá tak, jak naznačeno v obr. 4. V tomto uspořádání znázorňuje: 28 kvasiště, 29 drtič, 30 potrubí na dopravu, vody do drtiče, vytvořené z trubek s rychlospojkami, 31 je čerpadlo, 32 zdroj vody, 33 potrubí s rychlospojkami, vedoucí od drtiče do vyrovnávací jímky 34, z níž čerpá přímo čerpadlo 35 pro dopravu kejdy výtlačným řádem 36. Tohoto uspořádání lze použít vzhledem k velmi vysokému výkonu - - drtiče a uvedeného je zřejmé, že odpadnutím míchacích jímek jakož i přepouštěcí jímky se celé zařízení zlevní a zjednoduší. Rovněž tak
  • 8.
    100647 odpadá splachovací žlab22, který je nahrazen jednoduchým potrubím. Další výhoda vynálezu spočívá v tom, že zařízení lze postavit kdekoliv a není vázáno na zvláštní komplex jímek a žlabů, jako je tomu u dosavadních zařízení. Rovněž provozní náklady se sníží, protože odpadají . motory pro pohon míchacího zařízení. . . Drtič podle vynálezu se při praktických zkouškách velmi dobře osvědčil, což jest mimo jiné způsobeno i tím, že materiál je mezi pláštěm bubnu a činnou plochou kladiv jednak plynule stlačován a tím drcen, a kromě toho velmi účinně převalován tak, že se tře a odírá o přibližující se pracovní plochy. Tento nový efekt stroje podle vynálezu vede k získání neobyčejně jemné a velmi dobře promíšené kejdy. Předmět patentu Drtič mrvy s kladivy profilu ve tvaru písmena E, obíhajícími v bubnu tvaru elipsy, vyznačený tím, že drtič je napojen přímo na vyrovnávací jímku (34), která je přímo zapojena na výtlačné čerpadlo Severografia, n. p, závod 03
  • 10.