PATENTNÝ SPIS č.
100806
10
20
Československá socialistickÁ
REPUBLIKA - rarenry a vynalezy
. p
Vydané 15. septembra 1961
39 1907
Vyložené 15. marca 1961
Právo na využitie vynálezu prináleží štátu podľa 3 odst. 6
zák. . 34/1957 Zb. . .
LADISLAV ZIEGLER, inž. VLASTIMÍR MEDEK a inž. TOMÁŠ JELÍNEK,
všetci BRATISLAVA
Miešačka najmä pre epoxydové zmesi .
Prihlásené 13. júna 1959 (Pv 3481-59) Platnosť patentu
od 13. júna 1959
Y
Vynález sa dá použiť na rýchle strojové miešanie a odvzdušnenie epoxydových
zmesí s plnidlom a akýchkoľvek iných kvapalín zmesí, ktoré vyžadujú odplynenie.
Doteraz sa napríklad epoxydové živice, ktoré sa používajú na výrobu zlievárenských
modelov, matríc a šablón miešajú pred použitím s rôznymi plnidlami. Na zhotovenie
uvedených výrobkov sa používa EPOX 1200 a 2100 v pomeru 1:1. Obidva epoxydové
komponenty musia byť velmi dôkladne premiešané. Po premiešaní sa pridáva plnidlo
(sklenená, hliníková, oceľová múčka a iné. Pri normálnej teplote sa táto zmes mieša asi
12 hodín. Zmes pri zahriatí asi na 6080o C sa mieša asi 6 hod. Cas miešania je taký
dlhý z toho dôvodu, lebo sa žiada veľmi dôkladné premiešanie. V opačnom prípade,
teda pri nedokonalom miešaní má za následok nehomogénnosť. Pri miešaní sa však
dostáva do zmesi vzduch (vzduchové bubliny), ktorý je potom nutné odstrániť odstátim
a technikou liatia. Necháme teda zmes, ktorů sme pri miešaní zahriali najprv odstáť,
aby vzduch unikol a potom ju necháme ochladnúť na potrebnú teplotu. Pri tejto teplote
sa pridá do zmesí tužidlo, ktoré sa znovu so zmesou premieša. Toto dalšie miešanie
musí byť znovu veľmi dôkladné, pritom nemôže sa však vyhnúť tomu, aby sa znovu
určité množstvo vzduchu nezamiešalo do zmesi. Tento vzduch sa čiastočne odstraňuje
tak,
40
50
2 100800
že sa leje tenkým prúdom z väčšej výšky. Ale ani tak nie je zaručená potrebná kvalita.
Vzduch uzavretý v zmesi má potom za následok ne
kvalitné výrobky: Zároveň sa zmes ťažko spracováva, nakoľko po 30 minútach od
pridania tužidla začína zmes tuhnúť. Je teda možné
miešať len menšie množstvá, ktoré sa rýchlejšie dajú spracovať.
Uvedené nevýhody odstraňuje predmetný vynález. Predmetom vynálezu je
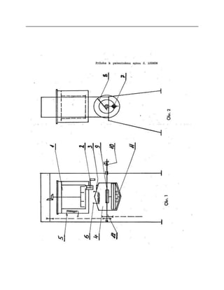
miešačka najmä pre živičné a viackomponentné zmesi, ktorá sa skladá z dvoch nad
sebou uložených miešacích bubnov, vertikálmeho 1 a horizontálneho , pričom vertikálny
bubon je uložený nad horizontálnym bubnom, oba bubny sú opatrené termostatmi,
vertikálny bubon je opatrený známymi miešacími lopatkami a prepúšťacím ventilom 2 a
horizontálny bubon má prepúšťací otvor 3 a stabilné miešacie zariadenie pozostávajúce
z dierkovaného miešača 11, stierača 8 udržované v zvislej polohe závažím 7 okolo
ktorého sa otáča bubon a chránené odsávanie plynov.
Zariadenie pozostáva z vertikálnej miešačky 1, ktorá je vyhrie
vaná pomocou nejakého tepelného zdroja, napr. elektrickým termostatom , na
požadovanú a potrebnú teplotu. V tejto nádobe sa živice
(Epoxy) miešajú za strojového miešania s plnidlom tak, aby toto vyhovovalo ďalšiemu
spracovaniu. Po dôkladnom premiešaní pomocou
miešacích lopatiek prepustí sa zmes pomocou ventilu 2 a otvoru 3
do horizontálneho bubna , ktorý má tvar dvoch rotačných kužeľov k sebe spojëných
väčším priemerom a vyhrieva sa pomocou termostatu . Po prepustení sa do bubna
pridá tužidlo a bubon sa vzduchotesne uzavrie. Cez prevŕtaný hriadeľ 12, ktorého otvor
končí v strede
bubna a je krytý voľne uloženým prstencom , sa vysaje vzduch. Tým
v bubne 4 nastane podtlak, ktorý sa uzavrie pomocou kohúta 10. Teraz sa môže začať
s premiešaním zmesí s tužidlom. Robí sa to pomocou stabilného“ miešacieho
zariadenia, ktoré sa skladá z dierkovaného miešača 11 a škrabky . Tieto udržuje v
stabilnej polohe závažie , ktoré je upevnené na prstenci . Miešanie nąstane, keď sa
bubon 4 otáča pomocou hriadeľa 12, ktorý ma náhon od elektromotora. Teda hriadeľ je
v pevnom spojení s bubnom . Pomocou popísaného zariadenia je možné vyrobiť
ľubovoľné množstvo zmesi kvalitne premiešanej, bez obsahu vzduchu (vzduchových
bubliniek) a za nepri
merane kratší čas. .
Predmetpatentu
Miešačka najmä pre epoxydové zmesi vyznačená tým, že sa skladá z dvoch
miešacích bubnov, vertikálneho (1) a horizontálneho (4) uložených nad sebou,
pričom vertikálny bubon je uložený nad horizontálnym bubnom a je opatrený
známymi miešacími lopatkami a prepúšťacím ventilom (2) a horizontálny bubon
má prepúšťací otvor (3) so stabilným miešacím ústrojenstvom, pozostávajúcim z
dierkovaného miešača (11), stierača (8) udržovaných v zvislej polohe závažím.
7]
okolo ktorého sa otáča bubon a chránené odsávanie plynov.
- Severografia, n. p, závod 03
Príloha k patentnému spisu č. 100806

100806

  • 2.
    PATENTNÝ SPIS č. 100806 10 20 ČeskoslovenskásocialistickÁ REPUBLIKA - rarenry a vynalezy . p Vydané 15. septembra 1961 39 1907 Vyložené 15. marca 1961 Právo na využitie vynálezu prináleží štátu podľa 3 odst. 6 zák. . 34/1957 Zb. . . LADISLAV ZIEGLER, inž. VLASTIMÍR MEDEK a inž. TOMÁŠ JELÍNEK, všetci BRATISLAVA Miešačka najmä pre epoxydové zmesi . Prihlásené 13. júna 1959 (Pv 3481-59) Platnosť patentu od 13. júna 1959 Y Vynález sa dá použiť na rýchle strojové miešanie a odvzdušnenie epoxydových zmesí s plnidlom a akýchkoľvek iných kvapalín zmesí, ktoré vyžadujú odplynenie. Doteraz sa napríklad epoxydové živice, ktoré sa používajú na výrobu zlievárenských modelov, matríc a šablón miešajú pred použitím s rôznymi plnidlami. Na zhotovenie uvedených výrobkov sa používa EPOX 1200 a 2100 v pomeru 1:1. Obidva epoxydové
  • 3.
    komponenty musia byťvelmi dôkladne premiešané. Po premiešaní sa pridáva plnidlo (sklenená, hliníková, oceľová múčka a iné. Pri normálnej teplote sa táto zmes mieša asi 12 hodín. Zmes pri zahriatí asi na 6080o C sa mieša asi 6 hod. Cas miešania je taký dlhý z toho dôvodu, lebo sa žiada veľmi dôkladné premiešanie. V opačnom prípade, teda pri nedokonalom miešaní má za následok nehomogénnosť. Pri miešaní sa však dostáva do zmesi vzduch (vzduchové bubliny), ktorý je potom nutné odstrániť odstátim a technikou liatia. Necháme teda zmes, ktorů sme pri miešaní zahriali najprv odstáť, aby vzduch unikol a potom ju necháme ochladnúť na potrebnú teplotu. Pri tejto teplote sa pridá do zmesí tužidlo, ktoré sa znovu so zmesou premieša. Toto dalšie miešanie musí byť znovu veľmi dôkladné, pritom nemôže sa však vyhnúť tomu, aby sa znovu určité množstvo vzduchu nezamiešalo do zmesi. Tento vzduch sa čiastočne odstraňuje tak,
  • 5.
    40 50 2 100800 že saleje tenkým prúdom z väčšej výšky. Ale ani tak nie je zaručená potrebná kvalita. Vzduch uzavretý v zmesi má potom za následok ne kvalitné výrobky: Zároveň sa zmes ťažko spracováva, nakoľko po 30 minútach od pridania tužidla začína zmes tuhnúť. Je teda možné miešať len menšie množstvá, ktoré sa rýchlejšie dajú spracovať. Uvedené nevýhody odstraňuje predmetný vynález. Predmetom vynálezu je miešačka najmä pre živičné a viackomponentné zmesi, ktorá sa skladá z dvoch nad sebou uložených miešacích bubnov, vertikálmeho 1 a horizontálneho , pričom vertikálny bubon je uložený nad horizontálnym bubnom, oba bubny sú opatrené termostatmi, vertikálny bubon je opatrený známymi miešacími lopatkami a prepúšťacím ventilom 2 a horizontálny bubon má prepúšťací otvor 3 a stabilné miešacie zariadenie pozostávajúce z dierkovaného miešača 11, stierača 8 udržované v zvislej polohe závažím 7 okolo ktorého sa otáča bubon a chránené odsávanie plynov. Zariadenie pozostáva z vertikálnej miešačky 1, ktorá je vyhrie vaná pomocou nejakého tepelného zdroja, napr. elektrickým termostatom , na požadovanú a potrebnú teplotu. V tejto nádobe sa živice (Epoxy) miešajú za strojového miešania s plnidlom tak, aby toto vyhovovalo ďalšiemu spracovaniu. Po dôkladnom premiešaní pomocou miešacích lopatiek prepustí sa zmes pomocou ventilu 2 a otvoru 3 do horizontálneho bubna , ktorý má tvar dvoch rotačných kužeľov k sebe spojëných väčším priemerom a vyhrieva sa pomocou termostatu . Po prepustení sa do bubna pridá tužidlo a bubon sa vzduchotesne uzavrie. Cez prevŕtaný hriadeľ 12, ktorého otvor končí v strede bubna a je krytý voľne uloženým prstencom , sa vysaje vzduch. Tým v bubne 4 nastane podtlak, ktorý sa uzavrie pomocou kohúta 10. Teraz sa môže začať s premiešaním zmesí s tužidlom. Robí sa to pomocou stabilného“ miešacieho zariadenia, ktoré sa skladá z dierkovaného miešača 11 a škrabky . Tieto udržuje v stabilnej polohe závažie , ktoré je upevnené na prstenci . Miešanie nąstane, keď sa bubon 4 otáča pomocou hriadeľa 12, ktorý ma náhon od elektromotora. Teda hriadeľ je v pevnom spojení s bubnom . Pomocou popísaného zariadenia je možné vyrobiť ľubovoľné množstvo zmesi kvalitne premiešanej, bez obsahu vzduchu (vzduchových bubliniek) a za nepri merane kratší čas. .
  • 6.
    Predmetpatentu Miešačka najmä preepoxydové zmesi vyznačená tým, že sa skladá z dvoch miešacích bubnov, vertikálneho (1) a horizontálneho (4) uložených nad sebou, pričom vertikálny bubon je uložený nad horizontálnym bubnom a je opatrený známymi miešacími lopatkami a prepúšťacím ventilom (2) a horizontálny bubon má prepúšťací otvor (3) so stabilným miešacím ústrojenstvom, pozostávajúcim z dierkovaného miešača (11), stierača (8) udržovaných v zvislej polohe závažím. 7] okolo ktorého sa otáča bubon a chránené odsávanie plynov. - Severografia, n. p, závod 03
  • 8.
    Príloha k patentnémuspisu č. 100806