československá socialisticKÁ
REPUBLIKA
o R A D P R o PAT E NT y A vy N A LEzy
vydáno 15. srpna 1861 Vyloženo 15. února 1961
PATENTNÍ SPIs č.
100646
na 20 b, 1010
Právo k využití vynálezu přísluší státu podle 3 odst. 6 zák.
. 34/1957 Sb.
Inž. JAROSLAV ŠIBA, NYMBURK
· Pohon dvojkolí třínápravového podvozku pro vozidla závislé
» » i nezávislé elektrické trakce
Přihlášeno . května 1960 (PV 3020-60) Platnost patentu od . května 1960
U elektrických vozidel se dnes obvykle používá jednotlivého pohonu dvojkolí, při
kterém je každé dvojkolí poháněno — nezávisle od druhého – samostatným trakčním
motorem. Nevýhodou tohoto uspořádání je především to, že zhoršením adhesních
podmínek na některém dvojkolí může dojít k jeho prokluzování. Toto prokluzování je
nežádoucí nejen z hlediska ohrožení mechanické pevnosti rotujících částí
: celého pohonu, ale i s ohledem na opotřebení obručí a kolejnic a ko
20
nečně i proto, že během prokluzování dvojkolí dochází k poklesu tažné síly vozidla. -
Ohledy na tyto okolnosti brání dokonalému využívání adhesní váhy a majíli být
poměry zlepšeny alespoň z hlediska změn nápravových tlaků, které vyplývají z
působení tažné síly na háku, omezují svým způsobem konstruktéra při volbě celkové
koncepce mechanické části, resp. nutí jej k použití přídavných zařízení, jako jsou např.
vyrovnávací vzduchové válce, vyvažovací mechanismy motorů apod.
Vzájemnou vazbou několika dvojkolí v jejich otáčivém pohybu lze dosáhnout toho,
že k vyvíjení tažné síly je možno využít prakticky součtu nápravových tlaků všech
spřažených dvojkolí.
Budouli tedy např. u šestinápravové lokomotivy vzájemně spřa- žena dvojkolí v
třínápravových podvozcích, je tím ze statického hlediska dosaženo poněkud
příznivějších adhesních vlastností lokomotivy,
60
2 - 100646
než je tomu v případě tzv. „mechanického optima, a to bez jakýchkoli
přídavných zařízení.
Nejde však pouze o tyto statické změny nápravových tlaků. Příčinou prokluzování
některého dvojkolí při jednotlivém pohonu může být např. i jeho krátkodobé odlehčení,
vyvolané dynamickými silami nevypružených hmot. Jiným podnětem k prokluzování
dvojkolí může být místní znečištění kolejnic, a to třeba i na poměrně krátkém úseku. V
obou případech se vzájemná vazba dvojkolí projeví příznivě tím, že dvojkolí, které
vykazuje tendenci k prokluzování, je přidrženo dvojkolími ostatními. Pokud by snad
přebytek točivého momentu na jednom dvojkolí byl již tak velký, že by byl schopen
uvést do prokluzování všechna spřažená dvojkolí, je ve srovnání s pohonem
jednotlivým opět situace příznivější, a to proto, že stejným přebytkem momentu jsou v
tomto případě urychlovány rotující hmoty příslušné všem spřaženým dvojkolím, takže
jejich rozběh bude podstatně pomalejší.
Jedním z prostředků k uskutečnění vzájemné vazby dvojkolí jsou čelní ozubená
kola. Tohoto způsobu bylo použito již na starších lokomotivách rámových a v poslední
době i na lokomotivách podvozkových. U těchto čtyřnápravových lokomotiv, opatřených
dvěma dvounápravovými podvozky, jsou pomocí ozubených kol spřažena vždy dvě
dvojkolí téhož podvozku. V provozu dnes jsou již i lokomotivy, u kterých jsou
převodovky nesoucí vazební ozubená soukolí konstruovány tak, že dovolují nastavení
dvou převodových stupňů (franc. patent No. 1.157.510, Gr. 3, uveřejněný v r. 1958).
Obdobné uspořádání vazby dvojkolí u podvozků třínápravových nebylo dosud
realisováno, i když na některá uspořádání byly již uděleny patenty. Máli být vazba
dvojkolí třínápravového podvozku - provedena pomocí čelních situovaných v jedné
rovině (jak to navrhuje něm. patent DBP 1011451, Kl. 20d, z r. 1956), vychází společná
převodovka těchto kol příliš dlouhá a představuje s ohledem na nutnou přesnost velmi
obtížný výrobní úkol. Navíc je ve jmenovaném návrhu převodovka umístěna mezi
hnacími koly, což přináší nevýhodu zmenšení prostoru pro trakční motory a dále i to, že
při eventuální poruše některého z ozubených kol u nápravy je třeba pro demontáž
tohoto
kola slisovat hnací kolo z nápravy.
Podstata předloženého vynálezu spočívá v tom, že vazba hnacích dvojkolí
třínápravových podvozků je uskutečněna pomocí ozubených kol, která jsou uložena v
převodovkách upevněných na rámu podvozku, a to vně hnacích kol. Podle požadované
velikosti rozvoru krajních náprav a celkové situace vyplývající z volby průměrů hnacích
kol a rozměrů motorů lze použít některé z dále uvedených . alternativ skupinového
pohonu, které jsou zbaveny nevýhod uplatňujících se u předchozího uspořádání.
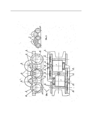
. V předloženém vynálezu je navrhováno uspořádání pohonu, na
značené na obr. 1, 2, 3.
třínápravovém podvozku na obr. 1 jsou uloženy dva trakční motory (či dvojmotory)
1. Jejich výkon je na hnací dvojkolí 2 přenášen
pomocí dvou převodovek 3, které jsou upevněny na rámu podvozku 4
po jeho různých stranách, a to vně hnacích kol. Mezi motory a převodovky jsou vloženy
spojky , které umožňují malé relativní pohyby obou těchto částí, v vznikající zejména
následkem pružných deformací rámu podvozku. Dále tyto spojky snižují nároky na
přesnost ustavení
převodovky vůči motoru a usnadňují i její demontáž z rámu podvozku;
konečně mohou kotvám motorů poskytnout i tangenciální vypružení. Z
koncových kol převodovek je výkon na hnací kola přenášen pomocí pružinových
či ojničkových mechanismů , které musí dovolit pružící
100
110
120
130
3 - « 100646
pohyby rámu podvozku vůči dvojkolí, a to ve směru svislém i ve směru
příčnémi k ose koleje. i . "
Přesto, že každý motor pohání dvě sousední dvojkolí přes samostatnou
převodovku, jsou kotvy obou motorů i všechna dvojkolí podvozku ve svém
otáčivém pohybu vzájemně vázána prostřednictvím nápravy středního dvojkolí. .
•
V samotných převodovkách 3 je možno vystačit se čtyřmi ozubenými koly v
každé z nich, přičemž lze dosáhnout dostatečně velkých převodových poměrů;
tento počet kol vede k jednoduchému tvaru skří
ně převodovky a krátkému rozvoru podvożku.
Jestliže by bylo nutno rozvor zvětšit, je možno konstruovat převo- dovky 7 podlė
obr. 2 s pěti ozubenými koly, což poskytuje značnou volnost v umístění motorů v rámu
podvozku a umožňuje i volbu menších průměrů hnacích kol. . . . '
Rám podvozku je v tomto případě vnitřní, tj. s nápravovými ložisky
umístěnými mezi hnacími koly. Umístěním převodů vně hnacích kol vzniká v
podvozku dostatečný prostor pro pohodlné umístění trakčních motorů, z nichž
každý má výkon o 50% vyšší, než je výkon přenášený jedním dvojkolím. Z
použití dvou trakčních motorů v podvozku vyplývá i výhodné uvolnění střední
partie rámu, takže lze vykonstruovat otočný čep podobně jako u podvozků
dvounápravových; jak známo, nastávají obvykle u třínápravových podvozků
právě v tomto ohledu potíže. -
Shrňme tedy přednosti navrhovaného uspořádáņí pohonu, vyznačeného na obr. 1,
2, takto: zlepšení adhesních vlastností vozidla, přijatelná velikost převodovek pro
vazební ozubená, soukolí, přístupnost a jednoduchá demontáž převodovek, volnost ve
volbě rozvoru podvoz- . ku, převodového poměru a průměru hnacích kol, odpadá
potřeba přesného vyrovnání nápravových tlaků; přesto je, ovšem účelné snažit se o
jejich určité vyrovnání s ohledem na namáhání pohonu a trati, příznivé podmínky pro
vyvinutí otočného čepu podvozku a uvolnění prostoru mezi koly pro trakční motory,
podvozek je středově souměrný, z čehož vyplývá poloha jeho těžiště na ose otočného
čepu a rovnoměrné rozdělení váhy na všechna kola. «
Bylo by možno namítnout, že oproti pohonu jednotlivému, vyžaduje navrhované
uspořádání větší počet ozubených kol. To platí ovšem jen tehdy, bude-li při jednotlivém pohonu
možno dosáhnout požadovaného převodu mezi motorem a nápravou jedním párem kol. V tom
případě bude na lokomotivě typu CoCo zapotřebí celkem 12 ozubených kol, zatím co v
předloženém návrhu bude celkový počet ozubených kol 16,
resp. 20 podle toho, jedná-li se o převodovky se čtyřmi či pěti koly;
tedy na lokomotivě o , resp. 8 kol více. Je ovšem třeba dodat, že u nákladních
lokomotiv, které dnes pro šestinápravové uspořádání přicházejí především v úvahu;
není často možné dosáhnout potřebného převodu jedním párem kol a je třeba použít
ještě kola vloženého (viz např. lokomotiva E 469.0 ČSD); tím stoupne celkový počet
ozubených kol na lokomotivě CoCo s jednotlivým pohonem dvojkolí na 18. V tomto
případě přináší tedy předložený návrh snížení celkového počtu kol · ·
o 2 při převodovkách 3 se čtyřmi koly, resp. zvýšení o 2 při převodovkách s pěti koly;
celková účinnost ozubeného převodu je přitom přibližně stejná. · - -
s Pokud rozměry motorů i ohledy na zatížení běžného metru trati dovolují provést
vazbu sousedních dvojkolí pomocí tří ozubených kol, bylo by možno uvažovat i
alternativní uspořádání pohonu podle obr. 3, při němž je v každém podvozku použito
jedné převodovkv , upevněné na jedné straně rámu podvozku opět vně hnacích kol.
150
s 100646
V : převodovce je v tomto případě uloženo celkem sedm ozubených
kol. Rozvor krajních náprav vychází přitom ,5 m, což je hodnota
běžná dosud u dvounápravových podvozků, při které lze ještě zvládnout výrobu
společné převodovky. Celkový počet ozubených kol na lokomotivě je při tomto
uspořádání o 2 menší, než je tomu v případě vyznačeném na obr. 1; rovněž
celkový počet mechanismů vložených mezi převodovky a dvojkolí je zde o 2
menší.
Předmět patentu
Pohon dvojkolí třínápravového podvozku pro vozidla závislé i nezávislé elektrické
trakce, kde dva trakční motory či dvojmotory
jsou uloženy v rámu podvozku, vyznačující se tím, že každý z motorů
nebo dvojmotorů (1) pohání přes samostatnou převodovku (3) dvě sousední dvojkolí
(2), přičemž prostřední dvojkolí (2) je poháněno z obou převodovek (3).
2. Pohon dvojkolí třínápravového podvozku podle bodu 1 vyznačující se tím, že
převodovky (3) jsou upevněny na rámu podvozku. [4], vně hnacích kol 2], v rovinách
rovnoběžných s podélnou osou podvozku, po jedné na každé straně. . 3. Pohon dvojkolí
třínápravového podvozku podle bodů 1 a 2 vyznačující se tím, že mezi koncová
ozubená kola (10) převodovek (3) a kola hnací (2) jsou vloženy mechanismy (6), které
umožňují pružící pohyby rámu podvozku (4) vůči dvojkolím (2). .
4. Pohon dvojkolí třínápravového podvozku podle bodů 1, 2 a 3, vyznačující
se tím, že mezi hřídel kotvy trakčního motoru (1) a pastorek 9] převodovky (3) je
vložena spojka (5). . --
. Pohon dvojkolí třínápravového podvozku podle bodů 1, 3 a 4, vyznačující
se tím, že namísto dvou převodovek (3) je k pohoņu všech dvojkolí podvozku
použito jedné převodovky (8), upevněné na rámupodvozku, vně hnaccíh kol.
severografia, závod 03 .
100646
100646
100646
100646

100646

  • 2.
    československá socialisticKÁ REPUBLIKA o RA D P R o PAT E NT y A vy N A LEzy vydáno 15. srpna 1861 Vyloženo 15. února 1961 PATENTNÍ SPIs č. 100646 na 20 b, 1010 Právo k využití vynálezu přísluší státu podle 3 odst. 6 zák. . 34/1957 Sb. Inž. JAROSLAV ŠIBA, NYMBURK · Pohon dvojkolí třínápravového podvozku pro vozidla závislé » » i nezávislé elektrické trakce Přihlášeno . května 1960 (PV 3020-60) Platnost patentu od . května 1960 U elektrických vozidel se dnes obvykle používá jednotlivého pohonu dvojkolí, při kterém je každé dvojkolí poháněno — nezávisle od druhého – samostatným trakčním motorem. Nevýhodou tohoto uspořádání je především to, že zhoršením adhesních podmínek na některém dvojkolí může dojít k jeho prokluzování. Toto prokluzování je nežádoucí nejen z hlediska ohrožení mechanické pevnosti rotujících částí : celého pohonu, ale i s ohledem na opotřebení obručí a kolejnic a ko 20 nečně i proto, že během prokluzování dvojkolí dochází k poklesu tažné síly vozidla. - Ohledy na tyto okolnosti brání dokonalému využívání adhesní váhy a majíli být
  • 3.
    poměry zlepšeny alespoňz hlediska změn nápravových tlaků, které vyplývají z působení tažné síly na háku, omezují svým způsobem konstruktéra při volbě celkové koncepce mechanické části, resp. nutí jej k použití přídavných zařízení, jako jsou např. vyrovnávací vzduchové válce, vyvažovací mechanismy motorů apod. Vzájemnou vazbou několika dvojkolí v jejich otáčivém pohybu lze dosáhnout toho, že k vyvíjení tažné síly je možno využít prakticky součtu nápravových tlaků všech spřažených dvojkolí. Budouli tedy např. u šestinápravové lokomotivy vzájemně spřa- žena dvojkolí v třínápravových podvozcích, je tím ze statického hlediska dosaženo poněkud příznivějších adhesních vlastností lokomotivy,
  • 5.
    60 2 - 100646 nežje tomu v případě tzv. „mechanického optima, a to bez jakýchkoli přídavných zařízení. Nejde však pouze o tyto statické změny nápravových tlaků. Příčinou prokluzování některého dvojkolí při jednotlivém pohonu může být např. i jeho krátkodobé odlehčení, vyvolané dynamickými silami nevypružených hmot. Jiným podnětem k prokluzování dvojkolí může být místní znečištění kolejnic, a to třeba i na poměrně krátkém úseku. V obou případech se vzájemná vazba dvojkolí projeví příznivě tím, že dvojkolí, které vykazuje tendenci k prokluzování, je přidrženo dvojkolími ostatními. Pokud by snad přebytek točivého momentu na jednom dvojkolí byl již tak velký, že by byl schopen uvést do prokluzování všechna spřažená dvojkolí, je ve srovnání s pohonem jednotlivým opět situace příznivější, a to proto, že stejným přebytkem momentu jsou v tomto případě urychlovány rotující hmoty příslušné všem spřaženým dvojkolím, takže jejich rozběh bude podstatně pomalejší. Jedním z prostředků k uskutečnění vzájemné vazby dvojkolí jsou čelní ozubená kola. Tohoto způsobu bylo použito již na starších lokomotivách rámových a v poslední době i na lokomotivách podvozkových. U těchto čtyřnápravových lokomotiv, opatřených dvěma dvounápravovými podvozky, jsou pomocí ozubených kol spřažena vždy dvě dvojkolí téhož podvozku. V provozu dnes jsou již i lokomotivy, u kterých jsou převodovky nesoucí vazební ozubená soukolí konstruovány tak, že dovolují nastavení dvou převodových stupňů (franc. patent No. 1.157.510, Gr. 3, uveřejněný v r. 1958). Obdobné uspořádání vazby dvojkolí u podvozků třínápravových nebylo dosud realisováno, i když na některá uspořádání byly již uděleny patenty. Máli být vazba dvojkolí třínápravového podvozku - provedena pomocí čelních situovaných v jedné rovině (jak to navrhuje něm. patent DBP 1011451, Kl. 20d, z r. 1956), vychází společná převodovka těchto kol příliš dlouhá a představuje s ohledem na nutnou přesnost velmi obtížný výrobní úkol. Navíc je ve jmenovaném návrhu převodovka umístěna mezi hnacími koly, což přináší nevýhodu zmenšení prostoru pro trakční motory a dále i to, že při eventuální poruše některého z ozubených kol u nápravy je třeba pro demontáž tohoto kola slisovat hnací kolo z nápravy. Podstata předloženého vynálezu spočívá v tom, že vazba hnacích dvojkolí třínápravových podvozků je uskutečněna pomocí ozubených kol, která jsou uložena v převodovkách upevněných na rámu podvozku, a to vně hnacích kol. Podle požadované velikosti rozvoru krajních náprav a celkové situace vyplývající z volby průměrů hnacích kol a rozměrů motorů lze použít některé z dále uvedených . alternativ skupinového
  • 6.
    pohonu, které jsouzbaveny nevýhod uplatňujících se u předchozího uspořádání. . V předloženém vynálezu je navrhováno uspořádání pohonu, na značené na obr. 1, 2, 3. třínápravovém podvozku na obr. 1 jsou uloženy dva trakční motory (či dvojmotory) 1. Jejich výkon je na hnací dvojkolí 2 přenášen pomocí dvou převodovek 3, které jsou upevněny na rámu podvozku 4 po jeho různých stranách, a to vně hnacích kol. Mezi motory a převodovky jsou vloženy spojky , které umožňují malé relativní pohyby obou těchto částí, v vznikající zejména následkem pružných deformací rámu podvozku. Dále tyto spojky snižují nároky na přesnost ustavení převodovky vůči motoru a usnadňují i její demontáž z rámu podvozku; konečně mohou kotvám motorů poskytnout i tangenciální vypružení. Z koncových kol převodovek je výkon na hnací kola přenášen pomocí pružinových či ojničkových mechanismů , které musí dovolit pružící
  • 8.
    100 110 120 130 3 - «100646 pohyby rámu podvozku vůči dvojkolí, a to ve směru svislém i ve směru příčnémi k ose koleje. i . " Přesto, že každý motor pohání dvě sousední dvojkolí přes samostatnou převodovku, jsou kotvy obou motorů i všechna dvojkolí podvozku ve svém otáčivém pohybu vzájemně vázána prostřednictvím nápravy středního dvojkolí. . • V samotných převodovkách 3 je možno vystačit se čtyřmi ozubenými koly v každé z nich, přičemž lze dosáhnout dostatečně velkých převodových poměrů; tento počet kol vede k jednoduchému tvaru skří ně převodovky a krátkému rozvoru podvożku. Jestliže by bylo nutno rozvor zvětšit, je možno konstruovat převo- dovky 7 podlė obr. 2 s pěti ozubenými koly, což poskytuje značnou volnost v umístění motorů v rámu podvozku a umožňuje i volbu menších průměrů hnacích kol. . . . ' Rám podvozku je v tomto případě vnitřní, tj. s nápravovými ložisky umístěnými mezi hnacími koly. Umístěním převodů vně hnacích kol vzniká v podvozku dostatečný prostor pro pohodlné umístění trakčních motorů, z nichž každý má výkon o 50% vyšší, než je výkon přenášený jedním dvojkolím. Z použití dvou trakčních motorů v podvozku vyplývá i výhodné uvolnění střední partie rámu, takže lze vykonstruovat otočný čep podobně jako u podvozků dvounápravových; jak známo, nastávají obvykle u třínápravových podvozků právě v tomto ohledu potíže. - Shrňme tedy přednosti navrhovaného uspořádáņí pohonu, vyznačeného na obr. 1, 2, takto: zlepšení adhesních vlastností vozidla, přijatelná velikost převodovek pro vazební ozubená, soukolí, přístupnost a jednoduchá demontáž převodovek, volnost ve volbě rozvoru podvoz- . ku, převodového poměru a průměru hnacích kol, odpadá potřeba přesného vyrovnání nápravových tlaků; přesto je, ovšem účelné snažit se o jejich určité vyrovnání s ohledem na namáhání pohonu a trati, příznivé podmínky pro vyvinutí otočného čepu podvozku a uvolnění prostoru mezi koly pro trakční motory, podvozek je středově souměrný, z čehož vyplývá poloha jeho těžiště na ose otočného čepu a rovnoměrné rozdělení váhy na všechna kola. «
  • 9.
    Bylo by možnonamítnout, že oproti pohonu jednotlivému, vyžaduje navrhované uspořádání větší počet ozubených kol. To platí ovšem jen tehdy, bude-li při jednotlivém pohonu možno dosáhnout požadovaného převodu mezi motorem a nápravou jedním párem kol. V tom případě bude na lokomotivě typu CoCo zapotřebí celkem 12 ozubených kol, zatím co v předloženém návrhu bude celkový počet ozubených kol 16, resp. 20 podle toho, jedná-li se o převodovky se čtyřmi či pěti koly; tedy na lokomotivě o , resp. 8 kol více. Je ovšem třeba dodat, že u nákladních lokomotiv, které dnes pro šestinápravové uspořádání přicházejí především v úvahu; není často možné dosáhnout potřebného převodu jedním párem kol a je třeba použít ještě kola vloženého (viz např. lokomotiva E 469.0 ČSD); tím stoupne celkový počet ozubených kol na lokomotivě CoCo s jednotlivým pohonem dvojkolí na 18. V tomto případě přináší tedy předložený návrh snížení celkového počtu kol · · o 2 při převodovkách 3 se čtyřmi koly, resp. zvýšení o 2 při převodovkách s pěti koly; celková účinnost ozubeného převodu je přitom přibližně stejná. · - - s Pokud rozměry motorů i ohledy na zatížení běžného metru trati dovolují provést vazbu sousedních dvojkolí pomocí tří ozubených kol, bylo by možno uvažovat i alternativní uspořádání pohonu podle obr. 3, při němž je v každém podvozku použito jedné převodovkv , upevněné na jedné straně rámu podvozku opět vně hnacích kol.
  • 11.
    150 s 100646 V :převodovce je v tomto případě uloženo celkem sedm ozubených kol. Rozvor krajních náprav vychází přitom ,5 m, což je hodnota běžná dosud u dvounápravových podvozků, při které lze ještě zvládnout výrobu společné převodovky. Celkový počet ozubených kol na lokomotivě je při tomto uspořádání o 2 menší, než je tomu v případě vyznačeném na obr. 1; rovněž celkový počet mechanismů vložených mezi převodovky a dvojkolí je zde o 2 menší. Předmět patentu Pohon dvojkolí třínápravového podvozku pro vozidla závislé i nezávislé elektrické trakce, kde dva trakční motory či dvojmotory jsou uloženy v rámu podvozku, vyznačující se tím, že každý z motorů nebo dvojmotorů (1) pohání přes samostatnou převodovku (3) dvě sousední dvojkolí (2), přičemž prostřední dvojkolí (2) je poháněno z obou převodovek (3). 2. Pohon dvojkolí třínápravového podvozku podle bodu 1 vyznačující se tím, že převodovky (3) jsou upevněny na rámu podvozku. [4], vně hnacích kol 2], v rovinách rovnoběžných s podélnou osou podvozku, po jedné na každé straně. . 3. Pohon dvojkolí třínápravového podvozku podle bodů 1 a 2 vyznačující se tím, že mezi koncová ozubená kola (10) převodovek (3) a kola hnací (2) jsou vloženy mechanismy (6), které umožňují pružící pohyby rámu podvozku (4) vůči dvojkolím (2). . 4. Pohon dvojkolí třínápravového podvozku podle bodů 1, 2 a 3, vyznačující se tím, že mezi hřídel kotvy trakčního motoru (1) a pastorek 9] převodovky (3) je vložena spojka (5). . -- . Pohon dvojkolí třínápravového podvozku podle bodů 1, 3 a 4, vyznačující se tím, že namísto dvou převodovek (3) je k pohoņu všech dvojkolí podvozku použito jedné převodovky (8), upevněné na rámupodvozku, vně hnaccíh kol. severografia, závod 03 .