RISK ANALYSIS 
Prof. I. M. Mishra 
Department of Chemical Engineering, IIT Roorkee, Roorkee, India – 247 667 
244 
SOME IMPORTANT DEFINITIONS 
 Hazard 
A hazard is defined as a source of potential hazard 
 Risk 
 A measure of the potential for loss in terms of both the likelihood 
(events/year) of the incident and the consequences (effects/event) of the 
incident 
 Mathematically Risk =  probability of event × consequence of event 
 Risk Analysis 
The development of a quantitative estimate of risk based on engineering evaluation  
mathematical techniques for combining estimates of incident likelihood and 
consequences 
 Risk Assessment 
 The process by which the results of a risk analysis (i.e., risk estimates) are 
used to make decisions, either through relative ranking or through comparison 
with risk targets 
 Risk Management 
 The planning, organizing, leading and controlling of an organization’s assets 
and activities in ways, which minimize the adverse operational and financial 
effects of accidental losses upon the organization 
 Reliability 
It is defined as the extent to which the measurements of a test remain consistent over 
repeated tests of the same subject under identical conditions 
 Mean-time-between-failure (MTBF) 
It is the “average time between failures, the reciprocal of the failure rate in the special 
case when failure rate is constant. Calculations of MTBF assume that a system is 
“renewed, i.e. fixed, after each failure, and then returned to service immediately after 
failure 
Mathematically, MTBF = 1/l,  where  is the failure rate. 
 Mean Down time is the average time between failure and being returned to service 
 Mean time to failure (MTTF) 
It is the mean of distribution of times to failure of an item without repair
Availability is The degree to which a system, subsystem, or equipment is operable 
and in a committable state at the start of a mission, when the mission is called for at 
an unknown, i.e., a random, time. Simply put, availability is the proportion of time 
a system is in a functioning condition 
Mathematically, A = E [uptime] 
E [uptime] + E [downtime] 
ENVIRONMENT (PROTECTION) ACT,1986 
The central government, by notification in the official gazette, has notified under 
 Section 6(2) 
(c) the procedures and safeguards for the handling of hazardous substances 
(d) the prohibition and restrictions on the handling of hazardous substances in 
245 
different areas 
(f) the procedures and safeguards for the prevention of accidents which may 
cause environmental pollution and for providing for remedial measures for 
such accidents 
Under the Environment (Protection) Rules, 1986, Clause 13(l) the following factors are 
to be considered while prohibiting and restricting the handling of hazardous substances 
 The hazardous nature of the substances in terms of its damage causing potential 
to the environment, human beings, other living creatures, plants and property 
 The substances that may be or likely to be readily available as substitutes for the 
substances proposed to be prohibited or restricted 
 The indigenous availability of the substitute, or the state of technology available 
in the country for developing a safe substitute 
 The gestation period that may be necessary for gradual introduction of a new 
substitute with a view to bringing about a total prohibition of hazardous 
substances in question 
 Any other factor that may be considered by the central government to be 
relevant to the protection of the environment 
CODES  STANDARDS FOR RISK ANALYSIS 
 American Institute of Chemical Engineers have Guidelines for Chemical 
Process Quantitative Risk Analysis  Hazard Evaluation Procedures, OSHA 
has 29 CFR 1910.119, EPA Risk Management Plan (RMP) 
 Even in non chemical industries codes like Nuclear Regulatory Commission 
NUREG/CR-2815 , IEC 61508, SEMI S10 - Safety Guideline for Risk 
Assessment, S14 - Safety Guide for Fire Assessment  Mitigation for 
Semiconductor Manufacturing Equipment 
 India has its own BIS guidelines for risk assessment in BIS 18001 and also 
guidelines by labor ministry, Factories act etc. 
 This standard prescribes requirements for an OHS Management Systems to 
enable an organization to formulate a policy and objectives, taking into account 
legislative requirements and information about significant hazards and risks, 
which the organization can control and over which it can be expected to have 
an influence, to protect its employees and others, whose health and safety may 
be affected by the activities of the organization. All the requirements in this 
standard are intended to be incorporated into any OHS management system. 
This standard also provides imperative guidance on the use of the specification
246 
WHY RISK ANALYSIS? 
 Chemicals have become a part of our life 
 Chemicals have their own inherent 
properties and hazards and so do the 
processes by which they are manufactured 
 Risks posed by these highlighted by 
Flixborough (1974), Bhopal (1984), Piper 
Alpha(1998)  Other Accidents 
 Government regulations and public 
awareness 
HISTORY OF RISK  RISK ANALYSIS 
 In 1654, a French duke asked the famous mathematician Pascal to solve a 
problem of how to divide the stakes of an unfinished game of dice when one of 
the players was ahead. The laws of probability were explored 
 The Dutch Tulip Bulb Futures market ( the first modern stock exchange) 
 Developed with focus on financial matters and gambling 
 Realisation with industrial revolution of risks posed due to technology used in 
industry 
 Early emphasis on nuclear industry but importance realized by Chemical 
industry due to accidents like Flixborough, Bhopal, VIZAG, Piper Alpha etc. 
RISK ANALYSIS 
 A full analysis involves the estimation of the frequency and consequences of a 
range of hazards scenarios and the damages expected. 
 Damages include injury and loss of life, damage to the environment and equipment, 
loss of work, and finally also economic loss to the plant 
Risk Management Procedure 
Source: www.hse-databases.co.uk 
Data Input 
Identify 
Estimate 
Likelihood 
Determine 
Consequences 
Risk Matrix 
Accept 
able 
Operate 
Reduce 
Mitigate 
Transfer 
Yes 
No
247 
RISK MANAGEMENT 
 Hazard identification 
 Hazard quantification and risk identification 
 Risk analysis 
 Risk assessment 
GENERAL STEPS IN RISK ANALYSIS 
The general steps in any Risk analysis technique are: 
 Assembling a team 
 Collection of data 
 Deciding on level of detail 
 Applying the technique 
 Documenting the results 
ASSEMBLING A TEAM 
A risk analysis team generally consists of 
 Plant safety representative (PSR) 
 The concerned activity supervisors and operator or the technician or 
contractor’s representative as the case may be 
 Safety officer 
 External experts based on the job requirement 
 Contractors supervisor ( in charge of the activity ) shall also be a team 
member if the job is to be done involving contractors employees 
DATA COLLECTION 
 Incident History 
 Industry Experience 
 Site Experience 
 Equipment Vendor Experience 
 Specialty Consulting Firm Experience 
 Component Failure Rate Data, Handbooks 
 Non-electronic Parts Reliability Data 
LEVEL OF DETAIL 
 Level of detail to be worked on is decided upon 
 Depends upon data and resource availability 
 At various stages various amount of details about the process are available and 
different types of results required according to which the technique is selected 
 For some methodologies, the operational application is difficult to realize 
because of the lack of description 
APPLICATION OF TECHNIQUES 
 Type of technique to be applied is decided upon 
 A set of undesirable end states (adverse consequences) is defined, e.g., in terms 
of risk to the public, loss of crew, and loss of the system 
 For each end state, a set of disturbances to normal operation is developed 
which, if uncontained or unmitigated, can lead to the end state. These are called 
initiating events (IEs) 
 Event tree and fault tree
Accident scenarios are generated 
 These scenarios include hardware failures, human errors, fires, and natural 
248 
phenomena 
 The probabilities of these scenarios are evaluated using all available evidence, 
primarily past experience and expert judgment 
 The accident scenarios are ranked according to their expected frequency of 
Occurrence and represented on a risk matrix 
 The results are then documented according to standard procedures 
SOURCES OF DATA INPUT 
 Chemical Usage, Contractor Activity, EHS Policies, Equipment Reliability, 
External Events, Facility  Process Descriptions, Historical Accident, Human 
Reliability 
 Manuals for Policies  Procedures, Engineering Design, Safety, Maintenance 
and data from Material Usage, Meteorological, Population etc 
METHODS FOR RISK ANALYSIS 
 Risk analysis can be carried out by a number of methods 
 Cause-Consequence Analysis, Checklist, Event Tree Analysis Failure Modes, 
Effects and Criticality Analysis (FMECA) Fault Tree Analysis (FTA), Hazard 
 Operability Analysis (HAZOP), Bow Ties, Petri nets 
 Method usage depends on level of detail and resources available 
CLASSIFICATION OF METHODS 
The methods can be classified in to the following categories: 
 Qualitative 
 Quantitative 
These can further be divided into: 
 Deterministic 
 Probabilistic 
Methods for Risk Analysis 
 The deterministic methods take into consideration the products, the equipment 
and the quantification of consequences for various targets such as people, 
environment and equipment 
 The probabilistic methods are based on the probability or frequency of 
hazardous situation apparitions or on the occurrence of potential accident 
 The probabilistic methods are mainly focused on failure probability of 
equipment or their components 
Classification of Techniques 
 Further classification can be done into experience based methods and 
predictive methods 
 Experienced based methods involve use of previous experiences and results and 
may not require an in depth knowledge of plant and components 
 The predictive methods use the knowledge of component behavior and cause 
and effect relationships to develop quantifiable accident scenarios
249 
SOME QUALITATIVE METHODS 
Preliminary Risk Analysis 
 In this technique, the possible undesirable events are identified first and then 
analyzed separately 
 For each undesirable events or hazards, possible improvements, or preventive 
measures are then formulated 
 The result from this methodology provides a basis for determining which 
categories of hazard should be looked into more closely and which analysis 
methods are most suitable 
 With the aid of a frequency / consequence diagram, the identified hazards can 
then be ranked according to risk, allowing measures to be prioritized to prevent 
accidents 
Hazard and Operability Study 
 This technique is usually performed using a set of guidewords: NO / NOT, 
MORE / LESS OF, AS WELL AS, PART OF REVERSE, AND OTHER 
THAN 
 From these guidewords, scenarios that may result in a hazard or an operational 
problem are identified 
 The consequences of the hazard and measures to reduce the frequency with 
which the hazard will occur are then discussed 
 This technique had gained wide acceptance in process industries 
Consider the following polymerisation reactor with cooling coils where an exothermic 
reaction is underway
Example of HAZOP applied cooling water system of previous figure 
SOME QUALITATIVE METHODS 
Failure Modes and Effects Analysis (FMEA) 
 This method was developed in the 1950s by reliability engineers to determine 
problems that could arise from malfunctions of military system 
 Failure mode and effects analysis is a procedure by which each potential failure 
mode in a system is analyzed to determine its effect on the system and to 
classify it according to its severity 
 When the FMEA is extended by a criticality analysis, the technique is then 
called failure mode and effects criticality analysis (FMECA) 
 Severity class is a measure of how a failure effects on an item 
 Severity classes can be generally be classified accordingly: 
 Critical failure: A failure which causes immediate and complete loss of an 
item’s capability of providing its output 
 Degraded failure: A failure which is not critical, but which prevents the item 
from providing its output within specifications. Such a failure would usually, 
but not necessarily, be gradual or partial, and may develop into a critical failure 
in time 
 Incipient failure: A failure which does not immediately cause loss of an item’s 
capability of providing its output, but which, if not attended to, could result in a 
critical or degraded failure in the near future 
 Unknown: Failure severity was not recorded or could not be deduced 
250 
Deviation 
Possible 
Causes 
Potential 
consequences 
Recommendations 
No Cooling 
Failure of control 
valve 
Plugged cooling 
line 
Cooling water 
failure 
Controller failure 
Temperature Runaway 
Install back up control 
valves 
Filter to prevent debris 
Back up controller 
High temperature 
emergency shut down 
More Cooling 
Valve fails open 
Controller fails 
Reactor cools leading to 
reactant buildup and 
runaway 
Back up controllers 
Instruct operators on 
appropriate procedure 
Less cooling 
Partially plugged line 
Partial water failure 
Same as “No” Same as “No” 
As well as Cooling 
water in reactor 
Lowering of pressure 
Leaks in coils 
Dilution of contents 
Product spoilage 
Level alarms 
Relief check valves 
Proper Maintinence
Causes Effects Detection 
251 
A Typical FMEA Sheet 
Failure 
mode 
Some Qualitative Methods 
 Checklists 
 A list of possible problems and areas 
to be checked and reminds the 
reviewer of potential problem areas 
 Easy to apply and assessment can be 
performed by inexperienced 
practitioners 
 Assessment will only be as complete 
as the list used and difficulties faced 
in novel process 
PROS AND CONS OF QUALITATIVE TECHNIQUES 
 The three techniques outlined above require only the employment of hardware 
familiar personnel 
 FMEA tends to be more labor intensive, as the failure of each individual 
component in the system has to be considered 
 A point to note is that these qualitative techniques can be used in the design as 
well as operational stage of a system 
QUANTITATIVE TECHNIQUES 
 Quantitative methods are being given more stress 
 They allow for a better comparison of risk levels 
 Reduce subjectivity in decision making process 
Important Concepts in Quantitative Risk Analysis 
 Reliability is defined as the extent to which the measurements of a test remain 
consistent over repeated tests of the same subject under identical conditions 
 Mathematically 
R(t) = exp (= lt) 
method 
Safety 
provisions 
Severity 
class 
Comments 
Valve 
Fails 
open 
Internal 
Mal-function 
Operator 
error 
Toxic 
release 
Pressure 
indicators 
PRV II Prevent 
operator 
error 
Valve 
fails 
closed 
Internal 
Mal-function 
Operator 
error 
Flow 
stopped 
Pressure 
indicators 
None IV Check for 
over 
Pressure 
Simple Checklist for long 
drive in a car 
 Check oil 
 Check tire air pressure 
 Check radiator fluid 
 Check air filter 
 Check head and tail lights 
 Check exhaust 
 Check petrol
where R(t) is the reliability. The complement of reliability is called the failure 
probability or unreliability, P(t), i.e., 
P(t - t ) =  f(t) dt = exp(l- -l0 1 t 0 ) exp (t 1 
) 
Instrument Faults/year 
Controller 
Control valve 
Flow measurement (fluids) 
Flow measurement (solids) 
Flow switch 
Gas - liquid chromatograph 
Hand valve 
Indicator lamp 
Level measurement (liquids) 
Level measurement (solids) Oxygen analyzer pi I 
meter 
Pressure measurement Pressure relief valve Pressure 
switch 
Õ  = exp (-lt) 
252 
P(t) = 1 - R(t) = 1 - exp(-lt) 
The failure density function, f(t), is the derivative of the failure probability 
dP(t) dR(t) 
= = - = l -l 
f(t) exp ( t) 
dt dt 
The probability of at least one failure at a time is obtained as 
1 
t 
0 
t 
The time interval between two failures of the component is called the mean time 
between failures (MTBF) and is applied only when there is repair of the components, 
equipment or systems. These are other means times too. 
Failure Rate Data for Some Process Components 
0.29 
0.60 
1.14 
3.75 
1.12 
30.6 
0.13 
0.044 1.70 
6.86 5.65 5.88 
1.41 
0.022 
0.14 
Interaction Between process Equipment and Instruments or Units for series 
systems 
n 
R =Õ R i 
i 
n 
P = t -Õ (1 - P i) 
i 
For exponential (Poisson) distribution, 
  
n n 
= -l -  l  
R exp ( t ) exp t 
  
  
1 1 
= 
i i 1 
Interaction Between process Equipment and Instruments or Units for parallel 
systems 
For parallel systems, the system failure probability is the product of the failure 
probabilities of individual components, i.e.,
1 =Õ [ 1 - exp i (-l t) ] 
253 
n 
P =Õ P i 
i 
n 
R = 1 -Õ (1 - Ri) = 
i 
n 
1 
i 
QUANTITATIVE TECHNIQUES 
Fault Tree Analysis 
 A fault tree is a logical diagram which shows the relation between system 
failure, i.e. a specific undesirable event in the system, and failures of the 
components of the system 
 It is a technique based on deductive logic. An undesirable event is first defined 
and causal relationships of the failures leading to that event are then identified 
Fault Tree analysis 
Fussel (1976) notes that the fault tree analysis is of major value in 
 Directing the analyst to ferret out failures deductively 
 Pointing out the aspects of the system important in respect of the failure of 
Interest 
 Providing a graphical aid giving visibility to those in system management who 
are removed from system design changes 
 Providing options for qualitative on quantitative system reliability analysis 
 Allowing the analyst to concentrate on one particular system failure at a time 
 Providing the analyst with genuina insight into system behaviour 
Basic Rules For Fault Tree Construction 
Ground Rule 1 
Write the statements that are entered in the event boxes as faults; state precisely what 
the fault is and when it occurs 
Ground rule 2 
If the answer to the question, Can this fault consist of a component failure? is Yes, 
classify the event as a stat-of-component fault. If the answer is No”. Classify the 
event as a state-of-system fault 
No Miracles Rule 
If the normal functioning of a component propagates a fault sequence, then it is 
assumed that the component functions normally 
Generating Fault Trees 
 Complete-the-Gate rule 
All inputs to a particular gate should be completely defined before further 
'analysis of anyone of them is undertaken. 
 No Gate-to-Gate Rule 
Gate inputs should be properly defined fault events, and gates should not be 
directly connected to other gates
Define precisely the top event. Events such as HIGH REACTOR TEMPERATURE 
or LIQUID LEVEL TOO HIGH are precise and appropriate 
 Events such as EXPLOSION OF REACTOR or FIRE IN PROCESS are too vague 
 Define the existing event. What conditions are sure to be present when the top event 
Basic Event A basic initiating fault (or failure event). 
An event that is normally expected to occur. 
In general, these events can be set to occur or not occur, 
i.e. they have a fixed probability of 0 or 1. 
An event which is no further developed. It is a basic event 
that does not need further resolution. 
A specific condition or restriction that can apply to any 
gate. 
AND The output event occurs if all input events occur. 
The output event occurs if at least one of the input events 
occurs. 
The input event occurs if all input events occur and an 
additional conditional event occurs. 
Priority AND The output event occurs if all input events occur in a 
specific sequence. 
XOR The output event occurs if exactly one input event occurs. 
254 
occurs? 
 Define the un allowed events that are unlikely or are not under consideration at the 
present. This could include wiring failures, lightning, tornadoes, hurricanes, and so 
forth 
 Define the physical bounds of the process. What components are to be considered 
in the fault tree? 
 Define the equipment configuration. What valves are open or closed? What are the 
liquid levels? Is this a normal operation state? 
 Define the level of resolution 
 Draw Fault tree using standard symbols 
SYMBOLS USED IN FTA 
Primary Event 
Block 
Classic FTA 
Symbol 
Description 
External Event 
(House Event) 
Undeveloped Event 
Conditioning Event 
Name of Gate 
Classic FTA 
Symbol 
Description 
OR 
Inhibit 
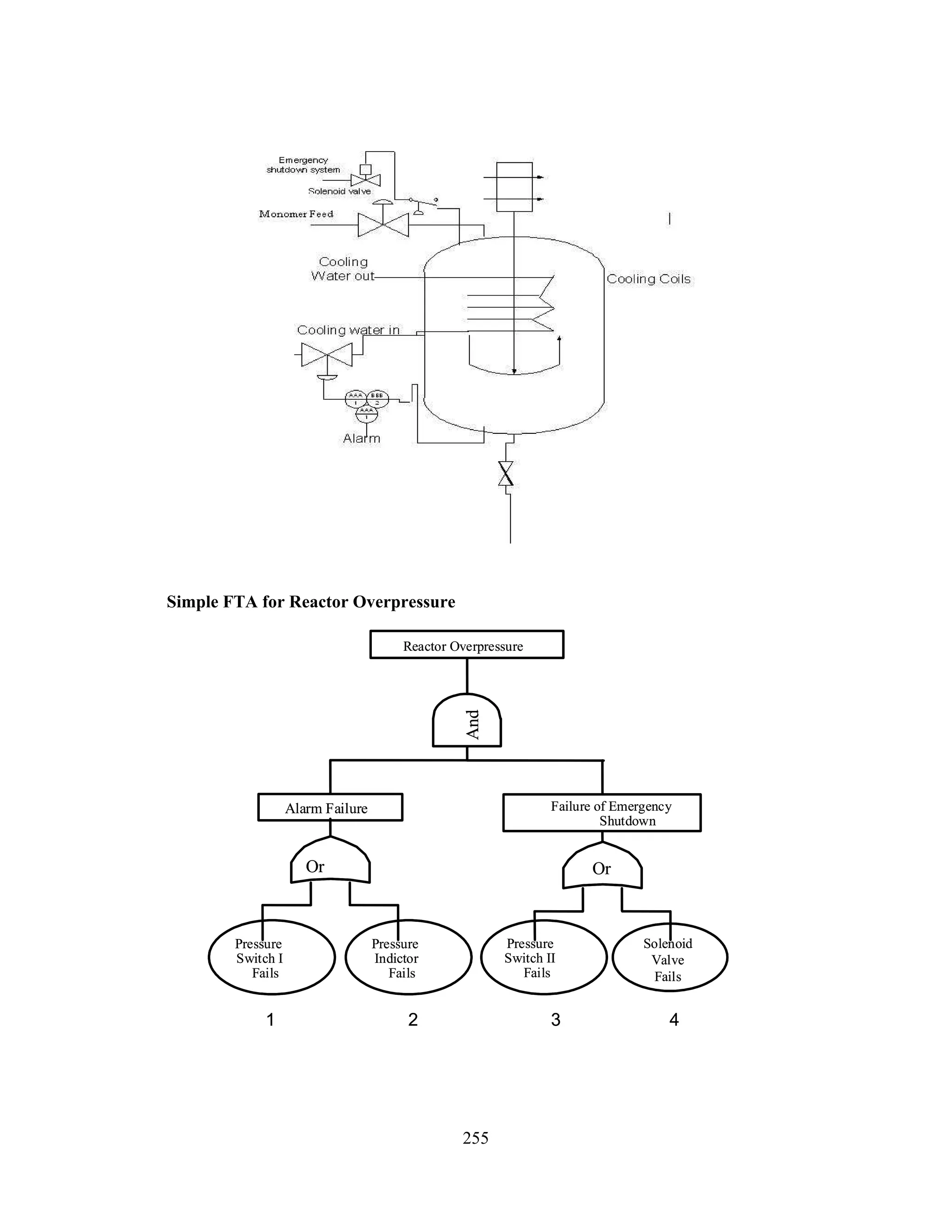
Consider the following polymerization reactor with cooling coils
Reactor Overpressure 
And 
Alarm Failure Failure of Emergency 
Or Or 
255 
Simple FTA for Reactor Overpressure 
Shutdown 
Pressure 
Switch I 
Fails 
Pressure 
Indictor 
Fails 
Pressure 
Switch II 
Fails 
Solenoid 
Valve 
Fails 
1 2 3 4
256 
SOLVING FAULT TREES 
 Consider previous figure 
 Two events must occur for over pressuring 
 Failure of the alarm indicator and failure of the emergency shutdown system. 
These events must occur together so they must be connected by an AND 
function 
 The alarm indicator can fail by either a failure of pressure switch or the alarm 
indicator light. These must be connected by OR functions 
 Similarly, the emergency shutdown system can fail by either a failure of 
pressure switch #2 or the solenoid valve. These must also be connected by an 
OR function 
 In general, the top event could occur by a variety of different combinations of 
events 
 The different unique sets of events leading to the top event are the minimal cut 
sets 
 The minimal cut sets are very useful for determining the various ways in which 
a top event could occur 
 These are mathematically solved using failure rates and theory of reliability 
 To estimate the overall failure probability the probabilities from the cut sets are 
added together 
 For the above example, either events 1,3 or 2,3 or 1,4 or 2,4 could cause the top 
event 
 For this case 
P(l AND 3) = (0.13) (0.13) = 0.0169 
P(2 AND 3) = (0.04) (0.13) = 0.0052 
P(l AND 4) = (0.13) (0.34) = 0.0442 
P(2 AND 4) = (0.04) (0.34) = 0.0136 
TOTAL: 0.0799 
SOME QUANTITATIVE TECHNIQUES 
Event Tree Analysis 
 Event tree analysis - consists of an analysis of possible causes starting at a 
system level and working down through the system, sub-system, equipment and 
component, identifying all possible causes. (What faults might we expect? How 
may they be arrived at?) 
 Assessment methods which allow quantifying the probability of an accident and 
the risk associated with plant operation based on the graphic description of 
accident sequences employ the fault tree or event tree analysis (FTA or ETA) 
techniques 
Typical Steps in Generating Event Trees 
 Identify an initiating event of interest 
 Identify the safety functions designed to deal with the initiating event 
 Construct the event tree 
 Describe the resulting accident event sequences
Example of ETA Applied With Loss Of Cooling in a Polymerisation Reactor as an 
Initiating Event 
Safety Functions: High Temp Operator Restarts Operator Shuts Result 
Yes 
SOME QUANTITATIVE TECHNIQUES 
Cause Consequence Analysis 
Shut Down 
 Cause-consequence analysis (CCA) is a blend of fault tree and event tree 
analysis. This technique combines cause analysis (described by fault trees) and 
consequence analysis (described by event trees), and hence deductive and 
inductive analysis is used 
 The purpose of CCA is to identify chains of events that can result in undesirable 
consequences. With the probabilities of the various events in the CCA diagram, 
the probabilities of the various consequences can be calculated, thus 
establishing the risk level of the system 
Yes No 
257 
Typical Cause Consequence Analysis 
Continue Operation 
Shut Down 
Runaway 
Alerts Cooling Down Reactor 
No 
Loss of cooling 
Consequence Consequence 
Initiating event 
Fault Tree 
Event Tree Side
SOME QUANTITATIVE TECHNIQUES 
Bow Tie 
 Bow-Tie PHA methodology represents a combination of two powerful 
conventional system safety techniques Fault Tree Analysis and Event Tree 
Analysis 
 Name derived from the typical shape the diagram takes. Faults are identified 
after FTA and consequences of these faults predicted sing ETA 
 Can be used to identify and evaluate various recovery paths from deviations and 
258 
impairments of safeguards 
A Typical Bow Tie Diagram Involving an Unintended Run 
Online Analysers 
Unintended 
isotherm 
Mis-Charging 
Heat Removal 
Problem 
Agitation 
Failures 
Misc 
Causes 
Critical Checklist 
Lab Analysis 
Operator 
Management Oversight Risk Tree 
Overpressure 
Flammable 
Release 
Ignition 
Bad News 
Coverage 
Regulatory 
Agency Action 
Non-Ignition 
 MORT is a diagram which arranges safety program elements in an orderly and 
logical manner 
 Its analysis is carried out by means of fault tree, where the top event is 
Damage, destruction, other costs, lost production or reduced credibility of the 
enterprise in the eyes of society 
 The tree gives an overview of the causes of the top event from management 
oversights and omissions or from assumed risks or both 
Safety Management Organization Review Technique 
 This technique is structured by means of analysis levels with associated 
checklists 
 The SMORT analysis includes data collection based on the checklists and their 
associated questions, in addition to evaluation of results 
 The information can be collected from interviews, studies of documents and 
investigations. It also serves well as a method for safety audits and planning of 
safety measures
259 
Petri Nets 
 A graphical methodology based on ARTIFEX software package 
 A circle represents a place and a rectangle represents a transition 
 A Petri Net is composed of four parts, A set of places, A set of transitions, An 
input function, An output function 
 Either bottom-up or top-down 
 Other techniques like GO, Diagraph modeling, Markov modeling 
A Petri Net Diagram 
Reduced 
operations 
Normal Operations 
Transitions 
PROS AND CONS OF QUANTITATIVE METHODS 
 These methods are mainly used to find cut-sets leading to the undesired events 
 Event tree and fault tree have been widely used to quantify the probabilities of 
occurrence of accidents and other undesired events leading to the loss of life or 
economic losses in probabilistic risk assessment 
 However, the usage of fault tree and event tree are confined to static, logic 
modeling of accident scenarios. In giving the same treatment to hardware 
failures and human errors in fault tree and event tree analysis, the conditions 
affecting human behavior can not be modeled explicitly 
QUALITATIVE VS QUANTITATIVE 
 Qualitative methodologies though lacking the ability to account the 
dependencies between events are effective in identifying potential hazards and 
failures within the system 
 The Quantitative techniques addressed this deficiency by taking into 
consideration the dependencies between each event 
 The probabilities of occurrence of the undesired event can also be quantified 
with the availability of operational data 
RISK FROM HUMANS 
 Human error contributes to accident development with percentages higher than 
80% for two main reasons: 
 Very High reliability of mechanical and electronic components
New role of human operators in complex systems 
 Application of new control design principles and the extensive use of 
automation have strongly modified the role of operators 
 Cognitive functions and organisational factors affect risk analysis much more 
than behavioral and physical performances 
HUMAN RELIABILITY ANALYSIS 
Human Hazards Identification (Task Analysis) 
 Identify hazards occurring due to human error while performing standard 
260 
procedures 
 The task is a set of operations/actions required to achieve a set goal and assesses 
what people might do while performing the operations 
 Questions such as “What actions do the operators perform ?”, “How do 
operators respond to different cues in the environment ?” 
 Main limitation being that it is only applicable to human interaction with the 
process 
Hierarchical Task Analysis 
 Same methodology as task analysis, but a hierarchy is placed on the order of the 
tasks to be investigated 
 Methodology produces either a tree structure, with the most complex task on the 
top and the simplest on the bottom, or a list of steps that are required to be 
performed in order to produce the required goal 
 The technique provides an easily understandable breakdown of the tasks and 
order of which they are to be performed 
 Other techniques such as Human Interaction with Machine (HIM), Human Error 
Analysis (HEA) 
Difficult To Get Accurate Data 
 Data accuracy a major concern 
 Acquiring data a long term and tedious process 
 Data usually not available for novel processes 
 Data interpretation requires experienced personnel 
 Wrong assumptions may lead to overlooking of a risk or gold plating a process 
Use of Risk Analysis Data 
 Avoidance 
Discontinue the practice that creates the risk 
 Mitigation 
Implement strategies to reduce the impact 
 Transfer 
Purchase financial relief (Insurance) 
 Acceptable risk and concept of ALARP
Fatality Statistics for common industrial and non-industrial activities 
261 
Simplified Quantitative Risk Analysis 
 CCPS has come out with Layer of Protection Analysis (LOPA) 
 LOPA is a simplified for of QRA 
 A layer of protection analysis (LOPA) is a powerful analytical tool for assessing 
the adequacy of protection layers used to mitigate process risk 
 LOPA builds upon well-known process hazards analysis techniques, applying 
semi-quantitative measures to the evaluation of the frequency of potential 
incidents and the probability of failure of the protection layers 
LOPA 
 LOPA can be used at any point in the lifecycle of a project or process, but it is 
most cost effective when implemented during front-end loading when process 
flow diagrams are complete and the PIDs are under development 
 Concept of independent protection layers and safety integrity level 
 Variations of LOPA have been devised for hazard and scenario specific studies 
recent example being exLOPA for explosion risk assessment. The exLOPA is 
based on the original work of CCPS for LOPA but takes into account some 
typical factors appropriate for explosion
262 
Risk Matrix 
Intelligent Systems : The Way Ahead! 
 The estimated cost of risk reviews in the CPI is about 1% of sales or about 10% 
of profits 
 An intelligent system can help 
 Reduce the time effort and expense involved in a PHA review 
 Make the review more thorough, detailed, and consistent, 
 Minimize human errors 
 Free the team to concentrate on the more complex aspects of the analysis 
which are unique and difficult to automate 
 An example is the HAZOPExpert a model-based, object-oriented, intelligent 
system for automating HAZOP analysis 
 Generic models for routine cause and effect analyses are used for reduction of 
time and for integration of process specific component knowledge 
 A two-tier framework is used decomposing the knowledge base into process 
specific and process general knowledge, represented in an object-oriented 
architecture 
 Its objective is to automate the routine aspects of the analysis as much as 
possible, thereby freeing the team to focus on more complex aspects of the 
analysis that can not be automated 
 Also, can be integrated with CAD systems and used during early stages of 
design, to identify and decrease the potential for hazardous configurations in 
later design phases where making changes could be economically prohibitive 
 Other well known software packages include HAZTEC, CARA BRAVO, 
CAFTAN, RISKMAN, QRAS 
Never Heard 
on .. In 
indus try 
Heard on .. In 
indus try 
Incident 
occ urred in 
our company 
Ha ppens 
Several times 
Happens 
Several times 
in a location 
PEOPLE AS SET 
ENVIORM 
ENT 
REPUTATI 
ON 
A B C D E 
0 
No h ea lth 
e ffe ct/ 
Inju ry 
No d ama ge No e ffec t No Imp ac t LOW 
1 
Sligh t 
Hea lth 
e ffe ct/ 
inju ry 
Slig h t 
Dama ge 
Slig ht e ffec t 
s ligh t 
Imp ac t 
RISK 
2 
Mino r 
Hea lth 
e ffe ct/ 
inju ry 
Mino r 
Dama ge 
Mino r 
e ffec t 
Limited 
imp ac t 
3 
Ma jo r 
Hea lth 
e ffe ct/ 
inju ry 
Lo ca lis e d 
Dama g ed 
Lo ca lis e d 
e ffec t 
Co n s id e rab l 
e imp a ct 
MEDIUM RISK 
4 1 to 3 
fa ta lities 
Ma jo r 
Dama ge 
ma jor e ffec t 
Nat io n al 
imp ac t 
HIGH RISK 
5 Multip le 
Fa ta lities 
Exte n s iv e 
Dama ge 
Ma s s iv e 
e ffec t 
in te rna tio na 
l imp a ct 
LIKELYHOOD 
CONSEQUENCES 
SEVERITY
263 
CONCLUSIONS 
 Risk is a subjective concept varying according to context 
 In actual industry a number of variations are applied to methods of risk analysis 
and sometimes steps are completed simultaneously or given a miss according to 
need and resources present 
 Risk analysis can be qualitative as well as quantitative. Quantitative methods 
are being given more stress since they allow for a better comparison of risk 
levels and reduce subjectivity in decision making process 
 Probabilistic risk analysis is perhaps the best methodology available at present 
for application of low probability high impact systems like CPI 
 Intelligent systems hold the key to reduction in resource utilization and 
increasing accuracy of risk analysis and hence risk assessment 
 There is no possibility of eliminating all hazards completely and concept of 
allowable risk becomes important 
END GAME 
Hazards and overall risk associated with technology is a crucial element for 
triggering regulatory action, public protest and a host of other problems, so it is 
of utmost importance to find the origins of risks, to strengthen safeguards and 
thus preserve the acceptability of hazardous facilities or activities. It constitutes 
a real need then, to provide a coherent strategy to maximise performance and 
minimize risk 
REFERENCES 
· Center for Chemical Process Safety (CCPS). Guidelines for Hazard Evaluation 
Procedures, Second Edition with Worked Examples; Publication G18; American 
Institute of Chemical Engineers, New York (1992) 
· Lees, F. P. Loss Prevention In The Process Industries: Hazard Identification, 
Assessment And Control. (2001) (3rd Ed). UK: Butterworth- Heinemann 
· Crowl D, Louvar J. Chemical process safety fundamentals with applications. 
(1990). Prentice Hall 
· Bernstein PL . “Against the Gods: The Remarkable Story of Risk”. (1996). Wiley 
New York. 
· Nivolianitou Z.S. Comparison Of Techniques For Accident Scenario Analysis In 
Hazardous Systems. Journal of Loss Prevention in the Process Industries, (2004), v- 
17, pp- 467–475 
· Wells G., Whetton C. Preliminary Safety Analysis. Journal of Loss Prevention in 
the Process Industry, (1993), v-6, no 1, pp-47-60 
· Venkatasubramanian V., Zhao J. Viswanathan S . Intelligent Systems For Hazop 
Analysis Of Complex Process Plants. Computers and Chemical Engineering 
(2000),v-24, 2291–23 
· Cacciabue, P. C. Human Factors On Risks Analysis Of Complex Systems. Journal 
of Hazardous Materials (2000), v-71, 101–116. 
· Robert D. Choosing The Level Of Detail For Hazard Identification. Process Safety 
Progress (1995), v-14, no 3

risk analysis

  • 1.
    RISK ANALYSIS Prof.I. M. Mishra Department of Chemical Engineering, IIT Roorkee, Roorkee, India – 247 667 244 SOME IMPORTANT DEFINITIONS Hazard A hazard is defined as a source of potential hazard Risk A measure of the potential for loss in terms of both the likelihood (events/year) of the incident and the consequences (effects/event) of the incident Mathematically Risk = probability of event × consequence of event Risk Analysis The development of a quantitative estimate of risk based on engineering evaluation mathematical techniques for combining estimates of incident likelihood and consequences Risk Assessment The process by which the results of a risk analysis (i.e., risk estimates) are used to make decisions, either through relative ranking or through comparison with risk targets Risk Management The planning, organizing, leading and controlling of an organization’s assets and activities in ways, which minimize the adverse operational and financial effects of accidental losses upon the organization Reliability It is defined as the extent to which the measurements of a test remain consistent over repeated tests of the same subject under identical conditions Mean-time-between-failure (MTBF) It is the “average time between failures, the reciprocal of the failure rate in the special case when failure rate is constant. Calculations of MTBF assume that a system is “renewed, i.e. fixed, after each failure, and then returned to service immediately after failure Mathematically, MTBF = 1/l, where is the failure rate. Mean Down time is the average time between failure and being returned to service Mean time to failure (MTTF) It is the mean of distribution of times to failure of an item without repair
  • 2.
    Availability is Thedegree to which a system, subsystem, or equipment is operable and in a committable state at the start of a mission, when the mission is called for at an unknown, i.e., a random, time. Simply put, availability is the proportion of time a system is in a functioning condition Mathematically, A = E [uptime] E [uptime] + E [downtime] ENVIRONMENT (PROTECTION) ACT,1986 The central government, by notification in the official gazette, has notified under Section 6(2) (c) the procedures and safeguards for the handling of hazardous substances (d) the prohibition and restrictions on the handling of hazardous substances in 245 different areas (f) the procedures and safeguards for the prevention of accidents which may cause environmental pollution and for providing for remedial measures for such accidents Under the Environment (Protection) Rules, 1986, Clause 13(l) the following factors are to be considered while prohibiting and restricting the handling of hazardous substances The hazardous nature of the substances in terms of its damage causing potential to the environment, human beings, other living creatures, plants and property The substances that may be or likely to be readily available as substitutes for the substances proposed to be prohibited or restricted The indigenous availability of the substitute, or the state of technology available in the country for developing a safe substitute The gestation period that may be necessary for gradual introduction of a new substitute with a view to bringing about a total prohibition of hazardous substances in question Any other factor that may be considered by the central government to be relevant to the protection of the environment CODES STANDARDS FOR RISK ANALYSIS American Institute of Chemical Engineers have Guidelines for Chemical Process Quantitative Risk Analysis Hazard Evaluation Procedures, OSHA has 29 CFR 1910.119, EPA Risk Management Plan (RMP) Even in non chemical industries codes like Nuclear Regulatory Commission NUREG/CR-2815 , IEC 61508, SEMI S10 - Safety Guideline for Risk Assessment, S14 - Safety Guide for Fire Assessment Mitigation for Semiconductor Manufacturing Equipment India has its own BIS guidelines for risk assessment in BIS 18001 and also guidelines by labor ministry, Factories act etc. This standard prescribes requirements for an OHS Management Systems to enable an organization to formulate a policy and objectives, taking into account legislative requirements and information about significant hazards and risks, which the organization can control and over which it can be expected to have an influence, to protect its employees and others, whose health and safety may be affected by the activities of the organization. All the requirements in this standard are intended to be incorporated into any OHS management system. This standard also provides imperative guidance on the use of the specification
  • 3.
    246 WHY RISKANALYSIS? Chemicals have become a part of our life Chemicals have their own inherent properties and hazards and so do the processes by which they are manufactured Risks posed by these highlighted by Flixborough (1974), Bhopal (1984), Piper Alpha(1998) Other Accidents Government regulations and public awareness HISTORY OF RISK RISK ANALYSIS In 1654, a French duke asked the famous mathematician Pascal to solve a problem of how to divide the stakes of an unfinished game of dice when one of the players was ahead. The laws of probability were explored The Dutch Tulip Bulb Futures market ( the first modern stock exchange) Developed with focus on financial matters and gambling Realisation with industrial revolution of risks posed due to technology used in industry Early emphasis on nuclear industry but importance realized by Chemical industry due to accidents like Flixborough, Bhopal, VIZAG, Piper Alpha etc. RISK ANALYSIS A full analysis involves the estimation of the frequency and consequences of a range of hazards scenarios and the damages expected. Damages include injury and loss of life, damage to the environment and equipment, loss of work, and finally also economic loss to the plant Risk Management Procedure Source: www.hse-databases.co.uk Data Input Identify Estimate Likelihood Determine Consequences Risk Matrix Accept able Operate Reduce Mitigate Transfer Yes No
  • 4.
    247 RISK MANAGEMENT Hazard identification Hazard quantification and risk identification Risk analysis Risk assessment GENERAL STEPS IN RISK ANALYSIS The general steps in any Risk analysis technique are: Assembling a team Collection of data Deciding on level of detail Applying the technique Documenting the results ASSEMBLING A TEAM A risk analysis team generally consists of Plant safety representative (PSR) The concerned activity supervisors and operator or the technician or contractor’s representative as the case may be Safety officer External experts based on the job requirement Contractors supervisor ( in charge of the activity ) shall also be a team member if the job is to be done involving contractors employees DATA COLLECTION Incident History Industry Experience Site Experience Equipment Vendor Experience Specialty Consulting Firm Experience Component Failure Rate Data, Handbooks Non-electronic Parts Reliability Data LEVEL OF DETAIL Level of detail to be worked on is decided upon Depends upon data and resource availability At various stages various amount of details about the process are available and different types of results required according to which the technique is selected For some methodologies, the operational application is difficult to realize because of the lack of description APPLICATION OF TECHNIQUES Type of technique to be applied is decided upon A set of undesirable end states (adverse consequences) is defined, e.g., in terms of risk to the public, loss of crew, and loss of the system For each end state, a set of disturbances to normal operation is developed which, if uncontained or unmitigated, can lead to the end state. These are called initiating events (IEs) Event tree and fault tree
  • 5.
    Accident scenarios aregenerated These scenarios include hardware failures, human errors, fires, and natural 248 phenomena The probabilities of these scenarios are evaluated using all available evidence, primarily past experience and expert judgment The accident scenarios are ranked according to their expected frequency of Occurrence and represented on a risk matrix The results are then documented according to standard procedures SOURCES OF DATA INPUT Chemical Usage, Contractor Activity, EHS Policies, Equipment Reliability, External Events, Facility Process Descriptions, Historical Accident, Human Reliability Manuals for Policies Procedures, Engineering Design, Safety, Maintenance and data from Material Usage, Meteorological, Population etc METHODS FOR RISK ANALYSIS Risk analysis can be carried out by a number of methods Cause-Consequence Analysis, Checklist, Event Tree Analysis Failure Modes, Effects and Criticality Analysis (FMECA) Fault Tree Analysis (FTA), Hazard Operability Analysis (HAZOP), Bow Ties, Petri nets Method usage depends on level of detail and resources available CLASSIFICATION OF METHODS The methods can be classified in to the following categories: Qualitative Quantitative These can further be divided into: Deterministic Probabilistic Methods for Risk Analysis The deterministic methods take into consideration the products, the equipment and the quantification of consequences for various targets such as people, environment and equipment The probabilistic methods are based on the probability or frequency of hazardous situation apparitions or on the occurrence of potential accident The probabilistic methods are mainly focused on failure probability of equipment or their components Classification of Techniques Further classification can be done into experience based methods and predictive methods Experienced based methods involve use of previous experiences and results and may not require an in depth knowledge of plant and components The predictive methods use the knowledge of component behavior and cause and effect relationships to develop quantifiable accident scenarios
  • 6.
    249 SOME QUALITATIVEMETHODS Preliminary Risk Analysis In this technique, the possible undesirable events are identified first and then analyzed separately For each undesirable events or hazards, possible improvements, or preventive measures are then formulated The result from this methodology provides a basis for determining which categories of hazard should be looked into more closely and which analysis methods are most suitable With the aid of a frequency / consequence diagram, the identified hazards can then be ranked according to risk, allowing measures to be prioritized to prevent accidents Hazard and Operability Study This technique is usually performed using a set of guidewords: NO / NOT, MORE / LESS OF, AS WELL AS, PART OF REVERSE, AND OTHER THAN From these guidewords, scenarios that may result in a hazard or an operational problem are identified The consequences of the hazard and measures to reduce the frequency with which the hazard will occur are then discussed This technique had gained wide acceptance in process industries Consider the following polymerisation reactor with cooling coils where an exothermic reaction is underway
  • 7.
    Example of HAZOPapplied cooling water system of previous figure SOME QUALITATIVE METHODS Failure Modes and Effects Analysis (FMEA) This method was developed in the 1950s by reliability engineers to determine problems that could arise from malfunctions of military system Failure mode and effects analysis is a procedure by which each potential failure mode in a system is analyzed to determine its effect on the system and to classify it according to its severity When the FMEA is extended by a criticality analysis, the technique is then called failure mode and effects criticality analysis (FMECA) Severity class is a measure of how a failure effects on an item Severity classes can be generally be classified accordingly: Critical failure: A failure which causes immediate and complete loss of an item’s capability of providing its output Degraded failure: A failure which is not critical, but which prevents the item from providing its output within specifications. Such a failure would usually, but not necessarily, be gradual or partial, and may develop into a critical failure in time Incipient failure: A failure which does not immediately cause loss of an item’s capability of providing its output, but which, if not attended to, could result in a critical or degraded failure in the near future Unknown: Failure severity was not recorded or could not be deduced 250 Deviation Possible Causes Potential consequences Recommendations No Cooling Failure of control valve Plugged cooling line Cooling water failure Controller failure Temperature Runaway Install back up control valves Filter to prevent debris Back up controller High temperature emergency shut down More Cooling Valve fails open Controller fails Reactor cools leading to reactant buildup and runaway Back up controllers Instruct operators on appropriate procedure Less cooling Partially plugged line Partial water failure Same as “No” Same as “No” As well as Cooling water in reactor Lowering of pressure Leaks in coils Dilution of contents Product spoilage Level alarms Relief check valves Proper Maintinence
  • 8.
    Causes Effects Detection 251 A Typical FMEA Sheet Failure mode Some Qualitative Methods Checklists A list of possible problems and areas to be checked and reminds the reviewer of potential problem areas Easy to apply and assessment can be performed by inexperienced practitioners Assessment will only be as complete as the list used and difficulties faced in novel process PROS AND CONS OF QUALITATIVE TECHNIQUES The three techniques outlined above require only the employment of hardware familiar personnel FMEA tends to be more labor intensive, as the failure of each individual component in the system has to be considered A point to note is that these qualitative techniques can be used in the design as well as operational stage of a system QUANTITATIVE TECHNIQUES Quantitative methods are being given more stress They allow for a better comparison of risk levels Reduce subjectivity in decision making process Important Concepts in Quantitative Risk Analysis Reliability is defined as the extent to which the measurements of a test remain consistent over repeated tests of the same subject under identical conditions Mathematically R(t) = exp (= lt) method Safety provisions Severity class Comments Valve Fails open Internal Mal-function Operator error Toxic release Pressure indicators PRV II Prevent operator error Valve fails closed Internal Mal-function Operator error Flow stopped Pressure indicators None IV Check for over Pressure Simple Checklist for long drive in a car Check oil Check tire air pressure Check radiator fluid Check air filter Check head and tail lights Check exhaust Check petrol
  • 9.
    where R(t) isthe reliability. The complement of reliability is called the failure probability or unreliability, P(t), i.e., P(t - t ) = f(t) dt = exp(l- -l0 1 t 0 ) exp (t 1 ) Instrument Faults/year Controller Control valve Flow measurement (fluids) Flow measurement (solids) Flow switch Gas - liquid chromatograph Hand valve Indicator lamp Level measurement (liquids) Level measurement (solids) Oxygen analyzer pi I meter Pressure measurement Pressure relief valve Pressure switch Õ = exp (-lt) 252 P(t) = 1 - R(t) = 1 - exp(-lt) The failure density function, f(t), is the derivative of the failure probability dP(t) dR(t) = = - = l -l f(t) exp ( t) dt dt The probability of at least one failure at a time is obtained as 1 t 0 t The time interval between two failures of the component is called the mean time between failures (MTBF) and is applied only when there is repair of the components, equipment or systems. These are other means times too. Failure Rate Data for Some Process Components 0.29 0.60 1.14 3.75 1.12 30.6 0.13 0.044 1.70 6.86 5.65 5.88 1.41 0.022 0.14 Interaction Between process Equipment and Instruments or Units for series systems n R =Õ R i i n P = t -Õ (1 - P i) i For exponential (Poisson) distribution, n n = -l - l R exp ( t ) exp t 1 1 = i i 1 Interaction Between process Equipment and Instruments or Units for parallel systems For parallel systems, the system failure probability is the product of the failure probabilities of individual components, i.e.,
  • 10.
    1 =Õ [1 - exp i (-l t) ] 253 n P =Õ P i i n R = 1 -Õ (1 - Ri) = i n 1 i QUANTITATIVE TECHNIQUES Fault Tree Analysis A fault tree is a logical diagram which shows the relation between system failure, i.e. a specific undesirable event in the system, and failures of the components of the system It is a technique based on deductive logic. An undesirable event is first defined and causal relationships of the failures leading to that event are then identified Fault Tree analysis Fussel (1976) notes that the fault tree analysis is of major value in Directing the analyst to ferret out failures deductively Pointing out the aspects of the system important in respect of the failure of Interest Providing a graphical aid giving visibility to those in system management who are removed from system design changes Providing options for qualitative on quantitative system reliability analysis Allowing the analyst to concentrate on one particular system failure at a time Providing the analyst with genuina insight into system behaviour Basic Rules For Fault Tree Construction Ground Rule 1 Write the statements that are entered in the event boxes as faults; state precisely what the fault is and when it occurs Ground rule 2 If the answer to the question, Can this fault consist of a component failure? is Yes, classify the event as a stat-of-component fault. If the answer is No”. Classify the event as a state-of-system fault No Miracles Rule If the normal functioning of a component propagates a fault sequence, then it is assumed that the component functions normally Generating Fault Trees Complete-the-Gate rule All inputs to a particular gate should be completely defined before further 'analysis of anyone of them is undertaken. No Gate-to-Gate Rule Gate inputs should be properly defined fault events, and gates should not be directly connected to other gates
  • 11.
    Define precisely thetop event. Events such as HIGH REACTOR TEMPERATURE or LIQUID LEVEL TOO HIGH are precise and appropriate Events such as EXPLOSION OF REACTOR or FIRE IN PROCESS are too vague Define the existing event. What conditions are sure to be present when the top event Basic Event A basic initiating fault (or failure event). An event that is normally expected to occur. In general, these events can be set to occur or not occur, i.e. they have a fixed probability of 0 or 1. An event which is no further developed. It is a basic event that does not need further resolution. A specific condition or restriction that can apply to any gate. AND The output event occurs if all input events occur. The output event occurs if at least one of the input events occurs. The input event occurs if all input events occur and an additional conditional event occurs. Priority AND The output event occurs if all input events occur in a specific sequence. XOR The output event occurs if exactly one input event occurs. 254 occurs? Define the un allowed events that are unlikely or are not under consideration at the present. This could include wiring failures, lightning, tornadoes, hurricanes, and so forth Define the physical bounds of the process. What components are to be considered in the fault tree? Define the equipment configuration. What valves are open or closed? What are the liquid levels? Is this a normal operation state? Define the level of resolution Draw Fault tree using standard symbols SYMBOLS USED IN FTA Primary Event Block Classic FTA Symbol Description External Event (House Event) Undeveloped Event Conditioning Event Name of Gate Classic FTA Symbol Description OR Inhibit Consider the following polymerization reactor with cooling coils
  • 12.
    Reactor Overpressure And Alarm Failure Failure of Emergency Or Or 255 Simple FTA for Reactor Overpressure Shutdown Pressure Switch I Fails Pressure Indictor Fails Pressure Switch II Fails Solenoid Valve Fails 1 2 3 4
  • 13.
    256 SOLVING FAULTTREES Consider previous figure Two events must occur for over pressuring Failure of the alarm indicator and failure of the emergency shutdown system. These events must occur together so they must be connected by an AND function The alarm indicator can fail by either a failure of pressure switch or the alarm indicator light. These must be connected by OR functions Similarly, the emergency shutdown system can fail by either a failure of pressure switch #2 or the solenoid valve. These must also be connected by an OR function In general, the top event could occur by a variety of different combinations of events The different unique sets of events leading to the top event are the minimal cut sets The minimal cut sets are very useful for determining the various ways in which a top event could occur These are mathematically solved using failure rates and theory of reliability To estimate the overall failure probability the probabilities from the cut sets are added together For the above example, either events 1,3 or 2,3 or 1,4 or 2,4 could cause the top event For this case P(l AND 3) = (0.13) (0.13) = 0.0169 P(2 AND 3) = (0.04) (0.13) = 0.0052 P(l AND 4) = (0.13) (0.34) = 0.0442 P(2 AND 4) = (0.04) (0.34) = 0.0136 TOTAL: 0.0799 SOME QUANTITATIVE TECHNIQUES Event Tree Analysis Event tree analysis - consists of an analysis of possible causes starting at a system level and working down through the system, sub-system, equipment and component, identifying all possible causes. (What faults might we expect? How may they be arrived at?) Assessment methods which allow quantifying the probability of an accident and the risk associated with plant operation based on the graphic description of accident sequences employ the fault tree or event tree analysis (FTA or ETA) techniques Typical Steps in Generating Event Trees Identify an initiating event of interest Identify the safety functions designed to deal with the initiating event Construct the event tree Describe the resulting accident event sequences
  • 14.
    Example of ETAApplied With Loss Of Cooling in a Polymerisation Reactor as an Initiating Event Safety Functions: High Temp Operator Restarts Operator Shuts Result Yes SOME QUANTITATIVE TECHNIQUES Cause Consequence Analysis Shut Down Cause-consequence analysis (CCA) is a blend of fault tree and event tree analysis. This technique combines cause analysis (described by fault trees) and consequence analysis (described by event trees), and hence deductive and inductive analysis is used The purpose of CCA is to identify chains of events that can result in undesirable consequences. With the probabilities of the various events in the CCA diagram, the probabilities of the various consequences can be calculated, thus establishing the risk level of the system Yes No 257 Typical Cause Consequence Analysis Continue Operation Shut Down Runaway Alerts Cooling Down Reactor No Loss of cooling Consequence Consequence Initiating event Fault Tree Event Tree Side
  • 15.
    SOME QUANTITATIVE TECHNIQUES Bow Tie Bow-Tie PHA methodology represents a combination of two powerful conventional system safety techniques Fault Tree Analysis and Event Tree Analysis Name derived from the typical shape the diagram takes. Faults are identified after FTA and consequences of these faults predicted sing ETA Can be used to identify and evaluate various recovery paths from deviations and 258 impairments of safeguards A Typical Bow Tie Diagram Involving an Unintended Run Online Analysers Unintended isotherm Mis-Charging Heat Removal Problem Agitation Failures Misc Causes Critical Checklist Lab Analysis Operator Management Oversight Risk Tree Overpressure Flammable Release Ignition Bad News Coverage Regulatory Agency Action Non-Ignition MORT is a diagram which arranges safety program elements in an orderly and logical manner Its analysis is carried out by means of fault tree, where the top event is Damage, destruction, other costs, lost production or reduced credibility of the enterprise in the eyes of society The tree gives an overview of the causes of the top event from management oversights and omissions or from assumed risks or both Safety Management Organization Review Technique This technique is structured by means of analysis levels with associated checklists The SMORT analysis includes data collection based on the checklists and their associated questions, in addition to evaluation of results The information can be collected from interviews, studies of documents and investigations. It also serves well as a method for safety audits and planning of safety measures
  • 16.
    259 Petri Nets A graphical methodology based on ARTIFEX software package A circle represents a place and a rectangle represents a transition A Petri Net is composed of four parts, A set of places, A set of transitions, An input function, An output function Either bottom-up or top-down Other techniques like GO, Diagraph modeling, Markov modeling A Petri Net Diagram Reduced operations Normal Operations Transitions PROS AND CONS OF QUANTITATIVE METHODS These methods are mainly used to find cut-sets leading to the undesired events Event tree and fault tree have been widely used to quantify the probabilities of occurrence of accidents and other undesired events leading to the loss of life or economic losses in probabilistic risk assessment However, the usage of fault tree and event tree are confined to static, logic modeling of accident scenarios. In giving the same treatment to hardware failures and human errors in fault tree and event tree analysis, the conditions affecting human behavior can not be modeled explicitly QUALITATIVE VS QUANTITATIVE Qualitative methodologies though lacking the ability to account the dependencies between events are effective in identifying potential hazards and failures within the system The Quantitative techniques addressed this deficiency by taking into consideration the dependencies between each event The probabilities of occurrence of the undesired event can also be quantified with the availability of operational data RISK FROM HUMANS Human error contributes to accident development with percentages higher than 80% for two main reasons: Very High reliability of mechanical and electronic components
  • 17.
    New role ofhuman operators in complex systems Application of new control design principles and the extensive use of automation have strongly modified the role of operators Cognitive functions and organisational factors affect risk analysis much more than behavioral and physical performances HUMAN RELIABILITY ANALYSIS Human Hazards Identification (Task Analysis) Identify hazards occurring due to human error while performing standard 260 procedures The task is a set of operations/actions required to achieve a set goal and assesses what people might do while performing the operations Questions such as “What actions do the operators perform ?”, “How do operators respond to different cues in the environment ?” Main limitation being that it is only applicable to human interaction with the process Hierarchical Task Analysis Same methodology as task analysis, but a hierarchy is placed on the order of the tasks to be investigated Methodology produces either a tree structure, with the most complex task on the top and the simplest on the bottom, or a list of steps that are required to be performed in order to produce the required goal The technique provides an easily understandable breakdown of the tasks and order of which they are to be performed Other techniques such as Human Interaction with Machine (HIM), Human Error Analysis (HEA) Difficult To Get Accurate Data Data accuracy a major concern Acquiring data a long term and tedious process Data usually not available for novel processes Data interpretation requires experienced personnel Wrong assumptions may lead to overlooking of a risk or gold plating a process Use of Risk Analysis Data Avoidance Discontinue the practice that creates the risk Mitigation Implement strategies to reduce the impact Transfer Purchase financial relief (Insurance) Acceptable risk and concept of ALARP
  • 18.
    Fatality Statistics forcommon industrial and non-industrial activities 261 Simplified Quantitative Risk Analysis CCPS has come out with Layer of Protection Analysis (LOPA) LOPA is a simplified for of QRA A layer of protection analysis (LOPA) is a powerful analytical tool for assessing the adequacy of protection layers used to mitigate process risk LOPA builds upon well-known process hazards analysis techniques, applying semi-quantitative measures to the evaluation of the frequency of potential incidents and the probability of failure of the protection layers LOPA LOPA can be used at any point in the lifecycle of a project or process, but it is most cost effective when implemented during front-end loading when process flow diagrams are complete and the PIDs are under development Concept of independent protection layers and safety integrity level Variations of LOPA have been devised for hazard and scenario specific studies recent example being exLOPA for explosion risk assessment. The exLOPA is based on the original work of CCPS for LOPA but takes into account some typical factors appropriate for explosion
  • 19.
    262 Risk Matrix Intelligent Systems : The Way Ahead! The estimated cost of risk reviews in the CPI is about 1% of sales or about 10% of profits An intelligent system can help Reduce the time effort and expense involved in a PHA review Make the review more thorough, detailed, and consistent, Minimize human errors Free the team to concentrate on the more complex aspects of the analysis which are unique and difficult to automate An example is the HAZOPExpert a model-based, object-oriented, intelligent system for automating HAZOP analysis Generic models for routine cause and effect analyses are used for reduction of time and for integration of process specific component knowledge A two-tier framework is used decomposing the knowledge base into process specific and process general knowledge, represented in an object-oriented architecture Its objective is to automate the routine aspects of the analysis as much as possible, thereby freeing the team to focus on more complex aspects of the analysis that can not be automated Also, can be integrated with CAD systems and used during early stages of design, to identify and decrease the potential for hazardous configurations in later design phases where making changes could be economically prohibitive Other well known software packages include HAZTEC, CARA BRAVO, CAFTAN, RISKMAN, QRAS Never Heard on .. In indus try Heard on .. In indus try Incident occ urred in our company Ha ppens Several times Happens Several times in a location PEOPLE AS SET ENVIORM ENT REPUTATI ON A B C D E 0 No h ea lth e ffe ct/ Inju ry No d ama ge No e ffec t No Imp ac t LOW 1 Sligh t Hea lth e ffe ct/ inju ry Slig h t Dama ge Slig ht e ffec t s ligh t Imp ac t RISK 2 Mino r Hea lth e ffe ct/ inju ry Mino r Dama ge Mino r e ffec t Limited imp ac t 3 Ma jo r Hea lth e ffe ct/ inju ry Lo ca lis e d Dama g ed Lo ca lis e d e ffec t Co n s id e rab l e imp a ct MEDIUM RISK 4 1 to 3 fa ta lities Ma jo r Dama ge ma jor e ffec t Nat io n al imp ac t HIGH RISK 5 Multip le Fa ta lities Exte n s iv e Dama ge Ma s s iv e e ffec t in te rna tio na l imp a ct LIKELYHOOD CONSEQUENCES SEVERITY
  • 20.
    263 CONCLUSIONS Risk is a subjective concept varying according to context In actual industry a number of variations are applied to methods of risk analysis and sometimes steps are completed simultaneously or given a miss according to need and resources present Risk analysis can be qualitative as well as quantitative. Quantitative methods are being given more stress since they allow for a better comparison of risk levels and reduce subjectivity in decision making process Probabilistic risk analysis is perhaps the best methodology available at present for application of low probability high impact systems like CPI Intelligent systems hold the key to reduction in resource utilization and increasing accuracy of risk analysis and hence risk assessment There is no possibility of eliminating all hazards completely and concept of allowable risk becomes important END GAME Hazards and overall risk associated with technology is a crucial element for triggering regulatory action, public protest and a host of other problems, so it is of utmost importance to find the origins of risks, to strengthen safeguards and thus preserve the acceptability of hazardous facilities or activities. It constitutes a real need then, to provide a coherent strategy to maximise performance and minimize risk REFERENCES · Center for Chemical Process Safety (CCPS). Guidelines for Hazard Evaluation Procedures, Second Edition with Worked Examples; Publication G18; American Institute of Chemical Engineers, New York (1992) · Lees, F. P. Loss Prevention In The Process Industries: Hazard Identification, Assessment And Control. (2001) (3rd Ed). UK: Butterworth- Heinemann · Crowl D, Louvar J. Chemical process safety fundamentals with applications. (1990). Prentice Hall · Bernstein PL . “Against the Gods: The Remarkable Story of Risk”. (1996). Wiley New York. · Nivolianitou Z.S. Comparison Of Techniques For Accident Scenario Analysis In Hazardous Systems. Journal of Loss Prevention in the Process Industries, (2004), v- 17, pp- 467–475 · Wells G., Whetton C. Preliminary Safety Analysis. Journal of Loss Prevention in the Process Industry, (1993), v-6, no 1, pp-47-60 · Venkatasubramanian V., Zhao J. Viswanathan S . Intelligent Systems For Hazop Analysis Of Complex Process Plants. Computers and Chemical Engineering (2000),v-24, 2291–23 · Cacciabue, P. C. Human Factors On Risks Analysis Of Complex Systems. Journal of Hazardous Materials (2000), v-71, 101–116. · Robert D. Choosing The Level Of Detail For Hazard Identification. Process Safety Progress (1995), v-14, no 3