BANGALORE INSTITUTE OF TECHNOLOGY
DEPARTMENT OF ELECTRICAL AND ELECTRONICS
MAXIMUM
POWER
POINT
TRACKING
PROJECT MEMBERS :- 1.MD FARAZ ANJUM
2.PUSHPENDRA KUMAR
3.VIKAS DUBEY
4.PUJA ROY
PROJECT GUIDE :- Dr. P PRAMILA
1
OUTLINE:-
• INTRODUCTION
• MAXIMUM POWER POINT TRACKING
• MODELING AND SIMULATION
• EXPERIMENTAL SETUP
• ADVANTAGES
• CONCLUSION
2
OBJECTIVE :-
• Develop a maximum power point tracking (MPPT) algorithm for
solar energy system.
• Use a buck boost converter as maximum power point tracker to
achieve the system specifications.
COMPONENTS LIST:
• Photovoltaic Module
• DC-DC converter
• V-I characteristics
• Maximum Power Point Tracker.
3
PHOTOVOLTAIC MODULE:-
• Converts solar energy to electrical energy.
4
DC-DC BUCK BOOST CONVERTER:-
• Used to step down or step up of DC voltage.
5
HOW PEAK POWER IS TRACKED?
• By matching of impedance of load and solar module.
• DC-DC converter is used as interface between solar module and load for
impedance matching.
SIMULATION:-
6
METHODS FOR OBTAINING PEAK POWER:-
• PERTURB AND OBSERVE (P & O) ALGORITHM
• INCREMENTAL CONDUCTANCE ALGORITHM
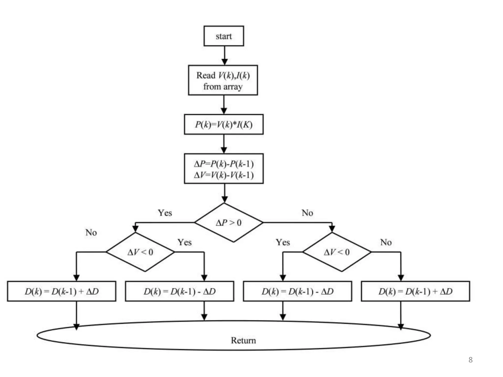
PERTURB AND OBSERVE (P & O) ALGORITHM:-
• P & O method is to modify the operating voltage and current of the PV panel
until you obtain the maximum power.
• The tracker operates by periodically incrementing or decrementing the solar
array voltage.
• We use only voltage sensor to sense the PV array voltage.
7
8
9
ADVANTAGES:-
• MPPT method can extract maximum available power from the PV module.
• This method can increase the tracking efficiency.
• Simple to implement.
CONCLUSION:-
• By using MPPT method,efficiency is increased and maximum power is extracted
from the PV module.
• MPPT offers advantages of good tracking efficiency, response is high and well
control for the extracted power.
10
11
THANK
YOU…

MPPT using PV Module

  • 1.
    BANGALORE INSTITUTE OFTECHNOLOGY DEPARTMENT OF ELECTRICAL AND ELECTRONICS MAXIMUM POWER POINT TRACKING PROJECT MEMBERS :- 1.MD FARAZ ANJUM 2.PUSHPENDRA KUMAR 3.VIKAS DUBEY 4.PUJA ROY PROJECT GUIDE :- Dr. P PRAMILA 1
  • 2.
    OUTLINE:- • INTRODUCTION • MAXIMUMPOWER POINT TRACKING • MODELING AND SIMULATION • EXPERIMENTAL SETUP • ADVANTAGES • CONCLUSION 2
  • 3.
    OBJECTIVE :- • Developa maximum power point tracking (MPPT) algorithm for solar energy system. • Use a buck boost converter as maximum power point tracker to achieve the system specifications. COMPONENTS LIST: • Photovoltaic Module • DC-DC converter • V-I characteristics • Maximum Power Point Tracker. 3
  • 4.
    PHOTOVOLTAIC MODULE:- • Convertssolar energy to electrical energy. 4
  • 5.
    DC-DC BUCK BOOSTCONVERTER:- • Used to step down or step up of DC voltage. 5
  • 6.
    HOW PEAK POWERIS TRACKED? • By matching of impedance of load and solar module. • DC-DC converter is used as interface between solar module and load for impedance matching. SIMULATION:- 6
  • 7.
    METHODS FOR OBTAININGPEAK POWER:- • PERTURB AND OBSERVE (P & O) ALGORITHM • INCREMENTAL CONDUCTANCE ALGORITHM PERTURB AND OBSERVE (P & O) ALGORITHM:- • P & O method is to modify the operating voltage and current of the PV panel until you obtain the maximum power. • The tracker operates by periodically incrementing or decrementing the solar array voltage. • We use only voltage sensor to sense the PV array voltage. 7
  • 8.
  • 9.
  • 10.
    ADVANTAGES:- • MPPT methodcan extract maximum available power from the PV module. • This method can increase the tracking efficiency. • Simple to implement. CONCLUSION:- • By using MPPT method,efficiency is increased and maximum power is extracted from the PV module. • MPPT offers advantages of good tracking efficiency, response is high and well control for the extracted power. 10
  • 11.