POLYMER PROCESSING 
The main goal of polymer processing is to produce a usable 
object.
NECESSARY PARAMETERS FOR PROCESSING. 
i. Flow or Deformation (i.e.., rheology). 
ii. Transfer of heat and Thermal behavior. 
iii. Transfer of mass. 
iv. Chemical reaction.
EXTRUSION 
 Extrusion can be defined as the act of shaping a 
material by forcing it through a die. 
 Polymer conversion operation. 
Principle: 
It comprises of forcing of a plastic material through 
an orifice(die) by means of pressure.
APPLICATION 
 For compounding plastics 
 Production of tubes ,pipes ,sheets ,film , wire 
coating and other continuous profiles. 
 It is generally used in case of thermoplastic 
polymers and some thermo sets too. 
 Commonly used polymers are 
PE,PP,PV,PS,PVC,polyamide,polyster
EXTRUDER 
 Extruders are basically helical screw pumps that 
convert solid polymer material into melt , which is 
then delivered to the die. 
TYPES: 
 Single screw extruder 
 Twin screw extruder
TYPES OF SCREWS
SINGLE SCREW EXTRUDER
VARIOUS SECTIONS 
FIG. SHOWS VARIATION IN CHANNEL DEPTH.
ZONES/SECTIONS IN S.S.E 
 Feed zone 
 Compression/ plasticizing zone 
 Melt/Metering zone 
 Die zone
SCHEMATIC DIAGRAM OF VARIOUS ZONES
FEED ZONE 
 In this 1st zone, the polymer pellets are conveyed to 
the subsequent zone. 
 Main function is to preheat the polymer. 
 Here the screw depth is constant.
COMPRESSION ZONE 
 Here the screw depth increases. 
 It repels the air gap between the granules. 
 Heat transfer from the barrel wall is improved. 
 Density change is accommodated.
METERING ZONE 
 Here screw depth is constant. 
 It homogenizes the melt and supply it to the die.
DIE ZONE 
 The final zone where the screen pack is located. 
 It usually comprises of the perforated steel plate called 
breaker plate and a sieve pack. 
 It sieves out the extraneous materials(foreign particles). 
 It removes the turning memory from the polymer melt. 
 It allows head pressure to develop by providing a 
resistance for pumping action of metering zone.
VENTED EXTRUDER 
 The polymers being processed should be 
devolatilized or degassed . Such an operation can 
be carried out by an vented extruder. 
 As a result the air bubbles are removed. 
 It is nothing but an addition of an decompression 
zone to the already existing screw.
ADVANTAGES 
 Low cost tooling and short lead time. 
 Low cost products. 
 Reinforcement can be done easily. 
 Use of multiple parts in varieties. 
 Slow maintaining. 
 Also used in co-extrusion , tubular flows, crossway 
extruder in similar process.
MAJOR PROBLEMS 
 Die swelling 
 Melt Fracture 
 Spiraling 
 Bam booing 
 Regular ripple 
 Random fracture
WAYS TO REDUCE DIE SWELLING 
 Decrease the extrusion rate 
 Increase the length of the die end 
 Increase the draw down ratio without affecting the 
output 
 By improving design factors
EXTRUSION BASED PROCESS 
 Cross head 
 Co-extrusion 
 Tubular blown films
BLOWN FILM EXTRUSION 
 Used for specialized plastic films for packing 
industry. 
 It consists of a extrusion tube with thermoplastic 
material and is inflated to form thin tubular product. 
 There is fixed orientation due to inflation and 
pulling. 
 Commonly used HDPE,LLDPE.,
CO-EXTRUSION 
 Simultaneous extrusion of two or more polymers 
through a single die. 
 Allows multiple layers extrusion of 
films,sheets,pipes and mostly in packing industry. 
ADVANTAGES: 
• Reduced material 
• Processing cost improved 
• Moreuniform distribution temperature.
INJECTION MOULDING 
 The basic principles is that to inject the molten 
polymer into a closed cooled mould where it 
solidifies to give the product. The moulding by 
opening the mold to release it. 
TWO SECTIONS: 
I. Injection unit 
II. Clamp /Press unit 
TWO PHASES: 
I. Plasticizing phase 
II. Injection phase
FEATURES 
 The difference here is that the screw does not 
rotate but it reciprocates to and fro thereby injecting 
the melt into the mold. 
 In addition here there is no breaking plate or sieve 
plate instead there is chevk valve. 
 Gating is important in flow systems as they resist 
the flow.(Edge,disk,ring,submarine gates) 
Parts: 
i. Cavity or impression 
ii. Channels 
iii. Cooling channels 
iv. Ejector pins
MOULDING CYCLE 
 Mold is closed and a shot of melt is ready in 
injection unit. 
 Valve opens and screw forces the melt through 
nozzle into mold. 
 Hold on stage,where pressure is maintained and 
released when freezing commences. 
 Valve closes and reciprocation starts.Pressure 
develops against nozzle and screw accumultes new 
slot of melt. 
 When mold is cooled,press is opened and moulding 
removed.
CONTROL PARAMETERS IN IM 
 Temperature of melt 
 Temperature of mold 
 Pressure and speed of injection 
 Hold on pressure 
 Timings of various parts of process cycle 
DEFECTS IN IM: 
• Short shots 
• Voids and sinks 
• Weld lines 
• Orientation 
• Shrinkage
SPECIALIZED IM PROCESS 
Spruless moulding: 
• Inorder to reduce scrap: 
• The nozzle locates directly to mold cavity. 
• For complex single impression molding. 
Sanwich moulding: 
• The technique injects skin and core melt seperately. 
• Skin polymer is generally normal one, 
• Core polymer is onewhich contains lubricating 
agents.
STRUCTURAL FOAM MOULDING 
 SFM is development of IM where stiffness becomes 
prerequistic 
 Stiffness ,S=E(t)3 
 Suitable for full product 
 Here the melt is expandable,contains dissolved gas 
which decomposes at melt temperature to give foam. 
 A short shot leaves space into which foam expands.The 
pressure becomes driving force to fill mold,which is less 
than 3Mpa. 
Advantages: 
 Producing large and flexible products; 
 low process energy:
REACTION INJECTION MOULDING[RIM] 
 The technique combines two metered ,well mixed 
reactive sreams.(urethane) 
 One stream contains polyether backbone,a catalyst 
and a cross linking agent. 
 Other stream contains has isocynate,blowing agent 
ADVANTAGES: 
 Conducted at low temperature(60-90C) for 
polyvinyl. 
 Processing and preparing takes place 
simultaneously.
REINFORCED INJECTION MOULDING[RRIM] 
 It is an extesion of RIM where there is inclusion of a 
reinforced glass fibre. 
 Here ,two fast reacting liquid streams are precisely 
metered and mixed using high pressure 
impingement mixing with polymer blowing agents. 
ADVANTAGES: 
 Moulding ranges from rubbery flexible to semi 
flexible materials to rigid unyielding products by 
suitable deformation of reactants. 
 Internal mould pressures are low.
COMPESSION MOULDING 
 The technique consists of forcing a combination of 
a resin and a cross linking agent by means of 
pressure. 
 Pre heating enables the cycle time to be 
reduced,which is by convection ,infrared 
lamp,dielectric heating. 
ADVANTAGE: 
 Low waste & finishing cost; 
 Useful for bulky products. 
DISADVANTAGE: 
 Poor tolerance 
 Not useful for intricate shapes
TRANSFER MOULDING 
 Similar ,to compression moulding but differs in a way 
that the mix of resin and curing agent is first raised in 
both temperature and pressure in a holding 
device,plasticizing pot or loading well. 
 Outgassing by venting is done by orifices at the parting 
line. 
 Typical size:0.64cm wide & 0.0025-0.0075cm deep. 
ADVANTAGES: 
 Rapid production rate and faster; 
 Good dimensional accuracy and intricate parts . 
DISADVANTAGES: 
 Expensive moulds; 
 Large material loss and size limitation.
BLOW MOULDING 
 Polymer processing operation that produces hollow 
objects(bottles). 
 Used for producing large volume products. 
TYPES: 
i. Extrusion blow moulding 
ii. Injection blow moulding 
iii. Stretch blow moulding
EXTRUSION BLOW MOULDING 
 The semi molten tube called,parison,which is formed 
directly from extruder ready hot & soft. 
 Parison is allowed to descend into mould cavity. 
 Mold is closed, blowing is carried followed by 
inflation and cooling . 
 The mold opens and hollow product is taken. 
 Intermittent blow moulding is faster than continuous 
extrusion operation
INJECTION BLOW MOULDING 
 The technique injects melt into one or more 
preheated,preform cavities aroud a given core pin. 
 Preform mold is opened and heated polymer is 
moved using core pin where it is inflated and 
ejected. 
 Drying cycle time is 1.5 s,which includes opening of 
mold ,movement of mold unit and close time. 
 This is followed by exhausting and a blowing during 
cycle.
STRETCH BLOW MOULDING 
 In this method,the molded preform is once 
again,molded into a very cooled mold along with 
refrigrant coolant. 
 This quench the amorphous state,the preform is 
reheated above it’s glass transition temperatureand 
stretch blown. 
 This stretches the preform downwards and 
simultaneously blowing in radial direction. 
 Ex:Stretch blow molding of PET bottles.
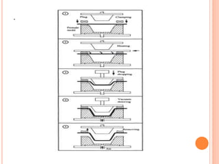
THERMOFORMING & VACCUMFORMING 
 The preform in form of extruded sheet of polymer is 
heated untill soft and deformed by a shaping force 
into the mold where it is allowed to cool. 
4 main methods in variants of thermoforming 
 Matched mold forming 
 Slip forming 
 Air blowing 
 Vaccum forming.
4 main techniques in variants of vaccum forming 
 Straight vaccum forming 
 Vaccum snap back forming 
 Vaccum drape forming 
 Plug assists vaccum forming
.
ROTATIONAL BLOW MOLDING 
 The powdred polymer is loaded into a closed 
mold,which is heated while rotating biaxially. 
 The polymer coats the inner wall of the mold to a 
uniform thickness. 
 After which it is cooled and removed as finished 
product. 
 Four stages:loading,molding,cooling,unloading 
Unique features: 
 Ratio of major & minor axis 1:4 
 Heating temperature=>250-350C 
 P.E,Polycarbonate,polystyrene,polyurethane.
ADVANTAGES 
 Producing large hollow products 
 Uniform thickness achieved 
 No waste scrapes 
 Slow heating and melting of the thermoplastic 
powder in a biaxially rotating mold to produce 
seamless products(without markings) 
DISADVANTAGES 
• Marix cost high due to fine granules 
• Not used wall thickness less than 0.003 inches. 
• Not suitable for small products. 
• Cycle time longer;no complex shapes can be made.
CALEDERING 
 It involves laminar flow with heat transfer in a roll 
system. 
 These are process applied to rubbery polymers;& 
production of continuous sheet and film. 
SPECICATIONS: 
 1.5 meter in length 
 1mm thickness 
 Diameter 0.5-1m 
 Thickness rate of rotation 1m/s
STEPS INVOLVED 
i. Weighing of polymer,additives and ingredients 
ii. Compounding them using bambury mixer 
iii. Transferring the melt to calendar rolls 
iv. Feeding them in between rolls 
v. Enclosing can be done 
vi. Cooling and winding up
ADVANTAGES: 
 Very little thermal degradation 
 Open process 
 For processing of thermally unstable materials 
DISADVANTAGES: 
 Long time 
 Capital investment is higher 
 Economically suitable for larger particles and not 
possible for smaller ones.
SPINNING PROCESS 
 Spinning is that a polymer melt is forced through a 
small orifice,called spinner jet which shapes it into a 
fibre form. 
 After this it undergoes a phase transformation to 
solid form after which it is wound up or taken up in 
a babbin and processed to spun yarn. 
TYPES: 
a) Melt spinning 
b) Dry spinning 
c) Wet spinning
Polymer processing
Polymer processing
Polymer processing

Polymer processing

  • 1.
    POLYMER PROCESSING Themain goal of polymer processing is to produce a usable object.
  • 2.
    NECESSARY PARAMETERS FORPROCESSING. i. Flow or Deformation (i.e.., rheology). ii. Transfer of heat and Thermal behavior. iii. Transfer of mass. iv. Chemical reaction.
  • 3.
    EXTRUSION  Extrusioncan be defined as the act of shaping a material by forcing it through a die.  Polymer conversion operation. Principle: It comprises of forcing of a plastic material through an orifice(die) by means of pressure.
  • 4.
    APPLICATION  Forcompounding plastics  Production of tubes ,pipes ,sheets ,film , wire coating and other continuous profiles.  It is generally used in case of thermoplastic polymers and some thermo sets too.  Commonly used polymers are PE,PP,PV,PS,PVC,polyamide,polyster
  • 5.
    EXTRUDER  Extrudersare basically helical screw pumps that convert solid polymer material into melt , which is then delivered to the die. TYPES:  Single screw extruder  Twin screw extruder
  • 6.
  • 7.
  • 8.
    VARIOUS SECTIONS FIG.SHOWS VARIATION IN CHANNEL DEPTH.
  • 9.
    ZONES/SECTIONS IN S.S.E  Feed zone  Compression/ plasticizing zone  Melt/Metering zone  Die zone
  • 10.
    SCHEMATIC DIAGRAM OFVARIOUS ZONES
  • 11.
    FEED ZONE In this 1st zone, the polymer pellets are conveyed to the subsequent zone.  Main function is to preheat the polymer.  Here the screw depth is constant.
  • 12.
    COMPRESSION ZONE Here the screw depth increases.  It repels the air gap between the granules.  Heat transfer from the barrel wall is improved.  Density change is accommodated.
  • 13.
    METERING ZONE Here screw depth is constant.  It homogenizes the melt and supply it to the die.
  • 14.
    DIE ZONE The final zone where the screen pack is located.  It usually comprises of the perforated steel plate called breaker plate and a sieve pack.  It sieves out the extraneous materials(foreign particles).  It removes the turning memory from the polymer melt.  It allows head pressure to develop by providing a resistance for pumping action of metering zone.
  • 15.
    VENTED EXTRUDER The polymers being processed should be devolatilized or degassed . Such an operation can be carried out by an vented extruder.  As a result the air bubbles are removed.  It is nothing but an addition of an decompression zone to the already existing screw.
  • 17.
    ADVANTAGES  Lowcost tooling and short lead time.  Low cost products.  Reinforcement can be done easily.  Use of multiple parts in varieties.  Slow maintaining.  Also used in co-extrusion , tubular flows, crossway extruder in similar process.
  • 18.
    MAJOR PROBLEMS Die swelling  Melt Fracture  Spiraling  Bam booing  Regular ripple  Random fracture
  • 19.
    WAYS TO REDUCEDIE SWELLING  Decrease the extrusion rate  Increase the length of the die end  Increase the draw down ratio without affecting the output  By improving design factors
  • 20.
    EXTRUSION BASED PROCESS  Cross head  Co-extrusion  Tubular blown films
  • 21.
    BLOWN FILM EXTRUSION  Used for specialized plastic films for packing industry.  It consists of a extrusion tube with thermoplastic material and is inflated to form thin tubular product.  There is fixed orientation due to inflation and pulling.  Commonly used HDPE,LLDPE.,
  • 23.
    CO-EXTRUSION  Simultaneousextrusion of two or more polymers through a single die.  Allows multiple layers extrusion of films,sheets,pipes and mostly in packing industry. ADVANTAGES: • Reduced material • Processing cost improved • Moreuniform distribution temperature.
  • 25.
    INJECTION MOULDING The basic principles is that to inject the molten polymer into a closed cooled mould where it solidifies to give the product. The moulding by opening the mold to release it. TWO SECTIONS: I. Injection unit II. Clamp /Press unit TWO PHASES: I. Plasticizing phase II. Injection phase
  • 26.
    FEATURES  Thedifference here is that the screw does not rotate but it reciprocates to and fro thereby injecting the melt into the mold.  In addition here there is no breaking plate or sieve plate instead there is chevk valve.  Gating is important in flow systems as they resist the flow.(Edge,disk,ring,submarine gates) Parts: i. Cavity or impression ii. Channels iii. Cooling channels iv. Ejector pins
  • 27.
    MOULDING CYCLE Mold is closed and a shot of melt is ready in injection unit.  Valve opens and screw forces the melt through nozzle into mold.  Hold on stage,where pressure is maintained and released when freezing commences.  Valve closes and reciprocation starts.Pressure develops against nozzle and screw accumultes new slot of melt.  When mold is cooled,press is opened and moulding removed.
  • 31.
    CONTROL PARAMETERS INIM  Temperature of melt  Temperature of mold  Pressure and speed of injection  Hold on pressure  Timings of various parts of process cycle DEFECTS IN IM: • Short shots • Voids and sinks • Weld lines • Orientation • Shrinkage
  • 32.
    SPECIALIZED IM PROCESS Spruless moulding: • Inorder to reduce scrap: • The nozzle locates directly to mold cavity. • For complex single impression molding. Sanwich moulding: • The technique injects skin and core melt seperately. • Skin polymer is generally normal one, • Core polymer is onewhich contains lubricating agents.
  • 33.
    STRUCTURAL FOAM MOULDING  SFM is development of IM where stiffness becomes prerequistic  Stiffness ,S=E(t)3  Suitable for full product  Here the melt is expandable,contains dissolved gas which decomposes at melt temperature to give foam.  A short shot leaves space into which foam expands.The pressure becomes driving force to fill mold,which is less than 3Mpa. Advantages:  Producing large and flexible products;  low process energy:
  • 35.
    REACTION INJECTION MOULDING[RIM]  The technique combines two metered ,well mixed reactive sreams.(urethane)  One stream contains polyether backbone,a catalyst and a cross linking agent.  Other stream contains has isocynate,blowing agent ADVANTAGES:  Conducted at low temperature(60-90C) for polyvinyl.  Processing and preparing takes place simultaneously.
  • 37.
    REINFORCED INJECTION MOULDING[RRIM]  It is an extesion of RIM where there is inclusion of a reinforced glass fibre.  Here ,two fast reacting liquid streams are precisely metered and mixed using high pressure impingement mixing with polymer blowing agents. ADVANTAGES:  Moulding ranges from rubbery flexible to semi flexible materials to rigid unyielding products by suitable deformation of reactants.  Internal mould pressures are low.
  • 39.
    COMPESSION MOULDING The technique consists of forcing a combination of a resin and a cross linking agent by means of pressure.  Pre heating enables the cycle time to be reduced,which is by convection ,infrared lamp,dielectric heating. ADVANTAGE:  Low waste & finishing cost;  Useful for bulky products. DISADVANTAGE:  Poor tolerance  Not useful for intricate shapes
  • 41.
    TRANSFER MOULDING Similar ,to compression moulding but differs in a way that the mix of resin and curing agent is first raised in both temperature and pressure in a holding device,plasticizing pot or loading well.  Outgassing by venting is done by orifices at the parting line.  Typical size:0.64cm wide & 0.0025-0.0075cm deep. ADVANTAGES:  Rapid production rate and faster;  Good dimensional accuracy and intricate parts . DISADVANTAGES:  Expensive moulds;  Large material loss and size limitation.
  • 43.
    BLOW MOULDING Polymer processing operation that produces hollow objects(bottles).  Used for producing large volume products. TYPES: i. Extrusion blow moulding ii. Injection blow moulding iii. Stretch blow moulding
  • 44.
    EXTRUSION BLOW MOULDING  The semi molten tube called,parison,which is formed directly from extruder ready hot & soft.  Parison is allowed to descend into mould cavity.  Mold is closed, blowing is carried followed by inflation and cooling .  The mold opens and hollow product is taken.  Intermittent blow moulding is faster than continuous extrusion operation
  • 46.
    INJECTION BLOW MOULDING  The technique injects melt into one or more preheated,preform cavities aroud a given core pin.  Preform mold is opened and heated polymer is moved using core pin where it is inflated and ejected.  Drying cycle time is 1.5 s,which includes opening of mold ,movement of mold unit and close time.  This is followed by exhausting and a blowing during cycle.
  • 48.
    STRETCH BLOW MOULDING  In this method,the molded preform is once again,molded into a very cooled mold along with refrigrant coolant.  This quench the amorphous state,the preform is reheated above it’s glass transition temperatureand stretch blown.  This stretches the preform downwards and simultaneously blowing in radial direction.  Ex:Stretch blow molding of PET bottles.
  • 50.
    THERMOFORMING & VACCUMFORMING  The preform in form of extruded sheet of polymer is heated untill soft and deformed by a shaping force into the mold where it is allowed to cool. 4 main methods in variants of thermoforming  Matched mold forming  Slip forming  Air blowing  Vaccum forming.
  • 52.
    4 main techniquesin variants of vaccum forming  Straight vaccum forming  Vaccum snap back forming  Vaccum drape forming  Plug assists vaccum forming
  • 53.
  • 54.
    ROTATIONAL BLOW MOLDING  The powdred polymer is loaded into a closed mold,which is heated while rotating biaxially.  The polymer coats the inner wall of the mold to a uniform thickness.  After which it is cooled and removed as finished product.  Four stages:loading,molding,cooling,unloading Unique features:  Ratio of major & minor axis 1:4  Heating temperature=>250-350C  P.E,Polycarbonate,polystyrene,polyurethane.
  • 55.
    ADVANTAGES  Producinglarge hollow products  Uniform thickness achieved  No waste scrapes  Slow heating and melting of the thermoplastic powder in a biaxially rotating mold to produce seamless products(without markings) DISADVANTAGES • Marix cost high due to fine granules • Not used wall thickness less than 0.003 inches. • Not suitable for small products. • Cycle time longer;no complex shapes can be made.
  • 57.
    CALEDERING  Itinvolves laminar flow with heat transfer in a roll system.  These are process applied to rubbery polymers;& production of continuous sheet and film. SPECICATIONS:  1.5 meter in length  1mm thickness  Diameter 0.5-1m  Thickness rate of rotation 1m/s
  • 58.
    STEPS INVOLVED i.Weighing of polymer,additives and ingredients ii. Compounding them using bambury mixer iii. Transferring the melt to calendar rolls iv. Feeding them in between rolls v. Enclosing can be done vi. Cooling and winding up
  • 59.
    ADVANTAGES:  Verylittle thermal degradation  Open process  For processing of thermally unstable materials DISADVANTAGES:  Long time  Capital investment is higher  Economically suitable for larger particles and not possible for smaller ones.
  • 61.
    SPINNING PROCESS Spinning is that a polymer melt is forced through a small orifice,called spinner jet which shapes it into a fibre form.  After this it undergoes a phase transformation to solid form after which it is wound up or taken up in a babbin and processed to spun yarn. TYPES: a) Melt spinning b) Dry spinning c) Wet spinning