-
250 -
ESSCIRC'85
RTB: A Full-DuplexECL Transceiver For Wideband Digital
Systems.
Piero Belforte -
Vanni Poletto -
Mario Sartori
CSELT (Centro Studi e Laboratori Telecomunicazioni)
1014B Torino (Italy), via G. Reiss Romoli 274, Tel. 39-11-21691
Summary
This paper deals with the design of a low cost ECL bipolar compatible I.C
performing the function of four balanced full-duplex transceivers particularly
suitable for interconnections long up to several tens of meters in digital
systems.
One of the most interesting applications of this circuit is in the field of
wideband digital switching (up to 100 Mbit/sec) where the amount of two-way
internal connections can be very high, [l] More precisely when bidirectional
video communications are concerned (as in the case of the digital switching of
video telephony signals) the use of this component virtually halves the wiring
cost. Other applications include narrow band (up to 2 Mbit/sec) digital switching
systems where it is possible to achieve great saving in cabling cost or to allow
the designers to implement interesting diagnosis and signalling schemes inside
the exchange.[2] Obviously his application range is not bounded to these fields
but covers all the situations where two-way communication implying the use of
standard receiver/transmitter pairs is needed.
The functional behaviour of RTB is shown in fig.1:
Ct is an ECL driver with a low output inpedance, Ip is a common mode
current source, Ro is the line characteristic resistance, A1(A2) are linear
amplifiers, Cr is a differential to single ended ECL translator.
(.) Patents pending
-
251 -
When two transceivers are sending data through the same line, the signal at
both end of the line is a superposition of the one transmitted from the local
terminal and the one received from the remote terminal. The line signal swing is
a bit larger than the standard ECL but down-shifted about .8 V. The circuit
subtracts from the line signal the contribution due to trasmitter, taking into
account the 6 dB attenuation caused by the line impedance matching. In ideal
conditions (lossless cable and negligible output impedance of the driver), it is
easy to show that, if the gain of Al is a half of the gain of A2, a complete
cancellation of the transmitted signal occurs. In such a way the output
translator Cr has the function of restoring the ECL level compatibility.
As the circuit recovers the incoming signal wave, it is easy to gain
information about an abnormal state of the link (cut or shorted). This feature
also supplies a very simple method for testing the circuit; in fact, when the line
is open, the signal decoded at the receiving side of the tranceiver is equal to the
transmitted one, while when it is shorted the complement of the transmitted
signal can be found at the output. Therefore, connecting both open and shorted
the four tranceivers' line outputs, allows to check the correct behaviour of the
device.
In the chip four different functions are present, each one working in a fully
independent mode, so attention must be paid to avoid crosstalk among them.
For this reason a careful design was made of the common bias circuit to obtain
an efficient decoupling.
The main goal of the design was to achieve the best trade-off between speed
and power dissipation. For this reason a new low dissipation switched-load line
driver (*) suitable for ECL circuitry was developed, [fig. 2] The power
consumption of the drivers is externally programmable according to bit-rate
requirements and length of the cable interconnection; this is obtained through
an internally built voltage reference and an external programming resistor. In
the chip's architecture the bias circuit is shared by the four transceivers and a
-
252 -
power saving is gained in it owing to the availability of complementary current
mirrors and amplifiers. (*)
The I.C. was designed following both traditional and new methodological
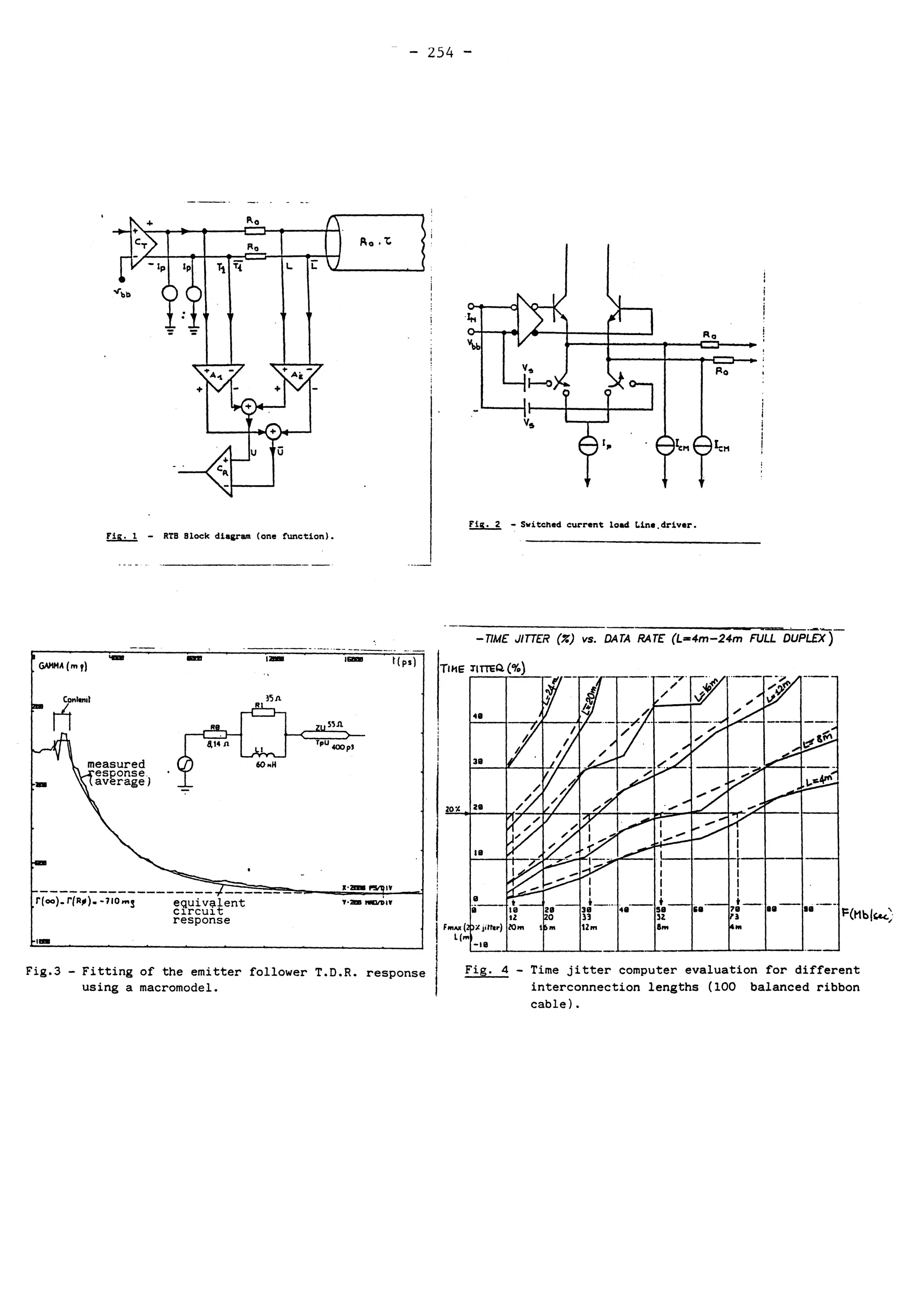
approaches. In particular the optimization of the circuit from the point of view
of speed was carried out using advanced characterization and simulation
techniques. The choice of the sizes and geometries of transistors making up the
main circuit blocks (current switches, buffers, etc.) was the consequence of
their time-domain reflectometer (TDR) characterization. The TDR responses
have been obtained from a set of standard kit-parts available on SGS LLV
process. From these TDR responses very accurate macromodels of circuit blocks
are obtained using fitting programs. The very close integration between
computerized measurements and simulation tools allows the designer to obtain
very quickly and easily the optimized parameters of macromodels. [fig. 3] These
macromodels and their related parameters are then used to simulate the
internal behaviour, mainly concerning critical paths, in the integrated circuit. A
similar technique was also utilized for pin level electrical characterization of
the whole circuit.
The real world operation where two similar tranceivers are interconnected
through an external lossy cable was then analyzed. In this case the actual cable
is directly modeled by its time-domain scattering parameters. Suitable
simulation programs [3] utilize both I.C. and cable models for the analysis of
situations which are not covered by standard simulation aids. The results of
these evaluations for various bit-rates and cable lengths are shown in the paper
[fig. 4]. Chip's photograph and sizes are shown in Fig. 5.
Finally the main features of the implemented chip are given including
electrical performances [fig. 6] and actual measurements in real operating
conditions, [fig. 7]
The RTB is now inserted as standard component among telecom I.Cs by
S.G.S ATES.
-
253 -
Acknowledgments
The authors wish to thank particularly Dr. Siligoni and Dr. Garue of S.G.S
ATES for their useful advices during the developement of the circuit.
Bibliography
[l] Enzo Garetti Piero Belforte Luciano Gabrieili
"New switching techniques for wideband and ISDN environments"
International Switching Symposium'84 (ISS '84) Florence
[2] Piero Belforte Enzo Garetti
"A new generation of LSI switching networks"
FORUM 'B3 -
Geneva.
[3] Piero Belforte Bruno Bostica Giancarlo Guaschino
'Time domain simulation of lossy interconnections using
wave digital networks"
International Symposium on Circuits and Systems (ISCAS '82)
Roma, May 10-12, 1982
-
254 -
snfeUbb
'-|r.o)¿ -^O-i
Po
§1' et.i'a
fFig. 2 - Switched current load Line.driver.
í GAMMA (my) Mp«)
400pl
r(oo).r(R^).-7IOmS
I
fSrtflV
equivalentcircuit
response
T-2BB NO/VIV
-TWHE J/77Ef? (X) vs. DATA RATE (L=4m-24m FULL DUPLEX)
Fig.3 -
Fitting of the emitter follower T.D.R. response
using a macromodel.
p(Mbiu<.;
Fig. 4 -
Time jitter computer evaluation for different
interconnection lengths (100 balanced ribbon
cable).
-
255 -
-
Main electrical characteristics.
-
Voltage supply 5V +_ lou
-
Power consumption 660 mW
-
Input and output levels ECL 10K canpatibile
-
Typical Input-output delay
time (transmitter + receiver) 7 ns
IÎ&L _7 .
Receivers '
output Eye patterns in real operating ccnditlans.
(TVo functions connected through 8 meter ribbon cable)
Upper : 50 M bit/sec.
Lower : 100 Kbit/sec uncorrelated.
Fig. 5 -
Chip's photograph (device area 3.2 mm2 pad area = 25%)

RTB: BIDIRECTIONAL TRANSCEIVER (ESSCIRC85)

  • 1.
    - 250 - ESSCIRC'85 RTB: AFull-DuplexECL Transceiver For Wideband Digital Systems. Piero Belforte - Vanni Poletto - Mario Sartori CSELT (Centro Studi e Laboratori Telecomunicazioni) 1014B Torino (Italy), via G. Reiss Romoli 274, Tel. 39-11-21691 Summary This paper deals with the design of a low cost ECL bipolar compatible I.C performing the function of four balanced full-duplex transceivers particularly suitable for interconnections long up to several tens of meters in digital systems. One of the most interesting applications of this circuit is in the field of wideband digital switching (up to 100 Mbit/sec) where the amount of two-way internal connections can be very high, [l] More precisely when bidirectional video communications are concerned (as in the case of the digital switching of video telephony signals) the use of this component virtually halves the wiring cost. Other applications include narrow band (up to 2 Mbit/sec) digital switching systems where it is possible to achieve great saving in cabling cost or to allow the designers to implement interesting diagnosis and signalling schemes inside the exchange.[2] Obviously his application range is not bounded to these fields but covers all the situations where two-way communication implying the use of standard receiver/transmitter pairs is needed. The functional behaviour of RTB is shown in fig.1: Ct is an ECL driver with a low output inpedance, Ip is a common mode current source, Ro is the line characteristic resistance, A1(A2) are linear amplifiers, Cr is a differential to single ended ECL translator. (.) Patents pending
  • 2.
    - 251 - When twotransceivers are sending data through the same line, the signal at both end of the line is a superposition of the one transmitted from the local terminal and the one received from the remote terminal. The line signal swing is a bit larger than the standard ECL but down-shifted about .8 V. The circuit subtracts from the line signal the contribution due to trasmitter, taking into account the 6 dB attenuation caused by the line impedance matching. In ideal conditions (lossless cable and negligible output impedance of the driver), it is easy to show that, if the gain of Al is a half of the gain of A2, a complete cancellation of the transmitted signal occurs. In such a way the output translator Cr has the function of restoring the ECL level compatibility. As the circuit recovers the incoming signal wave, it is easy to gain information about an abnormal state of the link (cut or shorted). This feature also supplies a very simple method for testing the circuit; in fact, when the line is open, the signal decoded at the receiving side of the tranceiver is equal to the transmitted one, while when it is shorted the complement of the transmitted signal can be found at the output. Therefore, connecting both open and shorted the four tranceivers' line outputs, allows to check the correct behaviour of the device. In the chip four different functions are present, each one working in a fully independent mode, so attention must be paid to avoid crosstalk among them. For this reason a careful design was made of the common bias circuit to obtain an efficient decoupling. The main goal of the design was to achieve the best trade-off between speed and power dissipation. For this reason a new low dissipation switched-load line driver (*) suitable for ECL circuitry was developed, [fig. 2] The power consumption of the drivers is externally programmable according to bit-rate requirements and length of the cable interconnection; this is obtained through an internally built voltage reference and an external programming resistor. In the chip's architecture the bias circuit is shared by the four transceivers and a
  • 3.
    - 252 - power savingis gained in it owing to the availability of complementary current mirrors and amplifiers. (*) The I.C. was designed following both traditional and new methodological approaches. In particular the optimization of the circuit from the point of view of speed was carried out using advanced characterization and simulation techniques. The choice of the sizes and geometries of transistors making up the main circuit blocks (current switches, buffers, etc.) was the consequence of their time-domain reflectometer (TDR) characterization. The TDR responses have been obtained from a set of standard kit-parts available on SGS LLV process. From these TDR responses very accurate macromodels of circuit blocks are obtained using fitting programs. The very close integration between computerized measurements and simulation tools allows the designer to obtain very quickly and easily the optimized parameters of macromodels. [fig. 3] These macromodels and their related parameters are then used to simulate the internal behaviour, mainly concerning critical paths, in the integrated circuit. A similar technique was also utilized for pin level electrical characterization of the whole circuit. The real world operation where two similar tranceivers are interconnected through an external lossy cable was then analyzed. In this case the actual cable is directly modeled by its time-domain scattering parameters. Suitable simulation programs [3] utilize both I.C. and cable models for the analysis of situations which are not covered by standard simulation aids. The results of these evaluations for various bit-rates and cable lengths are shown in the paper [fig. 4]. Chip's photograph and sizes are shown in Fig. 5. Finally the main features of the implemented chip are given including electrical performances [fig. 6] and actual measurements in real operating conditions, [fig. 7] The RTB is now inserted as standard component among telecom I.Cs by S.G.S ATES.
  • 4.
    - 253 - Acknowledgments The authorswish to thank particularly Dr. Siligoni and Dr. Garue of S.G.S ATES for their useful advices during the developement of the circuit. Bibliography [l] Enzo Garetti Piero Belforte Luciano Gabrieili "New switching techniques for wideband and ISDN environments" International Switching Symposium'84 (ISS '84) Florence [2] Piero Belforte Enzo Garetti "A new generation of LSI switching networks" FORUM 'B3 - Geneva. [3] Piero Belforte Bruno Bostica Giancarlo Guaschino 'Time domain simulation of lossy interconnections using wave digital networks" International Symposium on Circuits and Systems (ISCAS '82) Roma, May 10-12, 1982
  • 5.
    - 254 - snfeUbb '-|r.o)¿ -^O-i Po §1'et.i'a fFig. 2 - Switched current load Line.driver. í GAMMA (my) Mp«) 400pl r(oo).r(R^).-7IOmS I fSrtflV equivalentcircuit response T-2BB NO/VIV -TWHE J/77Ef? (X) vs. DATA RATE (L=4m-24m FULL DUPLEX) Fig.3 - Fitting of the emitter follower T.D.R. response using a macromodel. p(Mbiu<.; Fig. 4 - Time jitter computer evaluation for different interconnection lengths (100 balanced ribbon cable).
  • 6.
    - 255 - - Main electricalcharacteristics. - Voltage supply 5V +_ lou - Power consumption 660 mW - Input and output levels ECL 10K canpatibile - Typical Input-output delay time (transmitter + receiver) 7 ns IÎ&L _7 . Receivers ' output Eye patterns in real operating ccnditlans. (TVo functions connected through 8 meter ribbon cable) Upper : 50 M bit/sec. Lower : 100 Kbit/sec uncorrelated. Fig. 5 - Chip's photograph (device area 3.2 mm2 pad area = 25%)