10
20
československá socialistickÁ
REPUBLIKA
vydáno 15. září 1881 Vyloženo 15. března 1961
PATENTNÍ spis
č. 100968
Třída 38 k,
Právo k využití vynálezu přísluší státu podle 3 odst. 6 zák. . 34/1957 JAROSLAV
GEBAUER a BOHUMIL PRES, oba
Stroj na složení kolíčků na prádlo z jednotlivých volných dílců
opatřených pružinkou.
Přihlášeno 2. května 1960 Pv 2874-60) . Platnost patentu od
2. května 1960
Vynález se týká stroje pro samočinné složení kolíčků na prádlo opatřených
pružinkou, jež se skládají ze dvou dřívek a šroubové pružinky s ramínky držícími obě
dřívka pružně pohromadě.
Složení těchto kolíčků na prádlo se až dosud provádělo ručně použitím
jednoduchých přípravků, jimiž se sice ulehčila určitá práce, na příklad při rozevírání
pružinek, avšak většina prací, jako na příklad seřazování dvojic dřívek kolíčku,
navlékání jednotlivých pružinek, se prováděla ručně. Rovněž byly sice navrženy stroje
pro složení kolíčků na prádlo, avšak dělník musel plnit seřazenými pružinkami
zásobníky a podobně musel seřazovat dvojice dřívek do zásobníku. -
U stroje na složení kolíčků na prádlo podle vynálezu jsou shora uváděné nevýhody
odstraněny tím, že se skládá z tělesa opatřeného výsuvným kolíčkem pro navlečení
pružinky a otočným segmentem pro rozevírání ramínek pružinky, mezi které jsou
seřazené dvojice dřívek kolíčků posouvány po vedení přerušovaně poháněnými válečky
z třídiče dřívek, přičemž před výsuvným kolíčkem tělesa vyúsťuje konec vedení se
seřazenými pružinkami, přiváděnými ze zásobníku pružinek. -
Strojem podle vynálezu je umožněno složení kolíčků na prádlo z volných, v
zásobnících se nacházejících dílců tím, že dílce jsou ze zásobníků přiváděny již v
poloze potřebné pro složení kolíčků, takže stroj pracuje zcela samočinně a práce
dělníka je omezena jen na dozor a doplňování zásobníků dílci. . - .
30
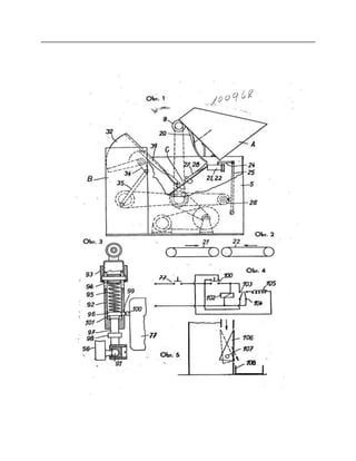
Na výkresech je schematicky znázorněn stroj podle vynálezu a značí: Obr. 1
pohled ze strany na stroj pro složení kolíčků na prádlo, obr: 2 pohled na
dopravník dřívek kolíčků, obr. 3 podélný řez táhlem ovládajícím segment pro
rozevírání pružinky, obr. 4 schéma zapojeného ústrojí pro odvádění zmetkových
kolíčků, obr. 5 pohled na klapku k odvádění zmetkových kolíčků, obr. 6 podélný
řez třídičem dřívek kolíčků, obr. 7 pohled zespodu na dno třídiče, obr. 8 pohled
na složený kolíček na prádlo, obr. 9 řez rovinou II podle obr. 7 v místě úpravy
šablon a šoupátka, obr. 10 týž řez v jiné poloze šoupátka, obr. 11 čelní pohled na
úpravu šoupátek, obr. 12 řez zásobníkem pružinek, obr. 13 příčný řez
zásobníkem pružinek, obr. 14 pohled na pružinku, obr. 15 příčný řez rovinou IIII
podle obr. 12, obr. 16 řez rovinou IIIIII podle obr. 12, obr. 17 pohled odpředu na
těleso pro rozevírání ramínek pružinky, obr. 18 podélný řez tělesem podle obr.
17 v poněkud menším měřítku a obr. 19 pohled ze strany na ústrojí pro pohon
jednotlivých částí stroje.
Stroj podle vynálezu slouží k samočinnému složení kolíčků na prádlo a skládá se
podle obr. 8 ze dvou dřívek 1, 2 a šroubové pružinky 3 s ramínky 4 (obr. 16). Jednotlivé
dílce kolíčků jsou v příslušných zásobnících a těchto jsou odváděny v příslušné poloze
k tělesu, kde se provádí montáž kolíčků. Jak znázorněno v obr. 1, skládá se stroj z pod
stavce , sloužícího zároveň jako skříň pro umístění hnacího ústrojí,
dále ze zásobníku a třídiče A dřívek, zásobníku B pružinek a ústrojí C pro montáž
kolíčků.
Třídič A dřívek, znázorněný v obr. 6 a 7, se skládá z kulaté nádoby , do níž se nasype
příslušné množství dřívek 1, 2. Nádoba 6 má pevné dno 7 a po obvodě dna se otáčí
pouze mezikruží , poháněné váčkovým kotoučem , do jehož drážky zabírají kladičky 10,
upevněné na mezikruží . Tímto způsobem je vyvoláván pohyb mezikruží po přítržích.
Mezikruží 8 je opatřeno na obvodě výřezy 11, které mají velikost bokorysu dřívka. Pro
dosažení lepšího pohybu a usnadnění zapadání jednotlivých dřívek do výřezu 11 jsou
před těmito upraveny klínovité výstupky 12 (obr. 11]. Při pohybu mezikruží zapadají
dřívka kolíčku hranou ve čtyřech možných polohách. Jelikož dřívka musí být pro další
montáž srovnána do polohy, při níž je umožněna montáž pružinky, jsou na dvou
místech upraveny pod výřezy 11 šablony 13, 14, kterými se musí protlačit příslušné
dřívko. Šablony 13, 14 mají průchodné otvory 15 podle přesného profilu dřívka, a to ve
všech čtyřech alternativách. V okamžiku zastavení otočného mezikruží 8 jsou tyto
profilované otvory 15 vždy pod příslušnými výřezy 11, do nichž jsou nabrána dřívka. V
okamžiku zastavení mezikruží 8 nad otvory 15 šablon 13, 14 se uvede v činnost ústrojí
k protlačování dřívek, znázorněné v obr. 9 až
11. Üstrojí se skládá ze dvou dvojic šoupátek 16, upevněných na 17, která je na svém
dolním konci opatřena podpěrou 18, tvořící pohyb
livé dno výřezu 11. Šoupátko 16 je na liště 17 upevněno posuvně proti
tahu pružiny 19. Podpěra 18 je upravena proto, aby při pootočení mezikruží 8
nedošlo k zaseknutí dřívek do výřezu 11.
· Jakmile se mezikruží 8 zastaví se svými výřezy 11 nad otvory 15 šablon 13,
14, pohybují se šoupátka 16 dolů a narazí na dřívka, nacházející se ve výřezech
11. Je-li poloha dřívek totožná s profilem otvoru . 15 příslušné šablóny,
propadnou dřívka otvorem dolů. Je-li však poloha dřívka jiná než profil otvoru
šablony, narazí šoupátko na dřívko, jež však nepropadne. Šoupátko 16 se
posune zpět proti tahu pružiny 19. Šoupátko se vrátí zpět a podpěra 18 vyplní
výřezy 11. Mezikruží 8 þootočí dále o jeden výřez 11. Každé dřívko musí takto
propadnout jedním ze čtyř profilovaných otvorů 15 šablon 13, 14. vytříděné
dřívko spadne do příslušného vedení 20 (obr. 6 a 11) ve tvaru trubice obdélní
100
130
3 - - 100968
kového průřezu. Dřívka padají zcela volně tímto
vedením 20. vedení 20 jë natočeno a tímto o sobě
známým způsobem se obrátí dřívka z polohy
· na hraně do příslušné polohy na plocho, potřebné pro další montáž.
Dvojice otvorů v jedné šabloně, např. 13, připravuje dřívka pro levou stranu
kolíčku, druhá šablona 14 pro pravou stranu. Z vedení 20 vypadávají dřívka již ve
správné poloze na dopravník, jenž se skládá ze dvou dopravních pásů 21, 22
(obr. 2), pohybujících se proti sobě. V případě, že dopravník je naplněn dřívky až
po maximální množství, uvede se v činnost pojistné zařízení proti, přeplnění.
Toto zařízení působí na
páčku 23, která se zasune do otvoru v podpěře 18(obr. ) a zamezí
pohyb Iišty 17 se šoupátky 16 při nepřerušeném pootáčenímezikruží 8
třídiče dřívek.
Z dopravních pásů 21, 23 jsou seřazená dřívka, a to levá a pravá, zasouvaná
vysouvačem 24 (obr. 1) ovládaným pákou 25, poháněnou vačkou 26 do příslušných
vedení 27, 28, v tomto natočena do opravné polohy a dopravena po dvojicích k
vlastnímu ústrojí pro spojení dřívek pružinkou, znázorněnému v obr. 17. K tomuto
ústrojí nutno podobně jako jednotlivá dřívka přivádět i příslušné pružinky nasypané do
zásobníku B (obr. 1). Třídič pružinek podle obr. 12, 13 se skládá z trychtýřovité nádoby
29, v níž jest nasypáno příslušné množství pružinek 3, znázorněných v obr. 14. Zúžené
dno nádoby. 29 má po délce mezi kolmými stěnami 30 mezeru 31, kterou prochází
kývavým pohybem nahoru (plně vytaženo) a dolů (čárkovaně) plochý segment 32,
otočný kolem čepu 33 a poháněný klikovým ústrojím 34, 35 (obr. 1). Horní hrana
segmentu je oboustranně opatřena lištami 36, mezi nimiž se utvoří drážka 37. Šířka této
drážky 37 je volena tak, aby do ní mohla vniknout jen ramínka 4 pružinek 3, nikoliv
však samotná stočená část pružinky, která má větší průměr. Při kýva
vém pohybu segmentu se tento zasouvá do nasypaných pružinek a při pohybu
segmentu nahoru zapadnou do drážky 37 v horní hraně segmen- tu pružinky . V
nejvyšší horní poloze segmentu navazuje na drážku 37 další drážka 38 vedení. 39 (obr.
16), v němž jsou vybrané pružinky přiváděny k místu C montáže kolíčků (obr. 1).
Poněvadž pružinky je nutno přivádět k montážnímu místu C v poloze o 130° pootočené,
je potřebným způsobem natočeno i vedení 39. Aby přitom pružinky 3 nevypadly z
drážky 38, jest tato přikrytá po celé své délce krytem 40 (obr. 16).
Ústrojí pro montáž kolíčku je znázorněno v obr. 17 až 19. Uprostřed základní desky
41 je namontováno těleso 42, které má na čelní ploše drážku 43 pro uložení a
přichycení spodního raménka 4 pružinky 3. V tělese 42 je posuvně uložena jehla 44, na
niž se navlékají pružinky 3, dopravované vedením 39. Jehla 44 je pohybována
dvouramennou pákou 45 přes kladičku 46 od vačky 47, uložené na hnacím hřídeli 48
(obr. 18 a 19). Páka 45 je uložena výkyvně na čepu 48 a její rameno 49 stojí pod tahem
pružiny 50.
Na tělese 42 je uloženo otočné pouzdro 51, na kterém je prostřednictvím nosiče 52
upevněn segment 53 pro rozevření ramének pružiny
. Pouzdro 51 je opatřeno ramenem 54, spojeným táhlem 55 (čerchovaně
naznačeno v obr. 19) s dvouramennou pákou 56 (obr. 18), uloženou na čepu 48 a
vychylovanou přes kladičku 57 od vačky 58, uložené na hřídeli 48. Na hřídeli 59,
uloženém v ložisku 60 (obr. 18), je upevněna páka 61 (obr. 17), nesoucí pružné
podávací kleštiny 62 pro přísun pružinek 3 a jejich navlečení na kolíček 44. Páka 61 s
kleštinami 62 je zvedána od vačky 63 (obr. 19) přes kladičku 64 a otáčená od vačky
přes kladičku 66. Kladičky 64 a 66 jsou upevněny na držáku 67, upevněném na hřídeli
59. Dále je před kolíčkem 44 tělesa 42 upraven při
140
150
170
180
4 100968
držovač 68 sloupce pružinek dopravovaných vedením 39. Přidržovač 68 je
uložen na hřídeli 69, uloženém v ložisku 70 (obr. 17 a 18)., Hřídel 69 je
natáčen pákou 71 s kladičkou 72 od vačky 73. Přidržovač 68 je přitlačován
k pružinkám neznázorněnou pružinou. Na hřídeli 48 je dále uložena vačka
74, ovládající přes kladičku 75 a páčku 76 spínač 77.
Na základní desce 41 jsou upevněna vedení 27, 28 (obr. 1) kolíčků, přičemž
dvojice dřívek kolíčku jsou přisouvány k místu montáže ve žlábku 78 (obr. 17),
kladičkami 79 (obr. 18), poháněnými hnacími hřídeli 80 od řemeniček 81'
hnaných řemenicí 82. Jak znázorněno v 18, jsou dílce kolíčku přitlačovány do
žlábku 78 přítlačnými kladičkami 83, stojícími pod tahem pružin 84. Do žlábku 78
se zasouvá v prostoru mezi kladičkami 79 doraz 85, ovládaný od vačky 86 (obr.
19) přes kladičku 87, páku 88 a hřídelík 89, uložený v ložisku 90. .
Aby byla zajištěna kontrola vadných pružinek při navlečení na dřívka kolíčků, je
použito pro pohon segmentu 53, rozevírajícího raménka pružiny 3 táhla 55. Páka 56 je
spojena kulovým čepem, 91 s táhlem 55, znázorněným v řezu v obr. 3. Táhlo se skládá
z pouzdra 92 se závitem, na němž se šroubuje matice 93. Matice 93 nese opěrku 94, o
niž se opírá jeden konec šroubové pružiny 95, jejíž druhý konec je opřen o kroužek 96,
spojený čepem 97 s kloubem 91. Na čepu je upraven nárazník 98. V pouzdře 92 je
upravena kulička 99, která je v klidové poloze táhla vytlačována z pouzdra a může
působit na kontakt 100, upevněný na pouzdru 92. Kroužek 96 je opatřen osazením 101,
za které může zapadnout. kulička 99. . . . . . -
Tlak pružiny 95 nastavíme pomocí matice 93 tak, aby při dobré pružince se stlačila
kulovým čepem 91 pružina 95 až po doraz nárazníku 98 na pouzdru 92. Tím se posune
i kroužek 96 s osazením 101, kulička 93 zapadne za osazení 101 a tým se přepne
kontakt 100. Po rozevření
pružinek se zapojí vačkou 74 spínač 77, tím se přivede proud do relátka
102 (obr. 4), které se přidrží pomocí kontaktů 103, a to i po otočení segmentu 53 do
výchozí polohy a tím i po zpětném přepnutí kontaktu 100. Při sepnutí kontaktu 100 se
zároveň rozepne kontakt 104, který přeruší proudový okruh elektromagnetu 105, který
přes neznázorněné pákové tyčoví ovládá klapku 106 (obr. 5), otočnou kolem čepu 107.
Při přerušení proudového okruhu zůstává elektromagnet 101 a tím i klapka
106 V klidu.
Je-li na jehle 44 tělesa 42 navlečena vadná (slabě pružící) pružinka , nezatlačí se
při rozevírání této pružinky kulový čep 91 dovnitř pouzdra 92. Kontakt 100 se nepřepne
a zapojením spínače 77 se uvede v činnost elektromagnet 105, klapka 106 se vychýlí
do čárkovaně ozna- čené polohy a vadný hotový kolíček na prádlo padne od
montážního místa do bedny 108 na zmetky. Po ukončení montážního cyklu se vypne
spínač 77 od vačky 77 a klapka 106 se vrátí do původní polohy.
Toto kontrolní ústrojí lze také zapojit tak, že klapka 106 se vychyluje při
dobrých pružinkách kolíčku na prádlo a při zmetcích zůstává v klidu. »
Stroj pracuje takto - Pružníky 3, nabírané horní hranou segmentu 32 ze
zásobníku B, sklouznou v nejvyšší poloze segmentu (obr. 12) do drážky 38
vedení 39 (obr. 16) a na konci tohoto vedení se přidrží přidržovačem 68.
Nejspodnější pružinka je po vychýlení přidržovače 68 uchopena kleštinami 62. a
navlečena na vysunutou jehlu 44 tělesa 42 a kleštiny . 62 se odsumou od
pružinky. Ostatní pružinky jsou ve vedení 34 přidrženy přidržovačem 68. Spodní
ramínko pružinky 3 zapadne do drážky 43 tělesa 42 (obr. 17 a 18) a horní
ramínko se vychyluje segmentem 53
190 a tím rozevírá do čárkovaně naznačené polohy. Dvojice dřívek 1, 2 ko
200
210
220
líčku jsou dopravované od třídiče dřívek A (obr. 1) vedením 27, 28 a kladičkami
79, 83 (obr. 18) až k dorazu 109 (obr. 17 a 18), ovládanému společně s jehlou
44. Segment se vrátí do výchozí polohy, pružinka 3
sevře dřívka 1, 2 jehla 44 se zasune do tělesa 42 a kladičky 79 vyhodí
hotový kolíček po klapce 106 do bedny.
Předmět patentu
1. Stroj na složení kolíčků na prádlo z jednotlivých volných dílců, opatřených
pružinkou, u kterého se mezi ramínka rozevřených pružinek zasunou sestavená dřívka
kolíčků, vyznačený tím, že se skládá z tělesa (42), opatřeného výsuvnou jehlou (44) pro
navlečení pružinky (3) a otočným segmentem (53) pro rozevírání ramínek pružinky,
mezi která jsou seřazené dvojice dřívek (1, 2kolíčku posouvány po vedení (27, 28)
přerušovaně poháněnými válečky (79) z třídiče (A) dřívek, přičemž před výsuvnou
jehlou (44) vyúsťuje konec vedení (39) se seřazenými pružinkami (3), přiváděnými ze
zásobníku (B] pružinek.
2. Stroj podle bodu 1 vyznačený tím, že vedení (39) pro přívod pružinek a vedení
(27, 28] pro přívod dřívek (1, 2) kolíčků probíhají
k sobě šikmo dolů k tělesu (42), takže pružinký a dřívka kolíčků jsou
přiváděny samospádem k místu montáže (C) kolíčků.
3. Stroj podle bodů 1 a 2 vyznačený tím, že otočný segment (53), rozevírající
ramínka (4) pružinek (3), je natáčem táhlem (55), sestávajícím z pouzdra (92),
posuvného vzhledem ke kulovému čepu (91), spojeného s hnací pákou (56), proti tlaku
pružiny (95), přičemž část 97] kulového čepu (9), pohybující se v pouzdru (92), je
opatřena nákružkem (96) s osazením (101), ovládajícím pomocí kuličky (99) kon
takt (100), působící na ústrojí pro odvádění kolíčků se zmetkovými
pružinkami.
. Stroj podle bodů 1 až 3 vyznačený tím, že před ústím vedení 39] pro přívod
pružinek je upraven jednak podavač pružinek, sestávající z kleštin (62), jednak
přidržovač (68) sloupce pružinek.
5. Stroj podle bodů 1 až 4 vyznačený tím, že pružinky (3) jsou nabírány ze
zásobníku (29) výkyvným segmentem (32), opatřeným na své horní hraně dvěma
lištami (36), mezi něž vnikají ramínka (4) pružinek (3), přičemž v rovině horní hrany
zvednutého segmentu (32) je na zásobníku upraveno vedení (39), sestávající ze dvou o
130° natočených lišt, přikrytých krytem (40) a končících před jehlou (44) tělesa 42] pro
rozevírání pružinek.
. Stroj podle bodů 1 až 5 vyznačený tím, že dřívka (1, 2), nabíraná ze zásobníku (6)
výřezy (11) otáčejícího se mezikruží (8), jsou protlačována na jednom místě zásobníku
dvojicemi šablon (13, 14) opatřených průchodovými otvory (15) podle přesného profilu
dřívek kolíčku, přičemž dřívka protlačená dvojicemi šablon jsou odváděna vedením (20)
na dva proti sobě se pohybující dopravní pásy (21, 22] a z těchto ve dvojicích
vysouvaná vysouvačem (24) do vedení (27, 28), jimiž jsou seřazená dřívka kolíčku
dopravována k tělesu (42) s rozevřenou pružinkou.
. Stroj podle bodů 1 až 6 vyznačený tím, že k protlačování dřívek kolíčků
otvory (15) šablon (13, 14) je použito odpružených šoupátek 16), spojených s
podpěrou (18), tvořící posuvné dno průchodového otvoru šablony.
Severografia, n. p, závod 03
Obr. 1
Obr. 4
Obr. 6 .
Příloha k patentnímu spisu čís. 100968
Obr.17
-
Obr. 1 8

100968

  • 2.
    10 20 československá socialistickÁ REPUBLIKA vydáno 15.září 1881 Vyloženo 15. března 1961 PATENTNÍ spis č. 100968 Třída 38 k, Právo k využití vynálezu přísluší státu podle 3 odst. 6 zák. . 34/1957 JAROSLAV GEBAUER a BOHUMIL PRES, oba Stroj na složení kolíčků na prádlo z jednotlivých volných dílců opatřených pružinkou. Přihlášeno 2. května 1960 Pv 2874-60) . Platnost patentu od 2. května 1960 Vynález se týká stroje pro samočinné složení kolíčků na prádlo opatřených pružinkou, jež se skládají ze dvou dřívek a šroubové pružinky s ramínky držícími obě dřívka pružně pohromadě. Složení těchto kolíčků na prádlo se až dosud provádělo ručně použitím jednoduchých přípravků, jimiž se sice ulehčila určitá práce, na příklad při rozevírání pružinek, avšak většina prací, jako na příklad seřazování dvojic dřívek kolíčku, navlékání jednotlivých pružinek, se prováděla ručně. Rovněž byly sice navrženy stroje pro složení kolíčků na prádlo, avšak dělník musel plnit seřazenými pružinkami zásobníky a podobně musel seřazovat dvojice dřívek do zásobníku. - U stroje na složení kolíčků na prádlo podle vynálezu jsou shora uváděné nevýhody odstraněny tím, že se skládá z tělesa opatřeného výsuvným kolíčkem pro navlečení
  • 3.
    pružinky a otočnýmsegmentem pro rozevírání ramínek pružinky, mezi které jsou seřazené dvojice dřívek kolíčků posouvány po vedení přerušovaně poháněnými válečky z třídiče dřívek, přičemž před výsuvným kolíčkem tělesa vyúsťuje konec vedení se seřazenými pružinkami, přiváděnými ze zásobníku pružinek. - Strojem podle vynálezu je umožněno složení kolíčků na prádlo z volných, v zásobnících se nacházejících dílců tím, že dílce jsou ze zásobníků přiváděny již v poloze potřebné pro složení kolíčků, takže stroj pracuje zcela samočinně a práce dělníka je omezena jen na dozor a doplňování zásobníků dílci. . - .
  • 5.
    30 Na výkresech jeschematicky znázorněn stroj podle vynálezu a značí: Obr. 1 pohled ze strany na stroj pro složení kolíčků na prádlo, obr: 2 pohled na dopravník dřívek kolíčků, obr. 3 podélný řez táhlem ovládajícím segment pro rozevírání pružinky, obr. 4 schéma zapojeného ústrojí pro odvádění zmetkových kolíčků, obr. 5 pohled na klapku k odvádění zmetkových kolíčků, obr. 6 podélný řez třídičem dřívek kolíčků, obr. 7 pohled zespodu na dno třídiče, obr. 8 pohled na složený kolíček na prádlo, obr. 9 řez rovinou II podle obr. 7 v místě úpravy šablon a šoupátka, obr. 10 týž řez v jiné poloze šoupátka, obr. 11 čelní pohled na úpravu šoupátek, obr. 12 řez zásobníkem pružinek, obr. 13 příčný řez zásobníkem pružinek, obr. 14 pohled na pružinku, obr. 15 příčný řez rovinou IIII podle obr. 12, obr. 16 řez rovinou IIIIII podle obr. 12, obr. 17 pohled odpředu na těleso pro rozevírání ramínek pružinky, obr. 18 podélný řez tělesem podle obr. 17 v poněkud menším měřítku a obr. 19 pohled ze strany na ústrojí pro pohon jednotlivých částí stroje. Stroj podle vynálezu slouží k samočinnému složení kolíčků na prádlo a skládá se podle obr. 8 ze dvou dřívek 1, 2 a šroubové pružinky 3 s ramínky 4 (obr. 16). Jednotlivé dílce kolíčků jsou v příslušných zásobnících a těchto jsou odváděny v příslušné poloze k tělesu, kde se provádí montáž kolíčků. Jak znázorněno v obr. 1, skládá se stroj z pod stavce , sloužícího zároveň jako skříň pro umístění hnacího ústrojí, dále ze zásobníku a třídiče A dřívek, zásobníku B pružinek a ústrojí C pro montáž kolíčků. Třídič A dřívek, znázorněný v obr. 6 a 7, se skládá z kulaté nádoby , do níž se nasype příslušné množství dřívek 1, 2. Nádoba 6 má pevné dno 7 a po obvodě dna se otáčí pouze mezikruží , poháněné váčkovým kotoučem , do jehož drážky zabírají kladičky 10, upevněné na mezikruží . Tímto způsobem je vyvoláván pohyb mezikruží po přítržích. Mezikruží 8 je opatřeno na obvodě výřezy 11, které mají velikost bokorysu dřívka. Pro dosažení lepšího pohybu a usnadnění zapadání jednotlivých dřívek do výřezu 11 jsou před těmito upraveny klínovité výstupky 12 (obr. 11]. Při pohybu mezikruží zapadají dřívka kolíčku hranou ve čtyřech možných polohách. Jelikož dřívka musí být pro další montáž srovnána do polohy, při níž je umožněna montáž pružinky, jsou na dvou místech upraveny pod výřezy 11 šablony 13, 14, kterými se musí protlačit příslušné dřívko. Šablony 13, 14 mají průchodné otvory 15 podle přesného profilu dřívka, a to ve všech čtyřech alternativách. V okamžiku zastavení otočného mezikruží 8 jsou tyto profilované otvory 15 vždy pod příslušnými výřezy 11, do nichž jsou nabrána dřívka. V okamžiku zastavení mezikruží 8 nad otvory 15 šablon 13, 14 se uvede v činnost ústrojí k protlačování dřívek, znázorněné v obr. 9 až
  • 6.
    11. Üstrojí seskládá ze dvou dvojic šoupátek 16, upevněných na 17, která je na svém dolním konci opatřena podpěrou 18, tvořící pohyb livé dno výřezu 11. Šoupátko 16 je na liště 17 upevněno posuvně proti tahu pružiny 19. Podpěra 18 je upravena proto, aby při pootočení mezikruží 8 nedošlo k zaseknutí dřívek do výřezu 11. · Jakmile se mezikruží 8 zastaví se svými výřezy 11 nad otvory 15 šablon 13, 14, pohybují se šoupátka 16 dolů a narazí na dřívka, nacházející se ve výřezech 11. Je-li poloha dřívek totožná s profilem otvoru . 15 příslušné šablóny, propadnou dřívka otvorem dolů. Je-li však poloha dřívka jiná než profil otvoru šablony, narazí šoupátko na dřívko, jež však nepropadne. Šoupátko 16 se posune zpět proti tahu pružiny 19. Šoupátko se vrátí zpět a podpěra 18 vyplní výřezy 11. Mezikruží 8 þootočí dále o jeden výřez 11. Každé dřívko musí takto propadnout jedním ze čtyř profilovaných otvorů 15 šablon 13, 14. vytříděné dřívko spadne do příslušného vedení 20 (obr. 6 a 11) ve tvaru trubice obdélní
  • 8.
    100 130 3 - -100968 kového průřezu. Dřívka padají zcela volně tímto vedením 20. vedení 20 jë natočeno a tímto o sobě známým způsobem se obrátí dřívka z polohy · na hraně do příslušné polohy na plocho, potřebné pro další montáž. Dvojice otvorů v jedné šabloně, např. 13, připravuje dřívka pro levou stranu kolíčku, druhá šablona 14 pro pravou stranu. Z vedení 20 vypadávají dřívka již ve správné poloze na dopravník, jenž se skládá ze dvou dopravních pásů 21, 22 (obr. 2), pohybujících se proti sobě. V případě, že dopravník je naplněn dřívky až po maximální množství, uvede se v činnost pojistné zařízení proti, přeplnění. Toto zařízení působí na páčku 23, která se zasune do otvoru v podpěře 18(obr. ) a zamezí pohyb Iišty 17 se šoupátky 16 při nepřerušeném pootáčenímezikruží 8 třídiče dřívek. Z dopravních pásů 21, 23 jsou seřazená dřívka, a to levá a pravá, zasouvaná vysouvačem 24 (obr. 1) ovládaným pákou 25, poháněnou vačkou 26 do příslušných vedení 27, 28, v tomto natočena do opravné polohy a dopravena po dvojicích k vlastnímu ústrojí pro spojení dřívek pružinkou, znázorněnému v obr. 17. K tomuto ústrojí nutno podobně jako jednotlivá dřívka přivádět i příslušné pružinky nasypané do zásobníku B (obr. 1). Třídič pružinek podle obr. 12, 13 se skládá z trychtýřovité nádoby 29, v níž jest nasypáno příslušné množství pružinek 3, znázorněných v obr. 14. Zúžené dno nádoby. 29 má po délce mezi kolmými stěnami 30 mezeru 31, kterou prochází kývavým pohybem nahoru (plně vytaženo) a dolů (čárkovaně) plochý segment 32, otočný kolem čepu 33 a poháněný klikovým ústrojím 34, 35 (obr. 1). Horní hrana segmentu je oboustranně opatřena lištami 36, mezi nimiž se utvoří drážka 37. Šířka této drážky 37 je volena tak, aby do ní mohla vniknout jen ramínka 4 pružinek 3, nikoliv však samotná stočená část pružinky, která má větší průměr. Při kýva vém pohybu segmentu se tento zasouvá do nasypaných pružinek a při pohybu segmentu nahoru zapadnou do drážky 37 v horní hraně segmen- tu pružinky . V nejvyšší horní poloze segmentu navazuje na drážku 37 další drážka 38 vedení. 39 (obr. 16), v němž jsou vybrané pružinky přiváděny k místu C montáže kolíčků (obr. 1).
  • 9.
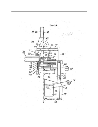
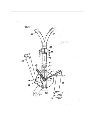
    Poněvadž pružinky jenutno přivádět k montážnímu místu C v poloze o 130° pootočené, je potřebným způsobem natočeno i vedení 39. Aby přitom pružinky 3 nevypadly z drážky 38, jest tato přikrytá po celé své délce krytem 40 (obr. 16). Ústrojí pro montáž kolíčku je znázorněno v obr. 17 až 19. Uprostřed základní desky 41 je namontováno těleso 42, které má na čelní ploše drážku 43 pro uložení a přichycení spodního raménka 4 pružinky 3. V tělese 42 je posuvně uložena jehla 44, na niž se navlékají pružinky 3, dopravované vedením 39. Jehla 44 je pohybována dvouramennou pákou 45 přes kladičku 46 od vačky 47, uložené na hnacím hřídeli 48 (obr. 18 a 19). Páka 45 je uložena výkyvně na čepu 48 a její rameno 49 stojí pod tahem pružiny 50. Na tělese 42 je uloženo otočné pouzdro 51, na kterém je prostřednictvím nosiče 52 upevněn segment 53 pro rozevření ramének pružiny . Pouzdro 51 je opatřeno ramenem 54, spojeným táhlem 55 (čerchovaně naznačeno v obr. 19) s dvouramennou pákou 56 (obr. 18), uloženou na čepu 48 a vychylovanou přes kladičku 57 od vačky 58, uložené na hřídeli 48. Na hřídeli 59, uloženém v ložisku 60 (obr. 18), je upevněna páka 61 (obr. 17), nesoucí pružné podávací kleštiny 62 pro přísun pružinek 3 a jejich navlečení na kolíček 44. Páka 61 s kleštinami 62 je zvedána od vačky 63 (obr. 19) přes kladičku 64 a otáčená od vačky přes kladičku 66. Kladičky 64 a 66 jsou upevněny na držáku 67, upevněném na hřídeli 59. Dále je před kolíčkem 44 tělesa 42 upraven při
  • 11.
    140 150 170 180 4 100968 držovač 68sloupce pružinek dopravovaných vedením 39. Přidržovač 68 je uložen na hřídeli 69, uloženém v ložisku 70 (obr. 17 a 18)., Hřídel 69 je natáčen pákou 71 s kladičkou 72 od vačky 73. Přidržovač 68 je přitlačován k pružinkám neznázorněnou pružinou. Na hřídeli 48 je dále uložena vačka 74, ovládající přes kladičku 75 a páčku 76 spínač 77. Na základní desce 41 jsou upevněna vedení 27, 28 (obr. 1) kolíčků, přičemž dvojice dřívek kolíčku jsou přisouvány k místu montáže ve žlábku 78 (obr. 17), kladičkami 79 (obr. 18), poháněnými hnacími hřídeli 80 od řemeniček 81' hnaných řemenicí 82. Jak znázorněno v 18, jsou dílce kolíčku přitlačovány do žlábku 78 přítlačnými kladičkami 83, stojícími pod tahem pružin 84. Do žlábku 78 se zasouvá v prostoru mezi kladičkami 79 doraz 85, ovládaný od vačky 86 (obr. 19) přes kladičku 87, páku 88 a hřídelík 89, uložený v ložisku 90. . Aby byla zajištěna kontrola vadných pružinek při navlečení na dřívka kolíčků, je použito pro pohon segmentu 53, rozevírajícího raménka pružiny 3 táhla 55. Páka 56 je spojena kulovým čepem, 91 s táhlem 55, znázorněným v řezu v obr. 3. Táhlo se skládá z pouzdra 92 se závitem, na němž se šroubuje matice 93. Matice 93 nese opěrku 94, o niž se opírá jeden konec šroubové pružiny 95, jejíž druhý konec je opřen o kroužek 96, spojený čepem 97 s kloubem 91. Na čepu je upraven nárazník 98. V pouzdře 92 je upravena kulička 99, která je v klidové poloze táhla vytlačována z pouzdra a může působit na kontakt 100, upevněný na pouzdru 92. Kroužek 96 je opatřen osazením 101, za které může zapadnout. kulička 99. . . . . . - Tlak pružiny 95 nastavíme pomocí matice 93 tak, aby při dobré pružince se stlačila kulovým čepem 91 pružina 95 až po doraz nárazníku 98 na pouzdru 92. Tím se posune i kroužek 96 s osazením 101, kulička 93 zapadne za osazení 101 a tým se přepne kontakt 100. Po rozevření pružinek se zapojí vačkou 74 spínač 77, tím se přivede proud do relátka 102 (obr. 4), které se přidrží pomocí kontaktů 103, a to i po otočení segmentu 53 do výchozí polohy a tím i po zpětném přepnutí kontaktu 100. Při sepnutí kontaktu 100 se zároveň rozepne kontakt 104, který přeruší proudový okruh elektromagnetu 105, který přes neznázorněné pákové tyčoví ovládá klapku 106 (obr. 5), otočnou kolem čepu 107. Při přerušení proudového okruhu zůstává elektromagnet 101 a tím i klapka
  • 12.
    106 V klidu. Je-lina jehle 44 tělesa 42 navlečena vadná (slabě pružící) pružinka , nezatlačí se při rozevírání této pružinky kulový čep 91 dovnitř pouzdra 92. Kontakt 100 se nepřepne a zapojením spínače 77 se uvede v činnost elektromagnet 105, klapka 106 se vychýlí do čárkovaně ozna- čené polohy a vadný hotový kolíček na prádlo padne od montážního místa do bedny 108 na zmetky. Po ukončení montážního cyklu se vypne spínač 77 od vačky 77 a klapka 106 se vrátí do původní polohy. Toto kontrolní ústrojí lze také zapojit tak, že klapka 106 se vychyluje při dobrých pružinkách kolíčku na prádlo a při zmetcích zůstává v klidu. » Stroj pracuje takto - Pružníky 3, nabírané horní hranou segmentu 32 ze zásobníku B, sklouznou v nejvyšší poloze segmentu (obr. 12) do drážky 38 vedení 39 (obr. 16) a na konci tohoto vedení se přidrží přidržovačem 68. Nejspodnější pružinka je po vychýlení přidržovače 68 uchopena kleštinami 62. a navlečena na vysunutou jehlu 44 tělesa 42 a kleštiny . 62 se odsumou od pružinky. Ostatní pružinky jsou ve vedení 34 přidrženy přidržovačem 68. Spodní ramínko pružinky 3 zapadne do drážky 43 tělesa 42 (obr. 17 a 18) a horní ramínko se vychyluje segmentem 53 190 a tím rozevírá do čárkovaně naznačené polohy. Dvojice dřívek 1, 2 ko
  • 14.
    200 210 220 líčku jsou dopravovanéod třídiče dřívek A (obr. 1) vedením 27, 28 a kladičkami 79, 83 (obr. 18) až k dorazu 109 (obr. 17 a 18), ovládanému společně s jehlou 44. Segment se vrátí do výchozí polohy, pružinka 3 sevře dřívka 1, 2 jehla 44 se zasune do tělesa 42 a kladičky 79 vyhodí hotový kolíček po klapce 106 do bedny. Předmět patentu 1. Stroj na složení kolíčků na prádlo z jednotlivých volných dílců, opatřených pružinkou, u kterého se mezi ramínka rozevřených pružinek zasunou sestavená dřívka kolíčků, vyznačený tím, že se skládá z tělesa (42), opatřeného výsuvnou jehlou (44) pro navlečení pružinky (3) a otočným segmentem (53) pro rozevírání ramínek pružinky, mezi která jsou seřazené dvojice dřívek (1, 2kolíčku posouvány po vedení (27, 28) přerušovaně poháněnými válečky (79) z třídiče (A) dřívek, přičemž před výsuvnou jehlou (44) vyúsťuje konec vedení (39) se seřazenými pružinkami (3), přiváděnými ze zásobníku (B] pružinek. 2. Stroj podle bodu 1 vyznačený tím, že vedení (39) pro přívod pružinek a vedení (27, 28] pro přívod dřívek (1, 2) kolíčků probíhají k sobě šikmo dolů k tělesu (42), takže pružinký a dřívka kolíčků jsou přiváděny samospádem k místu montáže (C) kolíčků. 3. Stroj podle bodů 1 a 2 vyznačený tím, že otočný segment (53), rozevírající ramínka (4) pružinek (3), je natáčem táhlem (55), sestávajícím z pouzdra (92), posuvného vzhledem ke kulovému čepu (91), spojeného s hnací pákou (56), proti tlaku pružiny (95), přičemž část 97] kulového čepu (9), pohybující se v pouzdru (92), je opatřena nákružkem (96) s osazením (101), ovládajícím pomocí kuličky (99) kon takt (100), působící na ústrojí pro odvádění kolíčků se zmetkovými pružinkami. . Stroj podle bodů 1 až 3 vyznačený tím, že před ústím vedení 39] pro přívod pružinek je upraven jednak podavač pružinek, sestávající z kleštin (62), jednak přidržovač (68) sloupce pružinek. 5. Stroj podle bodů 1 až 4 vyznačený tím, že pružinky (3) jsou nabírány ze zásobníku (29) výkyvným segmentem (32), opatřeným na své horní hraně dvěma lištami (36), mezi něž vnikají ramínka (4) pružinek (3), přičemž v rovině horní hrany zvednutého segmentu (32) je na zásobníku upraveno vedení (39), sestávající ze dvou o
  • 15.
    130° natočených lišt,přikrytých krytem (40) a končících před jehlou (44) tělesa 42] pro rozevírání pružinek. . Stroj podle bodů 1 až 5 vyznačený tím, že dřívka (1, 2), nabíraná ze zásobníku (6) výřezy (11) otáčejícího se mezikruží (8), jsou protlačována na jednom místě zásobníku dvojicemi šablon (13, 14) opatřených průchodovými otvory (15) podle přesného profilu dřívek kolíčku, přičemž dřívka protlačená dvojicemi šablon jsou odváděna vedením (20) na dva proti sobě se pohybující dopravní pásy (21, 22] a z těchto ve dvojicích vysouvaná vysouvačem (24) do vedení (27, 28), jimiž jsou seřazená dřívka kolíčku dopravována k tělesu (42) s rozevřenou pružinkou. . Stroj podle bodů 1 až 6 vyznačený tím, že k protlačování dřívek kolíčků otvory (15) šablon (13, 14) je použito odpružených šoupátek 16), spojených s podpěrou (18), tvořící posuvné dno průchodového otvoru šablony. Severografia, n. p, závod 03
  • 17.
  • 19.
  • 21.
    Příloha k patentnímuspisu čís. 100968
  • 23.
  • 25.