10
ČeskoslovenskÁ socIALISTICKÁ REPUBLIKA
o Rad pro par enty a vynálezy
vydáno 15. července 1961
Vyloženo 15. ledna 1961
PATENTNÍ č. 100273
tria, 21 c, 3/14
Právo k využití vynálezu přísluší státu podle 3 odst. 6 zák. .
34/1957 Sb.
: MIROSLAV GOTTWALD,BRNO • zařízenípro označování
elektrickýchvodičů
Přihlášeno 25. března 1960 (Pv 2018-60) Platnost patentu od 25. března
1960
Vynález se týká označování elektrických vodičů používaných při výrobě traktorů,
automobilů a při výrobě různých strojních a elektric
kých zařízení. Vodičę, opatřené kovovými štítky v podobě kroužků, ovi
nutých kolem vodiče, s vyraženými čísly nebo různými značkami, může snadno, i neodborník podle
elektrického schématu správně zapojit k označeným svorkám. . . .
Dosud se tyto práce provádějí tím způsobem, že nastříhané jednotlivé plíšky, opatřené patřičným
číslem nebo značkou, se vkládají buď rovné, nebo předehnuté pod lis, na ně se vloží elektrický vodič,
načež se provede ovinutí plíšku. V jiném případě se též používá označených kovových pásků, které jsou
na jednom konci opatřeny podlouhlým otvorem a na druhém konci jsou zúženy. Pásek se ovine kolem
vodiče, zúžený konec se provlékne otvorem, pásek kolem vodiče se utáhne a upevní přehnutím
zúženého konce.
Pro označování vodičů se používá ještě jiných výlisků, které se musí nakoneč
společně s vodičem zpracovat.
Nevýhodou těchto způsobů práce je, že vlastní označování vodičů předchází výroba
různých výlisků a poněvadž se jedná o poměrně drobné součástky, další zpracování je velmi
pracné a zdlouhavé. Dále tyto práce výžadují neustálou pečlivou kontrolu, aby náhodou v sérii
výlisků s určitým číslem nebyla zamíchána též čísla jiná. . . . . .
. . . Navržené řešení podle vynálezu podstatně snižuje pracnost, poně
40
2 100273
vadž posunutí hliníkového pásku, vyražení čísla, ustřižení a ovinutí pásku kolem vodiče se
provede současně za jednu otáčku, přičemž na vodičů je zaručena správnost označení podle
nastavení na čísel-
Zařízení pro označování elektrických vodičů v podstatě sestává z posouvací a razicí
části a z výměnných hlav pro určitý průřez vodiče.
V tělese výměnné hlavy je uložen rozříznutý prstenec, ve kterém jsou umístěny dvě proti
sobě se točící čelisti, které způsobují ustřižení hliníkového pásku a ovínutí kolem vodiče. Na
přírubách čelistí jsou
upevněna ozubená kola, zabírající s ozubenými tyčemi spojenými na
obou koncích třmeny. V klidovém stavu horní třmen působí na páčku, která zvedá odpruženou
opěru vodiče. Pracovní pohyb ozubených tyčí je odvozen od vačky výměnných hlav přes
odpruženou vložku, uloženou
ve spodním třmenu. Zpětný pohyb obstarává vratná pružina.
Posouvací část sestává z rýhovaného kolečka, umístěného mezi dvěma třecími kotouči, které jsou
ovládány unášecí tyčí. Jeden konec unášecí tyče je odpružen a druhý konec dosedá na pružinu a na
stavitelný doraz. Pohyb unášecí tyče je odvozen od vačky posouvací části.
Razicí část sestává ze zásobníkového otočného bubínku s vloženými razníky čísel, doléhajícího na
kruhovou desku, a z válcového kladiva, v jehož horní duté části je umístěna pružina, která je jedním
koncem opřena o kruhovou desku a druhým koncem o stavěcí šroub. Hliníkový pásek prochází mezi
kruhovou deskou a razníkem čísla. Válcové kladivo je v místě kruhové desky a otočného bubínku s
ohledem na zdvih patřičně vybráno. Pohyb kladiva je odvozen od vačky razicí části. Deformace
hliníkového pásku po vyražení čísla se vyrovnává vyrovnávacími kladkami.
Obr. 1 představuje celkové uspořádání zařízení pro označování elektrických vodičů; .
obr. 2 znázorňuje schematicky skříň části pro označování elektrických vodičů;
obr. 3 je příčný řez razicí částí; obr. 4 je uspořádání jednotlivých vaček na společném hřídeli; obr. 5 je
svislý řez výměnnou hlavou; obr. 6 je příčný řez výměnnou hlavou; obr. 7 znázorňuje zvětšený detail
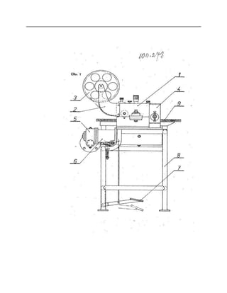
obou čelistí ve výměnné hlavě. Podle obr. 1 zařízení pro označování elektrických vodičů sestává ze
skříně 1, na které je připevněna konsola 2 pro uložení kotouče 3 s navinutým hliníkovým páskem. Ke
skříni je připevněna výměnná hlava , ve které se provádí stříhání pásku na stanovenou délku a ovinutí
pásku kolem vodiče. Náhon celého zařízení se děje přírubovým elektromotorem a šnekovou skříní.5
(převod 23a vypínacím zařízením, fi. Vypínací zařízení na jednu otáčku je ovládáno nožním pedálem 7 a
je řešeno podobným způsobem jako u výstředníkových lisů. Celé zařízení je ženo na levé straně
trubkového stojanu . Na pravé straně nahoře stojanu je upevněna odkládací deska 9 pro uložení vodičů.
Čistý strojní čas, potřebný k posunutí pásku, vyražení čísla a ovinutí kolem vodiče,
je 1,6 vteřiny. Práce se provádí vsedě. .
Na obr. 2 je schematicky znázorněna skříň části pro označování elektrických vodičů
(podle obr. 1 označeno 1), kde je patrna posouvací a razicí část. Z výrobních důvodů je
složena ze třech dílů.
Na spodku horního đílu 10 vyfrézována drážka pro vedení hliníkového pásku 11.
Střední dfl 12 tvoří mezičlánek s vačkovou skříní , . Pohyb posouvàcí částí způsobuje
vačka 14. Otáčením vačky 14 postupuje směrem nejdříve odpružený konec tyče 17 až
na doraz
110
130
3 100273
unášecí tyče 18, načež nastává pohyb unášecí tyče 18. vlivem stlačené pružiny 19. Výřezy v
unášecí tyči 18 unášejí s sebou kolíky 20, pevně spojené s třecími kotouči 21, mezi nimiž je
uloženo rýhované kolečko 22. Hliníkový pásek 11 je přitlačován na rýhované kolečko 22
odpruže
nou kladičkou 23. Pootočením rýhovaného kolečka 22 nästává posuv hli
níkového pásku 11. Vzápětí nastává vyražení čísla. Razník čísla 27 zů
stává po určitou dobu přitlačen na hlíníkový pásek 11. Mezi touto do
bou vlivem vačky 14 postupuje unášecí 18 opět nahoru, unáší s sebou třecí kotouče 21. Rýhované
kolečko 22 stojí, poněvadž hliníkový pásek 11 je proti zpětnému posunutí zajištěn razníkem čísla 27.
Unášecí tyč 18 postupuje až po nastavený doraz 24. Zbytek stoupání vačky 14 se ztrácí odpružením
konce tyče 17 pružinou 25.
Velikost posuvu se řídí podle toho, jak hluboko je nastaven doraz 24. K rychlému, nastavení
dorazu 24 slouží stupňovitá podložka 26 (podie průměru vodiče. -
Ražení čísel na hliníkový pásek 11 se děje pomocí razníků 27, které jsou uloženy v zásobníkovém
otočném bubínku 28, doléhajícím na pevnou kruhovou desku 29. Kruhová deska 23 je pevně spojena s
horní částí skříně 10 a. tvoří tak tvrdý podklad pro ražení čísel. Hliníkový pásek 11 prochází mezi
kruhovou deskou 29 a razníkem 27. Rázy na razníky čísel 27 vykonává odpružené válcové kladivo 30,
které v místě kruhové, desky a otočného bubínku je patřičně vybráno s ohledem na zdvih kladiva (viz obr.
3]. Pružina je umístěna v horní duté části kladiva a je opřena jedním koncem o kruhovou desku a druhým
o stavěcí šroub. Napnutí pružiny 31 pro úder válcového kladiva 30 je způsobeno vačkou 15. Síla úderu
válcového kladiva 30 se řídí napnutím pružíny 31 pomocí stavěcího šroubu 32. Deformace hliníkového
pásku 11 po vyražení čísla se vyrovnává pomocí vyrovnávacích kladek, z nichž dvě jsou pevné 33 a
jedna stavitelná 34.
Skříň je opatřena kolíkem 35, drážkou 36 a upínkou se šroubem 37
k rychlé výměně a upnutí výměnné hlavy (viz též obr. 1, ozn. 4). .
. Na obr. 4 je patrno uspořádání jednotlivých vaček 14, 15, 16. Čin- .
nost vaček 14 a 15 byla již popsána. Vačka 16 je určena pro výměnnou hlavu (obr. 1, ozn. 4) a způsobuje
stříhání hliníkového pásku a ovinutí kolem vodiče. ,
Na obr. 5 je znázorněn svislý řez a na obr. 6 příčný řez výměnnou hlavou (obr. 1, ozn. 4).
Uprostřed tělesa hlavy 38 je uložen rozříznutý prstenec 39, jehož rozříznutí tvoří vstup hliníkového
pásku 11 a hrama na vnitřním průmě
ru je hranou řeznou. Vnitřní průměr prstence se rovná délce hliníko
vého pásku, potřebné k ovinutí elektrického vodiče. Uvnitř prstence je uložena jedna čelist řezná a
současně chýbací 40 a druhá čelist ohýbací 41. Na příruby obou čelistí 40 a 41 jsou upevněna ozubená
kola 42, která zabírají do ozubených tyčí 43. Ozubené tyče 43 jsou na obou koncích pevně spojeny
třmeny 44 a 45. Ve výchozí poloze třmen 44 stlačuje páčku 46, uloženou v rozříznutém kroužku 47.
Páčka 46 odpru- : ženou opěru vodiče 48, která prochází drážkou v prstenci 39. Tím elek- trický vodič 49
lze volně nasunout přes otvory ve víčku 50 a v čepu víčka 51. Malým pozvednutím ozubených tyčí 43 se
páčka 46 uvolní a opěra vodiče 48 přitlačí elektrický vodič 49 na spodní hranu volného otvoru ve víčkách.
Dalším zvedáním ozubených tyčí 43 nastává otáčení čelistí 40 a 41 navzájem proti sobě. Rezná čelist 40
ustříhne hliníkový pásek 11 a vnější okraje čelistí 40 a 41 způsobují ovinutí vodiče 49 hliníkovým páskem
a jeho utažení. Současně v této době, při natočení čelistí asi o 60°, třmen 44 počne s sebou unášet opěru
vodiče 48, aby se čelisti mohly uzavřít.
140
150
160
4 100273
Pohyb ozubených tyčí 43 je odvozen od vačky 16 (viz obr. 2, 4) přes stavěcí šroub 52,
vložku 53 a pružinu 54. Pružina 54 vylučuje tvrdý dosed obou čelistí a tím jejich poškození. Síla
pružiny je taková, aby
stačila k utažení hliníkového pásku. - Zpětný pohyb celého mechanismu obstarává
pružina 55. Víčko 51 je opatřeno rychlouzávěrem pro snädné vyjmutí ohýbací čelisti 41
v případě, že ustřižení a ohnutí hliníkového pásku bylo provedeno bez vodiče a
smáčknutý plíšek zůstal uvnitř čelisti. -
.. Na obr. 7 je znázorněn zvětšený detail obou čelistí.40 a 41. Konce hliníkového pásku
11 při ovinování vodiče 49 sledují evolventu, která zčásti je nahrazena kruhovým
prstencem 39. Rozdíl mezi evolventou a kruhovým prstencem 39 je tak malý, že jej lze
zanedbat, poněvadž se vyrovná prohnutím hliníkovéhò pásku směrem dovnitř, načež je
potom
dotažen na vodič.
Předmět patentu
Zařízení pro označování elektrických vodičů, sestávající z oposouvací a razicí části a
výměnné hlavy, vyznačené tím, že výměnná hlava sestává z rózříznutého prstence (39), ve
kterém jsou umístěny dvě proti sobě se točící čelisti (40, 41), na jejichž přírubách jsou
upevněna bzubená kola (42), zabírající s ozubenými tyčemi (43), kterými je ovládána pomocí
páčky 46) odpružená opěra vodiče (48), přičemž pohyb ozubených tyčí je odvozen od vačky
výměnných hlav (16) pomocí odpružené vložky (53), a vratné pružiny (55), a že posouvací část
sestává z rýhovaného kolečka (22), umístěného mezi dvěma třecími kotouči (21), které jsou
ovládány unášecí tyčí (18) s jedním odpruženým koncem (17), která druhým koncem đosedá na
pružinu (19) s dorażem (24), přičemž pohyb unášecí tyče je odvozen od vačky posouvací části
14), a že razicí část sestává ze zásobníkového otočného bubínku (28). s vloženými razníky,
čísel (27), doléhajícího na kruhovou desku (29), . a z válcového kladiva (30), v jehož horní duté
části je umístěna pružina (31), která je jedním koncem opřena o kruhovou desku. [29] a druhým
koncem o stavěcí šroub (32), přičemž pohyb kladiva je odvozen od vačky razicí části (15) a
hliníkový pásek je vyrovnáván kladkami (33, 34).
Severografia, n. p, závod 03:
Příloha k patentnimu spisu Čís. 100273
Obr. 2
29
28
Obr. 4 .
Obr. 3

100273

  • 2.
    10 ČeskoslovenskÁ socIALISTICKÁ REPUBLIKA oRad pro par enty a vynálezy vydáno 15. července 1961 Vyloženo 15. ledna 1961 PATENTNÍ č. 100273 tria, 21 c, 3/14 Právo k využití vynálezu přísluší státu podle 3 odst. 6 zák. . 34/1957 Sb. : MIROSLAV GOTTWALD,BRNO • zařízenípro označování elektrickýchvodičů Přihlášeno 25. března 1960 (Pv 2018-60) Platnost patentu od 25. března 1960 Vynález se týká označování elektrických vodičů používaných při výrobě traktorů, automobilů a při výrobě různých strojních a elektric kých zařízení. Vodičę, opatřené kovovými štítky v podobě kroužků, ovi nutých kolem vodiče, s vyraženými čísly nebo různými značkami, může snadno, i neodborník podle elektrického schématu správně zapojit k označeným svorkám. . . . Dosud se tyto práce provádějí tím způsobem, že nastříhané jednotlivé plíšky, opatřené patřičným číslem nebo značkou, se vkládají buď rovné, nebo předehnuté pod lis, na ně se vloží elektrický vodič, načež se provede ovinutí plíšku. V jiném případě se též používá označených kovových pásků, které jsou na jednom konci opatřeny podlouhlým otvorem a na druhém konci jsou zúženy. Pásek se ovine kolem vodiče, zúžený konec se provlékne otvorem, pásek kolem vodiče se utáhne a upevní přehnutím zúženého konce. Pro označování vodičů se používá ještě jiných výlisků, které se musí nakoneč společně s vodičem zpracovat. Nevýhodou těchto způsobů práce je, že vlastní označování vodičů předchází výroba různých výlisků a poněvadž se jedná o poměrně drobné součástky, další zpracování je velmi pracné a zdlouhavé. Dále tyto práce výžadují neustálou pečlivou kontrolu, aby náhodou v sérii výlisků s určitým číslem nebyla zamíchána též čísla jiná. . . . . . . . . Navržené řešení podle vynálezu podstatně snižuje pracnost, poně
  • 5.
    40 2 100273 vadž posunutíhliníkového pásku, vyražení čísla, ustřižení a ovinutí pásku kolem vodiče se provede současně za jednu otáčku, přičemž na vodičů je zaručena správnost označení podle nastavení na čísel- Zařízení pro označování elektrických vodičů v podstatě sestává z posouvací a razicí části a z výměnných hlav pro určitý průřez vodiče. V tělese výměnné hlavy je uložen rozříznutý prstenec, ve kterém jsou umístěny dvě proti sobě se točící čelisti, které způsobují ustřižení hliníkového pásku a ovínutí kolem vodiče. Na přírubách čelistí jsou upevněna ozubená kola, zabírající s ozubenými tyčemi spojenými na obou koncích třmeny. V klidovém stavu horní třmen působí na páčku, která zvedá odpruženou opěru vodiče. Pracovní pohyb ozubených tyčí je odvozen od vačky výměnných hlav přes odpruženou vložku, uloženou ve spodním třmenu. Zpětný pohyb obstarává vratná pružina. Posouvací část sestává z rýhovaného kolečka, umístěného mezi dvěma třecími kotouči, které jsou ovládány unášecí tyčí. Jeden konec unášecí tyče je odpružen a druhý konec dosedá na pružinu a na stavitelný doraz. Pohyb unášecí tyče je odvozen od vačky posouvací části. Razicí část sestává ze zásobníkového otočného bubínku s vloženými razníky čísel, doléhajícího na kruhovou desku, a z válcového kladiva, v jehož horní duté části je umístěna pružina, která je jedním koncem opřena o kruhovou desku a druhým koncem o stavěcí šroub. Hliníkový pásek prochází mezi kruhovou deskou a razníkem čísla. Válcové kladivo je v místě kruhové desky a otočného bubínku s ohledem na zdvih patřičně vybráno. Pohyb kladiva je odvozen od vačky razicí části. Deformace hliníkového pásku po vyražení čísla se vyrovnává vyrovnávacími kladkami. Obr. 1 představuje celkové uspořádání zařízení pro označování elektrických vodičů; . obr. 2 znázorňuje schematicky skříň části pro označování elektrických vodičů; obr. 3 je příčný řez razicí částí; obr. 4 je uspořádání jednotlivých vaček na společném hřídeli; obr. 5 je svislý řez výměnnou hlavou; obr. 6 je příčný řez výměnnou hlavou; obr. 7 znázorňuje zvětšený detail obou čelistí ve výměnné hlavě. Podle obr. 1 zařízení pro označování elektrických vodičů sestává ze skříně 1, na které je připevněna konsola 2 pro uložení kotouče 3 s navinutým hliníkovým páskem. Ke skříni je připevněna výměnná hlava , ve které se provádí stříhání pásku na stanovenou délku a ovinutí pásku kolem vodiče. Náhon celého zařízení se děje přírubovým elektromotorem a šnekovou skříní.5 (převod 23a vypínacím zařízením, fi. Vypínací zařízení na jednu otáčku je ovládáno nožním pedálem 7 a je řešeno podobným způsobem jako u výstředníkových lisů. Celé zařízení je ženo na levé straně trubkového stojanu . Na pravé straně nahoře stojanu je upevněna odkládací deska 9 pro uložení vodičů. Čistý strojní čas, potřebný k posunutí pásku, vyražení čísla a ovinutí kolem vodiče, je 1,6 vteřiny. Práce se provádí vsedě. . Na obr. 2 je schematicky znázorněna skříň části pro označování elektrických vodičů (podle obr. 1 označeno 1), kde je patrna posouvací a razicí část. Z výrobních důvodů je složena ze třech dílů.
  • 6.
    Na spodku horníhođílu 10 vyfrézována drážka pro vedení hliníkového pásku 11. Střední dfl 12 tvoří mezičlánek s vačkovou skříní , . Pohyb posouvàcí částí způsobuje vačka 14. Otáčením vačky 14 postupuje směrem nejdříve odpružený konec tyče 17 až na doraz
  • 8.
    110 130 3 100273 unášecí tyče18, načež nastává pohyb unášecí tyče 18. vlivem stlačené pružiny 19. Výřezy v unášecí tyči 18 unášejí s sebou kolíky 20, pevně spojené s třecími kotouči 21, mezi nimiž je uloženo rýhované kolečko 22. Hliníkový pásek 11 je přitlačován na rýhované kolečko 22 odpruže nou kladičkou 23. Pootočením rýhovaného kolečka 22 nästává posuv hli níkového pásku 11. Vzápětí nastává vyražení čísla. Razník čísla 27 zů stává po určitou dobu přitlačen na hlíníkový pásek 11. Mezi touto do bou vlivem vačky 14 postupuje unášecí 18 opět nahoru, unáší s sebou třecí kotouče 21. Rýhované kolečko 22 stojí, poněvadž hliníkový pásek 11 je proti zpětnému posunutí zajištěn razníkem čísla 27. Unášecí tyč 18 postupuje až po nastavený doraz 24. Zbytek stoupání vačky 14 se ztrácí odpružením konce tyče 17 pružinou 25. Velikost posuvu se řídí podle toho, jak hluboko je nastaven doraz 24. K rychlému, nastavení dorazu 24 slouží stupňovitá podložka 26 (podie průměru vodiče. - Ražení čísel na hliníkový pásek 11 se děje pomocí razníků 27, které jsou uloženy v zásobníkovém otočném bubínku 28, doléhajícím na pevnou kruhovou desku 29. Kruhová deska 23 je pevně spojena s horní částí skříně 10 a. tvoří tak tvrdý podklad pro ražení čísel. Hliníkový pásek 11 prochází mezi kruhovou deskou 29 a razníkem 27. Rázy na razníky čísel 27 vykonává odpružené válcové kladivo 30, které v místě kruhové, desky a otočného bubínku je patřičně vybráno s ohledem na zdvih kladiva (viz obr. 3]. Pružina je umístěna v horní duté části kladiva a je opřena jedním koncem o kruhovou desku a druhým o stavěcí šroub. Napnutí pružiny 31 pro úder válcového kladiva 30 je způsobeno vačkou 15. Síla úderu válcového kladiva 30 se řídí napnutím pružíny 31 pomocí stavěcího šroubu 32. Deformace hliníkového pásku 11 po vyražení čísla se vyrovnává pomocí vyrovnávacích kladek, z nichž dvě jsou pevné 33 a jedna stavitelná 34. Skříň je opatřena kolíkem 35, drážkou 36 a upínkou se šroubem 37 k rychlé výměně a upnutí výměnné hlavy (viz též obr. 1, ozn. 4). . . Na obr. 4 je patrno uspořádání jednotlivých vaček 14, 15, 16. Čin- . nost vaček 14 a 15 byla již popsána. Vačka 16 je určena pro výměnnou hlavu (obr. 1, ozn. 4) a způsobuje stříhání hliníkového pásku a ovinutí kolem vodiče. , Na obr. 5 je znázorněn svislý řez a na obr. 6 příčný řez výměnnou hlavou (obr. 1, ozn. 4). Uprostřed tělesa hlavy 38 je uložen rozříznutý prstenec 39, jehož rozříznutí tvoří vstup hliníkového pásku 11 a hrama na vnitřním průmě ru je hranou řeznou. Vnitřní průměr prstence se rovná délce hliníko vého pásku, potřebné k ovinutí elektrického vodiče. Uvnitř prstence je uložena jedna čelist řezná a současně chýbací 40 a druhá čelist ohýbací 41. Na příruby obou čelistí 40 a 41 jsou upevněna ozubená kola 42, která zabírají do ozubených tyčí 43. Ozubené tyče 43 jsou na obou koncích pevně spojeny třmeny 44 a 45. Ve výchozí poloze třmen 44 stlačuje páčku 46, uloženou v rozříznutém kroužku 47.
  • 9.
    Páčka 46 odpru-: ženou opěru vodiče 48, která prochází drážkou v prstenci 39. Tím elek- trický vodič 49 lze volně nasunout přes otvory ve víčku 50 a v čepu víčka 51. Malým pozvednutím ozubených tyčí 43 se páčka 46 uvolní a opěra vodiče 48 přitlačí elektrický vodič 49 na spodní hranu volného otvoru ve víčkách. Dalším zvedáním ozubených tyčí 43 nastává otáčení čelistí 40 a 41 navzájem proti sobě. Rezná čelist 40 ustříhne hliníkový pásek 11 a vnější okraje čelistí 40 a 41 způsobují ovinutí vodiče 49 hliníkovým páskem a jeho utažení. Současně v této době, při natočení čelistí asi o 60°, třmen 44 počne s sebou unášet opěru vodiče 48, aby se čelisti mohly uzavřít.
  • 11.
    140 150 160 4 100273 Pohyb ozubenýchtyčí 43 je odvozen od vačky 16 (viz obr. 2, 4) přes stavěcí šroub 52, vložku 53 a pružinu 54. Pružina 54 vylučuje tvrdý dosed obou čelistí a tím jejich poškození. Síla pružiny je taková, aby stačila k utažení hliníkového pásku. - Zpětný pohyb celého mechanismu obstarává pružina 55. Víčko 51 je opatřeno rychlouzávěrem pro snädné vyjmutí ohýbací čelisti 41 v případě, že ustřižení a ohnutí hliníkového pásku bylo provedeno bez vodiče a smáčknutý plíšek zůstal uvnitř čelisti. - .. Na obr. 7 je znázorněn zvětšený detail obou čelistí.40 a 41. Konce hliníkového pásku 11 při ovinování vodiče 49 sledují evolventu, která zčásti je nahrazena kruhovým prstencem 39. Rozdíl mezi evolventou a kruhovým prstencem 39 je tak malý, že jej lze zanedbat, poněvadž se vyrovná prohnutím hliníkovéhò pásku směrem dovnitř, načež je potom dotažen na vodič. Předmět patentu Zařízení pro označování elektrických vodičů, sestávající z oposouvací a razicí části a výměnné hlavy, vyznačené tím, že výměnná hlava sestává z rózříznutého prstence (39), ve kterém jsou umístěny dvě proti sobě se točící čelisti (40, 41), na jejichž přírubách jsou upevněna bzubená kola (42), zabírající s ozubenými tyčemi (43), kterými je ovládána pomocí páčky 46) odpružená opěra vodiče (48), přičemž pohyb ozubených tyčí je odvozen od vačky výměnných hlav (16) pomocí odpružené vložky (53), a vratné pružiny (55), a že posouvací část sestává z rýhovaného kolečka (22), umístěného mezi dvěma třecími kotouči (21), které jsou ovládány unášecí tyčí (18) s jedním odpruženým koncem (17), která druhým koncem đosedá na pružinu (19) s dorażem (24), přičemž pohyb unášecí tyče je odvozen od vačky posouvací části 14), a že razicí část sestává ze zásobníkového otočného bubínku (28). s vloženými razníky, čísel (27), doléhajícího na kruhovou desku (29), . a z válcového kladiva (30), v jehož horní duté části je umístěna pružina (31), která je jedním koncem opřena o kruhovou desku. [29] a druhým koncem o stavěcí šroub (32), přičemž pohyb kladiva je odvozen od vačky razicí části (15) a hliníkový pásek je vyrovnáván kladkami (33, 34). Severografia, n. p, závod 03:
  • 15.
    Příloha k patentnimuspisu Čís. 100273 Obr. 2 29 28 Obr. 4 . Obr. 3