10
československá socialistickÁ
REPUBLIKA
Třída · 45 e, 16 - - vydáno 15. září 1961
vyloženo15.dubna 1959
PATENTNÍ spis č.
100804
Právo k využití vynálezu přísluší státu podle 3 odst. 6 zák. .
54/1957 Sb.
- Ing. HERBERT ZUDSE, DRÁŽĎANY (NDR)
Stroj na rozdružování semen
Přihlášeno 15. května 1956 (PV 1342-56) Platnost patentu od 15. května 1956 Právo přednosti
od 13. prosince 1954 (Německá demokratická republika)
Vynález se týká stroje na rozdružování semen, který má několik krátkých,
souosých, do sebe zasunutých, uvnitř důlkovaných válců, uložených letmo.
Jsou již známé různé stroje na rozdružování semen, které mají několik
soustředných, na témže hřídeli uložených a s ním pevně spojených válců, z nichž
některé válce jsou dlouhé, jiné kratší. Dlouhé válce, do nichž jsou zasunuty válce kratší,
mají tu nevýhodu, že práci stroje nelze dobře sledovat a že výměna válců vyžaduje
dlouhotrvající montáž. Také jsou již známé rozdružovací stroje, které mají krátké
souosé válce, které však nejsou vsunuty do sebe, nýbrž jsou upraveny, na spo
lečném hřídeli za sebou. Takto upravené krátké válce mají tu nevýho-
du, že se při změně druhu tříděných semen nedají rychle vyměnit a že všechny válce
musí být hnány týmiž otáčkami. Sledování práce stroje
je také u tohoto provedení nesnadné. Nejnověji se používá tak zvaných
segmentových triérů, u kterých se při změně druhu rozdružovaných semen
vymění segmenty stroje, čímž se dosáhne potřebné změny účinku. Ale i tato
zařízení neumožňují sledovat podrobně práci stroje během provozu. Kromě toho
se dlouhé plechové segmenty těchto strojů při vyměňování snadno zkřiví nebo
nedosti přesně dolehnou do svých upevňovacích součástí, takže provoz stroje
není hospodárný. Dále je nutné u všech těchto strojů, například při třídění zrn na
kulatá a podlouhlá, upraviti.
30
50
2 100804
pomocné rozdružovače, které ještě jednou zpracovávají materiál vyhozený prvým
rozdružovacím válcem do žlabu.
Vynález odstraňuje tyto nedostatky tím, že rozdružovací stroj je opatřen několika
souosými, do sebe zasunutými, uvnitř důlkovanými válci, které jsou uloženy letmo a
jsou hnány různými otáčkami, přizpůsobenými druhu tříděných zrn. Tato úprava
umožňuje především rychlou výměnu rozdružovacích válců, z nichž každý je upevněn
ve stroji ryggle rozpojitelným uzávěrem a může být vysunutím směrem ke své volné
straně vyňat ze stroje. Další výhodou je ta okolnost, že práci stroje lze stále podrobně
sledovat okénkem ze skla, celonu nebo podobné hmoty, upraveným při volné straně
rozdružovacích válců. Rozdružovací válce jsou hnány různým počtem otáček se
zřetelem k různým průměrům těchto válců, což umožňuje seřídit obvodovou rychlost
válců podle podmínek, které jsou pro třídění zpracovávaného zrna nejvhodnější. Při
vhodném odstupňování velikosti důlků těchto krátkých rozdružovacích válců a při
zvláštním způsobu odvádění materiálu, vyhazovaného rozdružovacími válci do žlabů,
jak bude v dalším popise ještě podrobněji vysvětleno, jest možné se obejít bez
pomocných roz- družovačů, které jsou dosud obvyklé. Ze všech těchto důvodů je
možné podstatně zkrátit délku stroje proti dosud známým konstrukcím a vložiti celý triér
do skříně, ze které lze odváděti prach odsávačem upraveným v ose stroje. Tato
prostorově úsporná konstrukce stroje je umožněna tím, že tříděné zrno prochází
postupně z jednoho válce do druhého, to jest po vytřídění ve vnitřním válci postupně
spadává na vnitřní stěny dalších rozdružovacích válců s větším a větším průměrem.
Popsaný stroj podle vynálezu, s krátkými, do sebe zasunutými, souosými,
rozdružovacími válci, lze opatřiti dalšími, o sobě známými pomocnými součástmi, které
zvyšují výkonnost stroje, například vodicími plechy nebo snímacími válci. Tyto pomocné
součásti, které bývají u dosud známých triérů upevněny na žlabu stroje, takže při
přestavování polohy tohoto žlabu nutně rovněž mění svou polohu, jsou u stroje podle
vynálezu spojeny s rámem stroje. Tím se dosáhne toho, že nezávisle na poloze žlabu
se tříděné zrno, proudící dolů, přivádí stále na stejné místo nejblíže následujícího
rozdružovacího válce, totiž právě do nejnižšího bodu vnitřního pláště tohoto válce.
Pomocné součásti jsou však v rámu stroje uloženy vyměnitelně, aby při změně rychlosti
otáčení rozdružovacího válce mohla být poloha horní hrany vodicího
plechu přizpůsobena dráze zrn nebo příměsí, strhovaných válcem.
. Vynález je v dalším popise blíže vysvětlen s poukazem na připojęný výkres, který
znázorňuje příklad provedení.
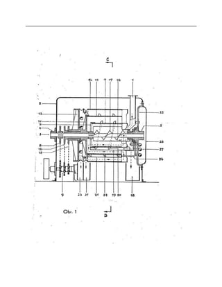
Obr. 1 je podélný řez strojem podél roviny Az obr. 2; obr. 2 je příčný řez rovinou C-D z
obr. 1. Tříděné zrno se přivádí do stroje násypníkem 1. V rámu stroje je v ložiskách 4 a
5 uložen hřídel 3. S tímto hřídelem je pevně spojen kotouč , na kterém je rychle
rozpojitelným závěrem, například bajonetovým, upevněn krátký rozdružovací válec 7
uvnitř důlkovaný. Hřídel 3 a s ním i kotouč 6 jsou hnány řetězovým kolem 8 nebo
řemenicí od předlohového hřídele . Dále je na hřídeli 3 volně nasazen kotouč 10 s
druhým rozdružovacím válcem 11, který je hnán řetězovým kolem 12. Na přírubě
náboje kotouče 10 je volně otočně nasazen další kotouč 13 s třetím rozdružovacím
válcem 14, který je hnán řetězovým kolem 15. .
Zrna nebo příměsi, zachycené v důlcích prvého krátkého rozdružovacího válce ,
spadávají do žlabu 16 a jsou šnekem 17 dopravovány k vývodu 18. Obdobně zrna,
zachycená v důlcích druhého rozdružovacího válce 11, spadávají do žlabu 19, přičemž
šnekovice 20, uprave. ná na vnějšími obvodu válce , dopravuje tato zrna rovněž k
vývodu
100
110
3 100804.
18. Zrna, zachycená v důlcích třetího rozdružovacího válce 14, spadávají do žlabu 21 a
jsou šnekovicí 22, upravenou na vnějším obvodu válce 11, dopravována k druhému
vývodu 23. Všechny tři žlaby 16, 19, 21 jsou svými držáky 24 připevněny k příčníku 25,
který je upevněn na víku 26. Přestavování polohy žlabů se provádí posunováním
rukojetí 27. Vodicí plechy 28, 29, 30 jsou pevně spojeny s traversou 25. Žlaby i vodicí
plechy lze vyjmout ze stroje najednou vytažením víka 26. Po tomto vynětí lze snadno
vyměnit krátké rozdružovací válce, aniž by muselo být jakkoli zasahováno do jejich
hnacího mechanismu. Vyčištěné semeno, které postupně prošlo všemi rozdružovacími
válci, od vnitřního válce nejmenšího průměru až k vnějšímu válci největšího průměru, se
odvádí vývodem 31.
Předmětpatentu
1. Stroj na rozdružování semen, s několika krátkými, souosými, do
sebe zasunutými, uvnitř důlkovanými rozdružovacími válci, vyznačený tím, že i všechny
rozdružovací válce (7, 11, 14) jsou uloženy letmo při
- jedné a téže straně stroje a jsou nezávislē na sobě otočné, přičemž ná
boje čelních kotoučů (10, 13) rozdružovacích válců jsou otočně nasazeny na sebe a pro
každý rozdružovací válec (7, 11, 14) je upraveno samostatné hnací kolo, jehož průměr
odpovídá obvodové rychlosti rozdružovacího válce.
2. Stroj na rozdružování semen podle bodu 1, vyznačený tím, že náboj čelního kotouče
(10) jednoho z rozdružovacích válců (11) je upraven jako dutý hřídel, který nese hnací kolo a
tvoří ložisko pro uložení čelního kotouče druhého rozdružovacího válce.
3. Stroj pro rozdružování semen podle bodů 1 a 2, vyznačený tím, že náboj čelního
kotouče (13) druhého rozdružovacího válce (14) je upraven rovněž jakņ dutý hřídel, který je
nasazen na dutý hřídel čel- ního kotouče 10] : prvního rozdružovacího válce a je opatřén
hnacím kolem. -
. Stroj pro rozdružování semen podle bodů 1 až 3, vyznačený tím, že čelní kotouč (6)
jednoho z rozdružovacích válců (7) je upraven pevně na svém hřídeli (3), přičemž hnací kolo.
[8], upevněné na tomto hřídeli 3], slouží současně jako zarážka pro ustavení osové polohy
ostatních rozdružovacích válců (11, 14.
5. Stroj na rozdružování semen podle bodů 1 až 4, vyznačený tím, že předlohový hřídel 9]
pro pohon rozdružovacích válců (7, 11, 14] je uložen uvnitř skříně rozdružovacího ústrojí a nese
předlohová kola různé velikosti.
. Stroj na rozdružování semen podle bodů 1 až , vyznačený tím, že sběrné žlaby
(16, 19, 21) vytříděných semen jsou ve stroji upevněny nezávisle na otáčivých
rozdružovacích válcích (7, 11, 14], : a to na straně protilehlé k hnacímu ústrojí
rozdružovacích válců.
. Stroj na rozdružování semen podle bodu , vyznačený tím, že vývody vytříděných
semen jsou upraveny po obou čelních stranách rozdružovacích válců. «
Severografia, n. p, závod 03
9 23 31 21 22 19 20 18
Obr. 1
Příloha k patentnímu spisu č. 100804
Obr. 2

100804

  • 2.
    10 československá socialistickÁ REPUBLIKA Třída ·45 e, 16 - - vydáno 15. září 1961 vyloženo15.dubna 1959 PATENTNÍ spis č. 100804 Právo k využití vynálezu přísluší státu podle 3 odst. 6 zák. . 54/1957 Sb. - Ing. HERBERT ZUDSE, DRÁŽĎANY (NDR) Stroj na rozdružování semen Přihlášeno 15. května 1956 (PV 1342-56) Platnost patentu od 15. května 1956 Právo přednosti od 13. prosince 1954 (Německá demokratická republika) Vynález se týká stroje na rozdružování semen, který má několik krátkých, souosých, do sebe zasunutých, uvnitř důlkovaných válců, uložených letmo. Jsou již známé různé stroje na rozdružování semen, které mají několik soustředných, na témže hřídeli uložených a s ním pevně spojených válců, z nichž některé válce jsou dlouhé, jiné kratší. Dlouhé válce, do nichž jsou zasunuty válce kratší, mají tu nevýhodu, že práci stroje nelze dobře sledovat a že výměna válců vyžaduje dlouhotrvající montáž. Také jsou již známé rozdružovací stroje, které mají krátké souosé válce, které však nejsou vsunuty do sebe, nýbrž jsou upraveny, na spo lečném hřídeli za sebou. Takto upravené krátké válce mají tu nevýho- du, že se při změně druhu tříděných semen nedají rychle vyměnit a že všechny válce musí být hnány týmiž otáčkami. Sledování práce stroje je také u tohoto provedení nesnadné. Nejnověji se používá tak zvaných
  • 3.
    segmentových triérů, ukterých se při změně druhu rozdružovaných semen vymění segmenty stroje, čímž se dosáhne potřebné změny účinku. Ale i tato zařízení neumožňují sledovat podrobně práci stroje během provozu. Kromě toho se dlouhé plechové segmenty těchto strojů při vyměňování snadno zkřiví nebo nedosti přesně dolehnou do svých upevňovacích součástí, takže provoz stroje není hospodárný. Dále je nutné u všech těchto strojů, například při třídění zrn na kulatá a podlouhlá, upraviti.
  • 5.
    30 50 2 100804 pomocné rozdružovače,které ještě jednou zpracovávají materiál vyhozený prvým rozdružovacím válcem do žlabu. Vynález odstraňuje tyto nedostatky tím, že rozdružovací stroj je opatřen několika souosými, do sebe zasunutými, uvnitř důlkovanými válci, které jsou uloženy letmo a jsou hnány různými otáčkami, přizpůsobenými druhu tříděných zrn. Tato úprava umožňuje především rychlou výměnu rozdružovacích válců, z nichž každý je upevněn ve stroji ryggle rozpojitelným uzávěrem a může být vysunutím směrem ke své volné straně vyňat ze stroje. Další výhodou je ta okolnost, že práci stroje lze stále podrobně sledovat okénkem ze skla, celonu nebo podobné hmoty, upraveným při volné straně rozdružovacích válců. Rozdružovací válce jsou hnány různým počtem otáček se zřetelem k různým průměrům těchto válců, což umožňuje seřídit obvodovou rychlost válců podle podmínek, které jsou pro třídění zpracovávaného zrna nejvhodnější. Při vhodném odstupňování velikosti důlků těchto krátkých rozdružovacích válců a při zvláštním způsobu odvádění materiálu, vyhazovaného rozdružovacími válci do žlabů, jak bude v dalším popise ještě podrobněji vysvětleno, jest možné se obejít bez pomocných roz- družovačů, které jsou dosud obvyklé. Ze všech těchto důvodů je možné podstatně zkrátit délku stroje proti dosud známým konstrukcím a vložiti celý triér do skříně, ze které lze odváděti prach odsávačem upraveným v ose stroje. Tato prostorově úsporná konstrukce stroje je umožněna tím, že tříděné zrno prochází postupně z jednoho válce do druhého, to jest po vytřídění ve vnitřním válci postupně spadává na vnitřní stěny dalších rozdružovacích válců s větším a větším průměrem. Popsaný stroj podle vynálezu, s krátkými, do sebe zasunutými, souosými, rozdružovacími válci, lze opatřiti dalšími, o sobě známými pomocnými součástmi, které zvyšují výkonnost stroje, například vodicími plechy nebo snímacími válci. Tyto pomocné součásti, které bývají u dosud známých triérů upevněny na žlabu stroje, takže při přestavování polohy tohoto žlabu nutně rovněž mění svou polohu, jsou u stroje podle vynálezu spojeny s rámem stroje. Tím se dosáhne toho, že nezávisle na poloze žlabu se tříděné zrno, proudící dolů, přivádí stále na stejné místo nejblíže následujícího rozdružovacího válce, totiž právě do nejnižšího bodu vnitřního pláště tohoto válce. Pomocné součásti jsou však v rámu stroje uloženy vyměnitelně, aby při změně rychlosti otáčení rozdružovacího válce mohla být poloha horní hrany vodicího plechu přizpůsobena dráze zrn nebo příměsí, strhovaných válcem. . Vynález je v dalším popise blíže vysvětlen s poukazem na připojęný výkres, který znázorňuje příklad provedení. Obr. 1 je podélný řez strojem podél roviny Az obr. 2; obr. 2 je příčný řez rovinou C-D z
  • 6.
    obr. 1. Tříděnézrno se přivádí do stroje násypníkem 1. V rámu stroje je v ložiskách 4 a 5 uložen hřídel 3. S tímto hřídelem je pevně spojen kotouč , na kterém je rychle rozpojitelným závěrem, například bajonetovým, upevněn krátký rozdružovací válec 7 uvnitř důlkovaný. Hřídel 3 a s ním i kotouč 6 jsou hnány řetězovým kolem 8 nebo řemenicí od předlohového hřídele . Dále je na hřídeli 3 volně nasazen kotouč 10 s druhým rozdružovacím válcem 11, který je hnán řetězovým kolem 12. Na přírubě náboje kotouče 10 je volně otočně nasazen další kotouč 13 s třetím rozdružovacím válcem 14, který je hnán řetězovým kolem 15. . Zrna nebo příměsi, zachycené v důlcích prvého krátkého rozdružovacího válce , spadávají do žlabu 16 a jsou šnekem 17 dopravovány k vývodu 18. Obdobně zrna, zachycená v důlcích druhého rozdružovacího válce 11, spadávají do žlabu 19, přičemž šnekovice 20, uprave. ná na vnějšími obvodu válce , dopravuje tato zrna rovněž k vývodu
  • 8.
    100 110 3 100804. 18. Zrna,zachycená v důlcích třetího rozdružovacího válce 14, spadávají do žlabu 21 a jsou šnekovicí 22, upravenou na vnějším obvodu válce 11, dopravována k druhému vývodu 23. Všechny tři žlaby 16, 19, 21 jsou svými držáky 24 připevněny k příčníku 25, který je upevněn na víku 26. Přestavování polohy žlabů se provádí posunováním rukojetí 27. Vodicí plechy 28, 29, 30 jsou pevně spojeny s traversou 25. Žlaby i vodicí plechy lze vyjmout ze stroje najednou vytažením víka 26. Po tomto vynětí lze snadno vyměnit krátké rozdružovací válce, aniž by muselo být jakkoli zasahováno do jejich hnacího mechanismu. Vyčištěné semeno, které postupně prošlo všemi rozdružovacími válci, od vnitřního válce nejmenšího průměru až k vnějšímu válci největšího průměru, se odvádí vývodem 31. Předmětpatentu 1. Stroj na rozdružování semen, s několika krátkými, souosými, do sebe zasunutými, uvnitř důlkovanými rozdružovacími válci, vyznačený tím, že i všechny rozdružovací válce (7, 11, 14) jsou uloženy letmo při - jedné a téže straně stroje a jsou nezávislē na sobě otočné, přičemž ná boje čelních kotoučů (10, 13) rozdružovacích válců jsou otočně nasazeny na sebe a pro každý rozdružovací válec (7, 11, 14) je upraveno samostatné hnací kolo, jehož průměr odpovídá obvodové rychlosti rozdružovacího válce. 2. Stroj na rozdružování semen podle bodu 1, vyznačený tím, že náboj čelního kotouče (10) jednoho z rozdružovacích válců (11) je upraven jako dutý hřídel, který nese hnací kolo a tvoří ložisko pro uložení čelního kotouče druhého rozdružovacího válce. 3. Stroj pro rozdružování semen podle bodů 1 a 2, vyznačený tím, že náboj čelního kotouče (13) druhého rozdružovacího válce (14) je upraven rovněž jakņ dutý hřídel, který je nasazen na dutý hřídel čel- ního kotouče 10] : prvního rozdružovacího válce a je opatřén hnacím kolem. - . Stroj pro rozdružování semen podle bodů 1 až 3, vyznačený tím, že čelní kotouč (6) jednoho z rozdružovacích válců (7) je upraven pevně na svém hřídeli (3), přičemž hnací kolo. [8], upevněné na tomto hřídeli 3], slouží současně jako zarážka pro ustavení osové polohy ostatních rozdružovacích válců (11, 14. 5. Stroj na rozdružování semen podle bodů 1 až 4, vyznačený tím, že předlohový hřídel 9] pro pohon rozdružovacích válců (7, 11, 14] je uložen uvnitř skříně rozdružovacího ústrojí a nese předlohová kola různé velikosti. . Stroj na rozdružování semen podle bodů 1 až , vyznačený tím, že sběrné žlaby (16, 19, 21) vytříděných semen jsou ve stroji upevněny nezávisle na otáčivých
  • 9.
    rozdružovacích válcích (7,11, 14], : a to na straně protilehlé k hnacímu ústrojí rozdružovacích válců. . Stroj na rozdružování semen podle bodu , vyznačený tím, že vývody vytříděných semen jsou upraveny po obou čelních stranách rozdružovacích válců. « Severografia, n. p, závod 03
  • 11.
    9 23 3121 22 19 20 18 Obr. 1
  • 13.
    Příloha k patentnímuspisu č. 100804 Obr. 2