ČeskoslovENSKÁ s0CIALISTICKÁ
REPUBLIKA o Rap Pro rarenry a
vynálezy . -
Vydáno 15. července 1961 Vyloženo 15. ledna 1961
PATENTNÍ spis č.
100294
Právo k využití vynálezu přísluší státu podle 3 odst. 6 zák, . 34/1957 Sb.
JosEF KAKÁČ, LAŽANY a ALOIS ŠÁCHA,
Dělící přípravek, zejména pro broušení na plocho
Přihlášeno . května 1960 (Pv 3013-60) Platnost patentu od . května 1960
Normálně používaný způsob dělení broušených součástí, zvláště nástrojů, a z nich
především protahovacích , kde funkční délky dosahují téměř 1500 mm, se provádí ve
špičkových přístrojích, přičemž . ' vlastní dělení je prováděno buď optickou hlavou, nebo
kostkou, vlečenou přímo na broušenou součástku a stavěnou do žádané polohy podloženými
stavěcími nebo rozpínacími kostkami. Rozměry těchto dělicích mnohohraņů jsou však omezeny
výškou špiček a podkládanými stavěcími kostkami. Nejvíce se jich užívá u dělení sudých počtů.
Menší liché počty (vzhledem k tomu, aby dosedací plochy pro podkládané stavěcí kostky byly
dostatečně dlouhé a tím zaručovaly pevné usta. vení) je možno prováděti týmž způsobem jako ,
mnohohrany pro sudé počty. Při vyšším počtu, ať sudém, nebo lichém, je nutno použiti dělení"
optickou hlavou. Při tomto dělení mohou však nastati odchylky, zvláště když , podíl počtu je
vyjádřen ve vteřinách; . popřípadě desetimách vteřiny. Nepřesným optickým nastavením se
přenesou rozdíly mastavené na broušenou součástku, i když jsou celkově nepatrné, avšak u
přesné nástrojářské výroby jsou již při kontrole a dalším použití patrné. Mimo to stálé
připočítávání stavěných stupňů je únavné, takže tím mohou často při dělení nastati chyby. » »
. . . Dělicí přípravek podle vynálezu tyto chyby i diference úplně od- straňuje a zaručuje
přesné provedení dělení, jelikož celkem váhově lehký dělicí vícehran, zhotovený v
optické hlavě, se dá přesněji vy- robiti než vlastní složitý a váhově těžší obráběný
nástroj (předmět.
50
Dělicí přípravek pro broušení na plocho podle vynálezu, má jména ten význak, že na rozšířené
části tělesa přípravku je vytvoří dvà nebo více spolu rovnoběžných a. s tělesem souosých
kotoučů stejnými průměry, na jejichž obvodu jsou upraveny stavěcí plo: tvořící mnohohran,
přičemž tyto stavěcí plošky jsou na jednotliv; kotoučích vůči sobě přesazeny ve šroubovici.
Upínací otvor těl přípravku má výměnná pouzdra, zaručující upnutí příslušného di mnohohranu
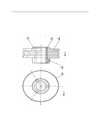
přípravku na jakýkoliv průměr broušené součást Příklad provedení přípravku podle vynálezu je
zřejmý z přilože: ho výkresu, kde na obr. 1 je nárys přípravku, na obr. 2 bokorys, s měnným
upínacím pouzdrem, na obr. 3 nárys přípravku s výměnn upínacím pouzdrem, na obr. 4
bokorys, na obr. 5 upnutí příprav na součástce, podloženého stavěcí kostkou, a na obra 6 boční
pohl na přípravek, zajištěný stavěcí kostkou.
Dělicí příprpavek sestává z vlastního tělesa 1, na něm vysousti žených kotoučů 2, stavěcích plošek 3,
výměnných pouzder , upevň vacích šroubů 5 a stavěcí kostky . - Provedení dělicího vícehranu je takové,
že v tělese 1 jsou vysc struženy kotouče 2, na kterých jsou vyfrézovány plošky, a to tak, např. pro lichý
počet zubů 51 jsou na tělese vysoustruženy tři k touče a na nich provedeno na každém 17 plošek, které
jsou prov dehy ve šroubovici o stoupání 10 mm. Plošky jsou dlouhé 3040 m Tím se dosáhne celkem 3
17, - tj. 51 plošek, a nasazením dělicí. mnohohranu na broušenou součástku je možno provést dělení buď
: 17, nebo 51 dílů. Pro různé počty broušených zubů součástky se vt počet pļošek na každém kotouči, a
to tak, aby byla dodržena zásać aby ploška nebyla kratší než 30 mm. Obvykle u plošek provedený na
dvou kotoučích je počet rozdílný, lišící se v rozdílu jedné plošķ u plošek provedených na třech kotoučích
bývají buď prvé dva k touče, nebo poslední dva kotouče provedeny se stejným počtem pl šek, třetí pak o
jednu více nebo méně. V tělese dělicího vícehramu vytvořen kalibrovaný otvor, do kterého je možno
vkládati výměnu pouzdra s vnitřním průměrem, rovnajícím se průměru broušené so částky. Ve stěně
pouzdra je jeden nebo více otvorů, kterými proch zejí šrouby, zajišťující celý přípravek pevně na
broušené součástc Aby upnutý dělicí přípravek byl co nejlehčí a nezpůsoboval průhy součástky upnuté
mezi hroty špičkového přístroje, je jednak umístě co nejblíže k jednomu hrotu a mimo to je konstrukčně
vylehčen, at váha byla co nejmenší při zaručené dimensi. . .
Použitím přípravku podle vynálezu se dosáhne jednak dokona přesnosti dělení broušených
součástek a jednak se vyřadí drahé a tě ké dělicí hlavy, která zároveň s nutným protizávažím
způsobuje rych opotřebovávání brousicích strojů. Dělicí přípravek zaručuje rychlé spolehlivé
upnutí, kontrolu přímo na stroji a souosost nástroje s mnt hohranem. -
Předmět patentu
1. Dělicí přípravek, zejména pro broušení na plocho, s mnohohrt nem a stavěcí kostkou,
vyznačený tím, že na rozšířené části tělesa (1 přípravku je vytvořeno dva nebo více spolu
rovnoběžných a s tělesel (1) souosých kotoučů (2) se stejnými průměry, na jejichž obvodu jso
upraveny stavěcí plošky (3) tvořící mnohohran, přičemž tyto sta věcí plošky (3) jsou na
jednotlivých kotoučích (2) vůči sobě přest zeny ve šroubovici.
- 2. Dělicí příravek podle bodu 1 vyznačený tím, že upínací otvo
tělesa (1) přípravku má výměnná pouzdra 4].
Severografia, n. p, závod 03
. Příloha k patentnímu spisu č. 100294

100294

  • 2.
    ČeskoslovENSKÁ s0CIALISTICKÁ REPUBLIKA oRap Pro rarenry a vynálezy . - Vydáno 15. července 1961 Vyloženo 15. ledna 1961 PATENTNÍ spis č. 100294 Právo k využití vynálezu přísluší státu podle 3 odst. 6 zák, . 34/1957 Sb. JosEF KAKÁČ, LAŽANY a ALOIS ŠÁCHA, Dělící přípravek, zejména pro broušení na plocho Přihlášeno . května 1960 (Pv 3013-60) Platnost patentu od . května 1960 Normálně používaný způsob dělení broušených součástí, zvláště nástrojů, a z nich především protahovacích , kde funkční délky dosahují téměř 1500 mm, se provádí ve špičkových přístrojích, přičemž . ' vlastní dělení je prováděno buď optickou hlavou, nebo kostkou, vlečenou přímo na broušenou součástku a stavěnou do žádané polohy podloženými stavěcími nebo rozpínacími kostkami. Rozměry těchto dělicích mnohohraņů jsou však omezeny výškou špiček a podkládanými stavěcími kostkami. Nejvíce se jich užívá u dělení sudých počtů. Menší liché počty (vzhledem k tomu, aby dosedací plochy pro podkládané stavěcí kostky byly dostatečně dlouhé a tím zaručovaly pevné usta. vení) je možno prováděti týmž způsobem jako , mnohohrany pro sudé počty. Při vyšším počtu, ať sudém, nebo lichém, je nutno použiti dělení" optickou hlavou. Při tomto dělení mohou však nastati odchylky, zvláště když , podíl počtu je vyjádřen ve vteřinách; . popřípadě desetimách vteřiny. Nepřesným optickým nastavením se přenesou rozdíly mastavené na broušenou součástku, i když jsou celkově nepatrné, avšak u přesné nástrojářské výroby jsou již při kontrole a dalším použití patrné. Mimo to stálé připočítávání stavěných stupňů je únavné, takže tím mohou často při dělení nastati chyby. » » . . . Dělicí přípravek podle vynálezu tyto chyby i diference úplně od- straňuje a zaručuje přesné provedení dělení, jelikož celkem váhově lehký dělicí vícehran, zhotovený v optické hlavě, se dá přesněji vy- robiti než vlastní složitý a váhově těžší obráběný
  • 3.
  • 5.
    50 Dělicí přípravek probroušení na plocho podle vynálezu, má jména ten význak, že na rozšířené části tělesa přípravku je vytvoří dvà nebo více spolu rovnoběžných a. s tělesem souosých kotoučů stejnými průměry, na jejichž obvodu jsou upraveny stavěcí plo: tvořící mnohohran, přičemž tyto stavěcí plošky jsou na jednotliv; kotoučích vůči sobě přesazeny ve šroubovici. Upínací otvor těl přípravku má výměnná pouzdra, zaručující upnutí příslušného di mnohohranu přípravku na jakýkoliv průměr broušené součást Příklad provedení přípravku podle vynálezu je zřejmý z přilože: ho výkresu, kde na obr. 1 je nárys přípravku, na obr. 2 bokorys, s měnným upínacím pouzdrem, na obr. 3 nárys přípravku s výměnn upínacím pouzdrem, na obr. 4 bokorys, na obr. 5 upnutí příprav na součástce, podloženého stavěcí kostkou, a na obra 6 boční pohl na přípravek, zajištěný stavěcí kostkou. Dělicí příprpavek sestává z vlastního tělesa 1, na něm vysousti žených kotoučů 2, stavěcích plošek 3, výměnných pouzder , upevň vacích šroubů 5 a stavěcí kostky . - Provedení dělicího vícehranu je takové, že v tělese 1 jsou vysc struženy kotouče 2, na kterých jsou vyfrézovány plošky, a to tak, např. pro lichý počet zubů 51 jsou na tělese vysoustruženy tři k touče a na nich provedeno na každém 17 plošek, které jsou prov dehy ve šroubovici o stoupání 10 mm. Plošky jsou dlouhé 3040 m Tím se dosáhne celkem 3 17, - tj. 51 plošek, a nasazením dělicí. mnohohranu na broušenou součástku je možno provést dělení buď : 17, nebo 51 dílů. Pro různé počty broušených zubů součástky se vt počet pļošek na každém kotouči, a to tak, aby byla dodržena zásać aby ploška nebyla kratší než 30 mm. Obvykle u plošek provedený na dvou kotoučích je počet rozdílný, lišící se v rozdílu jedné plošķ u plošek provedených na třech kotoučích bývají buď prvé dva k touče, nebo poslední dva kotouče provedeny se stejným počtem pl šek, třetí pak o jednu více nebo méně. V tělese dělicího vícehramu vytvořen kalibrovaný otvor, do kterého je možno vkládati výměnu pouzdra s vnitřním průměrem, rovnajícím se průměru broušené so částky. Ve stěně pouzdra je jeden nebo více otvorů, kterými proch zejí šrouby, zajišťující celý přípravek pevně na broušené součástc Aby upnutý dělicí přípravek byl co nejlehčí a nezpůsoboval průhy součástky upnuté mezi hroty špičkového přístroje, je jednak umístě co nejblíže k jednomu hrotu a mimo to je konstrukčně vylehčen, at váha byla co nejmenší při zaručené dimensi. . . Použitím přípravku podle vynálezu se dosáhne jednak dokona přesnosti dělení broušených součástek a jednak se vyřadí drahé a tě ké dělicí hlavy, která zároveň s nutným protizávažím způsobuje rych opotřebovávání brousicích strojů. Dělicí přípravek zaručuje rychlé spolehlivé upnutí, kontrolu přímo na stroji a souosost nástroje s mnt hohranem. - Předmět patentu 1. Dělicí přípravek, zejména pro broušení na plocho, s mnohohrt nem a stavěcí kostkou, vyznačený tím, že na rozšířené části tělesa (1 přípravku je vytvořeno dva nebo více spolu rovnoběžných a s tělesel (1) souosých kotoučů (2) se stejnými průměry, na jejichž obvodu jso upraveny stavěcí plošky (3) tvořící mnohohran, přičemž tyto sta věcí plošky (3) jsou na jednotlivých kotoučích (2) vůči sobě přest zeny ve šroubovici. - 2. Dělicí příravek podle bodu 1 vyznačený tím, že upínací otvo tělesa (1) přípravku má výměnná pouzdra 4]. Severografia, n. p, závod 03
  • 11.
    . Příloha kpatentnímu spisu č. 100294