českoslovENSKÁ socialisticKÁ
REPUBLIKA
Třída 60, 1 vydáno 15. září 1961 - . · Vyloženo 15. března 1961
PATENTNÍ spis č.
100883
Právok využití vynálezu přísluší státu podle 3 odst. 6 zák. .
54/1957 Sb. Inž. JAKUB KARÁSEK, PRAHA
Rozvodné šoupátko pro indirektní regulátory
Přihlášeno ledna 1960 (PV 409-60)
· Platnost patentu od 20. ledna 1960
. ======
Indirektní regulátory mají servomotory s rozvodem tlakového oleje
řízeným rozvodným válcovým šoupátkem, které je přestavováno frekvenčním čidlem, tj.
roztěžníkem, a vráceno do střední polohy vrativodem. Určitému zdvihu roztěžníku
odpovídá pak určitý zdvih roz- vodného šoupátka a tím i zdvih vratného vedení.
Rozvodné šoupátko ovládá pohyb pístu servomotoru v určitém čase označovaném pro
celý zdvih servomotoru časem závěru Ts.
Rozvodné šoupátko musí býti co do poměru průměru a zdvihu dimensováno tak,
aby nejen celého zdvihu servomotoru bylo dosaženo v žádaném času Ts, ale aby
zejména při malých změnách rovnováž- ného stavu dosáhl servomotor rychle pohybu,
aby regulace nebyla zpožděnou a pomalou, aby proto nedošlo ke značným změnám
rych
losti stroje. - -
U velkých servomotorů to vede proto ke konstrukci rozvodných šoupátek velkého
průměru a škrcení průtoku oleje clonami při velkých změnách zatížení, tj. při velkém
zdvihu velkého rozvodného šoupátka. Provádějí se také šoupátka etážová, mající více
rozvodných kanálů nad sebou. Veliká šoupátka mají špatnou těsnost, krycí hrany jsou
obtížně obrobitelné, váha šoupátka je veliká a tím i zrychlující síly jsou veliké. Je proto
nutno použíti tak zvaného předrozvodu se zesilovačem. Je tedy žádoucí z mnoha
podmínek regulace a stability, aby rozvodné šoupátko mělo co nejmenší přípustný
průměr a tomu.
40
2 100883
odpovídající přiměřený zdvih, ne násilně krátký, ale také ne dlouhý, získaný převodem
pák vrativodu. Požaduje se, aby rozvodné šoupátko bylo jednoduché, ne etážové, s
možností strojně obrobiti krycí hrany a průtoková okénka, aby šoupátko bylo lehké, s
malou hmotou, se zdvihem uspořádaným tak, aby ihned i při malé změně zdvihu ze
střední polohy bylo dosaženo dostatečných průtokových ploch.
Konstrukcí rozvodného šoupátka podle vynálezu lze dosáhnouti požadovaných
vlastností při zapojení do obvyklého pákového převodu vahadlem mezi roztěžníkem a
vratným vedením. Podstatou je, že rozvodné šoupátko sestává z trubkového šoupátka s
rozvodnými otvory, v němž je suvně uloženo jednoduché válcové šoupátko s
rozvodnými nákružky, spojenými prostřednictvím převodového vahadla s přestavujícím
orgánem roztěžníku a vratným vedením a pákovými převody tak, že trubkové šoupátko
se pohybuje současně, ale protisměrně vůči válcovému šoupátku.
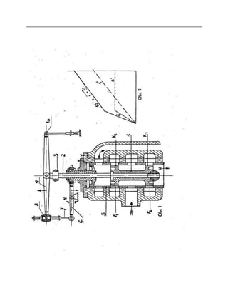
. Obr. 1 znázorňuje příkladné provedení rozvodného šoupátka v řezu po
délnou osou. Obr. 2 znázorňuje schéma zdvihů válcového a trubkového šoupátka v
závislosti na zdvihu roztěžníku, a obr. 3 znázorňuje schémą. zapojení rozvodného
šoupátka.
Válcové šoupátko 1 se dvěma rozvodnými nákružky K1 a K2 je opatřeno tyčí 2, kterou je
zavěšeno na převodovém vahadle 3 vrativodu, spojujícím roztěžník s isodromem. . Válcové
šoupátko 1 je suvně uloženo v trubkovém šoupátku 5 s příslušnými rozvodnými otvory F1 a ,
které jsou ve střední poloze přesně zakryty rozvodnými nákružky K1 a K2 válcového šoupátka
1. Trubkové šoupátko 5 je zavěšeno prostřednictvím převodové páky , spojené táhlem 7 s
oboustranně odpruženým kluzným kloubem , na pomocné vahadlo , které je pohybováno
převodovým vahadlem 3 vrativodu. Pomocné vahadlo 9 má otočný čep 10, který je ve směru
osy obou šoupátek 1, 5 buď pevný, nebo může býti osově pohybován tlakovou korekcí podle
změny tlaku na regulovaném stroji, nebo přestavován ručně.
Je zřejmo ze schématu pákového převodu, tvořeného převodovou pákou , táhlem 7
a pomocným vahadlem , že pohyb trubkového šoupátka 5 je současný, ale proti směru
pohybu válcového šoupátka 1. Pohybujeli se například válcové šoupátko 1 směrem
nahoru, pohybuje, se trubkové šoupátko 5 směrem dolů, takže průtoková výška odkrytí
otvorů F1 a F2 odpovídá součtu zdvihů válcového šoupátka 1 a trubkového
šoupátka . Pákový převod je popřípadě proveden tak, aby zdvih trub
kového šoupátka 5 byl větší, například dvojnásobek zdvihu válcového šoupátka 1, tedy
převod 12. Přitom je zdvih trubkového šoupátka 5 pmezen například na + 5 mm ze
střední polohy, a to narážkami N, takže další pohyb pomocného vahadla , je-li
převodová páka 6 v krajní poloze na narážce N, je vyrovnáván odpruženým kluzným
kloubem . Na obr. 2 jsou vyneseny zdvihy 1, obou šoupátek 1 a 5 a součet jejich zdvihů
podle čáry 15odpovídá odkrytí rozvodných otvorů F1 a F2
v závislosti na zdvihu roztěžníku. Z toho je zřejmé zrychlené otevření
rozvodných otvorů ,obou šoupátek 1, 5 při malých změnách rovnováhy. Převod
převodové páky 6 a pomocného vahadla 9 jakož i omezení zdvihu trubkového šoupátka
5 možno provésti různě podle účelu.
Z obr. 1 je zřejmé, že válcové šoupátko 1 s trubkovým šoupátkem , tedy dvojité
rozvodné šoupátko s oboustranně protisměrným pohybem, je relativně malé, lehké,
jednoduché, s možností dosažení přesných krycích hran. Zrychlující síly budou malé,
přitom trubkové šoupátko 5 je dobře odlehčené. Suvné uložení je možno účelně provést
a těsnost bude lepší než u rozvodného šoupátka velkého či etážového.
Rozvodné šoupátko bude urychleně reagovat na malé změny rovno
100
110
100883
vážného stavu a při velkých změnách nebude třeba velkého škrcení průtoku clonou.
Proudění oleje je lépe usměrněno než u rozvodných šoupátek etážových. Nastavení
dvojitého rozvodného šoupátka do střední polohy je snadné, protože není vázáno na
rozvodné kanály pevného tělesa. -
Na obr 3 je naznačeno schéma regulátoru. Je na příklad uvažován hydraulický
roztěžník se známým měrným pístem M s konstantním obsahem a se zesilovačem Z1
roztěžníku, dimensovaným tak, aby urychlil a pohyboval obě šoupátka 1 a 5, překonal
pasivní odpory a pružinu
v kluzném kloubu B. Je uvažováno i použití známého isodromního zaří
zení I, které je také opatřeno zesilovačem isodromu, stejně dimensovaným jako zesilovač Z1
roztěžníku. Pak může být použito přímého spojení rozvodného šoupátka S s převodovým
vahadlem 3 vrativodu a nebude zapotřebí obvyklého předrozvodu na rozvodném šoupátku.
Přestavení otočného čepu 10 ovlivní přestavení rozvodného šoupátka S a tím i polohu pístu
servomotoru, tedy i otáček regulovaného stroje. Pomocné vahadlo G může být souběžné s
převodovým vahadlem 3 vrati
vodu, které pak bude sestávat ze dvou plochých pák. Místo oboustranně
odpruženého kluzného kloubu 8 je možno použít známého hydraulického kloubu.
Naznačený směr z udává směr pohybu jednotlivých regulačních orgánů při zavírání.
Předmět patentu
Rozvodné šoupátko pro indirektní regulátory, sestávající z trubkového šoupátka s
rozvodnými otvory, v němž je suvně uloženo jednoduché válcové šoupátko s
rozvodnými nákružky, spojené prostřednictvím převodového vahadla s přestavujícím
orgánem roztěžníku a vratným vedením, vyznačené tím, že trubkové šoupátko (5) je
prostřednictvím
převodu, např. pákového, spojeno s převodovým vahadlem (3] vrativo-
du tak, že při svém přestavování se pohybuje současně, ale protisměrně vůči válcovému
šoupátku 1), přičemž zdvih trubkového šoupátka (5) je omezen narážkami (N), upravenými
např. proti převodové páce
Severografia, n. p, závod 03
cès
Příloha k patentnímu spisu čís. 100883
AZ

100883

  • 2.
    českoslovENSKÁ socialisticKÁ REPUBLIKA Třída 60,1 vydáno 15. září 1961 - . · Vyloženo 15. března 1961 PATENTNÍ spis č. 100883 Právok využití vynálezu přísluší státu podle 3 odst. 6 zák. . 54/1957 Sb. Inž. JAKUB KARÁSEK, PRAHA Rozvodné šoupátko pro indirektní regulátory Přihlášeno ledna 1960 (PV 409-60) · Platnost patentu od 20. ledna 1960 . ====== Indirektní regulátory mají servomotory s rozvodem tlakového oleje řízeným rozvodným válcovým šoupátkem, které je přestavováno frekvenčním čidlem, tj. roztěžníkem, a vráceno do střední polohy vrativodem. Určitému zdvihu roztěžníku odpovídá pak určitý zdvih roz- vodného šoupátka a tím i zdvih vratného vedení. Rozvodné šoupátko ovládá pohyb pístu servomotoru v určitém čase označovaném pro celý zdvih servomotoru časem závěru Ts. Rozvodné šoupátko musí býti co do poměru průměru a zdvihu dimensováno tak, aby nejen celého zdvihu servomotoru bylo dosaženo v žádaném času Ts, ale aby zejména při malých změnách rovnováž- ného stavu dosáhl servomotor rychle pohybu, aby regulace nebyla zpožděnou a pomalou, aby proto nedošlo ke značným změnám rych losti stroje. - - U velkých servomotorů to vede proto ke konstrukci rozvodných šoupátek velkého průměru a škrcení průtoku oleje clonami při velkých změnách zatížení, tj. při velkém zdvihu velkého rozvodného šoupátka. Provádějí se také šoupátka etážová, mající více
  • 3.
    rozvodných kanálů nadsebou. Veliká šoupátka mají špatnou těsnost, krycí hrany jsou obtížně obrobitelné, váha šoupátka je veliká a tím i zrychlující síly jsou veliké. Je proto nutno použíti tak zvaného předrozvodu se zesilovačem. Je tedy žádoucí z mnoha podmínek regulace a stability, aby rozvodné šoupátko mělo co nejmenší přípustný průměr a tomu.
  • 5.
    40 2 100883 odpovídající přiměřenýzdvih, ne násilně krátký, ale také ne dlouhý, získaný převodem pák vrativodu. Požaduje se, aby rozvodné šoupátko bylo jednoduché, ne etážové, s možností strojně obrobiti krycí hrany a průtoková okénka, aby šoupátko bylo lehké, s malou hmotou, se zdvihem uspořádaným tak, aby ihned i při malé změně zdvihu ze střední polohy bylo dosaženo dostatečných průtokových ploch. Konstrukcí rozvodného šoupátka podle vynálezu lze dosáhnouti požadovaných vlastností při zapojení do obvyklého pákového převodu vahadlem mezi roztěžníkem a vratným vedením. Podstatou je, že rozvodné šoupátko sestává z trubkového šoupátka s rozvodnými otvory, v němž je suvně uloženo jednoduché válcové šoupátko s rozvodnými nákružky, spojenými prostřednictvím převodového vahadla s přestavujícím orgánem roztěžníku a vratným vedením a pákovými převody tak, že trubkové šoupátko se pohybuje současně, ale protisměrně vůči válcovému šoupátku. . Obr. 1 znázorňuje příkladné provedení rozvodného šoupátka v řezu po délnou osou. Obr. 2 znázorňuje schéma zdvihů válcového a trubkového šoupátka v závislosti na zdvihu roztěžníku, a obr. 3 znázorňuje schémą. zapojení rozvodného šoupátka. Válcové šoupátko 1 se dvěma rozvodnými nákružky K1 a K2 je opatřeno tyčí 2, kterou je zavěšeno na převodovém vahadle 3 vrativodu, spojujícím roztěžník s isodromem. . Válcové šoupátko 1 je suvně uloženo v trubkovém šoupátku 5 s příslušnými rozvodnými otvory F1 a , které jsou ve střední poloze přesně zakryty rozvodnými nákružky K1 a K2 válcového šoupátka 1. Trubkové šoupátko 5 je zavěšeno prostřednictvím převodové páky , spojené táhlem 7 s oboustranně odpruženým kluzným kloubem , na pomocné vahadlo , které je pohybováno převodovým vahadlem 3 vrativodu. Pomocné vahadlo 9 má otočný čep 10, který je ve směru osy obou šoupátek 1, 5 buď pevný, nebo může býti osově pohybován tlakovou korekcí podle změny tlaku na regulovaném stroji, nebo přestavován ručně. Je zřejmo ze schématu pákového převodu, tvořeného převodovou pákou , táhlem 7 a pomocným vahadlem , že pohyb trubkového šoupátka 5 je současný, ale proti směru pohybu válcového šoupátka 1. Pohybujeli se například válcové šoupátko 1 směrem nahoru, pohybuje, se trubkové šoupátko 5 směrem dolů, takže průtoková výška odkrytí otvorů F1 a F2 odpovídá součtu zdvihů válcového šoupátka 1 a trubkového šoupátka . Pákový převod je popřípadě proveden tak, aby zdvih trub kového šoupátka 5 byl větší, například dvojnásobek zdvihu válcového šoupátka 1, tedy převod 12. Přitom je zdvih trubkového šoupátka 5 pmezen například na + 5 mm ze střední polohy, a to narážkami N, takže další pohyb pomocného vahadla , je-li převodová páka 6 v krajní poloze na narážce N, je vyrovnáván odpruženým kluzným kloubem . Na obr. 2 jsou vyneseny zdvihy 1, obou šoupátek 1 a 5 a součet jejich zdvihů
  • 6.
    podle čáry 15odpovídáodkrytí rozvodných otvorů F1 a F2 v závislosti na zdvihu roztěžníku. Z toho je zřejmé zrychlené otevření rozvodných otvorů ,obou šoupátek 1, 5 při malých změnách rovnováhy. Převod převodové páky 6 a pomocného vahadla 9 jakož i omezení zdvihu trubkového šoupátka 5 možno provésti různě podle účelu. Z obr. 1 je zřejmé, že válcové šoupátko 1 s trubkovým šoupátkem , tedy dvojité rozvodné šoupátko s oboustranně protisměrným pohybem, je relativně malé, lehké, jednoduché, s možností dosažení přesných krycích hran. Zrychlující síly budou malé, přitom trubkové šoupátko 5 je dobře odlehčené. Suvné uložení je možno účelně provést a těsnost bude lepší než u rozvodného šoupátka velkého či etážového. Rozvodné šoupátko bude urychleně reagovat na malé změny rovno
  • 8.
    100 110 100883 vážného stavu apři velkých změnách nebude třeba velkého škrcení průtoku clonou. Proudění oleje je lépe usměrněno než u rozvodných šoupátek etážových. Nastavení dvojitého rozvodného šoupátka do střední polohy je snadné, protože není vázáno na rozvodné kanály pevného tělesa. - Na obr 3 je naznačeno schéma regulátoru. Je na příklad uvažován hydraulický roztěžník se známým měrným pístem M s konstantním obsahem a se zesilovačem Z1 roztěžníku, dimensovaným tak, aby urychlil a pohyboval obě šoupátka 1 a 5, překonal pasivní odpory a pružinu v kluzném kloubu B. Je uvažováno i použití známého isodromního zaří zení I, které je také opatřeno zesilovačem isodromu, stejně dimensovaným jako zesilovač Z1 roztěžníku. Pak může být použito přímého spojení rozvodného šoupátka S s převodovým vahadlem 3 vrativodu a nebude zapotřebí obvyklého předrozvodu na rozvodném šoupátku. Přestavení otočného čepu 10 ovlivní přestavení rozvodného šoupátka S a tím i polohu pístu servomotoru, tedy i otáček regulovaného stroje. Pomocné vahadlo G může být souběžné s převodovým vahadlem 3 vrati vodu, které pak bude sestávat ze dvou plochých pák. Místo oboustranně odpruženého kluzného kloubu 8 je možno použít známého hydraulického kloubu. Naznačený směr z udává směr pohybu jednotlivých regulačních orgánů při zavírání. Předmět patentu Rozvodné šoupátko pro indirektní regulátory, sestávající z trubkového šoupátka s rozvodnými otvory, v němž je suvně uloženo jednoduché válcové šoupátko s rozvodnými nákružky, spojené prostřednictvím převodového vahadla s přestavujícím orgánem roztěžníku a vratným vedením, vyznačené tím, že trubkové šoupátko (5) je prostřednictvím převodu, např. pákového, spojeno s převodovým vahadlem (3] vrativo- du tak, že při svém přestavování se pohybuje současně, ale protisměrně vůči válcovému šoupátku 1), přičemž zdvih trubkového šoupátka (5) je omezen narážkami (N), upravenými např. proti převodové páce Severografia, n. p, závod 03
  • 12.
    cès Příloha k patentnímuspisu čís. 100883 AZ