BIOMETRIC ENCRYPTION
PRESENTED BY
Divya Kottikkal
‱ INTRODUCTION
‱ BIOMETRICS
‱ CRYPTOGRAPHY
‱ BIOMETRIC ENCRYPTION
‱ BIOMETRIC ENCRYPTION ALGORITHM
‱ ADVANTAGES
‱ APPLICATION
‱ SUMMARY
INTRODUCTION
‱ There are billions of computers in the
world and they are connected to each
other.
‱ Security becomes a critical problem that
must be solved by new reliable and
robust identification, verification or
cryptographic techniques
‱ Traditional password or user-id systems
are not secure enough to provide full
access control to a system.
‱ In order to improve the security of such
systems biometric information could be
incorporated into the passwords.
BIOMETRICS
‱ A biometric is defined as a
unique, measurable, biological
characteristic for recognizing or
verifying the identity of a human
being.
‱ Statistically analyzing these
biological characteristics is
known as the science of
biometrics.
‱ Biometric technologies for security includes
recognition of
‱ Faces
‱ Fingerprints
‱ Voice
‱ Signature strokes
‱ Iris and retina scans
‱ Keystroke patterns
‱ Ear shape
‱ DNA
‱ Body odor
‱ Gait.
‱ Biometric identification consists of two
stages
Enrollment
Verification/identification
ENROLLMENT
‱ In enrollment stage, a sample of the
biometric is acquired.
‱ In order to decrease the high
dimensionality ,a feature extraction phase
is applied and form a template of the
biometric.
VERIFICATION
‱ In verification phase, these features are
compared with the previously generated
biometric template.
CRYPTOGRAPHY
‱ Cryptography is an important
feature of computer security.
‱ Encryption refers to algorithmic
schemes that encode plain text
into non-readable form or
cyphertext using a “key” providing
privacy.
‱ The receiver of the encrypted text
uses a "key" to decrypt the
message, returning it to its
original plain text form.
‱ In this scheme ,the security is dependent on
the secrecy of the secret or private key.
‱ Security of the cryptographic key is weak due
to practical problems of remembering various
passcodes or writing them down to avoid data
loss.
‱ Since the passcode is not directly tied to a
user, the system is unable to differentiate
between the legitimate user and the attacker.
‱ Solution for this problem is
‘Biometric Encryption’.
BIOMETRIC
ENCRYPTION (BE)
‱ Biometric Encryption is a process that securely
binds a PIN or a cryptographic key to a
biometric, so that neither the key nor the
biometric can be retrieved from the stored
template.
‱ The key is re-created only if the correct live
biometric sample is presented on verification.
‱ Two phases
ENROLLMENT
VERIFICATION
ENROLLMENT
110011001011






..110
01011001
01
Randomly generated key
Biometrically-encrypted key is stored
Biometric Image
100110100010







010
Biometric Template
BE binding
algorithm
VERIFICATION
101100101010







000
Fresh Biometric Template
110011001011






..110
Biometrically-encrypted key
BE retrieval
algorithm
01011001
01
Key retrieved
Fresh Biometric Image
BIOMETRIC
ENCRYPTION
ALGORITHM
‱ The objective of the Biometric
Encryption algorithm is to provide a
mechanism for the linking and retrieval
of a digital key using a biometric.
‱ Biometric might be fingerprint,
palmprint, face, iris or retina.
‱ The resulting digital key is then used as
a cryptographic key.
ALGORITHM
‱ Correlation function
‱ Enrollment phase
‱ Verification phase
CORRELATION
‱ Algorithm uses the entire image instead
of using a feature-based approach.
‱ In order to present the biometric input ,a
correlation mechanism is applied.
‱ The correlation between the input
image f1(x) and the obtained image
during the verification phase f0(x) is
formally defined as
c( x) = FT− 1
{F1( X) F0( X) }
FT -Fourier Transform
‱ The process of the Biometric Encryption
does not extract a simple True/False
system
‱ It produces a more sophisticated output
pattern which is linked during
enrollment
with a digital key and subsequently
regenerated during verification to
retrieve the same key.
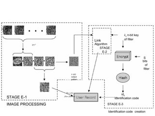
ENROLLMENT
‱ Enrollment phase contains three
stages.
E-1: Image Processing
E-2: Key linking
E-3: Identification code creation
FT
FT-1
Hstored(u)
id0
filter function
identification code
Link
Algorithm
STAGE
E-2
k0
n-bit key
of filter
c 0(x)
output
pattern
S
bits
of
filter
STAGE E-3
Identification code creation
STAGE E-1
IMAGE PROCESSING
‱ E-1: Image Processing Combine a
series of input fingerprint images with a
random (phase) array to create two
output arrays: Hstored
(u) and c0
(x).
‱ E-2: Key linking Link a cryptographic
key, k0
, to the pattern, c0
(x), via the link
algorithm.
‱ E-3: Identification code creation
Create an identification code, id0
,
derived from the key, k0
.
VERIFICATION
‱ Verification phase contains three stages
V-1: Image Processing
V-2: Key Retrieval
V-3: Validation
Retrieval
Algorithm
FT
STAGE
C1(x)
output
pattern
STAGE V-1
IMAGE PROCESSING
STAGE V-3
k1
bits
S
of
filter
id1compareid0
Hstored(u)
filter function
FT
-1
V-2
‱ V-1: Image Processing Combine
Hstored
(u), from the Bioscrypt, with a new
series of input fingerprint images to
create an output pattern, c1
(x).
‱ V-2: Key Retrieval Extract a key, k1
,
from c1
(x) using the retrieval algorithm.
‱ V-3: Validate the key.
ADVANTAGES
BE technologies can enhance privacy and security.
Some key advantages offered:
1. NO Retention of biometric image or template
2. Multiple / cancelable / revocable identifiers
3. Improved authentication security: stronger binding
of user biometric & system identifier
4. Improved security of personal data and
communications
5. Greater public confidence, acceptance, use Ă 
compliance with privacy & data protection laws
1.No Retention of biometric image
or template
‱ Most privacy and security concerns derive
from storage and misuse of the biometric
data.
‱ User retains control and use of their own
biometric
2.Multiple / cancelable / revocable
identifiers
‱ BE allows individuals to use one biometric for multiple
accounts and identifiers without fear that identifiers will be
linked together.
‱ If an account identifier becomes compromised, there is less
risk that all the other accounts will be compromised, i.e.,
no need to change one's fingers.
‱ BE technologies make possible the ability to change or
recomputed account identifiers; identifiers can be revoked
or cancelled, and substituted for newly generated ones
calculated from the same biometric.
3.Improved authentication
security
‱ Stronger binding of user biometric &
system identifier
‱ Results are much stronger account
identifiers:
– longer, more complex identifiers
– no need for user memorization
– less susceptible to security attacks
4.Improved security of personal
data and communications
‱ Since the key is one's own biometric, used
locally, this technology could place a
powerful tool in the hands of individuals
APPLICATIONS
‱ Biometric ticketing for events
‱ Biometric boarding cards for air travel
‱ Identification, credit and loyalty card systems
‱ “Anonymous” (untraceable) labeling of sensitive
records (medical, financial)
‱ Consumer biometric payment systems
‱ Access control to personal computing devices
‱ Personal encryption products
‱ Local or remote authentication to access files held
by government and other various organizations
SUMMARY
‱ BE technologies exemplify the fundamental
privacy and data protection principles
‱ Although introducing biometrics into
information systems may result in
considerable benefits, it can also introduce
many new security and privacy vulnerabilities,
risks, and concerns.
‱ Novel Biometric Encryption techniques can
overcome many of those risks and
vulnerabilities, resulting distinct advantages
to both security and privacy.
Biometric encryption

Biometric encryption

  • 1.
  • 2.
    ‱ INTRODUCTION ‱ BIOMETRICS ‱CRYPTOGRAPHY ‱ BIOMETRIC ENCRYPTION ‱ BIOMETRIC ENCRYPTION ALGORITHM ‱ ADVANTAGES ‱ APPLICATION ‱ SUMMARY
  • 3.
  • 4.
    ‱ There arebillions of computers in the world and they are connected to each other. ‱ Security becomes a critical problem that must be solved by new reliable and robust identification, verification or cryptographic techniques ‱ Traditional password or user-id systems are not secure enough to provide full access control to a system. ‱ In order to improve the security of such systems biometric information could be incorporated into the passwords.
  • 5.
  • 6.
    ‱ A biometricis defined as a unique, measurable, biological characteristic for recognizing or verifying the identity of a human being. ‱ Statistically analyzing these biological characteristics is known as the science of biometrics.
  • 7.
    ‱ Biometric technologiesfor security includes recognition of ‱ Faces ‱ Fingerprints ‱ Voice ‱ Signature strokes ‱ Iris and retina scans ‱ Keystroke patterns ‱ Ear shape ‱ DNA ‱ Body odor ‱ Gait.
  • 9.
    ‱ Biometric identificationconsists of two stages Enrollment Verification/identification
  • 10.
    ENROLLMENT ‱ In enrollmentstage, a sample of the biometric is acquired. ‱ In order to decrease the high dimensionality ,a feature extraction phase is applied and form a template of the biometric.
  • 11.
    VERIFICATION ‱ In verificationphase, these features are compared with the previously generated biometric template.
  • 12.
  • 13.
    ‱ Cryptography isan important feature of computer security. ‱ Encryption refers to algorithmic schemes that encode plain text into non-readable form or cyphertext using a “key” providing privacy. ‱ The receiver of the encrypted text uses a "key" to decrypt the message, returning it to its original plain text form.
  • 14.
    ‱ In thisscheme ,the security is dependent on the secrecy of the secret or private key. ‱ Security of the cryptographic key is weak due to practical problems of remembering various passcodes or writing them down to avoid data loss. ‱ Since the passcode is not directly tied to a user, the system is unable to differentiate between the legitimate user and the attacker. ‱ Solution for this problem is ‘Biometric Encryption’.
  • 15.
  • 16.
    ‱ Biometric Encryptionis a process that securely binds a PIN or a cryptographic key to a biometric, so that neither the key nor the biometric can be retrieved from the stored template. ‱ The key is re-created only if the correct live biometric sample is presented on verification.
  • 17.
  • 18.
    ENROLLMENT 110011001011
 




..110 01011001
01 Randomly generated key Biometrically-encryptedkey is stored Biometric Image 100110100010
 





010 Biometric Template BE binding algorithm
  • 19.
  • 20.
  • 21.
    ‱ The objectiveof the Biometric Encryption algorithm is to provide a mechanism for the linking and retrieval of a digital key using a biometric. ‱ Biometric might be fingerprint, palmprint, face, iris or retina. ‱ The resulting digital key is then used as a cryptographic key.
  • 22.
    ALGORITHM ‱ Correlation function ‱Enrollment phase ‱ Verification phase
  • 23.
    CORRELATION ‱ Algorithm usesthe entire image instead of using a feature-based approach. ‱ In order to present the biometric input ,a correlation mechanism is applied.
  • 24.
    ‱ The correlationbetween the input image f1(x) and the obtained image during the verification phase f0(x) is formally defined as c( x) = FT− 1 {F1( X) F0( X) } FT -Fourier Transform
  • 25.
    ‱ The processof the Biometric Encryption does not extract a simple True/False system ‱ It produces a more sophisticated output pattern which is linked during enrollment with a digital key and subsequently regenerated during verification to retrieve the same key.
  • 26.
    ENROLLMENT ‱ Enrollment phasecontains three stages. E-1: Image Processing E-2: Key linking E-3: Identification code creation
  • 27.
    FT FT-1 Hstored(u) id0 filter function identification code Link Algorithm STAGE E-2 k0 n-bitkey of filter c 0(x) output pattern S bits of filter STAGE E-3 Identification code creation STAGE E-1 IMAGE PROCESSING
  • 28.
    ‱ E-1: ImageProcessing Combine a series of input fingerprint images with a random (phase) array to create two output arrays: Hstored (u) and c0 (x). ‱ E-2: Key linking Link a cryptographic key, k0 , to the pattern, c0 (x), via the link algorithm. ‱ E-3: Identification code creation Create an identification code, id0 , derived from the key, k0 .
  • 29.
    VERIFICATION ‱ Verification phasecontains three stages V-1: Image Processing V-2: Key Retrieval V-3: Validation
  • 30.
    Retrieval Algorithm FT STAGE C1(x) output pattern STAGE V-1 IMAGE PROCESSING STAGEV-3 k1 bits S of filter id1compareid0 Hstored(u) filter function FT -1 V-2
  • 31.
    ‱ V-1: ImageProcessing Combine Hstored (u), from the Bioscrypt, with a new series of input fingerprint images to create an output pattern, c1 (x). ‱ V-2: Key Retrieval Extract a key, k1 , from c1 (x) using the retrieval algorithm. ‱ V-3: Validate the key.
  • 32.
  • 33.
    BE technologies canenhance privacy and security. Some key advantages offered: 1. NO Retention of biometric image or template 2. Multiple / cancelable / revocable identifiers 3. Improved authentication security: stronger binding of user biometric & system identifier 4. Improved security of personal data and communications 5. Greater public confidence, acceptance, use Ă  compliance with privacy & data protection laws
  • 34.
    1.No Retention ofbiometric image or template ‱ Most privacy and security concerns derive from storage and misuse of the biometric data. ‱ User retains control and use of their own biometric
  • 35.
    2.Multiple / cancelable/ revocable identifiers ‱ BE allows individuals to use one biometric for multiple accounts and identifiers without fear that identifiers will be linked together. ‱ If an account identifier becomes compromised, there is less risk that all the other accounts will be compromised, i.e., no need to change one's fingers. ‱ BE technologies make possible the ability to change or recomputed account identifiers; identifiers can be revoked or cancelled, and substituted for newly generated ones calculated from the same biometric.
  • 36.
    3.Improved authentication security ‱ Strongerbinding of user biometric & system identifier ‱ Results are much stronger account identifiers: – longer, more complex identifiers – no need for user memorization – less susceptible to security attacks
  • 37.
    4.Improved security ofpersonal data and communications ‱ Since the key is one's own biometric, used locally, this technology could place a powerful tool in the hands of individuals
  • 38.
  • 39.
    ‱ Biometric ticketingfor events ‱ Biometric boarding cards for air travel ‱ Identification, credit and loyalty card systems ‱ “Anonymous” (untraceable) labeling of sensitive records (medical, financial) ‱ Consumer biometric payment systems ‱ Access control to personal computing devices ‱ Personal encryption products ‱ Local or remote authentication to access files held by government and other various organizations
  • 40.
  • 41.
    ‱ BE technologiesexemplify the fundamental privacy and data protection principles ‱ Although introducing biometrics into information systems may result in considerable benefits, it can also introduce many new security and privacy vulnerabilities, risks, and concerns. ‱ Novel Biometric Encryption techniques can overcome many of those risks and vulnerabilities, resulting distinct advantages to both security and privacy.