www.traxxas.com
www.continentalconveyor.com
/www2.chicago-rawhide.com
Chapter 14
Bearings
Bearings
Function:
• Carry load in one or several directions while
allowing frictionless motion in other directions
Fatigue = F(Pressure, Velocity)
• 3 main types of Bearings
– Rolling Element Bearings
– Sliding Bearings
– Elastomeric Bearings
www.me.psu.edu
www.bharatpetroleum.com
2 TYPES OF ROLLING
BEARINGS
I. Ball Bearings
II. Roller Bearings
• Ball Bearing
– Incorporates hardened
steel balls
– Steel balls geometrically
contact inner and outer
race at a point
– This creates high stresses
locally
www.duratrax.com
I. Ball Bearing:
cage
seals Inner race
Outer
race
Ball Bearings
How to Assemble
-Inner race press fit onto
shaft shoulder (FN1, FN2)
-Assembly slides into
housing (RC2) between outer
race and housing
Types of Ball Bearings
• Deep Groove Ball
Bearings
– Primarily radial load
carrying
– Thrust load equal to
25% of radial load
– Can get as large as
300K radial load
capacity
http://my.ecplaza.net/nbsinobest/12l.asp
Types of Ball Bearings
• Double Deep Groove
– Increases radial load
Types of Ball Bearings
• Angular contact ball bearing
– Increased thrust load due to increase in
lateral contact area between ball and race
www.hz-bearing.com
Types of Ball Bearings
• Thrust Bearings
– Used in applications
with significant thrust
load
http://kianho.com
Types of Ball Bearings
• Super precision ball
bearings
– Nearly perfect spheres
– High surface finish
• Applications
– High speed grinding,
milling, boring, routing
– No Vibration!!
• Ceramics
– Hard
– No deformationwww.timken.com
HOW It’s MADE:
1. http://www.youtube.com/watch?v=eGyoMuE4gDQ
2. http://www.youtube.com/watch?v=k8SHKy5tXbI&feature=related
II. Roller Bearings
• Roller Bearings
– Hardened steel cylindrical rollers
– Line contact deforms into areas larger then
ball bearings
– Capable of carrying higher radial loads
Types of Roller Bearings
• Needle Bearings
– 4 joint machine
applications
– As the number of rollers
goes up the greater the
contact area
– The greater the contact
area the greater the load
www.clworldwide.com
Types of Roller Bearings
• Spherical Roller Bearings
– Centers inner race about
shaft to avoid binding
www.dclcorp.co.kr/image/Nachi3.jpg
Types of Roller Bearings
• Tapered Roller Bearing
– Support high thrust
loads (wheel bearing)
– Supports radial load (car
weight) while supporting
thrust loads (cornering)
– Wheel rotates with little
resistance/friction
www.ahrinternational.com
Types of Roller Bearings
• Thrust Roller Bearings
– Used in applications
with significant thrust
load
www.timken.com
Mounted Bearings
Precision machine
elements such as
transmissions, reducers,
right angle drives usually
incorporate un-mounted
bearings
Other Types of Bearings
• Thompson linear
bearings
• Sliding Bearings
– No rolling elements
– Sleeve over shaft
where sleeve acts like
bearing (Generally
higher friction)
– Bronze good material
due to coefficient of
friction, porosity and
wear resistance
www.intbearing.com
Other Types of Bearings
• Self Lubricating
Bearings
– Low Friction
– No lubrication needed
Elastomeric Bearings
www.garlockbearings.com
http://www.polygoncompany.com/ http://www.polygoncompany.com/
Ball Joint – 3 rotational DOF HEIM Bearing
See heim overview powerpoint
V-22 OSPREY
Drive LinkDrive Link Hub Spring SetHub Spring Set
PendulumPendulum
SpringSpring
PitchPitch
Change BearingChange Bearing
GimbalGimbal
BearingBearing
Outboard SpindleOutboard Spindle
CentrifugalCentrifugal
BearingBearing
InboardInboard
BeamBeam
PitchPitch
Change SystemChange System
DownstopDownstop
www.lordmpd.com
HCL Components of V-22 Osprey
Drive Link
Centrifugal
Bearing
www.lordmpd.com
Bearing Selection see sec 14.6 – 14.10:
Selecting Bearings
Load-Life Relationship:
k
P
P
L
L






=
2
1
1
2
P1 = load 1, L1 = life at load 1,
k = 3.00 for ball bearings
k = 3.333 for roller bearings
Example: A ball bearing lasts 3,000 hours at 500 lb,
how long will it last at 1,000 lbs? SIMPLE!
Selecting Bearings Cont’d
k
P
P
L
L






=
2
1
1
2
Most manufacturers specify
basic dynamic load rating, C,
which is the load that results
in 106
cycles. So, this
equation can be rewritten as:
6
10
k
d
d
P
C
L 





= = Design Life for your
specific application for a
design load of Pd
k
d
d
L
PC
/1
6
10






=
= Required dynamic load
rating for a design life =
Ld
Note, these are all L10 lives!!!
Which is the life for 90% reliability
“2” = 200
series
Example: A horizontal washing machine rotates at 1,100 rpm. Spec out
bearings on ends if the dynamic radial load is 400 lb and static load is 75
lb. Want machine to last 20 years @ 3 loads per day, 30 minute cycle
time/load.
Can use charts shown in 14-12 to get C. Or
equation presented earlier.
CAREFUL!
• Previous equations assumes: L10 life, and
inner race rotates and radial load only!!
1. Inner race rotates, then Pd = P = V*R where V = 1.0 if inner
race rotates and V = 1.2 if outer race rotates.
2. Lar = CR * L10
Washing machine example, what if want 99% reliability??
3. What if thrust load is present??? - iteration
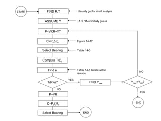
P = VXR + YT
P = Load
V = Rotation Factor (1.0 – Inner Race, 1.2 – Outer Race)
X = Radial Factor (.56 if Y>0)
R = Applied Radial Load
Y = Thrust Factor
T = Applied Thrust Load
*Thrust Load Present – Deep Groove Ball Bearing
START FIND R,T
ASSUME Y
P=VXR+YT
C=PdfL/fN
Select Bearing
Compute T/Co
Find e
T/R>e?
P=VR
C=PdfL/fN
Select Bearing END
FIND Ynew
Ynew=Yold?
END
Figure 14-12
Table 14-3
YES
NO
YES
NO
Table 14-5 Iterate within
reason
Usually get for shaft analysis
~1.5 *Must initially guess

Ball bearing

  • 1.
  • 2.
    Bearings Function: • Carry loadin one or several directions while allowing frictionless motion in other directions Fatigue = F(Pressure, Velocity) • 3 main types of Bearings – Rolling Element Bearings – Sliding Bearings – Elastomeric Bearings
  • 3.
  • 4.
    2 TYPES OFROLLING BEARINGS I. Ball Bearings II. Roller Bearings
  • 5.
    • Ball Bearing –Incorporates hardened steel balls – Steel balls geometrically contact inner and outer race at a point – This creates high stresses locally www.duratrax.com I. Ball Bearing: cage seals Inner race Outer race
  • 6.
    Ball Bearings How toAssemble -Inner race press fit onto shaft shoulder (FN1, FN2) -Assembly slides into housing (RC2) between outer race and housing
  • 7.
    Types of BallBearings • Deep Groove Ball Bearings – Primarily radial load carrying – Thrust load equal to 25% of radial load – Can get as large as 300K radial load capacity http://my.ecplaza.net/nbsinobest/12l.asp
  • 8.
    Types of BallBearings • Double Deep Groove – Increases radial load
  • 9.
    Types of BallBearings • Angular contact ball bearing – Increased thrust load due to increase in lateral contact area between ball and race www.hz-bearing.com
  • 10.
    Types of BallBearings • Thrust Bearings – Used in applications with significant thrust load http://kianho.com
  • 11.
    Types of BallBearings • Super precision ball bearings – Nearly perfect spheres – High surface finish • Applications – High speed grinding, milling, boring, routing – No Vibration!! • Ceramics – Hard – No deformationwww.timken.com
  • 12.
    HOW It’s MADE: 1.http://www.youtube.com/watch?v=eGyoMuE4gDQ 2. http://www.youtube.com/watch?v=k8SHKy5tXbI&feature=related
  • 13.
    II. Roller Bearings •Roller Bearings – Hardened steel cylindrical rollers – Line contact deforms into areas larger then ball bearings – Capable of carrying higher radial loads
  • 14.
    Types of RollerBearings • Needle Bearings – 4 joint machine applications – As the number of rollers goes up the greater the contact area – The greater the contact area the greater the load www.clworldwide.com
  • 15.
    Types of RollerBearings • Spherical Roller Bearings – Centers inner race about shaft to avoid binding www.dclcorp.co.kr/image/Nachi3.jpg
  • 16.
    Types of RollerBearings • Tapered Roller Bearing – Support high thrust loads (wheel bearing) – Supports radial load (car weight) while supporting thrust loads (cornering) – Wheel rotates with little resistance/friction www.ahrinternational.com
  • 17.
    Types of RollerBearings • Thrust Roller Bearings – Used in applications with significant thrust load www.timken.com
  • 19.
    Mounted Bearings Precision machine elementssuch as transmissions, reducers, right angle drives usually incorporate un-mounted bearings
  • 20.
    Other Types ofBearings • Thompson linear bearings • Sliding Bearings – No rolling elements – Sleeve over shaft where sleeve acts like bearing (Generally higher friction) – Bronze good material due to coefficient of friction, porosity and wear resistance www.intbearing.com
  • 21.
    Other Types ofBearings • Self Lubricating Bearings – Low Friction – No lubrication needed Elastomeric Bearings www.garlockbearings.com http://www.polygoncompany.com/ http://www.polygoncompany.com/
  • 23.
    Ball Joint –3 rotational DOF HEIM Bearing See heim overview powerpoint
  • 24.
    V-22 OSPREY Drive LinkDriveLink Hub Spring SetHub Spring Set PendulumPendulum SpringSpring PitchPitch Change BearingChange Bearing GimbalGimbal BearingBearing Outboard SpindleOutboard Spindle CentrifugalCentrifugal BearingBearing InboardInboard BeamBeam PitchPitch Change SystemChange System DownstopDownstop www.lordmpd.com
  • 25.
    HCL Components ofV-22 Osprey Drive Link Centrifugal Bearing www.lordmpd.com
  • 26.
    Bearing Selection seesec 14.6 – 14.10:
  • 27.
    Selecting Bearings Load-Life Relationship: k P P L L       = 2 1 1 2 P1= load 1, L1 = life at load 1, k = 3.00 for ball bearings k = 3.333 for roller bearings Example: A ball bearing lasts 3,000 hours at 500 lb, how long will it last at 1,000 lbs? SIMPLE!
  • 28.
    Selecting Bearings Cont’d k P P L L       = 2 1 1 2 Mostmanufacturers specify basic dynamic load rating, C, which is the load that results in 106 cycles. So, this equation can be rewritten as: 6 10 k d d P C L       = = Design Life for your specific application for a design load of Pd k d d L PC /1 6 10       = = Required dynamic load rating for a design life = Ld Note, these are all L10 lives!!! Which is the life for 90% reliability
  • 29.
  • 30.
    Example: A horizontalwashing machine rotates at 1,100 rpm. Spec out bearings on ends if the dynamic radial load is 400 lb and static load is 75 lb. Want machine to last 20 years @ 3 loads per day, 30 minute cycle time/load.
  • 32.
    Can use chartsshown in 14-12 to get C. Or equation presented earlier.
  • 33.
    CAREFUL! • Previous equationsassumes: L10 life, and inner race rotates and radial load only!! 1. Inner race rotates, then Pd = P = V*R where V = 1.0 if inner race rotates and V = 1.2 if outer race rotates. 2. Lar = CR * L10 Washing machine example, what if want 99% reliability?? 3. What if thrust load is present??? - iteration
  • 34.
    P = VXR+ YT P = Load V = Rotation Factor (1.0 – Inner Race, 1.2 – Outer Race) X = Radial Factor (.56 if Y>0) R = Applied Radial Load Y = Thrust Factor T = Applied Thrust Load *Thrust Load Present – Deep Groove Ball Bearing
  • 35.
    START FIND R,T ASSUMEY P=VXR+YT C=PdfL/fN Select Bearing Compute T/Co Find e T/R>e? P=VR C=PdfL/fN Select Bearing END FIND Ynew Ynew=Yold? END Figure 14-12 Table 14-3 YES NO YES NO Table 14-5 Iterate within reason Usually get for shaft analysis ~1.5 *Must initially guess