ČESKOSLOVENSKÁ REPUBLIKA
U R A D P R O PAT EN TY A VYNÁLEZY
Třída 45 c, 19/01
Vydáno 15. července 1961 Vyloženo 15. února 1961
PATENTNÍ SPIS č. 100393
Právo k využití vynálezu přísluší státu podle 3 odst. 6 zák. . 34/1957 Sb. HERBERT
KRETZSCHMAR, KNAUTNAUNDORF über Bösdorf (NDR)
Stroj na sklizeňřepy
Přihlášeno . listopadu 1957 (PV 4172-57) Platnost patentu od . listopadu 1957 Právo přednosti od 12.
prosince 1956 (Německá demokratická republika)
Předmětem vynálezu je stroj na sklizeň řepy, výhodně pro současnou sklizeň ve třech řádcích,
přičemž stroj ořezává hlavy bulev, dosud vězících v půdě, dopravuje oříznutý chrást do strany, kde jej
buď ukládá na pole, nebo na dopravní vozidlo, vyorává předtím oříznuté bulvy a sesypává je do řady na
zem tak, že bulvy vyorané při
dvou po sobě jdoucích průjezdech stroje jsou sesypávány do téže
podélné řady. -
Jsou již známé sklizňové stroje na řepu, které jsou upraveny tak, že ústrojí pro ořezávání chrástu a
ústrojí pro vyorávání bulev jsou umístěna vedle sebe ve společném rámu, takže bulvy, u nichž byl při
předcházejícím průjezdu stroje oříznut chrást, jsou při následujícím průjezdu stroje vyorány z půdy. U
těchto strojů však ústrojí pro ořezávání chrástu a ústrojí pro vyorávání bulev jsou upevněna pevně na
rámu, takže jejich vzájemnou vzdálenost nelze měnit. U přívěsných strojů jsou tato ústrojí ovládána
zařízením mezi vlečným traktorem a taženým strojem, u strojů s vlastním pohonem převodem od řídicího
kola stroje. Ořezávací i vyorávací ústrojí jsou však - vždy ovládána současně. r .
Přívěsné stroje mohou mít také zadní nápravu , poháněnou od prodlouženého hřídele
vlečného traktoru, aby se zmenšil tažný odpor. .
Stroje s. vlastními pohonem i přívěsné stroje bývají opatřeny příčnými
50
100393
dopravníky a sběračí nebo nakladači, které umožňují ukládat vyorané bulvy a ořezaný chrást v
oddělených podélných nebo v příčných řadách na pole. U těchto známých strojů je však obtížné
upravit potřebná zařízení pro samočinné seřizování výšky řezu a dopravní pásy tak, aby stroj
mohl pracovat současně ve větším počtu řádků. Proto jsou tyto známé stroje většinou
jednořádkové nebo nejvýše dvouřádkové. Dále jsou známé sklizňové stroje, které nejprve
vytáhnou bulvu řepy i s chrástem z půdy, přidrží ji ve svěrném ústrojí a teprve ve stroji odříznou
od bulvy chrást. Tyto stroje mohou pracovat i jako víceřádkové, například třířádkové, mají však
tu nevýhodu, že velmi často jsou bulvy ořezávány v nevhodné výšce, takže buď se bulva
seřízne příliš hluboko, čímž vznikají zbytečné sklizňové ztráty, nebo je naopak řez veden příliš
vysoko, takže oříznutí je nečisté. Takové stroje iza uspořádat jako třířádkové jen tehdy, není-li
vázáno ořezávání chrástu na bulvy v zemi a chrást se ořezává až za vyorávacím ústrojím. Jsou-
li ústrojí pro ořezávání chrástu a pro vyorávání bulev uspořádána vedle sebe, má například
dvouřádkový stroj pracovní šířku odpovídající čtyřem řádkům. U dosud běžných nehybných
uspořádání těchto ústrojí vedle sebe je společné ovládání nevýhodné, poněvadž při přejíždění
vznikají rozdíly mezi vzdálenostmi řádků bulev vysetých řádkovacím secím strojem a řádkovými
vzdálenostmi jednotlivých vyorávacích a ořezávacích ústrojí na , sklizňovém stroji. -
Několikařádkové přívěsné sklizňové stroje jsou většinou přívěšeriy za vlečným traktorem
jednostranně, tj. tak, že jejich podélná střední osa je přesazena stranou vzhledem k podélné ose
vlečného traktoru. U takových uspořádání je nevýhodné, že stopa pojížděcích kol přívěsného stroje
nesouhlasí se stopou vlečného traktoru, resp. že při jízdě zpět nebo při druhém průjezdu stroje nejsou
zaručeny stejné vzdálenosti nové stopy vzhledem k staré projeté stopě. To je nevýhodné především pro
práci mechanických, za sklizňovým strojem pojíždějících nakladačů bulev i chrástu, pokud jsou
shazovány do řad na pole. Sklizeň padá do stop strojů předchozího průjezdu a není uchopena nakladači.
Kromě toho se přitom pole silně rozjezdí.
Úkolem vynálezu je vytvořit sklizňový stroj pro scučasnou sklízeň chrástu i oříznutých bulev, který by
umožňoval více než dva řádky bulev současně ořezávat a vyorávat a který by neměl shora uvedené
nevýhody známých sklizňových strojů, •
Podle vynálezu se toho dosáhne tím, že ořezávače chrástu jsou uloženy v hlavním rámu
stroje příčně posuvně, jsou přestavitelné samostatným ovládacím ústrojím a obklopují příčný
dopravní pás, uložený nepřestavitelně v hlavním rámu. Nęzávisle na nich je zavěšeno vyorávací
ústrojí ve vedlejším rámu, který je uložen natáčivě kolem čepu na hlavním rámu a vpředu
vybíhá v třmen, opírající se o vedení v hląvním rámu. Vyorávací zařízení může takto vykyvovat
do stran vlastním ovládacím ústrojím. Závěsné táhlo hlavního rámu stroje
je upraveno stranou od podélné roviny souměrnosti tohoto rámu tak,
že pravé ządní kolo sklizňového stroje jede ve stopě pravého zadního kola vlečného
traktoru, přední kolo sklizňového stroje ve štopě levého zadního kola traktoru a levé
zadní kolo sklizňového stroje jede ve stopě, jejíž vzdálenost od stopy levého zadního
kola traktoru se rovná rozchodu zadních kol traktoru. -
K dosažení dobrého očištění bulev je nad předním prosévacím transportérem
vyorávacího ústrojí rovnoběžně s ním upraven pomocný rám, kterém je kyvně zavěšeno
několik řad čisticích třmenů podle
toho, na kolik řádků stroj pracuje. . . .
100
110
120
130
Na konci příčného dopravního pásu je upraven sesypávací plech, který je výkyvný
kolem příčné osy přestavitelně upevněné ke sklizňovému stroji kloubovými vzpěrami. U
výstupního konce zadního prosévacího transportéru jest upravena nálevkovitá výsypka,
která vyúsťuje jednak do svislé výpusti, jednak do šikmé výpusti. Vždy jedna z těchto
výpustí je střídavě uzavřena ovládací klapkou. Aby bylo možné nakládat bulvy přímo na
dopravní vozidlo, je uvedená výsypka vyměnitelná za dopravní pás.
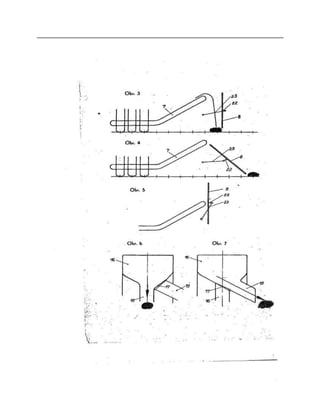
Příklad provedení vynálezu je schematicky znázorněn na
pojených výkresech. Jednotlivá vyobrazení znázorňují: obr. 1 pohled ze strany na stroj podle
vynálezu; obr. 2 pohled na stroj shora při práci na poli; obr. 3 a 4 pohled ve směru jízdy stroje
na ořezávací ústrojí při dvou různých postaveních sesypávacího plechu; obr. 5 polohu
sesypávacího plechu při dopravě sklizňového stroje po silnici;
obr. 6 a 7 pchled ve směru jízdy stroje na sesypávací zařízení vyorávacího ústrojí ve dvou různých
postaveních;
obr. 8 schematický pohled ze strany na prosévací transportéry vy
orávacího ústrojí.
Hlavní rám 1 stroje pojíždí jednak na předním kole 2, jehož osa je volně otočná do stran, takže se
toto kolo samočinně nastavuje do správného směru jízdy, jednak na dvou zadních kolech , pcháněných
od drážkového hřídele vlečného traktoru. Přední kolo 2 a pravě zadní kolo 3 jedou ve stopě obou kol
vlečného traktoru, kdežto zadní levé kolo 3 sklizňového stroje jede ve stopě, která je od stopy lavého kola
traktoru vzdálena o jeden rozchod kol traktoru. Ustrojí pro ořezávání chrástu 4 jsou uspřádána stranou od
stopy vlečného traktoru, a to přesazeně doleva vzhledem k vyorávacím radlicím . Všechny tři ořezávače 4
jsou uloženy ve vedlejším rámu , který lze otáče
ním řídicího kola posunovat doleva a doprava. Příčný dopravní pás .
je uložen nepřestavitelně v hlavním rámu 1 stroje. U jednoho konce tohoto příčného dopravního pásu je
upraven sesypávací plech , který lze nastavit buď do polohy, znázorněné na obr. 3, ve které se sklizený
materiál sesypává na vnitřní straně sesypávacího plechu, nebo do polohy podle obr. 4, ve které se
materiál sesypává na vnější straně tohoto plechu. Při jízdě sklizňového stroje po silnici je sesypávací
plech přestaven do polohy, znázorněné na obr. 5. Oříznutý chrást i vyorané bulvy se sesypávají v řadách
(24, 25) na tu část pole, která byla již úplně sklizena, a to vždy v pruhu, přes který nejelo předtím žádné
kolo traktoru ani sklizňového stroje. Pruh, po němž jelo kolo traktoru, je označen 26. To umožňuje velmi
čistý sběr oříznutého chrástu samočinným nakládacím zařízením, které jede za sklizňovým strojem.
Vedlejší rám , ve kterém je uloženo vyorávací ústrojí , je spojen čepem. 10 vodorovně
výkyvně s hlavním rámem 1 stroje a je třmenem na svém předním konci veden ve vedení 11 na
hlavním rámu stroje. Otáčením řídicího kola, upraveného na této části stroje, přestavuje se rám
9 natáčením kolem čepu 10. Nezávislé přestavování rámu 9 s vyorávacími radlicemi a rámu 6 s
ořezávači chrástu 4 umožňuje, že sklizňový stroj může vyrovnávat odchylky ve vzdálenostech
řádků, způsobené řádkovacím secím strojem.
Na přední straně vedlejšího rámu 9 jsou zavěšeny vyorávací radlice 5 a, za nimi je
umístěn přední prosévací transportér 12. K lepšímu očištění, vyoraných bulev je nad
tímto předním prosévacím trasportérem upraven pomocný rám 13, na němž jsou
zavěšeny tři řady čisti
140
150
160
170
4 100393
cích třmenů 14. zadní prosévací transportér 13 má strmější stoupání
než přední prosévací transportér a je osázen unášeči. Strmým stoupáním zadního
prosévacího transportéru se podstatně zlepší jeho čisticí účinek na bulvy a lépe se
rozdrtí hroudy hlíny, které na bulvách nebo mezi bulvami ještě zbyly. Ze zadního
prosévacího transportéru 15 spadávají bulvy do nálevkovité výsypky 16 a odtud
spadávají na zem buď svislou výpustí 18, nebo šikmou výpustí 19 podle toho, jak je
postavena ovládací klapka 17. Také v tomto případě spadávají sklizené
bulvy na takový pruh půdy, po kterém předtím nejelo žádné kolo, takže
je usnadněno mechanické nakládání bulev sběrným zařízením, které jede za sklizňovým
strojem.
Náprava 20 zadních kol je poháněna, což je nutné, má-li stroj spolehlivě pracovat na těžkých,
mazlavých půdách, Protože pohon zadních kol sklizňového stròje je nutný jen tehdy, jsou-li radlice v
záběru s půdou, vypíná se pohon nápravy 20 samočinně, jakmile se radlice zvednou z tohoto účinného
záběru. Závěsné táhlo 21 je upraveno
stranou od podélné roviny souměrnosti hlavního rámu 1 sklizňového
stroje, protože pro vlek vyorávacího ústrojí je zapotřebí nepoměrně
větší tažné síly než pro vlek ořezávacího ústrojí.
Sesypávací plech 8 je uspořádán výkyvně kolem příčné osy, jejíž poloha je přestavitelná vzhledem
ke stroji skloubenými vzpěrami 22 a 23, takže plechu lze použít jednou jako skluzu pro sesypávání
zaného chrástu na větší vzdálenost, po druhé jako nárazného plechu pro sesypávání chrástu blíže ke
stroji.
Sklizňový stroj podle vynálezu sesypává ořezaný chrást a bulvy v podélné řady vzdálené od sebe o
rozchod kol vlečného traktoru. Sesypávací zařízení je kladou při prvním průjezdu těsně u stroje, při
druhém průjezdu na vzdálenost několika řádků.
Stroj na sklizeň , jehož pracovní šířka činí výhodně tři řádky, ořezávací a vyorávací ústrojí
jsou upravena napříč vedle sebe a náprava zadních kol je poháněna, vyznačený tím, že
ořezávače (4) chrástu jsou v hlavním rámu (1) sklizňového stroje uloženy příčně posuvně a jsou
přestavitelné ovládacím ústrojím, zatímco vyorávací radlice (5) jsou uloženy ve vedlejším rámu
(9) stroje a jsou nezávisle na ořezávačích (4) chrástu otočné kolem čepu (10) vedlejšího rámu
(9), jehož přední konec vybíhá v třmen, opírající se o vedení (11), upravené v hlavním rámu 1].
· · · · · · · Severografia n. p, závod 03 .
-- - - - - -
. Obr. 6 Obr. 7
Příloha k patentnímu spisu č. 100393

100393

  • 2.
    ČESKOSLOVENSKÁ REPUBLIKA U RA D P R O PAT EN TY A VYNÁLEZY Třída 45 c, 19/01 Vydáno 15. července 1961 Vyloženo 15. února 1961 PATENTNÍ SPIS č. 100393 Právo k využití vynálezu přísluší státu podle 3 odst. 6 zák. . 34/1957 Sb. HERBERT KRETZSCHMAR, KNAUTNAUNDORF über Bösdorf (NDR) Stroj na sklizeňřepy Přihlášeno . listopadu 1957 (PV 4172-57) Platnost patentu od . listopadu 1957 Právo přednosti od 12. prosince 1956 (Německá demokratická republika) Předmětem vynálezu je stroj na sklizeň řepy, výhodně pro současnou sklizeň ve třech řádcích, přičemž stroj ořezává hlavy bulev, dosud vězících v půdě, dopravuje oříznutý chrást do strany, kde jej buď ukládá na pole, nebo na dopravní vozidlo, vyorává předtím oříznuté bulvy a sesypává je do řady na zem tak, že bulvy vyorané při dvou po sobě jdoucích průjezdech stroje jsou sesypávány do téže podélné řady. - Jsou již známé sklizňové stroje na řepu, které jsou upraveny tak, že ústrojí pro ořezávání chrástu a ústrojí pro vyorávání bulev jsou umístěna vedle sebe ve společném rámu, takže bulvy, u nichž byl při předcházejícím průjezdu stroje oříznut chrást, jsou při následujícím průjezdu stroje vyorány z půdy. U těchto strojů však ústrojí pro ořezávání chrástu a ústrojí pro vyorávání bulev jsou upevněna pevně na rámu, takže jejich vzájemnou vzdálenost nelze měnit. U přívěsných strojů jsou tato ústrojí ovládána zařízením mezi vlečným traktorem a taženým strojem, u strojů s vlastním pohonem převodem od řídicího kola stroje. Ořezávací i vyorávací ústrojí jsou však - vždy ovládána současně. r . Přívěsné stroje mohou mít také zadní nápravu , poháněnou od prodlouženého hřídele vlečného traktoru, aby se zmenšil tažný odpor. . Stroje s. vlastními pohonem i přívěsné stroje bývají opatřeny příčnými
  • 4.
    50 100393 dopravníky a sběračínebo nakladači, které umožňují ukládat vyorané bulvy a ořezaný chrást v oddělených podélných nebo v příčných řadách na pole. U těchto známých strojů je však obtížné upravit potřebná zařízení pro samočinné seřizování výšky řezu a dopravní pásy tak, aby stroj mohl pracovat současně ve větším počtu řádků. Proto jsou tyto známé stroje většinou jednořádkové nebo nejvýše dvouřádkové. Dále jsou známé sklizňové stroje, které nejprve vytáhnou bulvu řepy i s chrástem z půdy, přidrží ji ve svěrném ústrojí a teprve ve stroji odříznou od bulvy chrást. Tyto stroje mohou pracovat i jako víceřádkové, například třířádkové, mají však tu nevýhodu, že velmi často jsou bulvy ořezávány v nevhodné výšce, takže buď se bulva seřízne příliš hluboko, čímž vznikají zbytečné sklizňové ztráty, nebo je naopak řez veden příliš vysoko, takže oříznutí je nečisté. Takové stroje iza uspořádat jako třířádkové jen tehdy, není-li vázáno ořezávání chrástu na bulvy v zemi a chrást se ořezává až za vyorávacím ústrojím. Jsou- li ústrojí pro ořezávání chrástu a pro vyorávání bulev uspořádána vedle sebe, má například dvouřádkový stroj pracovní šířku odpovídající čtyřem řádkům. U dosud běžných nehybných uspořádání těchto ústrojí vedle sebe je společné ovládání nevýhodné, poněvadž při přejíždění vznikají rozdíly mezi vzdálenostmi řádků bulev vysetých řádkovacím secím strojem a řádkovými vzdálenostmi jednotlivých vyorávacích a ořezávacích ústrojí na , sklizňovém stroji. - Několikařádkové přívěsné sklizňové stroje jsou většinou přívěšeriy za vlečným traktorem jednostranně, tj. tak, že jejich podélná střední osa je přesazena stranou vzhledem k podélné ose vlečného traktoru. U takových uspořádání je nevýhodné, že stopa pojížděcích kol přívěsného stroje nesouhlasí se stopou vlečného traktoru, resp. že při jízdě zpět nebo při druhém průjezdu stroje nejsou zaručeny stejné vzdálenosti nové stopy vzhledem k staré projeté stopě. To je nevýhodné především pro práci mechanických, za sklizňovým strojem pojíždějících nakladačů bulev i chrástu, pokud jsou shazovány do řad na pole. Sklizeň padá do stop strojů předchozího průjezdu a není uchopena nakladači. Kromě toho se přitom pole silně rozjezdí. Úkolem vynálezu je vytvořit sklizňový stroj pro scučasnou sklízeň chrástu i oříznutých bulev, který by umožňoval více než dva řádky bulev současně ořezávat a vyorávat a který by neměl shora uvedené nevýhody známých sklizňových strojů, • Podle vynálezu se toho dosáhne tím, že ořezávače chrástu jsou uloženy v hlavním rámu stroje příčně posuvně, jsou přestavitelné samostatným ovládacím ústrojím a obklopují příčný dopravní pás, uložený nepřestavitelně v hlavním rámu. Nęzávisle na nich je zavěšeno vyorávací ústrojí ve vedlejším rámu, který je uložen natáčivě kolem čepu na hlavním rámu a vpředu vybíhá v třmen, opírající se o vedení v hląvním rámu. Vyorávací zařízení může takto vykyvovat do stran vlastním ovládacím ústrojím. Závěsné táhlo hlavního rámu stroje je upraveno stranou od podélné roviny souměrnosti tohoto rámu tak, že pravé ządní kolo sklizňového stroje jede ve stopě pravého zadního kola vlečného traktoru, přední kolo sklizňového stroje ve štopě levého zadního kola traktoru a levé zadní kolo sklizňového stroje jede ve stopě, jejíž vzdálenost od stopy levého zadního kola traktoru se rovná rozchodu zadních kol traktoru. -
  • 5.
    K dosažení dobréhoočištění bulev je nad předním prosévacím transportérem vyorávacího ústrojí rovnoběžně s ním upraven pomocný rám, kterém je kyvně zavěšeno několik řad čisticích třmenů podle toho, na kolik řádků stroj pracuje. . . .
  • 7.
    100 110 120 130 Na konci příčnéhodopravního pásu je upraven sesypávací plech, který je výkyvný kolem příčné osy přestavitelně upevněné ke sklizňovému stroji kloubovými vzpěrami. U výstupního konce zadního prosévacího transportéru jest upravena nálevkovitá výsypka, která vyúsťuje jednak do svislé výpusti, jednak do šikmé výpusti. Vždy jedna z těchto výpustí je střídavě uzavřena ovládací klapkou. Aby bylo možné nakládat bulvy přímo na dopravní vozidlo, je uvedená výsypka vyměnitelná za dopravní pás. Příklad provedení vynálezu je schematicky znázorněn na pojených výkresech. Jednotlivá vyobrazení znázorňují: obr. 1 pohled ze strany na stroj podle vynálezu; obr. 2 pohled na stroj shora při práci na poli; obr. 3 a 4 pohled ve směru jízdy stroje na ořezávací ústrojí při dvou různých postaveních sesypávacího plechu; obr. 5 polohu sesypávacího plechu při dopravě sklizňového stroje po silnici; obr. 6 a 7 pchled ve směru jízdy stroje na sesypávací zařízení vyorávacího ústrojí ve dvou různých postaveních; obr. 8 schematický pohled ze strany na prosévací transportéry vy orávacího ústrojí. Hlavní rám 1 stroje pojíždí jednak na předním kole 2, jehož osa je volně otočná do stran, takže se toto kolo samočinně nastavuje do správného směru jízdy, jednak na dvou zadních kolech , pcháněných od drážkového hřídele vlečného traktoru. Přední kolo 2 a pravě zadní kolo 3 jedou ve stopě obou kol vlečného traktoru, kdežto zadní levé kolo 3 sklizňového stroje jede ve stopě, která je od stopy lavého kola traktoru vzdálena o jeden rozchod kol traktoru. Ustrojí pro ořezávání chrástu 4 jsou uspřádána stranou od stopy vlečného traktoru, a to přesazeně doleva vzhledem k vyorávacím radlicím . Všechny tři ořezávače 4 jsou uloženy ve vedlejším rámu , který lze otáče ním řídicího kola posunovat doleva a doprava. Příčný dopravní pás . je uložen nepřestavitelně v hlavním rámu 1 stroje. U jednoho konce tohoto příčného dopravního pásu je upraven sesypávací plech , který lze nastavit buď do polohy, znázorněné na obr. 3, ve které se sklizený materiál sesypává na vnitřní straně sesypávacího plechu, nebo do polohy podle obr. 4, ve které se materiál sesypává na vnější straně tohoto plechu. Při jízdě sklizňového stroje po silnici je sesypávací plech přestaven do polohy, znázorněné na obr. 5. Oříznutý chrást i vyorané bulvy se sesypávají v řadách (24, 25) na tu část pole, která byla již úplně sklizena, a to vždy v pruhu, přes který nejelo předtím žádné kolo traktoru ani sklizňového stroje. Pruh, po němž jelo kolo traktoru, je označen 26. To umožňuje velmi čistý sběr oříznutého chrástu samočinným nakládacím zařízením, které jede za sklizňovým strojem. Vedlejší rám , ve kterém je uloženo vyorávací ústrojí , je spojen čepem. 10 vodorovně výkyvně s hlavním rámem 1 stroje a je třmenem na svém předním konci veden ve vedení 11 na hlavním rámu stroje. Otáčením řídicího kola, upraveného na této části stroje, přestavuje se rám 9 natáčením kolem čepu 10. Nezávislé přestavování rámu 9 s vyorávacími radlicemi a rámu 6 s ořezávači chrástu 4 umožňuje, že sklizňový stroj může vyrovnávat odchylky ve vzdálenostech řádků, způsobené řádkovacím secím strojem.
  • 8.
    Na přední straněvedlejšího rámu 9 jsou zavěšeny vyorávací radlice 5 a, za nimi je umístěn přední prosévací transportér 12. K lepšímu očištění, vyoraných bulev je nad tímto předním prosévacím trasportérem upraven pomocný rám 13, na němž jsou zavěšeny tři řady čisti
  • 10.
    140 150 160 170 4 100393 cích třmenů14. zadní prosévací transportér 13 má strmější stoupání než přední prosévací transportér a je osázen unášeči. Strmým stoupáním zadního prosévacího transportéru se podstatně zlepší jeho čisticí účinek na bulvy a lépe se rozdrtí hroudy hlíny, které na bulvách nebo mezi bulvami ještě zbyly. Ze zadního prosévacího transportéru 15 spadávají bulvy do nálevkovité výsypky 16 a odtud spadávají na zem buď svislou výpustí 18, nebo šikmou výpustí 19 podle toho, jak je postavena ovládací klapka 17. Také v tomto případě spadávají sklizené bulvy na takový pruh půdy, po kterém předtím nejelo žádné kolo, takže je usnadněno mechanické nakládání bulev sběrným zařízením, které jede za sklizňovým strojem. Náprava 20 zadních kol je poháněna, což je nutné, má-li stroj spolehlivě pracovat na těžkých, mazlavých půdách, Protože pohon zadních kol sklizňového stròje je nutný jen tehdy, jsou-li radlice v záběru s půdou, vypíná se pohon nápravy 20 samočinně, jakmile se radlice zvednou z tohoto účinného záběru. Závěsné táhlo 21 je upraveno stranou od podélné roviny souměrnosti hlavního rámu 1 sklizňového stroje, protože pro vlek vyorávacího ústrojí je zapotřebí nepoměrně větší tažné síly než pro vlek ořezávacího ústrojí. Sesypávací plech 8 je uspořádán výkyvně kolem příčné osy, jejíž poloha je přestavitelná vzhledem ke stroji skloubenými vzpěrami 22 a 23, takže plechu lze použít jednou jako skluzu pro sesypávání zaného chrástu na větší vzdálenost, po druhé jako nárazného plechu pro sesypávání chrástu blíže ke stroji. Sklizňový stroj podle vynálezu sesypává ořezaný chrást a bulvy v podélné řady vzdálené od sebe o rozchod kol vlečného traktoru. Sesypávací zařízení je kladou při prvním průjezdu těsně u stroje, při druhém průjezdu na vzdálenost několika řádků. Stroj na sklizeň , jehož pracovní šířka činí výhodně tři řádky, ořezávací a vyorávací ústrojí jsou upravena napříč vedle sebe a náprava zadních kol je poháněna, vyznačený tím, že ořezávače (4) chrástu jsou v hlavním rámu (1) sklizňového stroje uloženy příčně posuvně a jsou přestavitelné ovládacím ústrojím, zatímco vyorávací radlice (5) jsou uloženy ve vedlejším rámu (9) stroje a jsou nezávisle na ořezávačích (4) chrástu otočné kolem čepu (10) vedlejšího rámu (9), jehož přední konec vybíhá v třmen, opírající se o vedení (11), upravené v hlavním rámu 1]. · · · · · · · Severografia n. p, závod 03 .
  • 14.
    -- - -- - -
  • 16.
    . Obr. 6Obr. 7
  • 18.
    Příloha k patentnímuspisu č. 100393