Research on alarm system of railway crossing based
On GPS and GPRS
Abstract:
Railway crossing, crossing alarm technology is a major difficulty to overcome that
difficulties, Firstly, they have poor system stability and performance; secondly, the active
sensors have some defects like this: instability and short reliable life cycle which would be
replaced every two years, complex working principle, cost-ineffective, prone to failure, not
convenient for the work, and the most serious problem is that the car will bring vibration and
displacement of loose, which will cause the alarm to fail. These problems often bring some
illusion and trouble to the guarder, so it is one of the major security risks on railway. The system
integrated with GPS and GPRS networks positioning, combined the advantages of the two and
overcome the disadvantages of them, which made the performance improved significantly. We
use the satellite communication to locate the train positions and measure their speeds. The
wireless data communication link will provide the information of the train location and speed for
the train control center, and in turn control the train speed and signal display.

Existing System:
From the situation of current domestic and international railway crossing, crossing alarm
technology is a major difficulty. It has become a more complicated issue since the sixth railway
speed-raising. A variety of alarm systems have been proposed previously, but all of them have
some problems. So we go for the GPRS based proposed system to overcome the difficulties of
the existing system.

Proposed System:
This proposed system included three sections 1.Train Section 2.Railway track section
3.Control Center. Train section contains the ARM processor connected with the GPS, LCD,
GPRS modem and Zigbee. Railway track section contains the IR sensor for measuring the speed
of the train. Control center contains the GPRS modem and PC for uploading the data in internet.
The GPS in the train section will receive the location continuously. When the train comes near to
the crossing then the command will be sent from the GPRS to the control center. The speed of
the train will be transmitted via Zigbee to the train section. Through the train section speed will
be uploaded in internet. The arrival of the train will be intimated through buzzer in the control
center.

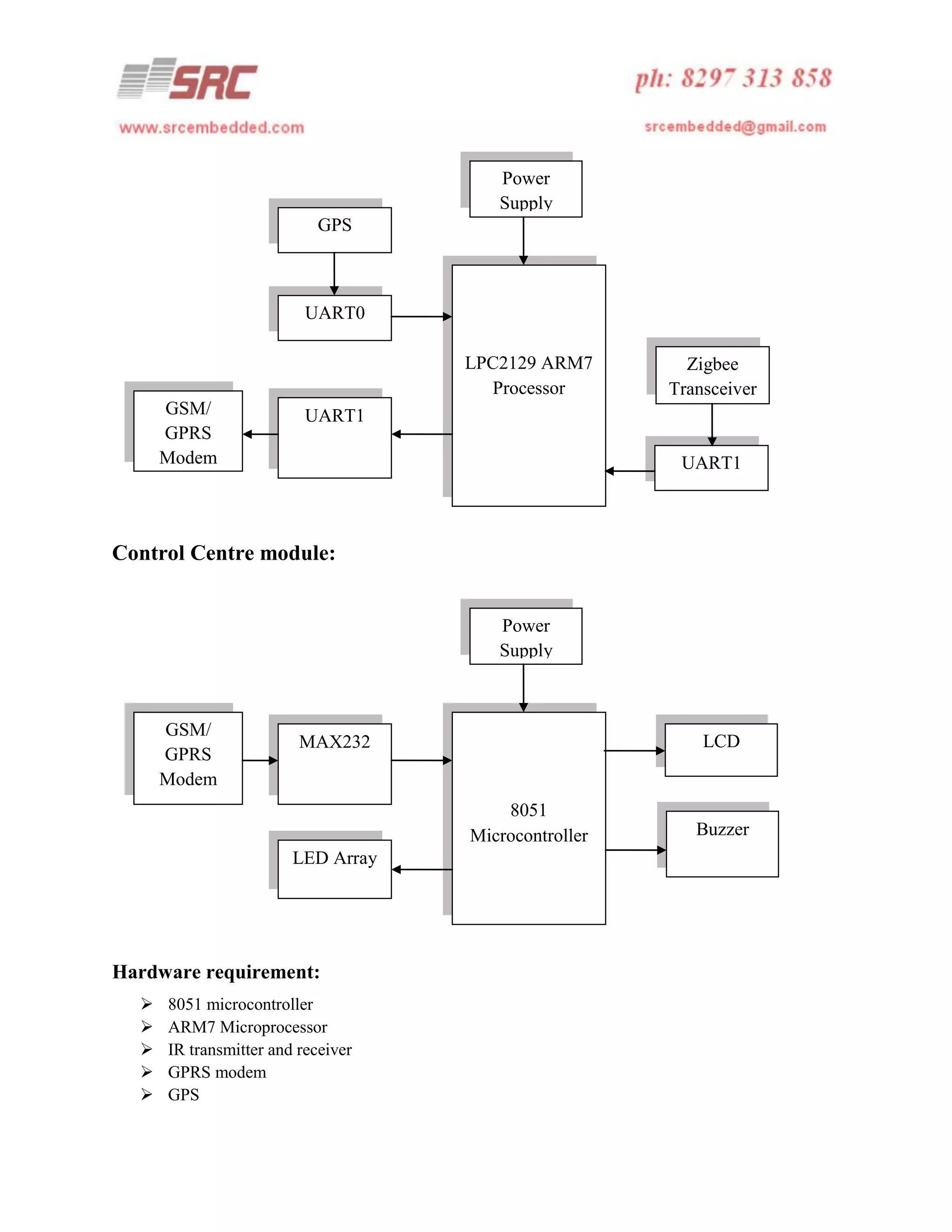
Block Diagram:
Railway track section:
Power
Supply

IR
transmitter
IR
transmitter

Train Section:

IR
Receiver
IR receiver

LCD
8051
Microcontroller
MAX232

Zigbee
Transceiver
Power
Supply
GPS

UART0
LPC2129 ARM7
Processor
GSM/
GPRS
Modem

Zigbee
Transceiver

UART1
UART1

Control Centre module:
Power
Supply

GSM/
GPRS
Modem

LCD

MAX232

8051
Microcontroller
LED Array

Hardware requirement:






8051 microcontroller
ARM7 Microprocessor
IR transmitter and receiver
GPRS modem
GPS

Buzzer






Zigbee transceiver
LCD
MAX232
LED array
Buzzer

Software requirement:
 KEIL compiler
 Embedded C
 VB.net

Advantage:
 Highly reliable.
 Fast response.
 Low Cost

Research on alarm system of railway crossing based on gps and gprs

  • 1.
    Research on alarmsystem of railway crossing based On GPS and GPRS Abstract: Railway crossing, crossing alarm technology is a major difficulty to overcome that difficulties, Firstly, they have poor system stability and performance; secondly, the active sensors have some defects like this: instability and short reliable life cycle which would be replaced every two years, complex working principle, cost-ineffective, prone to failure, not convenient for the work, and the most serious problem is that the car will bring vibration and displacement of loose, which will cause the alarm to fail. These problems often bring some illusion and trouble to the guarder, so it is one of the major security risks on railway. The system integrated with GPS and GPRS networks positioning, combined the advantages of the two and overcome the disadvantages of them, which made the performance improved significantly. We use the satellite communication to locate the train positions and measure their speeds. The wireless data communication link will provide the information of the train location and speed for the train control center, and in turn control the train speed and signal display. Existing System: From the situation of current domestic and international railway crossing, crossing alarm technology is a major difficulty. It has become a more complicated issue since the sixth railway speed-raising. A variety of alarm systems have been proposed previously, but all of them have some problems. So we go for the GPRS based proposed system to overcome the difficulties of the existing system. Proposed System: This proposed system included three sections 1.Train Section 2.Railway track section 3.Control Center. Train section contains the ARM processor connected with the GPS, LCD, GPRS modem and Zigbee. Railway track section contains the IR sensor for measuring the speed of the train. Control center contains the GPRS modem and PC for uploading the data in internet.
  • 2.
    The GPS inthe train section will receive the location continuously. When the train comes near to the crossing then the command will be sent from the GPRS to the control center. The speed of the train will be transmitted via Zigbee to the train section. Through the train section speed will be uploaded in internet. The arrival of the train will be intimated through buzzer in the control center. Block Diagram: Railway track section: Power Supply IR transmitter IR transmitter Train Section: IR Receiver IR receiver LCD 8051 Microcontroller MAX232 Zigbee Transceiver
  • 3.
    Power Supply GPS UART0 LPC2129 ARM7 Processor GSM/ GPRS Modem Zigbee Transceiver UART1 UART1 Control Centremodule: Power Supply GSM/ GPRS Modem LCD MAX232 8051 Microcontroller LED Array Hardware requirement:      8051 microcontroller ARM7 Microprocessor IR transmitter and receiver GPRS modem GPS Buzzer
  • 4.
         Zigbee transceiver LCD MAX232 LED array Buzzer Softwarerequirement:  KEIL compiler  Embedded C  VB.net Advantage:  Highly reliable.  Fast response.  Low Cost