BAB III 
LARUTAN PENYANGGA (BUFFER) 
BAB 1. PRE-LAB 
1. Apakah yang dimaksud dengan larutan penyangga? 
Larutan buffer atau larutan penyangga adalah semua larutan yang pH-nya dapat dikatakan 
tetap, walaupun ditambahkan sedikit asam atau basa. Biasanya, larutan penyangga 
mengandung asam lemah beserta basa lemah konjugasinya dalam konsentrasi yang hampir 
sama (Oxtoby, 2004). 
2. Jelaskan prinsip kerja larutan penyangga! 
Larutan penyangga berperan besar dalam mengontrol ion-ion dalam larutan sekaligus 
mempertahankan pH dalam proses biokimia dan fisiologis. Banyak proses kehidupan 
sensitif terhadap pH sehingga diperlukan sedikit pengaturan dalam interval konsetrasi 
H3O+ dan OH- (Oxtoby, 2004). 
3. Sebutkan 3 jenis larutan penyangga! 
Larutan penyangga salmiak adalah campuran dari larutan NH3 (basa lemah) dengan 
NH4OH (garam) (Troy, 2006). 
Larutan penyangga asetat adalah larutan yang dibuat dengan cara mencampurkan asam 
asetat (CH3COOH) ke dalam larutan garamnya (CH3COONa) (Watson, 2012). 
Larutan penyangga bikarbonat adalah sistem penyangga yang terdiri atas larutan air yang 
mengandung dua zat, yaitu asam karbonat (H2CO3) dan garam bikarbonat (NaHCO3). 
(Esvandiari, 2009).
BAB 2. TINJAUAN PUSTAKA 
2.1 Pengertian dan Prinsip larutan bufffer 
Berdasarkan Teori Asam-Basa Arrhenius, larutan yang mengandung campuran 
asam lemah dan garam yang anionnya senama dengan asam lemah tersebut 
akan membentuk larutan penyangga. Demikian juga jika larutan mengandung 
campuran basa lemah dan garam yang kationnya senama dengan basa lemah 
akan membentuk larutan penyangga. Berdasarkan Teori Asam-Basa Bronsted- 
Lowry, larutan yang mengandung campuran dari pasangan asam lemah dan 
basa konjugasi atau basa lemah dan asam konjugasinya akan membentuk 
larutan penyangga. Prinsip larutan penyangga berdasarkan teori asam basa 
Arrhenius terbatas hanya untuk campuran asam lemah dan garamnya atau basa 
lemah dan garamnya, sedangkan prinsip berdasarkan Bronsted-Lowry lebih 
umum, selain asam lemah dan garamnya, juga mencakup campuran garam dan 
garam (Sunarya, 2010). 
2.2 Rumus penghitungan pH buffer asam dan basa 
Campuran asam lemah dengan garamnya (basa konjugasi) 
[H+] = Ka x 
푚표푙 푎푠푎푚 
푚표푙 푔푎푟푎푚 
atau pH = pKa – log 
푚표푙 푎푠푎푚 
푚표푙 푔푎푟푎푚 
Campuran basa lemah dengan garamnya (asam konjugasinya) 
[H+] = Kb x 
푚표푙 푎푠푎푚 
푚표푙 푔푎푟푎푚 
atau pH = pKb – log 
푚표푙 푎푠푎푚 
푚표푙 푔푎푟푎푚 
(Komarudin, 2010). 
2.3 Jenis buffer 
a. Buffer Salmiak 
Larutan buffer salmiak dibuat dengan mencampurkan NH4Cl (garam) dengan 
NH4OH (basa) (Troy, 2006). 
b. Buffer Asetat 
Larutan buffer asetat dibuat dengan mencampurkan asam asetat (CH3COOH) 
ke dalam larutan garamnya (CH3COONa) (Watson, 2012).
2.4 Tinjauan Bahan 
a. HCl 
Asam Klorida, HCl atau yang dikenal juga sebagai asam muriatik, sangatlah 
beracun, korosif dan cairan berbahaya yang bereaksi dengan sebagian besar 
logam untuk menghasilkan ledakkan gas hidrogen yang dapat menyebabkan 
kebakaran dan iritasi di mata dan membran mukosa (Craig, 2004). 
b. NaOH 
Natrium Hidroksida, atau yang dikenal juga sebagai soda api atau soda gosok 
berwarna putih, kuat dan padatannya mudah mencair di dalam air, alkohol, 
etanol dan gliserol (Craig, 2004). 
c. NaCl 
Natrium klorida adalah senyawa ionik sederhana berbentuk padatan rapuh 
dengan titik leleh 8010C (Sutresna, 2007). 
d. CH3COONa 
Garam natrium asetat terionisasi sempurna membentuk ion Na+ dan ion 
CH3COO-. Persamaan reaksi sebagai berikut. 
CH3COONa (aq) ↔ Na+ + CH3COO- (aq) (Sunarya, 2010). 
e. CH3COOH 
Asam asetat adalah asam lemah dan dalam larutan terionisasi sebagian 
membentuk kesetimbangan: 
CH3COOH(aq) ↔ CH3COO- (aq) + H+ (aq) (Sunarya, 2010). 
f. NH3 
Ammonium, NH3, termasuk ke dalam elektrolit lemah yang mana jenis zat 
terlarutnya berupa senyawa kovalen polar terurai sebagian, sangat mudah 
terurai dan lebih ringan daripada udara (Craig, 2004). 
g. NH4Cl 
Garam ini terbentuk dari hasil reaksi netralisasi antara NH3 dan HCl dan di 
dalam air terionisasi sempurna menghasilkan ion NH4+ dan Cl-. 
NH3 (aq) + HCl(aq) ==> NaCl(aq) + H2O(l) 
Basa lemah asam kuat Netral 
NH4Cl(aq) ==> NH4+(aq) + Cl-(aq) 
(Komarudin, 2010).
BAB 3. DIAGRAM ALIR 
Kalibrasi pH meter 
Disiapkan pH meter dan larutan pH 7,00; pH 4,01 dan 9,21 
Dihidupkan alat 
Dibilas elektroda dengan aquades 
Dikeringkan dengan tisu 
Dicelupkan dalam larutan pH 7 
Dipilih mode kalibrasi 
Ditunggu selama 1-2 menit sampai pembacaan pH stabil 
Diangkat dan dibilas elektroda dengan aquades 
Dikeringkan dengan tisu 
Dilakukan hal yang sama untuk larutan pH 4,01 kemudian larutan pH 9,21 
Hasil
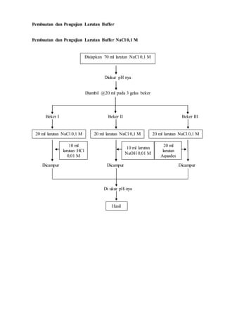
Pembuatan dan Pengujian Larutan Buffer 
Pembuatan dan Pengujian Larutan Buffer NaCl 0,1 M 
Disiapkan 70 ml larutan NaCl 0,1 M 
Diukur pH nya 
Diambil @20 ml pada 3 gelas beker 
Beker I Beker II Beker III 
20 ml larutan NaCl 0,1 M 20 ml larutan NaCl 0,1 M 20 ml larutan NaCl 0,1 M 
Dicampur Dicampur Dicampur 
Di ukur pH-nya 
Hasil 
10 ml 
larutan HCl 
0,01 M 
10 ml larutan 
NaOH 0,01 M 
20 ml 
larutan 
Aquades
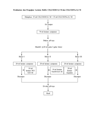
Pembuatan dan Pengujian Larutan Buffer CH3COOH 0,1 M dan CH3COONa 0,1 M 
Disiapkan 35 ml CH3COOH 0,1 M + 35 ml CH3COONa 0,1 M 
Di campur 
70 ml larutan campuran 
Diukur pH-nya 
Diambil @20 ml pada 3 gelas beker 
Beker I Beker II Beker III 
20 ml larutan campuran 20 ml larutan campuran 20 ml larutan campuran 
Dicampur Dicampur Dicampur 
Di ukur pH-nya 
Hasil 
10 ml 
larutan HCl 
0,01 M 
10 ml larutan 
NaOH 0,01 M 
20 ml 
larutan 
Aquades
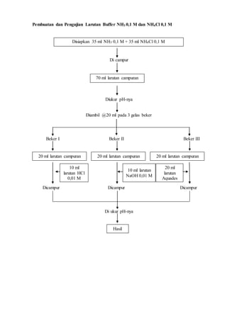
Pembuatan dan Pengujian Larutan Buffer NH3 0,1 M dan NH4Cl 0,1 M 
Disiapkan 35 ml NH3 0,1 M + 35 ml NH4Cl 0,1 M 
Di campur 
70 ml larutan campuran 
Diukur pH-nya 
Diambil @20 ml pada 3 gelas beker 
Beker I Beker II Beker III 
20 ml larutan campuran 20 ml larutan campuran 20 ml larutan campuran 
Dicampur Dicampur Dicampur 
Di ukur pH-nya 
Hasil 
10 ml 
larutan HCl 
0,01 M 
10 ml larutan 
NaOH 0,01 M 
20 ml 
larutan 
Aquades
BAB 4. HASIL DAN PEMBAHASAN 
1. Tulislah data hasil praktikum pada tabel berikut ini 
No 
Jenis 
Buffer 
Larutan 
pH awal 
Penambahan 
Asam/Basa 
pH akhir 
pH 
meter 
Lakmus Larutan 
Jumlah 
(ml) 
pH 
meter 
Lakmus 
1 Garam NaCl 0,1 M 7,71 Merah 
HCl 0,1 M 10 ml 1,14 Merah 
NaOH 0,1 M 10 ml 12,11 Biru 
Aquades 20 ml 8,45 Merah 
2 
Buffer 
Asetat 
CH3COOH 
0,1 M + 
CH3COONa 
0,1 M 
3,48 Merah 
HCl 0,01 M 10 ml 3,46 Merah 
NaOH 0,01 M 10 ml 4,37 Merah 
Aquades 20 ml 3,85 Merah 
3 
Buffer 
Salmiak 
NH3 0,1 M 
+ NH4Cl 
0,1 M 
11,73 Merah 
HCl 0,01 M 10 ml 10,99 Biru 
NaOH 0,01 M 10 ml 11,67 Biru 
Aquades 20 ml 11,25 Biru 
2. Apakah yang terjadi saat larutan penyangga ditambahkan sedikit asam atau basa? Jelaskan! 
pH larutan penyangga tidak akan berubah atau tetap mempertahankan pH-nya. Hal ini 
sesuai prinsip kerja larutan penyangga, yaitu ketika ion Hidrogen (H+) ditambahkan pada 
larutan penyangga, ion tersebut akan ternetralisasi oleh basa di dalam larutan penyangga. 
Begitu juga Ion hidroksida (OH-) akan ternetralisasi oleh asam. 
3. Jelaskan bagaimana cara kerja pengukuran pH menggunakan pH meter! 
Prinsip kerja pengukuran pH menggunakan pH meter adalah mengukur pH dari suatu 
cairan atau larutan melalui probe/elektrode yang terhubung ke meteran elektronik yang 
mengukur dan menampilkan pH. 
Cara pemakaiannya : Menyiapkan larutan dengan pH 4,01; 7,00 dan 9,21. Menyalakan 
alat terlebih dahulu, lalu membilas elektrode menggunakan deionized water atau bisa juga 
menggunakan aquades, setelah itu mengeringkan elektrode dengan menggunakan tisu, 
pastikan pada saat mengeringkan atau mengelap satu arah. Mencelupkan elektrode ke 
dalam larutan dengan pH 7 lalu memilih mode kalibrasi, tunggu 1-2 menit hingga 
pembacaan pH stabil. Setelah stabil, mengangkat elektrode dan membilas menggunakan
aquades kembali, mengeringkan dengan tisu dan mengulangi hal yang sama untuk larutan 
dengan pH 4,01 dan larutan dengan pH 9,21 
4. Jelaskan bagaimana cara kerja pengukuran pH menggunakan kertas lakmus! 
Lakmus adalah suatu kertas dari bahan kimia yang akan berubah warna jika 
dicelupkan kedalam larutan asam atau basa. Warna yang dihasilkan sangat dipengaruhi 
oleh kadar pH dalam larutan yang ada. Prinsip kerja pengukuran pH menggunakan kertas 
lakmus adalah kertas lakmus akan berubah warna menjadi merah saat pH dari suatu larutan 
lebih asam atau berubah warna menjadi biru saat pH dari suatu larutan lebih basa. 
Cara pemakaiannya dengan meneteskan cairan dari larutan yang akan di uji pH-nya ke 
atas kertas lakmus atau dengan mencelupkan kertas lakmus ke dalam larutan yang akan di 
uji pH-nya tersebut. 
5. Jelaskan salah satu contoh penggunaan larutan penyangga di ilmu pangan! 
Sebagai bahan pengawet pangan, seperti : 
a. Asam Laktat : Diperoleh melalui proses fermentasi, Digunakan untuk proses 
pengemulsian produk pangan sehari-hari, dan pengembang di industri pangan. 
b. Asam Asetat (Cuka) : Diperoleh melalui proses fermentasi secara sintesis, ditemukan 
di dalam cuka, dan digunakan dalam bidang pangan sebagai penambah rasa. 
c. Asam Malat : Ditemukan di dalam buah pisang, apel, tomat dan minuman berenergi. 
Secara umum diproduksi secara industri dengan Maleat anhridrat sebagai bahan 
dasarnya 
d. Asam Fumarat : Dikenal memiliki rasa yang kuat saat disajikan di dalam makanan 
sehingga sangat jarang penggunaannya dan memiliki tingkat kelarutan yang rendah di 
dalam air. Diproduksi dengan mensintesis asam maleat sebagai bahan dasarnya. 
e. Asam Fosfat : Dalam bentuk garamnya berguna untuk bubuk pengembang, agen 
pengemulsi dan pemberi rasa untuk minuman bersoda tertentu
6. Sebanyak 50 mL larutan NH3 0,1 M (Kb = 10–5) dicampur dengan 100 mL larutan NH4Cl 
0,5 M. Hitunglah pH larutan tersebut! 
Pertama, mencari mol dari masing-masing larutan dengan menggunakan rumus molaritas, 
MNH3 = 
푛푁퐻3 
푉표푙푢푚푒 푙푎푟푢푡푎푛 
MNH4Cl = 
푛푁퐻4퐶푙 
푉표푙푢푚푒 푙푎푟푢푡푎푛 
0,1 = 
푛푁퐻3 
0,05 
0,5 M = 
푛푁퐻3 
0,1 
nNH3 = 0,005 = 5 x 10-3 nNH4Cl = 0,05 = 5 x 10-2 
Kedua, mencari [OH-] dari campuran tersebut dengan menggunakan rumus, 
[OH-] = 퐾푏 푥 푚표푙 푏푎푠푎 푙푒푚푎ℎ 
푔푎푟푎푚 
= 10-5 푥 0,005 
0,05 
= 10-6 
pOH = log[OH-] 
= log[10-6] 
= 6, maka pH = pKw – pOH 
pH = 14 – 6 
pH = 8 
7. Tentukan pH larutan penyangga yang dibuat dengan mencampurkan 50 mL larutan 
CH3COOH 0,1 M dengan 50 mL larutan NaCH3COO 0,1 M. (KaCH3COOH = 1,8 × 10–5) 
Pertama, mencari mol dari masing-masing larutan dengan menggunakan rumus molaritas, 
MCH3COOH = 
푛퐶퐻3퐶푂푂퐻 
푉표푙푢푚푒 푙푎푟푢푡푎푛 
MCH3COONa = 
푛퐶퐻3퐶푂푂푁푎 
푉표푙푢푚푒 푙푎푟푢푡푎푛 
0,1 = 
푛퐶퐻3퐶푂푂퐻 
0,05 
0,1 M = 
푛퐶퐻3퐶푂푂푁푎 
0,05 
nCH3COOH = 0,005 = 5 x 10-3 nCH3COOH = 0,005 = 5 x 10-3 
Kedua, mencari [H+] dari campuran tersebut dengan menggunakan rumus, 
[H+] = 퐾푎 푥 푚표푙 푎푠푎푚 푙푒푚푎ℎ 
푔푎푟푎푚 
= 1,8 x 10-5 푥 0,005 
0,005 
= 1,8 x 10-5 
pH = log[H+] 
= log[1,8 x 10-5] 
= 5 – log1,8
BAB 5. ANALISA PROSEDUR 
Langkah Kerja : 
Kalibrasi pH meter 
Yang pertama dilakukan adalah menyiapkan pH meter dan larutan pH 7,00; pH 
4,01 dan pH 9,21. Selanjutnya menghidupkan alat, lalu membilas elektrode dengan 
menggunakan aquades, setelah itu mengeringkan dengan menggunakan tisu, pada saat 
mengeringkan, gerakan tisu harus satu arah, mencelupkan elektrode dalam larutan pH 
7 dan dipilih mode kalibrasi, menunggu selama 2-3 menit sampai pembacaan pH 
stabil, diangkat dan dibilas elektrode dengan menggunakan aquades, mengeringkan 
dengan menggunakan tisu, melakukan kegiatan yang sama untuk larutan dengan pH 
4,01 dan pH 9,21 
Pembuatan dan Pengujian Larutan Buffer 
1. Pembuatan dan Pengujian Larutan Buffer NaCl 0,1 M 
Pertama mengambil larutan NaCl 0,1 M sebanyak 70 ml menggunakan gelas ukur, 
lalu diukur pH-nya menggunakan pH meter yang telah dikalibrasi terlebih dahulu dan 
menggunakan indikator pH universal berupa kertas lakmus, selanjutnya 70 ml larutan 
NaCl 0,1 M dibagi ke dalam 3 gelas beker 100 ml dengan masing-masing gelas beker 
terisi 20 ml larutan NaCl 0,1 M. Gelas beker I ditambahkan HCl 0,1 M sebanyak 10 
ml, lalu dicampurkan dengan cara diaduk membentuk huruf w supaya terhomogenisasi 
secara sempurna, selanjutnya pH larutan di ukur menggunakan pH meter dan indikator 
pH universal. Gelas beker II ditambahkan NaOH 0,1 M sebanyak 10 ml, lalu 
dicampurkan dengan cara diaduk membentuk huruf w supaya terhomogenisasi secara 
sempurna, selanjutnya pH larutan di ukur menggunakan pH meter dan indikator pH 
universal. Gelas beker III ditambahkan Aquades sebanyak 20 ml, lalu dicampurkan 
dengan cara diaduk membentuk huruf w supaya terhomogenisasi secara sempurna, 
selanjutnya pH larutan di ukur menggunakan pH meter dan indikator pH universal. 
2. Pembuatan dan Pengujian Larutan Buffer Asetat 
(CH3COOH 0,1 M + CH3COONa 0,1 M) 
Pertama mengambil larutan CH3COOH 0,1 M sebanyak 35 ml dan larutan 
CH3COONa 0,1 M sebanyak 35 ml menggunakan gelas ukur, setelah itu 
mencampurnya di dalam gelas beker 250 ml dengan cara diaduk, lalu diukur pH-nya 
menggunakan pH meter yang telah dikalibrasi terlebih dahulu dan menggunakan 
indikator pH universal berupa kertas lakmus, selanjutnya 70 ml larutan campuran
tersebut dibagi ke dalam 3 gelas beker 100 ml dengan masing-masing gelas beker 
terisi 20 ml larutan campuran. Gelas beker I ditambahkan HCl 0,01 M sebanyak 10 
ml, lalu dicampurkan dengan cara diaduk membentuk huruf w supaya terhomogenisasi 
secara sempurna, selanjutnya pH larutan di ukur menggunakan pH meter dan indikator 
pH universal. Gelas beker II ditambahkan NaOH 0,01 M sebanyak 10 ml, lalu 
dicampurkan dengan cara diaduk membentuk huruf w supaya terhomogenisasi secara 
sempurna, selanjutnya pH larutan di ukur menggunakan pH meter dan indikator pH 
universal. Gelas beker III ditambahkan Aquades sebanyak 20 ml, lalu dicampurkan 
dengan cara diaduk membentuk huruf w supaya terhomogenisasi secara sempurna, 
selanjutnya pH larutan di ukur menggunakan pH meter dan indikator pH universal. 
3. Pembuatan dan Pengujian Larutan Buffer Salmiak 
(NH3 0,1 M + NH4Cl 0,1 M) 
Pertama mengambil larutan NH3 0,1 M sebanyak 35 ml dan larutan NH4Cl 0,1 M 
sebanyak 35 ml menggunakan gelas ukur, setelah itu mencampurnya di dalam gelas 
beker 250 ml dengan cara diaduk, lalu diukur pH-nya menggunakan pH meter yang 
telah dikalibrasi terlebih dahulu dan menggunakan indikator pH universal berupa 
kertas lakmus, selanjutnya 70 ml larutan campuran tersebut dibagi ke dalam 3 gelas 
beker 100 ml dengan masing-masing gelas beker terisi 20 ml larutan campuran. Gelas 
beker I ditambahkan HCl 0,01 M sebanyak 10 ml, lalu dicampurkan dengan cara 
diaduk membentuk huruf w supaya terhomogenisasi secara sempurna, selanjutnya pH 
larutan di ukur menggunakan pH meter dan indikator pH universal. Gelas beker II 
ditambahkan NaOH 0,01 M sebanyak 10 ml, lalu dicampurkan dengan cara diaduk 
membentuk huruf w supaya terhomogenisasi secara sempurna, selanjutnya pH larutan 
di ukur menggunakan pH meter dan indikator pH universal. Gelas beker III 
ditambahkan Aquades sebanyak 20 ml, lalu dicampurkan dengan cara diaduk 
membentuk huruf w supaya terhomogenisasi secara sempurna, selanjutnya pH lar utan 
di ukur menggunakan pH meter dan indikator pH universal.
BAB 6. FUNGSI REAGEN DAN ALAT 
No. Alat dan Bahan Keterangan 
1 Aquades 
Bahan yang akan ditambahkan ke dalam gelas beker 
III larutan buffer NaCl, buffer asetat dan buffer 
salmiak. 
2 Bulb 
Digunakan untuk menghisap larutan. Penggunanya di 
pasang di ujung pipet ukur. 
3 CH3COOH 0,1 M 
Bahan utama dalam pembuatan larutan buffer asetat. 
4 CH3COONa 0,1 M 
5 Gelas beker 100 ml dan 250 ml 
Alat ini bukan alat pengukur (walaupun terdapat skala, 
namun ralatnya cukup besar). Digunakan untuk 
tempat larutan dan dapat juga untuk memanaskan 
larutan kimia. Untuk menguapkan solven/pelarut atau 
untuk memekatkan. 
6 Gelas ukur 
Digunakan untuk mengukur volume zat kimia dalam 
bentuk cair. Alat ini mempunyai skala, tersedia 
bermacam-macam ukuran. Tidak boleh digunakan 
untuk mengukur larutan/pelarut dalam kondisi panas. 
Perhatikan meniscus pada saat pembacaan skala. 
7 HCl 0,01 M 
Bahan yang akan ditambahkan ke dalam gelas I 
larutan buffer NaCl, buffer asetat dan buffer salmiak. 
8 NaCl 0,1 M Bahan utama dalam pembuatan larutan buffer NaCl. 
9 NaOH 0,01 M 
Bahan yang akan ditambahkan ke dalam gelas beker II 
larutan buffer NaCl, buffer asetat dan buffer salmiak. 
10 NH3 0,1 M 
Bahan utama dalam pembuatan larutan buffer salmiak. 
11 NH4Cl 0,1 M 
12 Kertas lakmus Indikator pH universal. 
13 Pipet tetes 
Berupa pipa kecil terbuat dari plastik atau kaca dengan 
ujung bawahnya meruncing serta ujung atasnya 
ditutupi karet. Berguna untuk mengambil cairan dalam 
skala tetesan kecil. 
14 Pengaduk gelas 
Digunakan untuk mengaduk larutan, campuran, atau 
mendekantir (memisahkan larutan dari padatan).
15 pH meter 
Indikator pH modern yang mengukur pH dari suatu 
cairan melalui probe/elektrode yang terhubung ke 
meteran elektronik dan menampilkan pH 
16 Pipet ukur 1 ml dan 10 ml 
Pipet ini memiliki skala, digunakan untuk mengambil 
larutan dengan volume tertentu. Gunakan bulb atau 
karet penghisap untuk menyedot larutan, jangan 
dihisap dengan mulut.
BAB 7. ANALISA HASIL 
1. Analisa hasil pembuatan dan pengujian larutan NaCl 0,1 M 
pH dari larutan NaCl 0,1 M saat di uji menggunakan pH meter adalah 7,71 dan kertas 
lakmus menunjukan tetap berwarna merah 
1.1 20 ml NaCl 0,1 M + 10 ml HCl 0,01 M 
pH = pH awal - log 
[퐺퐴푅퐴푀 ] 
[퐴푆퐴푀 ] 
pH = 7,71 - log 
0,007 
0,0001 
pH = 7,71 – 1,845 
pH = 5,86 (Cairns, 2008) 
1.2 20 ml NaCl 0,1 M + 10 ml NaOH 0,01 M 
pH = pH awal + log 
[퐺퐴푅퐴푀 ] 
[퐵퐴푆퐴] 
pH = 7,71 + log 
0,007 
0,0001 
pH = 7,71 + 1,845 
pH = 9,55 (Cairns, 2008) 
1.3 20 ml NaCl 0,1 M + 20 ml Aquades 
pH yang diperoleh dari pengenceran larutan buffer NaCl dengan penambahan 
aquades adalah 8,45 dan kertas lakmus tetap berwarna merah 
2. Analisa hasil pembuatan dan pengujian larutan CH3COOH 0,1 M + CH3COONa 
0,1 M 
Rumus untuk mencari pH awal : 
MCH3COOH = 
푛퐶퐻3퐶푂푂퐻 
푉표푙푢푚푒 푙푎푟푢푡푎푛 
MCH3COONa = 
푛퐶퐻3퐶푂푂푁푎 
푉표푙푢푚푒 푙푎푟푢푡푎푛 
0,1 = 
푛퐶퐻3퐶푂푂퐻 
0,035 
0,1 M = 
푛퐶퐻3퐶푂푂푁푎 
0,035 
nCH3COOH = 0,0035 = 35 x 10-5 nCH3COOH = 0,0035 = 35 x 10-5 
[H+] = 퐾푎 푥 푚표푙 푎푠푎푚 푙푒푚푎ℎ 
푔푎푟푎푚 
= 1,8 x 10-5 푥 0,0035 
0,0035 
= 1,8 x 10-5 
pH = log[H+] 
= log[1,8 x 10-5] 
= 5 – log1,8 = 4,74 (Sunarya, 2010)
2.1 20 ml (CH3COOH 0,1 M + CH3COONa 0,1 M) + 10 ml HCl 0,01 M 
1) Sebelum pencampuran, larutan penyangga asetat akan terionisasi membentuk 
ion CH3COO-, H+ dan Na+. 
2) Penambahan HCl pada larutan penyangga asetat akan mengakibatkan jumlah 
ion H+ bertambah banyak. 
3) Sehingga diperoleh persamaan 
H+ = 퐾푎 푥 [퐴푆퐴푀 ] 
[퐺퐴푅퐴푀 ] 
H+ = 1,8 x 10-5 푥 0,0036 
0,0035 
H+ = 1,8514 
4) pH = 4,74 – log[H+] 
= 4,74 – log[1,8514] 
= 4,74 – 0,26 
= 4,48(Salirawati, 2008) 
2.2 20 ml (CH3COOH 0,1 M + CH3COONa 0,1 M) + 10 ml NaOH 0,01 M 
pH = pKa + log 
[퐺퐴푅퐴푀 ] 
[퐴푆퐴푀 ] 
pH = 4,74 + log 
0,0035+0,0001 
0,0035−0,0001 
pH = 4,74 + log 
0,0036 
0,0034 
pH = 5 (Cairns, 2008) 
2.3 20 ml (CH3COOH 0,1 M + CH3COONa 0,1 M) + 20 ml Aquades 
pH yang diperoleh dari pengenceran larutan buffer asetat dengan penambahan 
aquades adalah 3,85 dan kertas lakmus tetap berwarna merah 
3. Analisa hasil pembuatan dan pengujian larutan NH3 0,1 M + NH4Cl 0,1 M 
Rumus untuk mencari pH awal : 
MNH3 = 
푛푁퐻3 
푉표푙푢푚푒 푙푎푟푢푡푎푛 
MNH4Cl = 
푛푁퐻4퐶푙 
푉표푙푢푚푒 푙푎푟푢푡푎푛 
0,1 = 
푛푁퐻3 
0,035 
0,1 M = 
푛푁퐻3 
0,035 
nNH3 = 0,0035 = 35 x 10-4 nNH4Cl = 0,0035 = 35 x 10-4 
Kedua, mencari [OH-] dari campuran tersebut dengan menggunakan rumus, 
[OH-] = 퐾푏 푥 푚표푙 푏푎푠푎 푙푒푚푎ℎ 
푔푎푟푎푚 
= 10-5 푥 0,0035 
0,0035
= 10-5 
pOH = log[OH-] 
= log[10-5] 
= 5, maka pH = pKw – pOH 
pH = 14 – 5 
pH = 9 (Sunarya, 2010) 
3.1 20 ml (NH3 0,1 M + NH4Cl 0,1 M) + 10 ml HCl 0,01 M 
pOH = pKb + log 
[퐺퐴푅퐴푀 ] 
[퐵퐴푆퐴 ] 
pOH = 5 + log 
0,0035 +0,0001 
0,0035 −0,0001 
pOH = 5 + log 
0,0036 
0,0034 
pOH = 5,02 maka pH = 8,88 (Cairns, 2008) 
3.2 20 ml (NH3 0,1 M + NH4Cl 0,1 M) + 10 ml NaOH 0,01 M 
1) Sebelum pencampuran, larutan penyangga asetat akan terionisasi membentuk 
ion CH3COO-, H+ dan Na+. 
2) Penambahan HCl pada larutan penyangga asetat akan mengakibatkan jumlah 
ion H+ bertambah banyak. 
3) Sehingga diperoleh persamaan 
[OH+] = 퐾푏 푥 [퐵퐴푆퐴] 
[퐺퐴푅퐴푀 ] 
[OH+] = 10-5 푥 0,0036 
0,0035 
[OH+] = 1,0285 
4) pH = 9 – log[OH+] 
= 9 – log[1,0285] 
= 9 – (-1,5451) 
= 10,5451 (Salirawati, 2008) 
3.3 20 ml (NH3 0,1 M + NH4Cl 0,1 M) + 20 ml Aquades 
pH yang diperoleh dari pengenceran larutan buffer salmiak dengan penambahan 
aquades adalah 11,25 dan kertas lakmus berwarna biru
BAB 8. KESIMPULAN 
Sifat dari larutan penyangga adalah pH larutan yang hanya berubah sedikit pada 
penambahan sedikit asam kuat. Disamping itu larutan penyangga merupakan larutan yang 
dibentuk oleh reaksi suatu asam lemah dengan basa konjugasinya ataupun oleh basa lemah 
dengan asam konjugasinya. Dalam membuat larutan buffer harus diperhatikan bahan – bahan 
yang akan digunakan, untuk membuat buffer asetat, diperlukan 35 ml CH3COOH 0,1 M + 35 
ml CH3COONa 0,1 M, untuk membuat buffer salmiak, diperlukan 35 ml NH3 0,1 M + 35 ml 
NH4Cl 0,1 M. Dalam percobaan yang dilakukan oleh kelompok praktikan, percobaan pertama 
terdapat kesalahan yaitu berupa kekeliruan pengambilan konsentrasi bahan yang akan 
ditambahkan sehingga mengakibatkan terjadinya perubahan pH yang drastis sehingga tidak 
sesuai dengan prinsip dari larutan penyangga itu sendiri. pH meter adalah alat ukur pH 
modern yang menggunakan katode untuk mengukur pH yang terhubung ke neteran elektronik 
dan menampilkan pH 
Komponen Nilai 
Pre-test 
Aktivitas 
Hasil dan 
Pembahasan
DAFTAR PUSTAKA 
Craig, Bruce D, David S. Anderson. 2004. Handbook of Corrosion Data. New York: ASM 
International. 
Cairns, Donald. 2008. Intisari Kimia Farmasi, Ed.2. Jakarta: EGC 
Esvandiari. 2009. KIMIA. Jakarta: PT. Niaga Swadaya. 
Komarudin, Omang. 2010. Ringkasan Lengkap Kimia. Jakarta: Cmedia. 
Oxtoby, David W. 2004. Prisnip-2 Kimia Modern/1 Ed.4. Jakarta: Erlangga. 
Salirawati, Das. 2008. KIMIA. Bandung: Grasindo. 
Sunarya, Yayan. 2010. Mudah dan Aktif Belajar Kimia. Bandung: PT. Grafindo Media 
Pratama. 
Sutresna, Nana. 2007. KIMIA. Bandung: PT. Grafindo Media Pratama. 
Troy, David B. 2006. Remington. Philadelphia : Wolters Kluwer Health. 
Watson, David G. 2012. Pharmaceutical Analysis. USA: Elsevier Health Sciences.

Bab iii larutan penyangga

  • 1.
    BAB III LARUTANPENYANGGA (BUFFER) BAB 1. PRE-LAB 1. Apakah yang dimaksud dengan larutan penyangga? Larutan buffer atau larutan penyangga adalah semua larutan yang pH-nya dapat dikatakan tetap, walaupun ditambahkan sedikit asam atau basa. Biasanya, larutan penyangga mengandung asam lemah beserta basa lemah konjugasinya dalam konsentrasi yang hampir sama (Oxtoby, 2004). 2. Jelaskan prinsip kerja larutan penyangga! Larutan penyangga berperan besar dalam mengontrol ion-ion dalam larutan sekaligus mempertahankan pH dalam proses biokimia dan fisiologis. Banyak proses kehidupan sensitif terhadap pH sehingga diperlukan sedikit pengaturan dalam interval konsetrasi H3O+ dan OH- (Oxtoby, 2004). 3. Sebutkan 3 jenis larutan penyangga! Larutan penyangga salmiak adalah campuran dari larutan NH3 (basa lemah) dengan NH4OH (garam) (Troy, 2006). Larutan penyangga asetat adalah larutan yang dibuat dengan cara mencampurkan asam asetat (CH3COOH) ke dalam larutan garamnya (CH3COONa) (Watson, 2012). Larutan penyangga bikarbonat adalah sistem penyangga yang terdiri atas larutan air yang mengandung dua zat, yaitu asam karbonat (H2CO3) dan garam bikarbonat (NaHCO3). (Esvandiari, 2009).
  • 2.
    BAB 2. TINJAUANPUSTAKA 2.1 Pengertian dan Prinsip larutan bufffer Berdasarkan Teori Asam-Basa Arrhenius, larutan yang mengandung campuran asam lemah dan garam yang anionnya senama dengan asam lemah tersebut akan membentuk larutan penyangga. Demikian juga jika larutan mengandung campuran basa lemah dan garam yang kationnya senama dengan basa lemah akan membentuk larutan penyangga. Berdasarkan Teori Asam-Basa Bronsted- Lowry, larutan yang mengandung campuran dari pasangan asam lemah dan basa konjugasi atau basa lemah dan asam konjugasinya akan membentuk larutan penyangga. Prinsip larutan penyangga berdasarkan teori asam basa Arrhenius terbatas hanya untuk campuran asam lemah dan garamnya atau basa lemah dan garamnya, sedangkan prinsip berdasarkan Bronsted-Lowry lebih umum, selain asam lemah dan garamnya, juga mencakup campuran garam dan garam (Sunarya, 2010). 2.2 Rumus penghitungan pH buffer asam dan basa Campuran asam lemah dengan garamnya (basa konjugasi) [H+] = Ka x 푚표푙 푎푠푎푚 푚표푙 푔푎푟푎푚 atau pH = pKa – log 푚표푙 푎푠푎푚 푚표푙 푔푎푟푎푚 Campuran basa lemah dengan garamnya (asam konjugasinya) [H+] = Kb x 푚표푙 푎푠푎푚 푚표푙 푔푎푟푎푚 atau pH = pKb – log 푚표푙 푎푠푎푚 푚표푙 푔푎푟푎푚 (Komarudin, 2010). 2.3 Jenis buffer a. Buffer Salmiak Larutan buffer salmiak dibuat dengan mencampurkan NH4Cl (garam) dengan NH4OH (basa) (Troy, 2006). b. Buffer Asetat Larutan buffer asetat dibuat dengan mencampurkan asam asetat (CH3COOH) ke dalam larutan garamnya (CH3COONa) (Watson, 2012).
  • 3.
    2.4 Tinjauan Bahan a. HCl Asam Klorida, HCl atau yang dikenal juga sebagai asam muriatik, sangatlah beracun, korosif dan cairan berbahaya yang bereaksi dengan sebagian besar logam untuk menghasilkan ledakkan gas hidrogen yang dapat menyebabkan kebakaran dan iritasi di mata dan membran mukosa (Craig, 2004). b. NaOH Natrium Hidroksida, atau yang dikenal juga sebagai soda api atau soda gosok berwarna putih, kuat dan padatannya mudah mencair di dalam air, alkohol, etanol dan gliserol (Craig, 2004). c. NaCl Natrium klorida adalah senyawa ionik sederhana berbentuk padatan rapuh dengan titik leleh 8010C (Sutresna, 2007). d. CH3COONa Garam natrium asetat terionisasi sempurna membentuk ion Na+ dan ion CH3COO-. Persamaan reaksi sebagai berikut. CH3COONa (aq) ↔ Na+ + CH3COO- (aq) (Sunarya, 2010). e. CH3COOH Asam asetat adalah asam lemah dan dalam larutan terionisasi sebagian membentuk kesetimbangan: CH3COOH(aq) ↔ CH3COO- (aq) + H+ (aq) (Sunarya, 2010). f. NH3 Ammonium, NH3, termasuk ke dalam elektrolit lemah yang mana jenis zat terlarutnya berupa senyawa kovalen polar terurai sebagian, sangat mudah terurai dan lebih ringan daripada udara (Craig, 2004). g. NH4Cl Garam ini terbentuk dari hasil reaksi netralisasi antara NH3 dan HCl dan di dalam air terionisasi sempurna menghasilkan ion NH4+ dan Cl-. NH3 (aq) + HCl(aq) ==> NaCl(aq) + H2O(l) Basa lemah asam kuat Netral NH4Cl(aq) ==> NH4+(aq) + Cl-(aq) (Komarudin, 2010).
  • 4.
    BAB 3. DIAGRAMALIR Kalibrasi pH meter Disiapkan pH meter dan larutan pH 7,00; pH 4,01 dan 9,21 Dihidupkan alat Dibilas elektroda dengan aquades Dikeringkan dengan tisu Dicelupkan dalam larutan pH 7 Dipilih mode kalibrasi Ditunggu selama 1-2 menit sampai pembacaan pH stabil Diangkat dan dibilas elektroda dengan aquades Dikeringkan dengan tisu Dilakukan hal yang sama untuk larutan pH 4,01 kemudian larutan pH 9,21 Hasil
  • 5.
    Pembuatan dan PengujianLarutan Buffer Pembuatan dan Pengujian Larutan Buffer NaCl 0,1 M Disiapkan 70 ml larutan NaCl 0,1 M Diukur pH nya Diambil @20 ml pada 3 gelas beker Beker I Beker II Beker III 20 ml larutan NaCl 0,1 M 20 ml larutan NaCl 0,1 M 20 ml larutan NaCl 0,1 M Dicampur Dicampur Dicampur Di ukur pH-nya Hasil 10 ml larutan HCl 0,01 M 10 ml larutan NaOH 0,01 M 20 ml larutan Aquades
  • 6.
    Pembuatan dan PengujianLarutan Buffer CH3COOH 0,1 M dan CH3COONa 0,1 M Disiapkan 35 ml CH3COOH 0,1 M + 35 ml CH3COONa 0,1 M Di campur 70 ml larutan campuran Diukur pH-nya Diambil @20 ml pada 3 gelas beker Beker I Beker II Beker III 20 ml larutan campuran 20 ml larutan campuran 20 ml larutan campuran Dicampur Dicampur Dicampur Di ukur pH-nya Hasil 10 ml larutan HCl 0,01 M 10 ml larutan NaOH 0,01 M 20 ml larutan Aquades
  • 7.
    Pembuatan dan PengujianLarutan Buffer NH3 0,1 M dan NH4Cl 0,1 M Disiapkan 35 ml NH3 0,1 M + 35 ml NH4Cl 0,1 M Di campur 70 ml larutan campuran Diukur pH-nya Diambil @20 ml pada 3 gelas beker Beker I Beker II Beker III 20 ml larutan campuran 20 ml larutan campuran 20 ml larutan campuran Dicampur Dicampur Dicampur Di ukur pH-nya Hasil 10 ml larutan HCl 0,01 M 10 ml larutan NaOH 0,01 M 20 ml larutan Aquades
  • 8.
    BAB 4. HASILDAN PEMBAHASAN 1. Tulislah data hasil praktikum pada tabel berikut ini No Jenis Buffer Larutan pH awal Penambahan Asam/Basa pH akhir pH meter Lakmus Larutan Jumlah (ml) pH meter Lakmus 1 Garam NaCl 0,1 M 7,71 Merah HCl 0,1 M 10 ml 1,14 Merah NaOH 0,1 M 10 ml 12,11 Biru Aquades 20 ml 8,45 Merah 2 Buffer Asetat CH3COOH 0,1 M + CH3COONa 0,1 M 3,48 Merah HCl 0,01 M 10 ml 3,46 Merah NaOH 0,01 M 10 ml 4,37 Merah Aquades 20 ml 3,85 Merah 3 Buffer Salmiak NH3 0,1 M + NH4Cl 0,1 M 11,73 Merah HCl 0,01 M 10 ml 10,99 Biru NaOH 0,01 M 10 ml 11,67 Biru Aquades 20 ml 11,25 Biru 2. Apakah yang terjadi saat larutan penyangga ditambahkan sedikit asam atau basa? Jelaskan! pH larutan penyangga tidak akan berubah atau tetap mempertahankan pH-nya. Hal ini sesuai prinsip kerja larutan penyangga, yaitu ketika ion Hidrogen (H+) ditambahkan pada larutan penyangga, ion tersebut akan ternetralisasi oleh basa di dalam larutan penyangga. Begitu juga Ion hidroksida (OH-) akan ternetralisasi oleh asam. 3. Jelaskan bagaimana cara kerja pengukuran pH menggunakan pH meter! Prinsip kerja pengukuran pH menggunakan pH meter adalah mengukur pH dari suatu cairan atau larutan melalui probe/elektrode yang terhubung ke meteran elektronik yang mengukur dan menampilkan pH. Cara pemakaiannya : Menyiapkan larutan dengan pH 4,01; 7,00 dan 9,21. Menyalakan alat terlebih dahulu, lalu membilas elektrode menggunakan deionized water atau bisa juga menggunakan aquades, setelah itu mengeringkan elektrode dengan menggunakan tisu, pastikan pada saat mengeringkan atau mengelap satu arah. Mencelupkan elektrode ke dalam larutan dengan pH 7 lalu memilih mode kalibrasi, tunggu 1-2 menit hingga pembacaan pH stabil. Setelah stabil, mengangkat elektrode dan membilas menggunakan
  • 9.
    aquades kembali, mengeringkandengan tisu dan mengulangi hal yang sama untuk larutan dengan pH 4,01 dan larutan dengan pH 9,21 4. Jelaskan bagaimana cara kerja pengukuran pH menggunakan kertas lakmus! Lakmus adalah suatu kertas dari bahan kimia yang akan berubah warna jika dicelupkan kedalam larutan asam atau basa. Warna yang dihasilkan sangat dipengaruhi oleh kadar pH dalam larutan yang ada. Prinsip kerja pengukuran pH menggunakan kertas lakmus adalah kertas lakmus akan berubah warna menjadi merah saat pH dari suatu larutan lebih asam atau berubah warna menjadi biru saat pH dari suatu larutan lebih basa. Cara pemakaiannya dengan meneteskan cairan dari larutan yang akan di uji pH-nya ke atas kertas lakmus atau dengan mencelupkan kertas lakmus ke dalam larutan yang akan di uji pH-nya tersebut. 5. Jelaskan salah satu contoh penggunaan larutan penyangga di ilmu pangan! Sebagai bahan pengawet pangan, seperti : a. Asam Laktat : Diperoleh melalui proses fermentasi, Digunakan untuk proses pengemulsian produk pangan sehari-hari, dan pengembang di industri pangan. b. Asam Asetat (Cuka) : Diperoleh melalui proses fermentasi secara sintesis, ditemukan di dalam cuka, dan digunakan dalam bidang pangan sebagai penambah rasa. c. Asam Malat : Ditemukan di dalam buah pisang, apel, tomat dan minuman berenergi. Secara umum diproduksi secara industri dengan Maleat anhridrat sebagai bahan dasarnya d. Asam Fumarat : Dikenal memiliki rasa yang kuat saat disajikan di dalam makanan sehingga sangat jarang penggunaannya dan memiliki tingkat kelarutan yang rendah di dalam air. Diproduksi dengan mensintesis asam maleat sebagai bahan dasarnya. e. Asam Fosfat : Dalam bentuk garamnya berguna untuk bubuk pengembang, agen pengemulsi dan pemberi rasa untuk minuman bersoda tertentu
  • 10.
    6. Sebanyak 50mL larutan NH3 0,1 M (Kb = 10–5) dicampur dengan 100 mL larutan NH4Cl 0,5 M. Hitunglah pH larutan tersebut! Pertama, mencari mol dari masing-masing larutan dengan menggunakan rumus molaritas, MNH3 = 푛푁퐻3 푉표푙푢푚푒 푙푎푟푢푡푎푛 MNH4Cl = 푛푁퐻4퐶푙 푉표푙푢푚푒 푙푎푟푢푡푎푛 0,1 = 푛푁퐻3 0,05 0,5 M = 푛푁퐻3 0,1 nNH3 = 0,005 = 5 x 10-3 nNH4Cl = 0,05 = 5 x 10-2 Kedua, mencari [OH-] dari campuran tersebut dengan menggunakan rumus, [OH-] = 퐾푏 푥 푚표푙 푏푎푠푎 푙푒푚푎ℎ 푔푎푟푎푚 = 10-5 푥 0,005 0,05 = 10-6 pOH = log[OH-] = log[10-6] = 6, maka pH = pKw – pOH pH = 14 – 6 pH = 8 7. Tentukan pH larutan penyangga yang dibuat dengan mencampurkan 50 mL larutan CH3COOH 0,1 M dengan 50 mL larutan NaCH3COO 0,1 M. (KaCH3COOH = 1,8 × 10–5) Pertama, mencari mol dari masing-masing larutan dengan menggunakan rumus molaritas, MCH3COOH = 푛퐶퐻3퐶푂푂퐻 푉표푙푢푚푒 푙푎푟푢푡푎푛 MCH3COONa = 푛퐶퐻3퐶푂푂푁푎 푉표푙푢푚푒 푙푎푟푢푡푎푛 0,1 = 푛퐶퐻3퐶푂푂퐻 0,05 0,1 M = 푛퐶퐻3퐶푂푂푁푎 0,05 nCH3COOH = 0,005 = 5 x 10-3 nCH3COOH = 0,005 = 5 x 10-3 Kedua, mencari [H+] dari campuran tersebut dengan menggunakan rumus, [H+] = 퐾푎 푥 푚표푙 푎푠푎푚 푙푒푚푎ℎ 푔푎푟푎푚 = 1,8 x 10-5 푥 0,005 0,005 = 1,8 x 10-5 pH = log[H+] = log[1,8 x 10-5] = 5 – log1,8
  • 11.
    BAB 5. ANALISAPROSEDUR Langkah Kerja : Kalibrasi pH meter Yang pertama dilakukan adalah menyiapkan pH meter dan larutan pH 7,00; pH 4,01 dan pH 9,21. Selanjutnya menghidupkan alat, lalu membilas elektrode dengan menggunakan aquades, setelah itu mengeringkan dengan menggunakan tisu, pada saat mengeringkan, gerakan tisu harus satu arah, mencelupkan elektrode dalam larutan pH 7 dan dipilih mode kalibrasi, menunggu selama 2-3 menit sampai pembacaan pH stabil, diangkat dan dibilas elektrode dengan menggunakan aquades, mengeringkan dengan menggunakan tisu, melakukan kegiatan yang sama untuk larutan dengan pH 4,01 dan pH 9,21 Pembuatan dan Pengujian Larutan Buffer 1. Pembuatan dan Pengujian Larutan Buffer NaCl 0,1 M Pertama mengambil larutan NaCl 0,1 M sebanyak 70 ml menggunakan gelas ukur, lalu diukur pH-nya menggunakan pH meter yang telah dikalibrasi terlebih dahulu dan menggunakan indikator pH universal berupa kertas lakmus, selanjutnya 70 ml larutan NaCl 0,1 M dibagi ke dalam 3 gelas beker 100 ml dengan masing-masing gelas beker terisi 20 ml larutan NaCl 0,1 M. Gelas beker I ditambahkan HCl 0,1 M sebanyak 10 ml, lalu dicampurkan dengan cara diaduk membentuk huruf w supaya terhomogenisasi secara sempurna, selanjutnya pH larutan di ukur menggunakan pH meter dan indikator pH universal. Gelas beker II ditambahkan NaOH 0,1 M sebanyak 10 ml, lalu dicampurkan dengan cara diaduk membentuk huruf w supaya terhomogenisasi secara sempurna, selanjutnya pH larutan di ukur menggunakan pH meter dan indikator pH universal. Gelas beker III ditambahkan Aquades sebanyak 20 ml, lalu dicampurkan dengan cara diaduk membentuk huruf w supaya terhomogenisasi secara sempurna, selanjutnya pH larutan di ukur menggunakan pH meter dan indikator pH universal. 2. Pembuatan dan Pengujian Larutan Buffer Asetat (CH3COOH 0,1 M + CH3COONa 0,1 M) Pertama mengambil larutan CH3COOH 0,1 M sebanyak 35 ml dan larutan CH3COONa 0,1 M sebanyak 35 ml menggunakan gelas ukur, setelah itu mencampurnya di dalam gelas beker 250 ml dengan cara diaduk, lalu diukur pH-nya menggunakan pH meter yang telah dikalibrasi terlebih dahulu dan menggunakan indikator pH universal berupa kertas lakmus, selanjutnya 70 ml larutan campuran
  • 12.
    tersebut dibagi kedalam 3 gelas beker 100 ml dengan masing-masing gelas beker terisi 20 ml larutan campuran. Gelas beker I ditambahkan HCl 0,01 M sebanyak 10 ml, lalu dicampurkan dengan cara diaduk membentuk huruf w supaya terhomogenisasi secara sempurna, selanjutnya pH larutan di ukur menggunakan pH meter dan indikator pH universal. Gelas beker II ditambahkan NaOH 0,01 M sebanyak 10 ml, lalu dicampurkan dengan cara diaduk membentuk huruf w supaya terhomogenisasi secara sempurna, selanjutnya pH larutan di ukur menggunakan pH meter dan indikator pH universal. Gelas beker III ditambahkan Aquades sebanyak 20 ml, lalu dicampurkan dengan cara diaduk membentuk huruf w supaya terhomogenisasi secara sempurna, selanjutnya pH larutan di ukur menggunakan pH meter dan indikator pH universal. 3. Pembuatan dan Pengujian Larutan Buffer Salmiak (NH3 0,1 M + NH4Cl 0,1 M) Pertama mengambil larutan NH3 0,1 M sebanyak 35 ml dan larutan NH4Cl 0,1 M sebanyak 35 ml menggunakan gelas ukur, setelah itu mencampurnya di dalam gelas beker 250 ml dengan cara diaduk, lalu diukur pH-nya menggunakan pH meter yang telah dikalibrasi terlebih dahulu dan menggunakan indikator pH universal berupa kertas lakmus, selanjutnya 70 ml larutan campuran tersebut dibagi ke dalam 3 gelas beker 100 ml dengan masing-masing gelas beker terisi 20 ml larutan campuran. Gelas beker I ditambahkan HCl 0,01 M sebanyak 10 ml, lalu dicampurkan dengan cara diaduk membentuk huruf w supaya terhomogenisasi secara sempurna, selanjutnya pH larutan di ukur menggunakan pH meter dan indikator pH universal. Gelas beker II ditambahkan NaOH 0,01 M sebanyak 10 ml, lalu dicampurkan dengan cara diaduk membentuk huruf w supaya terhomogenisasi secara sempurna, selanjutnya pH larutan di ukur menggunakan pH meter dan indikator pH universal. Gelas beker III ditambahkan Aquades sebanyak 20 ml, lalu dicampurkan dengan cara diaduk membentuk huruf w supaya terhomogenisasi secara sempurna, selanjutnya pH lar utan di ukur menggunakan pH meter dan indikator pH universal.
  • 13.
    BAB 6. FUNGSIREAGEN DAN ALAT No. Alat dan Bahan Keterangan 1 Aquades Bahan yang akan ditambahkan ke dalam gelas beker III larutan buffer NaCl, buffer asetat dan buffer salmiak. 2 Bulb Digunakan untuk menghisap larutan. Penggunanya di pasang di ujung pipet ukur. 3 CH3COOH 0,1 M Bahan utama dalam pembuatan larutan buffer asetat. 4 CH3COONa 0,1 M 5 Gelas beker 100 ml dan 250 ml Alat ini bukan alat pengukur (walaupun terdapat skala, namun ralatnya cukup besar). Digunakan untuk tempat larutan dan dapat juga untuk memanaskan larutan kimia. Untuk menguapkan solven/pelarut atau untuk memekatkan. 6 Gelas ukur Digunakan untuk mengukur volume zat kimia dalam bentuk cair. Alat ini mempunyai skala, tersedia bermacam-macam ukuran. Tidak boleh digunakan untuk mengukur larutan/pelarut dalam kondisi panas. Perhatikan meniscus pada saat pembacaan skala. 7 HCl 0,01 M Bahan yang akan ditambahkan ke dalam gelas I larutan buffer NaCl, buffer asetat dan buffer salmiak. 8 NaCl 0,1 M Bahan utama dalam pembuatan larutan buffer NaCl. 9 NaOH 0,01 M Bahan yang akan ditambahkan ke dalam gelas beker II larutan buffer NaCl, buffer asetat dan buffer salmiak. 10 NH3 0,1 M Bahan utama dalam pembuatan larutan buffer salmiak. 11 NH4Cl 0,1 M 12 Kertas lakmus Indikator pH universal. 13 Pipet tetes Berupa pipa kecil terbuat dari plastik atau kaca dengan ujung bawahnya meruncing serta ujung atasnya ditutupi karet. Berguna untuk mengambil cairan dalam skala tetesan kecil. 14 Pengaduk gelas Digunakan untuk mengaduk larutan, campuran, atau mendekantir (memisahkan larutan dari padatan).
  • 14.
    15 pH meter Indikator pH modern yang mengukur pH dari suatu cairan melalui probe/elektrode yang terhubung ke meteran elektronik dan menampilkan pH 16 Pipet ukur 1 ml dan 10 ml Pipet ini memiliki skala, digunakan untuk mengambil larutan dengan volume tertentu. Gunakan bulb atau karet penghisap untuk menyedot larutan, jangan dihisap dengan mulut.
  • 15.
    BAB 7. ANALISAHASIL 1. Analisa hasil pembuatan dan pengujian larutan NaCl 0,1 M pH dari larutan NaCl 0,1 M saat di uji menggunakan pH meter adalah 7,71 dan kertas lakmus menunjukan tetap berwarna merah 1.1 20 ml NaCl 0,1 M + 10 ml HCl 0,01 M pH = pH awal - log [퐺퐴푅퐴푀 ] [퐴푆퐴푀 ] pH = 7,71 - log 0,007 0,0001 pH = 7,71 – 1,845 pH = 5,86 (Cairns, 2008) 1.2 20 ml NaCl 0,1 M + 10 ml NaOH 0,01 M pH = pH awal + log [퐺퐴푅퐴푀 ] [퐵퐴푆퐴] pH = 7,71 + log 0,007 0,0001 pH = 7,71 + 1,845 pH = 9,55 (Cairns, 2008) 1.3 20 ml NaCl 0,1 M + 20 ml Aquades pH yang diperoleh dari pengenceran larutan buffer NaCl dengan penambahan aquades adalah 8,45 dan kertas lakmus tetap berwarna merah 2. Analisa hasil pembuatan dan pengujian larutan CH3COOH 0,1 M + CH3COONa 0,1 M Rumus untuk mencari pH awal : MCH3COOH = 푛퐶퐻3퐶푂푂퐻 푉표푙푢푚푒 푙푎푟푢푡푎푛 MCH3COONa = 푛퐶퐻3퐶푂푂푁푎 푉표푙푢푚푒 푙푎푟푢푡푎푛 0,1 = 푛퐶퐻3퐶푂푂퐻 0,035 0,1 M = 푛퐶퐻3퐶푂푂푁푎 0,035 nCH3COOH = 0,0035 = 35 x 10-5 nCH3COOH = 0,0035 = 35 x 10-5 [H+] = 퐾푎 푥 푚표푙 푎푠푎푚 푙푒푚푎ℎ 푔푎푟푎푚 = 1,8 x 10-5 푥 0,0035 0,0035 = 1,8 x 10-5 pH = log[H+] = log[1,8 x 10-5] = 5 – log1,8 = 4,74 (Sunarya, 2010)
  • 16.
    2.1 20 ml(CH3COOH 0,1 M + CH3COONa 0,1 M) + 10 ml HCl 0,01 M 1) Sebelum pencampuran, larutan penyangga asetat akan terionisasi membentuk ion CH3COO-, H+ dan Na+. 2) Penambahan HCl pada larutan penyangga asetat akan mengakibatkan jumlah ion H+ bertambah banyak. 3) Sehingga diperoleh persamaan H+ = 퐾푎 푥 [퐴푆퐴푀 ] [퐺퐴푅퐴푀 ] H+ = 1,8 x 10-5 푥 0,0036 0,0035 H+ = 1,8514 4) pH = 4,74 – log[H+] = 4,74 – log[1,8514] = 4,74 – 0,26 = 4,48(Salirawati, 2008) 2.2 20 ml (CH3COOH 0,1 M + CH3COONa 0,1 M) + 10 ml NaOH 0,01 M pH = pKa + log [퐺퐴푅퐴푀 ] [퐴푆퐴푀 ] pH = 4,74 + log 0,0035+0,0001 0,0035−0,0001 pH = 4,74 + log 0,0036 0,0034 pH = 5 (Cairns, 2008) 2.3 20 ml (CH3COOH 0,1 M + CH3COONa 0,1 M) + 20 ml Aquades pH yang diperoleh dari pengenceran larutan buffer asetat dengan penambahan aquades adalah 3,85 dan kertas lakmus tetap berwarna merah 3. Analisa hasil pembuatan dan pengujian larutan NH3 0,1 M + NH4Cl 0,1 M Rumus untuk mencari pH awal : MNH3 = 푛푁퐻3 푉표푙푢푚푒 푙푎푟푢푡푎푛 MNH4Cl = 푛푁퐻4퐶푙 푉표푙푢푚푒 푙푎푟푢푡푎푛 0,1 = 푛푁퐻3 0,035 0,1 M = 푛푁퐻3 0,035 nNH3 = 0,0035 = 35 x 10-4 nNH4Cl = 0,0035 = 35 x 10-4 Kedua, mencari [OH-] dari campuran tersebut dengan menggunakan rumus, [OH-] = 퐾푏 푥 푚표푙 푏푎푠푎 푙푒푚푎ℎ 푔푎푟푎푚 = 10-5 푥 0,0035 0,0035
  • 17.
    = 10-5 pOH= log[OH-] = log[10-5] = 5, maka pH = pKw – pOH pH = 14 – 5 pH = 9 (Sunarya, 2010) 3.1 20 ml (NH3 0,1 M + NH4Cl 0,1 M) + 10 ml HCl 0,01 M pOH = pKb + log [퐺퐴푅퐴푀 ] [퐵퐴푆퐴 ] pOH = 5 + log 0,0035 +0,0001 0,0035 −0,0001 pOH = 5 + log 0,0036 0,0034 pOH = 5,02 maka pH = 8,88 (Cairns, 2008) 3.2 20 ml (NH3 0,1 M + NH4Cl 0,1 M) + 10 ml NaOH 0,01 M 1) Sebelum pencampuran, larutan penyangga asetat akan terionisasi membentuk ion CH3COO-, H+ dan Na+. 2) Penambahan HCl pada larutan penyangga asetat akan mengakibatkan jumlah ion H+ bertambah banyak. 3) Sehingga diperoleh persamaan [OH+] = 퐾푏 푥 [퐵퐴푆퐴] [퐺퐴푅퐴푀 ] [OH+] = 10-5 푥 0,0036 0,0035 [OH+] = 1,0285 4) pH = 9 – log[OH+] = 9 – log[1,0285] = 9 – (-1,5451) = 10,5451 (Salirawati, 2008) 3.3 20 ml (NH3 0,1 M + NH4Cl 0,1 M) + 20 ml Aquades pH yang diperoleh dari pengenceran larutan buffer salmiak dengan penambahan aquades adalah 11,25 dan kertas lakmus berwarna biru
  • 18.
    BAB 8. KESIMPULAN Sifat dari larutan penyangga adalah pH larutan yang hanya berubah sedikit pada penambahan sedikit asam kuat. Disamping itu larutan penyangga merupakan larutan yang dibentuk oleh reaksi suatu asam lemah dengan basa konjugasinya ataupun oleh basa lemah dengan asam konjugasinya. Dalam membuat larutan buffer harus diperhatikan bahan – bahan yang akan digunakan, untuk membuat buffer asetat, diperlukan 35 ml CH3COOH 0,1 M + 35 ml CH3COONa 0,1 M, untuk membuat buffer salmiak, diperlukan 35 ml NH3 0,1 M + 35 ml NH4Cl 0,1 M. Dalam percobaan yang dilakukan oleh kelompok praktikan, percobaan pertama terdapat kesalahan yaitu berupa kekeliruan pengambilan konsentrasi bahan yang akan ditambahkan sehingga mengakibatkan terjadinya perubahan pH yang drastis sehingga tidak sesuai dengan prinsip dari larutan penyangga itu sendiri. pH meter adalah alat ukur pH modern yang menggunakan katode untuk mengukur pH yang terhubung ke neteran elektronik dan menampilkan pH Komponen Nilai Pre-test Aktivitas Hasil dan Pembahasan
  • 19.
    DAFTAR PUSTAKA Craig,Bruce D, David S. Anderson. 2004. Handbook of Corrosion Data. New York: ASM International. Cairns, Donald. 2008. Intisari Kimia Farmasi, Ed.2. Jakarta: EGC Esvandiari. 2009. KIMIA. Jakarta: PT. Niaga Swadaya. Komarudin, Omang. 2010. Ringkasan Lengkap Kimia. Jakarta: Cmedia. Oxtoby, David W. 2004. Prisnip-2 Kimia Modern/1 Ed.4. Jakarta: Erlangga. Salirawati, Das. 2008. KIMIA. Bandung: Grasindo. Sunarya, Yayan. 2010. Mudah dan Aktif Belajar Kimia. Bandung: PT. Grafindo Media Pratama. Sutresna, Nana. 2007. KIMIA. Bandung: PT. Grafindo Media Pratama. Troy, David B. 2006. Remington. Philadelphia : Wolters Kluwer Health. Watson, David G. 2012. Pharmaceutical Analysis. USA: Elsevier Health Sciences.