10
Československá socIALISTICKÁ
REPUBLIKA
vydáno 15. září 1961 Vyloženo 15. března 1961
Třída 82 b, ll/5)
PATENTNÍ SPIs č.
100867
JAROSLAV HANTYCH, HRADEC KRÁLOVÉ. a JYOTI PRASAD
MUKHERJI, WALCHANDNAGAR (Indie)
Výkyvná hydraulická spojka
Přihlášeno 27. listopadu 1959 (PV 6865-59) Platnost patentu od 27. listopadu 1959
Vynález se týká hydraulických spojek. - -
Jak známo, je podstatnou součástí hydraulické spojky odstředivé čerpadlo, které je
jako hnací část upevněno na hnacím hřídeli, a turbinka, působící jako rotor, upevněná
na hnaném hřídeli. Turbinka je uložena v krytu, ve kterém se pohybuje kapalné
médium, zpravidla olej. Síla se přenáší oběhem kapalného média mezi hnací a hnanou
částí.
Dosud známé hydraulické spojky mají vesměs mezi hnací, a hnanou částí dělicí,
rovinu kolmou na osu jejich otáčení. Toto řešení je však
přizpůsobivé vůči všem menším nesouosostem jen s dalším přídavným
mechanismem a není vhodné pro použití v případech, kdy je žádoucí
značná úhlová ohebnost a postranní výkyv, jako např. u odstředivek së
závěsným bubnem nëbo u různých dopravních zařízení.
Předmětem vynálezu je zdokonalení hydraulické spojky tak, že dovoluje
značné výkyvy i úhlovou ohebnost hnací i hnané části, vyžadované u závěsných
odstředivek apod.
Podstata vynálezu spočívá v tom, že proti sobě postavená , čela hnací a hnané
části spojky tvoří jednu nebo více zakřivených ploch kulového nebo jemu se blížícího
tvaru eliptického, parabolického či kónického, po případě vzniklého jejich kombinací,
pokud se takto vytvořená dělicí plocha přibližuje nebo chová jako kulová plocha,
přičemž střed kulové plochy je zásadně totožný se středem výkyvu hnané části a
vzdálenost mezi oběma částmi je buď konstantní, nebo proměnná v mezích předem
určených. Nejvýhodnější je řešení s kulovou dělicí
40
2 - 100867
plochou, poněvadž se v tomto případě vzdálenost mezi hnací a hnanou částí při výkyvu
do strån v jakékoli poloze prakticky nemění. To umožňuje umístit hnací i hnanou část
spojky v nejtěsnější blízkosti vedle sebe, takže ztráty na hnací síle přestupem tlakové
kapaliny z jedné části na druhou jsou minimální. Při jinak utvářených zakřivených
dělicích rovinách podle vynálezu se pak vzdálenost mezi hnací a hnanou částí mění
sotva znatelně. Vynález dovoluje též výhodné umístění středu výkyvného systému
daleko od vlastní hydraulické spojky.
Přiloženými výkresy je předmět vynálezu objasněn na příkladech, znázorňujících
schematicky spojku s různě provedenou zakřivenou dě
licí rovinou. Vztahové značky jsou ma všech obrázcích totožné, jen od
chylky jsou označeny jinak.
Jak patrno z obr. 1, je hnací část 10 upevněna na hřídeli 11, poháněném na horním
konci od nezakresleného elementu. Dutinou hřídele 11 se tlakový olej přivádí do hnací
části 10, pevně spojené s krytem 12 dolů otevřeným. Hnaná část 13 je upevněna na
hřídeli 14, např. bubnu odstředivky. Tento hřídel 14 je výkyvně uložen v kulovém ložisku
15 s poloměrem otáčení r. Mezi částmi 10 a 11 je prostor omezený dvěmà
kulovými dělicímiplochami, jejichž střed je v podstatě totožný se stře
dem výkyvu celého systému. Obloukem kružnice 16 je naznačena kulová dělicí plocha.
Na obr. 2 je rovněž nakreslena spojka s kulovou dělicí plochou 16. Kryt 12, opatřený
ložiskem 17, jímž prochází hnaný hřídel 14, je s hnací částí 10 pouze v těsném dotyku. Spojení
mezi krytem 12 a kyvnou hnanou částí 13 je tedy provedeno volně, takže kryt 12 může volně
kývat. Tře se přitom jednak o hnací část 10, jednak o náboj hnané části 13.
Obr. 3 ukazuje spojku, jejíž hnací část 10 je pevně spojena s krytem 12. Pro zvýšení
účinnosti převodu je spojka opatřena vodicím prstencem . 18, který je dělen kulovou dělicí
plochou 16.
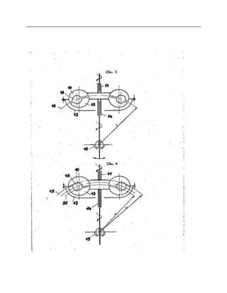
Na obr. 4 je spojka s hnanou částí 10 pevně spojenou s krytem 12. Vodicí prstenec
18 je však dělen dvěma kulovými dělicími plochami 19 a 20, různě vzdálenými od osy
kulového ložiska 15, jejichž poloměry otáčení jsou r1 a .
U spojky zobrazené na obr. 5, opatřené vodicím prstencem 18, je kulová dělicí plocha
nahrazena dvěma kuželovými dělicími plochami 21 a 22. Tyto plochy svírají úhel al a a2 s
vrcholem na ose hřídele 11.
Předmět patentu
1. Výkyvná hydraulická spojka s hnací a hnanou částí, vyznačená tím, že obě do
sebe zabírající části (10, 13) spojky sestávají z jedné nebo více zakřivených ploch, na
příklad z kulových, eliptických, parabolickýchi, kónických nebo vzniklých jejich
kombinací, přičemž střed zakřivené plochy je zásadně totožný se středem - výkyvu
hnané části (13) spojky a vzdálenost mezi oběma částmi (10, 13) je buď konstantní,
nebo proměnná v mezích předem určených.
2. Výkyvná hydraulická spojka podle bodu 1 vyznačená tím, že kryt 12spojky je pevně
spojen s hnací částí (10) spojky. . Výkyvná hydraulická spojka podle bodu 1, vyznačená
tím, že kryt (12) spojky je kluzně uložen na hřídeli (14) hnané části (13) a v těsném
dotyku s hnací částí (10) spojky.
Seyerografia, n. p, závod
Příloha k patentnímu spisu čís. 100867
Obr. 5

100867

  • 2.
    10 Československá socIALISTICKÁ REPUBLIKA vydáno 15.září 1961 Vyloženo 15. března 1961 Třída 82 b, ll/5) PATENTNÍ SPIs č. 100867 JAROSLAV HANTYCH, HRADEC KRÁLOVÉ. a JYOTI PRASAD MUKHERJI, WALCHANDNAGAR (Indie) Výkyvná hydraulická spojka Přihlášeno 27. listopadu 1959 (PV 6865-59) Platnost patentu od 27. listopadu 1959 Vynález se týká hydraulických spojek. - - Jak známo, je podstatnou součástí hydraulické spojky odstředivé čerpadlo, které je jako hnací část upevněno na hnacím hřídeli, a turbinka, působící jako rotor, upevněná na hnaném hřídeli. Turbinka je uložena v krytu, ve kterém se pohybuje kapalné médium, zpravidla olej. Síla se přenáší oběhem kapalného média mezi hnací a hnanou částí. Dosud známé hydraulické spojky mají vesměs mezi hnací, a hnanou částí dělicí, rovinu kolmou na osu jejich otáčení. Toto řešení je však přizpůsobivé vůči všem menším nesouosostem jen s dalším přídavným mechanismem a není vhodné pro použití v případech, kdy je žádoucí značná úhlová ohebnost a postranní výkyv, jako např. u odstředivek së závěsným bubnem nëbo u různých dopravních zařízení. Předmětem vynálezu je zdokonalení hydraulické spojky tak, že dovoluje značné výkyvy i úhlovou ohebnost hnací i hnané části, vyžadované u závěsných
  • 3.
    odstředivek apod. Podstata vynálezuspočívá v tom, že proti sobě postavená , čela hnací a hnané části spojky tvoří jednu nebo více zakřivených ploch kulového nebo jemu se blížícího tvaru eliptického, parabolického či kónického, po případě vzniklého jejich kombinací, pokud se takto vytvořená dělicí plocha přibližuje nebo chová jako kulová plocha, přičemž střed kulové plochy je zásadně totožný se středem výkyvu hnané části a vzdálenost mezi oběma částmi je buď konstantní, nebo proměnná v mezích předem určených. Nejvýhodnější je řešení s kulovou dělicí
  • 5.
    40 2 - 100867 plochou,poněvadž se v tomto případě vzdálenost mezi hnací a hnanou částí při výkyvu do strån v jakékoli poloze prakticky nemění. To umožňuje umístit hnací i hnanou část spojky v nejtěsnější blízkosti vedle sebe, takže ztráty na hnací síle přestupem tlakové kapaliny z jedné části na druhou jsou minimální. Při jinak utvářených zakřivených dělicích rovinách podle vynálezu se pak vzdálenost mezi hnací a hnanou částí mění sotva znatelně. Vynález dovoluje též výhodné umístění středu výkyvného systému daleko od vlastní hydraulické spojky. Přiloženými výkresy je předmět vynálezu objasněn na příkladech, znázorňujících schematicky spojku s různě provedenou zakřivenou dě licí rovinou. Vztahové značky jsou ma všech obrázcích totožné, jen od chylky jsou označeny jinak. Jak patrno z obr. 1, je hnací část 10 upevněna na hřídeli 11, poháněném na horním konci od nezakresleného elementu. Dutinou hřídele 11 se tlakový olej přivádí do hnací části 10, pevně spojené s krytem 12 dolů otevřeným. Hnaná část 13 je upevněna na hřídeli 14, např. bubnu odstředivky. Tento hřídel 14 je výkyvně uložen v kulovém ložisku 15 s poloměrem otáčení r. Mezi částmi 10 a 11 je prostor omezený dvěmà kulovými dělicímiplochami, jejichž střed je v podstatě totožný se stře dem výkyvu celého systému. Obloukem kružnice 16 je naznačena kulová dělicí plocha. Na obr. 2 je rovněž nakreslena spojka s kulovou dělicí plochou 16. Kryt 12, opatřený ložiskem 17, jímž prochází hnaný hřídel 14, je s hnací částí 10 pouze v těsném dotyku. Spojení mezi krytem 12 a kyvnou hnanou částí 13 je tedy provedeno volně, takže kryt 12 může volně kývat. Tře se přitom jednak o hnací část 10, jednak o náboj hnané části 13. Obr. 3 ukazuje spojku, jejíž hnací část 10 je pevně spojena s krytem 12. Pro zvýšení účinnosti převodu je spojka opatřena vodicím prstencem . 18, který je dělen kulovou dělicí plochou 16. Na obr. 4 je spojka s hnanou částí 10 pevně spojenou s krytem 12. Vodicí prstenec 18 je však dělen dvěma kulovými dělicími plochami 19 a 20, různě vzdálenými od osy kulového ložiska 15, jejichž poloměry otáčení jsou r1 a . U spojky zobrazené na obr. 5, opatřené vodicím prstencem 18, je kulová dělicí plocha nahrazena dvěma kuželovými dělicími plochami 21 a 22. Tyto plochy svírají úhel al a a2 s vrcholem na ose hřídele 11. Předmět patentu 1. Výkyvná hydraulická spojka s hnací a hnanou částí, vyznačená tím, že obě do sebe zabírající části (10, 13) spojky sestávají z jedné nebo více zakřivených ploch, na
  • 6.
    příklad z kulových,eliptických, parabolickýchi, kónických nebo vzniklých jejich kombinací, přičemž střed zakřivené plochy je zásadně totožný se středem - výkyvu hnané části (13) spojky a vzdálenost mezi oběma částmi (10, 13) je buď konstantní, nebo proměnná v mezích předem určených. 2. Výkyvná hydraulická spojka podle bodu 1 vyznačená tím, že kryt 12spojky je pevně spojen s hnací částí (10) spojky. . Výkyvná hydraulická spojka podle bodu 1, vyznačená tím, že kryt (12) spojky je kluzně uložen na hřídeli (14) hnané části (13) a v těsném dotyku s hnací částí (10) spojky. Seyerografia, n. p, závod
  • 12.
    Příloha k patentnímuspisu čís. 100867 Obr. 5