Subject:Machine Design & Industrial Drafting
Topic:Coupling
Introduction
•Couplings are used to connect two rotating
shafts to transmit torque from one to the other.
For example coupling is used to connect the
output shaft of an electric motor to the input
shaft of a hydraulic pump.
Types of Shafts Couplings
Rigid Couplings
Rigid Couplings are used to connect two shafts
which are perfectly aligned. These are simple
and inexpensive.
Rigid Couplings are of following types:
1) Sleeve or Muff Coupling
2) Clamp or Split-muff or Compression Coupling
3) Flange Coupling
Flexible Couplings
Flexible couplings are used to connect two
shafts having lateral or angular misalignment.
Flexible elements provided in flexible coupling
absorb shocks and vibrations.
Flexible Couplings are of following types:
1) Bushed pin type Coupling
2) Universal Coupling
3) Oldham Coupling
Muff or Sleeve Couplings
•A muff or sleeve couplings, as shown in fig., is the
simplest type of rigid coupling used to connect two
shafts rigidly.
•It consist of a sleeve or a hollow cylinder, generally
made of cast iron, fitted over the ends of the shafts to be
connects and keyed by sunk key. The power is
transmitted from one shaft to another shaft through the
key and sleeve.
•Advantages of muff coupling :
1)It is simple in construction.
2)It has no projecting parts.
•Though the coupling is simple, it requires very
careful fitting. If the depth of the keyway is not
exactly same in each shaft, then the key will be
loose in one shaft and bedded on other shaft. In
order to prevent this, many times, the key is
made in two lengths.
Flanged Coupling
• Flanged rigid couplings are designed for heavy
loads or industrial equipment.They consist of short
sleeves surrounded by a perpendicular flange.
• One coupling is placed on each shaft so the two
flanges line up face to face. A series of screws or
bolts can then be installed in the flanges to hold them
together.
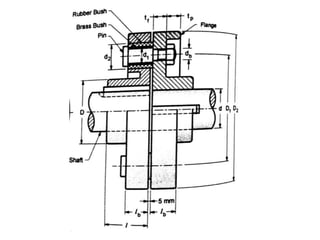
Bush pin Type flange coupling
•This is used for slightly imperfect alignment of the two shafts.
•This is modified form of the protected type flange coupling.
• This type of coupling has pins and it works with coupling bolts. The
rubber or leather bushes are used over the pins.
• In this coupling the rubber bushing absorbs shocks and vibration
during its operations. This type of coupling is mostly used to couple
electric motors and machines.
Design of Muff Coupling
1.Design of shaft:
The shaft diameter is calculated from shear
stress.
2. Dimensions of sleeve as standard
proportions: The dimensions of sleeve are
calculated by using standard proportions given
below: Outside diameter of sleeve D= 2d
Length of sleeve L= 3.5d
where, d= diameter of shaft
3. Design of sleeve:
The torsional shear stress induced in the sleeve is
given by,
τh=
where, k=
For safety of sleeve against shear failure, the torsional
shear stress induced in a sleeve must be less than the
allowable shear stress for the sleeve i.e. τh≤τall
4. Design of key:
The key dimensions are calculated as discuss in earlier
sections. It is important to note that, even if the single
key is used, for design purpose the length of the key is
taken as,
l=L/2
Split-Muff or Clamp Coupling
•A Split muff coupling is a rigid type coupling
and is a modification of muff or sleeve coupling.
•Split muff coupling, showing in fig., consists of
muff or sleeve split into two halves along a plane
passing through the axes of shafts. The number
of bolts used are in multiple of 4.
•A small clearance is provided between the two
halves of the muff to create a frictional force
between the surface of the shaft and muff, on
coupling.
•In small and medium size couplings, the torque
is transmitted due to friction between the shaft
and muff alone. In large size couplings, a key is
also fitted between shafts and muff.
•The advantage of split muff coupling is, due to
split muff, the coupling can be easily assembled
or disassembled without shifting the shaft
axially.
Design of Split Muff Coupling
1. Dimensions of muff as standard
proportions:
The dimensions of C.I. muff are calculated
by using standard proportions given below:
Outside diameter of muff, D= 2.5d
Length of muff, L= 3.5d
2. Design of clamping bolts:
In design the clamping bolts, it is assumed
that the entire torque is transmitted due to
friction between the shaft and the muff.
Force exerted by each bolt = dc
2 σt
Force exerted by bolts on each shafts = dc
2 σt
Let, T= torque transmitted by coupling, N-mm
d= diameter of shaft, mm
dc = core diameter of the clamping bolts, mm
db = nominal diameter of the clamp bolts, mm = dc /0.84
σt = permissible tensile stress for the bolt, N/ mm2
μ = coefficient of friction between the sleeve and shaft
L = length of muff, mm
4

Normal pressure intensity between each shaft and muff,
p=Force /Projected area or σt dc
2/
Hence,core diameter of bolts,
Bush pin type flange coupling
•In this coupling the rubber bushes are inserted
between the coupling
bolts known as pins,and one of the flanges.
• The torque is transmitted through the flexible bush,
which absorbs the shock and compensate for
misalignment.
•The two flanged of the coupling are dissimilar in
construction.
•Flanges may be made of cast iron or steel.
THANK YOU…

Machine Design and Industrial Drafting

  • 1.
    Subject:Machine Design &Industrial Drafting Topic:Coupling
  • 2.
    Introduction •Couplings are usedto connect two rotating shafts to transmit torque from one to the other. For example coupling is used to connect the output shaft of an electric motor to the input shaft of a hydraulic pump.
  • 3.
    Types of ShaftsCouplings Rigid Couplings Rigid Couplings are used to connect two shafts which are perfectly aligned. These are simple and inexpensive. Rigid Couplings are of following types: 1) Sleeve or Muff Coupling 2) Clamp or Split-muff or Compression Coupling 3) Flange Coupling
  • 4.
    Flexible Couplings Flexible couplingsare used to connect two shafts having lateral or angular misalignment. Flexible elements provided in flexible coupling absorb shocks and vibrations. Flexible Couplings are of following types: 1) Bushed pin type Coupling 2) Universal Coupling 3) Oldham Coupling
  • 5.
    Muff or SleeveCouplings •A muff or sleeve couplings, as shown in fig., is the simplest type of rigid coupling used to connect two shafts rigidly. •It consist of a sleeve or a hollow cylinder, generally made of cast iron, fitted over the ends of the shafts to be connects and keyed by sunk key. The power is transmitted from one shaft to another shaft through the key and sleeve.
  • 6.
    •Advantages of muffcoupling : 1)It is simple in construction. 2)It has no projecting parts. •Though the coupling is simple, it requires very careful fitting. If the depth of the keyway is not exactly same in each shaft, then the key will be loose in one shaft and bedded on other shaft. In order to prevent this, many times, the key is made in two lengths.
  • 7.
    Flanged Coupling • Flangedrigid couplings are designed for heavy loads or industrial equipment.They consist of short sleeves surrounded by a perpendicular flange. • One coupling is placed on each shaft so the two flanges line up face to face. A series of screws or bolts can then be installed in the flanges to hold them together.
  • 8.
    Bush pin Typeflange coupling •This is used for slightly imperfect alignment of the two shafts. •This is modified form of the protected type flange coupling. • This type of coupling has pins and it works with coupling bolts. The rubber or leather bushes are used over the pins. • In this coupling the rubber bushing absorbs shocks and vibration during its operations. This type of coupling is mostly used to couple electric motors and machines.
  • 9.
    Design of MuffCoupling 1.Design of shaft: The shaft diameter is calculated from shear stress. 2. Dimensions of sleeve as standard proportions: The dimensions of sleeve are calculated by using standard proportions given below: Outside diameter of sleeve D= 2d Length of sleeve L= 3.5d where, d= diameter of shaft
  • 10.
    3. Design ofsleeve: The torsional shear stress induced in the sleeve is given by, τh= where, k= For safety of sleeve against shear failure, the torsional shear stress induced in a sleeve must be less than the allowable shear stress for the sleeve i.e. τh≤τall 4. Design of key: The key dimensions are calculated as discuss in earlier sections. It is important to note that, even if the single key is used, for design purpose the length of the key is taken as, l=L/2
  • 11.
    Split-Muff or ClampCoupling •A Split muff coupling is a rigid type coupling and is a modification of muff or sleeve coupling. •Split muff coupling, showing in fig., consists of muff or sleeve split into two halves along a plane passing through the axes of shafts. The number of bolts used are in multiple of 4.
  • 12.
    •A small clearanceis provided between the two halves of the muff to create a frictional force between the surface of the shaft and muff, on coupling. •In small and medium size couplings, the torque is transmitted due to friction between the shaft and muff alone. In large size couplings, a key is also fitted between shafts and muff. •The advantage of split muff coupling is, due to split muff, the coupling can be easily assembled or disassembled without shifting the shaft axially.
  • 13.
    Design of SplitMuff Coupling 1. Dimensions of muff as standard proportions: The dimensions of C.I. muff are calculated by using standard proportions given below: Outside diameter of muff, D= 2.5d Length of muff, L= 3.5d 2. Design of clamping bolts: In design the clamping bolts, it is assumed that the entire torque is transmitted due to friction between the shaft and the muff.
  • 14.
    Force exerted byeach bolt = dc 2 σt Force exerted by bolts on each shafts = dc 2 σt Let, T= torque transmitted by coupling, N-mm d= diameter of shaft, mm dc = core diameter of the clamping bolts, mm db = nominal diameter of the clamp bolts, mm = dc /0.84 σt = permissible tensile stress for the bolt, N/ mm2 μ = coefficient of friction between the sleeve and shaft L = length of muff, mm 4  Normal pressure intensity between each shaft and muff, p=Force /Projected area or σt dc 2/ Hence,core diameter of bolts,
  • 15.
    Bush pin typeflange coupling •In this coupling the rubber bushes are inserted between the coupling bolts known as pins,and one of the flanges. • The torque is transmitted through the flexible bush, which absorbs the shock and compensate for misalignment. •The two flanged of the coupling are dissimilar in construction. •Flanges may be made of cast iron or steel.
  • 17.