Shaft couplings are used to connect two shafts in such
away that when both shafts rotate, they act as one unit
and transmit power from one shaft to other
Shafts to be coupled may have collinear axes, intersecting
axes or parallel axes at a small distance.
Classification:
couplings are classified as
1. Rigid couplings
2. Flexible couplings
3. Loose or Disengaging couplings
4. Non- aligned couplings
SHAFT COUPLINGS
RIGID COUPLINGS
Rigid couplings are used to connect shafts having
collinear axes.
Classification
1. Sleeve / Muff couplings
a. butt-muff coupling
b. Half- lap muff coupling
c. Split- muff coupling
2. Flanged couplings
a. Flanged coupling
b. protected flanged coupling
c. solid flanged coupling
muff couplings :
muff couplings are the simplest of all the couplings.
It consists of a sleeve called muff, generally made of cast
iron.
The muff is fitted over the ends of the shafts to be
connected.
After properly aligning the keyways in the shafts and sleeve,
a sunk key is driven- in thus making the coupling
Butt muff coupling :
In this coupling the ends of two shafts to be coupled butt
against each other,
Muff coupling
Muff used for couplings
HALF- LAP MUFF COUPLING
In this half lap muff coupling the ends of the shafts overlap
each other for a short length.
The taper provided in the overlap prevents the axial
movement of the shafts
In this coupling after placing the muff over the shafts, a
saddle key is used to make the coupling
SPLIT-MUFF COUPLING
In this coupling the muff is split into two halves and
are recessed.
A number of bolts and nuts are used to connect the
muff halves through the recesses which are
provided.
Split –muff coupling
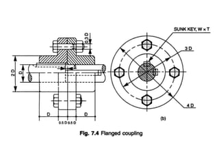
FLANGED COUPLING
Flanged couplings are the standard forms of couplings, widely used.
In a flanged coupling flanges are fitted or provided at the ends of
the shafts
The flanges are fastened together by means of a number of bolts
and nuts.
In this coupling two flanges are keyed at the end of each shaft by
means of sunk keys.
Flanged coupling
Flanged coupling
Coupling flange
Flanged coupling used in engines
PROTECTED FLANGED COUPLING
In flanged coupling the bolts heads and nuts are exposed and
liable to cause injury to the workman.
Hence, as a protection , the bolt heads and nuts may be
covered by providing an annular projection on each flange.
A flanged coupling which is using the annular projections is
called an protected flanged coupling
Protected flanged coupling
Protected flanged coupling
SOLID FLANGED COUPLINGS
Coupling used for marine or automotive shafts
demand greater strength and reliability.
For these applications flanges are forged integral
with shafts.
The flanges are joined together by means of a
number of headless taper bolts.
Solid flanged coupling
NON- ALIGNED COUPLINGS
Non aligned couplings are used to transmit power
between two shafts which are not co axial.
Classification
 1. Universal coupling (hook’s joint)
 2. Oldham coupling
UNIVERSAL COUPLING
Universal coupling is a rigid coupling that
connects two shafts whose axes intersect if
extended.
It consists of two forks which are keyed to the
shafts.
The two forks are pin jointed to a central block,
which has two arms at right angles to each
other in the form of cross
OLDHAM COUPLING
It is used to connect two parallel shafts whose axes are
at a small distance apart.
Two flanges each having a rectangular slot are keyed
one on each shaft.
The two flanges are positioned such that the slot in one
shaft is at right angles to the slot in other shaft.
To make the coupling a circular disc with two rectangular
projections on either side and at right angles to each
other is placed between the two flanges
OLDHAM COUPLING
Parts of Oldham coupling
111111111SHAFT COUPLINGS  - CLASS PPT (1).ppt
111111111SHAFT COUPLINGS  - CLASS PPT (1).ppt

111111111SHAFT COUPLINGS - CLASS PPT (1).ppt

  • 1.
    Shaft couplings areused to connect two shafts in such away that when both shafts rotate, they act as one unit and transmit power from one shaft to other Shafts to be coupled may have collinear axes, intersecting axes or parallel axes at a small distance. Classification: couplings are classified as 1. Rigid couplings 2. Flexible couplings 3. Loose or Disengaging couplings 4. Non- aligned couplings SHAFT COUPLINGS
  • 2.
    RIGID COUPLINGS Rigid couplingsare used to connect shafts having collinear axes. Classification 1. Sleeve / Muff couplings a. butt-muff coupling b. Half- lap muff coupling c. Split- muff coupling 2. Flanged couplings a. Flanged coupling b. protected flanged coupling c. solid flanged coupling
  • 3.
    muff couplings : muffcouplings are the simplest of all the couplings. It consists of a sleeve called muff, generally made of cast iron. The muff is fitted over the ends of the shafts to be connected. After properly aligning the keyways in the shafts and sleeve, a sunk key is driven- in thus making the coupling Butt muff coupling : In this coupling the ends of two shafts to be coupled butt against each other,
  • 5.
  • 6.
    Muff used forcouplings
  • 7.
    HALF- LAP MUFFCOUPLING In this half lap muff coupling the ends of the shafts overlap each other for a short length. The taper provided in the overlap prevents the axial movement of the shafts In this coupling after placing the muff over the shafts, a saddle key is used to make the coupling
  • 9.
    SPLIT-MUFF COUPLING In thiscoupling the muff is split into two halves and are recessed. A number of bolts and nuts are used to connect the muff halves through the recesses which are provided.
  • 11.
  • 12.
    FLANGED COUPLING Flanged couplingsare the standard forms of couplings, widely used. In a flanged coupling flanges are fitted or provided at the ends of the shafts The flanges are fastened together by means of a number of bolts and nuts. In this coupling two flanges are keyed at the end of each shaft by means of sunk keys.
  • 15.
  • 16.
  • 17.
  • 18.
  • 19.
    PROTECTED FLANGED COUPLING Inflanged coupling the bolts heads and nuts are exposed and liable to cause injury to the workman. Hence, as a protection , the bolt heads and nuts may be covered by providing an annular projection on each flange. A flanged coupling which is using the annular projections is called an protected flanged coupling
  • 21.
  • 22.
  • 23.
    SOLID FLANGED COUPLINGS Couplingused for marine or automotive shafts demand greater strength and reliability. For these applications flanges are forged integral with shafts. The flanges are joined together by means of a number of headless taper bolts.
  • 25.
  • 26.
    NON- ALIGNED COUPLINGS Nonaligned couplings are used to transmit power between two shafts which are not co axial. Classification  1. Universal coupling (hook’s joint)  2. Oldham coupling
  • 27.
    UNIVERSAL COUPLING Universal couplingis a rigid coupling that connects two shafts whose axes intersect if extended. It consists of two forks which are keyed to the shafts. The two forks are pin jointed to a central block, which has two arms at right angles to each other in the form of cross
  • 32.
    OLDHAM COUPLING It isused to connect two parallel shafts whose axes are at a small distance apart. Two flanges each having a rectangular slot are keyed one on each shaft. The two flanges are positioned such that the slot in one shaft is at right angles to the slot in other shaft. To make the coupling a circular disc with two rectangular projections on either side and at right angles to each other is placed between the two flanges
  • 33.
  • 34.