OFDM AND OFDMA
TECHNOLOGIES
OUTLINE
 NEED FOR MULTI-CARRIER
 OFDM ENTERS INTO THE PICTURE
 FFT/ IFFT
 GUARD TIME INSERTION
 OFDM DRAWBACKS
 CHANNEL ESTIMATION
 OFDM BLOCK DIAGRAM
 SIMULATION RESULTS
NEED FOR MULTI-
CARRIER
          Time Domain Analysis
NEED FOR MULTI-
     CARRIER cont.




 Pulse completely distorted.        Pulse extended but the extension
ISI is significant in this case.   are much smaller than T the output
                                        behaves like the transmitted
                                                   rectangular pulse.
NEED FOR MULTI-
CARRIER cont.
            Frequency Domain Analysis
NEED FOR MULTI-
     CARRIER cont.
Conclusion
Wide pulses is needed for simple
 equalization,
But
Narrow pulses is needed for high data rate

Solution
Multiplexing
NEED FOR MULTI-
CARRIER cont.
NEED FOR MULTI-
CARRIER cont.
        Problem




        Solution
    Orthogonality
NEED FOR MULTI-CARRIER
cont.
NEED FOR MULTI-CARRIER
cont.
OFDM ENTERS INTO THE
PICTURE
        Interference  Orthogonality
     B.W efficiency  Min Separation
OFDM ENTERS INTO THE
PICTURE cont.
 Min Separation 
 Problem
    ◦ Difficult Implementation with traditional
      oscillators
   Solution
    ◦ DFT
    But
    ◦ DFT needs high processing
    Solution
    ◦ Easy implementation using FFT/IFFT
FFT / IFFT


IFFT    DAC
              Channel
FFT     ADC
FFT/IFFT
GUARD TIME
    INSERTION
 Channel Filtering


              X1 X2 …. …. Xn

hv …. h1 h0


         Y1 Y2 …. …. Yn
GUARD TIME INSERTION
    cont.
             Problem

X’1 X’2    ….     …. X’n X1 X2 …. …. Xn


           hv …. h1 h0

    Y’’1   Y’’2   ….   Y’’v   Yv+1   Yv+2   ….   Yn


             ISI occurs
GUARD TIME INSERTION
       cont.
       Solution  Cyclic Prefix

                    Xn-
X’1   …. X’n        v+1
                               ….      Xn     X1       X2    ….   Xn



                     hv …. h1 h0

        Y1     Y2   ….    Yv        Yv+1   Yv+2   ….    Yn


                                      No ISI
             Circular Convolution achieved.
Cyclic prefix
   The CP allows the receiver to absorb much more
    efficiently the delay spread due to the multipath
    and to maintain frequency Orthogonality.

   The CP that occupies a duration called the Guard
    Time (GT), often denoted TG, is a temporal
    redundancy that must be taken into account in data
    rate computations.
OFDM DRAWBACKS cont.
Peak to Average Power Ratio (PAPR)
OFDM DRAWBACKS cont.
    Sensitivity to frequency offset 
CHANNEL ESTIMATION
                Pilot Based Channel Estimation 
                                              Estimated
   Received                                    Channel
Signal after                                  Response
       FFT
                                   Lowpass
         Pilot          Pilot
                                      FIR
        Signal         Signal
                                     Filter
       Extraction    Estimation


                    Known Pilots
CHANNEL ESTIMATION
                     cont.
                            Pilot Arrangement Types
                            Block Pilot Patterns                Comb Pilot Patterns
Frequency( sub carriers)




                                                                      Frequency( sub carriers)
                                                              Pilot
                                                          symbols
                                                       Data symbols




                              Time (OFDM Symbols)                                                Time (OFDM Symbols)
                                High channel frequency                rapid changing channels
                                             selectivity
OFDMA
   OFDMA is a multiple access method based on
    OFDM
     signaling that allows simultaneous
    transmissions to and from several users along
    with the other advantages of OFDM.
OFDM versus OFDMA




IEEE802.16d            IEEE802.16e
Fixed WiMAX,256-OFDM   Mobile WiMAX
DIVERSITY AND MIMO
PRINCIPLES
What is diversity?
Is a technique that combats the fading
by ensuring that there will be many
copies of the transmitted signal
effected with different fading over
time, frequency or space.

               Diversity
                types



    Time       Frequency       Spatial
  diversity     diversity     diversity
1- Time diversity:

We averaging the fading of the
channel over time by using :
1-The channel coding and
interleaving.
2-Or sending the data at different
times.
to explain this we will see an
example:
1-time diversity:
|H(t)|




                                                                t



  No interleaving x1 x2 x3 x4 y1 y2 y3 y4 z1 z2 z3 z4 h1 h2 h3
  h4
  interleaving    x1 y1 z1 h1 x2 y2 z2 h2 x3 y3 z3 h3 x4 y4 z4
  h4

  So we can see that only the 3rd symbol from each codeword lost and
  we can recover them from the rest symbols in each codeword.
2- frequency diversity:
This type of diversity used for the
frequency selective channels as we
will averaging the fading over the
frequency by using:
1-Multi-carrier technique like OFDM.
2-FHSS (frequency hope spread
spectrum).
3-DSSS (direct sequence spread
spectrum).
2- frequency diversity:




  We can see that each sub-band will
  effecting with different fading over the
  frequency.
3-spatial diversity:
we will have many copies of the transmitted signal effects
with different fading over the space .
we use multi-antenna systems at the transmitter or the
receiver or at both of them.



                    Spatial
                   diversity



                                             MIMO-
MISO          SIMO             MIMO
                                              MU
Receive diversity:




  1-The receiver will has many antennas .
  2-Each one has signal effecting with different
  fading.
  3-number of different paths =Mr.
             Diversity order=Mr
MIMO:




In this type we use multi antennas at both
the transmitter and receiver as shown.

Diversity order=Mt x Mr
Notes:
The higher diversity order we have the
better we combat the fading
Notes:
  1-The diversity
  reduces the BER
  of the
  communication
  system.
  2-Diversity order
     BER .
Notes:




The distance between the antennas
must be larger than the coherent
distance to ensure that data streams
are not correlated .
Question?
How the receiver get the signal from
   the many copies reached ?
                 Answer
                     Diversity
                    combining
                   techniques



                  Maximal ratio   Equal gain
    Selective
                   combining      combining
  combining SC
                     MRC            EGC
Diversity combining technique
   1-Combines the independent fading paths
   signals to obtain a signal that passed
   through a standard demodulator.
   2-The techniques can be applied to any
   type of diversity.
   3-combining techniques are linear as the
   output of is a weighted sum of the
   different fading signals of branches.
   4-It needs co-phasing.
Diversity combining technique
                                                    Fading of the path
The signal output from
the combiner is the
transmitted signal
s(t) multiplied by a
random complex                                Type of
                                           technique
amplitude term



                         Diversity order


                                                   Random SNR
                                                       from the
                                                      combiner
Diversity combining technique

             Types of combining techniques




 Selection   Threshold        Maximal ratio   Equal gain
combining    combining         combining      combining
selection combining technique
1-the combiner
outputs the
signal on the
branch with the
highest SNR      .
2-no need here for
                     0   0   1   0
the co-phasing.
Threshold combining technique
    As in SC since only one branch output is used
    at a time and outputting the first signal with
    SNR above a given threshold         so that co-
    phasing is not required.

  Does not take the
 largest SNR so that
its performance less
     than the SC
      technique.




                          Special case at diversity order
                                    =2 (SSC)
Maximal ratio combining
  In maximal ratio
  combining
  (MRC) the
  output is a
  weighted sum       h1*   h2*   h3*   hi*
  of all branches
  due to its SNR
Equal gain combining
technique
A simpler technique is equal-gain
combining, which co-phases the signals
on each branch and then combines them
with equal weighting
MIMO
 Traditional diversity is based on multiple receiver
  antennas
 Multiple-In Multiple-Out (MIMO) is based on both
  transmit and receive diversity
 Also known as Space Time Coding (STC)
 With Mt transmission antennas and Mr receiver
  antennas we have Mt Mr branches
 Tx and Rx processing is performed over space
  (antennas) and time (successive symbols)




                                                   47
MIMO or STC
   In Mobile communication systems it may be difficult
    to put many antennas in the mobile unit
   Diversity in the downlink (from base station to
    mobile station) can be achieved by Multiple-In
    Single-Out (MISO) (i.e., Mr=1)
   In the uplink (from mobile station to base station)
    diversity is achieved my conventional diversity
    (SIMO)
   Hence, all diversity cost is moved to the base
    station
   All 3G and 4G mobile communication system
    employ MIMO in their standard
                                                   48
Type of MIMO
   Two major types of space time coding
    ◦ Space time block coding (STBC)
    ◦ Space time trellis coding (STTC)
 STBC is simpler by STTC can provide
  better performance
 STBC is used in mobile
  communications. STTC is not used in
  any systems yet
 We will talk only about STBC

                                         49
Space Time Block Codes
   There are few major types
    ◦ Transmit diversity: main goal is diversity gain
    ◦ Spatial multiplexing: main goal is increase
      data rate
    ◦ Eigen steering: main goal is both. Requires
      knowledge of the channel at the transmitter
      side
    ◦ Mix of the above: Lots of research
 Transmit diversity, spatial multiplexing
  and simplified version of Eigen steering
  are used in 3G and 4G standards
 While in 3G standards MIMO was an
  enhancement, in 4G MIMO is a main part            50
Transmit Diversity
 Take Mt=2 and Mr=1
 Two symbols so and s1 are transmitted over
  two transmission periods
 No change in data rate (denoted as rate 1
  STBC)
 Channel is known at receiver only




                                         51
Transmit Diversity
                            Ant o   Ant1
   Transmission matrix:
                              s o s1   Timeo
                         S   * *
                              s1 s o   Time1
   Transmission matrix columns are orthogonal to
    guarantee simple linear processing at the receiver
   Other transmission matrices are defined in
    literature
   Received signal  r   s
                    is:            s 1   g o   no 
                R    * *    
                       o        o

                     r1   s1 s o   g 1   n1 
   Performance is same as MRC with M=2
   However, if Tx Power is the same, then transmit
    diversity (2x1) is 3 dB worse than (1x2)
                                                      52
Transmit Diversity
   Take Mt=2 and Mr=2
   Performance is the same as MRC with M=4
   However, if Tx Power is the same, then transmit
    diversity (2x2) is 3 dB worse than (1x4)




                                                      53
Performance
 MRRC=Maximal Ratio Receiver Combining
 Note 3 dB difference in favor of Rx MRC diversity
Reference: S. Alamouti, a simple transmit diversity
  technique for wireless communications,
IEEE JSAC, October 98


                                    No diversity


                                  Order 2

                      Order
                        4



                                                   54
Spatial Multiplexing
                                                ro  s o g o  s 1 g 1

                                                r1  s o g 2  s 1 g 3


   Purpose is to increase data rate (2x2 gives twice
    data rate)
   The 4 gains must be known at receiver
   Simplest way zero forcing algorithm:
 ro   g o       g 1  s o      ˆ
                                  s o          1 H  o
                                                       r
r   g                          s   G G  G  r 
                                            H

 1  2           g 3   s1 
                                ˆ1       
                                                       1
               G
                                                                  55
Spatial Multiplexing
                                                ro  s o g o  s 1 g 1

                                                r1  s o g 2  s 1 g 3



   Optimum method: Maximum Likelihood
        ◦ Try all combinations of s1 and s2
        ◦ Find the combination that minimizes the squared error:
                                    2                       2
e  e  ro  s o g o  s1 g 1  r1  s o g 2  s1 g 3
    2
    o
           2
           1
             ˆ         ˆ             ˆ         ˆ
        ◦ Complexity increases with high order modulation

                                                                   56
Performance
   Equal rate
    comparison
   Reference: David
    Gesbert, Mansoor                 Zero forcing
    Shafi, Da-shan
    Shiu, Peter J.
    Smith, and Ayman
    Naguib, From                          ML
    theory to practice:
    an overview of
    MIMO space–time            Alamouti
    coded wireless
    systems, IEEE
    JSAC, April 2003




                          57
Eigenvalue Steering
   Assume a MIMO system




                           58
Eigenvalue Steering
   Example with Mt = 2 and Mr=4
          y 1   h11 h12 
          y  h
                                       n1    y   H x   n 
          2    21   h22   x 1   n 2 
                                      
                              x    n 
          y 3   h31 h32   2         3
                                   
          y 4   h41 h42           n 4 
   Any matrix H can be represented using
                      H

    Singular Value Decomposition as
                 H U V H
   U is Mr by Mr and V is Mt by Mt unitary
    matrices
    is Mr by Mt diagonal matrix, elements σi

                                                                      59
Eigenvalue Steering
       Using transmit pre-coding and receiver shaping    




y U H H x  n 
   U H U V   H
                    x n
   U H U V H V x  n 
   U H U V H V x U H n
    x n
                                                    60
Eigenvalue Steering
 This way we created r paths between the Tx and
  specific Rx without any cross interference
 The channel (i.e., Channel State Information) must
  be known to both transmitter and receiver
 The value of r = rank of matrix H, r min(Mt, Mr)
 Not all r paths have good SNR
 Data rate can increase by factor r
 See Appendix C for Singular Value Decomposition
 See Matlab function [U,S,V] = svd(X)




                                                 61
Example
   Reference: Sanjiv Nanda, Rod Walton, John Ketchum, Mark
    Wallace, and Steven Howard, A high-performance MIMO OFDM
    wireless LAN, IEEE Communication Magazine, February 2005




                                                          62
INTRODUCTION TO LTE AND ITS
UNIQUE TECHNOLOGIES.
What is LTE??
 The 3GPP LTE is acronym for “long term evolution of
  UMTS “.
 In order to ensure the competitiveness of UMTS for the
  next 10 years and beyond, concepts for UMTS Long
  Term Evolution (LTE) have been introduced in 3GPP
  release 8.
 LTE is also referred to as EUTRA (Evolved UMTS
  Terrestrial Radio Access) or E-UTRAN (Evolved
  UMTS Terrestrial Radio Access Network)
What is LTE(cont.)?
 The architecture that will result from this work is called
  EPS (Evolved Packet System) and comprehends E-
  UTRAN (Evolved UTRAN) on the access side and EPC
  (Evolved Packet Core) on the core side.
 Can be considered the real 3.9G & invited to join the
  4G family.
 Also considered a competitive system to mobile
  WiMAX as we will show
What is LTE (cont.)?
LTE DESIGN TARGETS
(a) capabilities:-
   Scalable BW: 1.25, 2.5, 5.0, 10.0 and 20.0 MHz.
   Peak data rate:
     Downlink (2 Ch MIMO) peak rate of 100 Mbps in 20
      MHz channel
     Uplink (single Ch Tx) peak rate of 50 Mbps in 20 MHz
      channel
   Supported antenna configurations:
    Downlink: 4x4,4x2, 2x2, 1x2, 1x1
    Uplink: 1x2, 1x1
 Duplexing modes: FDD and TDD
   Number of active mobile terminals:
 LTE should support at least 200 mobile terminals in the
  active state when operating in 5 MHz.
 In wider allocations than 5 MHz, at least 400 terminals
  should be supported
   Spectrum efficiency
     Downlink: 3 to 4 x HSDPA Rel. 65bits/s/Hz
     Uplink: 2 to 3 x HSUPA Rel. 62.5bits/s/hz
   Latency
     C-plane: <50 – 100 msec to establish U-plane
     U-plane: <10 msec from UE to server
   Mobility
     Optimized for low speeds (<15 km/hr)
     High performance at speeds up to 120 km/hr
     Maintain link at speeds up to 350 km/hr
   Coverage
     Full performance up to 5 km
     Slight degradation 5 km – 30 km
     Operation up to 100 km should not be precluded by
      standard
INTRODUCTION TO LTE
KEY TECHNOLOGIES
(1)OFDM and OFDMA:-
   One of the key technologies used in LTE and WiMAX
    systems.
   The problem ???
     Due to the multipath the signal is received from many paths with
      different phases that will result in
       DELAY SPREAD :symbol received along a delayed path to
         “bleed” into a subsequent symbol (ISI)



       FREQUENCY SELECTIVE FADING: : some frequencies
        within the signal passband undergo constructive interference
        while others encounter destructive interference.The composite
        received signal is distorted
   Old solutions of multipath fading include direct channel
    equalization or spread spectrum techniques(complex receiver is
    needed).

 OFDM:
      OFDM systems break the available bandwidth into
       many narrower sub-carriers and transmit the data in
       parallel streams
      each OFDM symbol is preceded by a cyclic prefix
       (CP), which is used to effectively eliminate ISI.
   In practice, the OFDM signal can be generated using IFFT
   with a CP of sufficient duration, preceding symbols do not spill
    over into the FFT period and also this satisfy that the output
    convolution with channel is complex gain multiplication.
   Also, Once the channel impulse response is determined (by periodic
    transmission of known reference signals), distortion can be
    corrected by applying an amplitude and phase shift on a subcarrier-
    by-subcarrier basis.
   Problems of OFDM are: susceptibility to carrier frequency errors
    (due either to local oscillator offset or Doppler shifts) and a large
    signal peak-to-average power ratio (PAPR).
OFDMA
   OFDMA is a multiple access method based on OFDM
    signaling that allows simultaneous transmissions to
    and from several users along with the other
    advantages of OFDM.
OFDM versus OFDMA




IEEE802.16d            IEEE802.16e
Fixed WiMAX,256-OFDM   Mobile WiMAX
(2) Multi antenna transmission
   LTE and WiMAX targets extreme
    performance in terms of
    ◦ Capacity
    ◦ Coverage
    ◦ Peak data rates
    Advanced multi-antenna solutions is
    the key tool to achieve this
   Multi antenna systems are integral part of
    those systems
    Different antenna solutions needed for
    different scenarios/targets
    ◦ High peak data rates  spatial multiplexing
    ◦ Good coverage Beam-forming
    ◦ High performanceDiversity
(3)Hybrid ARQ with soft
combining
 used in LTE and WiMAX to allow the terminal to rapidly
  request retransmissions of erroneously received transport
  blocks.
 The underlying protocol multiple parallel stop-and-wait hybrid
  ARQ processes
 Incremental redundancy is used as the soft combining
  strategy and the receiver buffers the soft bits to be able to do
  soft combining between transmission attempts.
(1)Spectrum flexibility:

    A high degree of spectrum flexibility is
     one of the main characteristics of the
     LTE radio access.
    The aim of this spectrum flexibility is to
       allow for the deployment of the LTE
       radio access in diverse spectrum.
      The flexibility includes:
       ◦ Different duplex arrangements.
       ◦ Different frequency-bands-of-operation.
       ◦ Different sizes of the available spectrum.
(a) 3G LTE – Duplex arrangement




(b) 3G LTE – Bandwidth flexibility



LTE physical layer supports any bandwidth from 1.25
MHz to well beyond 20 MHz in steps of 200 kHz (one
”Resource Block”)
(2) Channel-dependent scheduling and rate
adaptation
   LTE use of shared-channel transmission,
    in which the time-frequency resource is
    dynamically shared between users.
(3)Interference coordination(soft reuse)
   Adaptive reuse
    ◦ Cell-center users: Reuse = 1
    ◦ Cell-edge users: Reuse > 1
   Relies on access to frequency domain
    ◦ Applicable for both downlink OFDM and
      uplink SC-FDMA
(4)SC-FDMA:-
  LTE uplink requirements differ from downlink
     requirements.
      power consumption is a key consideration for UE
       terminals.
      The high PAPR and related loss of efficiency associated
       with OFDM signaling are major concerns.
  As a result, an alternative to OFDM was sought for use
     in the LTE uplink.
    Single Carrier – Frequency Domain Multiple Access
     (SC-FDMA) is well suited to the LTE uplink
     requirements.
    The basic transmitter and receiver architecture is very
     similar (nearly identical) to OFDMA,
    and it offers the same degree of multipath protection.
    because the underlying waveform is essentially single-
 Basic   block diagram:




   transmitter :a QAM modulator coupled with the addition
   of the cyclic prefix. This will eliminate ISI as OFDMA
   Reciever:      by using FFT & CP simple equalizer are
    used (as OFDM).
   Multipath distortion is handled in the same manner as in
    OFDM(removal of CP, conversion to the frequency
    domain, then apply the channel correction on a subcarrier-
    by subcarrier basis).
LTE practical SC-FDMA :-




   The practical transmitter is likely to take advantage of FFT/IFFT blocks
    as well to place the transmission in the correct position of the
    transmit spectrum in case of variable transmission bandwidth.
SC-FDMA receiver




Frequency domain equalization (FDE) using
DFT/IDFT is more practical for such channels.
   The fact of transmitting only a single symbol at a time
    ensures a low transmitter waveform, compared with the
    OFDMA case.
   The resulting PAR/CM impact on the amplifier is thus directly
    dependent on the modulation, whereas with the OFDMA case
    it is the amount of subcarriers.
   SC-FDMA subcarriers can be mapped in one of two ways:
    localized or distributed
   However, the current working assumption is that LTE will use
    localized subcarrier mapping.
    This decision was motivated by the fact that with localized
    mapping, it is possible to exploit frequency selective gain
    via channel dependent scheduling (assigning uplink
    frequencies to UE based on favorable propagation
    conditions).
(5) LTE Multicast/Broadcast
   MBMS – Multimedia Broadcast/Multicast Service
   OFDM allows for high-efficient MBSFN operation
    ◦ Multicast/Broadcast Single-Frequency Networking
    ◦ Identical transmissions from set of tightly synchronized
      cells
    ◦ Increased received power and reduced interference
Substantial boost of MBMS system throughput
 LTE allows for multicast/broadcast and unicast on
  the same carrier as well as dedicated
  multicast/broadcast carrier
LTE RADIO INTERFACE
ARCHITECTURE
Introduction
 Similar to WCDMA/HSPA, as well as to most other modern
  communication systems, the processing specified for LTE
  is structured into different protocol layers.
 note that the LTE radio-access architecture consists of a
  single node –the eNodeB. The eNodeB communicates with
  one or several mobile terminals, also known as UEs
Packet Data Convergence
Protocol (PDCP)
   performs IP header compression
   to reduce the number of bits to transmit over the radio
    interface.
   The header compression mechanism is based on Robust
    Header Compression (ROHC)a standardized header-
    compression algorithm also used in WCDMA
   PDCP is also responsible for ciphering and integrity
    protection of the transmitted data. At the receiver side, the
    PDCP protocol performs the corresponding deciphering and
    decompression operations.
   There is one PDCP entity per SAE bearer configured for a
    mobile terminal
Radio Link Control (RLC)
 is responsible for segmentation/concatenation, retransmission
  handling, and in-sequence delivery to higher layers.
 Unlike WCDMA, the RLC protocol is located in the eNodeB since
  there is only a single type of node in the LTE radio-access-network
  architecture.
 The RLC offers services to the PDCP in the form of radio bearers .
 There is one RLC entity per radio bearer configured for a terminal.
Medium Access Control
(MAC)
 handles hybrid-ARQ retransmissions and uplink
  and downlink scheduling.
 The scheduling functionality is located in the
  eNodeB, which has one MAC entity per cell, for
  both uplink and downlink.
 The hybrid-ARQ protocol part is present in both
  the transmitting and receiving end of the MAC
  protocol.
 The MAC offers services to the RLC in the form of
  logical channels .
MAC scheduling




The basic operation of the scheduler is so-called dynamic scheduling, where the
eNodeB in each 1 ms TTI makes a scheduling decision and sends scheduling
information to the selected set of terminal.
Downlink
                                UL scheduling
scheduling
   dynamically controlling        dynamically control
    the terminal(s) to              which mobile terminals
    transmit to                     are to transmit on their
   the set of resource             UL-SCH
    blocks upon which the
    terminal’s DL-SCH              and on which uplink
    should be transmitted.          time/frequency resources
   Transport-format               uplink scheduling
    selection(selection of          decision is taken per
    transport-block size,           mobile terminal and not
    modulation scheme, and          per radio bearer.
    antenna mapping)
   And logical-channel
    multiplexing for downlink
    transmissions
Physical Layer (PHY)
 handles coding/decoding, modulation/demodulation,
  multi-antenna mapping, and other typical physical
  layer functions.
 The physical layer offers services to the MAC layer
  in the form of transport channels
DOWNLINK PHY LAYER
OF (LTE)
LTE Generic Frame Structure
   The generic frame structure is used with FDD.(TDD is also
    supported but not the trend).
   LTE frames are 10 msec in duration.
   They are divided into 10 subframes, each subframe being 1.0 msec
    long.
   Each subframe is further divided into two slots, each of 0.5 msec
    duration.
   Slots consist of either 6 or 7 ODFM symbols, depending on whether
    the normal or extended cyclic prefix is employed.
 Different time intervals within the LTE radio-access
  specification are defined as multiples of a basic time
  unit                  Ts = 1/30 720 000.
 The time intervals can thus also be expressed as
  Tframe = 307 200 Ts and Tsubframe = 30 720 Ts
OFDMA For LTE Downlink:-
   OFDMA is an excellent choice of multiplexing scheme for the 3GPP LTE
    downlink
   allows the access of multiple users on the available bandwidth.
   Each user is assigned a specific time-frequency resource.
   Allocation of PRBs is handled by a scheduling function at the 3GPP base
    station (eNodeB).
   The total number of available subcarriers depends on the overall transmission
    bandwidth of the system. The LTE specifications define parameters for system
    bandwidths from 1.25 MHz to 20 MHz as shown in Table.
   A PRB is defined as
    consisting of 12 consecutive
    subcarriers for one slot (0.5
    msec) in duration.
    A PRB is the smallest
    element of resource allocation
    assigned by the base station
    scheduler.
   LTE does not employ a PHY
    preamble to facilitate carrier offset
    estimate, channel estimation, timing
    synchronization etc. Instead, special
    reference signals are embedded in
    the PRBs
Downlink resource block
 the OFDM subcarrier spacing has been chosen to Δf = 15 kHz.
 Sampling rate fs =15 000NFFT , where NFFT is the FFT size
 the sampling rate Δf NFFT will be a multiple or submultiple of the
  WCDMA/HSPA chip rate (3.84 Mcps)
 in the frequency domain the downlink subcarriers are grouped into
  resource blocks
 where each resource block consists of 12 consecutive subcarriers.
  In addition, there is an unused DC-subcarrier in the center of the
  downlink band. it may be subject to un-proportionally high
  interference, for example, due to local-oscillator leakage.
Downlink reference signal
 To carry out coherent demodulation of different
  downlink physical channels,
 a mobile terminal needs estimates of the downlink
  channel
    ◦ Cell-specific downlink reference signals.
    ◦ UE-specific reference signal.
    ◦ MBSFN reference signals
Cell-specific downlink reference
signals
 consists of known reference symbols inserted within the first and third last
  OFDM symbol of each slot and with a frequency-domain spacing of six
  subcarriers
 the mobile terminal should carry out interpolation/averaging over multiple
  reference symbols
 There are 504 different reference-signal sequences defined for LTE, where
  each sequence corresponds to one out of 504 different physical-layer cell
  identities
 In case of downlink multi-antenna transmission the mobile
  terminal should be able to estimate the downlink channel
  corresponding to each transmit antenna
 reference-signal structure for each antenna port in case of multiple
  antenna ports within a cell:
   ◦ In case of two antenna the reference symbols of the second antenna
      port are frequency multiplexed with the reference symbols of the first
      antenna port, with a frequency-domain offset of three subcarriers.
    ◦ In case of four antenna ports ,the reference symbols for the third and
      fourth antenna ports are frequency multiplexed within the second OFDM
      symbol of each slot. Note that the reference symbols for antenna port
      three and four are only transmitted within one OFDM symbol
UE-specific reference signals
 LTE also allows for more general beam-forming. In
  order to allow for channel estimation also for such
  transmissions, additional reference signals are
  needed.
 As such a reference signal can only be used by the
  specific terminal to which the beam-formed
  transmission is intended, it is referred to as a UE-
  specific reference signal .
LTE block diagram (DL transport
channel processing)
(1)CRC insertion:

 In the first step of the transport-channel processing, a
  24-bit CRC is calculated for and appended to each
  transport block.
 The CRC allows for receiver side detection of errors in
  the decoded transport block.
 The corresponding error indication is then, for
  example, used by the downlink hybrid-ARQ protocol as
  a trigger for requesting retransmissions.
(2)Code-block segmentation and
    per-code-block CRC insertion:
 The LTE Turbo-coder internal interleaver is only defined for a
  limited number of code-block sizes with a maximum block size
  of 6144 bits.
 In case the transport block, including the transport-block CRC,
  exceeds this maximum code-block size, code-block
  segmentation is applied before Turbo coding.
 Code-block segmentation implies that the transport block is
  segmented into smaller code blocks that match the set of code-
  block sizes defined for the Turbo coder.
 In order to ensure that the size of
  each code block is matched to the
  set of available code-block sizes,
  filler bits may have to be inserted at
  the head of the first code
 An additional (24 bits) CRC is
  calculated for and appended to each
  code block.
 Having a CRC per code block allows
  for early detection of correctly
  decoded code blocks. This can be
  used to reduce the terminal
  processing effort and power
  consumption.
(3) FEC(forward error
correction):-
   The UL-SCH uses the same rate 1/3 turbo encoding scheme (two 8-
    state constituent encoders and one internal interleaver) as the DL-
    SCH.




•The older interleaver used in HSPA been replaced by QPP
based interleaving .
•the QPP interleaver provides a mapping from the input (non-
interleaved) bits to the output (interleaved) bits according to the
function:
(4) Rate-matching and physical-
    layer hybrid-ARQ functionality
 The task of the rate-matching and physical-layer hybrid-ARQ
  functionality is to extract, from the blocks of code bits delivered by the
  channel encoder, the exact set of bits to be transmitted within a given
  TTI.
 The outputs of the Turbo encoder (systematic bits, first parity bits, and
  second parity bits) are first separately interleaved.
 The interleaved bits are then inserted into what can be described as a
  circular buffer with the systematic bits inserted first, followed by
  alternating insertion of the first and second parity bits.
   The bit selection then extracts consecutive bits from the circular buffer
(5) Bit-level scrambling
 LTE downlink scrambling implies that the block of code bits delivered by the
  hybrid-ARQ functionality is multiplied (exclusive-or operation) by a bit-
  level scrambling sequence (usually a gold code).
 In general, scrambling of the coded data helps to ensure that the receiver-
  side decoding can fully utilize the processing gain provided by the channel
  code
(6) Modulation
 The set of modulation schemes supported for the LTE downlink
  includes QPSK, 16QAM, and 64QAM.
 All these modulation schemes are applicable to the DL-SCH, PCH, and
  MCH transport channels.
 only QPSK modulation can be applied to the BCH transport channel.
(7) Multi antenna transmission
   LTE supports the following multi-antenna
    transmission schemes or transmission modes , in
    addition to single-antenna transmission:
    ◦ Transmit diversity
    ◦ Closed-loop spatial multiplexing including codebook-
      based beam-forming
    ◦ Open-loop spatial multiplexing
Transmit diversity
 LTE transmit diversity is based on Space Frequency
  Block Coding (SFBC)
 SFBC implies that consecutive modulation symbols Si
  and Si+1 are mapped directly on adjacent subcarriers on
  the first antenna port.
 On the second antenna port, the swapped and
  transformed symbols - S*i+1 and Si*are transmitted on
  the corresponding subcarriers
SFBC/FSTD(combined SFBC
Frequency Shift Transmit )and
Diversity
Closed loop Spatial multiplexing
   spatial multiplexing implies that multiple streams or ‘ layers ’
    are transmitted in parallel, thereby allowing for higher data rates
   The LTE spatial multiplexing may operate in two different
    modes: closed-loop spatial multiplexing and open-loop spatial
    multiplexing
   where closed-loop spatial multiplexing relies on more extensive
    feedback from the mobile terminal.
General beam-forming
 closed-loop spatial multiplexing includes beam-forming as a special
  case when the number of layers equals one.
 This kind of beamforming can be referred to as codebook-based
  beam-forming , indicating that
    ◦ the network selects one pre-coding vector (the beam-forming vector)
      from a set of pre-defined pre-coding vectors (the ‘ codebook ’ ) with the
      selection, for example, based on the terminal reporting a recommended
      pre-coding vector.
    ◦ if not following the terminal recommendation, the network must
      explicitly inform the terminal about what pre-coding vector, from the set
      of predefined vectors, is actually used for transmission to the terminal.
UPLINK PHY LAYER OF
(LTE)
Uplink transmission scheme
 LTE uplink transmission is based on so-called DFTS-
  OFDM transmission
 Which is a‘ single-carrier ’ transmission scheme that
  allows for
    ◦ flexible bandwidth assignment
    ◦ orthogonal multiple access not only in the time domain but
      also in the frequency domain.
    ◦ the use of a cyclic prefix allows low-complexity frequency-
      domain equalization at the receiver side.
Transmission According to
             method
                        OFDM mod.
       “M”             position of signal
   determines           is determined
    the BW




         Mapping is
         applied to
         consecutive
         carriers
         localized
DFT implementation
 The DFT size should preferably be constrained to a power of two.
 However, such a constraint is in direct conflict with a desire to
  have a high degree of flexibility of the bandwidth that can be
  dynamically assigned to a mobile terminal for uplink
  transmission all possible DFT sizes should rather be allowed.
 For LTE, a middle way has been adopted where the DFT size is
  limited to products of the integers two, three, and five.
 For example, DFT sizes of 60, 72, and 96 are allowed but a DFT
  size of 84 is not allowed.
 In this way, the DFT can be implemented as a combination of
  relatively low-complex radix-2, radix-3, and radix-5 FFT
  processing
Uplink physical resource
parameters
   Chosen to be aligned, as much as possible, with the
    corresponding parameters of the OFDM-based LTE
    downlink
    ◦ spacing equals 15 kHz
    ◦ resource blocks, consisting of 12 subcarriers
    ◦ Any number of uplink resource blocks ranging from a minimum of
      6-110 resource blocks.
    ◦ time-domain structure, the LTE uplink is very similar to the
      downlink
   However, in contrast to the downlink, no unused DC-
    subcarrier is defined for the LTE uplink
Uplink reference signals
   Demodulation reference signals (DRS )
    ◦ reference signals for channel estimation are also needed
      for the LTE uplink to enable coherent demodulation of
      different uplink physical channels
   Sounding reference signals (SRS)
    ◦ are transmitted on the uplink to allow for the network to
      estimate the uplink channel quality at different
      frequencies.
Basic principles of uplink DRS
transmission
  Due to the importance of low power variations for
  uplink transmissions
 The principles for uplink reference-signal
  transmission are different from those of the
  downlink
 certain DFTS-OFDM symbols are exclusively used
  for reference-signal transmission,
 a reference signal is transmitted within the fourth
  symbol of each uplink slot
Uplink sequences
 Limited power variations in the frequency domain to
  allow for similar channel-estimation quality for all
  frequencies.
 Limited power variations in the time domain to allow
  for high power-amplifier efficiency.
 Furthermore, sufficiently many reference-signal
  sequences of the same length, should be available to
  easily assigning reference-signal sequences to cells
Zadoff–Chu sequences
   have the property of constant power in both the frequency
    and the time domain.


   Zadoff–Chu sequences are not suitable for direct usage as
    uplink:
    ◦ to maximize the number of Zadoff–Chu sequences and to maximize
      the number of available uplink reference signals, prime-length
      Zadoff–Chu sequences would be preferred. At the same time, the
      length of the uplink reference-signal sequences should be a
      multiple of 12
    ◦ For short sequence lengths, corresponding to narrow uplink
      transmission bandwidths, relatively few reference-signal
      sequences would be available
Phase-rotated reference-signal
sequences
 by cyclically extending different prime-length Zadoff – Chu
  sequences .
 Additional reference-signal sequences can be derived by
  applying different linear phase rotations to the same basic
  reference-signal sequences
sounding reference signals
(SRS)
 estimate the uplink channel quality at different frequencies
   A terminal can be configured to transmit SRS at regular
    intervals ranging from as often as once in every 2 ms (every
    second subframe) to as infrequently as once in every 160 ms
    (every 16th frame
   the frequency-domain scheduling:
    ◦ entire frequency band of interest with a single SRS OR
    ◦ narrowband SRS that is hopping in the frequency domain in such a way
      that a sequence of SRS transmissions jointly covers the frequency band of
      interest.
Uplink transport-channel
processing
   uplink transport-channel
    processing are similar to the
    corresponding steps of the
    downlink transport-channel
    processing
   no spatial multiplexing or
    transmit diversity currently
    defined for the LTE uplink
   As a consequence, there is also
    only a single transport block, of
    dynamic size, transmitted for each
    TTI.
LTE ACCESS
PROCEDURE
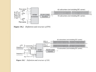
LTE cell search
   Aim
    ◦ Acquire frequency and symbol synchronization to a cell.
    ◦ Acquire frame timing of the cell, that is, determine the start of the
      downlink frame.
    ◦ Determine the physical-layer cell identity of the cell.
   two special signals are transmitted on the LTE downlink,
    ◦ the Primary Synchronization Signal (PSS)
    ◦ Secondary Synchronization Signal (SSS)
a terminal synchronizes to a cell.
  Once it knew PSS 5ms delay


 acquires the physical-layer identity
(but not the identity group) of the cell
              using PSS .


Acquires physical layer identity group
          using SSS signal



detects the cell frame timing using SSS
                  signal


   Once this has been achieved, the
terminal has to acquire the cell system
              information
System information
   In LTE, system information is delivered by two
    different mechanisms relying on two different transport
    channels
    ◦ A limited amount of system information, corresponding to the
      so-called Master Information Block (MIB), is transmitted
      using the BCH.
    ◦ The main part of the system information, corresponding to
      different so-called System Information Blocks (SIBs), is
      transmitted using the downlink shared channel (DL-SCH).
Random access
 A fundamental requirement for any cellular system is the possibility
  for the terminal to request a connection setup, commonly referred
  to as random access .
 In LTE, random access is used for several purposes, including:
    ◦ for initial access when establishing a radio link (moving from
      RRC_IDLE to RRC_CONNECTED;
    ◦ to re-establish a radio link after radio link failure;
    ◦ for handover when uplink synchronization needs to be established to the
      new cell;
    ◦ to establish uplink synchronization if uplink or downlink data arrives
      when the terminal is in RRC_CONNECTED and the uplink is not
      synchronized;
    ◦ as a scheduling request if no dedicated scheduling-request resources have
      been configured on PUCCH.
The first step consists of transmission of a random-access
    preamble, allowing the eNodeB to estimate the transmission
 timing of the terminal. Uplink synchronization is necessary as the
        terminal otherwise cannot transmit any uplink data.




  The second step consists of the network transmitting a timing
advance command to adjust the terminal transmit timing, based on
  the timing estimate in the first step. In addition to establishing
   uplink synchronization, the second step also assigns uplink
    resources to the terminal to be used in the third step in the
                    random-access procedure.



   The third step consists of transmission of the mobile-terminal
    identity to the network using the UL-SCH similar to normal
  scheduled data. The exact content of this signaling depends on
   the state of the terminal, in particular whether it is previously
                     known to the network or not.




       The fourth and final step consists of transmission of a
      contention-resolution message from the network to the
       terminal on the DL-SCH. This step also resolves any
      contention due to multiple terminals trying to access the
         system using the same random-access resource.
paging
 Paging is used for network-initiated connection
  setup.
 An efficient paging procedure should allow the
  terminal to sleep with no receiver processing most
  of the time and to briefly wake up at predefined
  time intervals to monitor paging information from
  the network.
 In LTE, no separate paging-indicator channel is
  used
LTE ARCHITECTURE
AND SAE
LTE System Architecture
LTE System Architecture cont.
   Evolved Radio Access Network (RAN)
    UE: User Equipment
    eNB: enhanced Node B

    -Contains PHY, MAC, RLC (Radio Link Control)
    , PDCP (Packet Data Control Protocol).
   eNBs are connected together through the SGW.
LTE System Architecture cont.
    Functions of eNodeB:
     Radio Resources management.
     Admission control.
     Enforcement of negotiated UL QoS.
     Cell information broadcast.
     Ciphering/deciphering of user and
      control plane data
     Compression/decompression of
      DL/UL user plane packet headers.
LTE System Architecture cont.
   Serving Gateway (SGW)
    -Routes and forwards user Data Packets.
    -Mobility anchor for eNB handovers and LTE to other
    3GPP systems.
      (relaying the traffic between 2G/3G systems and PDN
    GW).

   Packet Data Network Gateway (PDN GW)
    -Connects UE to external packet data networks (serve IP
    functions)
    -Anchor for mobility between 3GPP and non-3GPP
    technologies such as WiMAX and 3GPP2 (CDMA 1X and
     EvDO).

     - Performs policy enforcement , charging
     support.
LTE System Architecture
cont.
 Mobility   Management Entity (MME)
 -Manage the UE’s mobility.
 -Idle-mode UE tracking and reachability .
 -Paging procedure.
 -Authentication and authorization.
 - choosing the SGW for a UE at
   the initial attach
 -Security negotiations.
OVERVIEW OF LTE
ADVANCED
Fundamental requirements for
LTE-Advanced
 complete fulfillment of all the requirements for IMT-
  Advanced defined by ITU
 LTE-Advanced has to fulfill a set of basic backward
  compatibility requirements
    ◦ Spectrum coexistence, implying that it should be possible to
      deploy LTE-Advanced in spectrum already occupied by LTE
      with no impact on existing LTE terminals
    ◦ infrastructure, in practice implying that it should be
      possible to upgrade already installed LTE infrastructure
      equipment to LTE-Advanced capability
    ◦ terminal implementation
Extended requirements beyond
ITU requirements
   Support for peak-data up to 1 Gbps in the downlink and 500
    Mbps in the uplink.
    Substantial improvements in system performance such as
    cell and user throughput with target values significantly
    exceeding those of IMT-Advanced.
   Possibility for low-cost infrastructure deployment and
    terminals.
   High power efficiency, that is, low power consumption for
    both terminals and infrastructure.
   Efficient spectrum utilization, including efficient utilization
    of fragmented spectrum
Technical components of LTE-
Advanced
 Wider bandwidth and carrier aggregation
 Extended multi-antenna solutions
 Advanced repeaters and relaying functionality
 Coordinated multi-point transmission
Wider bandwidth and carrier
aggregation
   LTE-Advanced will be an increase of the maximum transmission
    bandwidth beyond 20 MHz, perhaps up to as high as 100 MHz or
    even beyond
   In case of carrier aggregation, the extension to wider bandwidth is
    accomplished by the aggregation of basic component carriers of a
    more narrow bandwidth
Extended multi-antenna solutions
 support for spatial multiplexing on the uplink is
  anticipated to be part of LTE-Advanced
 extension of downlink spatial multiplexing to more
  four layers
 benefits of eight-layer spatial multiplexing are only
  present in special scenarios where high SINR can
  be achieved
Coordinated multi-point
transmission
 Coordinating the transmission from the multiple antennas can be used to
  increase the signal-to-noise ratio for users far from the antenna
 for example by transmitting the same signal from multiple sites.
 Such strategies can also improve the power-amplifier utilization in the
  network, especially in a lightly loaded network where otherwise some power
  amplifiers would be idle
Advanced repeaters and relaying
functionality
 Repeaters simply amplify and forward the received analog signals and are
  used already today for handling coverage holes.
 “L1 relays”schemes where the network can control the transmission power
  of the repeater and, for example, activate the repeater only when users are
  present in the area handled by the repeater
 intermediate node may also decode and re-encode any received data prior to
  forwarding it to the served users. This is often referred to as decode-and-
  forward relaying
The proposals could roughly be
categorized into:
 Various concepts for Relay Nodes
 UE Dual TX antenna solutions for SU-MIMO and diversity MIMO
 Scalable system bandwidth exceeding 20 MHz, Potentially up to 100MHz
 Local area optimization of air interface
 Nomadic / Local Area network and mobility solutions
 Flexible Spectrum Usage
 Cognitive Radio
 Automatic and autonomous network configuration and operation
 Enhanced precoding and forward error correction
 Interference management and suppression
 Asymmetric bandwidth assignment for FDD
 Hybrid OFDMA and SC-FDMA in uplink
 UL/DL inter eNodeB coordinated MIMO
Timeframe
 Standardization is expected to be included in 3GPP
  Release 10 timeframe.
 The importance and timeframe of LTE Advanced
  will of course largely depend on the success of LTE
  itself.
 If possible LTE-Advanced will be a software
  upgrade for LTE networks.
Technology
Demonstrations
 In February 2007 NTT DoCoMo announced the
  completion of a 4G trial
 where they achieved a maximum packet
  transmission rate of approximately 5 Gbit/s in the
  downlink using 100MHz frequency bandwidth to a
  mobile station moving at 10 km/h

Lte course

  • 3.
  • 4.
    OUTLINE  NEED FORMULTI-CARRIER  OFDM ENTERS INTO THE PICTURE  FFT/ IFFT  GUARD TIME INSERTION  OFDM DRAWBACKS  CHANNEL ESTIMATION  OFDM BLOCK DIAGRAM  SIMULATION RESULTS
  • 5.
    NEED FOR MULTI- CARRIER Time Domain Analysis
  • 6.
    NEED FOR MULTI- CARRIER cont. Pulse completely distorted. Pulse extended but the extension ISI is significant in this case. are much smaller than T the output behaves like the transmitted rectangular pulse.
  • 7.
    NEED FOR MULTI- CARRIERcont. Frequency Domain Analysis
  • 8.
    NEED FOR MULTI- CARRIER cont. Conclusion Wide pulses is needed for simple equalization, But Narrow pulses is needed for high data rate Solution Multiplexing
  • 9.
  • 10.
    NEED FOR MULTI- CARRIERcont. Problem Solution  Orthogonality
  • 11.
  • 12.
  • 13.
    OFDM ENTERS INTOTHE PICTURE Interference  Orthogonality B.W efficiency  Min Separation
  • 14.
    OFDM ENTERS INTOTHE PICTURE cont.  Min Separation   Problem ◦ Difficult Implementation with traditional oscillators  Solution ◦ DFT But ◦ DFT needs high processing Solution ◦ Easy implementation using FFT/IFFT
  • 15.
    FFT / IFFT IFFT DAC Channel FFT ADC
  • 16.
  • 17.
    GUARD TIME INSERTION Channel Filtering X1 X2 …. …. Xn hv …. h1 h0 Y1 Y2 …. …. Yn
  • 18.
    GUARD TIME INSERTION cont. Problem X’1 X’2 …. …. X’n X1 X2 …. …. Xn hv …. h1 h0 Y’’1 Y’’2 …. Y’’v Yv+1 Yv+2 …. Yn ISI occurs
  • 19.
    GUARD TIME INSERTION cont. Solution  Cyclic Prefix Xn- X’1 …. X’n v+1 …. Xn X1 X2 …. Xn hv …. h1 h0 Y1 Y2 …. Yv Yv+1 Yv+2 …. Yn  No ISI Circular Convolution achieved.
  • 20.
    Cyclic prefix  The CP allows the receiver to absorb much more efficiently the delay spread due to the multipath and to maintain frequency Orthogonality.  The CP that occupies a duration called the Guard Time (GT), often denoted TG, is a temporal redundancy that must be taken into account in data rate computations.
  • 21.
    OFDM DRAWBACKS cont. Peakto Average Power Ratio (PAPR)
  • 22.
    OFDM DRAWBACKS cont. Sensitivity to frequency offset 
  • 23.
    CHANNEL ESTIMATION Pilot Based Channel Estimation  Estimated Received Channel Signal after Response FFT Lowpass Pilot Pilot FIR Signal Signal Filter Extraction Estimation Known Pilots
  • 24.
    CHANNEL ESTIMATION cont.  Pilot Arrangement Types  Block Pilot Patterns Comb Pilot Patterns Frequency( sub carriers) Frequency( sub carriers) Pilot symbols Data symbols Time (OFDM Symbols) Time (OFDM Symbols) High channel frequency rapid changing channels selectivity
  • 25.
    OFDMA  OFDMA is a multiple access method based on OFDM signaling that allows simultaneous transmissions to and from several users along with the other advantages of OFDM.
  • 26.
    OFDM versus OFDMA IEEE802.16d IEEE802.16e Fixed WiMAX,256-OFDM Mobile WiMAX
  • 27.
  • 28.
    What is diversity? Isa technique that combats the fading by ensuring that there will be many copies of the transmitted signal effected with different fading over time, frequency or space. Diversity types Time Frequency Spatial diversity diversity diversity
  • 29.
    1- Time diversity: Weaveraging the fading of the channel over time by using : 1-The channel coding and interleaving. 2-Or sending the data at different times. to explain this we will see an example:
  • 30.
    1-time diversity: |H(t)| t No interleaving x1 x2 x3 x4 y1 y2 y3 y4 z1 z2 z3 z4 h1 h2 h3 h4 interleaving x1 y1 z1 h1 x2 y2 z2 h2 x3 y3 z3 h3 x4 y4 z4 h4 So we can see that only the 3rd symbol from each codeword lost and we can recover them from the rest symbols in each codeword.
  • 31.
    2- frequency diversity: Thistype of diversity used for the frequency selective channels as we will averaging the fading over the frequency by using: 1-Multi-carrier technique like OFDM. 2-FHSS (frequency hope spread spectrum). 3-DSSS (direct sequence spread spectrum).
  • 32.
    2- frequency diversity: We can see that each sub-band will effecting with different fading over the frequency.
  • 33.
    3-spatial diversity: we willhave many copies of the transmitted signal effects with different fading over the space . we use multi-antenna systems at the transmitter or the receiver or at both of them. Spatial diversity MIMO- MISO SIMO MIMO MU
  • 34.
    Receive diversity: 1-The receiver will has many antennas . 2-Each one has signal effecting with different fading. 3-number of different paths =Mr. Diversity order=Mr
  • 35.
    MIMO: In this typewe use multi antennas at both the transmitter and receiver as shown. Diversity order=Mt x Mr
  • 36.
    Notes: The higher diversityorder we have the better we combat the fading
  • 37.
    Notes: 1-Thediversity reduces the BER of the communication system. 2-Diversity order BER .
  • 38.
    Notes: The distance betweenthe antennas must be larger than the coherent distance to ensure that data streams are not correlated .
  • 39.
    Question? How the receiverget the signal from the many copies reached ? Answer Diversity combining techniques Maximal ratio Equal gain Selective combining combining combining SC MRC EGC
  • 40.
    Diversity combining technique 1-Combines the independent fading paths signals to obtain a signal that passed through a standard demodulator. 2-The techniques can be applied to any type of diversity. 3-combining techniques are linear as the output of is a weighted sum of the different fading signals of branches. 4-It needs co-phasing.
  • 41.
    Diversity combining technique Fading of the path The signal output from the combiner is the transmitted signal s(t) multiplied by a random complex Type of technique amplitude term Diversity order Random SNR from the combiner
  • 42.
    Diversity combining technique Types of combining techniques Selection Threshold Maximal ratio Equal gain combining combining combining combining
  • 43.
    selection combining technique 1-thecombiner outputs the signal on the branch with the highest SNR . 2-no need here for 0 0 1 0 the co-phasing.
  • 44.
    Threshold combining technique As in SC since only one branch output is used at a time and outputting the first signal with SNR above a given threshold so that co- phasing is not required. Does not take the largest SNR so that its performance less than the SC technique. Special case at diversity order =2 (SSC)
  • 45.
    Maximal ratio combining In maximal ratio combining (MRC) the output is a weighted sum h1* h2* h3* hi* of all branches due to its SNR
  • 46.
    Equal gain combining technique Asimpler technique is equal-gain combining, which co-phases the signals on each branch and then combines them with equal weighting
  • 47.
    MIMO  Traditional diversityis based on multiple receiver antennas  Multiple-In Multiple-Out (MIMO) is based on both transmit and receive diversity  Also known as Space Time Coding (STC)  With Mt transmission antennas and Mr receiver antennas we have Mt Mr branches  Tx and Rx processing is performed over space (antennas) and time (successive symbols) 47
  • 48.
    MIMO or STC  In Mobile communication systems it may be difficult to put many antennas in the mobile unit  Diversity in the downlink (from base station to mobile station) can be achieved by Multiple-In Single-Out (MISO) (i.e., Mr=1)  In the uplink (from mobile station to base station) diversity is achieved my conventional diversity (SIMO)  Hence, all diversity cost is moved to the base station  All 3G and 4G mobile communication system employ MIMO in their standard 48
  • 49.
    Type of MIMO  Two major types of space time coding ◦ Space time block coding (STBC) ◦ Space time trellis coding (STTC)  STBC is simpler by STTC can provide better performance  STBC is used in mobile communications. STTC is not used in any systems yet  We will talk only about STBC 49
  • 50.
    Space Time BlockCodes  There are few major types ◦ Transmit diversity: main goal is diversity gain ◦ Spatial multiplexing: main goal is increase data rate ◦ Eigen steering: main goal is both. Requires knowledge of the channel at the transmitter side ◦ Mix of the above: Lots of research  Transmit diversity, spatial multiplexing and simplified version of Eigen steering are used in 3G and 4G standards  While in 3G standards MIMO was an enhancement, in 4G MIMO is a main part 50
  • 51.
    Transmit Diversity  TakeMt=2 and Mr=1  Two symbols so and s1 are transmitted over two transmission periods  No change in data rate (denoted as rate 1 STBC)  Channel is known at receiver only 51
  • 52.
    Transmit Diversity Ant o Ant1  Transmission matrix:  s o s1   Timeo S   * *  s1 s o   Time1  Transmission matrix columns are orthogonal to guarantee simple linear processing at the receiver  Other transmission matrices are defined in literature  Received signal  r   s is: s 1   g o   no  R    * *     o o  r1   s1 s o   g 1   n1   Performance is same as MRC with M=2  However, if Tx Power is the same, then transmit diversity (2x1) is 3 dB worse than (1x2) 52
  • 53.
    Transmit Diversity  Take Mt=2 and Mr=2  Performance is the same as MRC with M=4  However, if Tx Power is the same, then transmit diversity (2x2) is 3 dB worse than (1x4) 53
  • 54.
    Performance  MRRC=Maximal RatioReceiver Combining  Note 3 dB difference in favor of Rx MRC diversity Reference: S. Alamouti, a simple transmit diversity technique for wireless communications, IEEE JSAC, October 98 No diversity Order 2 Order 4 54
  • 55.
    Spatial Multiplexing ro  s o g o  s 1 g 1 r1  s o g 2  s 1 g 3  Purpose is to increase data rate (2x2 gives twice data rate)  The 4 gains must be known at receiver  Simplest way zero forcing algorithm:  ro   g o g 1  s o  ˆ s o  1 H  o r r   g  s   G G  G  r  H  1  2 g 3   s1     ˆ1     1 G 55
  • 56.
    Spatial Multiplexing ro  s o g o  s 1 g 1 r1  s o g 2  s 1 g 3  Optimum method: Maximum Likelihood ◦ Try all combinations of s1 and s2 ◦ Find the combination that minimizes the squared error: 2 2 e  e  ro  s o g o  s1 g 1  r1  s o g 2  s1 g 3 2 o 2 1 ˆ ˆ ˆ ˆ ◦ Complexity increases with high order modulation 56
  • 57.
    Performance  Equal rate comparison  Reference: David Gesbert, Mansoor Zero forcing Shafi, Da-shan Shiu, Peter J. Smith, and Ayman Naguib, From ML theory to practice: an overview of MIMO space–time Alamouti coded wireless systems, IEEE JSAC, April 2003 57
  • 58.
    Eigenvalue Steering  Assume a MIMO system 58
  • 59.
    Eigenvalue Steering  Example with Mt = 2 and Mr=4  y 1   h11 h12   y  h  n1   y   H x   n   2    21 h22   x 1   n 2     x    n   y 3   h31 h32   2  3        y 4   h41 h42  n 4   Any matrix H can be represented using H Singular Value Decomposition as H U V H  U is Mr by Mr and V is Mt by Mt unitary matrices   is Mr by Mt diagonal matrix, elements σi 59
  • 60.
    Eigenvalue Steering Using transmit pre-coding and receiver shaping  y U H H x  n   U H U V H x n  U H U V H V x  n   U H U V H V x U H n   x n 60
  • 61.
    Eigenvalue Steering  Thisway we created r paths between the Tx and specific Rx without any cross interference  The channel (i.e., Channel State Information) must be known to both transmitter and receiver  The value of r = rank of matrix H, r min(Mt, Mr)  Not all r paths have good SNR  Data rate can increase by factor r  See Appendix C for Singular Value Decomposition  See Matlab function [U,S,V] = svd(X) 61
  • 62.
    Example  Reference: Sanjiv Nanda, Rod Walton, John Ketchum, Mark Wallace, and Steven Howard, A high-performance MIMO OFDM wireless LAN, IEEE Communication Magazine, February 2005 62
  • 63.
    INTRODUCTION TO LTEAND ITS UNIQUE TECHNOLOGIES.
  • 64.
    What is LTE?? The 3GPP LTE is acronym for “long term evolution of UMTS “.  In order to ensure the competitiveness of UMTS for the next 10 years and beyond, concepts for UMTS Long Term Evolution (LTE) have been introduced in 3GPP release 8.  LTE is also referred to as EUTRA (Evolved UMTS Terrestrial Radio Access) or E-UTRAN (Evolved UMTS Terrestrial Radio Access Network)
  • 65.
    What is LTE(cont.)? The architecture that will result from this work is called EPS (Evolved Packet System) and comprehends E- UTRAN (Evolved UTRAN) on the access side and EPC (Evolved Packet Core) on the core side.  Can be considered the real 3.9G & invited to join the 4G family.  Also considered a competitive system to mobile WiMAX as we will show
  • 66.
    What is LTE(cont.)?
  • 67.
  • 68.
    (a) capabilities:-  Scalable BW: 1.25, 2.5, 5.0, 10.0 and 20.0 MHz.  Peak data rate:  Downlink (2 Ch MIMO) peak rate of 100 Mbps in 20 MHz channel  Uplink (single Ch Tx) peak rate of 50 Mbps in 20 MHz channel  Supported antenna configurations:  Downlink: 4x4,4x2, 2x2, 1x2, 1x1  Uplink: 1x2, 1x1  Duplexing modes: FDD and TDD  Number of active mobile terminals:  LTE should support at least 200 mobile terminals in the active state when operating in 5 MHz.  In wider allocations than 5 MHz, at least 400 terminals should be supported
  • 69.
    Spectrum efficiency  Downlink: 3 to 4 x HSDPA Rel. 65bits/s/Hz  Uplink: 2 to 3 x HSUPA Rel. 62.5bits/s/hz  Latency  C-plane: <50 – 100 msec to establish U-plane  U-plane: <10 msec from UE to server  Mobility  Optimized for low speeds (<15 km/hr)  High performance at speeds up to 120 km/hr  Maintain link at speeds up to 350 km/hr  Coverage  Full performance up to 5 km  Slight degradation 5 km – 30 km  Operation up to 100 km should not be precluded by standard
  • 70.
  • 71.
    (1)OFDM and OFDMA:-  One of the key technologies used in LTE and WiMAX systems.  The problem ???  Due to the multipath the signal is received from many paths with different phases that will result in  DELAY SPREAD :symbol received along a delayed path to “bleed” into a subsequent symbol (ISI)  FREQUENCY SELECTIVE FADING: : some frequencies within the signal passband undergo constructive interference while others encounter destructive interference.The composite received signal is distorted
  • 72.
    Old solutions of multipath fading include direct channel equalization or spread spectrum techniques(complex receiver is needed).  OFDM:  OFDM systems break the available bandwidth into many narrower sub-carriers and transmit the data in parallel streams  each OFDM symbol is preceded by a cyclic prefix (CP), which is used to effectively eliminate ISI.
  • 73.
    In practice, the OFDM signal can be generated using IFFT  with a CP of sufficient duration, preceding symbols do not spill over into the FFT period and also this satisfy that the output convolution with channel is complex gain multiplication.  Also, Once the channel impulse response is determined (by periodic transmission of known reference signals), distortion can be corrected by applying an amplitude and phase shift on a subcarrier- by-subcarrier basis.  Problems of OFDM are: susceptibility to carrier frequency errors (due either to local oscillator offset or Doppler shifts) and a large signal peak-to-average power ratio (PAPR).
  • 74.
    OFDMA  OFDMA is a multiple access method based on OFDM signaling that allows simultaneous transmissions to and from several users along with the other advantages of OFDM.
  • 75.
    OFDM versus OFDMA IEEE802.16d IEEE802.16e Fixed WiMAX,256-OFDM Mobile WiMAX
  • 76.
    (2) Multi antennatransmission  LTE and WiMAX targets extreme performance in terms of ◦ Capacity ◦ Coverage ◦ Peak data rates Advanced multi-antenna solutions is the key tool to achieve this  Multi antenna systems are integral part of those systems  Different antenna solutions needed for different scenarios/targets ◦ High peak data rates  spatial multiplexing ◦ Good coverage Beam-forming ◦ High performanceDiversity
  • 77.
    (3)Hybrid ARQ withsoft combining  used in LTE and WiMAX to allow the terminal to rapidly request retransmissions of erroneously received transport blocks.  The underlying protocol multiple parallel stop-and-wait hybrid ARQ processes  Incremental redundancy is used as the soft combining strategy and the receiver buffers the soft bits to be able to do soft combining between transmission attempts.
  • 78.
    (1)Spectrum flexibility:  A high degree of spectrum flexibility is one of the main characteristics of the LTE radio access.  The aim of this spectrum flexibility is to allow for the deployment of the LTE radio access in diverse spectrum.  The flexibility includes: ◦ Different duplex arrangements. ◦ Different frequency-bands-of-operation. ◦ Different sizes of the available spectrum.
  • 79.
    (a) 3G LTE– Duplex arrangement (b) 3G LTE – Bandwidth flexibility LTE physical layer supports any bandwidth from 1.25 MHz to well beyond 20 MHz in steps of 200 kHz (one ”Resource Block”)
  • 80.
    (2) Channel-dependent schedulingand rate adaptation  LTE use of shared-channel transmission, in which the time-frequency resource is dynamically shared between users.
  • 81.
    (3)Interference coordination(soft reuse)  Adaptive reuse ◦ Cell-center users: Reuse = 1 ◦ Cell-edge users: Reuse > 1  Relies on access to frequency domain ◦ Applicable for both downlink OFDM and uplink SC-FDMA
  • 82.
    (4)SC-FDMA:-  LTEuplink requirements differ from downlink requirements.  power consumption is a key consideration for UE terminals.  The high PAPR and related loss of efficiency associated with OFDM signaling are major concerns.  As a result, an alternative to OFDM was sought for use in the LTE uplink.  Single Carrier – Frequency Domain Multiple Access (SC-FDMA) is well suited to the LTE uplink requirements.  The basic transmitter and receiver architecture is very similar (nearly identical) to OFDMA,  and it offers the same degree of multipath protection.  because the underlying waveform is essentially single-
  • 83.
     Basic block diagram:  transmitter :a QAM modulator coupled with the addition of the cyclic prefix. This will eliminate ISI as OFDMA  Reciever: by using FFT & CP simple equalizer are used (as OFDM).  Multipath distortion is handled in the same manner as in OFDM(removal of CP, conversion to the frequency domain, then apply the channel correction on a subcarrier- by subcarrier basis).
  • 84.
    LTE practical SC-FDMA:-  The practical transmitter is likely to take advantage of FFT/IFFT blocks as well to place the transmission in the correct position of the transmit spectrum in case of variable transmission bandwidth.
  • 85.
    SC-FDMA receiver Frequency domainequalization (FDE) using DFT/IDFT is more practical for such channels.
  • 86.
    The fact of transmitting only a single symbol at a time ensures a low transmitter waveform, compared with the OFDMA case.  The resulting PAR/CM impact on the amplifier is thus directly dependent on the modulation, whereas with the OFDMA case it is the amount of subcarriers.  SC-FDMA subcarriers can be mapped in one of two ways: localized or distributed  However, the current working assumption is that LTE will use localized subcarrier mapping.  This decision was motivated by the fact that with localized mapping, it is possible to exploit frequency selective gain via channel dependent scheduling (assigning uplink frequencies to UE based on favorable propagation conditions).
  • 87.
    (5) LTE Multicast/Broadcast  MBMS – Multimedia Broadcast/Multicast Service  OFDM allows for high-efficient MBSFN operation ◦ Multicast/Broadcast Single-Frequency Networking ◦ Identical transmissions from set of tightly synchronized cells ◦ Increased received power and reduced interference Substantial boost of MBMS system throughput  LTE allows for multicast/broadcast and unicast on the same carrier as well as dedicated multicast/broadcast carrier
  • 88.
  • 89.
    Introduction  Similar toWCDMA/HSPA, as well as to most other modern communication systems, the processing specified for LTE is structured into different protocol layers.  note that the LTE radio-access architecture consists of a single node –the eNodeB. The eNodeB communicates with one or several mobile terminals, also known as UEs
  • 91.
    Packet Data Convergence Protocol(PDCP)  performs IP header compression  to reduce the number of bits to transmit over the radio interface.  The header compression mechanism is based on Robust Header Compression (ROHC)a standardized header- compression algorithm also used in WCDMA  PDCP is also responsible for ciphering and integrity protection of the transmitted data. At the receiver side, the PDCP protocol performs the corresponding deciphering and decompression operations.  There is one PDCP entity per SAE bearer configured for a mobile terminal
  • 92.
    Radio Link Control(RLC)  is responsible for segmentation/concatenation, retransmission handling, and in-sequence delivery to higher layers.  Unlike WCDMA, the RLC protocol is located in the eNodeB since there is only a single type of node in the LTE radio-access-network architecture.  The RLC offers services to the PDCP in the form of radio bearers .  There is one RLC entity per radio bearer configured for a terminal.
  • 93.
    Medium Access Control (MAC) handles hybrid-ARQ retransmissions and uplink and downlink scheduling.  The scheduling functionality is located in the eNodeB, which has one MAC entity per cell, for both uplink and downlink.  The hybrid-ARQ protocol part is present in both the transmitting and receiving end of the MAC protocol.  The MAC offers services to the RLC in the form of logical channels .
  • 94.
    MAC scheduling The basicoperation of the scheduler is so-called dynamic scheduling, where the eNodeB in each 1 ms TTI makes a scheduling decision and sends scheduling information to the selected set of terminal.
  • 95.
    Downlink UL scheduling scheduling  dynamically controlling  dynamically control the terminal(s) to which mobile terminals transmit to are to transmit on their  the set of resource UL-SCH blocks upon which the terminal’s DL-SCH  and on which uplink should be transmitted. time/frequency resources  Transport-format  uplink scheduling selection(selection of decision is taken per transport-block size, mobile terminal and not modulation scheme, and per radio bearer. antenna mapping)  And logical-channel multiplexing for downlink transmissions
  • 96.
    Physical Layer (PHY) handles coding/decoding, modulation/demodulation, multi-antenna mapping, and other typical physical layer functions.  The physical layer offers services to the MAC layer in the form of transport channels
  • 97.
  • 98.
    LTE Generic FrameStructure  The generic frame structure is used with FDD.(TDD is also supported but not the trend).  LTE frames are 10 msec in duration.  They are divided into 10 subframes, each subframe being 1.0 msec long.  Each subframe is further divided into two slots, each of 0.5 msec duration.  Slots consist of either 6 or 7 ODFM symbols, depending on whether the normal or extended cyclic prefix is employed.
  • 99.
     Different timeintervals within the LTE radio-access specification are defined as multiples of a basic time unit Ts = 1/30 720 000.  The time intervals can thus also be expressed as Tframe = 307 200 Ts and Tsubframe = 30 720 Ts
  • 100.
    OFDMA For LTEDownlink:-  OFDMA is an excellent choice of multiplexing scheme for the 3GPP LTE downlink  allows the access of multiple users on the available bandwidth.  Each user is assigned a specific time-frequency resource.  Allocation of PRBs is handled by a scheduling function at the 3GPP base station (eNodeB).  The total number of available subcarriers depends on the overall transmission bandwidth of the system. The LTE specifications define parameters for system bandwidths from 1.25 MHz to 20 MHz as shown in Table.
  • 101.
    A PRB is defined as consisting of 12 consecutive subcarriers for one slot (0.5 msec) in duration.  A PRB is the smallest element of resource allocation assigned by the base station scheduler.  LTE does not employ a PHY preamble to facilitate carrier offset estimate, channel estimation, timing synchronization etc. Instead, special reference signals are embedded in the PRBs
  • 102.
    Downlink resource block the OFDM subcarrier spacing has been chosen to Δf = 15 kHz.  Sampling rate fs =15 000NFFT , where NFFT is the FFT size  the sampling rate Δf NFFT will be a multiple or submultiple of the WCDMA/HSPA chip rate (3.84 Mcps)  in the frequency domain the downlink subcarriers are grouped into resource blocks  where each resource block consists of 12 consecutive subcarriers. In addition, there is an unused DC-subcarrier in the center of the downlink band. it may be subject to un-proportionally high interference, for example, due to local-oscillator leakage.
  • 104.
    Downlink reference signal To carry out coherent demodulation of different downlink physical channels,  a mobile terminal needs estimates of the downlink channel ◦ Cell-specific downlink reference signals. ◦ UE-specific reference signal. ◦ MBSFN reference signals
  • 105.
    Cell-specific downlink reference signals consists of known reference symbols inserted within the first and third last OFDM symbol of each slot and with a frequency-domain spacing of six subcarriers  the mobile terminal should carry out interpolation/averaging over multiple reference symbols  There are 504 different reference-signal sequences defined for LTE, where each sequence corresponds to one out of 504 different physical-layer cell identities
  • 106.
     In caseof downlink multi-antenna transmission the mobile terminal should be able to estimate the downlink channel corresponding to each transmit antenna  reference-signal structure for each antenna port in case of multiple antenna ports within a cell: ◦ In case of two antenna the reference symbols of the second antenna port are frequency multiplexed with the reference symbols of the first antenna port, with a frequency-domain offset of three subcarriers. ◦ In case of four antenna ports ,the reference symbols for the third and fourth antenna ports are frequency multiplexed within the second OFDM symbol of each slot. Note that the reference symbols for antenna port three and four are only transmitted within one OFDM symbol
  • 108.
    UE-specific reference signals LTE also allows for more general beam-forming. In order to allow for channel estimation also for such transmissions, additional reference signals are needed.  As such a reference signal can only be used by the specific terminal to which the beam-formed transmission is intended, it is referred to as a UE- specific reference signal .
  • 109.
    LTE block diagram(DL transport channel processing)
  • 110.
    (1)CRC insertion:  Inthe first step of the transport-channel processing, a 24-bit CRC is calculated for and appended to each transport block.  The CRC allows for receiver side detection of errors in the decoded transport block.  The corresponding error indication is then, for example, used by the downlink hybrid-ARQ protocol as a trigger for requesting retransmissions.
  • 111.
    (2)Code-block segmentation and per-code-block CRC insertion:  The LTE Turbo-coder internal interleaver is only defined for a limited number of code-block sizes with a maximum block size of 6144 bits.  In case the transport block, including the transport-block CRC, exceeds this maximum code-block size, code-block segmentation is applied before Turbo coding.  Code-block segmentation implies that the transport block is segmented into smaller code blocks that match the set of code- block sizes defined for the Turbo coder.
  • 112.
     In orderto ensure that the size of each code block is matched to the set of available code-block sizes, filler bits may have to be inserted at the head of the first code  An additional (24 bits) CRC is calculated for and appended to each code block.  Having a CRC per code block allows for early detection of correctly decoded code blocks. This can be used to reduce the terminal processing effort and power consumption.
  • 113.
    (3) FEC(forward error correction):-  The UL-SCH uses the same rate 1/3 turbo encoding scheme (two 8- state constituent encoders and one internal interleaver) as the DL- SCH. •The older interleaver used in HSPA been replaced by QPP based interleaving . •the QPP interleaver provides a mapping from the input (non- interleaved) bits to the output (interleaved) bits according to the function:
  • 114.
    (4) Rate-matching andphysical- layer hybrid-ARQ functionality  The task of the rate-matching and physical-layer hybrid-ARQ functionality is to extract, from the blocks of code bits delivered by the channel encoder, the exact set of bits to be transmitted within a given TTI.  The outputs of the Turbo encoder (systematic bits, first parity bits, and second parity bits) are first separately interleaved.  The interleaved bits are then inserted into what can be described as a circular buffer with the systematic bits inserted first, followed by alternating insertion of the first and second parity bits.  The bit selection then extracts consecutive bits from the circular buffer
  • 115.
    (5) Bit-level scrambling LTE downlink scrambling implies that the block of code bits delivered by the hybrid-ARQ functionality is multiplied (exclusive-or operation) by a bit- level scrambling sequence (usually a gold code).  In general, scrambling of the coded data helps to ensure that the receiver- side decoding can fully utilize the processing gain provided by the channel code
  • 116.
    (6) Modulation  Theset of modulation schemes supported for the LTE downlink includes QPSK, 16QAM, and 64QAM.  All these modulation schemes are applicable to the DL-SCH, PCH, and MCH transport channels.  only QPSK modulation can be applied to the BCH transport channel.
  • 117.
    (7) Multi antennatransmission  LTE supports the following multi-antenna transmission schemes or transmission modes , in addition to single-antenna transmission: ◦ Transmit diversity ◦ Closed-loop spatial multiplexing including codebook- based beam-forming ◦ Open-loop spatial multiplexing
  • 118.
    Transmit diversity  LTEtransmit diversity is based on Space Frequency Block Coding (SFBC)  SFBC implies that consecutive modulation symbols Si and Si+1 are mapped directly on adjacent subcarriers on the first antenna port.  On the second antenna port, the swapped and transformed symbols - S*i+1 and Si*are transmitted on the corresponding subcarriers
  • 120.
  • 121.
    Closed loop Spatialmultiplexing  spatial multiplexing implies that multiple streams or ‘ layers ’ are transmitted in parallel, thereby allowing for higher data rates  The LTE spatial multiplexing may operate in two different modes: closed-loop spatial multiplexing and open-loop spatial multiplexing  where closed-loop spatial multiplexing relies on more extensive feedback from the mobile terminal.
  • 122.
    General beam-forming  closed-loopspatial multiplexing includes beam-forming as a special case when the number of layers equals one.  This kind of beamforming can be referred to as codebook-based beam-forming , indicating that ◦ the network selects one pre-coding vector (the beam-forming vector) from a set of pre-defined pre-coding vectors (the ‘ codebook ’ ) with the selection, for example, based on the terminal reporting a recommended pre-coding vector. ◦ if not following the terminal recommendation, the network must explicitly inform the terminal about what pre-coding vector, from the set of predefined vectors, is actually used for transmission to the terminal.
  • 123.
  • 124.
    Uplink transmission scheme LTE uplink transmission is based on so-called DFTS- OFDM transmission  Which is a‘ single-carrier ’ transmission scheme that allows for ◦ flexible bandwidth assignment ◦ orthogonal multiple access not only in the time domain but also in the frequency domain. ◦ the use of a cyclic prefix allows low-complexity frequency- domain equalization at the receiver side.
  • 125.
    Transmission According to method OFDM mod. “M” position of signal determines is determined the BW Mapping is applied to consecutive carriers localized
  • 126.
    DFT implementation  TheDFT size should preferably be constrained to a power of two.  However, such a constraint is in direct conflict with a desire to have a high degree of flexibility of the bandwidth that can be dynamically assigned to a mobile terminal for uplink transmission all possible DFT sizes should rather be allowed.  For LTE, a middle way has been adopted where the DFT size is limited to products of the integers two, three, and five.  For example, DFT sizes of 60, 72, and 96 are allowed but a DFT size of 84 is not allowed.  In this way, the DFT can be implemented as a combination of relatively low-complex radix-2, radix-3, and radix-5 FFT processing
  • 127.
    Uplink physical resource parameters  Chosen to be aligned, as much as possible, with the corresponding parameters of the OFDM-based LTE downlink ◦ spacing equals 15 kHz ◦ resource blocks, consisting of 12 subcarriers ◦ Any number of uplink resource blocks ranging from a minimum of 6-110 resource blocks. ◦ time-domain structure, the LTE uplink is very similar to the downlink  However, in contrast to the downlink, no unused DC- subcarrier is defined for the LTE uplink
  • 128.
    Uplink reference signals  Demodulation reference signals (DRS ) ◦ reference signals for channel estimation are also needed for the LTE uplink to enable coherent demodulation of different uplink physical channels  Sounding reference signals (SRS) ◦ are transmitted on the uplink to allow for the network to estimate the uplink channel quality at different frequencies.
  • 129.
    Basic principles ofuplink DRS transmission  Due to the importance of low power variations for uplink transmissions  The principles for uplink reference-signal transmission are different from those of the downlink  certain DFTS-OFDM symbols are exclusively used for reference-signal transmission,  a reference signal is transmitted within the fourth symbol of each uplink slot
  • 131.
    Uplink sequences  Limitedpower variations in the frequency domain to allow for similar channel-estimation quality for all frequencies.  Limited power variations in the time domain to allow for high power-amplifier efficiency.  Furthermore, sufficiently many reference-signal sequences of the same length, should be available to easily assigning reference-signal sequences to cells
  • 132.
    Zadoff–Chu sequences  have the property of constant power in both the frequency and the time domain.  Zadoff–Chu sequences are not suitable for direct usage as uplink: ◦ to maximize the number of Zadoff–Chu sequences and to maximize the number of available uplink reference signals, prime-length Zadoff–Chu sequences would be preferred. At the same time, the length of the uplink reference-signal sequences should be a multiple of 12 ◦ For short sequence lengths, corresponding to narrow uplink transmission bandwidths, relatively few reference-signal sequences would be available
  • 133.
    Phase-rotated reference-signal sequences  bycyclically extending different prime-length Zadoff – Chu sequences .  Additional reference-signal sequences can be derived by applying different linear phase rotations to the same basic reference-signal sequences
  • 134.
    sounding reference signals (SRS) estimate the uplink channel quality at different frequencies  A terminal can be configured to transmit SRS at regular intervals ranging from as often as once in every 2 ms (every second subframe) to as infrequently as once in every 160 ms (every 16th frame  the frequency-domain scheduling: ◦ entire frequency band of interest with a single SRS OR ◦ narrowband SRS that is hopping in the frequency domain in such a way that a sequence of SRS transmissions jointly covers the frequency band of interest.
  • 136.
    Uplink transport-channel processing  uplink transport-channel processing are similar to the corresponding steps of the downlink transport-channel processing  no spatial multiplexing or transmit diversity currently defined for the LTE uplink  As a consequence, there is also only a single transport block, of dynamic size, transmitted for each TTI.
  • 137.
  • 138.
    LTE cell search  Aim ◦ Acquire frequency and symbol synchronization to a cell. ◦ Acquire frame timing of the cell, that is, determine the start of the downlink frame. ◦ Determine the physical-layer cell identity of the cell.  two special signals are transmitted on the LTE downlink, ◦ the Primary Synchronization Signal (PSS) ◦ Secondary Synchronization Signal (SSS)
  • 140.
    a terminal synchronizesto a cell. Once it knew PSS 5ms delay acquires the physical-layer identity (but not the identity group) of the cell using PSS . Acquires physical layer identity group using SSS signal detects the cell frame timing using SSS signal Once this has been achieved, the terminal has to acquire the cell system information
  • 141.
    System information  In LTE, system information is delivered by two different mechanisms relying on two different transport channels ◦ A limited amount of system information, corresponding to the so-called Master Information Block (MIB), is transmitted using the BCH. ◦ The main part of the system information, corresponding to different so-called System Information Blocks (SIBs), is transmitted using the downlink shared channel (DL-SCH).
  • 143.
    Random access  Afundamental requirement for any cellular system is the possibility for the terminal to request a connection setup, commonly referred to as random access .  In LTE, random access is used for several purposes, including: ◦ for initial access when establishing a radio link (moving from RRC_IDLE to RRC_CONNECTED; ◦ to re-establish a radio link after radio link failure; ◦ for handover when uplink synchronization needs to be established to the new cell; ◦ to establish uplink synchronization if uplink or downlink data arrives when the terminal is in RRC_CONNECTED and the uplink is not synchronized; ◦ as a scheduling request if no dedicated scheduling-request resources have been configured on PUCCH.
  • 145.
    The first stepconsists of transmission of a random-access preamble, allowing the eNodeB to estimate the transmission timing of the terminal. Uplink synchronization is necessary as the terminal otherwise cannot transmit any uplink data. The second step consists of the network transmitting a timing advance command to adjust the terminal transmit timing, based on the timing estimate in the first step. In addition to establishing uplink synchronization, the second step also assigns uplink resources to the terminal to be used in the third step in the random-access procedure. The third step consists of transmission of the mobile-terminal identity to the network using the UL-SCH similar to normal scheduled data. The exact content of this signaling depends on the state of the terminal, in particular whether it is previously known to the network or not. The fourth and final step consists of transmission of a contention-resolution message from the network to the terminal on the DL-SCH. This step also resolves any contention due to multiple terminals trying to access the system using the same random-access resource.
  • 146.
    paging  Paging isused for network-initiated connection setup.  An efficient paging procedure should allow the terminal to sleep with no receiver processing most of the time and to briefly wake up at predefined time intervals to monitor paging information from the network.  In LTE, no separate paging-indicator channel is used
  • 148.
  • 149.
  • 150.
    LTE System Architecturecont.  Evolved Radio Access Network (RAN) UE: User Equipment eNB: enhanced Node B -Contains PHY, MAC, RLC (Radio Link Control) , PDCP (Packet Data Control Protocol).  eNBs are connected together through the SGW.
  • 151.
    LTE System Architecturecont. Functions of eNodeB:  Radio Resources management.  Admission control.  Enforcement of negotiated UL QoS.  Cell information broadcast.  Ciphering/deciphering of user and control plane data  Compression/decompression of DL/UL user plane packet headers.
  • 152.
    LTE System Architecturecont.  Serving Gateway (SGW) -Routes and forwards user Data Packets. -Mobility anchor for eNB handovers and LTE to other 3GPP systems. (relaying the traffic between 2G/3G systems and PDN GW).  Packet Data Network Gateway (PDN GW) -Connects UE to external packet data networks (serve IP functions) -Anchor for mobility between 3GPP and non-3GPP technologies such as WiMAX and 3GPP2 (CDMA 1X and EvDO). - Performs policy enforcement , charging support.
  • 153.
    LTE System Architecture cont. Mobility Management Entity (MME) -Manage the UE’s mobility. -Idle-mode UE tracking and reachability . -Paging procedure. -Authentication and authorization. - choosing the SGW for a UE at the initial attach -Security negotiations.
  • 154.
  • 155.
    Fundamental requirements for LTE-Advanced complete fulfillment of all the requirements for IMT- Advanced defined by ITU  LTE-Advanced has to fulfill a set of basic backward compatibility requirements ◦ Spectrum coexistence, implying that it should be possible to deploy LTE-Advanced in spectrum already occupied by LTE with no impact on existing LTE terminals ◦ infrastructure, in practice implying that it should be possible to upgrade already installed LTE infrastructure equipment to LTE-Advanced capability ◦ terminal implementation
  • 156.
    Extended requirements beyond ITUrequirements  Support for peak-data up to 1 Gbps in the downlink and 500 Mbps in the uplink.  Substantial improvements in system performance such as cell and user throughput with target values significantly exceeding those of IMT-Advanced.  Possibility for low-cost infrastructure deployment and terminals.  High power efficiency, that is, low power consumption for both terminals and infrastructure.  Efficient spectrum utilization, including efficient utilization of fragmented spectrum
  • 157.
    Technical components ofLTE- Advanced  Wider bandwidth and carrier aggregation  Extended multi-antenna solutions  Advanced repeaters and relaying functionality  Coordinated multi-point transmission
  • 158.
    Wider bandwidth andcarrier aggregation  LTE-Advanced will be an increase of the maximum transmission bandwidth beyond 20 MHz, perhaps up to as high as 100 MHz or even beyond  In case of carrier aggregation, the extension to wider bandwidth is accomplished by the aggregation of basic component carriers of a more narrow bandwidth
  • 159.
    Extended multi-antenna solutions support for spatial multiplexing on the uplink is anticipated to be part of LTE-Advanced  extension of downlink spatial multiplexing to more four layers  benefits of eight-layer spatial multiplexing are only present in special scenarios where high SINR can be achieved
  • 160.
    Coordinated multi-point transmission  Coordinatingthe transmission from the multiple antennas can be used to increase the signal-to-noise ratio for users far from the antenna  for example by transmitting the same signal from multiple sites.  Such strategies can also improve the power-amplifier utilization in the network, especially in a lightly loaded network where otherwise some power amplifiers would be idle
  • 161.
    Advanced repeaters andrelaying functionality  Repeaters simply amplify and forward the received analog signals and are used already today for handling coverage holes.  “L1 relays”schemes where the network can control the transmission power of the repeater and, for example, activate the repeater only when users are present in the area handled by the repeater  intermediate node may also decode and re-encode any received data prior to forwarding it to the served users. This is often referred to as decode-and- forward relaying
  • 162.
    The proposals couldroughly be categorized into:  Various concepts for Relay Nodes  UE Dual TX antenna solutions for SU-MIMO and diversity MIMO  Scalable system bandwidth exceeding 20 MHz, Potentially up to 100MHz  Local area optimization of air interface  Nomadic / Local Area network and mobility solutions  Flexible Spectrum Usage  Cognitive Radio  Automatic and autonomous network configuration and operation  Enhanced precoding and forward error correction  Interference management and suppression  Asymmetric bandwidth assignment for FDD  Hybrid OFDMA and SC-FDMA in uplink  UL/DL inter eNodeB coordinated MIMO
  • 163.
    Timeframe  Standardization isexpected to be included in 3GPP Release 10 timeframe.  The importance and timeframe of LTE Advanced will of course largely depend on the success of LTE itself.  If possible LTE-Advanced will be a software upgrade for LTE networks.
  • 164.
    Technology Demonstrations  In February2007 NTT DoCoMo announced the completion of a 4G trial  where they achieved a maximum packet transmission rate of approximately 5 Gbit/s in the downlink using 100MHz frequency bandwidth to a mobile station moving at 10 km/h