Tribhuwan University
Institute Of Engineering
Kathmandu Engineering College
Kalimati, Kathmandu
A proposalA proposalA proposalA proposal on Line Maze Solveron Line Maze Solveron Line Maze Solveron Line Maze Solver
Submitted By: Submitted To:
Arjun Paudel Locus 2011 organizing
Pankaj Shakya committee
Rajeev Thapaliya
Sajeet Thapaliya
Saubhagya Joshi
Sushil Dahal
Submitted on: Wednesday, November 23, 2011
1
TITLE
The title of our project is, “Line Maze Solver”.
2
ACKNOWLEDGEMENT
We owe a great many thanks to a great many people who helped and supported us
during this project.
Our deepest thanks to Department of Electronics and Computer Engineering, the
department of Kathmandu Engineering College for guiding and correcting various
mistakes of ours with attention and care. The department members have taken pain
to go through the project and make necessary correction as and when needed.
We express our thanks to the Locus 2011 organizing committee of, Institute of
Engineering, for selecting and providing us a platform to show our project entitled
“LINE MAZE SOLVER”.
Our deep sense of gratitude to Toshak Raj Uprety (Project coordinator),
Kathmandu Engineering College for support and guidance. Thanks and
appreciation to the helpful people at Institute of Engineering, for their support.
We would also thank our colleague and lecturers without whom this project would
have been a distant reality. We also extend our heartfelt thanks to our family and
well wishers.
3
TABLE OF CONTENTS
Contents Page No.
Title 1
Acknowledgement 2
Table of Contents 3
List of Figures 4
Abstract 5
Introduction 6
Objective 7
System Block Diagram 8
Methodology 9-11
Circuit Diagram 12-13
Application 14
Components and Cost Estimation 15
Results 16
Reference 17
4
LIST OF FIGURES
Figures: Page No.:
Fig 1: A Line Maze 6
Fig 2: Hardware System Block Diagram 8
Fig 3: Software System Block Diagram 8
Fig 4: The Eight Maze Possibilities 9
Fig 5: Sensor Placement 10
Fig 6: Arduino Duemilanove 12
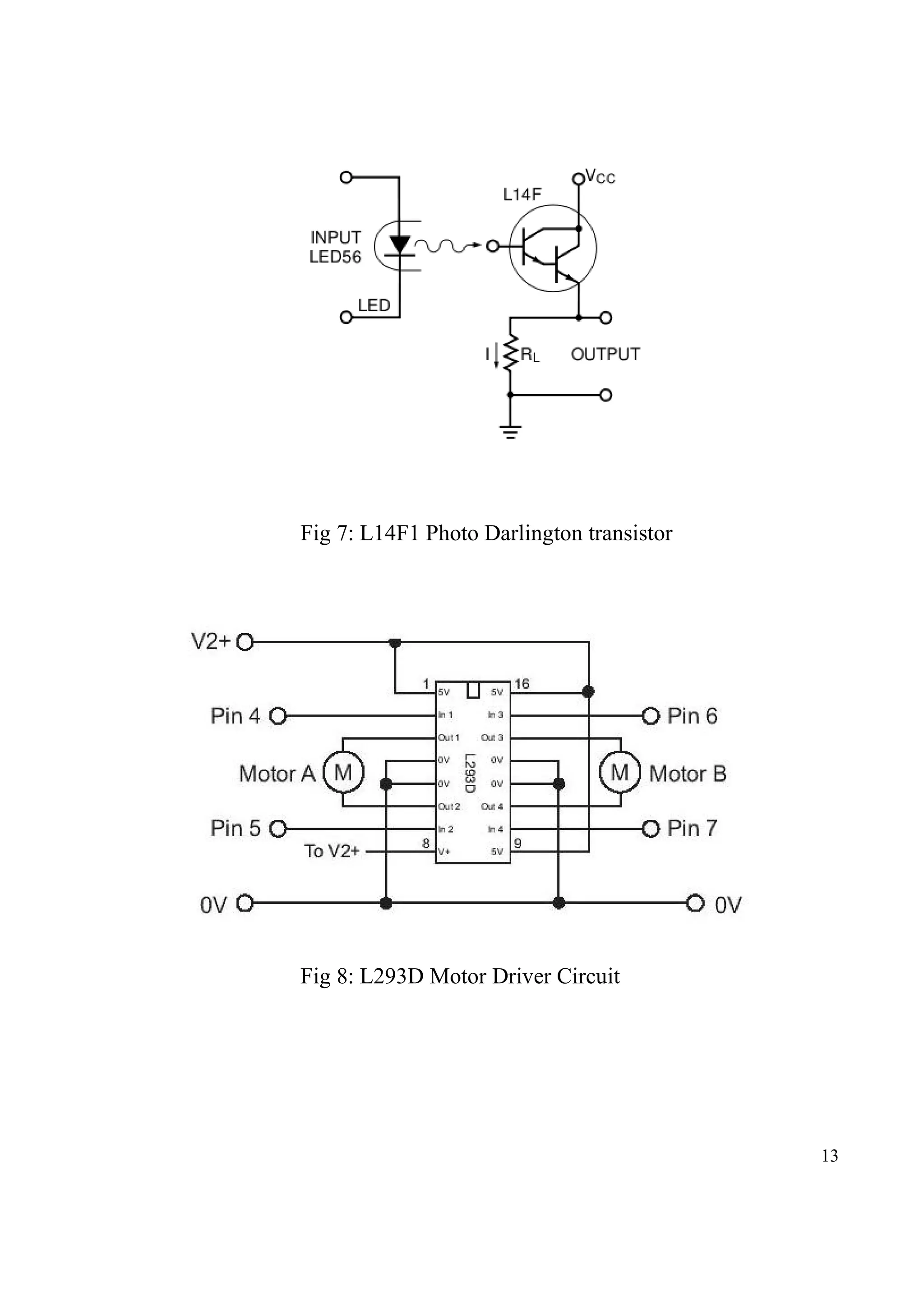
Fig 7: L14F1 Photo Darlington transistor 13
Fig 8: L293D Motor Driver Circuit 13
5
ABSTRACT
This project will undertake the construction and implementation of a two-wheeled
robot that is capable of solving a maze constructed as a line. The structural,
mechanical, and electronic components of the bot will be assembled in a manner
that will make the bot possible to solve the maze as quickly as possible.
The wheels of the robot are capable of independent rotation in two directions,
driven by a motor IC circuit. Information about tracks, the dead ends and turns
will be obtained from sensors on the device. The line of tracks will be determined
by sending a Infrared signal to the track and photo-transistors will be used to sense
the infrared signals. Information from the sensors will be fed back to the Arduino
Duemilanove 328 having a ATMEGA 328P-PU micro-controller, which will
convert them to digital values using ADC of the micro-controller, compare the
result and generate output to the motor to keep it in track. To take the correct turns
and to avoid dead ends, next time robot is operated, the memory of the micro-
controller will also be used.
6
INTRODUCTION
A line maze is usually a black line on a white background. It could also be a white
line on a black background. Each line maze has a Start point and a Finish point.
There are a number of dead-end paths in the maze.
Fig 1: A Line Maze
A line maze solver is a robot that can solve the maze in fastest time possible. As
the line maze contains many dead ends, the robot typically cannot traverse the
maze without first taking a number of wrong turns.
7
OBJECTIVE
Autonomous robotics is a field with wide-reaching applications. From bombing
robots to autonomous devices for finding humans in wreckage to home
automation, many people are interested in low-power, high speed, reliable
solutions. There are many problems facing such designs: unfamiliar terrain and
inaccurate sensing continues to plague designers. Automatic vehicles and other
instruments always saves human effort and our time and if we build it properly.
The systems will be controlled when we are out of reach if we build automatic
vehicles or any other systems.
Sensing a line, maneuvering the robot to stay on course and solving a maze, while
constantly correcting wrong moves using feedback mechanism forms a simple yet
effective closed loop system and an effective autonomous robotics. As a
programmer we get an opportunity to ‘teach’ the robot how to solve the maze thus
giving it a human-like property of responding to stimuli.
8
SYSTEM BLOCK DIAGRAM
Fig 2: Hardware System Block Diagram
Fig 3: Software System Block Diagram
Light Sensors
Arduino Duemilanove 328
ATMEGA 328P-PU
Motor Control
(L293D)
Right
Motor
Left
Motor
Hardware Abstraction layer
Normalized sensor
Data (format useful
to other modules)
IR sensor with
phototransistor
Sensor Module Micro-controller
Convert Sensor data
to digital value to
guide motor control.
Store the corrected
maze path in
memory for fast
maze solving after
traversing for first
time.
Motor Control
Guide motors
According to
Feedback
Provided by
micro-controller.
9
METHODOLOGY
The wall follower, the best-known rule for traversing mazes, is also known as
either the left-hand rule or the right-hand rule. If the maze is simply connected,
that is, all its walls are connected together or to the maze's outer boundary, then by
keeping one hand in contact with one wall of the maze the player is guaranteed not
to get lost and will reach a different exit if there is one; otherwise, he or she will
return to the entrance.
The wall follower technique that we are going to implement is left-hand
rule. As our maze contains no loop. The robot can encounter only eight different
possibilities of situations:
Fig 4:
10
As Arduino Duemilanove 328 has six analog input pins. We shall be using six
sensors to detect the lines. The sensors arrangement will be:
Fig 5: Sensor Placement
In the above figure we can see that the sensors 3 and 4 remaining inside the track
keeps the robot in forward direction. Sensors 2,3 and 4,5 keeps the robot in track
and sensors 1,,2 and 5,6 helps in turning the robot towards left and right
directions.
As we have six sensors in placement, we can make 26
=64 different combinations
out of this combination with advance warning which helps to solve the maze very
fast.
The robot, most of the time, will be involved in one of the following behaviors:
1. Following the line, looking for the next intersection.
2. At an intersection, deciding what type of intersection it is.
3. At an intersection, making a turn.
These steps continue looping over and over until the robot senses the end of the
maze.
From the above figure of the eight situations, there is only one possible action.
This distinction needs to be made because later some of these will need to be
stored by the robot and some won't.
• In the first two cases of left turn only and right turn only, robot has no choice
but to make a 90 degree turn. As the robot has no other options available,
these turns need not be stored in memory.
• In the case of dead end, robot has no other choice than to make a 180 degree
turn or a U-turn. Since reaching a dead end means robot has made a bad
move, this type of move should be stored in memory to correct it at next
round.
1 2 3 4 65
6.5 cm
11
• In the case of left turn only or, straight or left turn the robot should move a
small inch forward and determine the correct move. Similar is in the case of
right turn only or, straight or, right turn. This type of turn should be stored in
memory.
• In the case of T turn, Four way and end the robot should go a inch forward
and check the path. This type of turn should be stored in memory.
In order to solve the maze, the robot needs to traverse the maze twice. In the first
run, it goes down some number of dead-ends, but records these as “bad” paths so
that they can be avoided on the second run.
12
CIRCUIT DIAGRAMS
Fig 6: Arduino Duemilanove
13
Fig 7: L14F1 Photo Darlington transistor
Fig 8: L293D Motor Driver Circuit
14
APPLICATION
• To develop automatic robots
• To use robots in bombing
• To find humans in wreckage and to save them
• To extract radioactive elements from mines
15
COMPONENTS AND COST ESTIMATION
Components Qty. Cost(NRs.)
Arduino Duemilanove 328 1 3000
L293D IC 1 300
IR Transmitter 6 400
L14F1 Photo-transistor 6 1200
Gear Motors 2 800
Wheels 2 200
Robot Base 1 150
Jumper Wire 30 300
Resistor 20 200
Header 10 250
Connecting Wires 4 meter 50
Tracks 2 meter 100
LCD 1 1000
Miscellaneous 1500
TotaTotaTotaTotallll:::: 9450
16
RESULTS
The maze solver turns out to meet the specifications set by the sub goals. It is able
to solve a maze of which it has no more information than that the track is in black
and the background is white. In solving the maze using the technique of always
following the left side of the track, it stores the essential information to find the
exit the second time without detour. Hence the maze solver will find the accurate
track and completes the maze of any type.
17
REFERENCES
http://en.wikipedia.org/wiki/Maze_solving_algorithm#Wall_follower
http://www.arduino.cc/en/Main/ArduinoBoardDuemilanove
http://www.freewebs.com/isuru-c/motor_driver.htm
courses.cit.cornell.edu/ee476/FinalProjects/s2006/nrs27th257/.../L14F1L14F1L14F1L14F1.pdf

Line maze solver

  • 1.
    Tribhuwan University Institute OfEngineering Kathmandu Engineering College Kalimati, Kathmandu A proposalA proposalA proposalA proposal on Line Maze Solveron Line Maze Solveron Line Maze Solveron Line Maze Solver Submitted By: Submitted To: Arjun Paudel Locus 2011 organizing Pankaj Shakya committee Rajeev Thapaliya Sajeet Thapaliya Saubhagya Joshi Sushil Dahal Submitted on: Wednesday, November 23, 2011
  • 2.
    1 TITLE The title ofour project is, “Line Maze Solver”.
  • 3.
    2 ACKNOWLEDGEMENT We owe agreat many thanks to a great many people who helped and supported us during this project. Our deepest thanks to Department of Electronics and Computer Engineering, the department of Kathmandu Engineering College for guiding and correcting various mistakes of ours with attention and care. The department members have taken pain to go through the project and make necessary correction as and when needed. We express our thanks to the Locus 2011 organizing committee of, Institute of Engineering, for selecting and providing us a platform to show our project entitled “LINE MAZE SOLVER”. Our deep sense of gratitude to Toshak Raj Uprety (Project coordinator), Kathmandu Engineering College for support and guidance. Thanks and appreciation to the helpful people at Institute of Engineering, for their support. We would also thank our colleague and lecturers without whom this project would have been a distant reality. We also extend our heartfelt thanks to our family and well wishers.
  • 4.
    3 TABLE OF CONTENTS ContentsPage No. Title 1 Acknowledgement 2 Table of Contents 3 List of Figures 4 Abstract 5 Introduction 6 Objective 7 System Block Diagram 8 Methodology 9-11 Circuit Diagram 12-13 Application 14 Components and Cost Estimation 15 Results 16 Reference 17
  • 5.
    4 LIST OF FIGURES Figures:Page No.: Fig 1: A Line Maze 6 Fig 2: Hardware System Block Diagram 8 Fig 3: Software System Block Diagram 8 Fig 4: The Eight Maze Possibilities 9 Fig 5: Sensor Placement 10 Fig 6: Arduino Duemilanove 12 Fig 7: L14F1 Photo Darlington transistor 13 Fig 8: L293D Motor Driver Circuit 13
  • 6.
    5 ABSTRACT This project willundertake the construction and implementation of a two-wheeled robot that is capable of solving a maze constructed as a line. The structural, mechanical, and electronic components of the bot will be assembled in a manner that will make the bot possible to solve the maze as quickly as possible. The wheels of the robot are capable of independent rotation in two directions, driven by a motor IC circuit. Information about tracks, the dead ends and turns will be obtained from sensors on the device. The line of tracks will be determined by sending a Infrared signal to the track and photo-transistors will be used to sense the infrared signals. Information from the sensors will be fed back to the Arduino Duemilanove 328 having a ATMEGA 328P-PU micro-controller, which will convert them to digital values using ADC of the micro-controller, compare the result and generate output to the motor to keep it in track. To take the correct turns and to avoid dead ends, next time robot is operated, the memory of the micro- controller will also be used.
  • 7.
    6 INTRODUCTION A line mazeis usually a black line on a white background. It could also be a white line on a black background. Each line maze has a Start point and a Finish point. There are a number of dead-end paths in the maze. Fig 1: A Line Maze A line maze solver is a robot that can solve the maze in fastest time possible. As the line maze contains many dead ends, the robot typically cannot traverse the maze without first taking a number of wrong turns.
  • 8.
    7 OBJECTIVE Autonomous robotics isa field with wide-reaching applications. From bombing robots to autonomous devices for finding humans in wreckage to home automation, many people are interested in low-power, high speed, reliable solutions. There are many problems facing such designs: unfamiliar terrain and inaccurate sensing continues to plague designers. Automatic vehicles and other instruments always saves human effort and our time and if we build it properly. The systems will be controlled when we are out of reach if we build automatic vehicles or any other systems. Sensing a line, maneuvering the robot to stay on course and solving a maze, while constantly correcting wrong moves using feedback mechanism forms a simple yet effective closed loop system and an effective autonomous robotics. As a programmer we get an opportunity to ‘teach’ the robot how to solve the maze thus giving it a human-like property of responding to stimuli.
  • 9.
    8 SYSTEM BLOCK DIAGRAM Fig2: Hardware System Block Diagram Fig 3: Software System Block Diagram Light Sensors Arduino Duemilanove 328 ATMEGA 328P-PU Motor Control (L293D) Right Motor Left Motor Hardware Abstraction layer Normalized sensor Data (format useful to other modules) IR sensor with phototransistor Sensor Module Micro-controller Convert Sensor data to digital value to guide motor control. Store the corrected maze path in memory for fast maze solving after traversing for first time. Motor Control Guide motors According to Feedback Provided by micro-controller.
  • 10.
    9 METHODOLOGY The wall follower,the best-known rule for traversing mazes, is also known as either the left-hand rule or the right-hand rule. If the maze is simply connected, that is, all its walls are connected together or to the maze's outer boundary, then by keeping one hand in contact with one wall of the maze the player is guaranteed not to get lost and will reach a different exit if there is one; otherwise, he or she will return to the entrance. The wall follower technique that we are going to implement is left-hand rule. As our maze contains no loop. The robot can encounter only eight different possibilities of situations: Fig 4:
  • 11.
    10 As Arduino Duemilanove328 has six analog input pins. We shall be using six sensors to detect the lines. The sensors arrangement will be: Fig 5: Sensor Placement In the above figure we can see that the sensors 3 and 4 remaining inside the track keeps the robot in forward direction. Sensors 2,3 and 4,5 keeps the robot in track and sensors 1,,2 and 5,6 helps in turning the robot towards left and right directions. As we have six sensors in placement, we can make 26 =64 different combinations out of this combination with advance warning which helps to solve the maze very fast. The robot, most of the time, will be involved in one of the following behaviors: 1. Following the line, looking for the next intersection. 2. At an intersection, deciding what type of intersection it is. 3. At an intersection, making a turn. These steps continue looping over and over until the robot senses the end of the maze. From the above figure of the eight situations, there is only one possible action. This distinction needs to be made because later some of these will need to be stored by the robot and some won't. • In the first two cases of left turn only and right turn only, robot has no choice but to make a 90 degree turn. As the robot has no other options available, these turns need not be stored in memory. • In the case of dead end, robot has no other choice than to make a 180 degree turn or a U-turn. Since reaching a dead end means robot has made a bad move, this type of move should be stored in memory to correct it at next round. 1 2 3 4 65 6.5 cm
  • 12.
    11 • In thecase of left turn only or, straight or left turn the robot should move a small inch forward and determine the correct move. Similar is in the case of right turn only or, straight or, right turn. This type of turn should be stored in memory. • In the case of T turn, Four way and end the robot should go a inch forward and check the path. This type of turn should be stored in memory. In order to solve the maze, the robot needs to traverse the maze twice. In the first run, it goes down some number of dead-ends, but records these as “bad” paths so that they can be avoided on the second run.
  • 13.
    12 CIRCUIT DIAGRAMS Fig 6:Arduino Duemilanove
  • 14.
    13 Fig 7: L14F1Photo Darlington transistor Fig 8: L293D Motor Driver Circuit
  • 15.
    14 APPLICATION • To developautomatic robots • To use robots in bombing • To find humans in wreckage and to save them • To extract radioactive elements from mines
  • 16.
    15 COMPONENTS AND COSTESTIMATION Components Qty. Cost(NRs.) Arduino Duemilanove 328 1 3000 L293D IC 1 300 IR Transmitter 6 400 L14F1 Photo-transistor 6 1200 Gear Motors 2 800 Wheels 2 200 Robot Base 1 150 Jumper Wire 30 300 Resistor 20 200 Header 10 250 Connecting Wires 4 meter 50 Tracks 2 meter 100 LCD 1 1000 Miscellaneous 1500 TotaTotaTotaTotallll:::: 9450
  • 17.
    16 RESULTS The maze solverturns out to meet the specifications set by the sub goals. It is able to solve a maze of which it has no more information than that the track is in black and the background is white. In solving the maze using the technique of always following the left side of the track, it stores the essential information to find the exit the second time without detour. Hence the maze solver will find the accurate track and completes the maze of any type.
  • 18.