Example 1:
Three point loads, shown in figure, calculate the increase in vertical stress at point B.
Solution:
For the effect of p2
5/222
3
v
)z(r
z
2π
3p
Δσ
+
=
z = 3 m and r = 0
2
5/222
3
v t/m631.6
)3(0
3
2π
125*3
Δσ =
+
=
For the effect of p1
z= 3 m and m404yxr 2222
=+=+=
2
5/222
3
v t/m619.0
)3(4
3
2π
150*3
Δσ =
+
=
2
totalv t/m869.7619.0*2631.6Δσ =+=∴
Example 2:
For the point A, shown in figure below calculate the increase of vertical stress due to
the two line loads.
Solution:
592.1
]1)2/2[(π2
20*2
]1πz[(x/z)
2q
Δσ
2222
1
v1 =
+
=
+
=
095.0
]1)2/6[(π2
30*2
]1πz[(x/z)
2q
Δσ
2222
2
v2 =
+
=
+
=
2
v2v1totalv kN/m1.6870.0951.592ΔσΔσΔσ =+=+=
Example 3:
q = 200 kN/m2
, B = 6m, and z = 2m. Determine the vertical stress increase at ± 9, ± 6,
± 3, and 0.
Solution: a = B/2 = 6/2 = 3m
x x/a z/a q
Δσv
vΔσ
B
P1
=150 t P2
=125 t P3
=150 t
4 m4 m
3 m
± 9 ± 3 0.67 0.1 20
± 6 ± 2 0.67 0.2 40
± 3 ± 1 0.67 0.71 142
0 0 0.67 0.93 186
Example 4:
A circular foundation of diameter 10m transmits a uniform contact pressure of 150
kN/m2
. Plot the following vertical stress profiles induced by this loading:
a) Beneath the center, down to 10m, and
b) On a horizontal plane 6m below the foundation, between the center and a distance of
12m from the center.
Solution:
a) The vertical stress at various depths below the center of the foundation
z, m 0 1 2 3 4 5 6 7 8 9 10
z/R 0 0.2 0.4 0.6 0.8 1 1.2 1.4 1.6 1.8 2
∆qv/∆qs 1 0.97 0.92 0.85 0.75 0.64 0.54 0.46 0.39 0.34 0.28
∆qv 150
145.
5
138
127.
5
112.
5
96 81 69 58.5 51 42
b) The vertical stress values on a horizontal plane 6m, below the foundation for various
offsets from center.
z/R = 6/5 = 1.2
x, m 0 1 2 3 4 5 6 8 10 12
x/R 0 0.2 0.4 0.6 0.8 1 1.2 1.6 2 2.4
∆qv/∆qs
0.5
4
0.53 0.5 0.45 0.38 0.3 0.22 0.14 0.06 0.035
∆qv 81 79.5 75 67.5 57 45 33 21 9 5.25
Example 5:
The plan of a rectangular foundation shown below transmits a uniform contact
pressure of 120 kN/m2
. Determine the vertical stress induced by this loading: (a) at a
depth of 10m below point A, and (b) at a depth of 5m below B.
Solution:
(a) Consider four rectangles (1, 2, 3, 4) each with a corner at A: the vertical stress
below point A is the sum of the stresses induced by each rectangle.
v4v3v2v1(A)v ΔσΔσΔσΔσΔσ +++=
]n)f(m,n)f(m,n)f(m,n)[f(m,q 4321 +++=
Rectangle m = B/z n = L/z F(m,n)
1 10/10 = 1 5/10 = 0.5 0.12
2 10/10 = 1 20/10 = 2 0.2
3 5/10 = 0.5 20/10 = 2 0.135
4 5/10 = 0.5 5/10 = 0.5 0.084
2
(A)v kN/m64.680.084)0.1350.20.12(120Δσ =+++=
(b) Consider four rectangles (1, 2, 3, 4) each with a corner at B.
]n)f(m,n)f(m,n)f(m,n)[f(m,qΔσ 4321(B)v +−−=
Rectangle m = B/z n = L/z f(m,n)
1 19/5 = 3.8 31/5 = 0.5 0.25
2 19/5 = 3.8 6/5 = 2 0.22
3 4/5 = 0.8 31/5 = 2 0.185
4 4/5 = 0.8 6/5 = 0.5 0.17
2
(B)v kN/m1.80.17)0.1850.220.25(120Δσ =+−−=
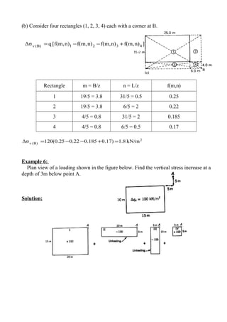
Example 6:
Plan view of a loading shown in the figure below. Find the vertical stress increase at a
depth of 3m below point A.
Solution:
Example 7:
The flexible area is uniformly loaded. Given: q = 300 kN/m2
. Determine the vertical
stress increase at point A.
Solution:
v3v2v1(A)v ΔσΔσΔσΔσ ++=
for semicircle part (area 1)
2
1.5
3
R
z
== , and 0
1.5
0
R
x
==
from figure
0.29
q
Δσv
≈
5.43300*5.0*29.0Δσv1 ==
for rectangular part (area 1 and 2)
667.2
3
8
z
L
m === , and 5.0
3
5.1
z
B
n ===
from figure , f(m,n) = 0.136
6.81300*2*136.0Δσ 3v2, ==
2
(A)v kN/m125.181.643.5Δσ =+=
A
250
150
10 2
10
6
6
Example 8:
A 4.5m x 4.5m foundation exerts a uniform pressure of 200 kN/m2
on a soil,
determine, the vΔσ due to the load to a depth of 10m below its center using:
1. m,n chart method
2. approximate method
3. Newmark chart at depth of 5m.
Solution: (1)
z m = B/z n = L/z f(m,n) 4* f(m,n) q*n)f(m,*4Δσv =
2.5 2.25/2.5 = 0.9 0.9 0.1625 0.65 130
5 2.25/5 = 0.45 0.45 0.074 0.296 59.2
7.5 2.25/7.5 = 0.3 0.3 0.0375 0.15 30
10 2.25/10 = 0.225 0.225 0.023 0.092 18.4
(2)
2
v kN/m65.82
)5.25.4)(5.25.4(
5.4*5.4*200
Z)Z)(L(B
qBL
Δσ =
++
=
++
=
z 2.5 5.0 7.5 10.0
vΔσ 82.65 44.875 28.125 19.263
(3)
No. of elements enclosed by plan = 13.9 for one quarter
I = 0.005
2
v kN/m55.6200*0.005*13.9*4q*I*elementsofNo.Δσ ===
Example 9:
The concrete raft foundation shown below is subject to uniform loadings of 250
kN/m2
and 150 kN/m2
on the shaded and unshaded areas respectively. Calculate the
intensity of vertical stress induced at a point in the soil 3m below corner A.
Solution:
4 4 4
42
G
No. m = B/z n = L/z f(m,n) q*n)f(m,Δσv =
1 6/3 = 2 6/3 = 2 0.2325 0.2325*250=58.125
2 6/3 = 2 4/3 = 1.33 0.217 0.217*150=32.55
3 6/3 = 2 4/3 =1.33 0.217 32.55
Total stress increase (kN/m2
) 123.225
Example 10:
The T-shape foundation is loaded with a uniform load of 100 kN/m2
, find the stress
increase at 6m below point G. using 1) Newmark chart 2) m,n chart.
Solution: (1)
After drawing the foundation with the scale
of depth of point 6m and placed over the
center of the chart.
The No. of elements enclosed by plan = 66
I = 0.005
2
v kN/m33100*0.005*66q*I*elementsofNo.Δσ ===
2)
No. m = B/z n = L/z f(m,n) q*n)f(m,Δσv =
1 4/6 = 0.67 2/6 = 0.33 0.073 7.3
2 8/6 = 1.33 4/6 = 0.67 0.157 15.7
3 4/6 = 0.67 4/6 = 0.67 0.125 12.5
Total stress increase (kN/m2
) 35.5
Example 11:
q = 200 kPa, find the stress increase at depth of 2m below points A and B.
Example 12:
A strip footing 2.2m wide subject its supporting soil to a uniform pressure of 288
kN/m2
, determine the vertical stress increase at a depth of 2.2m and 3.7m below its: 1)
center line 2) at the point along its edge.
Solution: (1)
2
1.1
2.2
a
z
== , and 0
1.1
0
a
x
== 0.54
q
Δσv
=
52.155288*54.0Δσv == kN/m2
3.36
1.1
3.7
a
z
== , and 0
1.1
0
a
x
== 0.36
q
Δσv =
68.103288*36.0Δσv == kN/m2
(2)
2
1.1
2.2
a
z
== , and 1
1.1
1.1
a
x
== 0.47
q
Δσv =
36.135288*47.0Δσv == kN/m2
3.36
1.1
3.7
a
z
== , and 1
1.1
1.1
a
x
== 0.34
q
Δσv =
92.97288*34.0Δσv == kN/m2
Example 13:
The figure below shows a plan view of a footing that applies a uniform load of 300
kPa on a horizontal ground surface. Calculate the vertical stress increase at point A at a
depth of 2m.
Answer: 184.6 – 186.4
No. m = B/z n = L/z f(m,n) q*n)f(m,Δσv =
1 4/2 = 2 2/2 = 1 0.199 59.7
2 3/2 = 1.5 2/2 = 1 0.1925 57.75
3 4/2 = 2 3/2 = 1.5 0.224 67.2
Total stress increase (kN/m2
) 184.65
Example 14:
The figure below shows a plan view of a rectangular footing with a 2x2 m2
hole
(through its entire thickness). The hole is located at 1m from the left edge and is equally
positioned between the top and lower edges of the footing. If the uniform bearing
pressure under the footing is 200 kPa, compute the stress increase at a point 2m below
the center of the square hole.
Answer: 79.6
No. m = B/z n = L/z f(m,n) q*n)f(m,Δσv =
+1 2/2 = 1 2/2 = 1 0.177 0.177*2*200= 70.8
+2 3/2 = 1.5 2/2 = 1 0.1925 0.1925*2*200= 77
-3 1/2 = 0.5 1/2 = 0.5 0.086 -0.086*4*200= - 68.8
Total stress increase (kN/m2
) 79
Example 14:
The figure below shows a plan view of a rectangular footing with a 2x2 m2
hole
(through its entire thickness). The hole is located at 1m from the left edge and is equally
positioned between the top and lower edges of the footing. If the uniform bearing
pressure under the footing is 200 kPa, compute the stress increase at a point 2m below
the center of the square hole.
Answer: 79.6
No. m = B/z n = L/z f(m,n) q*n)f(m,Δσv =
+1 2/2 = 1 2/2 = 1 0.177 0.177*2*200= 70.8
+2 3/2 = 1.5 2/2 = 1 0.1925 0.1925*2*200= 77
-3 1/2 = 0.5 1/2 = 0.5 0.086 -0.086*4*200= - 68.8
Total stress increase (kN/m2
) 79

Examples on stress distribution

  • 1.
    Example 1: Three pointloads, shown in figure, calculate the increase in vertical stress at point B. Solution: For the effect of p2 5/222 3 v )z(r z 2π 3p Δσ + = z = 3 m and r = 0 2 5/222 3 v t/m631.6 )3(0 3 2π 125*3 Δσ = + = For the effect of p1 z= 3 m and m404yxr 2222 =+=+= 2 5/222 3 v t/m619.0 )3(4 3 2π 150*3 Δσ = + = 2 totalv t/m869.7619.0*2631.6Δσ =+=∴ Example 2: For the point A, shown in figure below calculate the increase of vertical stress due to the two line loads. Solution: 592.1 ]1)2/2[(π2 20*2 ]1πz[(x/z) 2q Δσ 2222 1 v1 = + = + = 095.0 ]1)2/6[(π2 30*2 ]1πz[(x/z) 2q Δσ 2222 2 v2 = + = + = 2 v2v1totalv kN/m1.6870.0951.592ΔσΔσΔσ =+=+= Example 3: q = 200 kN/m2 , B = 6m, and z = 2m. Determine the vertical stress increase at ± 9, ± 6, ± 3, and 0. Solution: a = B/2 = 6/2 = 3m x x/a z/a q Δσv vΔσ B P1 =150 t P2 =125 t P3 =150 t 4 m4 m 3 m
  • 2.
    ± 9 ±3 0.67 0.1 20 ± 6 ± 2 0.67 0.2 40 ± 3 ± 1 0.67 0.71 142 0 0 0.67 0.93 186 Example 4: A circular foundation of diameter 10m transmits a uniform contact pressure of 150 kN/m2 . Plot the following vertical stress profiles induced by this loading: a) Beneath the center, down to 10m, and b) On a horizontal plane 6m below the foundation, between the center and a distance of 12m from the center. Solution: a) The vertical stress at various depths below the center of the foundation z, m 0 1 2 3 4 5 6 7 8 9 10 z/R 0 0.2 0.4 0.6 0.8 1 1.2 1.4 1.6 1.8 2 ∆qv/∆qs 1 0.97 0.92 0.85 0.75 0.64 0.54 0.46 0.39 0.34 0.28 ∆qv 150 145. 5 138 127. 5 112. 5 96 81 69 58.5 51 42 b) The vertical stress values on a horizontal plane 6m, below the foundation for various offsets from center. z/R = 6/5 = 1.2 x, m 0 1 2 3 4 5 6 8 10 12 x/R 0 0.2 0.4 0.6 0.8 1 1.2 1.6 2 2.4 ∆qv/∆qs 0.5 4 0.53 0.5 0.45 0.38 0.3 0.22 0.14 0.06 0.035 ∆qv 81 79.5 75 67.5 57 45 33 21 9 5.25
  • 3.
    Example 5: The planof a rectangular foundation shown below transmits a uniform contact pressure of 120 kN/m2 . Determine the vertical stress induced by this loading: (a) at a depth of 10m below point A, and (b) at a depth of 5m below B. Solution: (a) Consider four rectangles (1, 2, 3, 4) each with a corner at A: the vertical stress below point A is the sum of the stresses induced by each rectangle. v4v3v2v1(A)v ΔσΔσΔσΔσΔσ +++= ]n)f(m,n)f(m,n)f(m,n)[f(m,q 4321 +++= Rectangle m = B/z n = L/z F(m,n) 1 10/10 = 1 5/10 = 0.5 0.12 2 10/10 = 1 20/10 = 2 0.2 3 5/10 = 0.5 20/10 = 2 0.135 4 5/10 = 0.5 5/10 = 0.5 0.084 2 (A)v kN/m64.680.084)0.1350.20.12(120Δσ =+++=
  • 4.
    (b) Consider fourrectangles (1, 2, 3, 4) each with a corner at B. ]n)f(m,n)f(m,n)f(m,n)[f(m,qΔσ 4321(B)v +−−= Rectangle m = B/z n = L/z f(m,n) 1 19/5 = 3.8 31/5 = 0.5 0.25 2 19/5 = 3.8 6/5 = 2 0.22 3 4/5 = 0.8 31/5 = 2 0.185 4 4/5 = 0.8 6/5 = 0.5 0.17 2 (B)v kN/m1.80.17)0.1850.220.25(120Δσ =+−−= Example 6: Plan view of a loading shown in the figure below. Find the vertical stress increase at a depth of 3m below point A. Solution:
  • 5.
    Example 7: The flexiblearea is uniformly loaded. Given: q = 300 kN/m2 . Determine the vertical stress increase at point A. Solution: v3v2v1(A)v ΔσΔσΔσΔσ ++= for semicircle part (area 1) 2 1.5 3 R z == , and 0 1.5 0 R x == from figure 0.29 q Δσv ≈ 5.43300*5.0*29.0Δσv1 == for rectangular part (area 1 and 2) 667.2 3 8 z L m === , and 5.0 3 5.1 z B n === from figure , f(m,n) = 0.136 6.81300*2*136.0Δσ 3v2, == 2 (A)v kN/m125.181.643.5Δσ =+=
  • 6.
    A 250 150 10 2 10 6 6 Example 8: A4.5m x 4.5m foundation exerts a uniform pressure of 200 kN/m2 on a soil, determine, the vΔσ due to the load to a depth of 10m below its center using: 1. m,n chart method 2. approximate method 3. Newmark chart at depth of 5m. Solution: (1) z m = B/z n = L/z f(m,n) 4* f(m,n) q*n)f(m,*4Δσv = 2.5 2.25/2.5 = 0.9 0.9 0.1625 0.65 130 5 2.25/5 = 0.45 0.45 0.074 0.296 59.2 7.5 2.25/7.5 = 0.3 0.3 0.0375 0.15 30 10 2.25/10 = 0.225 0.225 0.023 0.092 18.4 (2) 2 v kN/m65.82 )5.25.4)(5.25.4( 5.4*5.4*200 Z)Z)(L(B qBL Δσ = ++ = ++ = z 2.5 5.0 7.5 10.0 vΔσ 82.65 44.875 28.125 19.263 (3) No. of elements enclosed by plan = 13.9 for one quarter I = 0.005 2 v kN/m55.6200*0.005*13.9*4q*I*elementsofNo.Δσ === Example 9: The concrete raft foundation shown below is subject to uniform loadings of 250 kN/m2 and 150 kN/m2 on the shaded and unshaded areas respectively. Calculate the intensity of vertical stress induced at a point in the soil 3m below corner A. Solution:
  • 7.
    4 4 4 42 G No.m = B/z n = L/z f(m,n) q*n)f(m,Δσv = 1 6/3 = 2 6/3 = 2 0.2325 0.2325*250=58.125 2 6/3 = 2 4/3 = 1.33 0.217 0.217*150=32.55 3 6/3 = 2 4/3 =1.33 0.217 32.55 Total stress increase (kN/m2 ) 123.225 Example 10: The T-shape foundation is loaded with a uniform load of 100 kN/m2 , find the stress increase at 6m below point G. using 1) Newmark chart 2) m,n chart. Solution: (1) After drawing the foundation with the scale of depth of point 6m and placed over the center of the chart. The No. of elements enclosed by plan = 66 I = 0.005 2 v kN/m33100*0.005*66q*I*elementsofNo.Δσ === 2) No. m = B/z n = L/z f(m,n) q*n)f(m,Δσv = 1 4/6 = 0.67 2/6 = 0.33 0.073 7.3 2 8/6 = 1.33 4/6 = 0.67 0.157 15.7 3 4/6 = 0.67 4/6 = 0.67 0.125 12.5 Total stress increase (kN/m2 ) 35.5 Example 11: q = 200 kPa, find the stress increase at depth of 2m below points A and B.
  • 8.
    Example 12: A stripfooting 2.2m wide subject its supporting soil to a uniform pressure of 288 kN/m2 , determine the vertical stress increase at a depth of 2.2m and 3.7m below its: 1) center line 2) at the point along its edge. Solution: (1) 2 1.1 2.2 a z == , and 0 1.1 0 a x == 0.54 q Δσv = 52.155288*54.0Δσv == kN/m2 3.36 1.1 3.7 a z == , and 0 1.1 0 a x == 0.36 q Δσv = 68.103288*36.0Δσv == kN/m2 (2) 2 1.1 2.2 a z == , and 1 1.1 1.1 a x == 0.47 q Δσv = 36.135288*47.0Δσv == kN/m2 3.36 1.1 3.7 a z == , and 1 1.1 1.1 a x == 0.34 q Δσv = 92.97288*34.0Δσv == kN/m2 Example 13: The figure below shows a plan view of a footing that applies a uniform load of 300 kPa on a horizontal ground surface. Calculate the vertical stress increase at point A at a depth of 2m. Answer: 184.6 – 186.4 No. m = B/z n = L/z f(m,n) q*n)f(m,Δσv = 1 4/2 = 2 2/2 = 1 0.199 59.7 2 3/2 = 1.5 2/2 = 1 0.1925 57.75 3 4/2 = 2 3/2 = 1.5 0.224 67.2 Total stress increase (kN/m2 ) 184.65
  • 9.
    Example 14: The figurebelow shows a plan view of a rectangular footing with a 2x2 m2 hole (through its entire thickness). The hole is located at 1m from the left edge and is equally positioned between the top and lower edges of the footing. If the uniform bearing pressure under the footing is 200 kPa, compute the stress increase at a point 2m below the center of the square hole. Answer: 79.6 No. m = B/z n = L/z f(m,n) q*n)f(m,Δσv = +1 2/2 = 1 2/2 = 1 0.177 0.177*2*200= 70.8 +2 3/2 = 1.5 2/2 = 1 0.1925 0.1925*2*200= 77 -3 1/2 = 0.5 1/2 = 0.5 0.086 -0.086*4*200= - 68.8 Total stress increase (kN/m2 ) 79
  • 10.
    Example 14: The figurebelow shows a plan view of a rectangular footing with a 2x2 m2 hole (through its entire thickness). The hole is located at 1m from the left edge and is equally positioned between the top and lower edges of the footing. If the uniform bearing pressure under the footing is 200 kPa, compute the stress increase at a point 2m below the center of the square hole. Answer: 79.6 No. m = B/z n = L/z f(m,n) q*n)f(m,Δσv = +1 2/2 = 1 2/2 = 1 0.177 0.177*2*200= 70.8 +2 3/2 = 1.5 2/2 = 1 0.1925 0.1925*2*200= 77 -3 1/2 = 0.5 1/2 = 0.5 0.086 -0.086*4*200= - 68.8 Total stress increase (kN/m2 ) 79