Review:
Distributed Computer Control System For Industrial
Process Control
Andrianda Utama
1
Magister Teknik informatika, Universitas bina Darma Palembang,
South Sumatera, Indonesia
Andrianda.utama@tech-center.com
In a distributed computer control system in which remote stations are
interconnected by a communications link, the remote stations take turns having
supervisory control over the communications link. Each remote is numbered in
sequence in a predetermined succession order and takes its turn having control
of the communications link in accordance with this succession order. When a
remote station has completed its turn of having supervisory control, it transmits
a first control message over the communications link. The next remote station
in the succession order then takes control over the communication link by
transmitting a second control message over the communications link. Each
remote station has two variable timers which are set in response to said first
control message and said second control message, respectively, and have time
out intervals depending upon the offset of the receiving remote station from the
remote station which transmitted the control message. If and when any of these
variable timers times out in a given remote station, then that remote station will
assume control of the communications link by transmitting the second control
message on the communications link.
1 Introduction
Distributed computer systems rely on data communication networks for exchanging data.
Within a defined geographical area, e.g. an office, a control station or a manufacturing plant,
local area networks (LAN) are used to interconnect components, i.e. communication entities, of
the system. To enable remote access to the distributed computer system, typically, the local
area networks are connected to the world wide web of the Internet and/or interconnected
through communication links over publicly accessible territories and/or systems. To protect the
distributed computer system from intrusion, the local area network is delimited by a perimeter
consisting of firewalls and/or virtual private network (VPN) terminators. The perimeter,
defined by VPN terminators, firewalls and/or other intrusion detection systems (IDS), protects
the distributed computer system from malicious data traffic originating from sources external to
the local area network.
Conventionally, encrypted communications either required the termination of the encrypted
connection at the perimeter or giving up content-_based traffic control in firewalls or intrusion
detection systems, because encrypted traffic cannot be looked into. Consequently, security of
data communication is limited to the perimeter and there is thus a risk that malicious data
content is introduced into the distributed computer system, e.g. from or introduced through one
of its components, and exchanged between its components via the local area network
Particularly in distributed control systems, intrusion of malicious data into the system can be of
catastrophic consequences.
2. CONTROL STATION
2.1. Workstation / Single Board Computer
In view of the above, it is a broad, overall, object of the present invention, among others, to
provide a distributed single board computer industrial control system which does not have the
programming drawbacks normally associated with systems of this type.
It is another object of the present invention to provide a distributed single board computer
industrial control system in which each of the computers has a common master program and in
which each computer can be easily adapted to a particular application without
modification of the master program.
It is still another object of the present invention to provide a distributed single board computer
industrial control system in which each computer has a common master program and in which a
worker, relatively unskilled in programming, can easily adapt each computer to a particular
application.
In accordance with the present invention, an industrial control system having a plurality of
controlled devices is provided with a single board computer connected to each device through
an input/output interface. Each computer is controlled by a master or composite program that
includes program steps adapted to achieve control and monitoring of all possible logic 'control
functions and command sequences that exist within the system.
A user alterable interconnection device (UAID) allows only those portions of the master
program that relate to the logic control functions and/or control sequences of a particular
controlled device to be operatively connected with the input/output ports associated with that
device. As the single board computer continuously and successively loops through the master
program, only those program steps that relate to the logic control functions and/ or control
sequences for the controlled device are operative, as determined by the UAID, to effect control
and monitoring of the controlled device.
FIG. 1 is a schematic representation of the overall organization of an industrial control system
in accordance with the present invention in which a plurality of controlled devices are
connected to an associated single board computer through an input/output interface
1.
FIGS. 2-3 are examples of logic diagrams which maybe implemented by single board
computers of the system
FIGS. 12a and 12b depict a flow chart illustrating the program employed in each of the single
board computers to control the output devices in accordance with the logic functions selected
by the user of the system.
2.2. Programmable Logic Control (PLC)
The concept of distributed industrial control systems, which have both a hardware and software
component, is known in the art. Distributed control has been used since companies began
installing programmable logic controllers (“PLCs”) to manage independent parts of a factory
poor.
PLCs are used in industrial control systems to provide coordinated control of equipment,
devices, and processes. PLCs generally comprise a central processing unit (“CPU”) and a
plurality of input/output (“I/O”) modules having I/O connection terminals. PLCs are ordinarily
connected to various sensors, switches, or measurement devices that provide inputs to the PLC
and to relays or other forms of output to control the field equipment or other controlled
elements. As control technology evolved, the idea of islands of programmable controllers was
discarded in favor of larger, centralized controllers. Industry is now moving back to a
decentralized approach in which small, intelligent controllers gather data locally and share it
across a network. The move back to a decentralized approach may be explained by describing
the disadvantages of using a centralized control system. First, a centralized control system has
lower flexibility and scalability. The maximum number of I/O modules and therefore I/O
connections that can be controlled is determined during design by the model of controller used.
Second, because a single processor (CPU) and a given amount of memory are used for the
entire system, any future additional device, or any change in the system’s con?guration, must
consider these limitations. Alternatively, an oversized central controller must be chosen in
advance. Third, the wiring requirements for a centralized system, wherein every device must be
wired to a central controller, are extensive. Although the use of remote I/O modules can reduce
wiring requirements, adding more I/O modules to an existing controller does not add
processing power and memory, which are usually fixed.
Alternatively, a centralized system could be used wherein a single controller controls all the
devices in the system. This would allow every condition to be set in one control program, but
the wiring requirements in such a system would be much more extensive, and, importantly, the
system would suffer from the lack of flexibility and scalability. Were an existing device to need
functional expansion, or were any additional device to need control in the future, it would
require additional I/O modules to be added to the controller (if technically possible) and would
require additional control programming as well, which would increase the workload for the
fixed central processor and memory.
For theseand other reasons, today’s automation world is moving towards distribution of control
rather than building centralized systems. In addition, the industry is making use of small
(including “micro” and “nano”) PLCs and exploiting the latest improvements in
communications and network technologies which have allowed companies to migrate from a
centralized structure to a true distributed architecture. Such improvements include embedded
networking capabilities (especially Ethernet, TCP/IP based solutions), new powerful CPUs that
make controllers faster and stronger, enhanced security features for decentralized architectures,
the physical downsizing of controllers, and reduced pricing.
FIG. 4 is a high-level ?oW diagram of a control program implementation method in accordance
With the present invention.
FIG. 5 is a How diagram of the main part of a control program implementation method in
accordance With the present invention.
FIG. 6 is a relational diagram shoWing programmable logic controllers in a network
configuration in accordance with the present invention.
FIG. 7 is a table shoWing a control statement Weighting matrix in accordance With the present
invention.
3. DATA LINK COMMUNICATION
The present invention relates to control systems of the type having a plurality of remotely
located process control units connected together through a communications link and, more
particularly, to a control system in which each of the remote units sequentially assumes
supervisory communication control of the communication link and in which high reliability
information transfer is achieved between remotes.
Many system type industrial installations, for example, those related to industrial process-type
manufacturing and electrical power generation, employ a large number of physically distributed
controlled-devices and associated sensors for effecting coordinated operation of the overall
system. In the past, coordinated control of the various devices has been achieved by manual
operation and various types of semi-automatic and automatic control systems including
electromagnetic relay systems, hardwired solid-state logic systems, and various types of
computer control systems. The computer system have included central systems in which the
various sensors and controlled devices are connected to a central computer; distributed control
systems in which a remotely located computer is connected to each of the controlled devices
and to one another; and hybrid combinations of the central and distributed systems.
The successful functioning of the control system is vital to any industrial process, and,
accordingly. Distributed systems have generally been preferred over central systems because
the failure of one of the remotely located control computers generally does not cause a system
wide failure as in the case of the failure of the central computer in the central system.
However, in many distributed computer systems, one of the remotes or a specially designed
control unit generally handles supervisory communication control of the communication buss
and, for these systems, failure of the communication buss supervisor can lead to a system-wide
failure.
In many industrial control systems, the various communication busses that extend between the
remotely located computer process control units are exposed to high electrical noise
environments. Accordingly, the information transferred over the communication buss can be
subjected to error-inducing interference because of the harsh electrical environment. In view of
this, a control system must have a means for detecting errors within the transmitted information
in order to provide high reliability data transmission between remotes.
FIG. 1 is a schematic diagram of an exemplary process control systemincluding a plurality of
remote process control units (remotes) connected to a common dual-channel communications
link;
FIG. 2 is a schematic block diagram of an exemplary remote process control unit of thetype
shown in FIG.1;
FIG. 3 is a schematic block diagram of a communication controller employed in the remote
station shown in FIG. 2;
FIG. 5 illustrates the format of an exemplary or illustrative information block for transferring
informationbetween remotes;
FIG. 5A illustrates the format of a header frame ofthe information block shown in FIG. 5;
FIG. 58 illustrates the format for a data/informationframe of the information block shown in
FIG. 5;
FIG. 5C illustrates the format for an acknowledgement block (ACK) for acknowledging
successful receipt of an information block;
FIG. 5D illustrates the format for a non-acknowledgement block (NAK) for indicating the
unsuccessfultransmission of an information block between remotes;
FIG. 6 illustrates, in pictorial form, two identical data blocks having the format shown in FIG. 5
successively transmitted on each communication channel of the communication link illustrated
in FIG. 1;
FIG. 7 is a flow diagram summary of themanner in which a source and a destination remote
effect communications with one another;
FIG. 8A is a partial flow diagram illustrating in detail the manner in which a source and a
destination remote communicate and validate information transferred between one another.
FIG. 8B is a partialflow diagram which completes theflow diagram of FIG. 8A and illustrates
in detail the manner in which a source and a destination remote communicate and validate
information transferred between one another;
FIG. 9 is a legend illustrating themanner in theflow diagrams of FIG. 8A and FIG. 8B are to
be read;
FIGS. 10A through 10F are exemplary tables illustrating the manner in which supervisory
control of the communication link is transferred from remote to remote.
4. NETWORK ARCHITECTURE
To aid in the understanding of the prior art and the problems associated therewith. it may be
helpful to provide a brief overview of distributed computing environments. As used herein. a
computing environment consists of a plurality of computers connected by a network which
allows the computers to communicate and pass information and/or data between themselves.
The network may range from a local environment. such as a local area network (LAN). to a
very large and expansive network. such as a wide area networks (WAN). and many other
distributed network systems. The computer environment also includes the various operating
systems. storage mediums. and other processing resources which reside on these computers and
that are interconnected and accessible via the network through various software products.
Further. a collection of information service systems and application systems generally
embodied within software products. are also considered to be part of the computing
environment. The information service systems and application systems used within any given
computing environment range from commercially available software applications
(e.g.spreadsheets. word processors. databases) to custom developed software products tailored
for a specific use within a designated computing environment. A dominant architecture that is
receiving widespread use in many current distributed computing environments is known as the
client-server architecture. Client-server architecture is a hierarchical architecture for distributed
computing environments that is generally divided into two layers.
One layer within the client-server architecture includes most of the application systems.
Application systems include fourth generation languages. computer aided software engineering
tools. programming languages and their support tools. and various other commercially available
software products. This first layer typically represents the client layer.
A second layer within the client-server architecture includes most of the information service
systems. The information service systems are software products such as database management
systems and data repositories. specialized data access methods. application servers. and any
number of service based monolithic software systems. This second layer represents the server
layer.
Include the introduction of a third or middle layer. This third layer typically includes software
products designed to provide various infrastructure or interfacing services between other
components of the distributed computing environment such as between an application system
and an information service system. Such software products are classified as middleware
products or systems. A recent term for the hierarchical architecture that utilizes middleware
systems is a three-tier system or multi-tier system architecture. Where the middleware system
consists of software products. applications and services that had previously existed either in the
client layer or server layer. Three-tier or multi-tier layers are well known in the art.
5. PROCESS CONTROL
The present invention relates to digital distributed process control systems which have
controllers or control stations at each of a number of distributed locations with each controller
controlling a plurality of control loops. Moreparticularly, this invention relates to a method and
apparatus for carrying out a required control strategy for the loops at any one location with a
maximum of flexibility in the type of strategy to be executed while at the same time
minimizing the cost per loop.
The control of complex industrial processes has evolved from the use of a large number of
simple single loop controllers, which either perform without central direction or, alternatively,
are directed by a central computer, toward the use of distributed systems. In distributed
systems, widely spaced control stations are connected for communication with one another and,
if desired, with a host computer. Each of the stations usually is capable of controlling a large
number of loops and is microprocessor based with the host computer being employed for
complex computing, control, and storage functions beyond the capability of the stations.
The individual stations of distributed control systems typically execute control on a number of
loops by either of two general approaches. The first is the use of time slots during which are
executed selected library algorithms which determine the functional relationship between
measured variables (controller inputs) and controlled variables (controller outputs) of the
process loops. The second is the use of user-entered programs to determine those functional
relationships.
With the time slot approach a fixed number of slots is established for each scan period during
which the controller inputs the measured variables and supplies the control signals to the
control elements of the loops. Each slot can be used to execute any one of a number of
common algorithms stored as firmware in a library of I algorithms. The output for each of the
slots can alternatively be used as a control output to an associated loop or as an input to another
slot where supplementary processing of the control signal can be carried out before the signal is
used for control of a loop. This approach has some severe limitations, however, when it is
desired to apply it to the extremely diverse combinations of control strategies which may be
required in an industrial environment. Thus, for example, where the library of algorithms
includes a standard PID algorithm to provide proportional, integral, and derivative functions as
well as a summing algorithm, a multiplying algorithm, and a full range of algorithms for logic
functions, it will be evident that, while the PID algorithm may make efficient use of the time
for one slot, the less complex algorithms may not. Thus, the execution of non-standard control
strategies which require a number of summers and multipliers or a number of logic functions,
will not use the limited number of slots efficiently.
FIG. 1 illustrates a distributed process control system of the typefor which this invention is
useful.
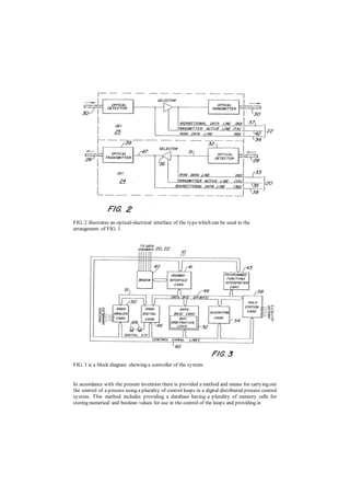
FIG. 2 illustrates an optical-electrical interface of the typewhich can be used in the
arrangement of FIG. 1.
FIG. 3 is a block diagram showing a controller of the system.
In accordance with the present invention there is provided a method and means for carrying out
the control of a process using a plurality of control loops in a digital distributed process control
system. This method includes providing a database having a plurality of memory cells for
storing numerical and boolean values for use in the control of the loops and providing in
firmware a library of frequently used control algorithms which can be sequentially executed to
produce an algorithm output which is a predetermined function of selected algorithm inputs
obtained from the database.
There is a scanning of a plurality of time slots during each of which the station controller is
assigned to produce an algorithm output in accordance with a predetermined function of the
algorithm inputs associated with that slot, as determined by the algorithm selected for that slot.
Concurrently established sequential programs are executed to provide other control strategies.
These programs are run to provide a program output to the database having a predetermined
functional relationship to program inputs from the database. Each algorithm output and
program output is used as either a controller output or as a value to be stored in said data base
for use as an algorithm input for another slot or a program input for another program. The
controller input to the database is used as a program input or as an algorithm input, whereby the
control elements of the process are controlled in accordance with the desired strategy as
established by the algorithms associated with the time slots and by the sequential programs.
6. DISTRIBUTED CONTROL SYSTEM
With the development of commercially available digital computers industrial process control
has been typically handled through centralized direct digital control systems. These systems
included a main frame computer which is programmed to control processes.
From time to time, the program would be modified to change the control of processes and to
accept new process control functions or parameters. As a result, the use of computerized direct
digital control of processes was expanded in order to control more of the total process than
could previously been achieved with prior conventional analog process controllers. However, a
number of major fundamental problems existed with such a main frame, direct digital control
system. As with any complex piece of equipment, maintenance was difficult and required
personnel with specialized training. As the process control became more sophisticated, it
became impractical to maintain in-house service personnel for the computerized system.
Therefore, users had to rely upon vendors for maintenance and repair support. Moreover, in a
continuous process, the failure of the central computer could have catastrophic effects because
control of a substantial portion if not all of the 35 overall process would be interrupted. In some
areas of technology, such as glass forming, reliance upon a single main frame central
processing control system became impractical because of the potential of these catastrophic
failures.
FIG. 1 is a drawing showing thehierarchical interconnections of the various components of the
distributed control system.
6.1. Distributed Computer Control System
More recently, distributed computer control systems have been developed in which a single
board computer is connected to each control device with each single board computer having a
specific program dedicated to the particular control device. However, a number of 45
drawbacks have been associated with the distributed computer control systems. In order to
conserve memory and reduce operational time, the single board computers are generally
programmed in a low-level, assembly-type language. As a result, many system users are
reluctant to employ distributed single board computers because of the difficulty of obtaining or
training personnel to program the computers. Moreover, because maintenance personnel are
typically not trained in programming, a large inventory of single board computers are necessary
in order to properly repair a system malfunction by replacing the microprocessor which is
down. In addition, should there be a desire to upgrade or modify the program in any given
microprocessor, such modification or upgrading will often require the modification of the
overall system control program.
Thus, cost effective retrofitting of existing industrial process control systems is not feasible.
Johnson et al. disclosed in U.S. Pat. No. 4,253,148 a system of distributed control of a process
which was designed to overcome the difficulty of having a large inventory of preprogrammed
microprocessors for each device to be controlled. Thus, in the Johnson et al. system a master or
composite program was developed which was capable of controlling all possible logic
functions and command sequences for all of the devices to be controlled. This program was
downloaded into each of a plurality of microprocessors. Because each microprocessor was
designed to control a specific device, a user alterable interconnection device was provided in
each microprocessor in the form of a programmable read only memory (PROM). The PROM in
each microprocessor allowed only those portions of the master program which related to the
logic control functions and control sequences of a particular control device to be connected to
the input/output ports associated with the device. Thus, as each microprocessor continuously
looped through the master program, only those program steps which related to the control
functions and sequences for a control device would be operative. This system had the drawback
that a sometimes massive program had to be downloaded into each microprocessor. In addition,
the time constraints on such a system which must loop through the entire master program is
such that some processes cannot be adequately controlled. Moreover, because the master
control program is stored in each microprocessor, storage space for other data such as process
control data and operational parameters is limited.
It, therefore, is an object of the present invention to provide an improved distributive control,
microprocessor based process control system, with interchangeable components whose
programming is transparent to the operators.
FIG. 1 depicts a plurality of networked digital data processors for use in practicing the
invention;
FIG. 2 depicts objects for controlling a process in a system according to the invention;
6.2. Distributed Computer Security System
This invention relates to a method and apparatus for controlling access by users to applications
programs in 10 a distributed computer system. A framework for security in a distributed
computer system has been proposed by the European Computer Manufacturers’ Association
(ECMA) and is described in the following references. 15l) ECMA TR/46 “Security in Open
Systems-a Security Framework” July 1988
2) ECMA standard ECMA/ 138 December 1989
3) “Network Access Control Development”, COMPACS 90 Conference, London, March 1990
The ECMA security framework permits a user to be authenticated to the system, and to obtain
as a result a data package referred to as a privilege attribute certificate (PAC) which represents
a certified collection of access rights. When the user wishes to access a target application, the
user presents the PAC to that application as evidence of the user’s access rights.
An advantage of this approach is that the user does not need to be authenticated separately to
individual applications—the authentication procedure is performed once only, to obtain the
PAC. The PAC can then be used several times to access different applications.
The object of the present invention is to build on this idea of using PACs, to provide an
improved method ofaccess control.
FIG. 1 is a schematic diagram of a distributed computer systemembodying the invention.
Computer security systems are often based on the basic access control model, which provides a
foundation of secrecy and integrity security procedures. To do its work, the reference monitor
needs a trust worthy way to know the access control rule and the source of the request. Usually
the access control rule is attached to the object; such a rule is called an access control list or
ACL. For each operation, it specifies asset of authorized principals, and the reference monitor
grants a request if its principal is trusted at least as much as one of the authorized principals for
the requested operation.
It should be understood that operation of the reference monitor is separated and distinct from
other security issues, such as whether a requestor is who he/ she/ it claims to be. That type of
security is typically provided by using encryption and digital signature techniques, as will be
understood by those skilled in the art. The present invention is directed at systems and methods
for governing access to objects in distributed computer system that allow for “compound
principals”. In summary, the present invention is a security system governing access to objects
in a distributed computer system. Each object has an access control list having a list of entries.
Each access conrol list entry can represent either a simple principal or a compound principal.
The set of allowed compounds principals is limited to a predefined set of allowed combination
of simple principals, roles, delegations and conjunctions in accordance with a defined
hierarchical ordering of the conjunction, delegation and role portions of each compound
principal.
1. Compound Principal Method
The distributed computing system is provided with a naming service having a secure
membership table that contains a list of assumptions. Each assumption specifies
either one principal as being stronger than another specified principal, or specifies
one role as being stronger than another specified role. These assumptions reduce the
number of entries needed in an access control list by allowing an entry to state the
weakest principals and
roles that are authorized to access an object, with all stronger principals and roles
being included by way of the assumptions listed in the membership table.
The reference checking process, typically handled by a reference monitor found at
each node of the distributed system, grants an access request if the requestor is
stronger than any one of the entries in the access control list for the resource
requested. Furthermore, one entry is stronger than another entry if for each of the
conjuncts in the latter entry there is a stronger conjunct in the former. Additional rules
used by the reference monitor the reference checking process govern the processes of
comparing conjuncts in a requestor principal with the conjuncts in an access control
list entry and of using assumptions to compare the relative strengths of
principals and roles. The present invention provides a framework for making practical
use of compound principals in distributed computer systems.
FIG. 1 is a block diagram a distributed computer system with a trusted naming
service for storing secure data shared by the members of the system.
FIG. 2 is a block diagram of one node of the distributed computer system shown in
FIG. 1.
FIG. 3 is a block diagram representing an access control list.
FIG. 4 schematically depicts the elements of one entry in an access control list.
FIG. 5 is a block diagram representing a membership table, which contains a list of
assumptions.
FIG. 6 is a flow chart of the process performed by a node’s reference monitor to
determine whether or not to grant a request for access to a specified object.
2. Locally Cached Authentication Credentials Method
In general, in most prior art systems authenticating each request by a requester
requires digitally signing the request, as well as an exchange of information called
“credentials” between the requester and the server to enable the server to authenticate
the digital signature on the request. The authentication process can impose significant
overhead on the operation of distributed computer systems, especially when the
number of requests transmitted between nodes is high. In summary, the present
invention is a security system governing access to objects in a distributed com puter
system. The computer at each node of the distributed system has a trusted computing
base that includes an authentication agent for authenticating requests received from
principals at other nodes in the system.
Requests are transmitted to servers as messages that include a first identifier (called
an Auth ID) provided by the requester and a second identifier provided (called thesub
channel value) by the authentication agent of the requester node. Each server process
has an associated local cache that identifies requesters whose previous request
messages have been authenticated.
When a request is received, the server checks the request’s first and second identifiers
against the entries in its local cache. If there is a match, then the request is known to
be authentic, without having to obtain authentication credentials from the requester’s
node, because the authentication agents guarantee authenticity of such request
messages.
If the identifier in a request message does not match any of the entries in the server’s
local cache, then the server node’s authentication agent is called to obtain
authentication credentials from the requester’s node to authenticate the request
message. Upon receiving the required credentials from the requester node’s
authentication agent, the principal identifier of the requester and the received
credentials are stored in a local cache by the server node’s authentication agent. The
server process also stores a record in its local cache indicating that request messages
from the specified requester are known to be authentic, thereby expediting the process
of authenticating received requests.
A further optimization is that the server process local cache is used to store a list of
the object access control list entries previously satisfied by each requester, thereby
enabling the server process to expedite granting access to previously accessed objects.
FIG. 1 is a block diagram a distributed computer systemwith a trusted naming
service for storing secure data shared by the members of the system.
FIGS. 2 and 3 are block diagrams of one node of the distributed computer system
shown in FIG. 1.
FIG. 4 is a block diagram of two computers, one having a requester process that is
requesting access to a server process in the second computer.
FIGS. 5A and 5B schematically depict an Authentication ID table and Channel
Assignment Table maintained by authentication agents in the preferred embodiment
of the present invention.
FIG. 6 schematically represents a data packet.
FIG. 7 schematically depicts a “local cache" of au thentication data maintained by
authentication agents in the preferred embodiment of the present invention.
FIG. 9 is a block diagram representing an access control list.
FIG. 10 is a ?ow chart of the authentication process performed by the authentication agents
associated with a requester and a server.
7. CONCLUSION
Distributed Computer Control System for Industrial Process Control has been conceived
and partially implemented. DCS is well suited to solving some very awkward Industrial
Process Control problem encounter by conventional computers in real-time control
applications. for controlling an industrial process includes a plurality of remotely located
process control units (remotes) each coupled to an associated input/output device(s) and
adapted to communicate with one another through a dual channel communications link.
References
1. Cope, Michael E., Distributed Computer Control System., (1984)
2. Naedele, Martin., Dzung, Dacfey., Distributed computer systemwith a local area., (2006),
3. William, D., Johnson, Dallas, Donald,L., Ewing, Richardson, James, S., DISTRIBUTED
SINGLE BOARD COMPUTER INDUSTRIALCONTROLSYSTEM., (1981)
4. James, S., Grisham, Jr., Arlington., INDUSTRIALCONTROLSYSTEM WITH
DISTRIBUTED COMPUTER IMPLEMENTED LOGIC,(1982)
5. Cope, Michael E.,Richardson,,DISTRIBUTED INDUSTRIALCONTROLSYSTEM
WITH REMOTESTATIONSTAKING TURNSSUPERVISING COMMUNICATION
LINK BETWEEN THE REMOTESTATIONS,(1983)
6. Cope, Michael E.,Farmers Branch,DISTRIBUTED COMPUTER CONTROL SYSTEM
WITH VARIABLE MONITOR TIMERS,(1986)
7. Stephen P. Glaudel, Harleysville, Paul H. Grissom, Furlong,DISTRIBUTED PROCESS
CONTROLSYSTEM,(1987)
8. Paul S. Sauik, Dennis H. Shreve, DISTRIBUTED CONTROLSYSTEM,(1989)
9. Rodger T.Lovrenich, Santa Teresa, DISTRIBUTED LOGIC CONTROLSYSTEM AND
METHOD,(1992)
10. Martin Abadi, Palo Alto; Michael Burrows; Edward P. Wobber, ACCESS CONTROL
SUBSYSTEM AND METHOD FOR DISTRIBUTED COMPUTER SYSTEM USING
COMPOUND PRINCIPALS, (1992)
11. Edward Wobber, Menlo Park; Martin Abadi, Palo Alto; Andrew Birrell,ACCESS
CONTROLSUBSYSTEM AND METHOD FOR DISTRIBUTED COMPUTER
SYSTEM USING LOCALLY CACHED AUTHENTICATIONCREDENTIALS,(1993)
12. Larry Suarez., METHOD AND ARCHITECTUREFOR THECREATION, CONTROL
AND DEPLOYMENT or SERVICES WITHIN A DISTRIBUTED COMPUTER
ENVIROMENT,(1998)
13. Thomas A. Parker, ACCESS CONTROLIN A DISTRIBUTED COMPUTER
SYSTEM,(1994)
14. Thomas B., Kinney, Franklin, MA.,PROCESSCONTROLSYSTEM AND METHOD
WITH IMPROVED DISTRIBUTION, INSTALLATION AND VALIDATION OF
COMPONENTS,(2002)
15. Halm Sham, SYSTEM AND METHOD FOR IMPLEMENTINGLOGIC CONTROLIN
PROGRAMMABLECONTROLLERSIN DISTRIBUTED CONTROL
SYSTEMS,(2007)

Distributed Computer Control System

  • 1.
    Review: Distributed Computer ControlSystem For Industrial Process Control Andrianda Utama 1 Magister Teknik informatika, Universitas bina Darma Palembang, South Sumatera, Indonesia Andrianda.utama@tech-center.com In a distributed computer control system in which remote stations are interconnected by a communications link, the remote stations take turns having supervisory control over the communications link. Each remote is numbered in sequence in a predetermined succession order and takes its turn having control of the communications link in accordance with this succession order. When a remote station has completed its turn of having supervisory control, it transmits a first control message over the communications link. The next remote station in the succession order then takes control over the communication link by transmitting a second control message over the communications link. Each remote station has two variable timers which are set in response to said first control message and said second control message, respectively, and have time out intervals depending upon the offset of the receiving remote station from the remote station which transmitted the control message. If and when any of these variable timers times out in a given remote station, then that remote station will assume control of the communications link by transmitting the second control message on the communications link. 1 Introduction Distributed computer systems rely on data communication networks for exchanging data. Within a defined geographical area, e.g. an office, a control station or a manufacturing plant, local area networks (LAN) are used to interconnect components, i.e. communication entities, of the system. To enable remote access to the distributed computer system, typically, the local area networks are connected to the world wide web of the Internet and/or interconnected through communication links over publicly accessible territories and/or systems. To protect the distributed computer system from intrusion, the local area network is delimited by a perimeter consisting of firewalls and/or virtual private network (VPN) terminators. The perimeter, defined by VPN terminators, firewalls and/or other intrusion detection systems (IDS), protects the distributed computer system from malicious data traffic originating from sources external to the local area network. Conventionally, encrypted communications either required the termination of the encrypted connection at the perimeter or giving up content-_based traffic control in firewalls or intrusion detection systems, because encrypted traffic cannot be looked into. Consequently, security of data communication is limited to the perimeter and there is thus a risk that malicious data content is introduced into the distributed computer system, e.g. from or introduced through one
  • 2.
    of its components,and exchanged between its components via the local area network Particularly in distributed control systems, intrusion of malicious data into the system can be of catastrophic consequences. 2. CONTROL STATION 2.1. Workstation / Single Board Computer In view of the above, it is a broad, overall, object of the present invention, among others, to provide a distributed single board computer industrial control system which does not have the programming drawbacks normally associated with systems of this type. It is another object of the present invention to provide a distributed single board computer industrial control system in which each of the computers has a common master program and in which each computer can be easily adapted to a particular application without modification of the master program. It is still another object of the present invention to provide a distributed single board computer industrial control system in which each computer has a common master program and in which a worker, relatively unskilled in programming, can easily adapt each computer to a particular application. In accordance with the present invention, an industrial control system having a plurality of controlled devices is provided with a single board computer connected to each device through an input/output interface. Each computer is controlled by a master or composite program that includes program steps adapted to achieve control and monitoring of all possible logic 'control functions and command sequences that exist within the system. A user alterable interconnection device (UAID) allows only those portions of the master program that relate to the logic control functions and/or control sequences of a particular controlled device to be operatively connected with the input/output ports associated with that device. As the single board computer continuously and successively loops through the master program, only those program steps that relate to the logic control functions and/ or control sequences for the controlled device are operative, as determined by the UAID, to effect control and monitoring of the controlled device.
  • 3.
    FIG. 1 isa schematic representation of the overall organization of an industrial control system in accordance with the present invention in which a plurality of controlled devices are connected to an associated single board computer through an input/output interface
  • 4.
    1. FIGS. 2-3 areexamples of logic diagrams which maybe implemented by single board computers of the system
  • 5.
    FIGS. 12a and12b depict a flow chart illustrating the program employed in each of the single board computers to control the output devices in accordance with the logic functions selected by the user of the system. 2.2. Programmable Logic Control (PLC) The concept of distributed industrial control systems, which have both a hardware and software component, is known in the art. Distributed control has been used since companies began installing programmable logic controllers (“PLCs”) to manage independent parts of a factory poor. PLCs are used in industrial control systems to provide coordinated control of equipment, devices, and processes. PLCs generally comprise a central processing unit (“CPU”) and a
  • 6.
    plurality of input/output(“I/O”) modules having I/O connection terminals. PLCs are ordinarily connected to various sensors, switches, or measurement devices that provide inputs to the PLC and to relays or other forms of output to control the field equipment or other controlled elements. As control technology evolved, the idea of islands of programmable controllers was discarded in favor of larger, centralized controllers. Industry is now moving back to a decentralized approach in which small, intelligent controllers gather data locally and share it across a network. The move back to a decentralized approach may be explained by describing the disadvantages of using a centralized control system. First, a centralized control system has lower flexibility and scalability. The maximum number of I/O modules and therefore I/O connections that can be controlled is determined during design by the model of controller used. Second, because a single processor (CPU) and a given amount of memory are used for the entire system, any future additional device, or any change in the system’s con?guration, must consider these limitations. Alternatively, an oversized central controller must be chosen in advance. Third, the wiring requirements for a centralized system, wherein every device must be wired to a central controller, are extensive. Although the use of remote I/O modules can reduce wiring requirements, adding more I/O modules to an existing controller does not add processing power and memory, which are usually fixed. Alternatively, a centralized system could be used wherein a single controller controls all the devices in the system. This would allow every condition to be set in one control program, but the wiring requirements in such a system would be much more extensive, and, importantly, the system would suffer from the lack of flexibility and scalability. Were an existing device to need functional expansion, or were any additional device to need control in the future, it would require additional I/O modules to be added to the controller (if technically possible) and would require additional control programming as well, which would increase the workload for the fixed central processor and memory. For theseand other reasons, today’s automation world is moving towards distribution of control rather than building centralized systems. In addition, the industry is making use of small (including “micro” and “nano”) PLCs and exploiting the latest improvements in communications and network technologies which have allowed companies to migrate from a centralized structure to a true distributed architecture. Such improvements include embedded networking capabilities (especially Ethernet, TCP/IP based solutions), new powerful CPUs that make controllers faster and stronger, enhanced security features for decentralized architectures, the physical downsizing of controllers, and reduced pricing. FIG. 4 is a high-level ?oW diagram of a control program implementation method in accordance With the present invention.
  • 7.
    FIG. 5 isa How diagram of the main part of a control program implementation method in accordance With the present invention.
  • 8.
    FIG. 6 isa relational diagram shoWing programmable logic controllers in a network configuration in accordance with the present invention. FIG. 7 is a table shoWing a control statement Weighting matrix in accordance With the present invention.
  • 9.
    3. DATA LINKCOMMUNICATION The present invention relates to control systems of the type having a plurality of remotely located process control units connected together through a communications link and, more particularly, to a control system in which each of the remote units sequentially assumes supervisory communication control of the communication link and in which high reliability information transfer is achieved between remotes. Many system type industrial installations, for example, those related to industrial process-type manufacturing and electrical power generation, employ a large number of physically distributed controlled-devices and associated sensors for effecting coordinated operation of the overall system. In the past, coordinated control of the various devices has been achieved by manual operation and various types of semi-automatic and automatic control systems including electromagnetic relay systems, hardwired solid-state logic systems, and various types of computer control systems. The computer system have included central systems in which the various sensors and controlled devices are connected to a central computer; distributed control systems in which a remotely located computer is connected to each of the controlled devices and to one another; and hybrid combinations of the central and distributed systems. The successful functioning of the control system is vital to any industrial process, and, accordingly. Distributed systems have generally been preferred over central systems because the failure of one of the remotely located control computers generally does not cause a system wide failure as in the case of the failure of the central computer in the central system. However, in many distributed computer systems, one of the remotes or a specially designed control unit generally handles supervisory communication control of the communication buss and, for these systems, failure of the communication buss supervisor can lead to a system-wide failure. In many industrial control systems, the various communication busses that extend between the remotely located computer process control units are exposed to high electrical noise environments. Accordingly, the information transferred over the communication buss can be subjected to error-inducing interference because of the harsh electrical environment. In view of this, a control system must have a means for detecting errors within the transmitted information in order to provide high reliability data transmission between remotes.
  • 10.
    FIG. 1 isa schematic diagram of an exemplary process control systemincluding a plurality of remote process control units (remotes) connected to a common dual-channel communications link;
  • 11.
    FIG. 2 isa schematic block diagram of an exemplary remote process control unit of thetype shown in FIG.1;
  • 12.
    FIG. 3 isa schematic block diagram of a communication controller employed in the remote station shown in FIG. 2;
  • 13.
    FIG. 5 illustratesthe format of an exemplary or illustrative information block for transferring informationbetween remotes; FIG. 5A illustrates the format of a header frame ofthe information block shown in FIG. 5; FIG. 58 illustrates the format for a data/informationframe of the information block shown in FIG. 5; FIG. 5C illustrates the format for an acknowledgement block (ACK) for acknowledging successful receipt of an information block; FIG. 5D illustrates the format for a non-acknowledgement block (NAK) for indicating the unsuccessfultransmission of an information block between remotes; FIG. 6 illustrates, in pictorial form, two identical data blocks having the format shown in FIG. 5 successively transmitted on each communication channel of the communication link illustrated in FIG. 1;
  • 14.
    FIG. 7 isa flow diagram summary of themanner in which a source and a destination remote effect communications with one another; FIG. 8A is a partial flow diagram illustrating in detail the manner in which a source and a destination remote communicate and validate information transferred between one another.
  • 15.
    FIG. 8B isa partialflow diagram which completes theflow diagram of FIG. 8A and illustrates in detail the manner in which a source and a destination remote communicate and validate information transferred between one another; FIG. 9 is a legend illustrating themanner in theflow diagrams of FIG. 8A and FIG. 8B are to be read;
  • 16.
    FIGS. 10A through10F are exemplary tables illustrating the manner in which supervisory control of the communication link is transferred from remote to remote.
  • 17.
    4. NETWORK ARCHITECTURE Toaid in the understanding of the prior art and the problems associated therewith. it may be helpful to provide a brief overview of distributed computing environments. As used herein. a computing environment consists of a plurality of computers connected by a network which allows the computers to communicate and pass information and/or data between themselves. The network may range from a local environment. such as a local area network (LAN). to a very large and expansive network. such as a wide area networks (WAN). and many other distributed network systems. The computer environment also includes the various operating systems. storage mediums. and other processing resources which reside on these computers and that are interconnected and accessible via the network through various software products. Further. a collection of information service systems and application systems generally embodied within software products. are also considered to be part of the computing environment. The information service systems and application systems used within any given computing environment range from commercially available software applications (e.g.spreadsheets. word processors. databases) to custom developed software products tailored for a specific use within a designated computing environment. A dominant architecture that is receiving widespread use in many current distributed computing environments is known as the client-server architecture. Client-server architecture is a hierarchical architecture for distributed computing environments that is generally divided into two layers. One layer within the client-server architecture includes most of the application systems. Application systems include fourth generation languages. computer aided software engineering tools. programming languages and their support tools. and various other commercially available software products. This first layer typically represents the client layer. A second layer within the client-server architecture includes most of the information service systems. The information service systems are software products such as database management systems and data repositories. specialized data access methods. application servers. and any number of service based monolithic software systems. This second layer represents the server layer. Include the introduction of a third or middle layer. This third layer typically includes software products designed to provide various infrastructure or interfacing services between other components of the distributed computing environment such as between an application system and an information service system. Such software products are classified as middleware products or systems. A recent term for the hierarchical architecture that utilizes middleware systems is a three-tier system or multi-tier system architecture. Where the middleware system consists of software products. applications and services that had previously existed either in the client layer or server layer. Three-tier or multi-tier layers are well known in the art.
  • 18.
    5. PROCESS CONTROL Thepresent invention relates to digital distributed process control systems which have controllers or control stations at each of a number of distributed locations with each controller controlling a plurality of control loops. Moreparticularly, this invention relates to a method and apparatus for carrying out a required control strategy for the loops at any one location with a maximum of flexibility in the type of strategy to be executed while at the same time minimizing the cost per loop. The control of complex industrial processes has evolved from the use of a large number of simple single loop controllers, which either perform without central direction or, alternatively, are directed by a central computer, toward the use of distributed systems. In distributed systems, widely spaced control stations are connected for communication with one another and, if desired, with a host computer. Each of the stations usually is capable of controlling a large number of loops and is microprocessor based with the host computer being employed for complex computing, control, and storage functions beyond the capability of the stations. The individual stations of distributed control systems typically execute control on a number of loops by either of two general approaches. The first is the use of time slots during which are executed selected library algorithms which determine the functional relationship between measured variables (controller inputs) and controlled variables (controller outputs) of the process loops. The second is the use of user-entered programs to determine those functional relationships. With the time slot approach a fixed number of slots is established for each scan period during which the controller inputs the measured variables and supplies the control signals to the control elements of the loops. Each slot can be used to execute any one of a number of common algorithms stored as firmware in a library of I algorithms. The output for each of the slots can alternatively be used as a control output to an associated loop or as an input to another
  • 19.
    slot where supplementaryprocessing of the control signal can be carried out before the signal is used for control of a loop. This approach has some severe limitations, however, when it is desired to apply it to the extremely diverse combinations of control strategies which may be required in an industrial environment. Thus, for example, where the library of algorithms includes a standard PID algorithm to provide proportional, integral, and derivative functions as well as a summing algorithm, a multiplying algorithm, and a full range of algorithms for logic functions, it will be evident that, while the PID algorithm may make efficient use of the time for one slot, the less complex algorithms may not. Thus, the execution of non-standard control strategies which require a number of summers and multipliers or a number of logic functions, will not use the limited number of slots efficiently. FIG. 1 illustrates a distributed process control system of the typefor which this invention is useful.
  • 20.
    FIG. 2 illustratesan optical-electrical interface of the typewhich can be used in the arrangement of FIG. 1. FIG. 3 is a block diagram showing a controller of the system. In accordance with the present invention there is provided a method and means for carrying out the control of a process using a plurality of control loops in a digital distributed process control system. This method includes providing a database having a plurality of memory cells for storing numerical and boolean values for use in the control of the loops and providing in
  • 21.
    firmware a libraryof frequently used control algorithms which can be sequentially executed to produce an algorithm output which is a predetermined function of selected algorithm inputs obtained from the database. There is a scanning of a plurality of time slots during each of which the station controller is assigned to produce an algorithm output in accordance with a predetermined function of the algorithm inputs associated with that slot, as determined by the algorithm selected for that slot. Concurrently established sequential programs are executed to provide other control strategies. These programs are run to provide a program output to the database having a predetermined functional relationship to program inputs from the database. Each algorithm output and program output is used as either a controller output or as a value to be stored in said data base for use as an algorithm input for another slot or a program input for another program. The controller input to the database is used as a program input or as an algorithm input, whereby the control elements of the process are controlled in accordance with the desired strategy as established by the algorithms associated with the time slots and by the sequential programs. 6. DISTRIBUTED CONTROL SYSTEM With the development of commercially available digital computers industrial process control has been typically handled through centralized direct digital control systems. These systems included a main frame computer which is programmed to control processes. From time to time, the program would be modified to change the control of processes and to accept new process control functions or parameters. As a result, the use of computerized direct digital control of processes was expanded in order to control more of the total process than could previously been achieved with prior conventional analog process controllers. However, a number of major fundamental problems existed with such a main frame, direct digital control system. As with any complex piece of equipment, maintenance was difficult and required personnel with specialized training. As the process control became more sophisticated, it became impractical to maintain in-house service personnel for the computerized system. Therefore, users had to rely upon vendors for maintenance and repair support. Moreover, in a continuous process, the failure of the central computer could have catastrophic effects because control of a substantial portion if not all of the 35 overall process would be interrupted. In some areas of technology, such as glass forming, reliance upon a single main frame central processing control system became impractical because of the potential of these catastrophic failures.
  • 22.
    FIG. 1 isa drawing showing thehierarchical interconnections of the various components of the distributed control system. 6.1. Distributed Computer Control System More recently, distributed computer control systems have been developed in which a single board computer is connected to each control device with each single board computer having a specific program dedicated to the particular control device. However, a number of 45 drawbacks have been associated with the distributed computer control systems. In order to conserve memory and reduce operational time, the single board computers are generally programmed in a low-level, assembly-type language. As a result, many system users are reluctant to employ distributed single board computers because of the difficulty of obtaining or training personnel to program the computers. Moreover, because maintenance personnel are typically not trained in programming, a large inventory of single board computers are necessary in order to properly repair a system malfunction by replacing the microprocessor which is down. In addition, should there be a desire to upgrade or modify the program in any given microprocessor, such modification or upgrading will often require the modification of the overall system control program. Thus, cost effective retrofitting of existing industrial process control systems is not feasible. Johnson et al. disclosed in U.S. Pat. No. 4,253,148 a system of distributed control of a process which was designed to overcome the difficulty of having a large inventory of preprogrammed microprocessors for each device to be controlled. Thus, in the Johnson et al. system a master or composite program was developed which was capable of controlling all possible logic functions and command sequences for all of the devices to be controlled. This program was downloaded into each of a plurality of microprocessors. Because each microprocessor was designed to control a specific device, a user alterable interconnection device was provided in each microprocessor in the form of a programmable read only memory (PROM). The PROM in each microprocessor allowed only those portions of the master program which related to the logic control functions and control sequences of a particular control device to be connected to
  • 23.
    the input/output portsassociated with the device. Thus, as each microprocessor continuously looped through the master program, only those program steps which related to the control functions and sequences for a control device would be operative. This system had the drawback that a sometimes massive program had to be downloaded into each microprocessor. In addition, the time constraints on such a system which must loop through the entire master program is such that some processes cannot be adequately controlled. Moreover, because the master control program is stored in each microprocessor, storage space for other data such as process control data and operational parameters is limited. It, therefore, is an object of the present invention to provide an improved distributive control, microprocessor based process control system, with interchangeable components whose programming is transparent to the operators. FIG. 1 depicts a plurality of networked digital data processors for use in practicing the invention;
  • 24.
    FIG. 2 depictsobjects for controlling a process in a system according to the invention; 6.2. Distributed Computer Security System This invention relates to a method and apparatus for controlling access by users to applications programs in 10 a distributed computer system. A framework for security in a distributed computer system has been proposed by the European Computer Manufacturers’ Association (ECMA) and is described in the following references. 15l) ECMA TR/46 “Security in Open Systems-a Security Framework” July 1988 2) ECMA standard ECMA/ 138 December 1989 3) “Network Access Control Development”, COMPACS 90 Conference, London, March 1990 The ECMA security framework permits a user to be authenticated to the system, and to obtain as a result a data package referred to as a privilege attribute certificate (PAC) which represents a certified collection of access rights. When the user wishes to access a target application, the user presents the PAC to that application as evidence of the user’s access rights. An advantage of this approach is that the user does not need to be authenticated separately to individual applications—the authentication procedure is performed once only, to obtain the PAC. The PAC can then be used several times to access different applications. The object of the present invention is to build on this idea of using PACs, to provide an improved method ofaccess control.
  • 25.
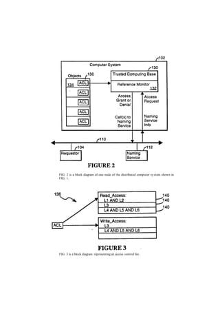
    FIG. 1 isa schematic diagram of a distributed computer systemembodying the invention. Computer security systems are often based on the basic access control model, which provides a foundation of secrecy and integrity security procedures. To do its work, the reference monitor needs a trust worthy way to know the access control rule and the source of the request. Usually the access control rule is attached to the object; such a rule is called an access control list or ACL. For each operation, it specifies asset of authorized principals, and the reference monitor grants a request if its principal is trusted at least as much as one of the authorized principals for the requested operation. It should be understood that operation of the reference monitor is separated and distinct from other security issues, such as whether a requestor is who he/ she/ it claims to be. That type of security is typically provided by using encryption and digital signature techniques, as will be understood by those skilled in the art. The present invention is directed at systems and methods for governing access to objects in distributed computer system that allow for “compound principals”. In summary, the present invention is a security system governing access to objects in a distributed computer system. Each object has an access control list having a list of entries. Each access conrol list entry can represent either a simple principal or a compound principal. The set of allowed compounds principals is limited to a predefined set of allowed combination of simple principals, roles, delegations and conjunctions in accordance with a defined hierarchical ordering of the conjunction, delegation and role portions of each compound principal.
  • 26.
    1. Compound PrincipalMethod The distributed computing system is provided with a naming service having a secure membership table that contains a list of assumptions. Each assumption specifies either one principal as being stronger than another specified principal, or specifies one role as being stronger than another specified role. These assumptions reduce the number of entries needed in an access control list by allowing an entry to state the weakest principals and roles that are authorized to access an object, with all stronger principals and roles being included by way of the assumptions listed in the membership table. The reference checking process, typically handled by a reference monitor found at each node of the distributed system, grants an access request if the requestor is stronger than any one of the entries in the access control list for the resource requested. Furthermore, one entry is stronger than another entry if for each of the conjuncts in the latter entry there is a stronger conjunct in the former. Additional rules used by the reference monitor the reference checking process govern the processes of comparing conjuncts in a requestor principal with the conjuncts in an access control list entry and of using assumptions to compare the relative strengths of principals and roles. The present invention provides a framework for making practical use of compound principals in distributed computer systems. FIG. 1 is a block diagram a distributed computer system with a trusted naming service for storing secure data shared by the members of the system.
  • 27.
    FIG. 2 isa block diagram of one node of the distributed computer system shown in FIG. 1. FIG. 3 is a block diagram representing an access control list.
  • 28.
    FIG. 4 schematicallydepicts the elements of one entry in an access control list. FIG. 5 is a block diagram representing a membership table, which contains a list of assumptions.
  • 29.
    FIG. 6 isa flow chart of the process performed by a node’s reference monitor to determine whether or not to grant a request for access to a specified object. 2. Locally Cached Authentication Credentials Method In general, in most prior art systems authenticating each request by a requester requires digitally signing the request, as well as an exchange of information called “credentials” between the requester and the server to enable the server to authenticate the digital signature on the request. The authentication process can impose significant overhead on the operation of distributed computer systems, especially when the number of requests transmitted between nodes is high. In summary, the present invention is a security system governing access to objects in a distributed com puter
  • 30.
    system. The computerat each node of the distributed system has a trusted computing base that includes an authentication agent for authenticating requests received from principals at other nodes in the system. Requests are transmitted to servers as messages that include a first identifier (called an Auth ID) provided by the requester and a second identifier provided (called thesub channel value) by the authentication agent of the requester node. Each server process has an associated local cache that identifies requesters whose previous request messages have been authenticated. When a request is received, the server checks the request’s first and second identifiers against the entries in its local cache. If there is a match, then the request is known to be authentic, without having to obtain authentication credentials from the requester’s node, because the authentication agents guarantee authenticity of such request messages. If the identifier in a request message does not match any of the entries in the server’s local cache, then the server node’s authentication agent is called to obtain authentication credentials from the requester’s node to authenticate the request message. Upon receiving the required credentials from the requester node’s authentication agent, the principal identifier of the requester and the received credentials are stored in a local cache by the server node’s authentication agent. The server process also stores a record in its local cache indicating that request messages from the specified requester are known to be authentic, thereby expediting the process of authenticating received requests. A further optimization is that the server process local cache is used to store a list of the object access control list entries previously satisfied by each requester, thereby enabling the server process to expedite granting access to previously accessed objects. FIG. 1 is a block diagram a distributed computer systemwith a trusted naming service for storing secure data shared by the members of the system.
  • 31.
    FIGS. 2 and3 are block diagrams of one node of the distributed computer system shown in FIG. 1.
  • 32.
    FIG. 4 isa block diagram of two computers, one having a requester process that is requesting access to a server process in the second computer.
  • 33.
    FIGS. 5A and5B schematically depict an Authentication ID table and Channel Assignment Table maintained by authentication agents in the preferred embodiment of the present invention.
  • 34.
    FIG. 6 schematicallyrepresents a data packet. FIG. 7 schematically depicts a “local cache" of au thentication data maintained by authentication agents in the preferred embodiment of the present invention.
  • 35.
    FIG. 9 isa block diagram representing an access control list.
  • 36.
    FIG. 10 isa ?ow chart of the authentication process performed by the authentication agents associated with a requester and a server.
  • 37.
    7. CONCLUSION Distributed ComputerControl System for Industrial Process Control has been conceived and partially implemented. DCS is well suited to solving some very awkward Industrial Process Control problem encounter by conventional computers in real-time control applications. for controlling an industrial process includes a plurality of remotely located process control units (remotes) each coupled to an associated input/output device(s) and adapted to communicate with one another through a dual channel communications link. References 1. Cope, Michael E., Distributed Computer Control System., (1984) 2. Naedele, Martin., Dzung, Dacfey., Distributed computer systemwith a local area., (2006), 3. William, D., Johnson, Dallas, Donald,L., Ewing, Richardson, James, S., DISTRIBUTED SINGLE BOARD COMPUTER INDUSTRIALCONTROLSYSTEM., (1981) 4. James, S., Grisham, Jr., Arlington., INDUSTRIALCONTROLSYSTEM WITH DISTRIBUTED COMPUTER IMPLEMENTED LOGIC,(1982) 5. Cope, Michael E.,Richardson,,DISTRIBUTED INDUSTRIALCONTROLSYSTEM WITH REMOTESTATIONSTAKING TURNSSUPERVISING COMMUNICATION LINK BETWEEN THE REMOTESTATIONS,(1983) 6. Cope, Michael E.,Farmers Branch,DISTRIBUTED COMPUTER CONTROL SYSTEM WITH VARIABLE MONITOR TIMERS,(1986) 7. Stephen P. Glaudel, Harleysville, Paul H. Grissom, Furlong,DISTRIBUTED PROCESS CONTROLSYSTEM,(1987) 8. Paul S. Sauik, Dennis H. Shreve, DISTRIBUTED CONTROLSYSTEM,(1989) 9. Rodger T.Lovrenich, Santa Teresa, DISTRIBUTED LOGIC CONTROLSYSTEM AND METHOD,(1992) 10. Martin Abadi, Palo Alto; Michael Burrows; Edward P. Wobber, ACCESS CONTROL SUBSYSTEM AND METHOD FOR DISTRIBUTED COMPUTER SYSTEM USING COMPOUND PRINCIPALS, (1992) 11. Edward Wobber, Menlo Park; Martin Abadi, Palo Alto; Andrew Birrell,ACCESS CONTROLSUBSYSTEM AND METHOD FOR DISTRIBUTED COMPUTER SYSTEM USING LOCALLY CACHED AUTHENTICATIONCREDENTIALS,(1993) 12. Larry Suarez., METHOD AND ARCHITECTUREFOR THECREATION, CONTROL AND DEPLOYMENT or SERVICES WITHIN A DISTRIBUTED COMPUTER ENVIROMENT,(1998) 13. Thomas A. Parker, ACCESS CONTROLIN A DISTRIBUTED COMPUTER SYSTEM,(1994) 14. Thomas B., Kinney, Franklin, MA.,PROCESSCONTROLSYSTEM AND METHOD WITH IMPROVED DISTRIBUTION, INSTALLATION AND VALIDATION OF COMPONENTS,(2002) 15. Halm Sham, SYSTEM AND METHOD FOR IMPLEMENTINGLOGIC CONTROLIN PROGRAMMABLECONTROLLERSIN DISTRIBUTED CONTROL SYSTEMS,(2007)