10
20.
ČeskoslovENSKÁ SOCIALISTICKÁ
REPUBLIKA
Vydáno 15. srpna 1961
Vyloženo 15. února 1961
PATENTNÍ SPIs č.
100545
Právo k využití vynálezu přísluší státu podle 3 odst. 6 zák. .
34/1957 Sb.
EMIL HŘÍVA, PLZEŇ ·
Automatická míchací baterie
Přihlášeno 29. března 1960 (PV 2099-60) Platnost patentu od 29. března 1960
Míchací baterie – slouží k míchání horké a studené vody, než se vpouští do vany nebo
jiného zařízení. Dosavadní konstrukce míchacích baterií jsou založeny na stejném principu
dvou vřetenových, ručně ovládaných ventilů a liší se pouze úpravami podle způsobu použití. V
takovémto provedení mohou v dnešní době dobře uspokojit požadavky domácností a uplatniti
se v menších provozech s lokálním ohřevem teplé vody. V silně frekventovaných provozech
mají tyto baterie řadu nevýhod. Kromě toho jsou častým pužíváním brzy opotřebeny části
mechanicky namáhané a míchací baterie tím zničena. Tam, kde je voda odebírána z
centrálního rozvodu, dochází vlivem kolísání tlaku vody odběrem a změnou teploty horké vody k
rozdílnému a nepravidelnému míchání vody na původně nastavenou teplotu. Toto má mnohdy i
při opatrném zacházení za následek opaření koupajícího se člověka. Toto nebezpečí se
odstraňuje namnoze tím, že do potrubí je dodávána voda určité teploty. Toto řèšení není vždy
hospodárné a je mnohdy velmi nevýhodné. Rovněž konstrukce, tzv. zajišťovací baterie, kde
vlastní mísicí ventily jsou zakryty víčky a lze je ovládät jen klíčem, nejsou . proto vyhovující a
nemohou odstraniti výšė popsané nevýhody. V tomto případě i individuální nastavování polohy
ventilů pro zvolenbu teplotu vody je neekonomické a vyžaduje obsluhů zkušeného pracovníka.
Zvláště ve veřejných, pôdníkových a ústavních lázních, kdė vánově a sprchové kojipele jako
kabinové, đôchází k značným rozdílnöstêm,
v odběru vody v jednotlivých kabinách a zde se nejcitlivěji projevují
nedostatky dosud běžně používaných a vyráběných typů baterií. Také : soustavy společných sprch
postrádají spolehlivé míchací baterie a ne.
bezpečí je zvýšeno tím, že při koupání nemůže člověk okamžitě uniknout z proudu
vroucí vody. · - - - - Předložený vynález – automatická míchací baterie – odstraňuje při
bezpečném provozu nedostatky dosud vyráběných typů míchacích baterií a splňuje tyto
podmínky:
Samočinným ovládáním přítoku horké a studené vody zajišťuje stálost libovolně zvolitelné teploty
vody ve výtoku.
. Uplatněním nových konstrukčních prvků mnohonásobně prodlužuje životnost baterie,
odstraňuje poruchovost na minimum í v silných provozech a tvoří bezpečný podklad pro
konstrukci úsporných baterií pro umyvadla, zejména v lékařství a laboratořích, kde je
požadována
stálá teplota při použití jednoho uzávěru ovládaného v odstupné době -
bez doteku ruky.
Při zlepšených průtokových poměrech zvyšuje svým provedením
estetický vzhled a * . - -
z hlediska materiálového krytí z umělých a plastických hmot se
projeví úspora barevných kovů.
Podstatou zařízení je samočinné míchání teplé a studené vody na požadovanou teplotu.
Celé toto jednoduché a výrobně levné zařízení je zhotoveno z umělých hmot na basi
termoplastů. Ježto vývoj umělých a plastických hmot: zaznamenává značný rozvoj, je otázka
zvolení vhodného materiálu dána časově omezenými disposicemi a není proto závazná.
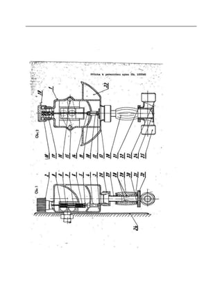
Příklad provedení míchací automatické baterie podle vynálezu je znázorněn na obr.
1 a 2. Na obr. 2 je znázorněn podélný řez, na kterém 15 značí přívod studené vody,
která je vedena kanálkem tělesa k hornímu výtokovému otvoru. Přívod 16 teplé vody je
veden obdob
ným kanálkem ke spodnímu výtokovému otvoru. Na obr. 1 šoupátko · s děleným srdcem 6 a 8 tvoří
základní postavení vůči výtokovému . otvoru 15 studené vody a otvoru 16 vody teplé. Obě části srdce
šoupát-
ka fi a R jsou vzájemně spojeny šroubem , kterým je- lze libovolně nastavit tak, aby se měnily
poměry přítoku studené a teplé vody, podle požadavku na teplotu používané vody. Toto
nastavení umožňuje šroub 7 pomocí čtyřhranu 17 na obr. 2, jenž je volně uložen ve čtyř
- hranném otvoru. 18 na obr. 2 v ovládací matici 2. Tato ovládací mati
ce 2 je na svém povrchu opatřena zkusmo nanesenou stupnicí s ozna- . čením teplot .
Otáčením matice 2 dochází k záběru otvoru.
18 s hlavou šroubu 17, čímž i k otáčení šroubu , který rovnoměrně mění základní postavení
obou částí srdce šoupátka 6 a 8 proti otvorům vytékající teplé a studené vody 16 a 15. ·
Na vnější straně proti stupnici je šipka 19, označující, jaká teplota vody byla - zvolena,
čemuž odpovídá poloha obou částí srdce šoupátka 6 a 8 proti výtokovým otvorům 15 a 16. -
Obě části srdce šoupátka 6 a B jsou vloženy ve společném rámu , který se svou spodní vnější stěnou
dotýká čepu 10 na obr. 2, jenž
je ovládán pístem 12, obr. 2, který je vložen ve válečku z umělé hmoty , v jehož spodní
rozšířené části pod pístem je kapalinový nebo .
plynový polštářek 13: Podle teploty vytékající vody, která při výtoku obklopuje váleček 4, nabývá
tentostejné teploty. Při své slabé stěně
ve spodní rozšířené části , kde je uložen kapalinový nebo plynový.
polštář 13 vysoké tepelné roztažlivosti, která umožňuje rychlé reago
vání změnu teploty, mění svůj objem a tím určuje polohu pístu . '
, 12, který dále pomocíčepu10 stavi obě částišoupátka 6 a 8 proti .
100
110
120
3 100545
otvorům vytékající studené vody 15 a teplé 16. Tímto se prakticky soustavně reguluje udržování
stejné teploty vytékající vody i při teplotních změnách přitékající studené a horké vody. Abý při
výtoku teplé a studené vody došlo k dobrému vzájemnému promíchání, je před otvory vytékající
vody 15 a 16 umístěna usměrňovací stěna, která obrací výtok vody k horní stěně válce mísiče a
odtud táto teprve stéká do spodní části, odkud dvěma bočními otvory, do sběračů 33, obr. 2, ze
kterých teprve přichází výtokovým otvorem k uzávěru 20 na obr. 2, který je k tělesu válce
připojen šroubením 26. Rám šoupátka 5 je k zadní stěně válce mísiče přidržován z přední
strany lištami . Cep ovládacího pístu 10 na obr. 2 je v horní části válečku 4 držen vodicí
přehoznou maticí 11 na obr. 2 s uzavíracím a těsnicím · víčkem 14 na obr. 2. Uzávěr baterie 20
na obr. 2 je řešen tak, že uzavírací část 28 tvoří pružný váleček z vhodně upravené gumy či
lépe plastické umělé hmoty. Tento elastický váleček 28 je vložen mezi příruby 30. Ve střední
části pružného válečku 28 z vnitřní strany tvoří těsnění čočkovitého tvaru. Z vnější strany je pak
vytvořen excentrický kroužek 29. Na tomto vnitřním uspořádání uzávěru je navlečena rukojeť
31, která na své vnitřní straně má tvar vnitřního uspořádání pruž. válečku 28, opěrných přírub
30 a , kroužku . 29. V místech styku s kroužkem 29 má rukojeť 31 rovněž excentrickou drážku.
Výstřednost kroužku 29 a vnitřní drážky rukojeti 31 jsou upraveny tak, že při otáčení rukojeti 31
dochází ke svírání pružného válečku 28 nebo k jeho uvolňování. Tímto způsobem je ovládáno
množství odebírané vody, event. její uzavření. Uzávěr možno zavírat rychlostí, kterou dovoluje
otočení rukojeti 31, neboť válec mísiče 1, obr. 2, pracuje současně jako dokonalý vzdušník a
vylučuje jakékoliv rázy v potrubí. Za tímto uzávěrem ve směru výtoku je umístěn v ném případě
použití pro vanu rozdělovač vody 32 pro spirálovou ruční sprchu nebo výtok do vany 25. Úprava
je provedena tak, že do výtokové části 24, obr. 2, je vložen váleček 23 s vybráním 22, obr. 2,
usměrňující tok vody pro výtok do vany nebo sprchy. Ovládání váIečku 23, obr. 2, se děje
permanentním magnetem, uloženým na vnější straně výtokové trubky 24, obr. 2, v ovládacím
kolečku 32. Celé za- . řízení lze lehce montovat na stávající vývody pomocí prodloužených
nátrubků, v nichž jsou umístěny kuličkové zpětné ventily. Přívody
kryje estetický kryt 34, který doplňuje celé zařízení.
Předmět patentu
Automatická míchací baterie vyznačená tím, že v její konstrukci
zamontován kapalinový nebo plynový termostat (3), který přes
váleček (4) ovládá šoupátko s děleným srdcem (6, 8) pro regulaci poměrů přítoků
studené a teplé vody (15, 16) do válce míchací baterie (1), přičemž výtok vody z baterie
je ovládán pouze jedním uzávěrem (20), kde průtoková pružná vložka (28) je ovládána
dvěma
excentrickými prstenci (29) a rukojetí (31).
- Severografia, n. p,
Příloha k patentnímu spisu čís. 100545

100545

  • 2.
    10 20. ČeskoslovENSKÁ SOCIALISTICKÁ REPUBLIKA Vydáno 15.srpna 1961 Vyloženo 15. února 1961 PATENTNÍ SPIs č. 100545 Právo k využití vynálezu přísluší státu podle 3 odst. 6 zák. . 34/1957 Sb. EMIL HŘÍVA, PLZEŇ · Automatická míchací baterie Přihlášeno 29. března 1960 (PV 2099-60) Platnost patentu od 29. března 1960 Míchací baterie – slouží k míchání horké a studené vody, než se vpouští do vany nebo jiného zařízení. Dosavadní konstrukce míchacích baterií jsou založeny na stejném principu dvou vřetenových, ručně ovládaných ventilů a liší se pouze úpravami podle způsobu použití. V takovémto provedení mohou v dnešní době dobře uspokojit požadavky domácností a uplatniti se v menších provozech s lokálním ohřevem teplé vody. V silně frekventovaných provozech mají tyto baterie řadu nevýhod. Kromě toho jsou častým pužíváním brzy opotřebeny části mechanicky namáhané a míchací baterie tím zničena. Tam, kde je voda odebírána z centrálního rozvodu, dochází vlivem kolísání tlaku vody odběrem a změnou teploty horké vody k rozdílnému a nepravidelnému míchání vody na původně nastavenou teplotu. Toto má mnohdy i při opatrném zacházení za následek opaření koupajícího se člověka. Toto nebezpečí se odstraňuje namnoze tím, že do potrubí je dodávána voda určité teploty. Toto řèšení není vždy hospodárné a je mnohdy velmi nevýhodné. Rovněž konstrukce, tzv. zajišťovací baterie, kde vlastní mísicí ventily jsou zakryty víčky a lze je ovládät jen klíčem, nejsou . proto vyhovující a nemohou odstraniti výšė popsané nevýhody. V tomto případě i individuální nastavování polohy ventilů pro zvolenbu teplotu vody je neekonomické a vyžaduje obsluhů zkušeného pracovníka. Zvláště ve veřejných, pôdníkových a ústavních lázních, kdė vánově a sprchové kojipele jako kabinové, đôchází k značným rozdílnöstêm,
  • 5.
    v odběru vodyv jednotlivých kabinách a zde se nejcitlivěji projevují nedostatky dosud běžně používaných a vyráběných typů baterií. Také : soustavy společných sprch postrádají spolehlivé míchací baterie a ne. bezpečí je zvýšeno tím, že při koupání nemůže člověk okamžitě uniknout z proudu vroucí vody. · - - - - Předložený vynález – automatická míchací baterie – odstraňuje při bezpečném provozu nedostatky dosud vyráběných typů míchacích baterií a splňuje tyto podmínky: Samočinným ovládáním přítoku horké a studené vody zajišťuje stálost libovolně zvolitelné teploty vody ve výtoku. . Uplatněním nových konstrukčních prvků mnohonásobně prodlužuje životnost baterie, odstraňuje poruchovost na minimum í v silných provozech a tvoří bezpečný podklad pro konstrukci úsporných baterií pro umyvadla, zejména v lékařství a laboratořích, kde je požadována stálá teplota při použití jednoho uzávěru ovládaného v odstupné době - bez doteku ruky. Při zlepšených průtokových poměrech zvyšuje svým provedením estetický vzhled a * . - - z hlediska materiálového krytí z umělých a plastických hmot se projeví úspora barevných kovů. Podstatou zařízení je samočinné míchání teplé a studené vody na požadovanou teplotu. Celé toto jednoduché a výrobně levné zařízení je zhotoveno z umělých hmot na basi termoplastů. Ježto vývoj umělých a plastických hmot: zaznamenává značný rozvoj, je otázka zvolení vhodného materiálu dána časově omezenými disposicemi a není proto závazná. Příklad provedení míchací automatické baterie podle vynálezu je znázorněn na obr. 1 a 2. Na obr. 2 je znázorněn podélný řez, na kterém 15 značí přívod studené vody, která je vedena kanálkem tělesa k hornímu výtokovému otvoru. Přívod 16 teplé vody je veden obdob ným kanálkem ke spodnímu výtokovému otvoru. Na obr. 1 šoupátko · s děleným srdcem 6 a 8 tvoří základní postavení vůči výtokovému . otvoru 15 studené vody a otvoru 16 vody teplé. Obě části srdce šoupát- ka fi a R jsou vzájemně spojeny šroubem , kterým je- lze libovolně nastavit tak, aby se měnily poměry přítoku studené a teplé vody, podle požadavku na teplotu používané vody. Toto nastavení umožňuje šroub 7 pomocí čtyřhranu 17 na obr. 2, jenž je volně uložen ve čtyř - hranném otvoru. 18 na obr. 2 v ovládací matici 2. Tato ovládací mati ce 2 je na svém povrchu opatřena zkusmo nanesenou stupnicí s ozna- . čením teplot . Otáčením matice 2 dochází k záběru otvoru.
  • 6.
    18 s hlavoušroubu 17, čímž i k otáčení šroubu , který rovnoměrně mění základní postavení obou částí srdce šoupátka 6 a 8 proti otvorům vytékající teplé a studené vody 16 a 15. · Na vnější straně proti stupnici je šipka 19, označující, jaká teplota vody byla - zvolena, čemuž odpovídá poloha obou částí srdce šoupátka 6 a 8 proti výtokovým otvorům 15 a 16. - Obě části srdce šoupátka 6 a B jsou vloženy ve společném rámu , který se svou spodní vnější stěnou dotýká čepu 10 na obr. 2, jenž je ovládán pístem 12, obr. 2, který je vložen ve válečku z umělé hmoty , v jehož spodní rozšířené části pod pístem je kapalinový nebo . plynový polštářek 13: Podle teploty vytékající vody, která při výtoku obklopuje váleček 4, nabývá tentostejné teploty. Při své slabé stěně ve spodní rozšířené části , kde je uložen kapalinový nebo plynový. polštář 13 vysoké tepelné roztažlivosti, která umožňuje rychlé reago vání změnu teploty, mění svůj objem a tím určuje polohu pístu . ' , 12, který dále pomocíčepu10 stavi obě částišoupátka 6 a 8 proti .
  • 8.
    100 110 120 3 100545 otvorům vytékajícístudené vody 15 a teplé 16. Tímto se prakticky soustavně reguluje udržování stejné teploty vytékající vody i při teplotních změnách přitékající studené a horké vody. Abý při výtoku teplé a studené vody došlo k dobrému vzájemnému promíchání, je před otvory vytékající vody 15 a 16 umístěna usměrňovací stěna, která obrací výtok vody k horní stěně válce mísiče a odtud táto teprve stéká do spodní části, odkud dvěma bočními otvory, do sběračů 33, obr. 2, ze kterých teprve přichází výtokovým otvorem k uzávěru 20 na obr. 2, který je k tělesu válce připojen šroubením 26. Rám šoupátka 5 je k zadní stěně válce mísiče přidržován z přední strany lištami . Cep ovládacího pístu 10 na obr. 2 je v horní části válečku 4 držen vodicí přehoznou maticí 11 na obr. 2 s uzavíracím a těsnicím · víčkem 14 na obr. 2. Uzávěr baterie 20 na obr. 2 je řešen tak, že uzavírací část 28 tvoří pružný váleček z vhodně upravené gumy či lépe plastické umělé hmoty. Tento elastický váleček 28 je vložen mezi příruby 30. Ve střední části pružného válečku 28 z vnitřní strany tvoří těsnění čočkovitého tvaru. Z vnější strany je pak vytvořen excentrický kroužek 29. Na tomto vnitřním uspořádání uzávěru je navlečena rukojeť 31, která na své vnitřní straně má tvar vnitřního uspořádání pruž. válečku 28, opěrných přírub 30 a , kroužku . 29. V místech styku s kroužkem 29 má rukojeť 31 rovněž excentrickou drážku. Výstřednost kroužku 29 a vnitřní drážky rukojeti 31 jsou upraveny tak, že při otáčení rukojeti 31 dochází ke svírání pružného válečku 28 nebo k jeho uvolňování. Tímto způsobem je ovládáno množství odebírané vody, event. její uzavření. Uzávěr možno zavírat rychlostí, kterou dovoluje otočení rukojeti 31, neboť válec mísiče 1, obr. 2, pracuje současně jako dokonalý vzdušník a vylučuje jakékoliv rázy v potrubí. Za tímto uzávěrem ve směru výtoku je umístěn v ném případě použití pro vanu rozdělovač vody 32 pro spirálovou ruční sprchu nebo výtok do vany 25. Úprava je provedena tak, že do výtokové části 24, obr. 2, je vložen váleček 23 s vybráním 22, obr. 2, usměrňující tok vody pro výtok do vany nebo sprchy. Ovládání váIečku 23, obr. 2, se děje permanentním magnetem, uloženým na vnější straně výtokové trubky 24, obr. 2, v ovládacím kolečku 32. Celé za- . řízení lze lehce montovat na stávající vývody pomocí prodloužených nátrubků, v nichž jsou umístěny kuličkové zpětné ventily. Přívody kryje estetický kryt 34, který doplňuje celé zařízení. Předmět patentu Automatická míchací baterie vyznačená tím, že v její konstrukci zamontován kapalinový nebo plynový termostat (3), který přes váleček (4) ovládá šoupátko s děleným srdcem (6, 8) pro regulaci poměrů přítoků studené a teplé vody (15, 16) do válce míchací baterie (1), přičemž výtok vody z baterie je ovládán pouze jedním uzávěrem (20), kde průtoková pružná vložka (28) je ovládána dvěma excentrickými prstenci (29) a rukojetí (31).
  • 9.
  • 11.
    Příloha k patentnímuspisu čís. 100545