TUGAS EMBEDDED SYSTEM 2 – KELOMPOK 2
Oleh
131100017 Asrofi Mubarok
131100019 Bramanto
131100038 Irwansyah Budiman
131100078 Tonni Gunawan
FAKULTAS TEKNOLOGI INFORMASI
UNIVERSITAS RESPATI INDONESIA
JAKARTA
2016
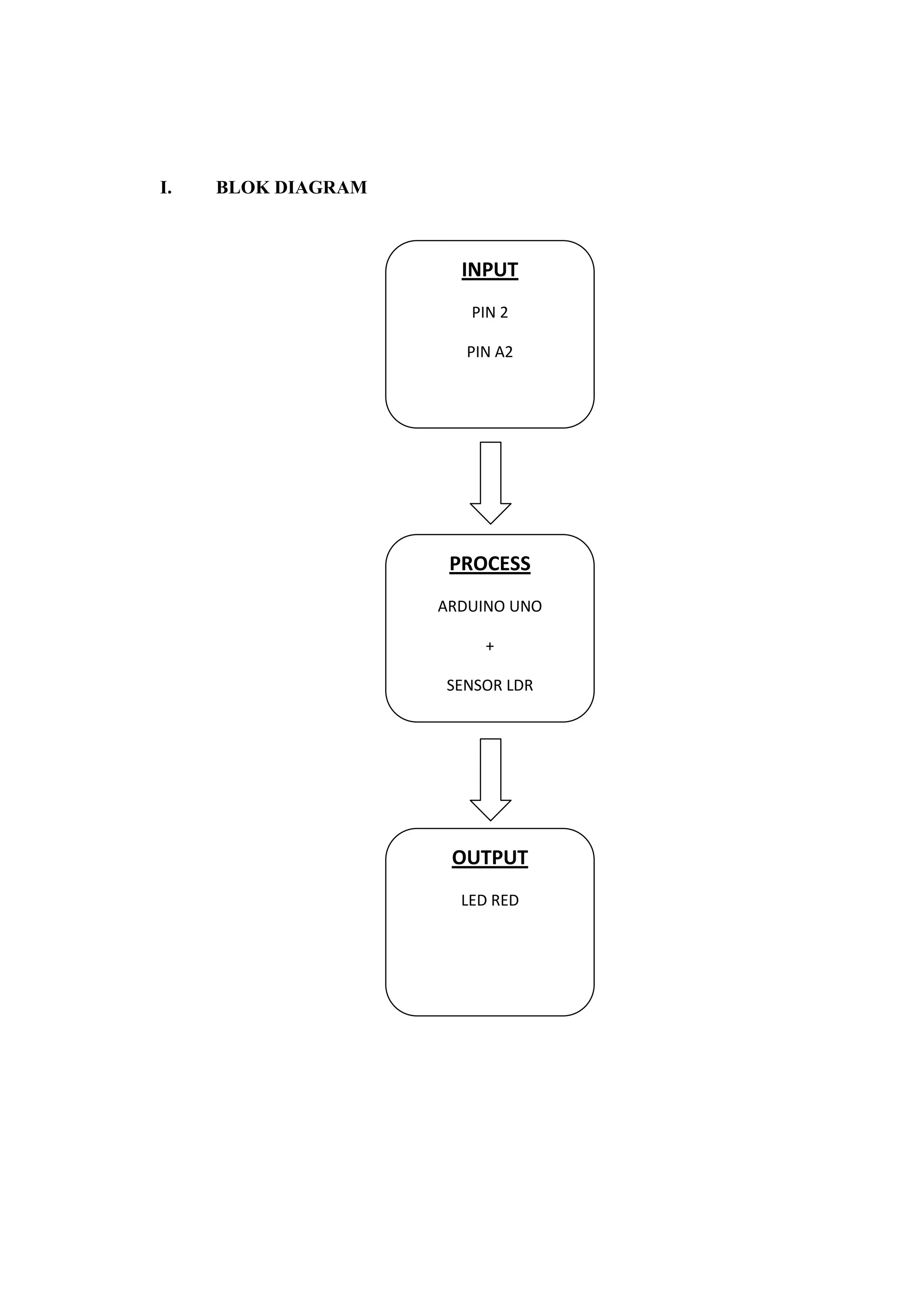
I. BLOK DIAGRAM
OUTPUT
LED RED
PROCESS
ARDUINO UNO
+
SENSOR LDR
INPUT
PIN 2
PIN A2
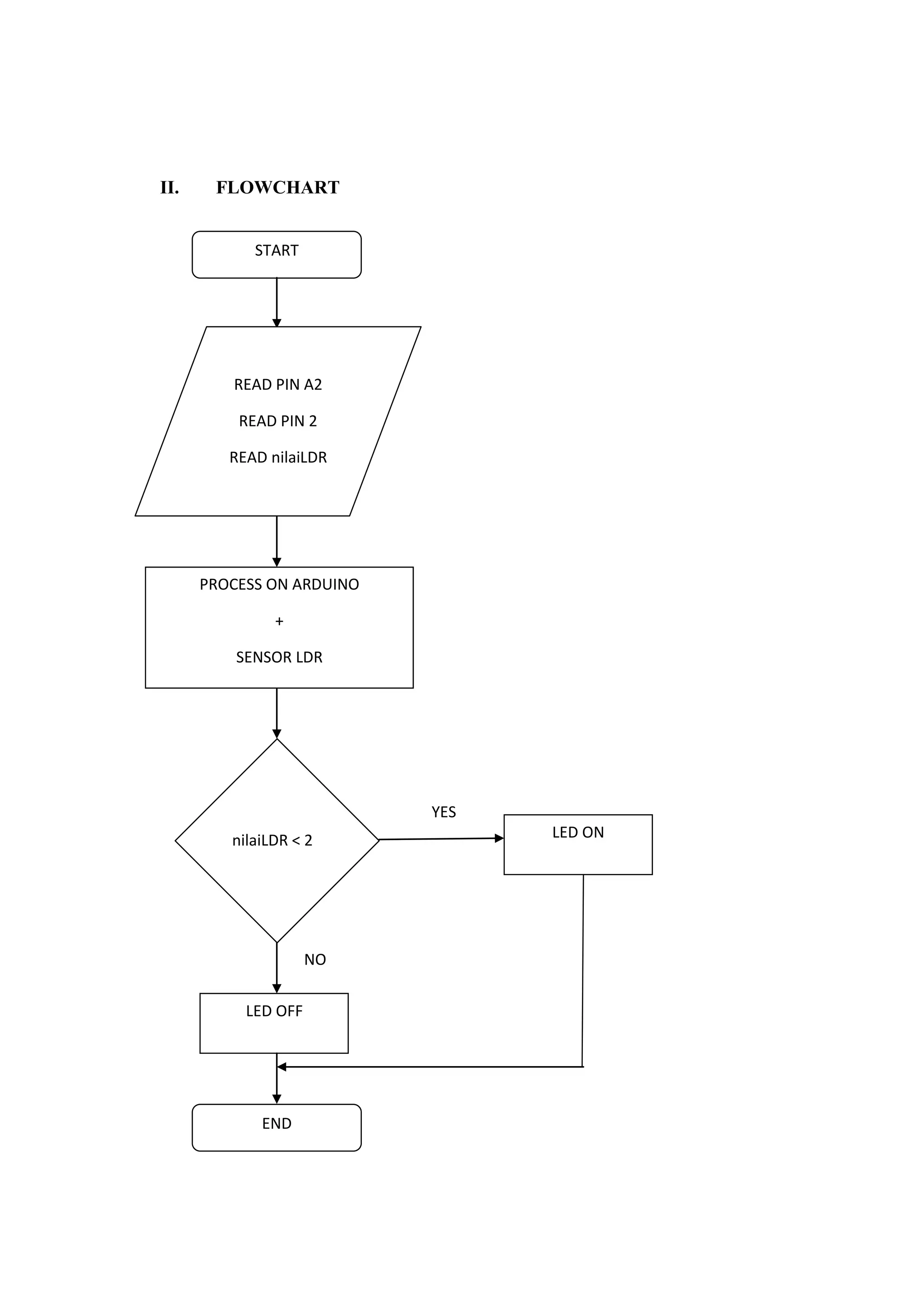
II. FLOWCHART
START
READ PIN A2
READ PIN 2
READ nilaiLDR
nilaiLDR < 2
PROCESS ON ARDUINO
+
SENSOR LDR
LED ON
LED OFF
END
YES
NO
III. ALGORITMA
int LDR = A2; // Deklarasi variabel LDR untuk pin A2
int LED_1 = 2; // Deklarasi variabel LED untuk pin 2
int nilaiLDR = 0; // Deklarasi nilai awal untuk nilaiLDR
void setup(){
/* Void Setup() : Sebuah fungsi, pertanyaan / kode program yang ada dibawahnya
hanya akan dibaca satu kali.
*/
pinMode (LED_1, OUTPUT); // Untuk menentukkan LED menjadi OUTPUT.
Serial.begin(9600); // Untuk menghubungkan Arduino ke serial monitor.
}
void loop(){
/* Variabel nilaiLDR diberi nilai sama dengan hasil dari analogRead (LDR)
analogRead (LDR) berfungsi untuk membaca nilai dari variabel LDR yang dihubungkan
ke pin analog A2 (Membaca nilai sensor LDR).
*/
nilaiLDR = analogRead(LDR);
/* Merupakan pernyataan yang berfungsi untuk menampilkan teks
ke serial monitor.
*/
Serial.print("Nilai LDR = ");
Serial.println(nilaiLDR);
if(nilaiLDR < 2){ // Jika variabel nilaiLDR , nilainya kurang dari 2 :
/* Maka, jalankan pernyataan ini. */
digitalWrite(LED_1, HIGH);
} else {
/* Itu berarti jika variabel nilaiLDR > 2 maka jalankan yang ini. */
digitalWrite(LED_1, LOW);
}
}
IV. BREADBOARD DAN SCHEMATIC
Berikut ini breadboard dari rangkaian yang dibuat, adapun peralatan yang
digunakan antara lain :
 1 Buah Wadah Breadboard
 1 Buah Arduino Uno
 1 LED Berwarna Merah
 1 Buah Resistor 220 Ω
 7 Buah Kabel Jumper
 1 Buah LDR
Untuk schematic dari rangkaian arduino yang telah dibuat.
V. KODE PROGRAM
Berikut ini beberapa baris kode program yang coba diimplementasikan pada
rangkaian arduino.
VI. HASIL
Disini kami mencoba untuk menjalankan program dan mengeksekusinya pada
Arduino yang telah kami konfigurasi sebelumnya.

Tugas embedded system membuat lampu LED dengan ARDUINO UNO

  • 1.
    TUGAS EMBEDDED SYSTEM2 – KELOMPOK 2 Oleh 131100017 Asrofi Mubarok 131100019 Bramanto 131100038 Irwansyah Budiman 131100078 Tonni Gunawan FAKULTAS TEKNOLOGI INFORMASI UNIVERSITAS RESPATI INDONESIA JAKARTA 2016
  • 2.
    I. BLOK DIAGRAM OUTPUT LEDRED PROCESS ARDUINO UNO + SENSOR LDR INPUT PIN 2 PIN A2
  • 3.
    II. FLOWCHART START READ PINA2 READ PIN 2 READ nilaiLDR nilaiLDR < 2 PROCESS ON ARDUINO + SENSOR LDR LED ON LED OFF END YES NO
  • 4.
    III. ALGORITMA int LDR= A2; // Deklarasi variabel LDR untuk pin A2 int LED_1 = 2; // Deklarasi variabel LED untuk pin 2 int nilaiLDR = 0; // Deklarasi nilai awal untuk nilaiLDR void setup(){ /* Void Setup() : Sebuah fungsi, pertanyaan / kode program yang ada dibawahnya hanya akan dibaca satu kali. */ pinMode (LED_1, OUTPUT); // Untuk menentukkan LED menjadi OUTPUT. Serial.begin(9600); // Untuk menghubungkan Arduino ke serial monitor. } void loop(){ /* Variabel nilaiLDR diberi nilai sama dengan hasil dari analogRead (LDR) analogRead (LDR) berfungsi untuk membaca nilai dari variabel LDR yang dihubungkan ke pin analog A2 (Membaca nilai sensor LDR). */ nilaiLDR = analogRead(LDR); /* Merupakan pernyataan yang berfungsi untuk menampilkan teks ke serial monitor. */ Serial.print("Nilai LDR = "); Serial.println(nilaiLDR); if(nilaiLDR < 2){ // Jika variabel nilaiLDR , nilainya kurang dari 2 : /* Maka, jalankan pernyataan ini. */ digitalWrite(LED_1, HIGH); } else { /* Itu berarti jika variabel nilaiLDR > 2 maka jalankan yang ini. */ digitalWrite(LED_1, LOW); } }
  • 5.
    IV. BREADBOARD DANSCHEMATIC Berikut ini breadboard dari rangkaian yang dibuat, adapun peralatan yang digunakan antara lain :  1 Buah Wadah Breadboard  1 Buah Arduino Uno  1 LED Berwarna Merah  1 Buah Resistor 220 Ω  7 Buah Kabel Jumper  1 Buah LDR Untuk schematic dari rangkaian arduino yang telah dibuat.
  • 7.
    V. KODE PROGRAM Berikutini beberapa baris kode program yang coba diimplementasikan pada rangkaian arduino.
  • 8.
    VI. HASIL Disini kamimencoba untuk menjalankan program dan mengeksekusinya pada Arduino yang telah kami konfigurasi sebelumnya.