เฉลยข้อสอบเข้ามหาวิทยาลัยระบบใหม่




                   ครั้งที่   2/2543              ตุลาคม   2543




มวลอะตอมที่กำาหนดให้
H=1                                                      C=12
N=14
    O=16                                               Na=23
Mg=24
    P=31                                                S = 32
Ca=40
    Cl=35.5                                           Cr=52
Fe=56
   Cu=63.5                                            Sb=122
I=127
ตอนที่   1      ข้อ   1 / 50
1.   ปัจจัยใดต่อไปนี้มีผลต่อความดันไอของของเหลว
     1. แรงยึดเหนี่ยวระหว่างโมเลกุลของของเหลว
     2. ปริมาณของของเหลวซึ่งมีสมดุลของของเหลวและไอ
     3. อุณหภูมิของของเหลว
      1. ก เท่านั้น          2. ก และ ข เท่านั้น   3.             ก และ ค เท่านั้น        4.   ก, ข
และ ค


2.   ข้อมูลแสดงค่าพลังงานที่เกี่ยวข้องกับการละลายของสาร A , B และ C เป็นดังนี้
             สาร             พลังงานไฮเดรชัน ( kJ /     พลังงานแลตทิซ ( kJ /
                                         mol )                        mol )
                    A                    745                          750
                    B                    590                          550
                    C                    690                          700
        ถ้าใช้สาร A , B และ C จำานวนโมลเท่ากันละลายในนำ้าที่มีปริมาตร          100Ccm3          การ
เปรียบเทียบ
        อุณหภูมิของแต่ละสารละลาย ข้อใดถูก
     1. A > B > C                          2. B > A > C                       3. B > C > A
4. C > A > B

3. นักเรียนผู้หนึ่งทำาการททดลองเกี่ยวกับสมบัติของสารละลายพบว่าตัวทำาละลาย X           มีจุดเยือกแข็งที่
5. 5 o C
     นำาสารประกอบ X 0 . 2 โมล มาละลายในตัวทำาละลาย X 100 cm
                                                                           3
                                                                                      พบว่าจุดเยือกแข็ง
เปลี่ยนเป็น
         -4.3   o
                      C
                   ถ้านำาสารประกกอบ        Z 8.4 g.      มาละลายในตัวทำาละลาย        X 50 cm3
จุดเยือกแข็งขอองสาร
     ละลายเป็น –4.3
                          o
                              C   เช่นเดียวกันถ้าสารประกอบ   Z   ประกอบด้วยธาตุคาร์บอนร้อยละ
85.71         ธาตุ
     ไฮโดรเจนร้อยละ       14.29     โดยโมล สูตรโมเลกุลของสารประกอบนี้จะเป็นดังข้อใด
1. C6H6                                         2. C6 H12                                             3. C 9H8
4. C9 H14

4.       ถ้าการแยกสารด้วยวิธีโครมาโทกราฟโดยใช้กระดาษกรองเป็นตัวดูดซับได้ผลดังนี้
                                                                                    จุด   X =       สาร   A   บริสทธิ์
                                                                                                                  ุ
                                                                                    จุด   y=        สารตัวอย่างประกอบ
ด้วยสาร     A    และสาร     B




           ข้อสรุปใดน่าจะเป็นไปได้
            ก. สาร     A    และสาร    B     มีค่า   Rf    เท่ากัน จึงแยกสาร     A     และ     B   ออกจากกันไม่ได้ด้วยวิธี
การนี้

         2.สาร    B    อาจเป็นสารไม่มีสี จึงควรตรวจสมบัติตอไปโดยผ่านแสงอัลตราไวโอเลต
                                                          ่

         3.สาร    A และสาร        B   เคลือนที่ไปบนตัวดูดซับได้ใกล้เคียงกัน จึงควรทำาการทดลองซำ้าโดย
                                          ่
            เปลี่ยน
               ตัวทำาละลาย
          1.     ก เท่านั้น                 2.      ข เท่านั้น                 3.     ก และ ข                       4.
ข และ ค


5.        แร่ตัวอย่างหนัก     1.12 g.         นำามาวิเคราะห์หาปริมาณ       Fe (           ΙΙΙ ) โดยทำาปฏิกิรยากับ
                                                                                                            ิ
สารละลาย        KΙ
         ความเข้มข้น   1 mol / dm-3                     ปริมาตร   10 cm3       เกิดแก็ส      Ι 2 44.8 cm3 ที่
STP        ปฏิกิริยาเกิดขึ้นดัง

         สมการ      Fe ( ΙΙΙ ) + 2 Ι( aq ) → FeΙΙΙ ) + Ι 2 ( g )
                                                       (
         แร่ตัวอย่างนี้มีเหล็กในรูป Fe ( ΙΙΙ ) อยู่ร้อยละเท่าใดโดยมวล
   1. 10                                                    2. 25                                     3. 50
4. 100

6.ปฏิกิริยาระหว่างสารประกอบ             สมมติ       A    และ   B   เป็นดังสมการ

                                  A + 3B                 → 4C
           จากการทดลองเพื่อการทดสอบประสิทธิภาพของปฏิกิริยานี้ พบว่าร้อยละของผลได้ มีค่า                           75
%
            ถ้าต้องการเตรียมสารประกอบ               C 6        โมล จะต้องใช้   A      และ    B

                                                             A                         B
                                       1.                    1                         3
                                       2.                   1.1                       3.3
3.                1.5                  4.5
                                       4.                 2                    6

 7.    ข้อใดถูก
                            สูตรเคมี              นำ้าหนักสาร         จำานวนโมเลกุล        ชนิดของสารประกอบ

             1.           NO2                         2.3              0.05 x                     โคเวเลนต์
                                                                                                  โคเวเลนต์
             2.        N ( CH3)3                      1.18              1023                       ไอออนิก
             3.          NaCl                         5.85                   1.2                   ไอออนิก
             4.          H2SO4                        4.9            x 10 22

                                                                      2 x 1022
                                                                       0.10 x
                                                                        1023


 8.       โลหะ  A 2 mol ถูกยิงด้วยอนุภาค                    จนอิเล็กตรอนกระเด็นออกไปเกิดเป็น      A3+   ไอออน
 ร้อยละ      0.10
          อิเล็กตรอน ทีกระเดนออกไปมีจำานวนเท่าใด
                       ่
        1 . 1.8 X 1021                                                  2. 3.6 X 10         21

3. 1.2 X 1024           4. 3.6X 1024
 9. พิจารณาตารางข้อมูลต่อไปนี้
                             ΙE พลังงานไอออไนเซชัน           ( MJ / moI-1 )
ธาตุ      ΙE 1         ΙE 2 ΙE 3        ΙE 4      ΙE 5      ΙE 6 ΙE 7 ΙE 8           Ι E 9 Ι E 10 Ι E 11
  X       1.7         3.4 6.1           8.4       11.       15. 17. 92.              106
                                                  0         2    9    1              .4
  Y       0.5         4.6      6.9      9.6       13.       16. 20. 25.              28. 141 159
                                                  4         6    1    5              9     .4     .1
       ข้อสรุปใดผิด
       1. อิเล็กตรอนในระดับพลังงาน             n= 1       ของ   X   ต้องคายพลังงาน   90.15 MJ / mol
เพื่อจะไปอยูที่ระดับ
            ่
              พลังงาน     n =2
        2.     ผลต่างของระดับภพลังงาน          n=2    และ    n = 1       ใน   Y     จะมากกว่าใน   X
        3.     ธาตุ   X   เป็นธาตุหมู่เดียวกับ 53 Ι
        4.    สาประกอบระหว่าง      Y    กับ   X   เป็นสารประกอบไอออนิก


10.พิจารณาแผนภาพต่อไปนี้




รูปใดแสดงการจัดเรียงอิเล็กตรอนในสภาวะพื้นของอะตอมไม่ถกต้อง
                                                     ู
1. 1 และ                 2    เท่านั้น     2.   และ   3   เท่านั้น      3. 1        และ     3    เท่านั้น    4.
1 , 2 และ

11.                      X , Y และ Z ดังนี้
          กำาหนดข้อมูลของธาตุ
      Ι ธาตุ X มี ΙΕ 1 < ΙΕ 2 << ΙΕ 3
     ΙΙ ธาตุ Y มี เป็นธาตุหมู่เดียวกับ 13AI
    ΙΙΙ ไอโซโทปหนึ่งของธาตุ Z ไม่มีนิวตรอน
     สูตรของสารประกอบซัลไฟด์ของ X และ Y , Z ควรเป็นข้อใด
      1. X S Y2S3 Z2S           2. XS Y2S3 ZS         3. XS Y3S2 ZS
4. XS Y3S2 Z2S



12.  ธาตุสมมติ X2 . 17 Y และ 35Z มีสตรโมเลกุลเป็น
                                    ู                                  x2 Y2   และ   Z   2    ตามลำาดับ เกิด
สารประกอบไอออนิก
      กับโพแทสเซียม เมือพิจารณาผลการทดลองต่อไปนี้
                       ่
          Ι เมื่อนำาสารละลาย KX มาทำาปฏิกิริยากับ Y2 พบว่าไม่เกิดการเปลี่ยนแปลง
         ΙΙ เมือนำาสารละสาย KZ มาทำาปฏิกิริยากับ Y2 พบว่าจะได้ Z2 เกิดขึ้น
               ่
          ข้อสรุปใดถูกต้อง
      1. X เป็นตัวรีดิวซ์ที่ดกว่า Y และ Z
                             ี
      2. เมื่อผสมสารละสาย KY กับ X2 จะไม่มการเปลี่ยนแปลงใดเกิดขึ้น
                                                ี
      3. เวเลนซ์ อิเล็กตรอนของ X หลุดได้ง่ายกว่าเวเลนซ์อิเล็กตรอนของ Y-
                                   -
                                                                                             และของ     Z-
      4. เมื่อผสมสารละลาย KZ กับ X-2 จะเกิด Z 2 และ KX ขึ้น

13.   ในการละสายตัวของ
                                 238
                                       U92   ประกอบด้วยขั้นตอนต่าง ๆ      14    ขั้นตอน แต่ละขั้นตอนให้
อนุภาคต่าง
          ตามลำาดับดังนี้        .β βαα α α α β α β β β                                      และ     ผลผลิตในขั้น
ตอนที่   14   คือ
           ข้อใด
                                                   210                                   206
            1.      222
                           Rn
                          86                 2.     84 Po                        3.       82 Pb
      206
4.     76 Os


14.การเปรียบเทียบจำานวนอิเล็กตรอนคู่โดดเดียวของอะตอมกลางต่อไปนี้
                                          ่                                     ข้อใดถูก
   1. NH3>NO 3>ClO 4 -        -
                                                                                              2. NCl3>NO3-
   >ClF3
   3. ClO4->ClO-3>NO-3                                                                          4.
   ClF3>NCl3>ClO-3

15.สารประกอบทีเกิดจากการรวมตัวของธาตุหมู่ต่าง ๆ ต่อไปนี้ ข้อใดมีรายละเอียดถูกต้อง (เลขอะตอม
   ของธาตุทั้งหมดตำ่ากว่า 50 )
หมู่ของธาตุ
                      ที่เป็นองค์        อัตราส่วนอะตอม   จุดเดือด       การละลายนำ้า/สมบัติ
                      ประกอบ
            1.        I   กับ VI             1:2            สูง             ละลาย/เบส
                                                            ตำ่า
            2.       V    กับ VI             2:3            ตำ่า            ละลาย/กรด
            3.      II    กับ VII            1:2            สูง             ละลาย/กลาง
            4.       II   กับ IV             1:1                             ไม่ละลาย




16.กำาหนค่าอิเล็กโทรเนกาติวิตี (E.N) ของอะตอมบางชนิด
           อะตอม                 E.N
             Si                  1.90
              H                  2.20
              S                  2.58
             Br                  2.96
             Cl                  3.16

        สภาพมีขั้วของพันธะโควาเลนต์ต่อไปนี้ ข้อใดเรียงลำาดับจากมากไปน้อยได้ถกต้อง
                                                                            ู
1. H-Cl, H-Br, Si-S, Si-H                                                          2. H-Cl,
Si-S, Si-H, H-Br
3. H-Cl, H-Br, Si-H, Si-S                                                          4. Si-H,
Si-S, H-Br, H-Cl

17.กำาหนดพลังงานพันธะเฉลี่ย
       พันธะ              พลังงา               พันธะ          พลังงาน
                    รพันธะ(kJ/mol)                        พันธะ(kJ/mol)
       C-H                 415                O=O                  500
       C-C                 340                O-O                  140
       C=C                 610                C-O                  350
       C≡C                 840                O-H                  460
       C=O                 740


ปฎิกิริยาในข้อใดคายพลังงานมากที่สุด
                           7
      1. CH3-CH3+ O 2                   → 2CO2+3H2O
                           2
      2. CH2=CH2+3O2                    → 2CO2+2 H2O
5
        3. CH ≡ CH+ O 2                      → 2CO2+ H2O
                                 2
        4. CH3-CH-CH+3O2                            → 2CO2+3H2O

18.ไอออนหรือโมเลกุลใดมีรูปร่างโมเลกุลเหมือนกัน                 และมีสภาพมีขั้วของโมเลกุลชนิดเดียวกัน
   1. BeCl2(g)               CO2                                                                         2.   PCl5
   ClF5
   3. CCl4                   XeF4                                                                        4. BCl3
   PCl3

19.ถ้า O,P,Q      และ       R   เป็นธาตี่มีเลขอะตอม     7,11,17        และ    20    ตามลำาดับ สูตรของสารประกอบ
      ข้อใดเป็นไปได้
   1. OQ                        2. PO                                                    3. Q2P3
   4. R3O2
20.C5H10 เป็นสารประกอบไฮโดรคาร์บอนที่มีหลายไอโซเมอร์                         ไอโซเมอร์เหล่านี้มีสตรโครงสร้างเป็นแบบ
                                                                                                 ู
      วงโซ่ตรง และโซ่กิ่ง ข้อใดเป็นจำานวนไอโซเมอร์ทถูกต้องทั้ง
                                                   ี่                         3   แบบ


                                 แบบวง                          โซ่ตรง                         โซ่กิ่ง

                   1.                2                             3                             2
                   2.                3                             2                             3
                   3.                3                             3                             2
                   4.                4                             2                             3

21.     สาร   A    ประกอบด้วยธาตุ    3   ชนิดคือ   X.Y   และ   Z   สาร   A    เป็นสารที่เสถียรและมีโครงสร้างดังนี้




         ธาตุ      X,Y,Z        ควรเป็นธาตุดังข้อใด


                            X                            Y                               Z
              1.        N                           P                              Cl
              2.        O                           S                              Cl
              3.        P                           C                              F
              4.        N                           C                              H

22.       สารประกอบในข้อใดที่ทกสารมีหมู่คาร์บอนีลอยู่ในโมเลกุล
                              ุ
              ก.    CH3COCH2COOCH3,CH3CH2CH2CHO , CH3CH2COCH2CH3
ข.   CH3COCH2COOCH3, CH3OCH3, CH3CH2OCH2CH2OH

     ค.




         ง.




23.แก๊สผสมประกอบด้วย C2H6 , C 2 H4                        และ   C 2 H2 เมื่อเผาไหม้อย่างสมบูรณ์จะต้องใช้แก๊ส
   O2 อย่างน้อยกี่
   โมลและเกิด CO2 กี่ dm ที่ STP
                        3




        ใช้   O2(mol)                  เกิด   CO2(dm3)
    1.                        6                67.2
    2.                        9               134.4
    3.                                         89.6
    12                                        224.0
    4.
    15

                                                      ตัวเร่งปฏิกิริยา
24.โพรพานาไมด์ + H 2O                                                    สาร   A +    สาร   B
                                                            ความร้อน
         สาร B เปลียนสีกระดาษลิตมัสจากสีแดงเป็นสีนำ้าเงิน
                    ่
          พิจารณาข้อความต่อไปนี้
   1.    สาร    B    คือเอมีน
   2.    หมู่ฟังก์ชันของสาร         A     คือ   -OH
   3.    สาร    A     ทำาปฏิกิริยากับโลหะโซเดียมเกิดแก๊สไฮโดรเจน
   4.    สาร    A     ทำาปฏิกิริยากับกรดเอทาโนอิกโดยมีกรดซัลฟิวริกเป็นตัวเร่งปฏิกิริยาได้โพรพิลเอทาโน
         เอต


25.สาร A,B          และ   C       เป็นสารประกอบไฮโดรคาร์บอน เมื่อนำาสาร         A    ทำาปฏิกิริยากับสารละลาย
   โพแทสเซียมเปอร์แมงกาเนต และนำาสาร                  B    และ   C   ทำาปฏิกิริยากับสารละลายโบรมีนในที่สว่างจะ
   เกิดปฏิกิริยา ดังสมการ
                          A + KMnO4 + H 2O                                →       C 3H 6O2
                                   B + Br2                                      →      C 3H 6Br
                                   C + Br2                                     →     C3H5Br + HBr
    ข้อต่อไปนี้ข้อใดถูกต้อง
    1.    สาร   A     มีสตรโมเลกุล
                         ู                    C 3H4
    ข.        สาร  B      และ      C    เป็นไอโซเมอร์กัน
     ค.         สาร C     ฟอกสีสารละลายโพเเทสเซียมเปอร์แมงกาเนต
ง.   สาร A 1             mol       เกิดปฏิกริยาการเผาไหม้อย่างสมบูรณ์ได้แก๊ส
                                                        ิ
คาร์บอนไดออกไซด์และนำ้าอย่างละ
                           3    โมล


               1.       ก และ ข เท่านั้น              2.     ค และ ง เท่านั้น                 3.   ก, ค และ ง
4.   ก ,ข และ ค




 26.สาร X        สามารถสลายตัวได้ดังสมการ
                           3X →         5Y + 6 Z
            เมื่อวัดความเข้มข้นของสารละลาย x ในขณะที่เกิดปฏิกิริยาสลายตัวพบว่าได้ข้อมูลดังตาราง
 ต่อไปนี้


                  เวลา (วินาที)         (X) (mol / dm3)
                         0.00                1.00
                         5.00                0.850
                        10.00                0.750
                        15.00                0.700
                        20.00                0.670

          ถ้าอัตราการเกิดปฏิกิริยาในช่วงเวลา     15    ถึง   20    วินาที มีค่าคงที่ และมีค่าเท่ากับอัตราการ
 เกิดปฏิกิริยาเฉลี่ย
            ในช่วงนี้ ความเข้มข้นของสาร     X       mol / dm3
                                                 ในหน่วย                        ทีเวลา
                                                                                  ่      17   วินาที มีค่าเท่าใด
            1. 0.670                             2. 0.688                                             3.
 0.690                                     4. 0.700
 27.เปรียบเทียบสารอินทรีย์แต่ละคู่ตอไปนี้
                                   ่            สารใดละลายนำ้าได้ดีว่ากัน
    ก. กรดเอทาโนอิกกับบิวทานอล                                 ข. กรดบิวทาโนอิกกับกรดโพรพาโนอิก
    ค. บิวทานอลกับเพนทานอล                                      ง. โพรพาโนนกับโพรพานาล
                    ก                       ข                          ค               ง
       1.    กรดเอทาโนอิก             กรดโพรพาโนอิก                บิวทานอล        โพรพาโนน
                                      กรดโพรพาโรอิก               เพนทานอล         โพรพาโนน
       2.    กรดเอทาโนอิก             กรดบิวทาโนอิก                บิวทานอล        โพรพานาล
       3.    บิวทานอล                 กรดบิวทาโนอิก               เพนทานอล         โพรพานาล
       4.    บิวทานอล
28.พิจารณารูปต่อไปนี้




        การเปรียบเทียบพลังงานก่อกัมมันต์ และการบอกชนิดของปฏิกิรยา
                                                               ิ       I   และปฏิกิริยา   II   ในข้อใดถูก
ต้อง
        พลังงานก่อกัมมันต์ของปฏิกิริยา      ปฎิกิริยาดูดความร้อน   ปฎิกิริยาคายความร้อน
       1.              I = II                         I                       II
       2.              I > II                         I                       II
       3.              I < II                        II                        I
       4.                            I               II                        I
       = II


29.     ปฏิกิริยาต่อไปนี้เกิดในสถานะแก๊ส    และอัตราการเกิดปฏิกิริยาขึ้นกับความเข้มข้นของทั้งสาร     A,
และสาร   B
                  A + B→ C
               ก.- สาร A 1 mol ทำาปฏิกิริยากับสาร B 1 mol ในภาชนะขนาด 1 dm
                                                                           3
        ระบบ
               ข. – สาร A 2 mol ทำาปฏิกิริยากับสาร B 2 mol ในภาชนะขนาด 2 dm
                                                                             3
       ระบบ
       ระบบ    ค. – สาร A 0.2 mol ทำาปฏิกิริยากับสาร B 0.2 mol ในภาชนะขนาด
0.1 dm3
       จากข้อมูลข้างต้น จงหาว่า
Ι Ι.          ระบบใดได้สาร   C   มากที่สุดภายในเวลาที่กำาหนด
   ΙΙ.            ระบบใดมีอตราการเกิดปฏิกิริยาสูงที่สูง
                           ั


                                 Ι             ΙΙ
                  1.             ก             ข
                                 ข             ค
                  2.             ค             ข
                  3.             ค             ค
                  4.
30. ทีอุณหภูมิ 30OC
       ่                      ปฏิกิริยา   CO(g) + Cl2(g)                            COCl2(g) +
108 KJ มีความสัมพันธ์
          ระหว่างความเข้มข้นระหว่างเวลาเป็นดังกราฟต่อไปนี้




หลังจากระบบเข้าสู่สมดุลที่   30OC     แล้วถ้าเพิ่มอุณหภูมิเป็น   50OC   กราฟของปฏิกิรยาควรดำาเนินต่อไป
                                                                                     ิ
อย่างไร




31.แก๊ส X และ Y ทำาปฏิกิริยาได้แก๊ส Z ดังสมการ
   . X(g) + 3Y (g)                             2Z(g)
    ถ้าให้ X และ Y อย่างละ 0.1 mol ทำาปฏิกิริยากันในกระบอกสูบขนาด 500 cm
                                                                        3

จนเข้าสู่สภาวะสมดุล
      ข้อใดถูกต้อง
    1. เมือขยายปริมาตรของกระบอกสูบจะได้ Z น้อยลง
           ่
ΙΙ 2.ค่าคงทีสมดุลของปฏิกิริยานี้แปรผันโดยตรงกับความเข้มข้นของ Z และแปรผกผันกับ X และ Y
               ่
       3. ที่ภาวะสมดุลจะมีแต่แก๊ส X และ Y ในกระบอกสูบ
ΙΙΙ 4. ถ้าเพิ่มปริมาณสารตั้งต้น Y เป็น 0.3 mol ทีสภาวะสมดุลใหม่ X และ Y จะทำา
                                                     ่
    ปฏิกิริยากันหมดพอดี
32.   ปฏิกิริยาข้อใดไม่ใช่ปฏิกิริยากรด    -    เบส
          1.

          2.


          3. 2CH3COOH + 2Na → 2CH3COONa + H2
          4. CH3COOH + NH3 → CH3COONH4

33.   พิจารณาปฏิกิริยาสมมติตอไปนี้
                            ่
                      A + B                                 2C
         จากการทดลองได้ข้อมูลความเข้มข้นเริ่มต้นและความเข้มข้นที่สภาวะสมดุลของสารต่างๆใน
ปฏิกิริยานี้

  การทดลองที่       ความเข้มข้นเริ่มต้น   mol / dm3            ความเข้มข้นที่สภาวะสมดุล     mol /
                                                                              dm      3

                      [ A]        [ B]               [ C]         [ A]         [ B]          [ C]
          1.  0.04      0.04            0      0.02                             M            N
          2.  0.03      0.02            0       X                               y            z
   ถ้าการทดลองที่ 1 และ 2 ที่ทำาอุณหภูมิ 30
                                            o
                                              C ค่า Z                        จะเป็นเท่าใด
    1. 0.010                       2. 0.012                                      3. 0.020
4. 0.024

34.       นำ้าส้มสายชูตัวอย่างมีกรดอะซีตกอยู่รอยละ
                                        ิ     ้      4.8/   โดยมวล       ปริมาตร ในการไทเทรตนำ้าส้ม
สายชูกับสารละลายโซเดียมไฮดรอกไซด์พบว่านำ้าส้มสายชู 10 cm
                                                         3
                                                                         ทำาปฏิกิริยาพอดีกับสารละลาย
NaOH 20 cm3 จงหาความเข้มข้นของสารละลาย NaOH                              ในหน่วยร้อยละโดยมวล   /
ปริมาตร
1. 1.0                                           2. 1.6                                             3.
2.0                                              4. 2.4

35.  สารละลายกรด        HA    ความเข้มข้น      1 × 10-3 mol / dm3          ปริมาตร    10 cm3   ร้อยละ
การแตกตัวของกรด
      เท่ากับ    10     สารละลายนี้มี     pH    เท่าใด และมีค่า   Ka     โดยประมาณเท่าใด


                      pH                        K a (ประมาณ)
      1.               3                          1 × 10-3
      2.               4                         1.0 × 10-5
      3.               5                         1.0 × 10-4
      4.               6                         1.0 × 10-5
36.    จากข้อมูลอินดิเคเตอร์และช่วง             pH      ของการเปลี่ยนสี ดังตาราง


        อินดิเค                       ช่วง pH             สีที่เปลี่ยน
        เตอร์
                       ก         3.2- 4.4              แดง – เหลือง
                  ข                                    แดง – เหลือง
                  ค                4.2- 6.3           เหลือง – นำ้าเงิน
                  ง                6.0– 7.6            เหลือง – แดง
                                 6.8 – 8.4
             ข้อใดแสดงอินดิเคเตอร์ที่เหมาะสมสำาหรับการบอกจุดยุติของการไทเทรต
            1.        ไทเทรต     NH4OH                             ด้วย HCI  ใช้อินดิเคเตอร์ ค
            2.        ไทเทรต     HNO3                              ด้วย NaOH ใช้อินดิเคเตอร์ ง
            3.        ไทเทรต     CH3COOH                         ด้วย NaOH ใช้อินดิเคเตอร์ ก
            4.        ไทเทรต     NH4O H                           ด้วย HCN   ใช้อินดิเคเตอร์ ข


37.          สาร      A    และ    B     คูใดเมื่อผสมกันได้สารละลายบัฟเฟอร์
                                          ่


                           A    สาร                                    B สาร
        1.       CaCO3 หนัก 40 g                               HNO3 0.1 mol
        2.       NH4OH 1 mol /                                  HCl 0.1 mol
                 dm3 100 cm3                                   NH4Cl 0.2 mol
        3.       CH3COOH 0.1 mol                               NaOH 1 mol /
        4.       H3PO4 1 mol /                                  dm3 50 cm3
                 dm3 50 cm3

38.         สาร       A     ประกอบด้วยฟอสฟอรัสและคลอรีน นำาสาร            A 13.75               กรัม ไปทำาปฏิกิริยา
กับนำ้าจน                                   ปฏิกิริยาสิ้นสุด   ได้กรดฟอสฟอริก 9.8 กรัม          และกรดไฮโดรครอริก
10.95 กรัม                สาร    A     ประกอบด้วย                คลอรีนร้อยละเท่าใดโดยมวล
1. 22.5                                          2. 25.8                                      3. 53.3
4. 77.5

39. เมื่อผสมสาร 2 ชนิดเข้าด้วยกันในขวดใบที่ 1 แล้วผ่านแก๊สที่เกิดขึ้นลงในสารละลาย Ca
(OH)2 ซึ่งอยู่
      ในขวดใบที่ 2 จะทำาให้สารละลายขุ่น เมื่อนำาสารละลายผสมในขวดใบที่ 1 ไประเหยจน
แห้ง จะได้ของ
       แข็งสีขาว สารผสมในข้อใดเป็นไปได้
            ก.
            HNO3 (aq) + CuCO3 (s)                                                                         ข..
CH3COOH(aq) + NaHCO3(a)
       ค.HCl (aq) + Na2 CO3 (aq)                                                                          ง.
NH2 CONH2 (aq) + H2O(l)มียูรีเอสอยูด้วย
                                    ่
      1. ก และ ข เท่านั้น 2. ข และ ค เท่านั้น                                  3.   ก   ,   ข และ ค เท่านั้น     4.
ก, ข , ค และ ง
40.กำาหนดสูตรเคมีตอไปนี้ CaF2 . 3Ca3(PO4)2 ; Sb2S3 . 3H2O; Na2ZrSiO5
                  ่
ถ้าเลขออกซิเดชันของ
      Si = 4 พิจารณาเลขออกซิเดชันในข้อต่อไปนี้
       ก. เลขออกซิเดชันของ P สูงกว่า +3 และของ Sb ตำ่ากว่า +5
      ข. เลขออกซิเดชันของ Sb สูงกว่า +2 และของ Zr ตำ่ากว่า +1
      ค. เลขออกซิเดชันของ Zr   สูงกว่า +1 และของ P เท่ากับ +5
      ง. เลขออกซิเดชันของ Zr    เท่ากับ 0      และของ Sb สูงกว่า +3
      ข้อใดผิด
        1.     ก และ ข                    2.   ก และ ค             3.   ข และ ง                   4.   ค
และ ง


41.   นักเรียนผู้หนึ่งละลายคลอไรด์ของธาตุ        M    ปริมาณ   0.05 mol     ในนำ้ากลั่น แล้วปรับป
ปริมาตรให้เป็น
        500 cm3             จากนั้นนำาสารละลายที่ได้ปริมาตร   12.5 cm3    ไปทำาปฏิกิริยาพอดีกับ
สารละลายซิลเวอร์ไน-
           (AgNO3)
        เตรด                    เข้มข้น   0.10 mol dm3         ได้ตะกอนซิลเวอร์คลอไรด์ สารประกอบ
คลอไรด์ขอองธาตุ M
      มีสตรเป็นอย่างไร
         ู
   1.MCl                     2. MCl2                               3. MCl3
4. MCl4
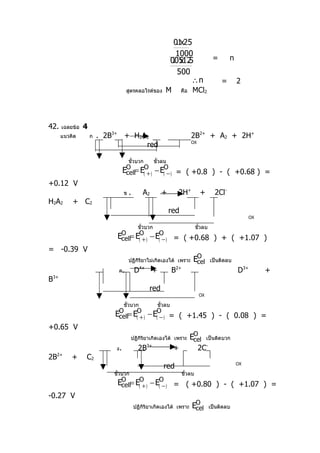
Ις
ς กำาหนดค่าศักย์ไฟฟ้ามาตรฐาน
      ปฏิกิริยาครึ่งเซลล์                                       Eo (V)
    A2 + 2H+ + 2e- →      H 2 A2                                                       +0.68
    3+
   B + e   -
                →       B2+

     +0.80
  C2 + 2e- →        2C-
+1.07
  D4 + e-       →         D3+                                                           +1.45

 ปฏิกิริยาใดต่อไปนี้เป็นปฏิกิริยาที่เกิดขึ้นได้เอง


      ก.     2B3+ + H2 A2                                      2B2+ + A2 + 2H+

      ข.     A2 + 2H+ + 2C-                                     H 2 A 2 + C2

      ค.     D4+ +          B2+                                 D3+ +       B3+

      ง.     2B3+ 2C-                                           2B2+ +       C2
1.     ก และ ข                       2.   ข และ ค                      3.   ค และ ง
4.     ก และ ค



43. พิจารณาปฏิกิริยา Cr (OH)3 + ClO-                      CrO2-4 + Cl- +
H2O (สมการยังไม่ดล) จะต้อง
                   ุ
     ใช้ NaOCl กีกรัมเพื่อทำาปฏิกิริยาพอดีกับ Cr (OH)3 1 mol
                      ่
     1. 74.5                  2. 77.2                  3. 111.8
4.223.5


44.     พิจารณาสูตรโครงสร้างของผงซักฟอก             2    ชนิดต่อไปนี้




            ข้อความใดผิด
       1.   ผงซักฟอกมีประสิทธิภาพซักล้างในนำ้ากระด้างดีกว่าสบู่ เพราะหมู่                            ช่วยลด
            ความกระด้างของนำ้า
       2.   ระบบเอนไซม์ขอองจุลินทรีย์สามารถย่อยสลายผงซักฟอกชนิด ข ได้อย่างดี จึงไม่กอให้เกิด
                                                                                    ่
            ปัญหาต่อสภาวะแวดล้อม
       3.   ระบบเอนไซม์ของจุลินทรีย์ไม่สามารถย่อยสลายผงซักฟอกชนิด ก ได้ จึงก่อให้เกิดปัญหาต่อ
            สภาวะแวดล้อมอย่างมาก
       4.   สารฟอตเฟตในผงซักฟอกทีอยู่ในนำ้าทิ้ง เมือปะปนในแม่นำ้าลำาคลองทำาให้สาหร่ายและวัชพืชเจริญ
                                     ่              ่
            งอกงามและแพร่พันธุ์อย่างรวดเร็ว จึงก่อให้เกิดปัญหาต่อสิ่งแวดล้อม


45.     กำาหนดให้
                X2+ (aq ) + 2e-  X(S)
                                →                           EO=+0.30 V
                Y3+(aq)+3e-  Y(S)
                            →                               EO=+0.90

                 ถ้านำาครึ่งเซลล์X|Y        (aq)มาต่อกับครึ่งเซลล์Y|Y3+ (aq)
                                       3+
                                                                                     ที่ภาวะมาตรฐานข้อใดถูก
ต้อง
                              แคโทด              แอโนด           ตัวออกซิไดส์           ตัวรีดิวซ์

              ςΙ 1.         Ξ Y                    X                    X2+                  Y
              ςΙΙ 2.        ΞΙ Y                   X                    Y3+                  X
              ςΙΙΙ3.        ΞΙΙX                   Y                    Y3+                  X
              ΙΞ 4.            X                   Y                    X2+                  Y

46. ปัจจัยในข้อใดที่ทำาให้โปรตีนแปลงสภาพ
ก. การให้ความร้อน        ข. ตัวทำาละลายอินทรีย์        ค.     ไอออนของโลหะหนัก ง. การใช้กรด
      และเบส
      ข้อใดถูกต้อง
      1.  ก และ ข เท่านั้น         2.     ค และ ง เท่านั้น         3.    ก เท่านั้น        4.     ก   ,   ข   ,   ค
      และ ง



47.        กำาหนดพอลิเมอร์ มีสูตรดังนี้




                  ข้อใดถูก

                                   พอลิเเมอร์                     ชนิด                ปฏิกิริยาการเกิด

                     1.                   ก              โฮโมพอลิเมอร์                    การควบแน่น
                                          ข              โฮโมพอลิเมอร์                    การควบแน่น
                     2.                   ค               โคพอลิมอร์                        การเติม
                     3.                   ง               โคพอลิเมอร์                       การควบ
                     4.

48.   ข้อใดเป็นการเลือกปฏิบติได้เหมาะสมทีสุด
                           ั             ่
      1.   เก็บขวดนำ้าพลาสติกไม่ใช่แล้วไว้ใส่นำ้ามันเบนซิน
      2.   ใช้ถ้วยชามที่ผลิตจากพอลิเอทิลีนอุ่นอาหารในเตาไมโครเวฟ
      3.   ใช้ภาชนะที่เคลือบด้วยพอลิเตตระฟลูออโรเอทิลีนในการทอดปลา
      4.   เก็บรวบรวมถ้วยชามประเภทเมลานีนที่ชำารุดไว้เพื่อการนำากลับไปใช้ใหม่


49.การถลุงแร่ในข้อใดที่มีหลักการในการถลุงเหมือนกัน
   ก. สังกะสี          ข. แคดเมียม            ค. ดีบก
                                                    ุ                           ง.    พลวง
   1. ก และ ข           2. ข และ ค             3. ก ,               ข และ ง          4.   ก   ,   ค และ ง


50.ข้อใดต่อไปนี้ ไม่ถกต้อง
                     ู
      1.มลพิษทางนำ้าที่เป็นสารจำาพวกฟอตเฟตได้มาจากการใช้ปุ๋ยเคมี ยากำาจัดวัชพืช และผงซักฟอก
   ΞΙΙΙ2.สาร CFC และ DDT เป็นสารมลพิษที่มฮาโลเจน เป็นองค์ประกอบแต่สารไดออกซินเป็น
                                                 ี
           สารมลพิษที่ไม่มีฮาโลเจน
      ΞΙς3.   แก๊สคาร์บอนไดออกไซด์ปริมาณมากเกิดจากการเผาไหม้เชื้อเพลิงเป็นสาเหตุหลักของการเกิด
           ปรากฏ
               การณ์เรือนกระจก
        4.โอโซนเป็นแก๊สที่เป็นพิษเมื่ออยู่ในบรรยากาศระดับตำ่าแต่มีประโยชน์ในการป้องกันรังสี
อัลตราไวโอเลต
        เมืออยู่ในบรรยากาศระดับสูง
           ่
ตอนที่     2          ข้อ   1–8    เป็นข้อสอบอัตนัย
 1. X       และ Y เป็นธาตุ        2     ชนิด หนึ่งโมเลกุลของ    X    มี   4    อะตอม และมีมวลโมเลกุล        124
       หนึ่งโมเลกุลของ
       Y       มี   2   อะตอม และมีมวลโมเลกุล      32 XY43- 1.505 × 1023                     ไอออนคิดเป็นนำ้าหนักกี่
       กรัม


  2.     ในการสังเคราะห์แสงขอสาหร่ายสีเขียวพบว่าใช้                  CO2 6 × 10-3 mol / hour                   ถ้าการ
สังเคราะห์แสงให้
           ผลิตภัณฑ์เป็นแป้ง           ( C6 H10 O5 )     เท่านั้น จะต้องใช้เวลากี่ชั่วโมงในการสังเคราะห์แสง
เพื่อให้ได้แป้ง
               หนัก     1.62    กรัม


3.   สารประกอบชนิดหนึ่งประกอบด้วย C , H                        และ   O    มี   C   ร้อยละ   39.13     และ   O   ร้อยละ
52.17 สาร
       ประกอบนี้มีสตรเอมิรคัลและสูตรโมเลกุลเหมือนกัน เมือนำาสารประกออบนี้หนัก
                   ู      ิ                             ่                                         6.90 g
ละลายใน
           เอทานอลจำานวนหนึ่งหาจุดเดือดของสารละลายได้                80.90oC        ถ้าจุดเดือดของเอทานอลเท่ากับ
78.50 C    o

      และค่า            Kb   ของเอทานอลเท่ากับ     1.22oC mol-1kg-1                จงหานำ้าหนักเป็นกรัมของเอานอล
ในสารละลาย


4.สารอินทรียชนิดหนึ่งมีธาตุ N เป็นองค์ประกอบ เมือสลายสารอินทรีย์นี้ 1.5 g แล้วผ่านแก๊ส
            ์                                   ่
NH3 ทีได้ลงในสารละลาย HCl เข้มข้น 0.10 mol dm-3 ปริมาตร 50 cm3 นำาสารละลาที่
       ่
ได้มาไทเทรตด้วยสารละลายมาตรฐาน NaOH เข้มข้น 0.1 mol dm
                                                                      -3
                                                                         ปรากฏว่าใช้ไป 30
cm จงหาร้อยละโดยมวลของไนโตรเจนในสารละลาย
    3



5.ถ้าต้องการเตรียมสารละลาย CuSO4 เข้มข้น 0.1 mol dm-3 ปริมาตร 500 cm3 จาก
CuSO4 . 5H2O ซึ่งมีความบริสุทธิ์ร้อยละ 99.8 จะต้องใช้ CuSO4 . 5H2O หนักกีกรัม
                                                                         ่


6.นำ้ามันชนิดหนึ่งประกอบด้วยกรดไขมันร้อยละ 21.4 โดยมวล                         โดยเป็นกรดไขมัน   3   ชนิดคือ   A,B
และ C ซึ่งมีอตราส่วนจำานวนโมลเป็น 2 : 1 : 1 ตามลำาดับ
              ั


                      กรด             สูตรทั่วไป       มวลโมเลกุล
                        A          C15 H29                254
                        B          COOH                   280
                        C      C17 H31 COOH               282
                                   C17 H33
                                   COOH
ถ้าพันธะคู่     1   พันธะ ทำาปฏิกิริยากับ   2     1   โมเลกุล นำ้ามัน   100 g     จะทำา
ปฏิกิริยาพอดีกับ      2   กีกรัม
                            ่


7.   นำาแร่พลวงเงินที่มี    Sb2S3 34%             หนัก   200   กรัม มาเผาให้ร้อนจัด        (   อย่างแรง   )     จน
กำามะถันในแร่พลวง
      เงินเปลี่ยนเป็น      SO2 จนหมด         จงคำานวณหาปริมาตรของ        SO2 ที่เกิดขึ้นเป็นลูกบาศก์เดซิเมตร          ที่
STP


8.   นักเรียนคนหนึ่งทำาการทดลองหาร้อยละโดยมวลของแป้งในยาลดกรด ซึ่งมีส่วนผสมของ                            MgCO3
      และแป้งดังนี้
      1.     ชังยาลดกรด
               ่                 1.00 g      บดให้ละเอียดละลายในนำ้ากลั่น      20 cm3
Ξς เติมสารละลาย HCI เข้มข้น 1.00 mol dm                        -3
                                                                     ปริมาตร   20 cm3          ลงในสารละลายในข้อ
   1 นำาไปอุ่น
     3. กรอง ล้างภาชนะด้วยนำ้ากลั่นปริมาณเล็กน้อย                   แล้วเทชะบนกระดาษกรอง        2- 3          ครั้ง
     4. ทำาสิ่งทีกรองได้ให้มีปริมาตร 100 cm 3
                   ่                                                 ในขวดวัดปดริมาตร
     5. ปิเปตสารละลายในข้อ 4 มา 10cm 3                              ไทเทรตด้วยสารละลาย         NaOH       เข้มข้น
0.20 mol dm-3 ที่
           จุดยุติใช้สารละลาย NaOH 5.0 cm
                                               3

            จงคำานวณหาร้อยละโดยมวลของแป้งในยาลดกรด
ตอนที่   1
  1.    เฉลยข้อ     3
                   แนวคิด        ถูก เพราะปัจจัยที่มีผลต่อ ความดันไอของของเหลว คือ
                            1.   แรงยึดเหนี่ยวระหว่างโมเลกุลของของเหลวความดันไอของของเหลวเป็นสัด
                                 ส่วนกลับแรงยึดเหนี่ยวระหว่างโมเลกุลของของเหลว
                            2.   อุณหภูมิ ความดันไอของของเหลว เป็นสัดส่วนตรงกับอุณหภูมิ
        2     เฉลยข้อ   2
               แนวคิด ให้สาร     A, B    และ   C   ต่างใช้จำานวน   1 mol     ละลายนำ้าที่ปริมาตร    100
cm3

 สารในนำ้า         ความร้อนของการ                                   เหตุผล
                        ละลาย
      A              ดูดพลังงาน                พลังงานไฮเดรชัน น้อยกว่าพลังงานแลตทิช            =
                     ดูดพลังงาน
      B              ดูดพลังงาน                              750-745 = 5
      C                                         พลังงานไฮเดรชัน มากกว่าพลังงานแลตทิช            =
                                                            590-550 = 40
                                            พลังงานไฮเดรชัน น้อยกว่าพลังงานแลตทิช           700 -
                                                      690 = 10
                การเปรียบเทียบอุณหภูมิของแต่ละสารละลาย B > A > C
          3. เฉลยข้อ 2

                                                                                                M
            แนวคิด สมมติให้ความหนาแน่นของตัวทำาละลาย          X = x g/cm3            สูตร   d
                                                                                                V
M = dV
                     X 100 cm3
                  ตัวทำาละลาย                      มีมวล   = 100 X g.           และตัวทำาละลาย      X 50
cm3
       มีมวล   = 50X g.
0.2
                สารละลาย Y ใน X มีความเข้มข้น =  (100X )                                 =
                                                         Kg
                                                 1000 
2
  mol / kg
X
                                      สูตร                  ∆Tf = K f × m
                                                                                    2
                                      แทนค่า   (5.5 – (-4.3) ) =             Kf    × 
                                                                                    X
               สารละลาย    Z     ใน    X
                                                             m1 × 1000
                          สูตร                              ∆Tf =      Kf ×
                                                             m 2 × M.W 1
                                                                        8.4 × 1000
                          แทนค่า (5.5 – (-4.3 ) )           = K f × ( 50X× M.W
                                                                          )        1
                                              2             8.4 × 1000
                         แต่             Kf ×     = K f × ( 50X× M.W
                                                              )
                                              X                        1
                                                                            1000
                                                         Z = 8.4 × 50M.W จะได้
                                                                                 1
M. W 1 = 84
                     หาสูตรเอมพิริคล
                                   ั
                                                             85.71 14.29
                                      C:H             =           :                โดยมวล
                                                              12     1

                                                                             7.14 14.29
                                                    C:H           =              :      โดยโมล
                                                                             7.14 7.14

                                                    C:H       =               1.00 :           2.00       โดยโมล
                                               สูตรเอมพิรคัลของ Z
                                                         ิ                 คือ C1 H2
                                        ให้สตรโมเลกุล ( CH2 )n
                                            ู
                                                       มวลโมเลกุลของ    Z = 84
                                                                       (12+2 ) = 84
                                                                            ∴n = 6
                                                       สูตรโมเลกุล   ( CH2 )6      จะได้   C6 H12
4.   เฉลยข้อ    4
     แนวคิด                    จากข้อมูลการทดลอง สรุปได้ว่า
                         1.    ทีจุด Y สารตัวอย่าง
                                 ่                        (A+B)           แยกได้   1   แถบ ซึ่งเคลื่อนที่ได้ระยะ
                               ทางเท่ากับ
                                       สาร     A    บริสทธิ์ จากจุด
                                                        ุ             X    ดังนั้น สาร     B   อาจเป็นสารไม่มีสี
จึงควรตรวจสมบัตต่อ
               ิ
                                       ไปนี้ด้วยการผ่านแสงอัลตราไวโอเลต
                                               2.     สาร   A   และสาร      B   เคลื่อนที่ไปบนตัวดูดซับได้ใกล้
เคียงกันมาก จึงเห็นเป็น
                                       แถบเดียว จึงควรทำาการทดลองซำ้าโดยเปลี่ยนตัวทำาละลาย
5. เฉลย    ไม่มีคำาตอบ
แนวคิด            เขียนสมการแสดงปฏิกริยาพร้อมดุล
                                        ิ
                              แร่ตัวอย่าง    1.12 g               KI ( aq ) 1 mol . dm-3
10 cm3
                                        ↓                                 ↓
                               2Fe (aq)
                                     3+
                                                                         2I –(aq)
→ 2Fe 2 + (aq) + I 2 (aq)
                                     ↓                                    ↓
↓
                                                                        1 × 10 
                                        X g                                    mol
                                                                        1000 
44.8 cm3
                                    ↓
↓
                                 X
                                  mol
                                  56 
    44.8     
             mol
 22.4 × 1000 
                                         จากขัอมูลที่โจทย์ให้มากำาหนดทั้งจำานวนโมลของสารตั้งต้น    KI
และจำานวนโมลของ
                                  ผลิตภัณฑ์     I 2 ในการคำานวณจะต้องยึดเอาจำานวนโมลของผลิตภัณฑ์
I 2 เป็นหลัก
                                  กล่าวคือ    KI จำาถูกใช้ทำาปฏิกิริยาหมดหรือไม่กตาม I 2 ต้องเกิดขึ้น
                                                                                 ็
กับจำานวน   44.8
                                 cm3 STP          อย่างแน่นอน จึงใช้สารนี้เป็นหลักในการคำานวณ ดังนี้
                                                             3+
                                                          โมล
                                                            Fe     2
                                  จากสมการ                       =
                                                           โมลI2   I


                                                              X
                                                               mol
                                                               56           2
                                                                            =
                                                              44.8          I
                                                                      mol
                                                          22.4 × 1000 

       2 × 44.8 × 56
∴X =                 = 0.224g
       22.4 × 1000
                                                แร่ตัวอย่าง   1.12 g   มีเหล็กในรูป    Fe 3 + = 0.224g
                                                แร่ตัวอย่าง   100 g    มีเหล็กในรูป
         0.224 × 100
Fe 3 + =             = 20g
            1.12
                                                                                  แร่ตัวอย่างมีเหล็ก
= 20% โดยมวล
6.เฉลยข้อ 4
        แนวคิด       สมการของปฏิกิริยา ดังนี้
A + 3B                                                4C
                           ผลได้ของสาร    c   ที่คำานวณได้จากสมการของปฏิกิริยาเป็นผลได้ตามทษฏีของ
           สาร   C=X mol
                                                                             ผลได้จริง
                                         ร้อยละของผลได้             =                            x 100
                                                                         ผลได้ตามทษ ฏี
                                        6
                                 75 =      x100
                                       X
                                         6 × 100
                                 ∴X =                               = 8 mol
                                            75
                                       โมลA                         1                    โมลA   1
                              จากสมการ          =                           แทนค่า            =            จะได้สาร
                                       โมลC                         4                      8    4
A = 2mol
                                                         โมลB                 1                    โมลB   4
                                                                        =              แทนค่า           =
                                                         โมลC                 4                      8    3
จะได้สาร   B = 6mol

            7. เฉลยข้อ 2
                                                                    2.3
                 แนวคิด            ข้อ   1    ผิด       NO2    มี       = 0.05mol เป็นสารประกอบโคเวเลน
                                                                    46
ต์


                                                                        NO2 1 mol =             มีจำานวน   =
     6.02 × 10 23 โมเลกุล
                                                                        NO2          0.05 mol =      มีจำานวน
                   23
         6.02 × 10 × 0.05
     =
                  1

     = 0.301 × 10 23 โมเลกุล
                                                                                 1.18 
                                             ข้อ    2    ถูก   N (CH 3 ) 3 มี =        = 0.02mol เป็น
                                                                                 59 
     สารประกอบโคเวเลน
                                                                        N (CH 3 ) 3 1 mol มีจำานวน
     = 6.02 × 10 23 โมเลกุล
                                                                        N(CH 3 )         1 mol      มีจำานวน
                   23
         6.02 × 10 × 0.02
     =
                  1

     = 1.204 × 10 23 โมเลกุล
                                                                                     5.85
                                              ข้อ   3      ผิด      NaCl มี               = 0.1mol เป็น
                                                                                     58.5
     สารประกอบไอออนิก
NaCl มีจำานวน = 6.02 × 10 23
     โมเลกุล
                                                                     NaCl 0.1 mol มีจำานวน
         6.02 × 10 23 × 0.1
     =
                 1

     = 6.02 × 10 22 โมเลกุล
                                         ข้อ   4   ผิด       H 2SO 4 เป็นสารประกอบโคเวเลนต์ไม่ใช่
     สารประกอบไอออนิก
8.   เฉลยข้อ    2
     แนวคิด                   โลหะ   A   ถูกยิงด้วยอนุภาคแอลฟาเกิดอิเล็กตรอนกระเด็นออกไปเกิด        A3+
     ไอออน
                                ร้อยละ   0.10      ดังสมการ
                                                                          A → A 3 + (g) + 3e −



                                               โลหะ   A 100 mol A             ทีถกอนุภาคแอลฟาเกิด
                                                                                ่ ู
     อิเล็กตรอนกระเด็นออกไป
                                                                                                     =
     0.1 mol
                                               โลหะ      A      2 mol A            ทีถกอนุภาคแอลฟาเกิด
                                                                                     ่ ู
     อิเล็กตรอนกระเด็นออกไป
                                                                                                     =
      0.1 × 2
              = 2 × 10 − 3 mol
       100
                                               จากสมการโลหะ       A 1 mol        เกิด   A3+   และ
     อิเล็กตรอนทีกระเด็นออกไป
                 ่
                                                                                                     =
      3 × 6.02 × 10 23 อนุภาค
                                                                     A    2 × 10 −3 mol เกิด A
                                                                                               3+
                                                              โลหะ                                และ
     อิเล็กตรอนทีกระเด็นออกไป
                 ่
                                                                                                     =
      3 × 6.02 × 10 23 × 2 × 10 −3
                                   อนุภาค
                   1



     =      3.6 × 10 21 อนุภาค




9.   เฉลยข้อ    1
แนวคิด       ธาตุ         พลังงานไอออไนเซชัน   IE 1 − IE 9 (MJ / mol ดังนี้
                                             1.73.46.18.411.015.9
                                               .217                    92.1106.4
                                    X                    
                                                              n =2
                                                                              
                                                                                
                                                                                                  n =1
                                                                พลังงานเฉลี่ย                         พลังงานเฉลี่ย
                                                    1 . 7 + 3 . 4 + 6 . 1 + 8 . 4 + 11 . 0 + 15 . 2 + 17 . 9
                                              =                                                                               =
                                                                                 7
         92.1 + 106.4
               2
                                                          63 . 7
                                              =                    = 9.1 MJ
                                                           7
         = 99.25 MJ

                    Y             0.5                     n = 3                                             พลังงานเฉลี่ย
                  = 0.5 MJ
                          4.6. 6.9 9.6 13.4 16.6 20.1 25.5 28.9                                                    n =2
                  พลังงานเฉลี่ย = 15.7 MJ
                          141.4 159.1                     n =1                                             พลังงานเฉลี่ย
                  = 150.25 MJ

                   ข้อ   1    ผิด       เพราะอิเล็กตรอนใน      n=1         ของ    X   ต้องคายพลังงาน           99.25
         MJ / mol เพื่อไปอยู่
                                             ใน      n=2
                   2 ถูก เพราะผลต่างของพลังงานของ n = 1
                   ข้อ                                                                 กับ     n=2         ใน    Y=
         (150.25 – 15.7 =
                     134.55 MJ
                                                     มีค่ามากกว่า ผลต่างของพลังงานของ              n=1           กับ      n=
2   ใน    X = ( 99.25 – 9.1 ) =
                       90.15 MJ
                   ข้อ 3 ถูก  เพราะจากการจัดกลุ่มอิเล็กตรอนในระดับพลังงานต่าง                              ๆ พบว่าธาตุ            X
มีระดับพลัง
                                                   งาน   2    ระดับ     n = 1 มี 2            อิเล็กตรอน   n = 2               ซึ่ง
เป็นเวเลนต์อิเล็กตรอน มี            7
                                                  อิเล็กตรอน แสดงว่าธาตุ      X    อยู่หมู่   7    แต่ 53 Ι มีเลขอะตอม
= 53        มีจำานวนโปร –
                                                  ตรอน    =    จำานวนอิเล็กตรอน       = 53         มีการจัดอิเล็กตรอนใน
ระดับพลังงานต่าง ๆ ดังนี้
                                                  2 , 8 ,18 , 18 , 7           มีเวเลนต์อิเล็กตรอน         7   อยู่หมู่   7   เช่น
เดียวกับ ธาตุ
                             ข้อ   4   ถูก เพราะ   X   มีเวเลนต์ตรอน     =7       เป็นธาตุอโลหะ เกิดไอออนลบคือ                    X
-

                                                              Y       มีเวเลนต์ตรอน   =1          เป็นธาตุโลหะ เกิด
ไอออนบวกคือ       Y   +
สารประกอบของ         Y(     โลหะ   )   กับ   X (   อโลหะ   )       เป็นสารประกก
อบไอออนิก มีสูตร           YX
10 .         เฉลยข้อ      4
        แนวคิด    ธาตุนี้มีจำานวนโปรตรอน                 (P ) =      จำานวนอิเล็กตรอน   (e- )= 7 การจัด
อิเล็กตรอนในระดับพลัง
                                         งานต่าง ๆ เป็น       2,5 n = 1         มีจำานวนอิเล็กตรอน      n = 2         มี
จำานวน    5      อิเล็กตรอน จากแผน
                                        ภาพไม่มีข้อใดถูก จึงเลือกข้อ        4




11.      เฉลยข้อ       1
          แนวคิด             จากข้อมูล
                                          Ι    ธาตุ      Χ   มีค่า   ΙΕ 2   และ ΙΕ 3 ต่างกันมาก ๆ แสดงว่า
อิเล็กตรอนทั้ง     2      อยูต่าง
                             ่
                                          ระดับพลังงานกัน ดังนั้นเวเลนต์อิเล็กตรอนของ Χ             =2         เกิดไอออน
ที่มีประจุ    +2
                                             AI
                                         ΙΙ 13 ,มีการจัดอิเล็กตรอนในระดับพลังงาน 2, 8 , 3 หมู่ 3                       อยู่
หมู่เดียวกับ     Y และ Y
                                          อยู่หมู่   3
                                        ΙΙΙ ไอโซโทปหนึ่งของ Z ไม่มีนิวตรอน            คือ ธาตุไนโตรเจนเป็นอโลหะ
             ซันไฟรด์ของ     X                               ซันไฟรด์ของ    Y                                    ซันไฟรด์
ของ    Z
             X               S                                       Y           S
Z                 S
                                                                      2               3
2

         +2                     -2                                               3                      2
1                     2

             1                      2


12.       เฉลยข้อ      4
         แนวคิด            ธาตุอโลหะหมู่เดียวกัน ธาตุ อโลหะอิสระทีอยู่บนกว่าในตารางธาตุสามารถทำาปฏิกิริยา
                                                                  ่
กับ
                                        ไอออนลบของอโลหะตัวล่างกว่าในหมู่เดียวกันได้
                                         จากข้อมูลนำามาวิเคราะห์ได้ดังนี้
Ι                 ΚΧ      ไม่ทำาปฏิกิริยากับ      Υ2 :              2X− + Υ2

X2 + 2Y−
                                แสดงว่า              Υ2     รับอิเล็กตรอนของ         Χ − ไม่ได้         นั่นคือธาตุ   Χ   อยู่บนธาตุ
Υ อยูล่าง
     ่
                                ΙΙ               ΚΖ         ทำาปฏิกิริยากับ     Υ2            :        2Ζ − + Υ2
Ζ 2 + 2Υ −
                            แสดงว่า              Υ2        รับอิเล็กตรอนของ         Ζ − ได้       นั่นคือธาตุ   Υ อยู่บน ธาตุ Ζ        อยู่
ล่าง
                                จาก      Ι    และ          ΙΙ     สรุป ธาตุในหมู่เดียวกัน เรียงจากเลขอะตอมน้อยไปมาก                       (
หรือบนลงล่าง       )
                                ดังนี้       (       บน   ) Χ,     Υ , Ζ             (    ล่าง    )
                                                     X 2Y2Z2
                             มาก             →                  น้อย ความสามารถในการรับอิเล็กตรอน และความแรงใน
การรับออกซิ
                                ไดส์
                                             X-Y− Z−
                             ยาก          → ง่าย                    ความสามารถในการให้อิเล็กตรอน และความแรงในการ
รีดิวซ์
                                 ข้อ 1 ผิด                เพราะ   Z-    เป็นตัวรีดิวซ์ทดีกว่า
                                                                                       ี่             X-   และ   Y-
                                 ข้อ 2 ผิด                เพราะผสม     KY      กับ    X2 เกิดปฏิกริยาเคมี
                                                                                                 ิ               เนื่องจาก   X2 รับ
อิเล็กตรอนของ       Y   –
                             ได้
                                 ข้อ     3       ผิด      เพราะเวเลนซ์อิเล็กตรอนของ           X-        หลุดอยากกว่าเวเลนซ์
อิเล็กตรอนของ      Y   –
                            และของ           Z   -

                                 ข้อ     4   ถูก          เพราะผสม     KZ      กับ   X2    เกิดปฏิกิริยาดังนี้    2KZ + X2
2KX + Z2               เนื่อง
                                จาก      X2      รับอิเล็กตรอนจาก      Z-     ได้
13.เฉลยข้อ 3
                 238 สลายอนุภาคต่าง ๆ ทั้งหมด 14 ขั้นตอนเป็นรังสี α 8 ขั้นตอน และรังสี β
       แนวคิด     92U
                                                   4
                6 ขั้นตอน แต่รังสี α เขียนเป็นสูตร 2H 8 ขั้นตอน จะพบว่าเลขมวลลด 4 x 8
       = 32
                                                                                                       β               0
                       และเลขอะตอมลดลง                      2 x 8 = 16                   และรังสี          สูตรเป็น   −1e 6        ขั้น
       ตอน เลขมวลไม่                         เปลี่ยนแปลง          เลขอะตอมเปลียน
                                                                              ่            = -1 x 6 = -6                     ดังนั้น
       ผลิตภัณฑ์มีเลขมวล เป็น                238 – 32 = 206
                                                                                          206
    เลขอะตอม       92 – 16 ( -6 )= 82                             จากตัวเลือกคือ         382 Pb
.14.      เฉลยข้อ      4
          แนวคิด
ตัวเลือกที่    4    ถูกเรียงจำานวนอิเล็กตรอนคู่โดดเดี่ยวของอตอมกลางต่อไปนี้
                               CIF        3   > NCI3 >             CIO4
15.     เฉลยข้อ    2
       แนวคิด       ข้อ   1     ผิด เพราะสารประกอบที่เกิดจากธาตุหมู่        I กับ VI    อัตราส่วนโดยมวลอะตอม
          2 : 1           เป็นสารประกอบไอออนิก จุดเดือดสูงละลายนำ้า แสดงสมบัติเป็นเบส เช่น                     Na2O
                                    ข้อ   2   ถูก เพราะสารประกอบที่เกิดจากธาตุหมู่      V   และ       VI   อัตราส่วน
โดยอะตอม
          2 : 3               เป็นสารประกอบโคเวเลนซ์ จุดเดือดตำ่าละลายนำ้าแสดงสมบัติเป็นกรดได้ เช่น
N2O3
                                    ข้อ   3   ผิด เพราะสารประกอบที่เกิดจากธาตุหมู่     II และหมู่ V II
อัตราส่วนโดยมวล
         อะตอม    1 : 2             เป็นสารประกอบไอออนิก       (   ยกเว้น   BeCI   2   เป็นสารประกอบโคเวเลนซ์
)   จุดเดือดสูง
                                ข้อ       4   ผิด เพราะสารประกอบที่เกิดจากหมู่   II และ V II อัตราส่วยโดย
มวลอะตอม
                         1 : 2            เป็นสารประกอบไอออนิก จุดเดือดสูงไม่ละลายนำ้า       CaC2
16.      เฉลยข้อ        1
          แนวคิด
                                สภาพมีขั้วของพันธะโคเวเลนต์ เปลี่ยนตามผลต่างของ
                                EN สภาพมีขั้วของพันธะโคเวเลนต์ เรียงจากมากไปน้อย             ดังนี้
                  พันธะ         H - CI              >      H - Br           >      Si - S              >       Si
- H
              ∆EN∆ ( 3.16 - 2.20 )                                 ( 2.96 - 1.90 ) ( 2.58 -
1.90 )         ( 2.2 - 1.90 )
                          = 0.96                                             = 0.76                                 =
0.68                = 0.3
 17.      เฉลยข้อ 1
                                                                7
           แนวคิด             ข้อ   1 CH3 - CH3 +                O2                         2CO2 + 3H2O
                                                                2
                                                                7
           ∑Ε            = 6DC-H               +     1DC-C     + DO O
                                                                    =         =        ( 6 x 415 ) +
                  ดูด
                                                                2
( 1 x 340 )
                                                                                                           +
 7×500
      
      = 4580 kJ.
2    
= 4DC=O + 6D
            ∑Ε       คาย                          H-O       =      ( 4 x 740 ) + ( 6 x
460 ) = 5720 kJ.
                                   = 5720 - 4580 = 1140 kJ .
                                      คายพลังงาน
      ข้อ 2 CH2 = CH2 + 3O2                  2CO2 +2H2O
     ∑ Ε ดูด = 4DC-H + 1DC-C + 3DO+O = ( 4 x415 ) +
( 610 ) + ( 3 x 500 )= 3770 kJ.
      ∑ Ε คาย = 4DC=O + 4DO-H = ( 4 x 740 ) + ( 4 x 470
) = 4800 kJ.
                        คายพลังงาน = 4800 –3770 = 1030 kJ.
                                     5
      ข้อ   3 CH ≡ CH +               O2                2CO2 + H2O
                                     2
                                                  5
       ∑Ε    ดูด   =       2DC-H +   D C≡C+ 2D O=O=              ( 2 x 415 ) + ( 840 )
        5
+ ( × 500 =2920 kJ.
        )
        2
        ∑Ε     คาย   = 4DC=O         + 2DH-O       =     ( 4 x740 ) + ( 2 x 460 ) =
3880 kJ.
                                              = 3880 –2920 = 960 kJ.
                                     คายพลังงาน
   ข้อ 4     CH3 - CH3 - OH + 3O2                              2CO2 + 3H2O
     ∑ Ε ดูด = 5DC – H + 1DC-C + 1DC – O + 1DO – H +3DO =O
      =
     OO                                           = ( 5 x 415 ) + ( 1 x 340 ) + (
1 x 350 ) + ( 1 x 460 ) + ( 3 x 500 )
                                                        = 4725 kJ.
      ∑ Ε คาย = 4DC=O + 6D H-O = ( 4 x 740 ) + ( 6 x 460 ) =
5720 kJ .
         ปฏิกิริยาที่คายพลังงานมากที่สุด คือ ปฏิกิริยาข้อที่ 1


18.     เฉลยข้อ       1
       แนวคิด    เพราะ BeCI2          (g)   และ   CO2   ต่างมีรูปร่างโมเลกุลเหมือนกันคือ เป็นเส้นตรง
และต่างก็เป็น
       โมเลกุลไม่มีขั้วเหมือนกัน




19.    เฉลยข้อ       4
        แนวคิด
ธาตุ                      เลขอะตอม                       การจัดอิเล็กตรอนในระดับพลังงาน
                             O                               7                                  2 ,5
                             P                               11                              2,8,1
                             Q                               17                              2,8,7
                             R                               20                              2,8,8,2
            ข้อ   1    ผิด เพราะ           O          Q                  เป็น   OQ3


              e-          คู่ร่วมพันธะ       3               1
             2
                                         +           3−                  P3O
      ข้อ         ผิด เพราะ              P           O           เป็น



                                   ประจุ         1                 3
                                         −               +
       ข้อ        3   ผิด เพราะ          Q               P


                                   ประจุ         1                      1
        ข้อ       4   ถูก เพราะ            2+             3−      เป็น      R 3 O2
                                             R            O


                                    ประจุ            2                   3


20.   เฉลย ไม่มีคำาตอบถูก

      แนวคิด               C5H10             เป็นสูตรโมเลกุลของแอลคีน หรือไซโคลแอลคีน
                          2 ไอโซเมอร์โซ่ตรง
               CH2 = CH - CH2 - CH2 – CH3                CH3 –
CH = CH - CH2 – CH3
                โซ่กิ่ง 3 ไอโซเมอร์
              CH2 = C - CH2 – CH3       CH2 = CH - CH - CH3
CH3 - CH = C - CH3
                                             CH3                                                         CH3

CH3



      แบบวง           5     ไอโซเมอร์
21.             เฉลยข้อ   1
                แนวคิด        สาร   A   เป็นสารที่เสถียรมีโครงสร้าง ดังนี้
                                         ธาตุ   X,Y   และ   Z   แทนด้วยธาตุ    N,P,Cl     ตามลำาดับ




22.เฉลยข้อ 1
          แนวคิด          ข้อ ก,ค และ ง ทุกสารมีหมู่คาร์บอนีล มีสูตร




           23.      เฉลยข้อ ไม่มีคำาตอบที่ถก
                                           ู
                  แนวคิด     ข้อสอบข้อนี้โจทย์กำาหนดข้อมูลมาให้ไม่พอที่จะไปคำานวณหาจำานวนโมลของ
         แก๊ส   O2
                                        และปริมาตรของแก๊ส       CO2   เป็น   dm3STP     ได้
                                                   ถ้าจะคำานวณต้องกำาหนดจำานวนโมลของ          C 2H6,C 2H4
และ      C2H2        ของแก๊สแต่ละ
                                                   ชนิดที่ผสมกันมาให้ เช่น กำาหนด     C2 H6,C 2H4     และ   C
2   H2    อย่างละ     1 mol
                                                      ทำาปฏิกิริยาเผาไหม้อย่างสมบูรณ์ดังสมการ
7
                                                  1C 2H6 +            O2
                                                                    2
2CO2 + 3H 2O (g)
                                                   1C 2H4 + 3O2
2CO2        + 2H 2O (g)
                                                   1C 2H2
2CO2         + H 2O (g)
                                                          7                  5
                                     ใช้   O2   รวม   =        + 3+            mol เกิด CO2 รวม = 2
                                                          2                  2
      + 2 + 2 = 6 mol
                                                                        18
                                                                    =            =    9 mol
                                                                         2
= 6 x 22.4 = 134.4 dm3STP
                                                ถ้าเป็นเช่นนั้นก็ต้องตอบตัวเลือกข้อ   2   ถูก แต่เนื่องจากโจทย์
กำาหนดข้อมูลมาให้ไม่ครบ
                                                 จึงไม่มีคำาตอบที่ถก
                                                                   ู



        24.          เฉลยข้อ 4
                   แนวคิด    โพรพานาไมด์เป็นเอไมด์ สูตร




                                     ข้อ ก ผิด เพราะสาร        B    เป็นแก๊สแอมโมเนีย
                                                   ข้อ ข ผิด เพราะสาร        A   มีหมูฟังก์ชัน คือ
                                                                                      ่


                                                   ข้อ ค ถูก เพราะสาร        A   เป็นกรดอินทรีย์ทำาปฏิกิริยา
กับ   Na   เกิด   H2    ดังนี้




                                       ข้อ ง ผิด เพราะสาร       A      ไม่ทำาปฏิกิริยากับกรดเอทาโนอิกด้วย
กรดซัลฟิวริกเป็นตัว
                                                      เร่งปฏิกิริยาเนื่องจากเป็นกรดอินทรีย์เหมือนกัน




25.    เฉลยข้อ    4
      แนวคิด           สมการของปฏิกริยายังไม่ดุล
                                   ิ
ข้อ ก ถูก เพราะสาร           A   มีสูตรโมเลกุล   C 3H4 คือ ไซโคลโพรพีน
                               ข้อ ข ถูก เพราะสาร         B   และ    C เป็นไอโซเมอร์กัน มีสูตรเหมือนกัน             คือ   C
3   H6   โดยสาร     B   คือ
                                                        CH2 = CH – CH3               สาร   C    คือ




                   ข้อ ค ผิด เพราะสาร               C   เป็นไอโซโคลแอลเคน ไม่ฟอกจางสีด่างทับทิม                 (
         โพแทสเซียมเปอร์แมงกา
                               เนต   )   ในกรดได้
                                 ข้อ ง ถูก เพราะสาร        A   เกิดการเผาไหม้อย่างสมบูรณ์ได้ดังสมการ
                                                                 9
                                                1C 3H6 +           O2                                      3CO2 + 3H
                                                                 2
2O (g)
26. เฉลยข้อ 2
           แนวคิด             จากตารางข้อมูล อัตราการเกิดปฏิกิริยาในช่วงเวลา               15   ถึง   20   วินาที มีค่าคงที่
                                                                            1     0 . 700 − 0 . 670 
                                                                        = 3 ×          20 − 15
                                                                                                      mol /
                                                                                                    
dm3 – S
                                                                             1 0 . 03
                                                                        =      ×                mol / dm3-S
                                                                             3    5
                                          แต่อัตราการเกิดปฏิกิริยาที่ช่วง   15   ถึง   20   วินาที    =    อัตราการเกิด
ปฏิกิริยาเฉลี่ยในช่วงเวลานี้
                                          มีค่าคงที่ เมื่อตัดบางส่วนข้อมูลมาดังนี้




                              เวลา(S)          (X) ( mol/
dm3)
                       15.00          0.700
                       17.00             X
                       20.00          0.670

                                  ดังนั้นอัตราการเกิดปฏิกิริยาในช่วง   15   ถึง   17 =
     0 . 700 − X 
1
                 
     17 − 15 
3


                                                                            1 0 . 03
                                                                              ×                            =
                                                                            3    5
1  0.7 − X 
 ×         
3     2    
                                                                                      ∴X
                 0 . 03 × 2
= 0.7 -                     = 0.688 mol/dm3
                      5
                                 ความเข้มข้นของสาร      X   ที่   17 S = 0.688 mol/dm3

      27.   เฉลยข้อ   1
             แนวคิด




        ส่วนมีขั้ว ในแอลกอฮอล์ และ กรดอินทรีย์ ละลายนำ้าซึ่งเป็นโมเลกุลมีขั้วได้ดี         ถ้าหมู่   R-   มี   C
อะตอม
น้อย และถ้า C อะตอมมากขึ้นจะละลายนำ้าลดลงจน C อะตอมใน                    R-       เพิ่มถึงขีดหนึ่งจะไม่ละลาย
นำ้า
สรุป การละลายนำ้าของแอลกอฮอล์ และกรดอินทรีย์
     1.           แอลกอฮอล์ และกรดอินทรียที่ มี
                                         ์          C   อะตอมน้อยละลายน้ได้ดี กว่าคือ          แอลกอฮอร์
C1 - C3
ละลายนำ้าไม่จำากัด กรดอินทรีย์   C1 - C4       ละลายนำ้าได้ไม่จำากัด    C   อะตอมมากขึ้นจะละลายนำ้าลดลง
จนไม่ละลายนำ้า
            2. กรดอินทรีย์และแอลกอฮอล์ที่มี     C    อะตอมเท่ากันกรดอินทรีย์ละลายนำ้าได้มากกว่าเพราะ
กรดอินทรีย์เกิดพันธะไฮโดรเจนได้ทากแห่งกว่า
            ข้อ ก กรดเอทาโนอิก      ( CH3COOH )               ละลายนำ้าได้ดีกว่าบิวทานอล       ( CH3(
CH2 ) 3 OH ) เพราะ
C อะตอมน้อยกว่าและเกิดพันธะไฮโดรเจนได้มากกว่า
        ข้อ ข กรดโพรพาโนอิก (CH3CH2 COOH )                        ละลายนำ้าได้ดกว่ากรดบิวทาโนอิก
                                                                               ี                      ( CH3(
CH2 ) 2COOH )
เพราะมีจำานวน        C    อะตอมน้อยกว่า
              ข้อ ค บิวทานอล            ( CH3( CH2 ) 3 OH )              ละลายนำ้าได้ดีกว่าเพนทานอล         ( CH3(
CH2 ) 4 OH ) เพราะ
มี C อะตอมน้อยกว่า
              ข้อ ง โพรพาโนน             ( CH3COCH3 )               ละลายนำ้าได้ดกว่า
                                                                                 ี       ( CH3COOH )            โพรพา
นอล    (CH3 CH2 CHO)
           เพราะมีสภาพขั้วแรงกว่า
28.เฉลยข้อ 2
      แนวคิด
        จากกราฟ                     การเปรียบเทียบพลังงานสารตั้งต้น                                   พลังงานก่อกัม
       ของปฏิกิริยา                         และพลังงานผลิต                        ปฏิกิริยาแบบ          มันต์ของ
                                                                                                        ปฏิกิริยา

                 Ι            พลังงานสารตั้งต้น ตำ่ากว่าพลังงาน
                              ผลิตภัณฑ์
                                                                                 ดูดความร้อน          }I≥ II
              ΙΙ              พลังงานสารตั้งต้น สูงกว่าพลังงาน                   คายความร้อน
                              ผลิตภัณฑ์


29.เฉลยข้อ 4
      แนวคิด
                     ระบบ                          (A) (M)                         (B) (M)
                                                [ A] ( M)                    [ B] ( M)
                          ก                          1                        1
                                            1
                                                = 1 =1                          =1
                                                     1
                                            1
                                                                              1
                          ข
                                                     2                        2
                                                       =1                       =1
                                                     2                        2
                          ค
                                                0.2                                  0.2
                                                    =2                                   =2
                                                0.2                                  0.2


                                    Ι       ระบบที่เกิดสาร   C    มากที่สุด ภายในเวลาที่กำาหนดให้ ซึ่งไม่ชดเจน ดัง
                                                                                                          ั
      นั้นผู้เฉลย
                          จึงขอแยกพิจารณา ดังนี้
                              1.   ถ้ากำาหนดเวลาเท่ากัน ในช่วงเวลาที่สารตั้งต้นในระบบ ก ,ข และ ค มีปริมาณ
                         พอที่จะทำาให้เกิดผลิตภัณฑ์          C   ได้ ระบบที่เกิดผลิตภัณฑ์     C       มากสุด ใช้ความ
เข้มข้นเป็น
                               เกณฑ์ในการพิจารณา เนื่องจากความสมเข้มข้น              A      และ   B   มากกว่าระบบอื่น
ดังนั้นจึงเกิด
                               สาร      C    ได้มากสุด
                                                ข.    ถ้ากำาหนดเวลาเท่ากัน ตังแต่เวลาที่ระบบ ก และ ค สารตั้งต้น
                                                                             ้
หมด
                               คงเหลือแต่สารตั้งต้นในระบบ ข มีพอทีจะเกิดปฏิกิริยาต่อไป ระบบที่จะเกิด
                                                                  ่
ผลิตภัณฑ์     C
                               มากที่สุด ใช้ปริมาณ       (   จำานวนโมล   )   สารตั้งต้นเป็นเกณฑ์ในการพิจารณา
เนื่องจากระบบสาร
                               ตังต้นมีจำานวนโมลมากที่สุดดังนั้นสามารถเกิดสาร
                                 ้                                                      C     ได้มากที่สด
                                                                                                        ุ
ΙΙ         จากโจทย์กำาหนด        A+ B→ C        และอัตราการเกิดปฏิกิริยาขึ้นกับ
[ A]    และ   [ B]
                                ดังนั้นระบบ ค มี          [ A]   และ   [ B]




30.เฉลยข้อ 4
       แนวคิด




                                               เมื่อเพิ่มอุณหภูมิรบกวนสมดุล เนื่องจากเป็นสมดุลของปฏิกิริยาคาย
ความร้อน ปฏิกิริยา
                                             เกิดการย้อนกลับมากขึ้น ที่สมดุลใหม่พบว่า          [ COCL]
                                                                                                    2             ลดลงส่วน
[ CO
   ]      และ   [ CI2]
                                         เพิ่มขึ้นจากตัวเลือก ที่เป็นไปได้ข้อเดียวคือข้อ          4

31.เฉลยข้อ 1
       แนวคิด            แก๊ส   X      และ     Y      ทำาปฏิกิริยาได้แก๊ส   Z ดังสมการ
                                                         X(g) +             3Y(g)
       2Z(g)
                                 เริ่ม            0.1 mol                   0.1 mol                           0    ปริมาตร
       500 cm        3

                                 ข้อ     1    ถูก เพราะเมื่อขยายปริมาตรเท่ากับเป็นการลดความดันของแก๊สเป็นผล
       ทำาให้สมดุลเปลี่ยน
                                                          ย้อนกลับมากขึ้นไปด้านจำานวนโมลของแก๊สมากขึ้น เพื่อเพิม
                                                                                                               ่
       ความดันให้มากขึ้น ที่
                                                           สมดุลใหม่จึง มีจำานวนโมลของ        z    ลดลง
                                 ข้อ     2     ผิด เพราะค่า      K   แปรผันตรงกับ   (Z)  2
                                                                                             และ      K   แปรผันกับ    (X)
       และ    (Y)    3



                                         ข้อ      3   ผิด เพราะที่ภาวะสมดุลจะมีแก๊ส      X,Y       และ    Z   ทุกชนิดใน
กระบอกสูบ ซึ่งแต่ละแก๊สจะ
                                                            มีปริมาณคงที่
ข้อ     4   ผิด เพราะจะเพิ่มสารตั้งต้น   Y   เป็น   0.3 mol   ทำาปฏิกิริยากับ       X
      0.1 mol              ถึงแม้ว่าเป็น
                                                          สัดส่วนกัน แต่ไม่ทำาปฏิกิริยาเคมีได้หมดพอดี เนื่องจาก
      ระบบเกิดสมดุลได้           ระบบ
                                                       จะปรับตัวมันเอง ดังนั้นสารตั้งต้น   Y   และ   )   จะเหลือคงที่
      ขณะสมดุล




32.     เฉลยข้อ        3
       แนวคิด

ปฏิกิริยาที่                                     สมการของปฏิกริยา
                                                             ิ                                       ปฏิกิริยาเคมี
    1                                                                                                กรด   -     เบส




    2                                                                                                กรด   -     เบส




    3                 2CH3 COOH + 2Na                                                                การแทนที่

                   2CH2 COONa + H2

    4                                                                                                      กรด   -
                                                                                                 เบส




33.เฉลยข้อ 4
        แนวคิด สาร A , B และ                          C     เป็นสารสมมติไม่ทราบเป็นสารใด และไม่ระบุสถานะใน
การคำานวณเกี่ยวกับสมดุลคิดทุกสารหมด

การทดลองที่        1                                  A                  +                 B
2C
           เริ่ม   ( mol / dm3 )                              0.04                                         0.04
0
เปลียน
          ่       ( mol / dm3 ) - ( 0.04 - 0.02 )                                                          -0.02
+ 0.04
     สมดุล       ( mol / dm3 )                                0.02                                             0.02
0.04
                                            [ C] 2
     สูตร                   K =
                                          [ A][ B]
                                              × −
                                             16 10 4
                                               ( 004 2
                                                  . )
     แทนค่า                 K =             =        =4
                                ( 002 002
                                   . )( . )   × −
                                             4 10 4
             ทีอุณหภูมิ
               ่           30oC      คงที่ การทดลองที่          1      และ    2       มีค่าคงทีสมดุล
                                                                                               ่       ( K )    เท่ากัน

    การทดลองที่       2                          A                      +                              B
2C
        เริ่ม    ( mol / dm3 )                                 0.03
0.02                                                 0
                                                                   z                                                       z
            เปลี่ยน   ( mol / dm3 )                            -                                                       -
                                                                   2                                                       2
z
                                                                   Z                                               Z
        สมดุล         ( mol / dm3 )                       . −
                                                         003                                                . −
                                                                                                           002
                                                                   2                                               2
z
                                        [ C] 2
       สูตร               K =
                                      [ A][ B]
                                                  Z2
       แทนค่า     ;          4   =       003 Z 002 Z
                                         . −  . − 
                                               2       2
                                               Z2
                                        −            −
                                    6x10 2 − Z 4x10 2 − Z
                           4   =
                                   
                                                         
                                        2        2     
                                                            
                                                                      4Z2
                                 4             =
                                                         (      −          −
                                                                             )(
                                                             6x10 2 − Z 4x10 2 − Z              )
            24 x 101        -4
                                 - 10 x 10               -2
                                                               Z + Z              2
                                                                                      =Z    2

                                          −4
                                 2410
                                  x
                          ∴ Z=                       = 2.4 x                          101-2 = 0.024 mol /
                                  x −
                                 1010 2
dm3
34.     เฉลยข้อ       2
       แนวคิด
                           นำ้าส้มสายชู
CH3COOH (aq) + NaOH (aq)
CH3COONa (aq) + H2O(l)
                4.8 %     มวล  / ปริมาตร X %              มวล      /    ปริมาตร
                             10 cm3                                             20 cm3
                                                                                                           48
                                                                                                            .
สารละลาย       CH3COOH 100 cm3                มีเนื้อ   CH3COOH =                    4.8 g     คิดเป็น
                                                                                                           60
mol
                                                                               48x 10
                                                                                 .
สารละลาย       CH3COOH 10 cm3                มีเนื้อ    CH3COOH                   mol
                                                                                =
                                                                               60  100
                                                                                      x
สารละลาย       NaOH      100 cm3            มีเนื้อ     NaOH           = X g คิดเป็น   mol
                                                                                      40
                                                                           x   20
สารละลาย       NaOH      20 cm3           มีเนื้อ     NaOH             =   X   mol
                                                                           40  100
                                                                                      
                โมลNaOH        1
จากสมการ                     =
               โมลCH 3COOH     1
                    20 mol
                         X
                          
                    40100
                        x 
                                 = 1
                   48x 10mol
                      .
                           
                   60 100  
                                  48x10 40100
                                   .     x
                         ∴X =          x      =                                 1.6 %        มวล   /   ปริมาตร
                                  6x100 20
       NaOH
สารละลาย              มีความเข้มข้น   =       1.6 %          มวล   /     ปริมาตร
35. เฉลยข้อ 2
      แนวคิด สารละลายกรด        HA                = 10 คือ
                                      มีรอยละการแตกตัว
                                         ้
                        สารละลายกรด       HA 100 mol / dm3                          แตกตัว     =           10
mol / dm       3

                        สารละลายกรด       HA 1 x 10-3 mol / dm3                         แตกตัว         =
          −3
101 10
 xx
                = 1 x 10-4 mol
  100
                             HA ( aq )                         +            H2O ( l )
H3O ( aq ) + A ( aq ) Ka = ?
      +                  -

  เริ่ม ( mol / dm )
                  3
                           1 x 10-3                                         -
0                   0
 เปลี่ยน ( mol / dm ) –1 x 10
                      3         -4
                                                                        -
+1 x 10-4        +1 x 10-4
( mol / dm3 ) (1 x 10-3–1 x 10-4 ) -
สมดุล
1 x 10-4    1 x 10-4

      สูตร       Ka =
                                 [H3O+ ][A− ]
                                         [ HA]
                                (1x10 4)(1x10 4) = 1x10 8 = 1.1110 5
                                     −      −         −
                                                               x −
   แทนค่า        Ka =
                                (1x10 −1x10 ) 0.9x10
                                    −3      −4         −3

   สูตร  pH = -log [ H3O+ ]
  แทนค่า pH = -log ( 1 x 10
                            -4
                               )                                    = 4
36. เฉลยข้อ 2
             แนวคิด       หลักการเลือกอินดิเคเตอร์สำาหรับการไทเทรดกรด           -   เบส
                                     “   เลือกอินดิเคเตอร์ทมีช่วง
                                                           ี่       pH     ของการเปลี่ยนสีตรงหรือใกล้เคียงกับ   pH
ของเกลือที่
          เกิดจากไทเทรตกรด           -    เบส “
       ข้อ 1 ผิด เพราะไทเทรดเบสอ่อน                 NH4OH        ด้วยกรดแก่    HCl     เกอดเกลือ   pH < 7          ใช้
อินดิเคเตอร์
                     ก หรือ ข
      ข้อ 2 ถูก เพราะไทเทรดกรดแก่                  HNO3       เป็นเบสแก่   NaOH        เกิดเกลือ   pH = 7       ใช้
อินดิเคเตอร์ที่มช่วง
                ี
                               pH 3 - 11             จะใช้อินดิเคเตอร์เปลี่ยนช่วงกรดหรือ เบสได้ เช่น อินดิเค
เตอร์ ง
      ข้อ 3 ผิด เพราะไทเทรตกรดอ่อน                  CH3COOH          ด้วยเบสแก่     NaOH      เกิดเกลือ   pH > 7
ใช้อินดิเคเตอร์ ง
                                 4
                               ข้อ        ผิด เพราะไทเทรตเบสอ่อน         NH4OH ( Kb = 1.8 x
10   -5
          )    ด้วยกรดอ่อน     HCN         ไม่
                                                    ควรไทเทรต เนืองจากเลือกอินดิเคเตอร์ยาก กรดอ่อนและเบส
                                                                 ่
อ่อน แตกตัวไม่ สม
                                                   บูรณ์จึงเกิดปฏิกิรยากันไม่สมบูรณ์
                                                                     ิ


37.       เฉลยข้อ     4
          แนวคิด ข้อ       1   ผิด เพราะไม่เป็นสารละลายบัฟเฟอร์เนื่องจากปฏิกิริยาระหว่าง           CaCO3     กับ
กรด    HNO3
                                                     ดังนี้
               CaCO3 ( s) + 2HNO3 (aq )                                                                     Ca (
NO3 )2 ( aq ) + H2CO3 ( aq )

                                 40g                            0.1 mol


                               40
                                   = 0.4 mol
                               100
                          จากการพิจารณาพบว่ากรด        HNO3                    CaCO3
                                                                      ถูกใช้หมดเหลือ
                           จากสมการ       HNO3        2 mol           ≡ CaCO3 1 mol
เกิด   H2CO3 = 1 mol
                                                                                                    1 01
                                                                                                     x.
                                     HNO3 0.1 mol                 ≡ CaCO3 1 mol                          =
                                                                                                     2
0.05 mol
                                                                1 01
                                                                 x.
                                     เกิด   H2CO3      =
                                                                 2
= 0.05 mol
                                CaCO3 = 0.4 - 0.05 = 0.35 mol
                                   เหลือ
                  และเกิด H2CO3      = 0.05 mol
      หลังปฏิกิริยาเคมีเกิดกรดอ่อน H2CO3 0.05 mol เหลือเกลือกรดอ่อนของมัน
CaCO3 0.35 mol
      เนื่องจาก CaCO3 ไม่ละลายนำ้าแลไม่แตกตัว เป็นไอออนในนำ้า จึงไม่สามารถมีสมบัติเป็น
บัฟเฟอร์ได้
            2 ผิด เพราะไม่เป็นสารละลายบัฟเฟอร์ ปฏิกริยา NH4OH
              ข้อ                                  ิ                                     กับ    HCl ดังนี้
             NH4OH ( aq ) + HCl ( aq )                                                           NH4Cl (
aq)      + H2O ( l )
           1 mol / dm3                0.1 mol
          100cm 3




                       1 100
                         x 
                            =                 0.1 mol
                       1000
                                         จากการพิจารณาพบว่าปฏิกิริยาพอดีกันไม่เหลือสารตั้งต้นใด ดังนั้นหลัง
เกิดปฏิกิริยาสาร
                           เกิดขื้นไม่อยู่ในสภาพเป็นบัฟเฟอร์
       3 ผิด
       ข้อ                เพราะสารละลายผสมไม่เป็นบัฟเฟอร์ เนื่องจาก    CH3COOH                เป็นกรดอ่อนไอออน
ลบ CH3COO
          -

                             ไม่สามารถแทนที่ไอออนลบ       Cl-   ของเกลือ      NH4Cl      ได้ ซึ่ง   Cl-   เป็น
ไอออนลบของกรดแก่             HCI
                          ข้อ 4    ถูก     เพราะเป็นสารละลายบัฟเฟอร์       ปฏิกิริยาระหว่าง    H3PO4 กับ
NaOH         เป็นดังนี้
           H3PO4 ( aq )  +                                 3NaOH ( aq )
Na3PO4 ( aq )    + 3H2O ( l )

                    1 mol / dm3                                 1 mol / dm3
                      50 cm3                                      50 cm3

       1 50
         x                                                1 50
                                                             x 
            = 5 x 10-2 mol                                    = 5 x 10-2 mol
       1000                                              1000
                    จากการพิจารณาพบว่า          NaOH      ใช้หมด เหลือกรดอ่อน      H3PO4        ดังนี้
จากสมการ     NaOH                  3 mol ≡ H3PO4 1 mol                           เกิด
Na3po4          1 mol
                                                                                        x −
                                                                                       1 5x10 2
                                           NaOH      5 x 10           -2
                                                                           mol ≡ H3PO4
                                                                                           3
mol
                                                                                          = 1.67 x 10-2
mol
                                                   x −
                                                  1 5x10 2
                                    เกิด    H3PO4                           =        1.67 x 10-2 mol
                                                      3
                    หลังเกิดปฏิกิริยา
                                กรดอ่อน      +   เกลือของกรดอ่อน

                 H3PO4 = ( 5 x 10-2 - 1.67 x 110-2 )
                เหลือ
           = 3.33 x 10-2 mol
            เกิด Na3PO4 = 1.67 x 10
                                           -2
                                                mol
38. เฉลยข้อ 4
    แนวคิด    แผนภาพแสดงปฏิกิริยาสาร A ละลายนำ้าดังนี้
                        สาร A         +       H2O      H3PO4                                             +
HCl
                      ( P, Cl )

                                                                                                         9.8 g
10.95 g
                13.75g
                        มวล     Cl           HCl
                                            ใน                       =      มวล      Cl       A
                                                                                          ในสาร
                              ถ้า    HCl 1 mol             มี              Cl             = 1 mol
                                      HCl 36.5 g                มี              Cl         =  35.5 g
                                                                                                  35×10
                                                                                                   .5 .95
                                          HCl 10.95g             มี             Cl        =
                                                                                                    36
                                                                                                     .5
=     10.65 g
                                    สาร    A 13.75 g            มี         Cl             =   10.65 g
                                                                                                  10 x100
                                                                                                   .65
                                    สาร    A 100       g        มี         Cl             =
                                                                                                   13.75
=     77.45 ≈ 77.5 g




39.   เฉลยข้อ
แนวคิด       สารผสม      2    ชนิด เป็นสารละลาย เกิดปฏิกิริยาได้แก๊ส   CO2     ผ่านลงในนำ้าปูนใส
Ca ( OH )2
                       เกิดสารละลายขุ่น แล้วนำาสารละลายผสมหลังเกิดปฏิกิริยาไประเหยจนแห้งเกิด
ตะกอนสีขวา
                       ข้อ ก ผิด       เพราะ   CuCO3        ไม่ละลายนำ้า เมื่อผสม    HNO3        กับ
CuCO3        ไม่ละลายนำ้าเกิด
                                             ตะกอนทำาปฏิกิริยาเกิดแก๊ส   CO2    ทำาให้นำ้าปูนใสขุ่น แต่
สารละลายระเหยแห้งเกิดตะ
                                             กอนสีฟ้าไม่ใช่ตะกอนสีขาว
                      ข้อ ข ถูก เพราะสารละลายผสม          CH3COOH ( aq )                 กับ   NaHCO3
( aq )      เกิดปฏิกิริยาดังนี้
                                                                            CHCOOH )+ H2O aq
                                                                                 (aq     ( )
                                                                            3  
                                                                                       
CH3COOH ( aq ) + NaHCO3 ( aq )                                                   ระเหยแห้ดเ
                                                                                       กิ งตะกอนของ
                                                                                 CH COONaซึนเกลือ
                                                                                   3       ป็ ่งเ
                                                                            +
                                                     CO2
                                                     (g )
                                                                                           Ca ( OH )2
( aq )

                                                                         CaCO3    ตะกอนขุ่น
                         ข้อ ค ถูก เพราะสารละลายผสสม           HCl ( aq ) กับ Na2CO3 (
aq )    เกิดปฏิกริยาดังนี้
                ิ
                                                                             2NaCl )+ H2O l)
                                                                                (aq      (
                                                                              
                                                                                       
       2HCl (aq ) + Na2CO3 ( aq )                                                ระเหยแห้ดเ อ
                                                                                       กิ งเกลื
                                                                                 ตะกอนสีNaCl
                                                                                        ขาว
                                                                                +
                                                     CO2 (
                                                     aq )                                         Ca (
OH )2 ( aq )

                                                                                         ตะกอนขุ่น
CaCO3
                                  ข้อ ง ผิด เพราะสารละลายผสม      CO ( NH 2 )2 ( aq )                กับ
H2O ( l )        มีเอนไซม์เกิด
       ปฏิกิริยาดังนี้
                                   O                                                      ยูรเอส
                                                                                             ี
                  NH2 - C′′ -                  NH2 ( aq ) + H2O ( aq )                  →
    2NH (aq
       3 )
    
ระเหยแห้งหลือกาก
      ม่เ ไ

+                                                                        CO2 (
                                                                         aq )
Ca ( OH ) 2 ( aq )

ตะกอนขุ่น


CaCO3


40.เฉลยข้อ 3
    แนวคิด       หินฟอสเฟต
                                                                  3−
         CaF2 .            3Ca3 ( po4 )2         เฉพาะส่วน   PO 4      X + ( -2 x 4
                                                                             X=
    ) = -3

                    Sb2S3 . 3H2O             ( 2X ) + ( -2 x 3 ) + ( X = 0 )
                                                                     3 x
=     0

                  Na2ZrSiO5              ( +1 x 2 ) + ( X ) + ( 4 ) + ( = x
                                                                     X -2
5 )       = 0

                     ข้อ ก และ ค ถูก
                     ข้อ ข และ ง ผิด
                    ตัวเลือกข้อ   4   ข้อ ค และ ง ผิด
41.เฉลยข้อ 2
    แนวคิด      ให้สตีคลอไรด์ของธาตุ
                    ู               M คือ MCln
      MCln ( aq )                   +          nAgNO3 ( aq )
    M ( NO3 ) n( aq )             + nAgCl( s )


0.05 mol / 500 cm3                                      0.10 mol / dm3
     12.5 cm3                                            25 cm3-


    00512
     . x .5                                      01 25
                                                  .x
            mol                                        mol
      500                                        1000


1.25 x       10-3 mol                                   2.5 x 10-3 mol
                                          โมลAgNO
                                                3             n
                    จากสมการ                      =
                                           โมลMCl
                                               n              1
01 25
                                                                     .x
                                                                     1000
                                                                   00512
                                                                    . x .5                  =       n
                                                                     500
                                                                          ∴n                    =       2
                                      สูตรคลอไรด์ของ          M         คือ    MCl2



42.      เฉลยข้อ   4
         แนวคิด        ก   . 2B3+ + H2A2                                      2B2+ + A2 + 2H+
                                       red                                    OX



                                         ขั้วบวก         ขั้วลบ
                                     EO = E(O )
                                      cell   +           − E(O ) = ( +0.8 ) - ( +0.68 ) =
                                                              −
+0.12 V
                                     ข   .       A2         +        2H+            +        2Cl-
H2A2         + C2
                                                                  red
                                                                                                              OX

                                               ขั้วบวก                            ขั้วลบ
                                EO = E(O )
                                 cell   +             − E(O )
                                                           −       = ( +0.68 ) + ( +1.07 )
= -0.39 V
                                         ปฏิกิริยาไม่เกิดเองได้ เพราะ          EO
                                                                                cell       เป็นติดลบ
                                 ค.          D4+ +                 B2+                                  D3+        +
B   3+

                                                    red
                                                                                   OX

                                     ขั้วบวก              ขั้วลบ
                               EO = E(O )
                                cell   +           − E(O ) = ( +1.45 ) - ( 0.08 ) =
                                                        −
+0.65 V
                                          ปฏิกิริยาเกิดเองได้ เพราะ           EO
                                                                               cell     เป็นติดบวก
                                ง.             2B3+                +               2C-
2B2+         +     C2
                                                             red                                        OX

                               ขั้วบวก                                   ขั้วลบ
                                EO = E(O )
                                 cell   +             − E(O )
                                                           −       = ( +0.80 ) - ( +1.07 ) =
-0.27 V
                                             ปฏิกิริยาเกิดเองได้ เพราะ        EO
                                                                               cell        เป็นติดลบ
43.เฉลยข้อ 3
   แนวคิด ดุลสมการ




     คำานวณ
    2Cr ( OH )3 + 3CIO- + 4OH-                                      2CrO2- +3CI- + 5H2O


   1 mol
                NaOCI
                 X g



                           X  mol
                           
                           745
                             .
                       -
                โมล ClO                       3
   จากสมการ                           =
               โมล Cr OH 3
                    ( )                       2
                                X  1 mol   3
                                
                                74 
                                  .5       =                                  X = 111.75
                                             2
                                  1 mol
   ≈ 111.8 g.
44.เฉลยข้อ 1
   แนวคิด     ผิด เพราะผงซักฟอกมีประสิทธิภาพซักล้างในนำ้ากระด้างดีกว่าสบู่ เพราะมีสารประกอบ
   พวกฟอสเฟต ช่วยกำาจัด    Ca2+     หรือ   Mg2+    ในนำ้ากระด้างทั้งป้องกันไม่ให้ไปรวมตัวไอออนลบ
   ของสารลด
   ตึงผิวของนำ้า
   ผงซักฟอกที่คาร์บอน     ใน   R   แตกก้านสาขาจุลินทรีย์ไม่มีเอนไซม์ย่อยสะลายได้ ตกค้างในแหล่ง
   นำ้า
                    ส่วนผงซักฟอกคาร์บอน       ใน   R   ต่อกันเป็นสายยาวจุลินทรีย์มีเอนไซม์ย่อยสะ
   ลายได้ไม่ตกค้างในแหล่งนำ้า
                      ผงซักฟอกโดยทั่วไปผสมฟอสเฟตประมาณ 30 – 50 % ฟอสเฟสเป็นปุ๋ย
   เมื่ออยู่ใน
   แหล่งนำ้าทำาให้สาหร่าย และวัชพืช เจริญงอกงาม แพร่พันธุ์รวดเร็ว ก่อให้เกิดปัญหาต่อสิ่งแวดล้อม
45.เฉลยข้อ 2
    แนวคิด                เซลล์กัลวานิกที่เกิดจากครึ่งเซลล์    X;X2+       กับครึ่งเซลล์   Y / Y3+พบว่าครึ่งเซลล์
    Y / Y3+
           ( Ε O = +0.90 งกว่า
                       Vสู )                         มี   Y   เป็นขั้วบวก รับอิเล็กตรอนเป็นแคโทด             เกิด
    ปฏิกิริยา
              Y3+ +3e-                           Y   ครึ่งเซลล์
                                                                           O
                                                                               (. Vตำ ่
                                                                  X / X2+ Ε = +003 ากว่ามี X             )           เป็น
ขั้วลบให้อิเล็กตรอน
           เป็นแอโนด เกิดปฏิกิริยา           X                      X2+ +2e -              เป็นปฏิกิริยารีดอกซ์เป็นดังนี้
           3X   O
                      +         2Y    3+
                                                                  3X3+ + 2YO


    ตัวรีดิวซ์      ตัวออกซิไดส์
46.เฉลยข้อ 4
    แนวคิด    ปัจจัยที่มีผลต่อการแปลงสภาพเป็นโปรตีน                    :       การให้ความร้อน ตัวทำาละลายอินทรีย์
     ไอออนของโลหะหนัก การใช้กรดหรือเบส
47.เฉลยข้อ 1
    แนวคิด          ข้อ ก.      เป็นฮอโมพอลิเมอร์มาจากมอนอเมอร์
                                    ปฏิกิริยาพอลิเมอร์ไรเซชันแบบควบแน่น
                          ข้อ ข.      เป็นฮอโมพอลิเมอร์ มาจากมอนอเมอร์ปฏิกิริยาพอนอเมอร์ไรเซชันแบบการ
    เติม
                               ข้อ ค.      เป็นโฮโมพอลิเมอร์ มาจากมอนอเมอร์
                                                 CH2 = CH - CH                      ≡ CH2        ปฏิกิริยาพอลิเมอร์ไร
    เซชันแบบการเติม
                               ข้อ ง.      เป็นไฮโมพอลิเมอร์ มาจากมอนอเมอร์ปฏิกิริยาพอลิเมอร์ไรเซชันแบบการ
    เติม
48.เฉลยข้อ 3
    แนวคิด          ข้อ    1   ไม่เหมาะสมเพราะขวดนำ้าพลาสติกใส่นำ้ามันเบนซินไม่ได้ เนื่องจากนนำ้ามันเบนซิน
                                   ละลายนำ้าได้
                               ข้อ    2    ไม่เหมาะสมเพราะถ้วยชามที่ผลิตจากกพอลิเอทิลินอุ่นอาาหารในเตา
    ไมโครเวฟไม่ได้
                                              เนื่องจากพอลิเอทิลีนละลายปนกับอาหารที่ใส่
                                ข้อ    3    เหมาะสมเพราะภาชนะที่เคลือบด้วยเทปรอน หรือพอลิเตรตระฟลูออโล
    เอทิลินในการ
                                              ทอดไข่ ทอดปลาได้ เทฟรอนมีจดหลอมเหลวสูง ไม่หลอมปนออก
                                                                        ุ
    มากับไข่และปลาที่
ทอด
                             ข้อ   4       ไม่เหมมาะสมเพราะกาารเก็บถ้วยชามพวกเมลินีนที่ชำารุดรวมกันกลับไป
   ใช้ใหม่ไม่ได้
                                             เนื่องจากเมลานีนเป็นพลาสติกพวกเทอร์มอเซตหลอมไม่ได้ เมื่อถูก
   ความร้อนไม่
                                             หลอมแต่ไม้ไฟไป
49.เฉลยข้อ 1
   แนวคิด        ข้อ ก การถลุงแร่           Zn     ใช้หลัก   Electrolysis    สารละลาย   ZnSO4    เกิดโลหะ
   Zn     ที่ขั้วแคโทด
                       ข้อ ข การถลุงแร่        Zn     ใช้หลัก    Electrolysis   สารละลาย   CdSO4       เกิด
   โลหะ     Cd     ที่ขั้วแคโทด


50.เฉลยข้อ 2
   แนวคิด        ข้อ   1   เพราะมลพิษทางนำ้าที่เป็นสารจำาพวกฟอสเฟส ได้มาจากการใช้ปุ๋ยเคมี เช่น ปุ๋ย
   ซุป
                           เปอร็ฟอสเฟต        Ca(HPO4)          ยากำาจัดวัชพืช เช่น ออแกนโนฟอสเฟต และผง
   ซักฟอก เช่น
                                   สารประกอบพวกฟอสเฟต
                           ข้อ   2   ผิด


                       สาร                 ย่อมาจากคำาว่า                       สูตรโครงสร้างแบบย่อย
                       CFC                 Chlorofluoro Carbons                 CFCl3 CF2Cl2 CHFCl2
                                           (CFCS)                               CFC-11 CFC-12
                                                                                CFC-22
                       DDT                 Dicslorodipspny
                                           tricsloroetsane



                       Dioxin     2378–
                                  Tetracslordipsenybenz
                                  o
                                  -p-dioxin
                               สารทั้ง 3 ชนิดเป็นสารพิษที่มีธาตุฮาโลเจนคือ Cl เป็นองค์ประกอบอยู่
                 ข้อ 3 ถูก เพราะแก๊ส CO2 ปริมาณมากเกิดจากการเผาไหม้เชื้อเพลิงเป็นสาเหตุหลักที่
   ของการเกิดปรากฏการณ์เรือนกระจก
                ข้อ 4 ถูก เพราะ O3 เป็นแก๊สที่เป็นพิษอยู่ในชั้นบรรยากาศระดับตำ่ามีประโยชน์ในการ
   ป้องกันรังอัลตราไวโอเลตในบรรยากาศระดับสูง


   ตอนที่   2
   1.   เฉลย    23.75 g
                                           มวลโมเลกุล                        การหามวลอะตอมของธาตุ

                           X4                           124                  4X = 124                     X
                                                                             = 31
Y2                         32                  2Y = 32
                                                                        Y = 16

   XY3-4                 6.02 x 1023      ไอออนมีมวล      = ( 31+16 x 4 )                g
                                                                            23
                                                                951505
                                                                 x . x10
   XY3-4                 1.505 x 1023        ไอออนมีมวล    =             = 23 g
                                                                            .75
                                                                  . x 23
                                                                 60210




   ข้อ   2   เฉลย   10 ชัวโมง
                          ่
                    ปฏิกิริยาสังเคราะห์แสงดังนี้
        ( 1 ) 6nCO2 ( g ) +                                    6nH2O                          nC6H12 O6
   + 6nO2 + พลังงาน

                                  X mol
                ( 2 )             Cn6 H12O6                        ( C6H10O5)       n   +nH2O


                                             1.62 g
                                  จากสมการ   ( 1 )       และ    ( 2 )
                                                                  โมล CO2           6n
                                                                               =
                                                               โมล ( C6H10 5)
                                                                         O           1
                                                                   X mol
                                                                 1.62 mol
                                                                                  =             6n
                                                                     
                                                                 162n
                                                                           162n
                                                               ( X ) x          = 6n
                                                                           162
                                                                            .
                                                                       100 X             = 6
                                                                             -2
                                                    ∴ X = 6 x 10 mol

                      แต่     การสังเคราะห์แสงใช้     CO2 6         x       10-3        mol     ใช้เวลา   =
1 ชัวโมง
    ่
                                   การสังเคราะห์แสงใช้    CO2 6         x        10-2     mol      ใช้เวลา
             -2
  1 x 6 x 10
=         -3             ชัวโมง
                           ่
    6 x 10
่
                                                          ∴ ใช้เวลา 10ชั่วโมง
                                                                  =
         3.      เฉลย   37.5 g
                                                                                    39.13         87
                                                                                                   .
                          หาสูตรเอมพิรคัล
                                      ิ                C : H : O           =              :          :
                                                                                     12           1
52
 .17
          โดยมวล
 16
                                                                                                   326
                                                                                                    .
                                                                   C: H        : O         =
                                                                                                   326
                                                                                                    .
     87.                326
                          .
:        :                     โดยมวล
     326
      .                 3269
                         .
                                                                   C : H : O               =           1
:    2.669 :                   1              โดยมวล
                                                                   C : H : O              =            3
:   8.007 :                    3              โดยมวล
                                                                   C : H : O              =            3
:    8             :               3          โดยมวล
                               สูตรเอมพิรคัล
                                         ิ         =    สูตรโมเลกุล    =        C3H8 O 3       มีมวล
โมเลกุล       = 92


                                   จุดเดือดของสารละลาย
                                                                               m x 1000
                                                                                1
                                       สูตร             ∆Tb    =       Ka x
                                                                              m x M.W
                                                                               2      1
                                       แทนค่า    ; ( 80.94 - 78.50 )                  =       1.22 x
6.90 1000
    x
m x 92
  2
                                                                               m2             =    37.5
g
                               มวลของเอทานอลในสารละลาย                = 37.5 g
    4.    เฉลย  4.2 %
               ( 1 )
                          สารอินทรีย์                      NH3         สลาย                        +
                          1.5 g
    ………..

                  ( 2 ) NH3( g ) + HCl ( aq )                                             NH4Cl
    (aq)


                         X g                0.5 mol / dm3
                                       50 cm3
HCl ไทเทรตพอดีกับ NaOH (aq) ดังนี้
           เหลือ
         ( 3 ) HCl ( aq) + NaOH (aq)                                            NaCl (aq)
+ H2O ( l )


                                          0.1 mol / dm3
                                           30 cm3


              01 x 30
               .               -3
                      = 3x 10 mol
                1000
                       โมลHCl        1
     จากสมการ ( 3 )              =
                      โมลNaOH        1
                       โมล HCl
             แทนค่า         -3     =                         1
                       3 x 10
                                              โมล HCl            =        3 x 10-3
                                                ใส่ HCl          =
01550
 . x
          x -3
      = 7.5 10 mol
 1000
      HCl เกิดปฏิกิริยาพอดีกับ NH3
     ใช้                                             =       ( 7.5 x 10-3 - 3 x 10-3 )
= 4.5 x 10-3 mol
                               โมล 3
                                  NH                        1
    จากสมการ       (2 )                  =
                               โมล HCl                      1
                             โมล 3
                                 NH
              แทนค่า               -3 = 1
                            4.5 x 10
                                        โมล   NH3      = 4.5 x 10-3
                และมวลNH3                     = 4.5 x 10-3x 17 g
    แต่มวล    N ใน NH3 =                มวล   N ในสารอินทรีย์ 1.5 g จากสมการ ( 1 )
                                                14
    มวล     N    ในสารอินทรีย์   1.5 g =          x ( 4.5 x 10-3 x 17 ) g = 63
                                                7
x    10-3 g
                                                     x −
                                                    63 10 3 x100
                                                                 = 4.2g
         สารอินทรีย์     100 g     มี   N =             1. 5


    ร้อยละของ       N ในสารอินทรีย์ = 4.2
    5.    เฉลย     2.5 g

                   สารละลายCuSO4 500 cm3
                                                                           Cuso4 ( aq )
                     มี CuSO4 . 5H2O ? g
                                                                            0.1 mol -
                   CuSO4 . 5H2O มีความบริสุทธิ์
                                                                               dm3
                            99.8%
สารละลาาย     CuSO4 1000 cm3                 มีเนื้อ   CuSO4 = 0.1 mol
                                                                                                          .×
                                                                                                         01 500
                          สารละลาาย      CuSO4           500 cm3        มีเนื้อ   CuSo4            =
                                                                                                          1000
=          0.05        mol
                               แต่         CuSO4         .   5 H2O = 1 mol
                        หรือ               CuSO4         1 mol    อยู่ ใน CuSO4 HO.4
  1 005
   x.
=      = 005
          . mol
    1
                                                                                             มวล   CuSO4
x   5H2O =    0.05 x 249.5=12.48g
      CuOH4 . 5H2O 99.8 g      อยู่ใน สาร CuSO4 .52H2O =
1010 g
       CuHO44 .5H2O 12.48 g อยู่ในสาร CuHO44 .5H2O      =
100 .48
  x12
       = 12 g
          .5
  99
   .8
      6.   เฉลย   25.4 g
                 สูตรทั่วไปของกรดไขมัน อิมตัวคือ
                                         ่               CnH2n+1           COOH          ถ้เป็นสูตรทั่วไป ของ
กรดไขมันไม่อิ่มตัว
             มี C = C                1     แห่ง     H   ลดลง     C = C2           แห่ง   H    ลดลง       4       จาก
สูตรไขมันกรดอิ่มตัว เป็นสูตร
              Cn H       ( 2n+1 ) -4       COOH         คือ CnH2n-3        COOH
 กรดไขมัน           สูตรของกรดไขมันไม่อิ่มตัว           จำานวนพันธะคู่ระหว่าง  จำานวนโมลของ                  I2 ที่
                                                             C   กับ   C                           ใช้
                                                                                         ต่อกรดไขมัน         1
                                                                                               mol
      A                C15H29COOH                                1                              1
      B                C17H31COOH                                2                              2
      C                C17H33COOH                                1                              1

กรด   A :     กรด    B :       กรด   C =        2        :       2         :      1       โดยโมล


กรด   A :     กรด    B :       กรด   C = 2 x 254 : 1x 280                             : 1x282

กรด A : กรด B : กรด C = 508 :           280 : 282
กรดไขมัน A B และ C มีมวลรวมกัน   =   508 +280+282 = 1070 g
จากตารางจะได้ว่า กรดไขมัน A 1 mol = I2  1 mol มีมวล = 1 x 254 g
                                                                               254
                                                                                 x2
                                     กรดไขมัน   A 2 mol = I2                        = 508
                                                                                        g
                                                                                1
                                     กรดไขมัน   B       1 mol          = I2           2mol           มีมวล       =
2 x 254 g = 508 g
กรดไขมัน     C         1 mol = I21 mol            มีมวล    = 1x
254 g = 254 g
ดังนั้นกรดไขมัน A , B , C                  หนัก    1070 g           =   I2    หนัก    = 508 +
508 +254 = 1270 g
                                                              21.4% โดยมวล คือ
                                    แต่นำ้ามันชนิดหนึ่งมีกรดไขมัน
                                         นำ้ามัน 100 g มีกรดไขมัน A,B และ C = 21.4 g
                                         นำ้ามันมีกรดไขมัน 1070 g = I2 1270 g
                                                                                     1270 × 21 . 4
                                                        กรดไขมัน   21.4 g    = I2
                                                                                        1070
= 25.4 g
7. เฉลย 13.44 dm3 STP
                 ปฏิกิริยาแสดงการย่างแร่ ดังนี้
                              200 g (มี Sb2 S3 34%)
                      แร่พลวงเงิน
                     2Sb 2S (s)  + 9O2(g)                                       2Sb 2O3(s)
+ 6SO2(s)
                          ↓
↓
                     34
                        x 200 g = 68g
                    100
x dm3 STP
                          ↓
↓
                      68 
                           mol
                      340 
 x 
         mol
 22 . 4 
                                       โมลSO 2            6
                      จากสมการ
                                      โมลSb 2 S 3
                                                   =
                                                          2
                                                x 
                                                       
                                                22 . 4    = 3
                                                68 
                                                       
                                                340 
                                                                              68
                                                        ∴x           = 3x        x 22.4 =
                                                                             340
13.44 dm3 STP
                     ปริมาตรของแก๊ส      SO2      ทีเกิดขึ้น
                                                    ่          = 13.44 dm3STP


8.   เฉลย   58%
               1. ยาลดกรด (มี MgCO3 และแป้งผสมกัน) 1 g/H 2O 20 cm3
                2,3 MgCO3(s)       + 2HCl (aq)
MgCl2(aq) + H 2O(l) + CO2(g)
↓                                   ↓
                                          xg                            1mol/dm3
                                               ↓                         20 cm3
                                                                          ↓
                               x                          1 × 20
                                 mol                                  = 2 x 10-2 mol
                                84                        1000
                             จากโจทย์ แสดงว่าเหลือ        HCl      ทีต้องเติม
                                                                     ่            H 2O    เป็นสารละลาย
100cm      3
               แล้วปิเปตมา   10cm   3

                             มาไทเทรตกับNaOH
                                    MgCO3 ทำาปฏิกิริยาหมด               เหลือ       HCl   ในการคำานวณใช้
MgCO3          เป็นเกณฑ์ในการคิด
                                    MgCO3                1 mol = HCl 2 mol
                                                     x                                  2 x
                                    MgCO3  84  mol                    ≡ HCl              ×       mol
                                                                                        1 84
                                                                                           −2      x 
                                                         เหลือ    HCl        = 2 × 10           −   mol
                                                                                                   42 
                                                                                                −2  x 
                          สารละลายผสม          100 cm3       มี   HCl   เหลือ       =     2 × 10 −  42 
                                                                                                    
mol
                          สารละลายผสม          10 cm3       มี    HCl       เหลือ   =
      −2  x      10
2 × 10 −  42  x     mol
                100
             HCl(aq)                                 +            NaOH (aq)
NaCl (aq) + H 2O
                              ↓                                         ↓
       1                  x 
            2 × 10 −2   −     mol                0.2 mol-dm3
      10                  42 
                                                                            5 cm3
                                                   ↓
                                              0.2 × 5 
                                                       mol
                                              1000 
                                         โมลHCl           1
                         จากสมการ                   =
                                        โมลNaOH           1
                         โมล   HCl =               โมล   NaOH
       1              x     0.2 × 5
          2 × 10 −2 −     =
      10              42     1000
                         ∴ x          =                   0.42 g
                       ยาลดกรด      1g    มี       MgCO3 ผสมอยู่ = 0.42 g                  มีแป้งผสม   0.58 g
                                                                   0 . 58 × 100
                   ยาลดกรด     100 g      มีแป้งผสม          =                  g = 58 %
                                                                         1
โจทย์อัตราการเกิดปฏิกิริยาเคมี

โจทย์อัตราการเกิดปฏิกิริยาเคมี

  • 1.
    เฉลยข้อสอบเข้ามหาวิทยาลัยระบบใหม่ ครั้งที่ 2/2543 ตุลาคม 2543 มวลอะตอมที่กำาหนดให้
  • 2.
    H=1 C=12 N=14 O=16 Na=23 Mg=24 P=31 S = 32 Ca=40 Cl=35.5 Cr=52 Fe=56 Cu=63.5 Sb=122 I=127 ตอนที่ 1 ข้อ 1 / 50 1. ปัจจัยใดต่อไปนี้มีผลต่อความดันไอของของเหลว 1. แรงยึดเหนี่ยวระหว่างโมเลกุลของของเหลว 2. ปริมาณของของเหลวซึ่งมีสมดุลของของเหลวและไอ 3. อุณหภูมิของของเหลว 1. ก เท่านั้น 2. ก และ ข เท่านั้น 3. ก และ ค เท่านั้น 4. ก, ข และ ค 2. ข้อมูลแสดงค่าพลังงานที่เกี่ยวข้องกับการละลายของสาร A , B และ C เป็นดังนี้ สาร พลังงานไฮเดรชัน ( kJ / พลังงานแลตทิซ ( kJ / mol ) mol ) A 745 750 B 590 550 C 690 700 ถ้าใช้สาร A , B และ C จำานวนโมลเท่ากันละลายในนำ้าที่มีปริมาตร 100Ccm3 การ เปรียบเทียบ อุณหภูมิของแต่ละสารละลาย ข้อใดถูก 1. A > B > C 2. B > A > C 3. B > C > A 4. C > A > B 3. นักเรียนผู้หนึ่งทำาการททดลองเกี่ยวกับสมบัติของสารละลายพบว่าตัวทำาละลาย X มีจุดเยือกแข็งที่ 5. 5 o C นำาสารประกอบ X 0 . 2 โมล มาละลายในตัวทำาละลาย X 100 cm 3 พบว่าจุดเยือกแข็ง เปลี่ยนเป็น -4.3 o C ถ้านำาสารประกกอบ Z 8.4 g. มาละลายในตัวทำาละลาย X 50 cm3 จุดเยือกแข็งขอองสาร ละลายเป็น –4.3 o C เช่นเดียวกันถ้าสารประกอบ Z ประกอบด้วยธาตุคาร์บอนร้อยละ 85.71 ธาตุ ไฮโดรเจนร้อยละ 14.29 โดยโมล สูตรโมเลกุลของสารประกอบนี้จะเป็นดังข้อใด
  • 3.
    1. C6H6 2. C6 H12 3. C 9H8 4. C9 H14 4. ถ้าการแยกสารด้วยวิธีโครมาโทกราฟโดยใช้กระดาษกรองเป็นตัวดูดซับได้ผลดังนี้ จุด X = สาร A บริสทธิ์ ุ จุด y= สารตัวอย่างประกอบ ด้วยสาร A และสาร B ข้อสรุปใดน่าจะเป็นไปได้ ก. สาร A และสาร B มีค่า Rf เท่ากัน จึงแยกสาร A และ B ออกจากกันไม่ได้ด้วยวิธี การนี้ 2.สาร B อาจเป็นสารไม่มีสี จึงควรตรวจสมบัติตอไปโดยผ่านแสงอัลตราไวโอเลต ่ 3.สาร A และสาร B เคลือนที่ไปบนตัวดูดซับได้ใกล้เคียงกัน จึงควรทำาการทดลองซำ้าโดย ่ เปลี่ยน ตัวทำาละลาย 1. ก เท่านั้น 2. ข เท่านั้น 3. ก และ ข 4. ข และ ค 5. แร่ตัวอย่างหนัก 1.12 g. นำามาวิเคราะห์หาปริมาณ Fe ( ΙΙΙ ) โดยทำาปฏิกิรยากับ ิ สารละลาย KΙ ความเข้มข้น 1 mol / dm-3 ปริมาตร 10 cm3 เกิดแก็ส Ι 2 44.8 cm3 ที่ STP ปฏิกิริยาเกิดขึ้นดัง สมการ Fe ( ΙΙΙ ) + 2 Ι( aq ) → FeΙΙΙ ) + Ι 2 ( g ) ( แร่ตัวอย่างนี้มีเหล็กในรูป Fe ( ΙΙΙ ) อยู่ร้อยละเท่าใดโดยมวล 1. 10 2. 25 3. 50 4. 100 6.ปฏิกิริยาระหว่างสารประกอบ สมมติ A และ B เป็นดังสมการ A + 3B → 4C จากการทดลองเพื่อการทดสอบประสิทธิภาพของปฏิกิริยานี้ พบว่าร้อยละของผลได้ มีค่า 75 % ถ้าต้องการเตรียมสารประกอบ C 6 โมล จะต้องใช้ A และ B A B 1. 1 3 2. 1.1 3.3
  • 4.
    3. 1.5 4.5 4. 2 6 7. ข้อใดถูก สูตรเคมี นำ้าหนักสาร จำานวนโมเลกุล ชนิดของสารประกอบ 1. NO2 2.3 0.05 x โคเวเลนต์ โคเวเลนต์ 2. N ( CH3)3 1.18 1023 ไอออนิก 3. NaCl 5.85 1.2 ไอออนิก 4. H2SO4 4.9 x 10 22 2 x 1022 0.10 x 1023 8. โลหะ A 2 mol ถูกยิงด้วยอนุภาค จนอิเล็กตรอนกระเด็นออกไปเกิดเป็น A3+ ไอออน ร้อยละ 0.10 อิเล็กตรอน ทีกระเดนออกไปมีจำานวนเท่าใด ่ 1 . 1.8 X 1021 2. 3.6 X 10 21 3. 1.2 X 1024 4. 3.6X 1024 9. พิจารณาตารางข้อมูลต่อไปนี้ ΙE พลังงานไอออไนเซชัน ( MJ / moI-1 ) ธาตุ ΙE 1 ΙE 2 ΙE 3 ΙE 4 ΙE 5 ΙE 6 ΙE 7 ΙE 8 Ι E 9 Ι E 10 Ι E 11 X 1.7 3.4 6.1 8.4 11. 15. 17. 92. 106 0 2 9 1 .4 Y 0.5 4.6 6.9 9.6 13. 16. 20. 25. 28. 141 159 4 6 1 5 9 .4 .1 ข้อสรุปใดผิด 1. อิเล็กตรอนในระดับพลังงาน n= 1 ของ X ต้องคายพลังงาน 90.15 MJ / mol เพื่อจะไปอยูที่ระดับ ่ พลังงาน n =2 2. ผลต่างของระดับภพลังงาน n=2 และ n = 1 ใน Y จะมากกว่าใน X 3. ธาตุ X เป็นธาตุหมู่เดียวกับ 53 Ι 4. สาประกอบระหว่าง Y กับ X เป็นสารประกอบไอออนิก 10.พิจารณาแผนภาพต่อไปนี้ รูปใดแสดงการจัดเรียงอิเล็กตรอนในสภาวะพื้นของอะตอมไม่ถกต้อง ู
  • 5.
    1. 1 และ 2 เท่านั้น 2. และ 3 เท่านั้น 3. 1 และ 3 เท่านั้น 4. 1 , 2 และ 11. X , Y และ Z ดังนี้ กำาหนดข้อมูลของธาตุ Ι ธาตุ X มี ΙΕ 1 < ΙΕ 2 << ΙΕ 3 ΙΙ ธาตุ Y มี เป็นธาตุหมู่เดียวกับ 13AI ΙΙΙ ไอโซโทปหนึ่งของธาตุ Z ไม่มีนิวตรอน สูตรของสารประกอบซัลไฟด์ของ X และ Y , Z ควรเป็นข้อใด 1. X S Y2S3 Z2S 2. XS Y2S3 ZS 3. XS Y3S2 ZS 4. XS Y3S2 Z2S 12. ธาตุสมมติ X2 . 17 Y และ 35Z มีสตรโมเลกุลเป็น ู x2 Y2 และ Z 2 ตามลำาดับ เกิด สารประกอบไอออนิก กับโพแทสเซียม เมือพิจารณาผลการทดลองต่อไปนี้ ่ Ι เมื่อนำาสารละลาย KX มาทำาปฏิกิริยากับ Y2 พบว่าไม่เกิดการเปลี่ยนแปลง ΙΙ เมือนำาสารละสาย KZ มาทำาปฏิกิริยากับ Y2 พบว่าจะได้ Z2 เกิดขึ้น ่ ข้อสรุปใดถูกต้อง 1. X เป็นตัวรีดิวซ์ที่ดกว่า Y และ Z ี 2. เมื่อผสมสารละสาย KY กับ X2 จะไม่มการเปลี่ยนแปลงใดเกิดขึ้น ี 3. เวเลนซ์ อิเล็กตรอนของ X หลุดได้ง่ายกว่าเวเลนซ์อิเล็กตรอนของ Y- - และของ Z- 4. เมื่อผสมสารละลาย KZ กับ X-2 จะเกิด Z 2 และ KX ขึ้น 13. ในการละสายตัวของ 238 U92 ประกอบด้วยขั้นตอนต่าง ๆ 14 ขั้นตอน แต่ละขั้นตอนให้ อนุภาคต่าง ตามลำาดับดังนี้ .β βαα α α α β α β β β และ ผลผลิตในขั้น ตอนที่ 14 คือ ข้อใด 210 206 1. 222 Rn 86 2. 84 Po 3. 82 Pb 206 4. 76 Os 14.การเปรียบเทียบจำานวนอิเล็กตรอนคู่โดดเดียวของอะตอมกลางต่อไปนี้ ่ ข้อใดถูก 1. NH3>NO 3>ClO 4 - - 2. NCl3>NO3- >ClF3 3. ClO4->ClO-3>NO-3 4. ClF3>NCl3>ClO-3 15.สารประกอบทีเกิดจากการรวมตัวของธาตุหมู่ต่าง ๆ ต่อไปนี้ ข้อใดมีรายละเอียดถูกต้อง (เลขอะตอม ของธาตุทั้งหมดตำ่ากว่า 50 )
  • 6.
    หมู่ของธาตุ ที่เป็นองค์ อัตราส่วนอะตอม จุดเดือด การละลายนำ้า/สมบัติ ประกอบ 1. I กับ VI 1:2 สูง ละลาย/เบส ตำ่า 2. V กับ VI 2:3 ตำ่า ละลาย/กรด 3. II กับ VII 1:2 สูง ละลาย/กลาง 4. II กับ IV 1:1 ไม่ละลาย 16.กำาหนค่าอิเล็กโทรเนกาติวิตี (E.N) ของอะตอมบางชนิด อะตอม E.N Si 1.90 H 2.20 S 2.58 Br 2.96 Cl 3.16 สภาพมีขั้วของพันธะโควาเลนต์ต่อไปนี้ ข้อใดเรียงลำาดับจากมากไปน้อยได้ถกต้อง ู 1. H-Cl, H-Br, Si-S, Si-H 2. H-Cl, Si-S, Si-H, H-Br 3. H-Cl, H-Br, Si-H, Si-S 4. Si-H, Si-S, H-Br, H-Cl 17.กำาหนดพลังงานพันธะเฉลี่ย พันธะ พลังงา พันธะ พลังงาน รพันธะ(kJ/mol) พันธะ(kJ/mol) C-H 415 O=O 500 C-C 340 O-O 140 C=C 610 C-O 350 C≡C 840 O-H 460 C=O 740 ปฎิกิริยาในข้อใดคายพลังงานมากที่สุด 7 1. CH3-CH3+ O 2 → 2CO2+3H2O 2 2. CH2=CH2+3O2 → 2CO2+2 H2O
  • 7.
    5 3. CH ≡ CH+ O 2 → 2CO2+ H2O 2 4. CH3-CH-CH+3O2 → 2CO2+3H2O 18.ไอออนหรือโมเลกุลใดมีรูปร่างโมเลกุลเหมือนกัน และมีสภาพมีขั้วของโมเลกุลชนิดเดียวกัน 1. BeCl2(g) CO2 2. PCl5 ClF5 3. CCl4 XeF4 4. BCl3 PCl3 19.ถ้า O,P,Q และ R เป็นธาตี่มีเลขอะตอม 7,11,17 และ 20 ตามลำาดับ สูตรของสารประกอบ ข้อใดเป็นไปได้ 1. OQ 2. PO 3. Q2P3 4. R3O2 20.C5H10 เป็นสารประกอบไฮโดรคาร์บอนที่มีหลายไอโซเมอร์ ไอโซเมอร์เหล่านี้มีสตรโครงสร้างเป็นแบบ ู วงโซ่ตรง และโซ่กิ่ง ข้อใดเป็นจำานวนไอโซเมอร์ทถูกต้องทั้ง ี่ 3 แบบ แบบวง โซ่ตรง โซ่กิ่ง 1. 2 3 2 2. 3 2 3 3. 3 3 2 4. 4 2 3 21. สาร A ประกอบด้วยธาตุ 3 ชนิดคือ X.Y และ Z สาร A เป็นสารที่เสถียรและมีโครงสร้างดังนี้ ธาตุ X,Y,Z ควรเป็นธาตุดังข้อใด X Y Z 1. N P Cl 2. O S Cl 3. P C F 4. N C H 22. สารประกอบในข้อใดที่ทกสารมีหมู่คาร์บอนีลอยู่ในโมเลกุล ุ ก. CH3COCH2COOCH3,CH3CH2CH2CHO , CH3CH2COCH2CH3
  • 8.
    ข. CH3COCH2COOCH3, CH3OCH3, CH3CH2OCH2CH2OH ค. ง. 23.แก๊สผสมประกอบด้วย C2H6 , C 2 H4 และ C 2 H2 เมื่อเผาไหม้อย่างสมบูรณ์จะต้องใช้แก๊ส O2 อย่างน้อยกี่ โมลและเกิด CO2 กี่ dm ที่ STP 3 ใช้ O2(mol) เกิด CO2(dm3) 1. 6 67.2 2. 9 134.4 3. 89.6 12 224.0 4. 15 ตัวเร่งปฏิกิริยา 24.โพรพานาไมด์ + H 2O สาร A + สาร B ความร้อน สาร B เปลียนสีกระดาษลิตมัสจากสีแดงเป็นสีนำ้าเงิน ่ พิจารณาข้อความต่อไปนี้ 1. สาร B คือเอมีน 2. หมู่ฟังก์ชันของสาร A คือ -OH 3. สาร A ทำาปฏิกิริยากับโลหะโซเดียมเกิดแก๊สไฮโดรเจน 4. สาร A ทำาปฏิกิริยากับกรดเอทาโนอิกโดยมีกรดซัลฟิวริกเป็นตัวเร่งปฏิกิริยาได้โพรพิลเอทาโน เอต 25.สาร A,B และ C เป็นสารประกอบไฮโดรคาร์บอน เมื่อนำาสาร A ทำาปฏิกิริยากับสารละลาย โพแทสเซียมเปอร์แมงกาเนต และนำาสาร B และ C ทำาปฏิกิริยากับสารละลายโบรมีนในที่สว่างจะ เกิดปฏิกิริยา ดังสมการ A + KMnO4 + H 2O → C 3H 6O2 B + Br2 → C 3H 6Br C + Br2 → C3H5Br + HBr ข้อต่อไปนี้ข้อใดถูกต้อง 1. สาร A มีสตรโมเลกุล ู C 3H4 ข. สาร B และ C เป็นไอโซเมอร์กัน ค. สาร C ฟอกสีสารละลายโพเเทสเซียมเปอร์แมงกาเนต
  • 9.
    ง. สาร A 1 mol เกิดปฏิกริยาการเผาไหม้อย่างสมบูรณ์ได้แก๊ส ิ คาร์บอนไดออกไซด์และนำ้าอย่างละ 3 โมล 1. ก และ ข เท่านั้น 2. ค และ ง เท่านั้น 3. ก, ค และ ง 4. ก ,ข และ ค 26.สาร X สามารถสลายตัวได้ดังสมการ 3X → 5Y + 6 Z เมื่อวัดความเข้มข้นของสารละลาย x ในขณะที่เกิดปฏิกิริยาสลายตัวพบว่าได้ข้อมูลดังตาราง ต่อไปนี้ เวลา (วินาที) (X) (mol / dm3) 0.00 1.00 5.00 0.850 10.00 0.750 15.00 0.700 20.00 0.670 ถ้าอัตราการเกิดปฏิกิริยาในช่วงเวลา 15 ถึง 20 วินาที มีค่าคงที่ และมีค่าเท่ากับอัตราการ เกิดปฏิกิริยาเฉลี่ย ในช่วงนี้ ความเข้มข้นของสาร X mol / dm3 ในหน่วย ทีเวลา ่ 17 วินาที มีค่าเท่าใด 1. 0.670 2. 0.688 3. 0.690 4. 0.700 27.เปรียบเทียบสารอินทรีย์แต่ละคู่ตอไปนี้ ่ สารใดละลายนำ้าได้ดีว่ากัน ก. กรดเอทาโนอิกกับบิวทานอล ข. กรดบิวทาโนอิกกับกรดโพรพาโนอิก ค. บิวทานอลกับเพนทานอล ง. โพรพาโนนกับโพรพานาล ก ข ค ง 1. กรดเอทาโนอิก กรดโพรพาโนอิก บิวทานอล โพรพาโนน กรดโพรพาโรอิก เพนทานอล โพรพาโนน 2. กรดเอทาโนอิก กรดบิวทาโนอิก บิวทานอล โพรพานาล 3. บิวทานอล กรดบิวทาโนอิก เพนทานอล โพรพานาล 4. บิวทานอล
  • 10.
    28.พิจารณารูปต่อไปนี้ การเปรียบเทียบพลังงานก่อกัมมันต์ และการบอกชนิดของปฏิกิรยา ิ I และปฏิกิริยา II ในข้อใดถูก ต้อง พลังงานก่อกัมมันต์ของปฏิกิริยา ปฎิกิริยาดูดความร้อน ปฎิกิริยาคายความร้อน 1. I = II I II 2. I > II I II 3. I < II II I 4. I II I = II 29. ปฏิกิริยาต่อไปนี้เกิดในสถานะแก๊ส และอัตราการเกิดปฏิกิริยาขึ้นกับความเข้มข้นของทั้งสาร A, และสาร B A + B→ C ก.- สาร A 1 mol ทำาปฏิกิริยากับสาร B 1 mol ในภาชนะขนาด 1 dm 3 ระบบ ข. – สาร A 2 mol ทำาปฏิกิริยากับสาร B 2 mol ในภาชนะขนาด 2 dm 3 ระบบ ระบบ ค. – สาร A 0.2 mol ทำาปฏิกิริยากับสาร B 0.2 mol ในภาชนะขนาด 0.1 dm3 จากข้อมูลข้างต้น จงหาว่า Ι Ι. ระบบใดได้สาร C มากที่สุดภายในเวลาที่กำาหนด ΙΙ. ระบบใดมีอตราการเกิดปฏิกิริยาสูงที่สูง ั Ι ΙΙ 1. ก ข ข ค 2. ค ข 3. ค ค 4.
  • 11.
    30. ทีอุณหภูมิ 30OC ่ ปฏิกิริยา CO(g) + Cl2(g) COCl2(g) + 108 KJ มีความสัมพันธ์ ระหว่างความเข้มข้นระหว่างเวลาเป็นดังกราฟต่อไปนี้ หลังจากระบบเข้าสู่สมดุลที่ 30OC แล้วถ้าเพิ่มอุณหภูมิเป็น 50OC กราฟของปฏิกิรยาควรดำาเนินต่อไป ิ อย่างไร 31.แก๊ส X และ Y ทำาปฏิกิริยาได้แก๊ส Z ดังสมการ . X(g) + 3Y (g) 2Z(g) ถ้าให้ X และ Y อย่างละ 0.1 mol ทำาปฏิกิริยากันในกระบอกสูบขนาด 500 cm 3 จนเข้าสู่สภาวะสมดุล ข้อใดถูกต้อง 1. เมือขยายปริมาตรของกระบอกสูบจะได้ Z น้อยลง ่ ΙΙ 2.ค่าคงทีสมดุลของปฏิกิริยานี้แปรผันโดยตรงกับความเข้มข้นของ Z และแปรผกผันกับ X และ Y ่ 3. ที่ภาวะสมดุลจะมีแต่แก๊ส X และ Y ในกระบอกสูบ ΙΙΙ 4. ถ้าเพิ่มปริมาณสารตั้งต้น Y เป็น 0.3 mol ทีสภาวะสมดุลใหม่ X และ Y จะทำา ่ ปฏิกิริยากันหมดพอดี
  • 12.
    32. ปฏิกิริยาข้อใดไม่ใช่ปฏิกิริยากรด - เบส 1. 2. 3. 2CH3COOH + 2Na → 2CH3COONa + H2 4. CH3COOH + NH3 → CH3COONH4 33. พิจารณาปฏิกิริยาสมมติตอไปนี้ ่ A + B 2C จากการทดลองได้ข้อมูลความเข้มข้นเริ่มต้นและความเข้มข้นที่สภาวะสมดุลของสารต่างๆใน ปฏิกิริยานี้ การทดลองที่ ความเข้มข้นเริ่มต้น mol / dm3 ความเข้มข้นที่สภาวะสมดุล mol / dm 3 [ A] [ B] [ C] [ A] [ B] [ C] 1. 0.04 0.04 0 0.02 M N 2. 0.03 0.02 0 X y z ถ้าการทดลองที่ 1 และ 2 ที่ทำาอุณหภูมิ 30 o C ค่า Z จะเป็นเท่าใด 1. 0.010 2. 0.012 3. 0.020 4. 0.024 34. นำ้าส้มสายชูตัวอย่างมีกรดอะซีตกอยู่รอยละ ิ ้ 4.8/ โดยมวล ปริมาตร ในการไทเทรตนำ้าส้ม สายชูกับสารละลายโซเดียมไฮดรอกไซด์พบว่านำ้าส้มสายชู 10 cm 3 ทำาปฏิกิริยาพอดีกับสารละลาย NaOH 20 cm3 จงหาความเข้มข้นของสารละลาย NaOH ในหน่วยร้อยละโดยมวล / ปริมาตร 1. 1.0 2. 1.6 3. 2.0 4. 2.4 35. สารละลายกรด HA ความเข้มข้น 1 × 10-3 mol / dm3 ปริมาตร 10 cm3 ร้อยละ การแตกตัวของกรด เท่ากับ 10 สารละลายนี้มี pH เท่าใด และมีค่า Ka โดยประมาณเท่าใด pH K a (ประมาณ) 1. 3 1 × 10-3 2. 4 1.0 × 10-5 3. 5 1.0 × 10-4 4. 6 1.0 × 10-5
  • 13.
    36. จากข้อมูลอินดิเคเตอร์และช่วง pH ของการเปลี่ยนสี ดังตาราง อินดิเค ช่วง pH สีที่เปลี่ยน เตอร์ ก 3.2- 4.4 แดง – เหลือง ข แดง – เหลือง ค 4.2- 6.3 เหลือง – นำ้าเงิน ง 6.0– 7.6 เหลือง – แดง 6.8 – 8.4 ข้อใดแสดงอินดิเคเตอร์ที่เหมาะสมสำาหรับการบอกจุดยุติของการไทเทรต 1. ไทเทรต NH4OH ด้วย HCI ใช้อินดิเคเตอร์ ค 2. ไทเทรต HNO3 ด้วย NaOH ใช้อินดิเคเตอร์ ง 3. ไทเทรต CH3COOH ด้วย NaOH ใช้อินดิเคเตอร์ ก 4. ไทเทรต NH4O H ด้วย HCN ใช้อินดิเคเตอร์ ข 37. สาร A และ B คูใดเมื่อผสมกันได้สารละลายบัฟเฟอร์ ่ A สาร B สาร 1. CaCO3 หนัก 40 g HNO3 0.1 mol 2. NH4OH 1 mol / HCl 0.1 mol dm3 100 cm3 NH4Cl 0.2 mol 3. CH3COOH 0.1 mol NaOH 1 mol / 4. H3PO4 1 mol / dm3 50 cm3 dm3 50 cm3 38. สาร A ประกอบด้วยฟอสฟอรัสและคลอรีน นำาสาร A 13.75 กรัม ไปทำาปฏิกิริยา กับนำ้าจน ปฏิกิริยาสิ้นสุด ได้กรดฟอสฟอริก 9.8 กรัม และกรดไฮโดรครอริก 10.95 กรัม สาร A ประกอบด้วย คลอรีนร้อยละเท่าใดโดยมวล 1. 22.5 2. 25.8 3. 53.3 4. 77.5 39. เมื่อผสมสาร 2 ชนิดเข้าด้วยกันในขวดใบที่ 1 แล้วผ่านแก๊สที่เกิดขึ้นลงในสารละลาย Ca (OH)2 ซึ่งอยู่ ในขวดใบที่ 2 จะทำาให้สารละลายขุ่น เมื่อนำาสารละลายผสมในขวดใบที่ 1 ไประเหยจน แห้ง จะได้ของ แข็งสีขาว สารผสมในข้อใดเป็นไปได้ ก. HNO3 (aq) + CuCO3 (s) ข.. CH3COOH(aq) + NaHCO3(a) ค.HCl (aq) + Na2 CO3 (aq) ง. NH2 CONH2 (aq) + H2O(l)มียูรีเอสอยูด้วย ่ 1. ก และ ข เท่านั้น 2. ข และ ค เท่านั้น 3. ก , ข และ ค เท่านั้น 4. ก, ข , ค และ ง
  • 14.
    40.กำาหนดสูตรเคมีตอไปนี้ CaF2 .3Ca3(PO4)2 ; Sb2S3 . 3H2O; Na2ZrSiO5 ่ ถ้าเลขออกซิเดชันของ Si = 4 พิจารณาเลขออกซิเดชันในข้อต่อไปนี้ ก. เลขออกซิเดชันของ P สูงกว่า +3 และของ Sb ตำ่ากว่า +5 ข. เลขออกซิเดชันของ Sb สูงกว่า +2 และของ Zr ตำ่ากว่า +1 ค. เลขออกซิเดชันของ Zr สูงกว่า +1 และของ P เท่ากับ +5 ง. เลขออกซิเดชันของ Zr เท่ากับ 0 และของ Sb สูงกว่า +3 ข้อใดผิด 1. ก และ ข 2. ก และ ค 3. ข และ ง 4. ค และ ง 41. นักเรียนผู้หนึ่งละลายคลอไรด์ของธาตุ M ปริมาณ 0.05 mol ในนำ้ากลั่น แล้วปรับป ปริมาตรให้เป็น 500 cm3 จากนั้นนำาสารละลายที่ได้ปริมาตร 12.5 cm3 ไปทำาปฏิกิริยาพอดีกับ สารละลายซิลเวอร์ไน- (AgNO3) เตรด เข้มข้น 0.10 mol dm3 ได้ตะกอนซิลเวอร์คลอไรด์ สารประกอบ คลอไรด์ขอองธาตุ M มีสตรเป็นอย่างไร ู 1.MCl 2. MCl2 3. MCl3 4. MCl4 Ις ς กำาหนดค่าศักย์ไฟฟ้ามาตรฐาน ปฏิกิริยาครึ่งเซลล์ Eo (V) A2 + 2H+ + 2e- → H 2 A2 +0.68 3+ B + e - → B2+ +0.80 C2 + 2e- → 2C- +1.07 D4 + e- → D3+ +1.45 ปฏิกิริยาใดต่อไปนี้เป็นปฏิกิริยาที่เกิดขึ้นได้เอง ก. 2B3+ + H2 A2 2B2+ + A2 + 2H+ ข. A2 + 2H+ + 2C- H 2 A 2 + C2 ค. D4+ + B2+ D3+ + B3+ ง. 2B3+ 2C- 2B2+ + C2
  • 15.
    1. ก และ ข 2. ข และ ค 3. ค และ ง 4. ก และ ค 43. พิจารณาปฏิกิริยา Cr (OH)3 + ClO- CrO2-4 + Cl- + H2O (สมการยังไม่ดล) จะต้อง ุ ใช้ NaOCl กีกรัมเพื่อทำาปฏิกิริยาพอดีกับ Cr (OH)3 1 mol ่ 1. 74.5 2. 77.2 3. 111.8 4.223.5 44. พิจารณาสูตรโครงสร้างของผงซักฟอก 2 ชนิดต่อไปนี้ ข้อความใดผิด 1. ผงซักฟอกมีประสิทธิภาพซักล้างในนำ้ากระด้างดีกว่าสบู่ เพราะหมู่ ช่วยลด ความกระด้างของนำ้า 2. ระบบเอนไซม์ขอองจุลินทรีย์สามารถย่อยสลายผงซักฟอกชนิด ข ได้อย่างดี จึงไม่กอให้เกิด ่ ปัญหาต่อสภาวะแวดล้อม 3. ระบบเอนไซม์ของจุลินทรีย์ไม่สามารถย่อยสลายผงซักฟอกชนิด ก ได้ จึงก่อให้เกิดปัญหาต่อ สภาวะแวดล้อมอย่างมาก 4. สารฟอตเฟตในผงซักฟอกทีอยู่ในนำ้าทิ้ง เมือปะปนในแม่นำ้าลำาคลองทำาให้สาหร่ายและวัชพืชเจริญ ่ ่ งอกงามและแพร่พันธุ์อย่างรวดเร็ว จึงก่อให้เกิดปัญหาต่อสิ่งแวดล้อม 45. กำาหนดให้ X2+ (aq ) + 2e-  X(S) → EO=+0.30 V Y3+(aq)+3e-  Y(S) → EO=+0.90 ถ้านำาครึ่งเซลล์X|Y (aq)มาต่อกับครึ่งเซลล์Y|Y3+ (aq) 3+ ที่ภาวะมาตรฐานข้อใดถูก ต้อง แคโทด แอโนด ตัวออกซิไดส์ ตัวรีดิวซ์ ςΙ 1. Ξ Y X X2+ Y ςΙΙ 2. ΞΙ Y X Y3+ X ςΙΙΙ3. ΞΙΙX Y Y3+ X ΙΞ 4. X Y X2+ Y 46. ปัจจัยในข้อใดที่ทำาให้โปรตีนแปลงสภาพ
  • 16.
    ก. การให้ความร้อน ข. ตัวทำาละลายอินทรีย์ ค. ไอออนของโลหะหนัก ง. การใช้กรด และเบส ข้อใดถูกต้อง 1. ก และ ข เท่านั้น 2. ค และ ง เท่านั้น 3. ก เท่านั้น 4. ก , ข , ค และ ง 47. กำาหนดพอลิเมอร์ มีสูตรดังนี้ ข้อใดถูก พอลิเเมอร์ ชนิด ปฏิกิริยาการเกิด 1. ก โฮโมพอลิเมอร์ การควบแน่น ข โฮโมพอลิเมอร์ การควบแน่น 2. ค โคพอลิมอร์ การเติม 3. ง โคพอลิเมอร์ การควบ 4. 48. ข้อใดเป็นการเลือกปฏิบติได้เหมาะสมทีสุด ั ่ 1. เก็บขวดนำ้าพลาสติกไม่ใช่แล้วไว้ใส่นำ้ามันเบนซิน 2. ใช้ถ้วยชามที่ผลิตจากพอลิเอทิลีนอุ่นอาหารในเตาไมโครเวฟ 3. ใช้ภาชนะที่เคลือบด้วยพอลิเตตระฟลูออโรเอทิลีนในการทอดปลา 4. เก็บรวบรวมถ้วยชามประเภทเมลานีนที่ชำารุดไว้เพื่อการนำากลับไปใช้ใหม่ 49.การถลุงแร่ในข้อใดที่มีหลักการในการถลุงเหมือนกัน ก. สังกะสี ข. แคดเมียม ค. ดีบก ุ ง. พลวง 1. ก และ ข 2. ข และ ค 3. ก , ข และ ง 4. ก , ค และ ง 50.ข้อใดต่อไปนี้ ไม่ถกต้อง ู 1.มลพิษทางนำ้าที่เป็นสารจำาพวกฟอตเฟตได้มาจากการใช้ปุ๋ยเคมี ยากำาจัดวัชพืช และผงซักฟอก ΞΙΙΙ2.สาร CFC และ DDT เป็นสารมลพิษที่มฮาโลเจน เป็นองค์ประกอบแต่สารไดออกซินเป็น ี สารมลพิษที่ไม่มีฮาโลเจน ΞΙς3. แก๊สคาร์บอนไดออกไซด์ปริมาณมากเกิดจากการเผาไหม้เชื้อเพลิงเป็นสาเหตุหลักของการเกิด ปรากฏ การณ์เรือนกระจก 4.โอโซนเป็นแก๊สที่เป็นพิษเมื่ออยู่ในบรรยากาศระดับตำ่าแต่มีประโยชน์ในการป้องกันรังสี อัลตราไวโอเลต เมืออยู่ในบรรยากาศระดับสูง ่
  • 17.
    ตอนที่ 2 ข้อ 1–8 เป็นข้อสอบอัตนัย 1. X และ Y เป็นธาตุ 2 ชนิด หนึ่งโมเลกุลของ X มี 4 อะตอม และมีมวลโมเลกุล 124 หนึ่งโมเลกุลของ Y มี 2 อะตอม และมีมวลโมเลกุล 32 XY43- 1.505 × 1023 ไอออนคิดเป็นนำ้าหนักกี่ กรัม 2. ในการสังเคราะห์แสงขอสาหร่ายสีเขียวพบว่าใช้ CO2 6 × 10-3 mol / hour ถ้าการ สังเคราะห์แสงให้ ผลิตภัณฑ์เป็นแป้ง ( C6 H10 O5 ) เท่านั้น จะต้องใช้เวลากี่ชั่วโมงในการสังเคราะห์แสง เพื่อให้ได้แป้ง หนัก 1.62 กรัม 3. สารประกอบชนิดหนึ่งประกอบด้วย C , H และ O มี C ร้อยละ 39.13 และ O ร้อยละ 52.17 สาร ประกอบนี้มีสตรเอมิรคัลและสูตรโมเลกุลเหมือนกัน เมือนำาสารประกออบนี้หนัก ู ิ ่ 6.90 g ละลายใน เอทานอลจำานวนหนึ่งหาจุดเดือดของสารละลายได้ 80.90oC ถ้าจุดเดือดของเอทานอลเท่ากับ 78.50 C o และค่า Kb ของเอทานอลเท่ากับ 1.22oC mol-1kg-1 จงหานำ้าหนักเป็นกรัมของเอานอล ในสารละลาย 4.สารอินทรียชนิดหนึ่งมีธาตุ N เป็นองค์ประกอบ เมือสลายสารอินทรีย์นี้ 1.5 g แล้วผ่านแก๊ส ์ ่ NH3 ทีได้ลงในสารละลาย HCl เข้มข้น 0.10 mol dm-3 ปริมาตร 50 cm3 นำาสารละลาที่ ่ ได้มาไทเทรตด้วยสารละลายมาตรฐาน NaOH เข้มข้น 0.1 mol dm -3 ปรากฏว่าใช้ไป 30 cm จงหาร้อยละโดยมวลของไนโตรเจนในสารละลาย 3 5.ถ้าต้องการเตรียมสารละลาย CuSO4 เข้มข้น 0.1 mol dm-3 ปริมาตร 500 cm3 จาก CuSO4 . 5H2O ซึ่งมีความบริสุทธิ์ร้อยละ 99.8 จะต้องใช้ CuSO4 . 5H2O หนักกีกรัม ่ 6.นำ้ามันชนิดหนึ่งประกอบด้วยกรดไขมันร้อยละ 21.4 โดยมวล โดยเป็นกรดไขมัน 3 ชนิดคือ A,B และ C ซึ่งมีอตราส่วนจำานวนโมลเป็น 2 : 1 : 1 ตามลำาดับ ั กรด สูตรทั่วไป มวลโมเลกุล A C15 H29 254 B COOH 280 C C17 H31 COOH 282 C17 H33 COOH
  • 18.
    ถ้าพันธะคู่ 1 พันธะ ทำาปฏิกิริยากับ 2 1 โมเลกุล นำ้ามัน 100 g จะทำา ปฏิกิริยาพอดีกับ 2 กีกรัม ่ 7. นำาแร่พลวงเงินที่มี Sb2S3 34% หนัก 200 กรัม มาเผาให้ร้อนจัด ( อย่างแรง ) จน กำามะถันในแร่พลวง เงินเปลี่ยนเป็น SO2 จนหมด จงคำานวณหาปริมาตรของ SO2 ที่เกิดขึ้นเป็นลูกบาศก์เดซิเมตร ที่ STP 8. นักเรียนคนหนึ่งทำาการทดลองหาร้อยละโดยมวลของแป้งในยาลดกรด ซึ่งมีส่วนผสมของ MgCO3 และแป้งดังนี้ 1. ชังยาลดกรด ่ 1.00 g บดให้ละเอียดละลายในนำ้ากลั่น 20 cm3 Ξς เติมสารละลาย HCI เข้มข้น 1.00 mol dm -3 ปริมาตร 20 cm3 ลงในสารละลายในข้อ 1 นำาไปอุ่น 3. กรอง ล้างภาชนะด้วยนำ้ากลั่นปริมาณเล็กน้อย แล้วเทชะบนกระดาษกรอง 2- 3 ครั้ง 4. ทำาสิ่งทีกรองได้ให้มีปริมาตร 100 cm 3 ่ ในขวดวัดปดริมาตร 5. ปิเปตสารละลายในข้อ 4 มา 10cm 3 ไทเทรตด้วยสารละลาย NaOH เข้มข้น 0.20 mol dm-3 ที่ จุดยุติใช้สารละลาย NaOH 5.0 cm 3 จงคำานวณหาร้อยละโดยมวลของแป้งในยาลดกรด
  • 19.
    ตอนที่ 1 1. เฉลยข้อ 3 แนวคิด ถูก เพราะปัจจัยที่มีผลต่อ ความดันไอของของเหลว คือ 1. แรงยึดเหนี่ยวระหว่างโมเลกุลของของเหลวความดันไอของของเหลวเป็นสัด ส่วนกลับแรงยึดเหนี่ยวระหว่างโมเลกุลของของเหลว 2. อุณหภูมิ ความดันไอของของเหลว เป็นสัดส่วนตรงกับอุณหภูมิ 2 เฉลยข้อ 2 แนวคิด ให้สาร A, B และ C ต่างใช้จำานวน 1 mol ละลายนำ้าที่ปริมาตร 100 cm3 สารในนำ้า ความร้อนของการ เหตุผล ละลาย A ดูดพลังงาน พลังงานไฮเดรชัน น้อยกว่าพลังงานแลตทิช = ดูดพลังงาน B ดูดพลังงาน 750-745 = 5 C พลังงานไฮเดรชัน มากกว่าพลังงานแลตทิช = 590-550 = 40 พลังงานไฮเดรชัน น้อยกว่าพลังงานแลตทิช 700 - 690 = 10 การเปรียบเทียบอุณหภูมิของแต่ละสารละลาย B > A > C 3. เฉลยข้อ 2 M แนวคิด สมมติให้ความหนาแน่นของตัวทำาละลาย X = x g/cm3 สูตร d V M = dV X 100 cm3 ตัวทำาละลาย มีมวล = 100 X g. และตัวทำาละลาย X 50 cm3 มีมวล = 50X g.
  • 20.
    0.2 สารละลาย Y ใน X มีความเข้มข้น =  (100X )  =  Kg  1000  2 mol / kg X สูตร ∆Tf = K f × m 2 แทนค่า (5.5 – (-4.3) ) = Kf ×  X สารละลาย Z ใน X m1 × 1000 สูตร ∆Tf = Kf × m 2 × M.W 1 8.4 × 1000 แทนค่า (5.5 – (-4.3 ) ) = K f × ( 50X× M.W ) 1 2 8.4 × 1000 แต่ Kf × = K f × ( 50X× M.W ) X 1 1000 Z = 8.4 × 50M.W จะได้ 1 M. W 1 = 84 หาสูตรเอมพิริคล ั 85.71 14.29 C:H = : โดยมวล 12 1 7.14 14.29 C:H = : โดยโมล 7.14 7.14 C:H = 1.00 : 2.00 โดยโมล สูตรเอมพิรคัลของ Z ิ คือ C1 H2 ให้สตรโมเลกุล ( CH2 )n ู มวลโมเลกุลของ Z = 84 (12+2 ) = 84 ∴n = 6 สูตรโมเลกุล ( CH2 )6 จะได้ C6 H12 4. เฉลยข้อ 4 แนวคิด จากข้อมูลการทดลอง สรุปได้ว่า 1. ทีจุด Y สารตัวอย่าง ่ (A+B) แยกได้ 1 แถบ ซึ่งเคลื่อนที่ได้ระยะ ทางเท่ากับ สาร A บริสทธิ์ จากจุด ุ X ดังนั้น สาร B อาจเป็นสารไม่มีสี จึงควรตรวจสมบัตต่อ ิ ไปนี้ด้วยการผ่านแสงอัลตราไวโอเลต 2. สาร A และสาร B เคลื่อนที่ไปบนตัวดูดซับได้ใกล้ เคียงกันมาก จึงเห็นเป็น แถบเดียว จึงควรทำาการทดลองซำ้าโดยเปลี่ยนตัวทำาละลาย 5. เฉลย ไม่มีคำาตอบ
  • 21.
    แนวคิด เขียนสมการแสดงปฏิกริยาพร้อมดุล ิ แร่ตัวอย่าง 1.12 g KI ( aq ) 1 mol . dm-3 10 cm3 ↓ ↓ 2Fe (aq) 3+ 2I –(aq) → 2Fe 2 + (aq) + I 2 (aq) ↓ ↓ ↓  1 × 10  X g  mol  1000  44.8 cm3 ↓ ↓ X  mol  56   44.8   mol  22.4 × 1000  จากขัอมูลที่โจทย์ให้มากำาหนดทั้งจำานวนโมลของสารตั้งต้น KI และจำานวนโมลของ ผลิตภัณฑ์ I 2 ในการคำานวณจะต้องยึดเอาจำานวนโมลของผลิตภัณฑ์ I 2 เป็นหลัก กล่าวคือ KI จำาถูกใช้ทำาปฏิกิริยาหมดหรือไม่กตาม I 2 ต้องเกิดขึ้น ็ กับจำานวน 44.8 cm3 STP อย่างแน่นอน จึงใช้สารนี้เป็นหลักในการคำานวณ ดังนี้ 3+ โมล Fe 2 จากสมการ = โมลI2 I X  mol  56  2 =  44.8  I  mol  22.4 × 1000  2 × 44.8 × 56 ∴X = = 0.224g 22.4 × 1000 แร่ตัวอย่าง 1.12 g มีเหล็กในรูป Fe 3 + = 0.224g แร่ตัวอย่าง 100 g มีเหล็กในรูป 0.224 × 100 Fe 3 + = = 20g 1.12 แร่ตัวอย่างมีเหล็ก = 20% โดยมวล 6.เฉลยข้อ 4 แนวคิด สมการของปฏิกิริยา ดังนี้
  • 22.
    A + 3B 4C ผลได้ของสาร c ที่คำานวณได้จากสมการของปฏิกิริยาเป็นผลได้ตามทษฏีของ สาร C=X mol ผลได้จริง ร้อยละของผลได้ = x 100 ผลได้ตามทษ ฏี 6 75 = x100 X 6 × 100 ∴X = = 8 mol 75 โมลA 1 โมลA 1 จากสมการ = แทนค่า = จะได้สาร โมลC 4 8 4 A = 2mol โมลB 1 โมลB 4 = แทนค่า = โมลC 4 8 3 จะได้สาร B = 6mol 7. เฉลยข้อ 2 2.3 แนวคิด ข้อ 1 ผิด NO2 มี = 0.05mol เป็นสารประกอบโคเวเลน 46 ต์ NO2 1 mol = มีจำานวน = 6.02 × 10 23 โมเลกุล NO2 0.05 mol = มีจำานวน 23 6.02 × 10 × 0.05 = 1 = 0.301 × 10 23 โมเลกุล  1.18  ข้อ 2 ถูก N (CH 3 ) 3 มี =   = 0.02mol เป็น  59  สารประกอบโคเวเลน N (CH 3 ) 3 1 mol มีจำานวน = 6.02 × 10 23 โมเลกุล N(CH 3 ) 1 mol มีจำานวน 23 6.02 × 10 × 0.02 = 1 = 1.204 × 10 23 โมเลกุล 5.85 ข้อ 3 ผิด NaCl มี = 0.1mol เป็น 58.5 สารประกอบไอออนิก
  • 23.
    NaCl มีจำานวน =6.02 × 10 23 โมเลกุล NaCl 0.1 mol มีจำานวน 6.02 × 10 23 × 0.1 = 1 = 6.02 × 10 22 โมเลกุล ข้อ 4 ผิด H 2SO 4 เป็นสารประกอบโคเวเลนต์ไม่ใช่ สารประกอบไอออนิก 8. เฉลยข้อ 2 แนวคิด โลหะ A ถูกยิงด้วยอนุภาคแอลฟาเกิดอิเล็กตรอนกระเด็นออกไปเกิด A3+ ไอออน ร้อยละ 0.10 ดังสมการ A → A 3 + (g) + 3e − โลหะ A 100 mol A ทีถกอนุภาคแอลฟาเกิด ่ ู อิเล็กตรอนกระเด็นออกไป = 0.1 mol โลหะ A 2 mol A ทีถกอนุภาคแอลฟาเกิด ่ ู อิเล็กตรอนกระเด็นออกไป = 0.1 × 2 = 2 × 10 − 3 mol 100 จากสมการโลหะ A 1 mol เกิด A3+ และ อิเล็กตรอนทีกระเด็นออกไป ่ = 3 × 6.02 × 10 23 อนุภาค A 2 × 10 −3 mol เกิด A 3+ โลหะ และ อิเล็กตรอนทีกระเด็นออกไป ่ = 3 × 6.02 × 10 23 × 2 × 10 −3 อนุภาค 1 = 3.6 × 10 21 อนุภาค 9. เฉลยข้อ 1
  • 24.
    แนวคิด ธาตุ พลังงานไอออไนเซชัน IE 1 − IE 9 (MJ / mol ดังนี้ 1.73.46.18.411.015.9   .217 92.1106.4 X  n =2      n =1 พลังงานเฉลี่ย พลังงานเฉลี่ย 1 . 7 + 3 . 4 + 6 . 1 + 8 . 4 + 11 . 0 + 15 . 2 + 17 . 9 = = 7 92.1 + 106.4 2 63 . 7 = = 9.1 MJ 7 = 99.25 MJ Y 0.5 n = 3 พลังงานเฉลี่ย = 0.5 MJ 4.6. 6.9 9.6 13.4 16.6 20.1 25.5 28.9 n =2 พลังงานเฉลี่ย = 15.7 MJ 141.4 159.1 n =1 พลังงานเฉลี่ย = 150.25 MJ ข้อ 1 ผิด เพราะอิเล็กตรอนใน n=1 ของ X ต้องคายพลังงาน 99.25 MJ / mol เพื่อไปอยู่ ใน n=2 2 ถูก เพราะผลต่างของพลังงานของ n = 1 ข้อ กับ n=2 ใน Y= (150.25 – 15.7 = 134.55 MJ มีค่ามากกว่า ผลต่างของพลังงานของ n=1 กับ n= 2 ใน X = ( 99.25 – 9.1 ) = 90.15 MJ ข้อ 3 ถูก เพราะจากการจัดกลุ่มอิเล็กตรอนในระดับพลังงานต่าง ๆ พบว่าธาตุ X มีระดับพลัง งาน 2 ระดับ n = 1 มี 2 อิเล็กตรอน n = 2 ซึ่ง เป็นเวเลนต์อิเล็กตรอน มี 7 อิเล็กตรอน แสดงว่าธาตุ X อยู่หมู่ 7 แต่ 53 Ι มีเลขอะตอม = 53 มีจำานวนโปร – ตรอน = จำานวนอิเล็กตรอน = 53 มีการจัดอิเล็กตรอนใน ระดับพลังงานต่าง ๆ ดังนี้ 2 , 8 ,18 , 18 , 7 มีเวเลนต์อิเล็กตรอน 7 อยู่หมู่ 7 เช่น เดียวกับ ธาตุ ข้อ 4 ถูก เพราะ X มีเวเลนต์ตรอน =7 เป็นธาตุอโลหะ เกิดไอออนลบคือ X - Y มีเวเลนต์ตรอน =1 เป็นธาตุโลหะ เกิด ไอออนบวกคือ Y +
  • 25.
    สารประกอบของ Y( โลหะ ) กับ X ( อโลหะ ) เป็นสารประกก อบไอออนิก มีสูตร YX 10 . เฉลยข้อ 4 แนวคิด ธาตุนี้มีจำานวนโปรตรอน (P ) = จำานวนอิเล็กตรอน (e- )= 7 การจัด อิเล็กตรอนในระดับพลัง งานต่าง ๆ เป็น 2,5 n = 1 มีจำานวนอิเล็กตรอน n = 2 มี จำานวน 5 อิเล็กตรอน จากแผน ภาพไม่มีข้อใดถูก จึงเลือกข้อ 4 11. เฉลยข้อ 1 แนวคิด จากข้อมูล Ι ธาตุ Χ มีค่า ΙΕ 2 และ ΙΕ 3 ต่างกันมาก ๆ แสดงว่า อิเล็กตรอนทั้ง 2 อยูต่าง ่ ระดับพลังงานกัน ดังนั้นเวเลนต์อิเล็กตรอนของ Χ =2 เกิดไอออน ที่มีประจุ +2 AI ΙΙ 13 ,มีการจัดอิเล็กตรอนในระดับพลังงาน 2, 8 , 3 หมู่ 3 อยู่ หมู่เดียวกับ Y และ Y อยู่หมู่ 3 ΙΙΙ ไอโซโทปหนึ่งของ Z ไม่มีนิวตรอน คือ ธาตุไนโตรเจนเป็นอโลหะ ซันไฟรด์ของ X ซันไฟรด์ของ Y ซันไฟรด์ ของ Z X S Y S Z S 2 3 2 +2 -2 3 2 1 2 1 2 12. เฉลยข้อ 4 แนวคิด ธาตุอโลหะหมู่เดียวกัน ธาตุ อโลหะอิสระทีอยู่บนกว่าในตารางธาตุสามารถทำาปฏิกิริยา ่ กับ ไอออนลบของอโลหะตัวล่างกว่าในหมู่เดียวกันได้ จากข้อมูลนำามาวิเคราะห์ได้ดังนี้
  • 26.
    Ι ΚΧ ไม่ทำาปฏิกิริยากับ Υ2 : 2X− + Υ2 X2 + 2Y− แสดงว่า Υ2 รับอิเล็กตรอนของ Χ − ไม่ได้ นั่นคือธาตุ Χ อยู่บนธาตุ Υ อยูล่าง ่ ΙΙ ΚΖ ทำาปฏิกิริยากับ Υ2 : 2Ζ − + Υ2 Ζ 2 + 2Υ − แสดงว่า Υ2 รับอิเล็กตรอนของ Ζ − ได้ นั่นคือธาตุ Υ อยู่บน ธาตุ Ζ อยู่ ล่าง จาก Ι และ ΙΙ สรุป ธาตุในหมู่เดียวกัน เรียงจากเลขอะตอมน้อยไปมาก ( หรือบนลงล่าง ) ดังนี้ ( บน ) Χ, Υ , Ζ ( ล่าง ) X 2Y2Z2 มาก → น้อย ความสามารถในการรับอิเล็กตรอน และความแรงใน การรับออกซิ ไดส์ X-Y− Z− ยาก  → ง่าย ความสามารถในการให้อิเล็กตรอน และความแรงในการ รีดิวซ์ ข้อ 1 ผิด เพราะ Z- เป็นตัวรีดิวซ์ทดีกว่า ี่ X- และ Y- ข้อ 2 ผิด เพราะผสม KY กับ X2 เกิดปฏิกริยาเคมี ิ เนื่องจาก X2 รับ อิเล็กตรอนของ Y – ได้ ข้อ 3 ผิด เพราะเวเลนซ์อิเล็กตรอนของ X- หลุดอยากกว่าเวเลนซ์ อิเล็กตรอนของ Y – และของ Z - ข้อ 4 ถูก เพราะผสม KZ กับ X2 เกิดปฏิกิริยาดังนี้ 2KZ + X2 2KX + Z2 เนื่อง จาก X2 รับอิเล็กตรอนจาก Z- ได้ 13.เฉลยข้อ 3 238 สลายอนุภาคต่าง ๆ ทั้งหมด 14 ขั้นตอนเป็นรังสี α 8 ขั้นตอน และรังสี β แนวคิด 92U 4 6 ขั้นตอน แต่รังสี α เขียนเป็นสูตร 2H 8 ขั้นตอน จะพบว่าเลขมวลลด 4 x 8 = 32 β 0 และเลขอะตอมลดลง 2 x 8 = 16 และรังสี สูตรเป็น −1e 6 ขั้น ตอน เลขมวลไม่ เปลี่ยนแปลง เลขอะตอมเปลียน ่ = -1 x 6 = -6 ดังนั้น ผลิตภัณฑ์มีเลขมวล เป็น 238 – 32 = 206 206 เลขอะตอม 92 – 16 ( -6 )= 82 จากตัวเลือกคือ 382 Pb .14. เฉลยข้อ 4 แนวคิด
  • 27.
    ตัวเลือกที่ 4 ถูกเรียงจำานวนอิเล็กตรอนคู่โดดเดี่ยวของอตอมกลางต่อไปนี้ CIF 3 > NCI3 > CIO4 15. เฉลยข้อ 2 แนวคิด ข้อ 1 ผิด เพราะสารประกอบที่เกิดจากธาตุหมู่ I กับ VI อัตราส่วนโดยมวลอะตอม 2 : 1 เป็นสารประกอบไอออนิก จุดเดือดสูงละลายนำ้า แสดงสมบัติเป็นเบส เช่น Na2O ข้อ 2 ถูก เพราะสารประกอบที่เกิดจากธาตุหมู่ V และ VI อัตราส่วน โดยอะตอม 2 : 3 เป็นสารประกอบโคเวเลนซ์ จุดเดือดตำ่าละลายนำ้าแสดงสมบัติเป็นกรดได้ เช่น N2O3 ข้อ 3 ผิด เพราะสารประกอบที่เกิดจากธาตุหมู่ II และหมู่ V II อัตราส่วนโดยมวล อะตอม 1 : 2 เป็นสารประกอบไอออนิก ( ยกเว้น BeCI 2 เป็นสารประกอบโคเวเลนซ์ ) จุดเดือดสูง ข้อ 4 ผิด เพราะสารประกอบที่เกิดจากหมู่ II และ V II อัตราส่วยโดย มวลอะตอม 1 : 2 เป็นสารประกอบไอออนิก จุดเดือดสูงไม่ละลายนำ้า CaC2 16. เฉลยข้อ 1 แนวคิด สภาพมีขั้วของพันธะโคเวเลนต์ เปลี่ยนตามผลต่างของ EN สภาพมีขั้วของพันธะโคเวเลนต์ เรียงจากมากไปน้อย ดังนี้ พันธะ H - CI > H - Br > Si - S > Si - H ∆EN∆ ( 3.16 - 2.20 ) ( 2.96 - 1.90 ) ( 2.58 - 1.90 ) ( 2.2 - 1.90 ) = 0.96 = 0.76 = 0.68 = 0.3 17. เฉลยข้อ 1 7 แนวคิด ข้อ 1 CH3 - CH3 + O2 2CO2 + 3H2O 2 7 ∑Ε = 6DC-H + 1DC-C + DO O = = ( 6 x 415 ) + ดูด 2 ( 1 x 340 ) +  7×500    = 4580 kJ. 2 
  • 28.
    = 4DC=O +6D ∑Ε คาย H-O = ( 4 x 740 ) + ( 6 x 460 ) = 5720 kJ. = 5720 - 4580 = 1140 kJ . คายพลังงาน ข้อ 2 CH2 = CH2 + 3O2 2CO2 +2H2O ∑ Ε ดูด = 4DC-H + 1DC-C + 3DO+O = ( 4 x415 ) + ( 610 ) + ( 3 x 500 )= 3770 kJ. ∑ Ε คาย = 4DC=O + 4DO-H = ( 4 x 740 ) + ( 4 x 470 ) = 4800 kJ. คายพลังงาน = 4800 –3770 = 1030 kJ. 5 ข้อ 3 CH ≡ CH + O2 2CO2 + H2O 2 5 ∑Ε ดูด = 2DC-H + D C≡C+ 2D O=O= ( 2 x 415 ) + ( 840 ) 5 + ( × 500 =2920 kJ. ) 2 ∑Ε คาย = 4DC=O + 2DH-O = ( 4 x740 ) + ( 2 x 460 ) = 3880 kJ. = 3880 –2920 = 960 kJ. คายพลังงาน ข้อ 4 CH3 - CH3 - OH + 3O2 2CO2 + 3H2O ∑ Ε ดูด = 5DC – H + 1DC-C + 1DC – O + 1DO – H +3DO =O = OO = ( 5 x 415 ) + ( 1 x 340 ) + ( 1 x 350 ) + ( 1 x 460 ) + ( 3 x 500 ) = 4725 kJ. ∑ Ε คาย = 4DC=O + 6D H-O = ( 4 x 740 ) + ( 6 x 460 ) = 5720 kJ . ปฏิกิริยาที่คายพลังงานมากที่สุด คือ ปฏิกิริยาข้อที่ 1 18. เฉลยข้อ 1 แนวคิด เพราะ BeCI2 (g) และ CO2 ต่างมีรูปร่างโมเลกุลเหมือนกันคือ เป็นเส้นตรง และต่างก็เป็น โมเลกุลไม่มีขั้วเหมือนกัน 19. เฉลยข้อ 4 แนวคิด
  • 29.
    ธาตุ เลขอะตอม การจัดอิเล็กตรอนในระดับพลังงาน O 7 2 ,5 P 11 2,8,1 Q 17 2,8,7 R 20 2,8,8,2 ข้อ 1 ผิด เพราะ O Q เป็น OQ3 e- คู่ร่วมพันธะ 3 1 2 + 3− P3O ข้อ ผิด เพราะ P O เป็น ประจุ 1 3 − + ข้อ 3 ผิด เพราะ Q P ประจุ 1 1 ข้อ 4 ถูก เพราะ 2+ 3− เป็น R 3 O2 R O ประจุ 2 3 20. เฉลย ไม่มีคำาตอบถูก แนวคิด C5H10 เป็นสูตรโมเลกุลของแอลคีน หรือไซโคลแอลคีน 2 ไอโซเมอร์โซ่ตรง CH2 = CH - CH2 - CH2 – CH3 CH3 – CH = CH - CH2 – CH3 โซ่กิ่ง 3 ไอโซเมอร์ CH2 = C - CH2 – CH3 CH2 = CH - CH - CH3 CH3 - CH = C - CH3 CH3 CH3 CH3 แบบวง 5 ไอโซเมอร์
  • 30.
    21. เฉลยข้อ 1 แนวคิด สาร A เป็นสารที่เสถียรมีโครงสร้าง ดังนี้ ธาตุ X,Y และ Z แทนด้วยธาตุ N,P,Cl ตามลำาดับ 22.เฉลยข้อ 1 แนวคิด ข้อ ก,ค และ ง ทุกสารมีหมู่คาร์บอนีล มีสูตร 23. เฉลยข้อ ไม่มีคำาตอบที่ถก ู แนวคิด ข้อสอบข้อนี้โจทย์กำาหนดข้อมูลมาให้ไม่พอที่จะไปคำานวณหาจำานวนโมลของ แก๊ส O2 และปริมาตรของแก๊ส CO2 เป็น dm3STP ได้ ถ้าจะคำานวณต้องกำาหนดจำานวนโมลของ C 2H6,C 2H4 และ C2H2 ของแก๊สแต่ละ ชนิดที่ผสมกันมาให้ เช่น กำาหนด C2 H6,C 2H4 และ C 2 H2 อย่างละ 1 mol ทำาปฏิกิริยาเผาไหม้อย่างสมบูรณ์ดังสมการ
  • 31.
    7 1C 2H6 + O2 2 2CO2 + 3H 2O (g) 1C 2H4 + 3O2 2CO2 + 2H 2O (g) 1C 2H2 2CO2 + H 2O (g) 7 5 ใช้ O2 รวม = + 3+ mol เกิด CO2 รวม = 2 2 2 + 2 + 2 = 6 mol 18 = = 9 mol 2 = 6 x 22.4 = 134.4 dm3STP ถ้าเป็นเช่นนั้นก็ต้องตอบตัวเลือกข้อ 2 ถูก แต่เนื่องจากโจทย์ กำาหนดข้อมูลมาให้ไม่ครบ จึงไม่มีคำาตอบที่ถก ู 24. เฉลยข้อ 4 แนวคิด โพรพานาไมด์เป็นเอไมด์ สูตร ข้อ ก ผิด เพราะสาร B เป็นแก๊สแอมโมเนีย ข้อ ข ผิด เพราะสาร A มีหมูฟังก์ชัน คือ ่ ข้อ ค ถูก เพราะสาร A เป็นกรดอินทรีย์ทำาปฏิกิริยา กับ Na เกิด H2 ดังนี้ ข้อ ง ผิด เพราะสาร A ไม่ทำาปฏิกิริยากับกรดเอทาโนอิกด้วย กรดซัลฟิวริกเป็นตัว เร่งปฏิกิริยาเนื่องจากเป็นกรดอินทรีย์เหมือนกัน 25. เฉลยข้อ 4 แนวคิด สมการของปฏิกริยายังไม่ดุล ิ
  • 32.
    ข้อ ก ถูกเพราะสาร A มีสูตรโมเลกุล C 3H4 คือ ไซโคลโพรพีน ข้อ ข ถูก เพราะสาร B และ C เป็นไอโซเมอร์กัน มีสูตรเหมือนกัน คือ C 3 H6 โดยสาร B คือ CH2 = CH – CH3 สาร C คือ ข้อ ค ผิด เพราะสาร C เป็นไอโซโคลแอลเคน ไม่ฟอกจางสีด่างทับทิม ( โพแทสเซียมเปอร์แมงกา เนต ) ในกรดได้ ข้อ ง ถูก เพราะสาร A เกิดการเผาไหม้อย่างสมบูรณ์ได้ดังสมการ 9 1C 3H6 + O2 3CO2 + 3H 2 2O (g) 26. เฉลยข้อ 2 แนวคิด จากตารางข้อมูล อัตราการเกิดปฏิกิริยาในช่วงเวลา 15 ถึง 20 วินาที มีค่าคงที่ 1  0 . 700 − 0 . 670  = 3 × 20 − 15  mol /   dm3 – S 1 0 . 03 = × mol / dm3-S 3 5 แต่อัตราการเกิดปฏิกิริยาที่ช่วง 15 ถึง 20 วินาที = อัตราการเกิด ปฏิกิริยาเฉลี่ยในช่วงเวลานี้ มีค่าคงที่ เมื่อตัดบางส่วนข้อมูลมาดังนี้ เวลา(S) (X) ( mol/
  • 33.
    dm3) 15.00 0.700 17.00 X 20.00 0.670 ดังนั้นอัตราการเกิดปฏิกิริยาในช่วง 15 ถึง 17 =  0 . 700 − X  1    17 − 15  3 1 0 . 03 × = 3 5 1  0.7 − X  ×  3  2  ∴X 0 . 03 × 2 = 0.7 - = 0.688 mol/dm3 5 ความเข้มข้นของสาร X ที่ 17 S = 0.688 mol/dm3 27. เฉลยข้อ 1 แนวคิด ส่วนมีขั้ว ในแอลกอฮอล์ และ กรดอินทรีย์ ละลายนำ้าซึ่งเป็นโมเลกุลมีขั้วได้ดี ถ้าหมู่ R- มี C อะตอม น้อย และถ้า C อะตอมมากขึ้นจะละลายนำ้าลดลงจน C อะตอมใน R- เพิ่มถึงขีดหนึ่งจะไม่ละลาย นำ้า สรุป การละลายนำ้าของแอลกอฮอล์ และกรดอินทรีย์ 1. แอลกอฮอล์ และกรดอินทรียที่ มี ์ C อะตอมน้อยละลายน้ได้ดี กว่าคือ แอลกอฮอร์ C1 - C3 ละลายนำ้าไม่จำากัด กรดอินทรีย์ C1 - C4 ละลายนำ้าได้ไม่จำากัด C อะตอมมากขึ้นจะละลายนำ้าลดลง จนไม่ละลายนำ้า 2. กรดอินทรีย์และแอลกอฮอล์ที่มี C อะตอมเท่ากันกรดอินทรีย์ละลายนำ้าได้มากกว่าเพราะ กรดอินทรีย์เกิดพันธะไฮโดรเจนได้ทากแห่งกว่า ข้อ ก กรดเอทาโนอิก ( CH3COOH ) ละลายนำ้าได้ดีกว่าบิวทานอล ( CH3( CH2 ) 3 OH ) เพราะ C อะตอมน้อยกว่าและเกิดพันธะไฮโดรเจนได้มากกว่า ข้อ ข กรดโพรพาโนอิก (CH3CH2 COOH ) ละลายนำ้าได้ดกว่ากรดบิวทาโนอิก ี ( CH3( CH2 ) 2COOH )
  • 34.
    เพราะมีจำานวน C อะตอมน้อยกว่า ข้อ ค บิวทานอล ( CH3( CH2 ) 3 OH ) ละลายนำ้าได้ดีกว่าเพนทานอล ( CH3( CH2 ) 4 OH ) เพราะ มี C อะตอมน้อยกว่า ข้อ ง โพรพาโนน ( CH3COCH3 ) ละลายนำ้าได้ดกว่า ี ( CH3COOH ) โพรพา นอล (CH3 CH2 CHO) เพราะมีสภาพขั้วแรงกว่า 28.เฉลยข้อ 2 แนวคิด จากกราฟ การเปรียบเทียบพลังงานสารตั้งต้น พลังงานก่อกัม ของปฏิกิริยา และพลังงานผลิต ปฏิกิริยาแบบ มันต์ของ ปฏิกิริยา Ι พลังงานสารตั้งต้น ตำ่ากว่าพลังงาน ผลิตภัณฑ์ ดูดความร้อน }I≥ II ΙΙ พลังงานสารตั้งต้น สูงกว่าพลังงาน คายความร้อน ผลิตภัณฑ์ 29.เฉลยข้อ 4 แนวคิด ระบบ (A) (M) (B) (M) [ A] ( M) [ B] ( M) ก 1 1 1 = 1 =1 =1 1 1 1 ข 2 2 =1 =1 2 2 ค 0.2 0.2 =2 =2 0.2 0.2 Ι ระบบที่เกิดสาร C มากที่สุด ภายในเวลาที่กำาหนดให้ ซึ่งไม่ชดเจน ดัง ั นั้นผู้เฉลย จึงขอแยกพิจารณา ดังนี้ 1. ถ้ากำาหนดเวลาเท่ากัน ในช่วงเวลาที่สารตั้งต้นในระบบ ก ,ข และ ค มีปริมาณ พอที่จะทำาให้เกิดผลิตภัณฑ์ C ได้ ระบบที่เกิดผลิตภัณฑ์ C มากสุด ใช้ความ เข้มข้นเป็น เกณฑ์ในการพิจารณา เนื่องจากความสมเข้มข้น A และ B มากกว่าระบบอื่น ดังนั้นจึงเกิด สาร C ได้มากสุด ข. ถ้ากำาหนดเวลาเท่ากัน ตังแต่เวลาที่ระบบ ก และ ค สารตั้งต้น ้ หมด คงเหลือแต่สารตั้งต้นในระบบ ข มีพอทีจะเกิดปฏิกิริยาต่อไป ระบบที่จะเกิด ่ ผลิตภัณฑ์ C มากที่สุด ใช้ปริมาณ ( จำานวนโมล ) สารตั้งต้นเป็นเกณฑ์ในการพิจารณา เนื่องจากระบบสาร ตังต้นมีจำานวนโมลมากที่สุดดังนั้นสามารถเกิดสาร ้ C ได้มากที่สด ุ
  • 35.
    ΙΙ จากโจทย์กำาหนด A+ B→ C และอัตราการเกิดปฏิกิริยาขึ้นกับ [ A] และ [ B] ดังนั้นระบบ ค มี [ A] และ [ B] 30.เฉลยข้อ 4 แนวคิด เมื่อเพิ่มอุณหภูมิรบกวนสมดุล เนื่องจากเป็นสมดุลของปฏิกิริยาคาย ความร้อน ปฏิกิริยา เกิดการย้อนกลับมากขึ้น ที่สมดุลใหม่พบว่า [ COCL] 2 ลดลงส่วน [ CO ] และ [ CI2] เพิ่มขึ้นจากตัวเลือก ที่เป็นไปได้ข้อเดียวคือข้อ 4 31.เฉลยข้อ 1 แนวคิด แก๊ส X และ Y ทำาปฏิกิริยาได้แก๊ส Z ดังสมการ X(g) + 3Y(g) 2Z(g) เริ่ม 0.1 mol 0.1 mol 0 ปริมาตร 500 cm 3 ข้อ 1 ถูก เพราะเมื่อขยายปริมาตรเท่ากับเป็นการลดความดันของแก๊สเป็นผล ทำาให้สมดุลเปลี่ยน ย้อนกลับมากขึ้นไปด้านจำานวนโมลของแก๊สมากขึ้น เพื่อเพิม ่ ความดันให้มากขึ้น ที่ สมดุลใหม่จึง มีจำานวนโมลของ z ลดลง ข้อ 2 ผิด เพราะค่า K แปรผันตรงกับ (Z) 2 และ K แปรผันกับ (X) และ (Y) 3 ข้อ 3 ผิด เพราะที่ภาวะสมดุลจะมีแก๊ส X,Y และ Z ทุกชนิดใน กระบอกสูบ ซึ่งแต่ละแก๊สจะ มีปริมาณคงที่
  • 36.
    ข้อ 4 ผิด เพราะจะเพิ่มสารตั้งต้น Y เป็น 0.3 mol ทำาปฏิกิริยากับ X 0.1 mol ถึงแม้ว่าเป็น สัดส่วนกัน แต่ไม่ทำาปฏิกิริยาเคมีได้หมดพอดี เนื่องจาก ระบบเกิดสมดุลได้ ระบบ จะปรับตัวมันเอง ดังนั้นสารตั้งต้น Y และ ) จะเหลือคงที่ ขณะสมดุล 32. เฉลยข้อ 3 แนวคิด ปฏิกิริยาที่ สมการของปฏิกริยา ิ ปฏิกิริยาเคมี 1 กรด - เบส 2 กรด - เบส 3 2CH3 COOH + 2Na การแทนที่ 2CH2 COONa + H2 4 กรด - เบส 33.เฉลยข้อ 4 แนวคิด สาร A , B และ C เป็นสารสมมติไม่ทราบเป็นสารใด และไม่ระบุสถานะใน การคำานวณเกี่ยวกับสมดุลคิดทุกสารหมด การทดลองที่ 1 A + B 2C เริ่ม ( mol / dm3 ) 0.04 0.04 0
  • 37.
    เปลียน ่ ( mol / dm3 ) - ( 0.04 - 0.02 ) -0.02 + 0.04 สมดุล ( mol / dm3 ) 0.02 0.02 0.04 [ C] 2 สูตร K = [ A][ B] × − 16 10 4 ( 004 2 . ) แทนค่า K = = =4 ( 002 002 . )( . ) × − 4 10 4 ทีอุณหภูมิ ่ 30oC คงที่ การทดลองที่ 1 และ 2 มีค่าคงทีสมดุล ่ ( K ) เท่ากัน การทดลองที่ 2 A + B 2C เริ่ม ( mol / dm3 ) 0.03 0.02 0 z z เปลี่ยน ( mol / dm3 ) - - 2 2 z Z Z สมดุล ( mol / dm3 ) . − 003 . − 002 2 2 z [ C] 2 สูตร K = [ A][ B] Z2 แทนค่า ; 4 =  003 Z 002 Z  . −  . −   2 2 Z2 − −  6x10 2 − Z 4x10 2 − Z 4 =      2   2   4Z2 4 = ( − − )( 6x10 2 − Z 4x10 2 − Z ) 24 x 101 -4 - 10 x 10 -2 Z + Z 2 =Z 2 −4 2410 x ∴ Z= = 2.4 x 101-2 = 0.024 mol / x − 1010 2 dm3 34. เฉลยข้อ 2 แนวคิด นำ้าส้มสายชู
  • 38.
    CH3COOH (aq) +NaOH (aq) CH3COONa (aq) + H2O(l) 4.8 % มวล / ปริมาตร X % มวล / ปริมาตร 10 cm3 20 cm3 48 . สารละลาย CH3COOH 100 cm3 มีเนื้อ CH3COOH = 4.8 g คิดเป็น 60 mol  48x 10 . สารละลาย CH3COOH 10 cm3 มีเนื้อ CH3COOH     mol =  60  100  x สารละลาย NaOH 100 cm3 มีเนื้อ NaOH = X g คิดเป็น   mol  40  x   20 สารละลาย NaOH 20 cm3 มีเนื้อ NaOH =   X   mol  40  100   โมลNaOH 1 จากสมการ = โมลCH 3COOH 1  20 mol X    40100 x  = 1  48x 10mol .    60 100  48x10 40100 . x ∴X = x = 1.6 % มวล / ปริมาตร 6x100 20 NaOH สารละลาย มีความเข้มข้น = 1.6 % มวล / ปริมาตร 35. เฉลยข้อ 2 แนวคิด สารละลายกรด HA = 10 คือ มีรอยละการแตกตัว ้ สารละลายกรด HA 100 mol / dm3 แตกตัว = 10 mol / dm 3 สารละลายกรด HA 1 x 10-3 mol / dm3 แตกตัว = −3 101 10 xx = 1 x 10-4 mol 100 HA ( aq ) + H2O ( l ) H3O ( aq ) + A ( aq ) Ka = ? + - เริ่ม ( mol / dm ) 3 1 x 10-3 - 0 0 เปลี่ยน ( mol / dm ) –1 x 10 3 -4 - +1 x 10-4 +1 x 10-4
  • 39.
    ( mol /dm3 ) (1 x 10-3–1 x 10-4 ) - สมดุล 1 x 10-4 1 x 10-4 สูตร Ka = [H3O+ ][A− ] [ HA] (1x10 4)(1x10 4) = 1x10 8 = 1.1110 5 − − − x − แทนค่า Ka = (1x10 −1x10 ) 0.9x10 −3 −4 −3 สูตร pH = -log [ H3O+ ] แทนค่า pH = -log ( 1 x 10 -4 ) = 4 36. เฉลยข้อ 2 แนวคิด หลักการเลือกอินดิเคเตอร์สำาหรับการไทเทรดกรด - เบส “ เลือกอินดิเคเตอร์ทมีช่วง ี่ pH ของการเปลี่ยนสีตรงหรือใกล้เคียงกับ pH ของเกลือที่ เกิดจากไทเทรตกรด - เบส “ ข้อ 1 ผิด เพราะไทเทรดเบสอ่อน NH4OH ด้วยกรดแก่ HCl เกอดเกลือ pH < 7 ใช้ อินดิเคเตอร์ ก หรือ ข ข้อ 2 ถูก เพราะไทเทรดกรดแก่ HNO3 เป็นเบสแก่ NaOH เกิดเกลือ pH = 7 ใช้ อินดิเคเตอร์ที่มช่วง ี pH 3 - 11 จะใช้อินดิเคเตอร์เปลี่ยนช่วงกรดหรือ เบสได้ เช่น อินดิเค เตอร์ ง ข้อ 3 ผิด เพราะไทเทรตกรดอ่อน CH3COOH ด้วยเบสแก่ NaOH เกิดเกลือ pH > 7 ใช้อินดิเคเตอร์ ง 4 ข้อ ผิด เพราะไทเทรตเบสอ่อน NH4OH ( Kb = 1.8 x 10 -5 ) ด้วยกรดอ่อน HCN ไม่ ควรไทเทรต เนืองจากเลือกอินดิเคเตอร์ยาก กรดอ่อนและเบส ่ อ่อน แตกตัวไม่ สม บูรณ์จึงเกิดปฏิกิรยากันไม่สมบูรณ์ ิ 37. เฉลยข้อ 4 แนวคิด ข้อ 1 ผิด เพราะไม่เป็นสารละลายบัฟเฟอร์เนื่องจากปฏิกิริยาระหว่าง CaCO3 กับ กรด HNO3 ดังนี้ CaCO3 ( s) + 2HNO3 (aq ) Ca ( NO3 )2 ( aq ) + H2CO3 ( aq ) 40g 0.1 mol 40 = 0.4 mol 100 จากการพิจารณาพบว่ากรด HNO3 CaCO3 ถูกใช้หมดเหลือ จากสมการ HNO3 2 mol ≡ CaCO3 1 mol
  • 40.
    เกิด H2CO3 = 1 mol 1 01 x. HNO3 0.1 mol ≡ CaCO3 1 mol = 2 0.05 mol 1 01 x. เกิด H2CO3 = 2 = 0.05 mol CaCO3 = 0.4 - 0.05 = 0.35 mol เหลือ และเกิด H2CO3 = 0.05 mol หลังปฏิกิริยาเคมีเกิดกรดอ่อน H2CO3 0.05 mol เหลือเกลือกรดอ่อนของมัน CaCO3 0.35 mol เนื่องจาก CaCO3 ไม่ละลายนำ้าแลไม่แตกตัว เป็นไอออนในนำ้า จึงไม่สามารถมีสมบัติเป็น บัฟเฟอร์ได้ 2 ผิด เพราะไม่เป็นสารละลายบัฟเฟอร์ ปฏิกริยา NH4OH ข้อ ิ กับ HCl ดังนี้ NH4OH ( aq ) + HCl ( aq ) NH4Cl ( aq) + H2O ( l ) 1 mol / dm3 0.1 mol 100cm 3  1 100 x    = 0.1 mol  1000 จากการพิจารณาพบว่าปฏิกิริยาพอดีกันไม่เหลือสารตั้งต้นใด ดังนั้นหลัง เกิดปฏิกิริยาสาร เกิดขื้นไม่อยู่ในสภาพเป็นบัฟเฟอร์ 3 ผิด ข้อ เพราะสารละลายผสมไม่เป็นบัฟเฟอร์ เนื่องจาก CH3COOH เป็นกรดอ่อนไอออน ลบ CH3COO - ไม่สามารถแทนที่ไอออนลบ Cl- ของเกลือ NH4Cl ได้ ซึ่ง Cl- เป็น ไอออนลบของกรดแก่ HCI ข้อ 4 ถูก เพราะเป็นสารละลายบัฟเฟอร์ ปฏิกิริยาระหว่าง H3PO4 กับ NaOH เป็นดังนี้ H3PO4 ( aq ) + 3NaOH ( aq ) Na3PO4 ( aq ) + 3H2O ( l ) 1 mol / dm3 1 mol / dm3 50 cm3 50 cm3  1 50 x   1 50 x    = 5 x 10-2 mol   = 5 x 10-2 mol  1000  1000 จากการพิจารณาพบว่า NaOH ใช้หมด เหลือกรดอ่อน H3PO4 ดังนี้
  • 41.
    จากสมการ NaOH 3 mol ≡ H3PO4 1 mol เกิด Na3po4 1 mol x − 1 5x10 2 NaOH 5 x 10 -2 mol ≡ H3PO4 3 mol = 1.67 x 10-2 mol x − 1 5x10 2 เกิด H3PO4 = 1.67 x 10-2 mol 3 หลังเกิดปฏิกิริยา กรดอ่อน + เกลือของกรดอ่อน H3PO4 = ( 5 x 10-2 - 1.67 x 110-2 ) เหลือ = 3.33 x 10-2 mol เกิด Na3PO4 = 1.67 x 10 -2 mol 38. เฉลยข้อ 4 แนวคิด แผนภาพแสดงปฏิกิริยาสาร A ละลายนำ้าดังนี้ สาร A + H2O H3PO4 + HCl ( P, Cl ) 9.8 g 10.95 g 13.75g มวล Cl HCl ใน = มวล Cl A ในสาร ถ้า HCl 1 mol มี Cl = 1 mol HCl 36.5 g มี Cl = 35.5 g 35×10 .5 .95 HCl 10.95g มี Cl = 36 .5 = 10.65 g สาร A 13.75 g มี Cl = 10.65 g 10 x100 .65 สาร A 100 g มี Cl = 13.75 = 77.45 ≈ 77.5 g 39. เฉลยข้อ
  • 42.
    แนวคิด สารผสม 2 ชนิด เป็นสารละลาย เกิดปฏิกิริยาได้แก๊ส CO2 ผ่านลงในนำ้าปูนใส Ca ( OH )2 เกิดสารละลายขุ่น แล้วนำาสารละลายผสมหลังเกิดปฏิกิริยาไประเหยจนแห้งเกิด ตะกอนสีขวา ข้อ ก ผิด เพราะ CuCO3 ไม่ละลายนำ้า เมื่อผสม HNO3 กับ CuCO3 ไม่ละลายนำ้าเกิด ตะกอนทำาปฏิกิริยาเกิดแก๊ส CO2 ทำาให้นำ้าปูนใสขุ่น แต่ สารละลายระเหยแห้งเกิดตะ กอนสีฟ้าไม่ใช่ตะกอนสีขาว ข้อ ข ถูก เพราะสารละลายผสม CH3COOH ( aq ) กับ NaHCO3 ( aq ) เกิดปฏิกิริยาดังนี้ CHCOOH )+ H2O aq (aq ( ) 3      CH3COOH ( aq ) + NaHCO3 ( aq ) ระเหยแห้ดเ กิ งตะกอนของ CH COONaซึนเกลือ 3 ป็ ่งเ + CO2 (g ) Ca ( OH )2 ( aq ) CaCO3 ตะกอนขุ่น ข้อ ค ถูก เพราะสารละลายผสสม HCl ( aq ) กับ Na2CO3 ( aq ) เกิดปฏิกริยาดังนี้ ิ 2NaCl )+ H2O l) (aq (     2HCl (aq ) + Na2CO3 ( aq ) ระเหยแห้ดเ อ กิ งเกลื ตะกอนสีNaCl ขาว + CO2 ( aq ) Ca ( OH )2 ( aq ) ตะกอนขุ่น CaCO3 ข้อ ง ผิด เพราะสารละลายผสม CO ( NH 2 )2 ( aq ) กับ H2O ( l ) มีเอนไซม์เกิด ปฏิกิริยาดังนี้ O ยูรเอส ี NH2 - C′′ - NH2 ( aq ) + H2O ( aq ) → 2NH (aq 3 )  ระเหยแห้งหลือกาก ม่เ ไ + CO2 ( aq )
  • 43.
    Ca ( OH) 2 ( aq ) ตะกอนขุ่น CaCO3 40.เฉลยข้อ 3 แนวคิด หินฟอสเฟต 3− CaF2 . 3Ca3 ( po4 )2 เฉพาะส่วน PO 4 X + ( -2 x 4 X= ) = -3 Sb2S3 . 3H2O ( 2X ) + ( -2 x 3 ) + ( X = 0 ) 3 x = 0 Na2ZrSiO5 ( +1 x 2 ) + ( X ) + ( 4 ) + ( = x X -2 5 ) = 0 ข้อ ก และ ค ถูก ข้อ ข และ ง ผิด ตัวเลือกข้อ 4 ข้อ ค และ ง ผิด 41.เฉลยข้อ 2 แนวคิด ให้สตีคลอไรด์ของธาตุ ู M คือ MCln MCln ( aq ) + nAgNO3 ( aq ) M ( NO3 ) n( aq ) + nAgCl( s ) 0.05 mol / 500 cm3 0.10 mol / dm3 12.5 cm3 25 cm3- 00512 . x .5 01 25 .x mol mol 500 1000 1.25 x 10-3 mol 2.5 x 10-3 mol โมลAgNO 3 n จากสมการ = โมลMCl n 1
  • 44.
    01 25 .x 1000 00512 . x .5 = n 500 ∴n = 2 สูตรคลอไรด์ของ M คือ MCl2 42. เฉลยข้อ 4 แนวคิด ก . 2B3+ + H2A2 2B2+ + A2 + 2H+ red OX ขั้วบวก ขั้วลบ EO = E(O ) cell + − E(O ) = ( +0.8 ) - ( +0.68 ) = − +0.12 V ข . A2 + 2H+ + 2Cl- H2A2 + C2 red OX ขั้วบวก ขั้วลบ EO = E(O ) cell + − E(O ) − = ( +0.68 ) + ( +1.07 ) = -0.39 V ปฏิกิริยาไม่เกิดเองได้ เพราะ EO cell เป็นติดลบ ค. D4+ + B2+ D3+ + B 3+ red OX ขั้วบวก ขั้วลบ EO = E(O ) cell + − E(O ) = ( +1.45 ) - ( 0.08 ) = − +0.65 V ปฏิกิริยาเกิดเองได้ เพราะ EO cell เป็นติดบวก ง. 2B3+ + 2C- 2B2+ + C2 red OX ขั้วบวก ขั้วลบ EO = E(O ) cell + − E(O ) − = ( +0.80 ) - ( +1.07 ) = -0.27 V ปฏิกิริยาเกิดเองได้ เพราะ EO cell เป็นติดลบ
  • 45.
    43.เฉลยข้อ 3 แนวคิด ดุลสมการ คำานวณ 2Cr ( OH )3 + 3CIO- + 4OH- 2CrO2- +3CI- + 5H2O 1 mol NaOCI X g  X  mol    745 . - โมล ClO 3 จากสมการ = โมล Cr OH 3 ( ) 2  X  1 mol 3    74  .5 = X = 111.75 2 1 mol ≈ 111.8 g. 44.เฉลยข้อ 1 แนวคิด ผิด เพราะผงซักฟอกมีประสิทธิภาพซักล้างในนำ้ากระด้างดีกว่าสบู่ เพราะมีสารประกอบ พวกฟอสเฟต ช่วยกำาจัด Ca2+ หรือ Mg2+ ในนำ้ากระด้างทั้งป้องกันไม่ให้ไปรวมตัวไอออนลบ ของสารลด ตึงผิวของนำ้า ผงซักฟอกที่คาร์บอน ใน R แตกก้านสาขาจุลินทรีย์ไม่มีเอนไซม์ย่อยสะลายได้ ตกค้างในแหล่ง นำ้า ส่วนผงซักฟอกคาร์บอน ใน R ต่อกันเป็นสายยาวจุลินทรีย์มีเอนไซม์ย่อยสะ ลายได้ไม่ตกค้างในแหล่งนำ้า ผงซักฟอกโดยทั่วไปผสมฟอสเฟตประมาณ 30 – 50 % ฟอสเฟสเป็นปุ๋ย เมื่ออยู่ใน แหล่งนำ้าทำาให้สาหร่าย และวัชพืช เจริญงอกงาม แพร่พันธุ์รวดเร็ว ก่อให้เกิดปัญหาต่อสิ่งแวดล้อม
  • 46.
    45.เฉลยข้อ 2 แนวคิด เซลล์กัลวานิกที่เกิดจากครึ่งเซลล์ X;X2+ กับครึ่งเซลล์ Y / Y3+พบว่าครึ่งเซลล์ Y / Y3+ ( Ε O = +0.90 งกว่า Vสู ) มี Y เป็นขั้วบวก รับอิเล็กตรอนเป็นแคโทด เกิด ปฏิกิริยา Y3+ +3e- Y ครึ่งเซลล์ O (. Vตำ ่ X / X2+ Ε = +003 ากว่ามี X ) เป็น ขั้วลบให้อิเล็กตรอน เป็นแอโนด เกิดปฏิกิริยา X X2+ +2e - เป็นปฏิกิริยารีดอกซ์เป็นดังนี้ 3X O + 2Y 3+ 3X3+ + 2YO ตัวรีดิวซ์ ตัวออกซิไดส์ 46.เฉลยข้อ 4 แนวคิด ปัจจัยที่มีผลต่อการแปลงสภาพเป็นโปรตีน : การให้ความร้อน ตัวทำาละลายอินทรีย์ ไอออนของโลหะหนัก การใช้กรดหรือเบส 47.เฉลยข้อ 1 แนวคิด ข้อ ก. เป็นฮอโมพอลิเมอร์มาจากมอนอเมอร์ ปฏิกิริยาพอลิเมอร์ไรเซชันแบบควบแน่น ข้อ ข. เป็นฮอโมพอลิเมอร์ มาจากมอนอเมอร์ปฏิกิริยาพอนอเมอร์ไรเซชันแบบการ เติม ข้อ ค. เป็นโฮโมพอลิเมอร์ มาจากมอนอเมอร์ CH2 = CH - CH ≡ CH2 ปฏิกิริยาพอลิเมอร์ไร เซชันแบบการเติม ข้อ ง. เป็นไฮโมพอลิเมอร์ มาจากมอนอเมอร์ปฏิกิริยาพอลิเมอร์ไรเซชันแบบการ เติม 48.เฉลยข้อ 3 แนวคิด ข้อ 1 ไม่เหมาะสมเพราะขวดนำ้าพลาสติกใส่นำ้ามันเบนซินไม่ได้ เนื่องจากนนำ้ามันเบนซิน ละลายนำ้าได้ ข้อ 2 ไม่เหมาะสมเพราะถ้วยชามที่ผลิตจากกพอลิเอทิลินอุ่นอาาหารในเตา ไมโครเวฟไม่ได้ เนื่องจากพอลิเอทิลีนละลายปนกับอาหารที่ใส่ ข้อ 3 เหมาะสมเพราะภาชนะที่เคลือบด้วยเทปรอน หรือพอลิเตรตระฟลูออโล เอทิลินในการ ทอดไข่ ทอดปลาได้ เทฟรอนมีจดหลอมเหลวสูง ไม่หลอมปนออก ุ มากับไข่และปลาที่
  • 47.
    ทอด ข้อ 4 ไม่เหมมาะสมเพราะกาารเก็บถ้วยชามพวกเมลินีนที่ชำารุดรวมกันกลับไป ใช้ใหม่ไม่ได้ เนื่องจากเมลานีนเป็นพลาสติกพวกเทอร์มอเซตหลอมไม่ได้ เมื่อถูก ความร้อนไม่ หลอมแต่ไม้ไฟไป 49.เฉลยข้อ 1 แนวคิด ข้อ ก การถลุงแร่ Zn ใช้หลัก Electrolysis สารละลาย ZnSO4 เกิดโลหะ Zn ที่ขั้วแคโทด ข้อ ข การถลุงแร่ Zn ใช้หลัก Electrolysis สารละลาย CdSO4 เกิด โลหะ Cd ที่ขั้วแคโทด 50.เฉลยข้อ 2 แนวคิด ข้อ 1 เพราะมลพิษทางนำ้าที่เป็นสารจำาพวกฟอสเฟส ได้มาจากการใช้ปุ๋ยเคมี เช่น ปุ๋ย ซุป เปอร็ฟอสเฟต Ca(HPO4) ยากำาจัดวัชพืช เช่น ออแกนโนฟอสเฟต และผง ซักฟอก เช่น สารประกอบพวกฟอสเฟต ข้อ 2 ผิด สาร ย่อมาจากคำาว่า สูตรโครงสร้างแบบย่อย CFC Chlorofluoro Carbons CFCl3 CF2Cl2 CHFCl2 (CFCS) CFC-11 CFC-12 CFC-22 DDT Dicslorodipspny tricsloroetsane Dioxin 2378– Tetracslordipsenybenz o -p-dioxin สารทั้ง 3 ชนิดเป็นสารพิษที่มีธาตุฮาโลเจนคือ Cl เป็นองค์ประกอบอยู่ ข้อ 3 ถูก เพราะแก๊ส CO2 ปริมาณมากเกิดจากการเผาไหม้เชื้อเพลิงเป็นสาเหตุหลักที่ ของการเกิดปรากฏการณ์เรือนกระจก ข้อ 4 ถูก เพราะ O3 เป็นแก๊สที่เป็นพิษอยู่ในชั้นบรรยากาศระดับตำ่ามีประโยชน์ในการ ป้องกันรังอัลตราไวโอเลตในบรรยากาศระดับสูง ตอนที่ 2 1. เฉลย 23.75 g มวลโมเลกุล การหามวลอะตอมของธาตุ X4 124 4X = 124 X = 31
  • 48.
    Y2 32 2Y = 32 Y = 16 XY3-4 6.02 x 1023 ไอออนมีมวล = ( 31+16 x 4 ) g 23 951505 x . x10 XY3-4 1.505 x 1023 ไอออนมีมวล = = 23 g .75 . x 23 60210 ข้อ 2 เฉลย 10 ชัวโมง ่ ปฏิกิริยาสังเคราะห์แสงดังนี้ ( 1 ) 6nCO2 ( g ) + 6nH2O nC6H12 O6 + 6nO2 + พลังงาน X mol ( 2 ) Cn6 H12O6 ( C6H10O5) n +nH2O 1.62 g จากสมการ ( 1 ) และ ( 2 ) โมล CO2 6n = โมล ( C6H10 5) O 1 X mol  1.62 mol  = 6n    162n 162n ( X ) x = 6n 162 . 100 X = 6 -2 ∴ X = 6 x 10 mol แต่ การสังเคราะห์แสงใช้ CO2 6 x 10-3 mol ใช้เวลา = 1 ชัวโมง ่ การสังเคราะห์แสงใช้ CO2 6 x 10-2 mol ใช้เวลา -2 1 x 6 x 10 = -3 ชัวโมง ่ 6 x 10
  • 49.
    ∴ ใช้เวลา 10ชั่วโมง = 3. เฉลย 37.5 g 39.13 87 . หาสูตรเอมพิรคัล ิ C : H : O = : : 12 1 52 .17 โดยมวล 16 326 . C: H : O = 326 . 87. 326 . : : โดยมวล 326 . 3269 . C : H : O = 1 : 2.669 : 1 โดยมวล C : H : O = 3 : 8.007 : 3 โดยมวล C : H : O = 3 : 8 : 3 โดยมวล สูตรเอมพิรคัล ิ = สูตรโมเลกุล = C3H8 O 3 มีมวล โมเลกุล = 92 จุดเดือดของสารละลาย m x 1000 1 สูตร ∆Tb = Ka x m x M.W 2 1 แทนค่า ; ( 80.94 - 78.50 ) = 1.22 x 6.90 1000 x m x 92 2 m2 = 37.5 g มวลของเอทานอลในสารละลาย = 37.5 g 4. เฉลย 4.2 % ( 1 ) สารอินทรีย์ NH3 สลาย + 1.5 g ……….. ( 2 ) NH3( g ) + HCl ( aq ) NH4Cl (aq) X g 0.5 mol / dm3 50 cm3
  • 50.
    HCl ไทเทรตพอดีกับ NaOH(aq) ดังนี้ เหลือ ( 3 ) HCl ( aq) + NaOH (aq) NaCl (aq) + H2O ( l ) 0.1 mol / dm3 30 cm3 01 x 30 . -3 = 3x 10 mol 1000 โมลHCl 1 จากสมการ ( 3 ) = โมลNaOH 1 โมล HCl แทนค่า -3 = 1 3 x 10 โมล HCl = 3 x 10-3 ใส่ HCl = 01550 . x x -3 = 7.5 10 mol 1000 HCl เกิดปฏิกิริยาพอดีกับ NH3 ใช้ = ( 7.5 x 10-3 - 3 x 10-3 ) = 4.5 x 10-3 mol โมล 3 NH 1 จากสมการ (2 ) = โมล HCl 1 โมล 3 NH แทนค่า -3 = 1 4.5 x 10 โมล NH3 = 4.5 x 10-3 และมวลNH3 = 4.5 x 10-3x 17 g แต่มวล N ใน NH3 = มวล N ในสารอินทรีย์ 1.5 g จากสมการ ( 1 ) 14 มวล N ในสารอินทรีย์ 1.5 g = x ( 4.5 x 10-3 x 17 ) g = 63 7 x 10-3 g x − 63 10 3 x100 = 4.2g สารอินทรีย์ 100 g มี N = 1. 5 ร้อยละของ N ในสารอินทรีย์ = 4.2 5. เฉลย 2.5 g สารละลายCuSO4 500 cm3 Cuso4 ( aq ) มี CuSO4 . 5H2O ? g 0.1 mol - CuSO4 . 5H2O มีความบริสุทธิ์ dm3 99.8%
  • 51.
    สารละลาาย CuSO4 1000 cm3 มีเนื้อ CuSO4 = 0.1 mol .× 01 500 สารละลาาย CuSO4 500 cm3 มีเนื้อ CuSo4 = 1000 = 0.05 mol แต่ CuSO4 . 5 H2O = 1 mol หรือ CuSO4 1 mol อยู่ ใน CuSO4 HO.4 1 005 x. = = 005 . mol 1 มวล CuSO4 x 5H2O = 0.05 x 249.5=12.48g CuOH4 . 5H2O 99.8 g อยู่ใน สาร CuSO4 .52H2O = 1010 g CuHO44 .5H2O 12.48 g อยู่ในสาร CuHO44 .5H2O = 100 .48 x12 = 12 g .5 99 .8 6. เฉลย 25.4 g สูตรทั่วไปของกรดไขมัน อิมตัวคือ ่ CnH2n+1 COOH ถ้เป็นสูตรทั่วไป ของ กรดไขมันไม่อิ่มตัว มี C = C 1 แห่ง H ลดลง C = C2 แห่ง H ลดลง 4 จาก สูตรไขมันกรดอิ่มตัว เป็นสูตร Cn H ( 2n+1 ) -4 COOH คือ CnH2n-3 COOH กรดไขมัน สูตรของกรดไขมันไม่อิ่มตัว จำานวนพันธะคู่ระหว่าง จำานวนโมลของ I2 ที่ C กับ C ใช้ ต่อกรดไขมัน 1 mol A C15H29COOH 1 1 B C17H31COOH 2 2 C C17H33COOH 1 1 กรด A : กรด B : กรด C = 2 : 2 : 1 โดยโมล กรด A : กรด B : กรด C = 2 x 254 : 1x 280 : 1x282 กรด A : กรด B : กรด C = 508 : 280 : 282 กรดไขมัน A B และ C มีมวลรวมกัน = 508 +280+282 = 1070 g จากตารางจะได้ว่า กรดไขมัน A 1 mol = I2 1 mol มีมวล = 1 x 254 g 254 x2 กรดไขมัน A 2 mol = I2 = 508 g 1 กรดไขมัน B 1 mol = I2 2mol มีมวล = 2 x 254 g = 508 g
  • 52.
    กรดไขมัน C 1 mol = I21 mol มีมวล = 1x 254 g = 254 g ดังนั้นกรดไขมัน A , B , C หนัก 1070 g = I2 หนัก = 508 + 508 +254 = 1270 g 21.4% โดยมวล คือ แต่นำ้ามันชนิดหนึ่งมีกรดไขมัน นำ้ามัน 100 g มีกรดไขมัน A,B และ C = 21.4 g นำ้ามันมีกรดไขมัน 1070 g = I2 1270 g 1270 × 21 . 4 กรดไขมัน 21.4 g = I2 1070 = 25.4 g 7. เฉลย 13.44 dm3 STP ปฏิกิริยาแสดงการย่างแร่ ดังนี้ 200 g (มี Sb2 S3 34%) แร่พลวงเงิน 2Sb 2S (s) + 9O2(g) 2Sb 2O3(s) + 6SO2(s) ↓ ↓ 34 x 200 g = 68g 100 x dm3 STP ↓ ↓  68    mol  340   x    mol  22 . 4  โมลSO 2 6 จากสมการ โมลSb 2 S 3 = 2  x     22 . 4  = 3  68     340  68 ∴x = 3x x 22.4 = 340 13.44 dm3 STP ปริมาตรของแก๊ส SO2 ทีเกิดขึ้น ่ = 13.44 dm3STP 8. เฉลย 58% 1. ยาลดกรด (มี MgCO3 และแป้งผสมกัน) 1 g/H 2O 20 cm3 2,3 MgCO3(s) + 2HCl (aq) MgCl2(aq) + H 2O(l) + CO2(g)
  • 53.
    ↓ xg 1mol/dm3 ↓ 20 cm3 ↓ x  1 × 20   mol = 2 x 10-2 mol  84  1000 จากโจทย์ แสดงว่าเหลือ HCl ทีต้องเติม ่ H 2O เป็นสารละลาย 100cm 3 แล้วปิเปตมา 10cm 3 มาไทเทรตกับNaOH MgCO3 ทำาปฏิกิริยาหมด เหลือ HCl ในการคำานวณใช้ MgCO3 เป็นเกณฑ์ในการคิด MgCO3 1 mol = HCl 2 mol x  2 x MgCO3  84  mol ≡ HCl × mol   1 84  −2  x  เหลือ HCl = 2 × 10 −   mol   42   −2  x  สารละลายผสม 100 cm3 มี HCl เหลือ = 2 × 10 −  42     mol สารละลายผสม 10 cm3 มี HCl เหลือ =  −2  x  10 2 × 10 −  42  x mol    100 HCl(aq) + NaOH (aq) NaCl (aq) + H 2O ↓ ↓ 1  x   2 × 10 −2 −  mol 0.2 mol-dm3 10  42  5 cm3 ↓  0.2 × 5    mol  1000  โมลHCl 1 จากสมการ = โมลNaOH 1 โมล HCl = โมล NaOH 1  x  0.2 × 5  2 × 10 −2 −  = 10  42  1000 ∴ x = 0.42 g ยาลดกรด 1g มี MgCO3 ผสมอยู่ = 0.42 g มีแป้งผสม 0.58 g 0 . 58 × 100 ยาลดกรด 100 g มีแป้งผสม = g = 58 % 1