DIMENSIONAL
ENGINEERING
  Based on the ASME Y14.5M-
    1994 Dimensioning and
     Tolerancing Standard
Tolerances
     of Form

      Straightness                  Flatness
(ASME Y14.5M-1994, 6.4.1)   (ASME Y14.5M-1994, 6.4.2)




       Circularity                Cylindricity
(ASME Y14.5M-1994, 6.4.3)   (ASME Y14.5M-1994, 6.4.4)
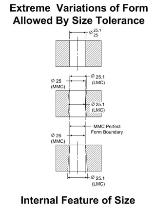
Extreme Variations of Form
Allowed By Size Tolerance
                 25.1
                 25




                  25.1
          25    (LMC)
        (MMC)


                  25.1
                (LMC)


                 MMC Perfect
                Form Boundary
          25
        (MMC)




                  25.1
                (LMC)


  Internal Feature of Size
Extreme Variations of Form
Allowed By Size Tolerance
                      25
                      24.9




                        25
              24.9    (MMC)
            (LMC)


                        24.9
                      (LMC)


     MMC Perfect
    Form Boundary
                        25
                      (MMC)




               24.9
             (LMC)



  External Feature of Size
Straightness
             (Flat Surfaces)
               0.5                     0.1




25 +/-0.25




                     0.1 Tolerance


                                         0.5 Tolerance




Straightness is the condition where an element of a
surface or an axis is a straight line
Straightness
            (Flat Surfaces)
                      0.5 Tolerance Zone




                                                         25.25 max
        24.75 min



                0.1 Tolerance Zone




     In this example each line element of the surface must lie
     within a tolerance zone defined by two parallel lines
     separated by the specified tolerance value applied to each
     view. All points on the surface must lie within the limits of
     size and the applicable straightness limit.



The straightness tolerance is applied in the view where the
elements to be controlled are represented by a straight line
Straightness
     (Surface Elements)
                                   0.1




                        0.1 Tolerance Zone


              MMC


                        0.1 Tolerance Zone


              MMC



                        0.1 Tolerance Zone

              MMC



In this example each longitudinal element of the surface must
lie within a tolerance zone defined by two parallel lines
separated by the specified tolerance value. The feature must
be within the limits of size and the boundary of perfect form at
MMC. Any barreling or waisting of the feature must not
exceed the size limits of the feature.
Straightness
           (RFS)                     0.1




                                    0.1 Diameter
                                    Tolerance Zone

                              MMC




                   Outer Boundary
                   (Max)
 Outer Boundary = Actual Feature Size + Straightness
 Tolerance

In this example the derived median line of the feature’s actual
local size must lie within a tolerance zone defined by a cylinder
whose diameter is equal to the specified tolerance value
regardless of the feature size. Each circular element of the
feature must be within the specified limits of size. However, the
boundary of perfect form at MMC can be violated up to the
maximum outer boundary or virtual condition diameter.
Straightness (MMC)
                                      15
                                      14.85
                                         0.1     M




                                    0.1 Diameter
                            15
                                    Tolerance Zone
                         (MMC)




                       15.1 Virtual Condition

                         14.85      0.25 Diameter
                         (LMC)      Tolerance Zone




                        15.1 Virtual Condition

      Virtual Condition = MMC Feature Size + Straightness Tolerance

In this example the derived median line of the feature’s actual local size
must lie within a tolerance zone defined by a cylinder whose diameter is
equal to the specified tolerance value at MMC. As each circular element
of the feature departs from MMC, the diameter of the tolerance cylinder is
allowed to increase by an amount equal to the departure from the local
MMC size. Each circular element of the feature must be within the
specified limits of size. However, the boundary of perfect form at MMC
can be violated up to the virtual condition diameter.
Flatness
                            0.1



                                                   25 +/-0.25




                                        0.1 Tolerance Zone

             0.1 Tolerance Zone



                                      25.25 max
 24.75 min




  In this example the entire surface must lie within a tolerance
  zone defined by two parallel planes separated by the specified
  tolerance value. All points on the surface must lie within the
  limits of size and the flatness limit.



Flatness is the condition of a surface having all elements in
one plane. Flatness must fall within the limits of size. The
flatness tolerance must be less than the size tolerance.
Circularity
              (Roundness)
                                0.1




                                                       90
                          0.1
                                                       90




0.1 Wide Tolerance Zone




 In this example each circular element of the surface must lie within a
 tolerance zone defined by two concentric circles separated by the
 specified tolerance value. All points on the surface must lie within the
 limits of size and the circularity limit.


Circularity is the condition of a surface where all points of the
surface intersected by any plane perpendicular to a common
axis are equidistant from that axis. The circularity tolerance
must be less than the size tolerance
Cylindricity

                                         0.1




                                   0.1 Tolerance Zone




                                    MMC




In this example the entire surface must lie within a tolerance zone
defined by two concentric cylinders separated by the specified
tolerance value. All points on the surface must lie within the limits of
size and the cylindricity limit.


Cylindricity is the condition of a surface of revolution in which
all points are equidistant from a common axis. Cylindricity is a
composite control of form which includes circularity
(roundness), straightness, and taper of a cylindrical feature.
Form Control Quiz
         Questions #1-5 Fill in blanks (choose from below)

 1. The four form controls are ____________, ________,
    ___________, and ____________.
 2. Rule #1 states that unless otherwise specified a feature of
    size must have ____________at MMC.
 3. ____________ and ___________ are individual line or circular
    element (2-D) controls.

 4. ________ and ____________are surface (3-D) controls.
 5. Circularity can be applied to both ________and _______ cylindrical
     parts.


      straightness               cylindricity     angularity
        straight           flatness      tapered    profile
      perfect form               circularity     true position

                  Answer questions #6-10 True or False

 6. Form controls require a datum reference.

 7. Form controls do not directly control a feature’s size.

 8. A feature’s form tolerance must be less than it’s size
     tolerance.

 9. Flatness controls the orientation of a feature.

10. Size limits implicitly control a feature’s form.
Tolerances of
 Orientation
          Angularity
   (ASME Y14.5M-1994 ,6.6.2)




       Perpendicularity
   (ASME Y14.5M-1994 ,6.6.4)




          Parallelism
   (ASME Y14.5M-1994 ,6.6.3)
Angularity
(Feature Surface to Datum Surface)

               20 +/-0.5

                                0.3 A

                                    o
                            30




         A
              19.5 min      20.5 max


                                o                                o
                           30                              30




             0.3 Wide                        0.3 Wide
     A       Tolerance
                                        A    Tolerance
               Zone                            Zone

         The tolerance zone in this example is defined
         by two parallel planes oriented at the
         specified angle to the datum reference plane.

Angularity is the condition of the planar feature surface at a
specified angle (other than 90 degrees) to the datum
reference plane, within the specified tolerance zone.
Angularity
    (Feature Axis to Datum Surface)
      NOTE: Tolerance applies
      to feature at RFS

                      0.3 A




                                                  0.3 Circular
      0.3 Circular                              Tolerance Zone
    Tolerance Zone



                                o
                           60




A                                                             A
      The tolerance zone in this example is defined by a
      cylinder equal to the length of the feature, oriented
      at the specified angle to the datum reference plane.



Angularity is the condition of the feature axis at a specified
angle (other than 90 degrees) to the datum reference
plane, within the specified tolerance zone.
Angularity
      (Feature Axis to Datum Axis)

NOTE: Feature axis must lie
within tolerance zone cylinder
                                        0.3 A



                                              NOTE: Tolerance
                                              applies to feature
                                              at RFS


A                                                  0.3 Circular
              0.3 Circular                       Tolerance Zone
            Tolerance Zone

                                       45 o




           Datum Axis A

    The tolerance zone in this example is defined by a
    cylinder equal to the length of the feature, oriented at
    the specified angle to the datum reference axis.


Angularity is the condition of the feature axis at a specified
angle (other than 90 degrees) to the datum reference axis,
within the specified tolerance zone.
Perpendicularity
(Feature Surface to Datum Surface)

         0.3 A




              A

             0.3 Wide                         0.3 Wide
             Tolerance Zone                   Tolerance Zone




           The tolerance zone in this example is
  A        defined by two parallel planes oriented
                                                       A
           perpendicular to the datum reference
           plane.
 Perpendicularity is the condition of the planar feature
 surface at a right angle to the datum reference plane, within
 the specified tolerance zone.
Perpendicularity
 (Feature Axis to Datum Surface)

                   0.3 Diameter
                  Tolerance Zone




                                     NOTE: Tolerance applies
                                     to feature at RFS
                               C
             0.3 Circular
           Tolerance Zone                   0.3 Circular
                                          Tolerance Zone
                            0.3 C




           The tolerance zone in this example is
           defined by a cylinder equal to the length of
           the feature, oriented perpendicular to the
           datum reference plane.

Perpendicularity is the condition of the feature axis at a
right angle to the datum reference plane, within the
specified tolerance zone.
Perpendicularity
   (Feature Axis to Datum Axis)

   NOTE: Tolerance applies
   to feature at RFS
                                                0.3 A




     A                                     0.3 Wide
                                           Tolerance Zone




           Datum Axis A

          The tolerance zone in this example is
          defined by two parallel planes oriented
          perpendicular to the datum reference axis.


Perpendicularity is the condition of the feature axis at a
right angle to the datum reference axis, within the specified
tolerance zone.
Parallelism
   (Feature Surface to Datum Surface)


                        0.3 A




    25 +/-0.5




                      A

   0.3 Wide Tolerance Zone           0.3 Wide Tolerance Zone




25.5 max                          24.5 min




           A      The tolerance zone in this example
                                                               A
                  is defined by two parallel planes
                  oriented parallel to the datum
                  reference plane.
   Parallelism is the condition of the planar feature surface
   equidistant at all points from the datum reference plane,
   within the specified tolerance zone.
Parallelism
  (Feature Axis to Datum Surface)

                 NOTE: The specified tolerance
                 does not apply to the orientation of
                 the feature axis in this direction




   NOTE: Tolerance applies
   to feature at RFS                      0.3 Wide
                                          Tolerance Zone
                       0.3 A




   A         The tolerance zone in this example            A
             is defined by two parallel planes
             oriented parallel to the datum
             reference plane.

Parallelism is the condition of the feature axis equidistant
along its length from the datum reference plane, within the
specified tolerance zone.
Parallelism
   (Feature Axis to Datum Surfaces)

                    0.3 Circular
                  Tolerance Zone




  B


                                      NOTE: Tolerance applies
                                      to feature at RFS
             0.3 Circular
           Tolerance Zone                        0.3 Circular
                                               Tolerance Zone
                            0.3 A B

  B



            The tolerance zone in this example is
   A        defined by a cylinder equal to the
                                                                A
            length of the feature, oriented parallel
            to the datum reference planes.

Parallelism is the condition of the feature axis equidistant
along its length from the two datum reference planes, within
the specified tolerance zone.
Parallelism
       (Feature Axis to Datum Axis)
The tolerance zone in this example is
defined by a cylinder equal to the
length of the feature, oriented parallel
to the datum reference axis.

                  NOTE: Tolerance applies
                  to feature at RFS
   0.1 Circular
 Tolerance Zone                       0.1 A



                                                             A




       0.1 Circular                              Datum Axis A
     Tolerance Zone




Parallelism is the condition of the feature axis equidistant along
its length from the datum reference axis, within the specified
tolerance zone.
Orientation Control Quiz
        Questions #1-5 Fill in blanks (choose from below)

 1. The three orientation controls are __________, ___________,
    and ________________.

 2. A _______________ is always required when applying any of
    the orientation controls.

 3. ________________ is the appropriate geometric tolerance when
    controlling the orientation of a feature at right angles to a datum
    reference.
 4. Mathematically all three orientation tolerances are _________.

 5. Orientation tolerances do not control the ________ of a feature.

    perpendicularity            datum target          datum reference
     datum feature                location               parallelism
       angularity                   identical              profile

               Answer questions #6-10 True or False
 6. Orientation tolerances indirectly control a feature’s form.

 7. Orientation tolerance zones can be cylindrical.
 8. To apply a perpendicularity tolerance the desired angle
    must be indicated as a basic dimension.

 9. Parallelism tolerances do not apply to features of size.

10. To apply an angularity tolerance the desired angle must
    be indicated as a basic dimension.
Tolerances
of Runout

        Circular Runout
 (ASME Y14.5M-1994, 6.7.1.2.1)




         Total Runout
 (ASME Y14.5M-1994 ,6.7.1.2.2)
Features Applicable
       to Runout Tolerancing
                           Internal surfaces
                           constructed around a
                           datum axis




External surfaces
constructed around
a datum axis                 Angled surfaces
                             constructed around
                             a datum axis
 Datum axis (established
 from datum feature




                           Surfaces constructed
                           perpendicular to a
                           datum axis
     Datum feature
Circular Runout
                                  Total           Circular runout can only be applied on an
                                Tolerance         RFS basis and cannot be modified to
                                                  MMC or LMC.



                  Maximum                       Minimum


            Full Indicator
             Movement

    Maximum            Minimum
    Reading            Reading                                     Measuring position #1
                                                                   (circular element #1)
                       -
                   0
              +



                                                                                 Full Part
                                                                                 Rotation




                                                                   Measuring position #2
                                                                   (circular element #2)




When measuring circular runout, the indicator must be reset to zero at each measuring position
along the feature surface. Each individual circular element of the surface is independently
allowed the full specified tolerance. In this example, circular runout can be used to detect 2-
dimensional wobble (orientation) and waviness (form), but not 3-dimensional characteristics
such as surface profile (overall form) or surface wobble (overall orientation).
Circular Runout
                  (Angled Surface to Datum Axis)

                                 0.75 A

                                                                            A



                                                                         50 +/-0.25

                                  o           o
                             50       +/- 2
                                                                            As Shown
                                                                            on Drawing


 Means This:                                      The tolerance zone for any individual circular
                                                  element is equal to the total allowable movement
                                                  of a dial indicator fixed in a position normal to the
   Allowable indicator                            true geometric shape of the feature surface when
   reading = 0.75 max.                            the part is rotated 360 degrees about the datum
    (  Full Indicator
        Movement     )                            axis. The tolerance limit is applied independently
                                                  to each individual measuring position along the
                     -
                         0
                             +                    feature surface.

                                                                      Collet or Chuck
When measuring circular
runout, the indicator must
be reset when repositioned
                                                                                        Datum axis A
along the feature surface.




                                                                         360 o Part
                                                                         Rotation

                                                  NOTE: Circular runout in this example only
                                                  controls the 2-dimensional circular elements
   Single circular                                (circularity and coaxiality) of the angled feature
      element                                     surface not the entire angled feature surface
Circular Runout
      (Surface Perpendicular to Datum Axis)
                                               0.75 A


                                                   A



                                                50 +/-0.25



                                                        As Shown
                                                        on Drawing


Means This:          The tolerance zone for any individual circular
                     element is equal to the total allowable movement
                     of a dial indicator fixed in a position normal to the
                     true geometric shape of the feature surface when
                     the part is rotated 360 degrees about the datum
                     axis. The tolerance limit is applied independently
                     to each individual measuring position along the
Single circular      feature surface.
   element
                      -
                          0
                              +      When measuring circular runout, the indicator must be
                                     reset when repositioned along the feature surface.


360 o Part                        Allowable indicator
                                  reading = 0.75 max.
Rotation


                                                        Datum axis A

                     NOTE: Circular runout in this example will
                     only control variation in the 2-dimensional
                     circular elements of the planar surface (wobble
                     and waviness) not the entire feature surface
Circular Runout
               (Surface Coaxial to Datum Axis)
                                            0.75 A


                                                           A



                                                        50 +/-0.25


                                                                As Shown
                                                                on Drawing

                      The tolerance zone for any individual circular element is equal
Means This:           to the total allowable movement of a dial indicator fixed in a
                      position normal to the true geometric shape of the feature
                      surface when the part is rotated 360 degrees about the datum
                      axis. The tolerance limit is applied independently to each
                      individual measuring position along the feature surface.
                                 -
                             0
                         +
                                           When measuring circular runout,
Allowable indicator                        the indicator must be reset when
reading = 0.75 max.                        repositioned along the feature
                                           surface.



                                     Single circular element

  360 o Part                                                       Datum axis A
  Rotation




                                      NOTE: Circular runout in this example will
                                      only control variation in the 2-dimensional
                                      circular elements of the surface (circularity and
                                      coaxiality) not the entire feature surface
Circular Runout
              (Surface Coaxial to Datum Axis)
                                                   0.75 A-B



                      A                                        B




                                                                    As Shown
                                                                    on Drawing

                          The tolerance zone for any individual circular element is equal
Means This:               to the total allowable movement of a dial indicator fixed in a
                          position normal to the true geometric shape of the feature
                          surface when the part is rotated 360 degrees about the datum
                          axis. The tolerance limit is applied independently to each
                          individual measuring position along the feature surface.
                                     -
                                 0
                             +
                                               When measuring circular runout,
Allowable indicator                            the indicator must be reset when
reading = 0.75 max.                            repositioned along the feature
                                               surface.

   Machine
    center
                                         Single circular element
                                                                       Datum axis A-B



                                                                      Machine
                                                                       center
     360 o Part                           NOTE: Circular runout in this example will
     Rotation                             only control variation in the 2-dimensional
                                          circular elements of the surface (circularity and
                                          coaxiality) not the entire feature surface
Circular Runout
(Surface Related to Datum Surface and Axis)


                                                    A
                                                                  B
        0.75 A B

                                                               50 +/-0.25



                                                                      As Shown
                                                                      on Drawing

                                  The tolerance zone for any individual circular element is
Means This:                       equal to the total allowable movement of a dial indicator
                                  fixed in a position normal to the true geometric shape of the
                                  feature surface when the part is located against the datum
                                  surface and rotated 360 degrees about the datum axis. The
                                  tolerance limit is applied independently to each individual
                                  measuring position along the feature surface.
                                                     Single circular element
      Allowable indicator
      reading = 0.75 max.
                                                                      Stop collar


  360 o Part                  -
                          0
                      +
                                                                               Collet or Chuck
  Rotation



                                                                                 Datum axis B


When measuring circular runout,
the indicator must be reset when
repositioned along the feature
surface.                                                Datum plane A
Total Runout
                                     Total         Total runout can only be applied on an
                                   Tolerance       RFS basis and cannot be modified to
                                                   MMC or LMC.



                   Maximum                       Minimum


              Full Indicator
               Movement

    Maximum              Minimum
    Reading              Reading

               +
                    0
                        -

  Indicator                                                                       Full Part
     Path                                                                         Rotation



                        -
                    0
               +




When measuring total runout, the indicator is moved in a straight line along the feature surface
while the part is rotated about the datum axis. It is also acceptable to measure total runout by
evaluating an appropriate number of individual circular elements along the surface while the
part is rotated about the datum axis. Because the tolerance value is applied to the entire
surface, the indicator must not be reset to zero when moved to each measuring position. In this
example, total runout can be used to measure surface profile (overall form) and surface wobble
(overall orientation).
Total Runout
                (Angled Surface to Datum Axis)

                                     0.75 A
                                                                                      A



                                                                                   50 +/-0.25

                                     o           o
                             50          +/- 2
                                                                                     As Shown
                                                                                     on Drawing


Means This:                                           The tolerance zone for the entire angled surface is
                                                      equal to the total allowable movement of a dial
                                                      indicator positioned normal to the true geometric
When measuring total runout, the
indicator must not be reset when                      shape of the feature surface when the part is
repositioned along the feature                        rotated about the datum axis and the indicator is
surface.                                              moved along the entire length of the feature
                             -
                                 0
                                     +                surface.

                                                           Allowable indicator reading = 0.75 max.
                 -
                     0
                         +
                                                            (applies to the entire feature surface)



                                                                                      Collet or Chuck




   Full Part                                                                              Datum axis A
   Rotation

                                                     NOTE: Unlike circular runout, the use of total runout
                                                     will provide 3-dimensional composite control of the
                                                     cumulative variations of circularity, coaxiality,
                                                     angularity, taper and profile of the angled surface
Total Runout
      (Surface Perpendicular to Datum Axis)

                                                          0.75 A
            10

            35
                                                         50 +/-0.25



                                                            A
                                                                 As Shown
                                                                 on Drawing


Means This:      The tolerance zone for the portion of the feature surface
                 indicated is equal to the total allowable movement of a dial
                 indicator positioned normal to the true geometric shape of the
                 feature surface when the part is rotated about the datum axis
                 and the indicator is moved along the portion of the feature
                 surface within the area described by the basic dimensions.


                               -
                                   0
                                       +
                                               When measuring total runout, the indicator
    10                         -
                                   0
                                       +       must not be reset when repositioned along the
                                               feature surface.

    35                                  Allowable indicator reading = 0.75 max.
                                       (applies to portion of feature surface indicated)


Full Part
Rotation                                                        Datum axis A

                               NOTE: The use of total runout in this example
                               will provide composite control of the cumulative
                               variations of perpendicularity (wobble) and
                               flatness (concavity or convexity) of the feature
                               surface.
Runout Control Quiz
                Answer questions #1-12 True or False


 1. Total runout is a 2-dimensional    control.

 2. Runout tolerances are used on rotating parts.

 3. Circular runout tolerances apply to single elements .

 4. Total runout tolerances should be applied at MMC.

 5. Runout tolerances can be applied to surfaces at right
    angles to the datum reference.

 6. Circular runout tolerances are used to control an entire
    feature surface.

 7. Runout tolerances always require a datum reference.

 8. Circular runout and total runout both control axis to
    surface relationships.

 9. Circular runout can be applied to control taper of a part.

10. Total runout tolerances are an appropriate way to limit
     “wobble” of a rotating surface.

11. Runout tolerances are used to control a feature’s size.

12. Total runout can control circularity, straightness, taper,
    coaxiality, angularity and any other surface variation.
Tolerances
 of Profile


        Profile of a
  (ASME Line
        Y14.5M-1994, 6.5.2b)




      Profile of a Surface
  (ASME Y14.5M-1994, 6.5.2a)
Profile of a Line
                                20 X 20

                                           A1                  B

                                                                         20 X 20

                                                                    A3


                20 X 20

                          A2




                                                          C

                                                1 A B C


                     17 +/- 1

                                                               A

                                                   1 Wide Profile
            2 Wide Size                            Tolerance Zone
           Tolerance Zone

                18 Max


                                 16 Min.

      The profile tolerance zone in this example is defined by two
      parallel lines oriented with respect to the datum reference
      frame. The profile tolerance zone is free to float within the
      larger size tolerance and applies only to the form and
      orientation of any individual line element along the entire
      surface.

Profile of a Line is a two-dimensional tolerance that can be applied to a
part feature in situations where the control of the entire feature surface as
a single entity is not required or desired. The tolerance applies to the line
element of the surface at each individual cross section indicated on the
drawing.
Profile of a Surface
                   20 X 20

                             A1           B

                                                   20 X 20

                                              A3


    20 X 20

              A2




                                      C                             2 A B C




                                                             23.5


                                  A
                                                                      2 Wide Tolerance Zone
                                                                    Size, Form and Orientation


                                                                                   Nominal
                                                                       23.5
                                                                                   Location




   The profile tolerance zone in this example is defined by two parallel
   planes oriented with respect to the datum reference frame. The profile
   tolerance zone is located and aligned in a way that enables the part
   surface to vary equally about the true profile of the feature.




Profile of a Surface is a three-dimensional tolerance that can be applied to
a part feature in situations where the control of the entire feature surface
as a single entity is desired. The tolerance applies to the entire surface
and can be used to control size, location, form and/or orientation of a
feature surface.
Profile of a Surface
       (Bilateral Tolerance)
                                20 X 20
                                          A1             B

                                                                           20 X 20

                                                                    A3


                 20 X 20

                           A2


               1 A B C



                                                    C
                                           50

          1 Wide Total                                   B
          Tolerance Zone




                                      0.5 Inboard
            0.5 Outboard                            C

                                               50       Nominal Location


   The tolerance zone in this example is defined by two parallel planes
   oriented with respect to the datum reference frame. The profile
   tolerance zone is located and aligned in a way that enables the part
   surface to vary equally about the true profile of the trim.

Profile of a Surface when applied to trim edges of sheet metal parts will control
the location, form and orientation of the entire trimmed surface. When a
bilateral value is specified, the tolerance zone allows the trim edge variation
and/or locational error to be on both sides of the true profile. The tolerance
applies to the entire edge surface.
Profile of a Surface
       (Unilateral Tolerance)
                                20 X 20
                                          A1             B

                                                                           20 X 20

                                                                    A3


                 20 X 20

                           A2


               0.5 A B C



                                                    C
                                           50

          0.5 Wide Total                                 B
          Tolerance Zone




                                                    C

                                               50       Nominal Location


   The tolerance zone in this example is defined by two parallel planes
   oriented with respect to the datum reference frame. The profile tolerance
   zone is located and aligned in a way that allows the trim surface to vary
   from the true profile only in the inboard direction.

Profile of a Surface when applied to trim edges of sheet metal parts will control
the location, form and orientation of the entire trimmed surface. When a
unilateral value is specified, the tolerance zone limits the trim edge variation
and/or locational error to one side of the true profile. The tolerance applies to
the entire edge surface.
Profile of a Surface
       (Unequal Bilateral Tolerance)
                                 20 X 20
                                           A1             B

                                                                            20 X 20

                                                                     A3


                 20 X 20

                           A2

                           0.5

               1.2 A B C

                                                     C
                                            50

          1.2 Wide Total                                  B
          Tolerance Zone




                                       0.5 Inboard
            0.7 Outboard                             C

                                                50       Nominal Location


   The tolerance zone in this example is defined by two parallel planes
   oriented with respect to the datum reference frame. The profile
   tolerance zone is located and aligned in a way that enables the part
   surface to vary from the true profile more in one direction (outboard)
   than in the other (inboard).
Profile of a Surface when applied to trim edges of sheet metal parts will control
the location, form and orientation of the entire trimmed surface. Typically when
unequal values are specified, the tolerance zone will represent the actual
measured trim edge variation and/or locational error. The tolerance applies to
the entire edge surface.
Profile of a Surface


                               Location &
                   0.5 A       Orientation
                   0.1         Form Only
     25




            A


                  0.1 Wide Tolerance Zone


    25.25
                                            24.75




            A




 Composite Profile of Two Coplanar
Surfaces w/o Orientation Refinement
Profile of a Surface

                           0.5 A          Location
                           0.1 A          Form & Orientation

     25




            A

                0.1 Wide Tolerance Zone
    25.25




            A   0.1 Wide Tolerance Zone

    24.75




            A




 Composite Profile of Two Coplanar
Surfaces With Orientation Refinement
Profile Control Quiz
                Answer questions #1-13 True or False

 1. Profile tolerances always require a datum reference.

 2. Profile of a surface tolerance is a 2-dimensional control.

 3. Profile of a surface tolerance should be used to control
    trim edges on sheet metal parts.
 4. Profile of a line tolerances should be applied at MMC.

 5. Profile tolerances can be applied to features of size.

 6. Profile tolerances can be combined with other geometric
    controls such as flatness to control a feature.

 7. Profile of a line tolerances apply to an entire surface.

 8. Profile of a line controls apply to individual line elements.

 9. Profile tolerances only control the location of a surface.

10. Composite profile controls should be avoided because
    they are more restrictive and very difficult to check.

11. Profile tolerances can be applied either bilateral or
    unilateral to a feature.

12. Profile tolerances can be applied in both freestate and
    restrained datum conditions.

13. Tolerances shown in the lower segment of a composite
    profile feature control frame control the location of a
    feature to the specified datums.
Profile Control Quiz
       Questions #1-9 Fill in blanks (choose from below)


1. The two types of profile tolerances are _________________,
   and ____________________.
2. Profile tolerances can be used to control the ________, ____,
   ___________ , and sometimes size of a feature.
3. Profile tolerances can be applied _________ or __________.
4. _________________ tolerances are 2-dimensional controls.
5. ____________________ tolerances are 3-dimensional controls.
6. _________________ can be used when different tolerances are
   required for location and form and/or orientation.
7. When using profile tolerances to control the location and/or orientation of
   a feature, a _______________ must be included
   in the feature control frame.

8. When using profile tolerances to control form only, a ______
   __________ is not required in the feature control frame.
9. In composite profile applications, the tolerance shown in the upper
   segment of the feature control frame applies only to the ________ of
   the feature.


   composite profile      bilateral   virtual condition
   profile of a surface   primary datum orientation
   datum reference       unilateral    profile of a line
   location      true geometric counterpart        form
Tolerances
of Location

       True Position
  (ASME Y14.5M-1994, 5.2)




       Concentricity
  (ASME Y14.5M-1994, 5.12)




         Symmetry
  (ASME Y14.5M-1994, 5.13)
Notes
Coordinate vs Geometric
  Tolerancing Methods
                                                       8.5 +/- 0.1
                                                           1.4 A B C
            8.5 +/- 0.1
                   Rectangular                                Circular Tolerance
                  Tolerance Zone                                     Zone

                          10.25 +/- 0.5                           10.25
                                            B


              10.25 +/- 0.5                              10.25      C



                                            A

Coordinate Dimensioning                   Geometric Dimensioning

                  +/- 0.5
                                                                          1.4


  +/- 0.5



 Rectangular Tolerance Zone                 Circular Tolerance Zone


                                                  Circular Tolerance Zone
   57% Larger
 Tolerance Zone
                                                Rectangular Tolerance Zone



              Increased Effective Tolerance
Positional Tolerance Verification
 (Applies when a circular tolerance is indicated)
                                 X
            Z
                                        Feature axis actual
                                      location (measured)




   Positional
   tolerance zone
                                                Y
   cylinder
 Actual feature                      Feature axis true
   boundary                          position (designed)


  Formula to determine the actual radial
  position of a feature using measured
  coordinate values (RFS)

           Z=       X2 + Y2
           Z      positional tolerance /2
           Z = total radial deviation
           X2 = “X” measured deviation
           Y2 = “Y” measured deviation
Positional Tolerance Verification
 (Applies when a circular tolerance is indicated)
                                 X
            Z
                                        Feature axis actual
                                      location (measured)




   Positional
   tolerance zone
                                                Y
   cylinder
 Actual feature                      Feature axis true
   boundary                          position (designed)


  Formula to determine the actual radial
  position of a feature using measured
  coordinate values (MMC)
           Z =      X2 + Y2
           Z         +( actual - MMC)
                           2
             = positional tolerance
           Z = total radial deviation
           X2 = “X” measured deviation
           Y2 = “Y” measured deviation
Bi-directional True Position
       Rectangular Coordinate Method
        2X        1.5 A B C

                                                    2X    0.5 A B C


             C                                                    A




  10
                                           B          As Shown
        10                     35                     on Drawing
                         2X   6 +/-0.25


Means This:
                                           True Position Related
                 1.5 Wide                  to Datum Reference Frame
                 Tolerance
                   Zone
                     C



             10
                                                B
                              10      35         0.5 Wide
                                                 Tolerance Zone

Each axis must lie within the 1.5 X 0.5 rectangular tolerance zone
basically located to the datum reference frame
Bi-directional True Position
    Multiple Single-Segment Method
                                                 2X    6 +/-0.25
                                                  1.5 A B C
                                                  0.5 A B


          C                                                        A




  10
                                       B              As Shown
                  10       35                         on Drawing


Means This:
                                        True Position Related
              1.5 Wide                  to Datum Reference Frame
              Tolerance
                Zone
                  C



           10
                                             B
                          10      35          0.5 Wide
                                              Tolerance Zone

Each axis must lie within the 1.5 X 0.5 rectangular tolerance zone
basically located to the datum reference frame
Bi-directional True Position
Noncylndrical Features (Boundary Concept)

           2X 13 +/-0.25                                               2X 6 +/-0.25
           1.5 M A B C                                                   0.5 M A B C
            BOUNDARY                                                    BOUNDARY


             C                                                                           A




  10
                                                      B                 As Shown
                      10           35                                   on Drawing


                                                                        5.75 MMC length of slot
Means This:                                                            -0.50 Position tolerance
Both holes must be within the size limits and no                        5.25 maximum boundary
portion of their surfaces may lie within the area
described by the 11.25 x 5.25 maximum
boundaries when the part is positioned with                               12.75 MMC width of slot
respect to the datum reference frame. The                                  -1.50 Position tolerance
boundary concept can only be applied on an                                11.25 Maximum boundary
MMC basis.
                                      True position boundary related
                                      to datum reference frame


           C


                                                                       90 o
  10                                                                                     A
                    10           35                    B
Composite True Position
 Without Pattern Orientation Control
                                                   2X       6 +/-0.25
                                                        1.5 A B C
                                                        0.5 A


                C                                                                 A




 10
                                               B        As Shown
                              10     35                 on Drawing


Means This:
                                                      1.5 Pattern-Locating
  0.5 Feature-Relating                              Tolerance Zone Cylinder
Tolerance Zone Cylinder                               pattern location relative
  pattern orientation relative to                     to Datums A, B, and C
  Datum A only (perpendicularity)


                              C



                  10                               True Position Related
                                               B
                                                   to Datum Reference
                                    10    35       Frame

Each axis must lie within each tolerance zone simultaneously
Composite True Position
      With Pattern Orientation Control
                                             2X         6 +/-0.25
                                                   1.5 A B C
                                                   0.5 A B


         C                                                                  A




 10
                                    B             As Shown
                 10      35                       on Drawing


Means This:
                                                1.5 Pattern-Locating
True Position Related                         Tolerance Zone Cylinder
                                                pattern location relative
to Datum Reference                              to Datums A, B, and C

Frame
                 C



          10
                                    B          0.5 Feature-Relating
                                             Tolerance Zone Cylinder
                        10     35                 pattern orientation relative to
                                                         Datums A and B



Each axis must lie within each tolerance zone simultaneously
Location (Concentricity)
              Datum Features at RFS

                                   6.35 +/- 0.05
                                      0.5 A
      A




            15.95
            15.90

                    As Shown on Drawing
Means This:             Axis of Datum                      0.5 Coaxial
                          Feature A                     Tolerance Zone




      Derived Median Points of
   Diametrically Opposed Elements

Within the limits of size and regardless of feature size, all median points of
diametrically opposed elements must lie within a       0.5 cylindrical
tolerance zone. The axis of the tolerance zone coincides with the axis of
datum feature A. Concentricity can only be applied on an RFS basis.
Location (Symmetry)
            Datum Features at RFS

                                  6.35 +/- 0.05
                                     0.5 A
     A




         15.95
         15.90

                 As Shown on Drawing
Means This:           Center Plane of             0.5 Wide
                      Datum Feature A             Tolerance Zone




                 Derived Median
                      Points

Within the limits of size and regardless of feature size, all median
points of opposed elements must lie between two parallel planes
equally disposed about datum plane A, 0.5 apart. Symmetry can only
be applied on an RFS basis.
True Position Quiz
                 Answer questions #1-11 True or False


 1. Positional tolerances are applied to individual or patterns
    of features of size.
 2. Cylindrical tolerance zones more closely represent the
    functional requirements of a pattern of clearance holes.

 3. True position tolerance values are used to calculate the
    minimum size of a feature required for assembly.
 4. True position tolerances can control a feature’s size.
 5. Positional tolerances are applied on an MMC, LMC, or
    RFS basis.
 6. Composite true position tolerances should be avoided
    because it is overly restrictive and difficult to check.

 7. Composite true position tolerances can only be applied
    to patterns of related features.

 8. The tolerance value shown in the upper segment of a
    composite true position feature control frame applies
    to the location of a pattern of features to the specified
    datums.

 9. The tolerance value shown in the lower segment of a
    composite true position feature control frame applies
    to the location of a pattern of features to the specified
    datums.
10. Positional tolerances can be used to control circularity
11. True position tolerances can be used to control center
    distance relationships between features of size.
True Position Quiz
      Questions #1-9 Fill in blanks (choose from below)
1. Positional tolerance zones can be ___________, ___________,
  or spherical

2. ________________ are used to establish the true (theoretically
  exact) position of a feature from specified datums.

3. Positional tolerancing is a _____________ control.
4. Positional tolerance can apply to the ____ or ________________
  of a feature.

5. _____ and ________ fastener equations are used to determine
  appropriate clearance hole sizes for mating details

6. _________ tolerance zones are recommended to prevent fastener
  interference in mating details.

7. The tolerance shown in the upper segment of a composite true
   position feature control frame is called the ________________
  tolerance zone.
8. The tolerance shown in the lower segment of a composite true
   position feature control frame is called the ________________
  tolerance zone.
9. Functional gaging principles can be applied when __________
   ________ condition is specified

  surface boundary     floating   feature-relating
  pattern-locating   rectangular         cylindrical
  3-dimensional    basic dimensions      projected
  location     maximum material     axis       fixed
Notes
Notes
Fixed and
 Floating
Fastener
Exercises
Floating Fasteners
In applications where two or more mating details are assembled, and all parts
have clearance holes for the fasteners, the floating fastener formula shown
below can be used to calculate the appropriate hole sizes or positional tolerance
requirements to ensure assembly. The formula will provide a “zero-interference”
fit when the features are at MMC and at their extreme of positional tolerance




                    2x M10 X 1.5
                         (Reference)
                                                              General Equation Applies to
                                                              Each Part Individually

                           A                               H=F+T or T=H-F
                           B                            H= Min. diameter of clearance hole
                                                        F= Maximum diameter of fastener
                                                           T= Positional tolerance diameter



     2x    10.50 +/- 0.25
            ?.? M                      Calculate Required
                                       Positional Tolerance
                                                                   T=H-F
                                                              H = Minimum Hole Size =              10.25
                                                              F = Max. Fastener Size =             10
                                                                    T = 10.25 -10
                           A
                                                                    T = ______
                                                                 remember: the size tolerance must be
                                                                 added to the calculated MMC hole size to
          Calculate              2x       ??.?? +/- 0.25
          Nominal Size                                           obtain the correct nominal value.
                                           0.5 M
                                                                   H = F +T
                                                              F = Max. Fastener Size =               10
                                                              T = Positional Tolerance =             0.50
                           B                                       H = 10 + 0.50
                                                                   H = ______
Floating Fasteners
In applications where two or more mating details are assembled, and all parts
have clearance holes for the fasteners, the floating fastener formula shown
below can be used to calculate the appropriate hole sizes or positional tolerance
requirements to ensure assembly. The formula will provide a “zero-interference”
fit when the features are at MMC and at their extreme of positional tolerance




                    2x M10 X 1.5
                         (Reference)
                                                              General Equation Applies to
                                                              Each Part Individually

                           A                               H=F+T or T=H-F
                           B                            H= Min. diameter of clearance hole
                                                        F= Maximum diameter of fastener
                                                           T= Positional tolerance diameter



     2x    10.50 +/- 0.25
           0.25 M                      Calculate Required
                                       Positional Tolerance
                                                                   T=H-F
                                                              H = Minimum Hole Size =               10.25
                                                              F = Max. Fastener Size =              10
                                                                   T = 10.25 -10
                           A
                                                                   T = 0.25
                                                                 remember: the size tolerance must be
                                          10.75 +/- 0.25         added to the calculated MMC hole size to
          Calculate              2x
          Nominal Size                                           obtain the correct nominal value.
                                           0.5 M
                                                                   H = F +T
                                                              F = Max. Fastener Size =               10
                                                              T = Positional Tolerance =             0.5
                           B                                       H=        10 + .5
                                                                   H=        10.5 Minimum
              REMEMBER!!! All Calculations Apply at MMC
Fixed Fasteners
In fixed fastener applications where two mating details have equal positional
tolerances, the fixed fastener formula shown below can be used to calculate
the appropriate minimum clearance hole size and/or positional tolerance required
to ensure assembly. The formula provides a “zero-interference” fit when the
features are at MMC and at their extreme of positional tolerance. (Note that in
this example the positional tolerances indicated are the same for both parts.)


  APPLIES WHEN A PROJECTED TOLERANCE ZONE IS USED
                   2x M10 X 1.5
                       (Reference)

                                                              General Equation Used When
                                                              Positional Tolerances Are Equal

10                       A                            H=F+2T or T=(H-F)/2
                                                         H= Min. diameter of clearance hole
                         B                               F= Maximum diameter of fastener
                                                            T= Positional tolerance diameter

                                                                   remember: the size tolerance
Calculate Required                                                 must be added to the calculated
Clearance Hole Size.                 2x     ??.?? +/- 0.25
                                                                   MMC size to obtain the correct
                                             0.8 M                 nominal value.




                           A
                                                                  H = F + 2T
                                       Nominal Size
                                                              F = Max. Fastener Size =               10.00
 2X M10 X 1.5                        (MMC For Calculations)   T = Positional Tolerance =             0.80
     0.8 M P 10
                                                                  H = 10.00 + 2(0.8)
                                                                  H = _____

                           B
Fixed Fasteners
In fixed fastener applications where two mating details have equal positional
tolerances, the fixed fastener formula shown below can be used to calculate
the appropriate minimum clearance hole size and/or positional tolerance required
to ensure assembly. The formula provides a “zero-interference” fit when the
features are at MMC and at their extreme of positional tolerance. (Note that in
this example the positional tolerances indicated are the same for both parts.)


  APPLIES WHEN A PROJECTED TOLERANCE ZONE IS USED
                   2x M10 X 1.5
                       (Reference)

                                                             General Equation Used When
                                                             Positional Tolerances Are Equal

10                       A                          H=F+2T or T=(H-F)/2
                                                         H= Min. diameter of clearance hole
                         B                               F= Maximum diameter of fastener
                                                            T= Positional tolerance diameter

                                                                  remember: the size tolerance
Calculate Required                                                must be added to the calculated
Clearance Hole Size.
                                     2x   11.85   +/- 0.25
                                                                  MMC size to obtain the correct
                                          0.8   M                 nominal value.




                           A
                                                                 H = F + 2T
                                  Nominal Size
                                                             F = Max. Fastener Size =               10.00
 2X M10 X 1.5                   (MMC For Calculations)       T = Positional Tolerance =             0.80
     0.8 M P 10
                                                                 H = 10.00 + 2(0.8)
                                                                 H = 11.60 Minimum

                           B

               REMEMBER!!! All Calculations Apply at MMC
Fixed Fasteners
In fixed fastener applications where two mating details have equal positional
tolerances, the fixed fastener formula shown below can be used to calculate
the appropriate minimum clearance hole size and/or positional tolerance required
to ensure assembly. The formula provides a “zero-interference” fit when the
features are at MMC and at their extreme of positional tolerance. (Note that in
this example the positional tolerances indicated are the same for both parts.)


  APPLIES WHEN A PROJECTED TOLERANCE ZONE IS USED
                   2x M10 X 1.5
                       (Reference)

                                                             General Equation Used When
                                                             Positional Tolerances Are Equal

10                       A                          H=F+2T or T=(H-F)/2
                                                         H= Min. diameter of clearance hole
                         B                               F= Maximum diameter of fastener
                                                            T= Positional tolerance diameter

                                                                  remember: the size tolerance
Calculate Required                                                must be added to the calculated
Clearance Hole Size.
                                     2x   11.85   +/- 0.25
                                                                  MMC size to obtain the correct
                                          0.8   M                 nominal value.




                           A
                                                                 H = F + 2T
                                  Nominal Size
                                                             F = Max. Fastener Size =               10
 2X M10 X 1.5                   (MMC For Calculations)       T = Positional Tolerance =             0.8
     0.8 M P 10
                                                                 H = 10 + 2(0.8)
                                                                 H = 11.6 Minimum

                           B

               REMEMBER!!! All Calculations Apply at MMC
Fixed Fasteners
In applications where two mating details are assembled, and one part has
restrained fasteners, the fixed fastener formula shown below can be used to
calculate appropriate hole sizes and/or positional tolerances required to ensure
assembly. The formula will provide a “zero-interference” fit when the features are
at MMC and at their extreme of positional tolerance. (Note: in this example the
resultant positional tolerance is applied to both parts equally.)


  APPLIES WHEN A PROJECTED TOLERANCE ZONE IS USED
                  2x M10 X 1.5
                    (Reference)

                                                        General Equation Used When
                                                        Positional Tolerances Are Equal

10                    A                         H=F+2T or T=(H-F)/2
                                                    H= Min. diameter of clearance hole
                      B                             F= Maximum diameter of fastener
                                                       T= Positional tolerance diameter



                                  2x   11.25 +/- 0.25
                                                         Calculate Required
                                        0.5 M            Positional Tolerance .
                                                           (Both Parts)




                        A
                                                             T = (H - F)/2
                                                        H = Minimum Hole Size =    11
    Nominal Size              2X M10 X 1.5              F = Max. Fastener Size =   10
 (MMC For Calculations)
                                  0.5 M P 10
                                                             T = (11 - 10)/2
                                                             T = 0.50

                          B

              REMEMBER!!! All Calculations Apply at MMC
Fixed Fasteners
In fixed fastener applications where two mating details have unequal positional
tolerances, the fixed fastener formula shown below can be used to calculate
the appropriate minimum clearance hole size and/or positional tolerances
required to ensure assembly. The formula provides a “zero-interference” fit when
the features are at MMC and at their extreme of positional tolerance. (Note that in
this example the positional tolerances indicated are not equal.)


  APPLIES WHEN A PROJECTED TOLERANCE ZONE IS USED
                   2x M10 X 1.5
                       (Reference)
                                                         General Equation Used When
                                                       Positional Tolerances Are Not Equal


10                       A
                                                             H=F+(T1 + T2)
                                                          H = Min. diameter of clearance hole
                                                          F = Maximum diameter of fastener
                         B                                    T1= Positional tolerance (Part A)
                                                          T2= Positional tolerance (Part B)

                                                               remember: the size tolerance must be
Calculate Required                                             added to the calculated MMC hole size to
Clearance Hole Size.                 2x   ??.??+/- 0.25
                                                               obtain the correct nominal value.
                                           0.5 M




                           A
                                                               H=F+(T1 + T2)
                                Nominal Size
                                                           F = Max. Fastener Size =                  10
 2X M10 X 1.5                 (MMC For Calculations)       T1 = Positional Tol. (A) =
      1 M P 10                                             0.50 T2 = Positional Tol. (B)         =
                                                            1
                                                               H = 10+ (0.5 + 1)
                                                               H = ____
                           B
Fixed Fasteners
In fixed fastener applications where two mating details have unequal positional
tolerances, the fixed fastener formula shown below can be used to calculate
the appropriate minimum clearance hole size and/or positional tolerances
required to ensure assembly. The formula provides a “zero-interference” fit when
the features are at MMC and at their extreme of positional tolerance. (Note that in
this example the positional tolerances indicated are not equal.)


  APPLIES WHEN A PROJECTED TOLERANCE ZONE IS USED
                   2x M10 X 1.5
                       (Reference)
                                                         General Equation Used When
                                                       Positional Tolerances Are Not Equal


10                       A
                                                             H= F+(T1 + T2)
                                                          H = Min. diameter of clearance hole
                                                          F = Maximum diameter of fastener
                         B                                    T1= Positional tolerance (Part A)
                                                          T2= Positional tolerance (Part B)

                                                                remember: the size tolerance must be
Calculate Required                                              added to the calculated MMC hole size to
Clearance Hole Size.                 2x   11.75+/- 0.25
                                                                obtain the correct nominal value.
                                           0.5 M




                           A
                                                               H=F+(T1 + T2)
                                Nominal Size
                                                           F = Max. Fastener Size =               10
 2X M10 X 1.5                 (MMC For Calculations)       T1 = Positional Tol. (A) =              0.5
     1 M P 10                                              T2 = Positional Tol. (B) =              1
                                                              H = 10 + (0.5 + 1)
                                                              H = 11.5 Minimum
                           B

               REMEMBER!!! All Calculations Apply at MMC
Fixed Fasteners
In applications where a projected tolerance zone is not indicated, it is
necessary to select a positional tolerance and minimum clearance hole size
combination that will allow for any out-of-squareness of the feature containing
the fastener. The modified fixed fastener formula shown below can be used to
calculate the appropriate minimum clearance hole size required to ensure
assembly. The formula provides a “zero-interference” fit when the features are
at MMC and at the extreme positional tolerance.

APPLIES WHEN A PROJECTED TOLERANCE ZONE IS NOT USED


        H                 F
                                           H= Min. diameter of clearance hole
 P                    A                    F= Maximum diameter of pin
                                           T1= Positional tolerance (Part A)
                                           T2= Positional tolerance (Part B)
 D                    B                    D= Min. depth of pin (Part A)
                                           P= Maximum projection of pin


                                           remember: the size tolerance must be
     Calculate       2x   ??.?? +/-0.25    added to the calculated MMC hole size to
     Nominal Size                          obtain the correct nominal value.
                           0.5 M


                                          H= F + T1 + T2 (1+(2P/D))
                     A                     F = Max. pin size                = 10
                                           T1 = Positional Tol. (A)        =   0.5
                2x   10.05 +/-0.05         T2 = Positional Tol. (B)        =   0.5 D
                     0.5 M                 = Min. pin depth               = 20. P
                                           = Max. pin projection          = 15

                                           H = 10.00 + 0.5 + 0.5(1 + 2(15/20))
                      B                    H=      __________
Fixed Fasteners
In applications where a projected tolerance zone is not indicated, it is
necessary to select a positional tolerance and minimum clearance hole size
combination that will allow for any out-of-squareness of the feature containing
the fastener. The modified fixed fastener formula shown below can be used to
calculate the appropriate minimum clearance hole size required to ensure
assembly. The formula provides a “zero-interference” fit when the features are
at MMC and at the extreme positional tolerance.

APPLIES WHEN A PROJECTED TOLERANCE ZONE IS NOT USED


        H                 F            H= F + T1 + T2 (1+(2P/D))
                                         H= Min. diameter of clearance hole
 P                    A                  F= Maximum diameter of pin
                                         T1= Positional tolerance (Part A)
                                         T2= Positional tolerance (Part B)
 D                    B                  D= Min. depth of pin (Part A)
                                         P= Maximum projection of pin


                                         remember: the size tolerance must be
     Calculate       2x   12 +/-0.25     added to the calculated MMC hole size to
     Nominal Size                        obtain the correct nominal value.
                           0.5 M


                                       H= F + T1 + T2 (1+(2P/D))
                     A                   F = Max. pin size                  = 10
                                         T1 = Positional tol. (A)          =   0.5
                2x   10.05 +/-0.05       T2 = Positional tol. (B)          =   0.5 D
                     0.5 M               = Min. pin depth                =    20 P
                                         = Max. pin projection          =     15

                                         H = 10 + 0.5 + 0.5(1 + 2(15/20))
                      B                  H=      11.75 Minimum

               REMEMBER!!! All Calculations Apply at MMC
Answers to Quizzes
  and Exercises
Rules and Definitions Quiz
                     Questions #1-12 True or False



 1.   Tight tolerances ensure high quality and performance.         FALSE

 2.   The use of GD&T improves productivity.                        TRUE

 3.   Size tolerances control both orientation and position.        FALSE

 4.   Unless otherwise specified size tolerances control form.      TRUE

 5.   A material modifier symbol is not required for RFS.           TRUE

 6.   A material modifier symbol is not required for MMC.           FALSE

 7.   Title block default tolerances apply to basic dimensions.     FALSE

 8.   A surface on a part is considered a feature.                  TRUE

 9.   Bilateral tolerances allow variation in two directions.       TRUE

10.   A free state modifier can only be applied to a tolerance.     FALSE

11.   A free state datum modifier applies to “assists” & “rests”.   TRUE

12.   Virtual condition applies regardless of feature size.         FALSE
Material Condition Quiz
                      Fill in blanks



Internal Features                MMC     LMC

    10.75 +0.25/-0              10.75    11
  23.45 +0.05/-0.25             23.2     23.5
    123. 5 +/-0.1              123.4     123.6
     .895                        .890    .895
     .890

External Features                MMC      LMC

   10.75 +0/-0.25               10.75     10.5
  23.45 +0.05/-0.25             23.5      23.2
   123. 5 +/-0.1                 123.6   123.4
     .890                        .890    .885
     .885


    Calculate appropriate values
Datum Quiz
                     Questions #1-12 True or False



 1.   Datum target areas are theoretically exact.         FALSE

 2.   Datum features are imaginary.                       FALSE

 3.   Primary datums have only three points of contact.   FALSE

 4.   The 6 Degrees of Freedom are U/D, F/A, & C/C.       FALSE

 5.   Datum simulators are part of the gage or tool.      TRUE

 6.   Datum simulators are used to represent datums.      TRUE

 7.   Datums are actual part features.                    FALSE

 8.   All datum features must be dimensionally stable.    TRUE

 9.   Datum planes constrain degrees of freedom.          TRUE

10.   Tertiary datums are not always required.            TRUE

11.   All tooling locators (CD’s) are used as datums.     FALSE

12.   Datums should represent functional features.        TRUE
Datum Quiz
       Questions #1-10 Fill in blanks (choose from below)

 1. The three planes that make up a basic datum reference
    frame are called primary, secondary, and tertiary.

 2. An unrestrained part will exhibit 3-linear and 3-rotational degrees
    of freedom.

 3. A planar primary datum plane will restrain 1-linear and 2-rotational
    degrees of freedom.

 4. The primary and secondary datum planes together will restrain five
    degrees of freedom.

 5. The primary, secondary and tertiary datum planes together will
    restrain all six degrees of freedom.

 6. The purpose of a datum reference frame is to restrain movement
    of a part in a gage or tool.

 7. A datum must be functional, repeatable, and coordinated.
 8. A datum feature is an actual feature on a part.
 9. A datum is a theoretically exact point, axis or plane.
10. A datum simulator is a precise surface used to establish a
    simulated datum.



   restrain movement five coordinated repeatable
   tertiary two 3-rotational primary 2-rotational
   three functional one datum simulator 1-linear
   datum feature datum secondary 3-linear      six
Form Control Quiz
         Questions #1-5 Fill in blanks (choose from below)

 1. The four form controls are straightness, flatness,
     circularity, and cylindricity.
 2. Rule #1 states that unless otherwise specified a feature of
    size must have perfect form at MMC.

 3. Straightness and circularity are individual line or circular
    element (2-D) controls.

 4. Flatness and cylindricity are surface (3-D) controls.
 5. Circularity can be applied to both straight and tapered cylindrical
     parts.



      straightness               cylindricity     angularity
        straight           flatness      tapered    profile
      perfect form               circularity     true position

                  Answer questions #6-10 True or False

 6. Form controls require a datum reference.                       FALSE

 7. Form controls do not directly control a feature’s size.        TRUE

 8. A feature’s form tolerance must be less than it’s size         TRUE
     tolerance.

 9. Flatness controls the orientation of a feature.                FALSE

10. Size limits implicitly control a feature’s form.               TRUE
Orientation Control Quiz
        Questions #1-5 Fill in blanks (choose from below)

 1. The three orientation controls are angularity, parallelism,
    and perpendicularity.

 2. A datum reference is always required when applying any of
    the orientation controls.

 3. Perpendicularity is the appropriate geometric tolerance when
    controlling the orientation of a feature at right angles to a datum
    reference.
 4. Mathematically all three orientation tolerances are identical.

 5. Orientation tolerances do not control the location of a feature.

    perpendicularity            datum target          datum reference
     datum feature                location               parallelism
       angularity                   identical              profile

               Answer questions #6-10 True or False
 6. Orientation tolerances indirectly control a feature’s form.           TRUE

 7. Orientation tolerance zones can be cylindrical.                       TRUE

 8. To apply a perpendicularity tolerance the desired angle               FALSE
    must be indicated as a basic dimension.

 9. Parallelism tolerances do not apply to features of size.              FALSE

10. To apply an angularity tolerance the desired angle must               TRUE
    be indicated as a basic dimension.
Runout Control Quiz
                Answer questions #1-12 True or False


 1. Total runout is a 2-dimensional    control.                  FALSE

 2. Runout tolerances are used on rotating parts.                TRUE

 3. Circular runout tolerances apply to single elements .        TRUE

 4. Total runout tolerances should be applied at MMC.            FALSE

 5. Runout tolerances can be applied to surfaces at right        TRUE
    angles to the datum reference.

 6. Circular runout tolerances are used to control an entire     FALSE
    feature surface.

 7. Runout tolerances always require a datum reference.          TRUE

 8. Circular runout and total runout both control axis to        TRUE
    surface relationships.

 9. Circular runout can be applied to control taper of a part.   FALSE

10. Total runout tolerances are an appropriate way to limit      TRUE
     “wobble” of a rotating surface.

11. Runout tolerances are used to control a feature’s size.      FALSE

12. Total runout can control circularity, straightness, taper,   TRUE
    coaxiality, angularity and any other surface variation.
Profile Control Quiz
       Questions #1-9 Fill in blanks (choose from below)

1. The two types of profile tolerances are profile of a line, and
   profile of a surface.
2. Profile tolerances can be used to control the location, form,
   orientation, and sometimes size of a feature.

3. Profile tolerances can be applied bilateral or unilateral.
4. Profile of a line tolerances are 2-dimensional controls.
5. Profile of a surface tolerances are 3-dimensional controls.
6. Composite Profile can be used when different tolerances are
   required for location and form and/or orientation.

7. When using profile tolerances to control the location and/or orientation of
   a feature, a datum reference must be included in the feature control
   frame.

8. When using profile tolerances to control form only, a datum
   reference is not required in the feature control frame.

9. In composite profile applications, the tolerance shown in the upper
   segment of the feature control frame applies only to the location of the
   feature.


   composite profile      bilateral   virtual condition
   profile of a surface   primary datum orientation
   datum reference       unilateral    profile of a line
   location      true geometric counterpart        form
Profile Control
         Quiz
           Answer questions #1-13 True or False

  1. Profile tolerances always require a datum reference.       FALSE

   2.
Profile of a surface tolerance is a 2-dimensional control.      FALSE

   3.
Profile of a surface tolerance should be used to control        TRUE
trim edges on sheet metal parts.
   4. Profile of a line tolerances should be applied at         FALSE
      MMC.
  5.
Profile tolerances can be applied to features of size.          TRUE

   6.
Profile tolerances can be combined with other geometric         TRUE
controls such as flatness to control a feature.

  7.
Profile of a line tolerances apply to an entire surface.        FALSE

  8.
Profile of a line controls apply to individual line elements.   TRUE

  9.
Profile tolerances only control the location of a surface.      FALSE

 10.
Composite profile controls should be avoided because            FALSE
they are more restrictive and very difficult to check.

 11.
Profile tolerances can be applied either bilateral or           TRUE
unilateral to a feature.

 12.
Profile tolerances can be applied in both freestate and         TRUE
restrained datum conditions.

 13. Tolerances shown in the lower segment of a composite FALSE
      profile feature control frame control the location of a
      feature to the specified datums.
True Position Quiz
           Answer questions #1-11 True or False


   1. Positional tolerances are applied to individual or    TRUE
      patterns
      of features of size.
   2.
Cylindrical tolerance zones more closely represent the      TRUE
functional requirements of a pattern of clearance holes.

   3.
True position tolerance values are used to calculate the    TRUE
minimum size of a feature required for assembly.
   4. True position tolerances can control a feature’s      FALSE
      size.
  5.
 Positional tolerances are applied on an MMC, LMC, or       TRUE
 RFS basis.
  6.
Composite true position tolerances should be avoided        FALSE
because it is overly restrictive and difficult to check.

   7.
Composite true position tolerances can only be applied      TRUE
to patterns of related features.

   8.
The tolerance value shown in the upper segment of a         TRUE
composite true position feature control frame applies
to the location of a pattern of features to the specified
datums.

   9.
The tolerance value shown in the lower segment of a         FALSE
composite true position feature control frame applies
to the location of a pattern of features to the specified
datums.
 10.
Positional tolerances can be used to control circularity    FALSE
 11.
True position tolerances can be used to control center      TRUE
distance relationships between features of size.
True Position Quiz
       Questions #1-9 Fill in blanks (choose from below)
1. Positional tolerance zones can be rectangular, cylindrical,
  or spherical

2. Basic dimensions are used to establish the true (theoretically
  exact) position of a feature from specified datums.

3. Positional tolerancing is a 3-dimensional control.
4. Positional tolerance can apply to the axis or surface boundary
   of a feature.

5. Fixed and floating fastener equations are used to determine
   appropriate clearance hole sizes for mating details

6. Projected tolerance zones are recommended to prevent fastener
   interference in mating details.

7. The tolerance shown in the upper segment of a composite true
  position feature control frame is called the pattern-locating
  tolerance zone.

8. The tolerance shown in the lower segment of a composite true
  position feature control frame is called the feature-relating
  tolerance zone.

9. Functional gaging principles can be applied when maximum
  material condition is specified

  surface boundary     floating   feature-relating
  pattern-locating    rectangular        cylindrical
  3-dimensional    basic dimensions      projected
  location     maximum material     axis       fixed
E
N
D
Notes
Notes
Notes
Extreme Variations of Form
Allowed By Size Tolerance
          25.1              25
          25                24.9




            25.1              25
   25     (LMC)      24.9   (MMC)
 (MMC)             (LMC)


            25.1              24.9
          (LMC)             (LMC)


           MMC Perfect
          Form Boundary
   25                         25
 (MMC)                      (MMC)




            25.1     24.9
          (LMC)    (LMC)
Virtual and
  Resultant
  Condition
 Boundaries
  Internal and External
Features (MMC Concept)
Virtual Condition Boundary
                 Internal Feature (MMC Concept)

                                                 14 +/- 0.5
                                                   1M A B C

                                                                                 A
 C
                                                      XX.X




                XX.X
B
                                               As Shown on Drawing
     Virtual Condition
                                                                 1 Positional
     Inner Boundary

(                        )
                                                             Tolerance Zone at
    Maximum Inscribed
                                                                   MMC
         Diameter


                                                                  True (Basic)
                                                                 Position of Hole


                                                                  Other Possible
                                                                 Extreme Locations

    Boundary of MMC Hole                 True (Basic)
                                        Position of Hole         Axis Location of
    Shown at Extreme Limit
                                                                 MMC Hole Shown
                                                                 at Extreme Limit


                             Calculating Virtual Condition
                       13.5     MMC Size of Feature
                        1       Applicable Geometric Tolerance
                       12.5     Virtual Condition Boundary
Resultant Condition Boundary
                   Internal Feature (MMC Concept)

                                                   14 +/- 0.5
                                                     1M A B C

                                                                                 A
      C
                                                        XX.X




                  XX.X
     B
                                                 As Shown on Drawing

       Resultant Condition                                             2 Positional
         Outer Boundary                                            Tolerance Zone at

 (   Minimum Circumscribed
            Diameter            )                                        LMC


                                                                       True (Basic)
                                                                      Position of Hole


                                                                       Other Possible
                                                                      Extreme Locations

          Boundary of LMC Hole                  True (Basic)
                                               Position of Hole        Axis Location of
          Shown at Extreme Limit
                                                                       LMC Hole Shown
                                                                       at Extreme Limit


                Calculating Resultant Condition (Internal Feature)
                         14.5       LMC Size of Feature
                          2         Geometric Tolerance (at LMC)
                         16.5       Resultant Condition Boundary
Virtual Condition Boundary
                    External Feature (MMC Concept)

                                                 14 +/- 0.5
                                                   1M A B C

                                                                                  A
      C
                                                     XX.XX




                   XX.X
      B
                                               As Shown on Drawing

       Virtual Condition                                          1 Positional
        Outer Boundary                                        Tolerance Zone at

(   Minimum Circumscribed
           Diameter         )                                       MMC


                                                                     True (Basic)
                                                                  Position of Feature


                                                                    Other Possible
                                                                   Extreme Locations

     Boundary of MMC Feature              True (Basic)
                                       Position of Feature          Axis Location of
     Shown at Extreme Limit
                                                                    MMC Feature Shown
                                                                    at Extreme Limit


                             Calculating Virtual Condition
                          14.5   MMC Size of Feature
                           1     Applicable Geometric Tolerance
                          15.5   Virtual Condition Boundary
Resultant Condition Boundary
                      External Feature (MMC Concept)

                                                     14 +/- 0.5
                                                       1M A B C

                                                                                      A
       C
                                                         XX.X




                     XX.X
      B
                                                  As Shown on Drawing
    Resultant Condition                                             2 Positional
     Inner Boundary                                             Tolerance Zone at
(   Maximum Inscribed
        Diameter          )                                           LMC


                                                                       True (Basic)
                                                                    Position of Feature


                                                                      Other Possible
                                                                     Extreme Locations

    Boundary of LMC feature                 True (Basic)
                                         Position of Feature          Axis Location of
    Shown at Extreme Limit
                                                                      LMC Feature Shown
                                                                      at Extreme Limit


                   Calculating Resultant Condition (External Feature)
                              13.5   LMC Size of Feature
                               2     Geometric Tolerance (at LMC)
                              11.5   Resultant Condition Boundary

Gd&T Presentation1111

  • 1.
    DIMENSIONAL ENGINEERING Basedon the ASME Y14.5M- 1994 Dimensioning and Tolerancing Standard
  • 2.
    Tolerances of Form Straightness Flatness (ASME Y14.5M-1994, 6.4.1) (ASME Y14.5M-1994, 6.4.2) Circularity Cylindricity (ASME Y14.5M-1994, 6.4.3) (ASME Y14.5M-1994, 6.4.4)
  • 3.
    Extreme Variations ofForm Allowed By Size Tolerance 25.1 25 25.1 25 (LMC) (MMC) 25.1 (LMC) MMC Perfect Form Boundary 25 (MMC) 25.1 (LMC) Internal Feature of Size
  • 4.
    Extreme Variations ofForm Allowed By Size Tolerance 25 24.9 25 24.9 (MMC) (LMC) 24.9 (LMC) MMC Perfect Form Boundary 25 (MMC) 24.9 (LMC) External Feature of Size
  • 5.
    Straightness (Flat Surfaces) 0.5 0.1 25 +/-0.25 0.1 Tolerance 0.5 Tolerance Straightness is the condition where an element of a surface or an axis is a straight line
  • 6.
    Straightness (Flat Surfaces) 0.5 Tolerance Zone 25.25 max 24.75 min 0.1 Tolerance Zone In this example each line element of the surface must lie within a tolerance zone defined by two parallel lines separated by the specified tolerance value applied to each view. All points on the surface must lie within the limits of size and the applicable straightness limit. The straightness tolerance is applied in the view where the elements to be controlled are represented by a straight line
  • 7.
    Straightness (Surface Elements) 0.1 0.1 Tolerance Zone MMC 0.1 Tolerance Zone MMC 0.1 Tolerance Zone MMC In this example each longitudinal element of the surface must lie within a tolerance zone defined by two parallel lines separated by the specified tolerance value. The feature must be within the limits of size and the boundary of perfect form at MMC. Any barreling or waisting of the feature must not exceed the size limits of the feature.
  • 8.
    Straightness (RFS) 0.1 0.1 Diameter Tolerance Zone MMC Outer Boundary (Max) Outer Boundary = Actual Feature Size + Straightness Tolerance In this example the derived median line of the feature’s actual local size must lie within a tolerance zone defined by a cylinder whose diameter is equal to the specified tolerance value regardless of the feature size. Each circular element of the feature must be within the specified limits of size. However, the boundary of perfect form at MMC can be violated up to the maximum outer boundary or virtual condition diameter.
  • 9.
    Straightness (MMC) 15 14.85 0.1 M 0.1 Diameter 15 Tolerance Zone (MMC) 15.1 Virtual Condition 14.85 0.25 Diameter (LMC) Tolerance Zone 15.1 Virtual Condition Virtual Condition = MMC Feature Size + Straightness Tolerance In this example the derived median line of the feature’s actual local size must lie within a tolerance zone defined by a cylinder whose diameter is equal to the specified tolerance value at MMC. As each circular element of the feature departs from MMC, the diameter of the tolerance cylinder is allowed to increase by an amount equal to the departure from the local MMC size. Each circular element of the feature must be within the specified limits of size. However, the boundary of perfect form at MMC can be violated up to the virtual condition diameter.
  • 10.
    Flatness 0.1 25 +/-0.25 0.1 Tolerance Zone 0.1 Tolerance Zone 25.25 max 24.75 min In this example the entire surface must lie within a tolerance zone defined by two parallel planes separated by the specified tolerance value. All points on the surface must lie within the limits of size and the flatness limit. Flatness is the condition of a surface having all elements in one plane. Flatness must fall within the limits of size. The flatness tolerance must be less than the size tolerance.
  • 11.
    Circularity (Roundness) 0.1 90 0.1 90 0.1 Wide Tolerance Zone In this example each circular element of the surface must lie within a tolerance zone defined by two concentric circles separated by the specified tolerance value. All points on the surface must lie within the limits of size and the circularity limit. Circularity is the condition of a surface where all points of the surface intersected by any plane perpendicular to a common axis are equidistant from that axis. The circularity tolerance must be less than the size tolerance
  • 12.
    Cylindricity 0.1 0.1 Tolerance Zone MMC In this example the entire surface must lie within a tolerance zone defined by two concentric cylinders separated by the specified tolerance value. All points on the surface must lie within the limits of size and the cylindricity limit. Cylindricity is the condition of a surface of revolution in which all points are equidistant from a common axis. Cylindricity is a composite control of form which includes circularity (roundness), straightness, and taper of a cylindrical feature.
  • 13.
    Form Control Quiz Questions #1-5 Fill in blanks (choose from below) 1. The four form controls are ____________, ________, ___________, and ____________. 2. Rule #1 states that unless otherwise specified a feature of size must have ____________at MMC. 3. ____________ and ___________ are individual line or circular element (2-D) controls. 4. ________ and ____________are surface (3-D) controls. 5. Circularity can be applied to both ________and _______ cylindrical parts. straightness cylindricity angularity straight flatness tapered profile perfect form circularity true position Answer questions #6-10 True or False 6. Form controls require a datum reference. 7. Form controls do not directly control a feature’s size. 8. A feature’s form tolerance must be less than it’s size tolerance. 9. Flatness controls the orientation of a feature. 10. Size limits implicitly control a feature’s form.
  • 14.
    Tolerances of Orientation Angularity (ASME Y14.5M-1994 ,6.6.2) Perpendicularity (ASME Y14.5M-1994 ,6.6.4) Parallelism (ASME Y14.5M-1994 ,6.6.3)
  • 15.
    Angularity (Feature Surface toDatum Surface) 20 +/-0.5 0.3 A o 30 A 19.5 min 20.5 max o o 30 30 0.3 Wide 0.3 Wide A Tolerance A Tolerance Zone Zone The tolerance zone in this example is defined by two parallel planes oriented at the specified angle to the datum reference plane. Angularity is the condition of the planar feature surface at a specified angle (other than 90 degrees) to the datum reference plane, within the specified tolerance zone.
  • 16.
    Angularity (Feature Axis to Datum Surface) NOTE: Tolerance applies to feature at RFS 0.3 A 0.3 Circular 0.3 Circular Tolerance Zone Tolerance Zone o 60 A A The tolerance zone in this example is defined by a cylinder equal to the length of the feature, oriented at the specified angle to the datum reference plane. Angularity is the condition of the feature axis at a specified angle (other than 90 degrees) to the datum reference plane, within the specified tolerance zone.
  • 17.
    Angularity (Feature Axis to Datum Axis) NOTE: Feature axis must lie within tolerance zone cylinder 0.3 A NOTE: Tolerance applies to feature at RFS A 0.3 Circular 0.3 Circular Tolerance Zone Tolerance Zone 45 o Datum Axis A The tolerance zone in this example is defined by a cylinder equal to the length of the feature, oriented at the specified angle to the datum reference axis. Angularity is the condition of the feature axis at a specified angle (other than 90 degrees) to the datum reference axis, within the specified tolerance zone.
  • 18.
    Perpendicularity (Feature Surface toDatum Surface) 0.3 A A 0.3 Wide 0.3 Wide Tolerance Zone Tolerance Zone The tolerance zone in this example is A defined by two parallel planes oriented A perpendicular to the datum reference plane. Perpendicularity is the condition of the planar feature surface at a right angle to the datum reference plane, within the specified tolerance zone.
  • 19.
    Perpendicularity (Feature Axisto Datum Surface) 0.3 Diameter Tolerance Zone NOTE: Tolerance applies to feature at RFS C 0.3 Circular Tolerance Zone 0.3 Circular Tolerance Zone 0.3 C The tolerance zone in this example is defined by a cylinder equal to the length of the feature, oriented perpendicular to the datum reference plane. Perpendicularity is the condition of the feature axis at a right angle to the datum reference plane, within the specified tolerance zone.
  • 20.
    Perpendicularity (Feature Axis to Datum Axis) NOTE: Tolerance applies to feature at RFS 0.3 A A 0.3 Wide Tolerance Zone Datum Axis A The tolerance zone in this example is defined by two parallel planes oriented perpendicular to the datum reference axis. Perpendicularity is the condition of the feature axis at a right angle to the datum reference axis, within the specified tolerance zone.
  • 21.
    Parallelism (Feature Surface to Datum Surface) 0.3 A 25 +/-0.5 A 0.3 Wide Tolerance Zone 0.3 Wide Tolerance Zone 25.5 max 24.5 min A The tolerance zone in this example A is defined by two parallel planes oriented parallel to the datum reference plane. Parallelism is the condition of the planar feature surface equidistant at all points from the datum reference plane, within the specified tolerance zone.
  • 22.
    Parallelism (FeatureAxis to Datum Surface) NOTE: The specified tolerance does not apply to the orientation of the feature axis in this direction NOTE: Tolerance applies to feature at RFS 0.3 Wide Tolerance Zone 0.3 A A The tolerance zone in this example A is defined by two parallel planes oriented parallel to the datum reference plane. Parallelism is the condition of the feature axis equidistant along its length from the datum reference plane, within the specified tolerance zone.
  • 23.
    Parallelism (Feature Axis to Datum Surfaces) 0.3 Circular Tolerance Zone B NOTE: Tolerance applies to feature at RFS 0.3 Circular Tolerance Zone 0.3 Circular Tolerance Zone 0.3 A B B The tolerance zone in this example is A defined by a cylinder equal to the A length of the feature, oriented parallel to the datum reference planes. Parallelism is the condition of the feature axis equidistant along its length from the two datum reference planes, within the specified tolerance zone.
  • 24.
    Parallelism (Feature Axis to Datum Axis) The tolerance zone in this example is defined by a cylinder equal to the length of the feature, oriented parallel to the datum reference axis. NOTE: Tolerance applies to feature at RFS 0.1 Circular Tolerance Zone 0.1 A A 0.1 Circular Datum Axis A Tolerance Zone Parallelism is the condition of the feature axis equidistant along its length from the datum reference axis, within the specified tolerance zone.
  • 25.
    Orientation Control Quiz Questions #1-5 Fill in blanks (choose from below) 1. The three orientation controls are __________, ___________, and ________________. 2. A _______________ is always required when applying any of the orientation controls. 3. ________________ is the appropriate geometric tolerance when controlling the orientation of a feature at right angles to a datum reference. 4. Mathematically all three orientation tolerances are _________. 5. Orientation tolerances do not control the ________ of a feature. perpendicularity datum target datum reference datum feature location parallelism angularity identical profile Answer questions #6-10 True or False 6. Orientation tolerances indirectly control a feature’s form. 7. Orientation tolerance zones can be cylindrical. 8. To apply a perpendicularity tolerance the desired angle must be indicated as a basic dimension. 9. Parallelism tolerances do not apply to features of size. 10. To apply an angularity tolerance the desired angle must be indicated as a basic dimension.
  • 26.
    Tolerances of Runout Circular Runout (ASME Y14.5M-1994, 6.7.1.2.1) Total Runout (ASME Y14.5M-1994 ,6.7.1.2.2)
  • 27.
    Features Applicable to Runout Tolerancing Internal surfaces constructed around a datum axis External surfaces constructed around a datum axis Angled surfaces constructed around a datum axis Datum axis (established from datum feature Surfaces constructed perpendicular to a datum axis Datum feature
  • 28.
    Circular Runout Total Circular runout can only be applied on an Tolerance RFS basis and cannot be modified to MMC or LMC. Maximum Minimum Full Indicator Movement Maximum Minimum Reading Reading Measuring position #1 (circular element #1) - 0 + Full Part Rotation Measuring position #2 (circular element #2) When measuring circular runout, the indicator must be reset to zero at each measuring position along the feature surface. Each individual circular element of the surface is independently allowed the full specified tolerance. In this example, circular runout can be used to detect 2- dimensional wobble (orientation) and waviness (form), but not 3-dimensional characteristics such as surface profile (overall form) or surface wobble (overall orientation).
  • 29.
    Circular Runout (Angled Surface to Datum Axis) 0.75 A A 50 +/-0.25 o o 50 +/- 2 As Shown on Drawing Means This: The tolerance zone for any individual circular element is equal to the total allowable movement of a dial indicator fixed in a position normal to the Allowable indicator true geometric shape of the feature surface when reading = 0.75 max. the part is rotated 360 degrees about the datum ( Full Indicator Movement ) axis. The tolerance limit is applied independently to each individual measuring position along the - 0 + feature surface. Collet or Chuck When measuring circular runout, the indicator must be reset when repositioned Datum axis A along the feature surface. 360 o Part Rotation NOTE: Circular runout in this example only controls the 2-dimensional circular elements Single circular (circularity and coaxiality) of the angled feature element surface not the entire angled feature surface
  • 30.
    Circular Runout (Surface Perpendicular to Datum Axis) 0.75 A A 50 +/-0.25 As Shown on Drawing Means This: The tolerance zone for any individual circular element is equal to the total allowable movement of a dial indicator fixed in a position normal to the true geometric shape of the feature surface when the part is rotated 360 degrees about the datum axis. The tolerance limit is applied independently to each individual measuring position along the Single circular feature surface. element - 0 + When measuring circular runout, the indicator must be reset when repositioned along the feature surface. 360 o Part Allowable indicator reading = 0.75 max. Rotation Datum axis A NOTE: Circular runout in this example will only control variation in the 2-dimensional circular elements of the planar surface (wobble and waviness) not the entire feature surface
  • 31.
    Circular Runout (Surface Coaxial to Datum Axis) 0.75 A A 50 +/-0.25 As Shown on Drawing The tolerance zone for any individual circular element is equal Means This: to the total allowable movement of a dial indicator fixed in a position normal to the true geometric shape of the feature surface when the part is rotated 360 degrees about the datum axis. The tolerance limit is applied independently to each individual measuring position along the feature surface. - 0 + When measuring circular runout, Allowable indicator the indicator must be reset when reading = 0.75 max. repositioned along the feature surface. Single circular element 360 o Part Datum axis A Rotation NOTE: Circular runout in this example will only control variation in the 2-dimensional circular elements of the surface (circularity and coaxiality) not the entire feature surface
  • 32.
    Circular Runout (Surface Coaxial to Datum Axis) 0.75 A-B A B As Shown on Drawing The tolerance zone for any individual circular element is equal Means This: to the total allowable movement of a dial indicator fixed in a position normal to the true geometric shape of the feature surface when the part is rotated 360 degrees about the datum axis. The tolerance limit is applied independently to each individual measuring position along the feature surface. - 0 + When measuring circular runout, Allowable indicator the indicator must be reset when reading = 0.75 max. repositioned along the feature surface. Machine center Single circular element Datum axis A-B Machine center 360 o Part NOTE: Circular runout in this example will Rotation only control variation in the 2-dimensional circular elements of the surface (circularity and coaxiality) not the entire feature surface
  • 33.
    Circular Runout (Surface Relatedto Datum Surface and Axis) A B 0.75 A B 50 +/-0.25 As Shown on Drawing The tolerance zone for any individual circular element is Means This: equal to the total allowable movement of a dial indicator fixed in a position normal to the true geometric shape of the feature surface when the part is located against the datum surface and rotated 360 degrees about the datum axis. The tolerance limit is applied independently to each individual measuring position along the feature surface. Single circular element Allowable indicator reading = 0.75 max. Stop collar 360 o Part - 0 + Collet or Chuck Rotation Datum axis B When measuring circular runout, the indicator must be reset when repositioned along the feature surface. Datum plane A
  • 34.
    Total Runout Total Total runout can only be applied on an Tolerance RFS basis and cannot be modified to MMC or LMC. Maximum Minimum Full Indicator Movement Maximum Minimum Reading Reading + 0 - Indicator Full Part Path Rotation - 0 + When measuring total runout, the indicator is moved in a straight line along the feature surface while the part is rotated about the datum axis. It is also acceptable to measure total runout by evaluating an appropriate number of individual circular elements along the surface while the part is rotated about the datum axis. Because the tolerance value is applied to the entire surface, the indicator must not be reset to zero when moved to each measuring position. In this example, total runout can be used to measure surface profile (overall form) and surface wobble (overall orientation).
  • 35.
    Total Runout (Angled Surface to Datum Axis) 0.75 A A 50 +/-0.25 o o 50 +/- 2 As Shown on Drawing Means This: The tolerance zone for the entire angled surface is equal to the total allowable movement of a dial indicator positioned normal to the true geometric When measuring total runout, the indicator must not be reset when shape of the feature surface when the part is repositioned along the feature rotated about the datum axis and the indicator is surface. moved along the entire length of the feature - 0 + surface. Allowable indicator reading = 0.75 max. - 0 + (applies to the entire feature surface) Collet or Chuck Full Part Datum axis A Rotation NOTE: Unlike circular runout, the use of total runout will provide 3-dimensional composite control of the cumulative variations of circularity, coaxiality, angularity, taper and profile of the angled surface
  • 36.
    Total Runout (Surface Perpendicular to Datum Axis) 0.75 A 10 35 50 +/-0.25 A As Shown on Drawing Means This: The tolerance zone for the portion of the feature surface indicated is equal to the total allowable movement of a dial indicator positioned normal to the true geometric shape of the feature surface when the part is rotated about the datum axis and the indicator is moved along the portion of the feature surface within the area described by the basic dimensions. - 0 + When measuring total runout, the indicator 10 - 0 + must not be reset when repositioned along the feature surface. 35 Allowable indicator reading = 0.75 max. (applies to portion of feature surface indicated) Full Part Rotation Datum axis A NOTE: The use of total runout in this example will provide composite control of the cumulative variations of perpendicularity (wobble) and flatness (concavity or convexity) of the feature surface.
  • 37.
    Runout Control Quiz Answer questions #1-12 True or False 1. Total runout is a 2-dimensional control. 2. Runout tolerances are used on rotating parts. 3. Circular runout tolerances apply to single elements . 4. Total runout tolerances should be applied at MMC. 5. Runout tolerances can be applied to surfaces at right angles to the datum reference. 6. Circular runout tolerances are used to control an entire feature surface. 7. Runout tolerances always require a datum reference. 8. Circular runout and total runout both control axis to surface relationships. 9. Circular runout can be applied to control taper of a part. 10. Total runout tolerances are an appropriate way to limit “wobble” of a rotating surface. 11. Runout tolerances are used to control a feature’s size. 12. Total runout can control circularity, straightness, taper, coaxiality, angularity and any other surface variation.
  • 38.
    Tolerances of Profile Profile of a (ASME Line Y14.5M-1994, 6.5.2b) Profile of a Surface (ASME Y14.5M-1994, 6.5.2a)
  • 39.
    Profile of aLine 20 X 20 A1 B 20 X 20 A3 20 X 20 A2 C 1 A B C 17 +/- 1 A 1 Wide Profile 2 Wide Size Tolerance Zone Tolerance Zone 18 Max 16 Min. The profile tolerance zone in this example is defined by two parallel lines oriented with respect to the datum reference frame. The profile tolerance zone is free to float within the larger size tolerance and applies only to the form and orientation of any individual line element along the entire surface. Profile of a Line is a two-dimensional tolerance that can be applied to a part feature in situations where the control of the entire feature surface as a single entity is not required or desired. The tolerance applies to the line element of the surface at each individual cross section indicated on the drawing.
  • 40.
    Profile of aSurface 20 X 20 A1 B 20 X 20 A3 20 X 20 A2 C 2 A B C 23.5 A 2 Wide Tolerance Zone Size, Form and Orientation Nominal 23.5 Location The profile tolerance zone in this example is defined by two parallel planes oriented with respect to the datum reference frame. The profile tolerance zone is located and aligned in a way that enables the part surface to vary equally about the true profile of the feature. Profile of a Surface is a three-dimensional tolerance that can be applied to a part feature in situations where the control of the entire feature surface as a single entity is desired. The tolerance applies to the entire surface and can be used to control size, location, form and/or orientation of a feature surface.
  • 41.
    Profile of aSurface (Bilateral Tolerance) 20 X 20 A1 B 20 X 20 A3 20 X 20 A2 1 A B C C 50 1 Wide Total B Tolerance Zone 0.5 Inboard 0.5 Outboard C 50 Nominal Location The tolerance zone in this example is defined by two parallel planes oriented with respect to the datum reference frame. The profile tolerance zone is located and aligned in a way that enables the part surface to vary equally about the true profile of the trim. Profile of a Surface when applied to trim edges of sheet metal parts will control the location, form and orientation of the entire trimmed surface. When a bilateral value is specified, the tolerance zone allows the trim edge variation and/or locational error to be on both sides of the true profile. The tolerance applies to the entire edge surface.
  • 42.
    Profile of aSurface (Unilateral Tolerance) 20 X 20 A1 B 20 X 20 A3 20 X 20 A2 0.5 A B C C 50 0.5 Wide Total B Tolerance Zone C 50 Nominal Location The tolerance zone in this example is defined by two parallel planes oriented with respect to the datum reference frame. The profile tolerance zone is located and aligned in a way that allows the trim surface to vary from the true profile only in the inboard direction. Profile of a Surface when applied to trim edges of sheet metal parts will control the location, form and orientation of the entire trimmed surface. When a unilateral value is specified, the tolerance zone limits the trim edge variation and/or locational error to one side of the true profile. The tolerance applies to the entire edge surface.
  • 43.
    Profile of aSurface (Unequal Bilateral Tolerance) 20 X 20 A1 B 20 X 20 A3 20 X 20 A2 0.5 1.2 A B C C 50 1.2 Wide Total B Tolerance Zone 0.5 Inboard 0.7 Outboard C 50 Nominal Location The tolerance zone in this example is defined by two parallel planes oriented with respect to the datum reference frame. The profile tolerance zone is located and aligned in a way that enables the part surface to vary from the true profile more in one direction (outboard) than in the other (inboard). Profile of a Surface when applied to trim edges of sheet metal parts will control the location, form and orientation of the entire trimmed surface. Typically when unequal values are specified, the tolerance zone will represent the actual measured trim edge variation and/or locational error. The tolerance applies to the entire edge surface.
  • 44.
    Profile of aSurface Location & 0.5 A Orientation 0.1 Form Only 25 A 0.1 Wide Tolerance Zone 25.25 24.75 A Composite Profile of Two Coplanar Surfaces w/o Orientation Refinement
  • 45.
    Profile of aSurface 0.5 A Location 0.1 A Form & Orientation 25 A 0.1 Wide Tolerance Zone 25.25 A 0.1 Wide Tolerance Zone 24.75 A Composite Profile of Two Coplanar Surfaces With Orientation Refinement
  • 46.
    Profile Control Quiz Answer questions #1-13 True or False 1. Profile tolerances always require a datum reference. 2. Profile of a surface tolerance is a 2-dimensional control. 3. Profile of a surface tolerance should be used to control trim edges on sheet metal parts. 4. Profile of a line tolerances should be applied at MMC. 5. Profile tolerances can be applied to features of size. 6. Profile tolerances can be combined with other geometric controls such as flatness to control a feature. 7. Profile of a line tolerances apply to an entire surface. 8. Profile of a line controls apply to individual line elements. 9. Profile tolerances only control the location of a surface. 10. Composite profile controls should be avoided because they are more restrictive and very difficult to check. 11. Profile tolerances can be applied either bilateral or unilateral to a feature. 12. Profile tolerances can be applied in both freestate and restrained datum conditions. 13. Tolerances shown in the lower segment of a composite profile feature control frame control the location of a feature to the specified datums.
  • 47.
    Profile Control Quiz Questions #1-9 Fill in blanks (choose from below) 1. The two types of profile tolerances are _________________, and ____________________. 2. Profile tolerances can be used to control the ________, ____, ___________ , and sometimes size of a feature. 3. Profile tolerances can be applied _________ or __________. 4. _________________ tolerances are 2-dimensional controls. 5. ____________________ tolerances are 3-dimensional controls. 6. _________________ can be used when different tolerances are required for location and form and/or orientation. 7. When using profile tolerances to control the location and/or orientation of a feature, a _______________ must be included in the feature control frame. 8. When using profile tolerances to control form only, a ______ __________ is not required in the feature control frame. 9. In composite profile applications, the tolerance shown in the upper segment of the feature control frame applies only to the ________ of the feature. composite profile bilateral virtual condition profile of a surface primary datum orientation datum reference unilateral profile of a line location true geometric counterpart form
  • 48.
    Tolerances of Location True Position (ASME Y14.5M-1994, 5.2) Concentricity (ASME Y14.5M-1994, 5.12) Symmetry (ASME Y14.5M-1994, 5.13)
  • 49.
  • 50.
    Coordinate vs Geometric Tolerancing Methods 8.5 +/- 0.1 1.4 A B C 8.5 +/- 0.1 Rectangular Circular Tolerance Tolerance Zone Zone 10.25 +/- 0.5 10.25 B 10.25 +/- 0.5 10.25 C A Coordinate Dimensioning Geometric Dimensioning +/- 0.5 1.4 +/- 0.5 Rectangular Tolerance Zone Circular Tolerance Zone Circular Tolerance Zone 57% Larger Tolerance Zone Rectangular Tolerance Zone Increased Effective Tolerance
  • 51.
    Positional Tolerance Verification (Applies when a circular tolerance is indicated) X Z Feature axis actual location (measured) Positional tolerance zone Y cylinder Actual feature Feature axis true boundary position (designed) Formula to determine the actual radial position of a feature using measured coordinate values (RFS) Z= X2 + Y2 Z positional tolerance /2 Z = total radial deviation X2 = “X” measured deviation Y2 = “Y” measured deviation
  • 52.
    Positional Tolerance Verification (Applies when a circular tolerance is indicated) X Z Feature axis actual location (measured) Positional tolerance zone Y cylinder Actual feature Feature axis true boundary position (designed) Formula to determine the actual radial position of a feature using measured coordinate values (MMC) Z = X2 + Y2 Z +( actual - MMC) 2 = positional tolerance Z = total radial deviation X2 = “X” measured deviation Y2 = “Y” measured deviation
  • 53.
    Bi-directional True Position Rectangular Coordinate Method 2X 1.5 A B C 2X 0.5 A B C C A 10 B As Shown 10 35 on Drawing 2X 6 +/-0.25 Means This: True Position Related 1.5 Wide to Datum Reference Frame Tolerance Zone C 10 B 10 35 0.5 Wide Tolerance Zone Each axis must lie within the 1.5 X 0.5 rectangular tolerance zone basically located to the datum reference frame
  • 54.
    Bi-directional True Position Multiple Single-Segment Method 2X 6 +/-0.25 1.5 A B C 0.5 A B C A 10 B As Shown 10 35 on Drawing Means This: True Position Related 1.5 Wide to Datum Reference Frame Tolerance Zone C 10 B 10 35 0.5 Wide Tolerance Zone Each axis must lie within the 1.5 X 0.5 rectangular tolerance zone basically located to the datum reference frame
  • 55.
    Bi-directional True Position NoncylndricalFeatures (Boundary Concept) 2X 13 +/-0.25 2X 6 +/-0.25 1.5 M A B C 0.5 M A B C BOUNDARY BOUNDARY C A 10 B As Shown 10 35 on Drawing 5.75 MMC length of slot Means This: -0.50 Position tolerance Both holes must be within the size limits and no 5.25 maximum boundary portion of their surfaces may lie within the area described by the 11.25 x 5.25 maximum boundaries when the part is positioned with 12.75 MMC width of slot respect to the datum reference frame. The -1.50 Position tolerance boundary concept can only be applied on an 11.25 Maximum boundary MMC basis. True position boundary related to datum reference frame C 90 o 10 A 10 35 B
  • 56.
    Composite True Position Without Pattern Orientation Control 2X 6 +/-0.25 1.5 A B C 0.5 A C A 10 B As Shown 10 35 on Drawing Means This: 1.5 Pattern-Locating 0.5 Feature-Relating Tolerance Zone Cylinder Tolerance Zone Cylinder pattern location relative pattern orientation relative to to Datums A, B, and C Datum A only (perpendicularity) C 10 True Position Related B to Datum Reference 10 35 Frame Each axis must lie within each tolerance zone simultaneously
  • 57.
    Composite True Position With Pattern Orientation Control 2X 6 +/-0.25 1.5 A B C 0.5 A B C A 10 B As Shown 10 35 on Drawing Means This: 1.5 Pattern-Locating True Position Related Tolerance Zone Cylinder pattern location relative to Datum Reference to Datums A, B, and C Frame C 10 B 0.5 Feature-Relating Tolerance Zone Cylinder 10 35 pattern orientation relative to Datums A and B Each axis must lie within each tolerance zone simultaneously
  • 58.
    Location (Concentricity) Datum Features at RFS 6.35 +/- 0.05 0.5 A A 15.95 15.90 As Shown on Drawing Means This: Axis of Datum 0.5 Coaxial Feature A Tolerance Zone Derived Median Points of Diametrically Opposed Elements Within the limits of size and regardless of feature size, all median points of diametrically opposed elements must lie within a 0.5 cylindrical tolerance zone. The axis of the tolerance zone coincides with the axis of datum feature A. Concentricity can only be applied on an RFS basis.
  • 59.
    Location (Symmetry) Datum Features at RFS 6.35 +/- 0.05 0.5 A A 15.95 15.90 As Shown on Drawing Means This: Center Plane of 0.5 Wide Datum Feature A Tolerance Zone Derived Median Points Within the limits of size and regardless of feature size, all median points of opposed elements must lie between two parallel planes equally disposed about datum plane A, 0.5 apart. Symmetry can only be applied on an RFS basis.
  • 60.
    True Position Quiz Answer questions #1-11 True or False 1. Positional tolerances are applied to individual or patterns of features of size. 2. Cylindrical tolerance zones more closely represent the functional requirements of a pattern of clearance holes. 3. True position tolerance values are used to calculate the minimum size of a feature required for assembly. 4. True position tolerances can control a feature’s size. 5. Positional tolerances are applied on an MMC, LMC, or RFS basis. 6. Composite true position tolerances should be avoided because it is overly restrictive and difficult to check. 7. Composite true position tolerances can only be applied to patterns of related features. 8. The tolerance value shown in the upper segment of a composite true position feature control frame applies to the location of a pattern of features to the specified datums. 9. The tolerance value shown in the lower segment of a composite true position feature control frame applies to the location of a pattern of features to the specified datums. 10. Positional tolerances can be used to control circularity 11. True position tolerances can be used to control center distance relationships between features of size.
  • 61.
    True Position Quiz Questions #1-9 Fill in blanks (choose from below) 1. Positional tolerance zones can be ___________, ___________, or spherical 2. ________________ are used to establish the true (theoretically exact) position of a feature from specified datums. 3. Positional tolerancing is a _____________ control. 4. Positional tolerance can apply to the ____ or ________________ of a feature. 5. _____ and ________ fastener equations are used to determine appropriate clearance hole sizes for mating details 6. _________ tolerance zones are recommended to prevent fastener interference in mating details. 7. The tolerance shown in the upper segment of a composite true position feature control frame is called the ________________ tolerance zone. 8. The tolerance shown in the lower segment of a composite true position feature control frame is called the ________________ tolerance zone. 9. Functional gaging principles can be applied when __________ ________ condition is specified surface boundary floating feature-relating pattern-locating rectangular cylindrical 3-dimensional basic dimensions projected location maximum material axis fixed
  • 62.
  • 63.
  • 64.
  • 65.
    Floating Fasteners In applicationswhere two or more mating details are assembled, and all parts have clearance holes for the fasteners, the floating fastener formula shown below can be used to calculate the appropriate hole sizes or positional tolerance requirements to ensure assembly. The formula will provide a “zero-interference” fit when the features are at MMC and at their extreme of positional tolerance 2x M10 X 1.5 (Reference) General Equation Applies to Each Part Individually A H=F+T or T=H-F B H= Min. diameter of clearance hole F= Maximum diameter of fastener T= Positional tolerance diameter 2x 10.50 +/- 0.25 ?.? M Calculate Required Positional Tolerance T=H-F H = Minimum Hole Size = 10.25 F = Max. Fastener Size = 10 T = 10.25 -10 A T = ______ remember: the size tolerance must be added to the calculated MMC hole size to Calculate 2x ??.?? +/- 0.25 Nominal Size obtain the correct nominal value. 0.5 M H = F +T F = Max. Fastener Size = 10 T = Positional Tolerance = 0.50 B H = 10 + 0.50 H = ______
  • 66.
    Floating Fasteners In applicationswhere two or more mating details are assembled, and all parts have clearance holes for the fasteners, the floating fastener formula shown below can be used to calculate the appropriate hole sizes or positional tolerance requirements to ensure assembly. The formula will provide a “zero-interference” fit when the features are at MMC and at their extreme of positional tolerance 2x M10 X 1.5 (Reference) General Equation Applies to Each Part Individually A H=F+T or T=H-F B H= Min. diameter of clearance hole F= Maximum diameter of fastener T= Positional tolerance diameter 2x 10.50 +/- 0.25 0.25 M Calculate Required Positional Tolerance T=H-F H = Minimum Hole Size = 10.25 F = Max. Fastener Size = 10 T = 10.25 -10 A T = 0.25 remember: the size tolerance must be 10.75 +/- 0.25 added to the calculated MMC hole size to Calculate 2x Nominal Size obtain the correct nominal value. 0.5 M H = F +T F = Max. Fastener Size = 10 T = Positional Tolerance = 0.5 B H= 10 + .5 H= 10.5 Minimum REMEMBER!!! All Calculations Apply at MMC
  • 67.
    Fixed Fasteners In fixedfastener applications where two mating details have equal positional tolerances, the fixed fastener formula shown below can be used to calculate the appropriate minimum clearance hole size and/or positional tolerance required to ensure assembly. The formula provides a “zero-interference” fit when the features are at MMC and at their extreme of positional tolerance. (Note that in this example the positional tolerances indicated are the same for both parts.) APPLIES WHEN A PROJECTED TOLERANCE ZONE IS USED 2x M10 X 1.5 (Reference) General Equation Used When Positional Tolerances Are Equal 10 A H=F+2T or T=(H-F)/2 H= Min. diameter of clearance hole B F= Maximum diameter of fastener T= Positional tolerance diameter remember: the size tolerance Calculate Required must be added to the calculated Clearance Hole Size. 2x ??.?? +/- 0.25 MMC size to obtain the correct 0.8 M nominal value. A H = F + 2T Nominal Size F = Max. Fastener Size = 10.00 2X M10 X 1.5 (MMC For Calculations) T = Positional Tolerance = 0.80 0.8 M P 10 H = 10.00 + 2(0.8) H = _____ B
  • 68.
    Fixed Fasteners In fixedfastener applications where two mating details have equal positional tolerances, the fixed fastener formula shown below can be used to calculate the appropriate minimum clearance hole size and/or positional tolerance required to ensure assembly. The formula provides a “zero-interference” fit when the features are at MMC and at their extreme of positional tolerance. (Note that in this example the positional tolerances indicated are the same for both parts.) APPLIES WHEN A PROJECTED TOLERANCE ZONE IS USED 2x M10 X 1.5 (Reference) General Equation Used When Positional Tolerances Are Equal 10 A H=F+2T or T=(H-F)/2 H= Min. diameter of clearance hole B F= Maximum diameter of fastener T= Positional tolerance diameter remember: the size tolerance Calculate Required must be added to the calculated Clearance Hole Size. 2x 11.85 +/- 0.25 MMC size to obtain the correct 0.8 M nominal value. A H = F + 2T Nominal Size F = Max. Fastener Size = 10.00 2X M10 X 1.5 (MMC For Calculations) T = Positional Tolerance = 0.80 0.8 M P 10 H = 10.00 + 2(0.8) H = 11.60 Minimum B REMEMBER!!! All Calculations Apply at MMC
  • 69.
    Fixed Fasteners In fixedfastener applications where two mating details have equal positional tolerances, the fixed fastener formula shown below can be used to calculate the appropriate minimum clearance hole size and/or positional tolerance required to ensure assembly. The formula provides a “zero-interference” fit when the features are at MMC and at their extreme of positional tolerance. (Note that in this example the positional tolerances indicated are the same for both parts.) APPLIES WHEN A PROJECTED TOLERANCE ZONE IS USED 2x M10 X 1.5 (Reference) General Equation Used When Positional Tolerances Are Equal 10 A H=F+2T or T=(H-F)/2 H= Min. diameter of clearance hole B F= Maximum diameter of fastener T= Positional tolerance diameter remember: the size tolerance Calculate Required must be added to the calculated Clearance Hole Size. 2x 11.85 +/- 0.25 MMC size to obtain the correct 0.8 M nominal value. A H = F + 2T Nominal Size F = Max. Fastener Size = 10 2X M10 X 1.5 (MMC For Calculations) T = Positional Tolerance = 0.8 0.8 M P 10 H = 10 + 2(0.8) H = 11.6 Minimum B REMEMBER!!! All Calculations Apply at MMC
  • 70.
    Fixed Fasteners In applicationswhere two mating details are assembled, and one part has restrained fasteners, the fixed fastener formula shown below can be used to calculate appropriate hole sizes and/or positional tolerances required to ensure assembly. The formula will provide a “zero-interference” fit when the features are at MMC and at their extreme of positional tolerance. (Note: in this example the resultant positional tolerance is applied to both parts equally.) APPLIES WHEN A PROJECTED TOLERANCE ZONE IS USED 2x M10 X 1.5 (Reference) General Equation Used When Positional Tolerances Are Equal 10 A H=F+2T or T=(H-F)/2 H= Min. diameter of clearance hole B F= Maximum diameter of fastener T= Positional tolerance diameter 2x 11.25 +/- 0.25 Calculate Required 0.5 M Positional Tolerance . (Both Parts) A T = (H - F)/2 H = Minimum Hole Size = 11 Nominal Size 2X M10 X 1.5 F = Max. Fastener Size = 10 (MMC For Calculations) 0.5 M P 10 T = (11 - 10)/2 T = 0.50 B REMEMBER!!! All Calculations Apply at MMC
  • 71.
    Fixed Fasteners In fixedfastener applications where two mating details have unequal positional tolerances, the fixed fastener formula shown below can be used to calculate the appropriate minimum clearance hole size and/or positional tolerances required to ensure assembly. The formula provides a “zero-interference” fit when the features are at MMC and at their extreme of positional tolerance. (Note that in this example the positional tolerances indicated are not equal.) APPLIES WHEN A PROJECTED TOLERANCE ZONE IS USED 2x M10 X 1.5 (Reference) General Equation Used When Positional Tolerances Are Not Equal 10 A H=F+(T1 + T2) H = Min. diameter of clearance hole F = Maximum diameter of fastener B T1= Positional tolerance (Part A) T2= Positional tolerance (Part B) remember: the size tolerance must be Calculate Required added to the calculated MMC hole size to Clearance Hole Size. 2x ??.??+/- 0.25 obtain the correct nominal value. 0.5 M A H=F+(T1 + T2) Nominal Size F = Max. Fastener Size = 10 2X M10 X 1.5 (MMC For Calculations) T1 = Positional Tol. (A) = 1 M P 10 0.50 T2 = Positional Tol. (B) = 1 H = 10+ (0.5 + 1) H = ____ B
  • 72.
    Fixed Fasteners In fixedfastener applications where two mating details have unequal positional tolerances, the fixed fastener formula shown below can be used to calculate the appropriate minimum clearance hole size and/or positional tolerances required to ensure assembly. The formula provides a “zero-interference” fit when the features are at MMC and at their extreme of positional tolerance. (Note that in this example the positional tolerances indicated are not equal.) APPLIES WHEN A PROJECTED TOLERANCE ZONE IS USED 2x M10 X 1.5 (Reference) General Equation Used When Positional Tolerances Are Not Equal 10 A H= F+(T1 + T2) H = Min. diameter of clearance hole F = Maximum diameter of fastener B T1= Positional tolerance (Part A) T2= Positional tolerance (Part B) remember: the size tolerance must be Calculate Required added to the calculated MMC hole size to Clearance Hole Size. 2x 11.75+/- 0.25 obtain the correct nominal value. 0.5 M A H=F+(T1 + T2) Nominal Size F = Max. Fastener Size = 10 2X M10 X 1.5 (MMC For Calculations) T1 = Positional Tol. (A) = 0.5 1 M P 10 T2 = Positional Tol. (B) = 1 H = 10 + (0.5 + 1) H = 11.5 Minimum B REMEMBER!!! All Calculations Apply at MMC
  • 73.
    Fixed Fasteners In applicationswhere a projected tolerance zone is not indicated, it is necessary to select a positional tolerance and minimum clearance hole size combination that will allow for any out-of-squareness of the feature containing the fastener. The modified fixed fastener formula shown below can be used to calculate the appropriate minimum clearance hole size required to ensure assembly. The formula provides a “zero-interference” fit when the features are at MMC and at the extreme positional tolerance. APPLIES WHEN A PROJECTED TOLERANCE ZONE IS NOT USED H F H= Min. diameter of clearance hole P A F= Maximum diameter of pin T1= Positional tolerance (Part A) T2= Positional tolerance (Part B) D B D= Min. depth of pin (Part A) P= Maximum projection of pin remember: the size tolerance must be Calculate 2x ??.?? +/-0.25 added to the calculated MMC hole size to Nominal Size obtain the correct nominal value. 0.5 M H= F + T1 + T2 (1+(2P/D)) A F = Max. pin size = 10 T1 = Positional Tol. (A) = 0.5 2x 10.05 +/-0.05 T2 = Positional Tol. (B) = 0.5 D 0.5 M = Min. pin depth = 20. P = Max. pin projection = 15 H = 10.00 + 0.5 + 0.5(1 + 2(15/20)) B H= __________
  • 74.
    Fixed Fasteners In applicationswhere a projected tolerance zone is not indicated, it is necessary to select a positional tolerance and minimum clearance hole size combination that will allow for any out-of-squareness of the feature containing the fastener. The modified fixed fastener formula shown below can be used to calculate the appropriate minimum clearance hole size required to ensure assembly. The formula provides a “zero-interference” fit when the features are at MMC and at the extreme positional tolerance. APPLIES WHEN A PROJECTED TOLERANCE ZONE IS NOT USED H F H= F + T1 + T2 (1+(2P/D)) H= Min. diameter of clearance hole P A F= Maximum diameter of pin T1= Positional tolerance (Part A) T2= Positional tolerance (Part B) D B D= Min. depth of pin (Part A) P= Maximum projection of pin remember: the size tolerance must be Calculate 2x 12 +/-0.25 added to the calculated MMC hole size to Nominal Size obtain the correct nominal value. 0.5 M H= F + T1 + T2 (1+(2P/D)) A F = Max. pin size = 10 T1 = Positional tol. (A) = 0.5 2x 10.05 +/-0.05 T2 = Positional tol. (B) = 0.5 D 0.5 M = Min. pin depth = 20 P = Max. pin projection = 15 H = 10 + 0.5 + 0.5(1 + 2(15/20)) B H= 11.75 Minimum REMEMBER!!! All Calculations Apply at MMC
  • 75.
    Answers to Quizzes and Exercises
  • 76.
    Rules and DefinitionsQuiz Questions #1-12 True or False 1. Tight tolerances ensure high quality and performance. FALSE 2. The use of GD&T improves productivity. TRUE 3. Size tolerances control both orientation and position. FALSE 4. Unless otherwise specified size tolerances control form. TRUE 5. A material modifier symbol is not required for RFS. TRUE 6. A material modifier symbol is not required for MMC. FALSE 7. Title block default tolerances apply to basic dimensions. FALSE 8. A surface on a part is considered a feature. TRUE 9. Bilateral tolerances allow variation in two directions. TRUE 10. A free state modifier can only be applied to a tolerance. FALSE 11. A free state datum modifier applies to “assists” & “rests”. TRUE 12. Virtual condition applies regardless of feature size. FALSE
  • 77.
    Material Condition Quiz Fill in blanks Internal Features MMC LMC 10.75 +0.25/-0 10.75 11 23.45 +0.05/-0.25 23.2 23.5 123. 5 +/-0.1 123.4 123.6 .895 .890 .895 .890 External Features MMC LMC 10.75 +0/-0.25 10.75 10.5 23.45 +0.05/-0.25 23.5 23.2 123. 5 +/-0.1 123.6 123.4 .890 .890 .885 .885 Calculate appropriate values
  • 78.
    Datum Quiz Questions #1-12 True or False 1. Datum target areas are theoretically exact. FALSE 2. Datum features are imaginary. FALSE 3. Primary datums have only three points of contact. FALSE 4. The 6 Degrees of Freedom are U/D, F/A, & C/C. FALSE 5. Datum simulators are part of the gage or tool. TRUE 6. Datum simulators are used to represent datums. TRUE 7. Datums are actual part features. FALSE 8. All datum features must be dimensionally stable. TRUE 9. Datum planes constrain degrees of freedom. TRUE 10. Tertiary datums are not always required. TRUE 11. All tooling locators (CD’s) are used as datums. FALSE 12. Datums should represent functional features. TRUE
  • 79.
    Datum Quiz Questions #1-10 Fill in blanks (choose from below) 1. The three planes that make up a basic datum reference frame are called primary, secondary, and tertiary. 2. An unrestrained part will exhibit 3-linear and 3-rotational degrees of freedom. 3. A planar primary datum plane will restrain 1-linear and 2-rotational degrees of freedom. 4. The primary and secondary datum planes together will restrain five degrees of freedom. 5. The primary, secondary and tertiary datum planes together will restrain all six degrees of freedom. 6. The purpose of a datum reference frame is to restrain movement of a part in a gage or tool. 7. A datum must be functional, repeatable, and coordinated. 8. A datum feature is an actual feature on a part. 9. A datum is a theoretically exact point, axis or plane. 10. A datum simulator is a precise surface used to establish a simulated datum. restrain movement five coordinated repeatable tertiary two 3-rotational primary 2-rotational three functional one datum simulator 1-linear datum feature datum secondary 3-linear six
  • 80.
    Form Control Quiz Questions #1-5 Fill in blanks (choose from below) 1. The four form controls are straightness, flatness, circularity, and cylindricity. 2. Rule #1 states that unless otherwise specified a feature of size must have perfect form at MMC. 3. Straightness and circularity are individual line or circular element (2-D) controls. 4. Flatness and cylindricity are surface (3-D) controls. 5. Circularity can be applied to both straight and tapered cylindrical parts. straightness cylindricity angularity straight flatness tapered profile perfect form circularity true position Answer questions #6-10 True or False 6. Form controls require a datum reference. FALSE 7. Form controls do not directly control a feature’s size. TRUE 8. A feature’s form tolerance must be less than it’s size TRUE tolerance. 9. Flatness controls the orientation of a feature. FALSE 10. Size limits implicitly control a feature’s form. TRUE
  • 81.
    Orientation Control Quiz Questions #1-5 Fill in blanks (choose from below) 1. The three orientation controls are angularity, parallelism, and perpendicularity. 2. A datum reference is always required when applying any of the orientation controls. 3. Perpendicularity is the appropriate geometric tolerance when controlling the orientation of a feature at right angles to a datum reference. 4. Mathematically all three orientation tolerances are identical. 5. Orientation tolerances do not control the location of a feature. perpendicularity datum target datum reference datum feature location parallelism angularity identical profile Answer questions #6-10 True or False 6. Orientation tolerances indirectly control a feature’s form. TRUE 7. Orientation tolerance zones can be cylindrical. TRUE 8. To apply a perpendicularity tolerance the desired angle FALSE must be indicated as a basic dimension. 9. Parallelism tolerances do not apply to features of size. FALSE 10. To apply an angularity tolerance the desired angle must TRUE be indicated as a basic dimension.
  • 82.
    Runout Control Quiz Answer questions #1-12 True or False 1. Total runout is a 2-dimensional control. FALSE 2. Runout tolerances are used on rotating parts. TRUE 3. Circular runout tolerances apply to single elements . TRUE 4. Total runout tolerances should be applied at MMC. FALSE 5. Runout tolerances can be applied to surfaces at right TRUE angles to the datum reference. 6. Circular runout tolerances are used to control an entire FALSE feature surface. 7. Runout tolerances always require a datum reference. TRUE 8. Circular runout and total runout both control axis to TRUE surface relationships. 9. Circular runout can be applied to control taper of a part. FALSE 10. Total runout tolerances are an appropriate way to limit TRUE “wobble” of a rotating surface. 11. Runout tolerances are used to control a feature’s size. FALSE 12. Total runout can control circularity, straightness, taper, TRUE coaxiality, angularity and any other surface variation.
  • 83.
    Profile Control Quiz Questions #1-9 Fill in blanks (choose from below) 1. The two types of profile tolerances are profile of a line, and profile of a surface. 2. Profile tolerances can be used to control the location, form, orientation, and sometimes size of a feature. 3. Profile tolerances can be applied bilateral or unilateral. 4. Profile of a line tolerances are 2-dimensional controls. 5. Profile of a surface tolerances are 3-dimensional controls. 6. Composite Profile can be used when different tolerances are required for location and form and/or orientation. 7. When using profile tolerances to control the location and/or orientation of a feature, a datum reference must be included in the feature control frame. 8. When using profile tolerances to control form only, a datum reference is not required in the feature control frame. 9. In composite profile applications, the tolerance shown in the upper segment of the feature control frame applies only to the location of the feature. composite profile bilateral virtual condition profile of a surface primary datum orientation datum reference unilateral profile of a line location true geometric counterpart form
  • 84.
    Profile Control Quiz Answer questions #1-13 True or False 1. Profile tolerances always require a datum reference. FALSE 2. Profile of a surface tolerance is a 2-dimensional control. FALSE 3. Profile of a surface tolerance should be used to control TRUE trim edges on sheet metal parts. 4. Profile of a line tolerances should be applied at FALSE MMC. 5. Profile tolerances can be applied to features of size. TRUE 6. Profile tolerances can be combined with other geometric TRUE controls such as flatness to control a feature. 7. Profile of a line tolerances apply to an entire surface. FALSE 8. Profile of a line controls apply to individual line elements. TRUE 9. Profile tolerances only control the location of a surface. FALSE 10. Composite profile controls should be avoided because FALSE they are more restrictive and very difficult to check. 11. Profile tolerances can be applied either bilateral or TRUE unilateral to a feature. 12. Profile tolerances can be applied in both freestate and TRUE restrained datum conditions. 13. Tolerances shown in the lower segment of a composite FALSE profile feature control frame control the location of a feature to the specified datums.
  • 85.
    True Position Quiz Answer questions #1-11 True or False 1. Positional tolerances are applied to individual or TRUE patterns of features of size. 2. Cylindrical tolerance zones more closely represent the TRUE functional requirements of a pattern of clearance holes. 3. True position tolerance values are used to calculate the TRUE minimum size of a feature required for assembly. 4. True position tolerances can control a feature’s FALSE size. 5. Positional tolerances are applied on an MMC, LMC, or TRUE RFS basis. 6. Composite true position tolerances should be avoided FALSE because it is overly restrictive and difficult to check. 7. Composite true position tolerances can only be applied TRUE to patterns of related features. 8. The tolerance value shown in the upper segment of a TRUE composite true position feature control frame applies to the location of a pattern of features to the specified datums. 9. The tolerance value shown in the lower segment of a FALSE composite true position feature control frame applies to the location of a pattern of features to the specified datums. 10. Positional tolerances can be used to control circularity FALSE 11. True position tolerances can be used to control center TRUE distance relationships between features of size.
  • 86.
    True Position Quiz Questions #1-9 Fill in blanks (choose from below) 1. Positional tolerance zones can be rectangular, cylindrical, or spherical 2. Basic dimensions are used to establish the true (theoretically exact) position of a feature from specified datums. 3. Positional tolerancing is a 3-dimensional control. 4. Positional tolerance can apply to the axis or surface boundary of a feature. 5. Fixed and floating fastener equations are used to determine appropriate clearance hole sizes for mating details 6. Projected tolerance zones are recommended to prevent fastener interference in mating details. 7. The tolerance shown in the upper segment of a composite true position feature control frame is called the pattern-locating tolerance zone. 8. The tolerance shown in the lower segment of a composite true position feature control frame is called the feature-relating tolerance zone. 9. Functional gaging principles can be applied when maximum material condition is specified surface boundary floating feature-relating pattern-locating rectangular cylindrical 3-dimensional basic dimensions projected location maximum material axis fixed
  • 87.
  • 88.
  • 89.
  • 90.
  • 91.
    Extreme Variations ofForm Allowed By Size Tolerance 25.1 25 25 24.9 25.1 25 25 (LMC) 24.9 (MMC) (MMC) (LMC) 25.1 24.9 (LMC) (LMC) MMC Perfect Form Boundary 25 25 (MMC) (MMC) 25.1 24.9 (LMC) (LMC)
  • 92.
    Virtual and Resultant Condition Boundaries Internal and External Features (MMC Concept)
  • 93.
    Virtual Condition Boundary Internal Feature (MMC Concept) 14 +/- 0.5 1M A B C A C XX.X XX.X B As Shown on Drawing Virtual Condition 1 Positional Inner Boundary ( ) Tolerance Zone at Maximum Inscribed MMC Diameter True (Basic) Position of Hole Other Possible Extreme Locations Boundary of MMC Hole True (Basic) Position of Hole Axis Location of Shown at Extreme Limit MMC Hole Shown at Extreme Limit Calculating Virtual Condition 13.5 MMC Size of Feature 1 Applicable Geometric Tolerance 12.5 Virtual Condition Boundary
  • 94.
    Resultant Condition Boundary Internal Feature (MMC Concept) 14 +/- 0.5 1M A B C A C XX.X XX.X B As Shown on Drawing Resultant Condition 2 Positional Outer Boundary Tolerance Zone at ( Minimum Circumscribed Diameter ) LMC True (Basic) Position of Hole Other Possible Extreme Locations Boundary of LMC Hole True (Basic) Position of Hole Axis Location of Shown at Extreme Limit LMC Hole Shown at Extreme Limit Calculating Resultant Condition (Internal Feature) 14.5 LMC Size of Feature 2 Geometric Tolerance (at LMC) 16.5 Resultant Condition Boundary
  • 95.
    Virtual Condition Boundary External Feature (MMC Concept) 14 +/- 0.5 1M A B C A C XX.XX XX.X B As Shown on Drawing Virtual Condition 1 Positional Outer Boundary Tolerance Zone at ( Minimum Circumscribed Diameter ) MMC True (Basic) Position of Feature Other Possible Extreme Locations Boundary of MMC Feature True (Basic) Position of Feature Axis Location of Shown at Extreme Limit MMC Feature Shown at Extreme Limit Calculating Virtual Condition 14.5 MMC Size of Feature 1 Applicable Geometric Tolerance 15.5 Virtual Condition Boundary
  • 96.
    Resultant Condition Boundary External Feature (MMC Concept) 14 +/- 0.5 1M A B C A C XX.X XX.X B As Shown on Drawing Resultant Condition 2 Positional Inner Boundary Tolerance Zone at ( Maximum Inscribed Diameter ) LMC True (Basic) Position of Feature Other Possible Extreme Locations Boundary of LMC feature True (Basic) Position of Feature Axis Location of Shown at Extreme Limit LMC Feature Shown at Extreme Limit Calculating Resultant Condition (External Feature) 13.5 LMC Size of Feature 2 Geometric Tolerance (at LMC) 11.5 Resultant Condition Boundary