Table of Contents
Chapter 1 3-5
Introduction to DTMF
Chapter 2 6-13
Related to Work
Chapter 3 14-23
PROBLEM DESCRIPTION AND SPECIFICATION
Chaper 4 24-27
SYSTEM DESIGN
CHAPTER 5 28-28
VERIFICATION AND VALIDATION
CHAPTER 6 29-31
CRITICAL EVALUATION
ECE Archives Project Submission Form…………………………………
List of Figures
Figure 1.1 A DTMF telephone keypad 4
Figure : 2.1 Adruino 7
Figure : 2.2 Relay block diagram 10
Figure: 2.3 Relay Driver 11
Figure : 2.4 Power Supply block diagram 13
Figure : 3:1 Transformer 14
Figure : 3.2 Diode 15
Figure : 3.3 Voltage regulator 16
Figure : 3.4 Capacitoe 17
Figure : 3.5 Resister 17
Figure : 3.6 Pin Description 18
Figure : 3.6 Block Diagram 22
Figure : 4.1 Dual Tone Multi Frequency 24
List of Tables
Table : 1.1 DTMF keypad frequency 5
Table : 2.1 Adurion specification 8
Cost Analysis 32
REFRENCES 33
2 | P a g e
Abstract
Traditionally electrical appliances in a home are controlled via switches that regulate the electricity to these
devices. As the world gets more and more technologically advanced, we find new technology coming in
deeper and deeper into our personal lives even at home. Home automation is becoming more and more
popular around the world and is becoming a common practice. The process of home automation works by
making everything in the house automatically controlled using technology to control and do the jobs that we
would normally do manually. Home automation takes care of a lot of different activities in the house. This
project we propose a unique System for Home automation utilizing Dual Tone Multi Frequency (DTMF)
that is paired with a wireless module to provide seamless wireless control over many devices in a house.
This user console has many keys, each corresponding to the device that needs to be activated. The encoder
encodes the user choice and sends via a GSM transmitter. The GSM receiver receives the modulated signal
and demodulates it and the user choice is determined by the DTMF decoder. Based upon this the required
appliance is triggered.
3 | P a g e
CHAPTER-1
INTRODUCTION
DTMF Home Automation lets you operate your home appliances like lights and water pump from your
office or any other remote place. So if you forgot to switch off the lights or other appliances while going
out, it helps you to turn off the appliance with your cell phone.Your cell phone works as remote control to
your home appliances. You can control the desired appliance by presetting the corresponding key.
The Project “Home Automation using mobile communication” has different sections such as:
1.Microcontroller
2.DTMF decoder
3. Relays
1.1 Dual-tone multi-frequency
Dual-tone multi-frequency (DTMF) signaling is used for telephone signaling over the line in the voice-
frequency band to the call switching center. The version of DTMF used for telephone tone dialing is
known by the trademarked term Touch-Tone and is standardized by ITU-T Recommendation Other multi-
frequency systems are used for signaling internal to the telephone network.As a method of in-band
signaling, DTMF tones were also used by cable television broadcasters to indicate the start and stop times
of local commercial insertion points during station breaks for the benefit of cable companies. Until better
out-of-band signaling equipment was developed in the 1990s, fast, unacknowledged, and loud DTMF tone
sequences could be heard during the commercial breaks of cable channels in the United States and
elsewhere.
Today, most telephone equipment use a DTMF receiver IC. One common DTMF receiver IC is the
Motorola MT8870 that is widely used in electronic communications circuits. The MT8870 is an 18-pin IC.
It is used in telephones and a variety of other applications. When a proper output is not obtained in projects
using this IC, engineers or technicians need to test this IC separately. A quick testing of this IC could save a
lot of time in re-search labs and manufacturing industries of communication instruments.
DTMF IC. It can be assembled on a multipurpose PCB with an 18-pin IC base. One can also test the IC on a
simple breadboard.For optimum working of telephone equipment, the DTMF receiver must be designed to
recognize a valid tone pair greater than 40 ms in duration and to accept successive digit tone-pairs that are
greater than 40 ms apart. However, for other applications like remote controls and radio communications,
the tone duration may differ due to noise considerations. Therefore, by adding an extra resistor and steering
diode the tone duration . can be set to different values. The circuit is configured in balanced-line mode. To
reject common-mode noise signals, a balanced differential amplifier input is used. The circuit also provides
an excellent bridging interface across a properly terminated telephone line. Transient protection may be
achieved by splitting the input resistors and inserting ZENER diodes (ZD1 and ZD2) to achieve voltage
clamping. This allows the transient energy to be dissipated in the resistors and diodes, and limits the
maximum voltage that may appear at the inputs.
Whenever you press any key on your local telephone keypad, the delayed steering (Std) output of the IC
goes high on receiving the tone-pair, causing LED5 (connected to pin 15 of IC via resistor R15) to glow.
4 | P a g e
It will be high for a duration de-pending on the values of capacitor and resistors at pins 16 and 17. The
optional circuit shown within dot-ted line is used for guard time adjustment. Whenever you press any key on
your local telephone keypad, the delayed steering (Std) output of the IC goes high on receiving the tone-pair,
causing LED5 (connected to pin 15 of IC via resistor R15) to glow. It will be high for a duration de-pending
on the values of capacitor and resistors at pins 16 and 17. The optional circuit shown within dot-ted line is
used for guard time adjustmed. The LEDs connected via resistors R11 to R14 at pins 11 through 14,
respectively, indicate the output of the IC. The tone-pair DTMF (dual-tone multi-frequency) generated by
pressing the telephone button is converted into bi-nary values internally in the IC. The binary values are
indicated by glowing of LEDs at the output pins of the IC. LED1 represents the lowest signifi-cant bit (LSB)
and LED4 represents the most significant bit (MSB). So, when you dial a number, say, 5, LED1 and LED3
will glow, which is equal to 0101. Similarly, for every other number dialed on your telephone, the
corresponding LEDs will glow. Thus, a non-defective IC should indicate proper bi-nary values
corresponding to the decimal number pressed on your telephone key-pad. To test the DTMF IC
8870/KT3170, proceed as follows:

• Switch on S1. (Switch on auxiliary switch S2 only if keys A, B, C, and D are to be used.)
• Now push key ‘*’ to generate DTMF tone.
• Push any decimal key from the telephone keypad.
• Observe the equivalent binary as shown in the table.


If the binary number implied by glowing of LED1 to LED4 is equivalent to the pressed key number, the
DTMF IC 8870 is correct Keys A, B, C, and D on the telephone keypad are used for special signaling and
are not available on standard pushbutton telephone keypads. Pin 5 of the IC is pulled down to ground
through resistor R8. Switch on auxiliary switch S2
Fig 1.1
A DTMF telephone keypad
5 | P a g e
1.2 Keypad
The DTMF keypad is laid out in a 4×4 matrix, with each row representing a low frequency, and each
column representing a high frequency. Pressing a single key (such as '1' ) will send a sinusoidal tone of the
two frequencies (697 and 1209 hertz (Hz)). The original keypads had levers inside, so each button activated
two contacts. The multiple tones are the reason for calling the system multi frequency. These tones are then
decoded by the switching center to determine which key was pressed.


 1209 Hz 1336Hz 1633 Hz

 
 
 

697 Hz 1 2 3

 
 
 

770 Hz 4 5 6

 
 
 

852 Hz 7 8 9

 
 
 

941 Hz * 0 #

 
 
 

DTMF keypad frequencies
Table 1.1
6 | P a g e
CHAPTER-2
RAELATED WORK
2.1 IMPLEMENATION OF Arduino UNO
• The Arduino Uno is a microcontroller board based on the ATmega328P.
• It has 14 digital input/output pins (of which 6 can be used as PWM outputs),
6 analog inputs, a 16 MHz quartz crystal, a USB connection, a power jack,
an ICSP header and a reset button.
• Simply connect it to a computer with a USB cable or power it with a AC-to-DC
adapter or battery to get started.
7 | P a g e
2.2 The board
Fig : 2.1
Adruino
8 | P a g e
2.3 Specifications
Table : 2.1
Adurion specification
9 | P a g e
2.4 DTMF Decoder
• Operating voltage: 2.5V~5.5V
• Minimal external components
• No external filter is required
• Low standby current
• Excellent performance
• Tristate data output for MCU interface
• 3.58MHz crystal or ceramic resonator
• 18-pin SOP package
2.4 Relay
• Relay is basically an electromagnetic switch which can be turn on and off by an
applying the voltage across its contacts.
• In this project used a 12V 4-channel relay.
10 | P a g e
3.5 How Relay Works?
Fig : 2.2
Relay block diagram
11 | P a g e
3.6 Relay Driver(ULN2003)
Fig:2.3
Relay Driver
12 | P a g e
3.7 Why Relay Driver?
• Relay safely driven by ULN2003 IC
• Protect microcontroller from relay kick back using integrated clamping diodes.
• Has 7 high current Darlington arrays each containing 7 open collector Darlington
pairs with common emitters.
13 | P a g e
Fig : 2.4
Power Supply
14 | P a g e
CHAPTER-3
PROBLEM DESCRIPTION AND SPECIFICATION
3.1 Problem Statement
The objective of this project is to develop a device that allows for a user to remotely control and monitor
multiple home appliances using a cellular phone. This system will be a powerful and flexible tool that will
offer this service at any time, and from anywhere with the constraints of the technologies being applied.
Possible target appliances include (but are not limited to) climate control systems, security systems, and
lights; anything with an electrical interface.
The proposed approach for designing this system is to implement a microcontroller-based control module
that receives its instructions and commands from a cellular phone . The microcontroller then will carry out
the issued commands and then communicate the status of a given appliance or device back to the cellular
phone. For security purposes, a means of identification and user authentication will be implemented, and
will combine caller identification with a password authorization.


3.2 Components Required
3.2.1 STEP DOWN TRANSFORMER
Step down transformer from 220 volt Ac to 9-0-9 ac. We use step down transformer to step down the
voltage from 220 to 9 volt ac. This AC is further connected to the rectifier circuit for AC to DC
conversion. Transformer current rating is 750 ma.










Fig 3.1
15 | P a g e
3.2.2 DIODE
In this project we use IN 4007 diode as a rectifier. IN 4007 is special diode to convert the AC into DC.
In this project we use two diode as a rectifier. Here we use full wave rectifier. Output of rectifier is
pulsating DC. To convert the pulsating dc into smooth dc we use Electrolytic capacitor as a main filter.
Capacitor converts the pulsating dc into smooth dc and this DC is connected to the Regulator circuit for
Regulated 5 volt DC.










Fig 3.2
Diode
The Digilab board can use any power supply that creates a DC voltage between 6 and 12 volts. A 5V
voltage regulator (7805) is used to ensure that no more than 5V is delivered to the Digilab board regardless
of the voltage present at the J12 connector (provided that voltage is less than 12VDC). The regulator
functions by using a diode to clamp the output voltage at 5VDC regardless of the input voltage - excess
voltage is converted to heat and dissipated through the body of the regulator. If a DC supply of greater than
12V is used, excessive heat will be generated, and the board may be damaged. If a DC supply of less than
5V is used, insufficient voltage will be present at the regulators output.
16 | P a g e








Fig 3.3
Voltage regulator
3.2.6 RELAYS
In order to enable a circuit to be isolated from the system only under faulty conditions, protective relays
are used. In normal cases, it is open circuit relay. The relay is usually provided with 4 terminals, two of
which are connected to relay winding and other two are connected to the circuit to be controlled. It has
following characteristics :
• Sensitivity
• Selectivity
• speed
3.2.7 CAPACITOR
A capacitor is an electrical/electronic device that can store energy in the electric field between a pair of
conductors (called "plates"). The process of storing energy in the capacitor is known as "charging", and
involves electric charges of equal magnitude, but opposite polarity, building up on each plate.
Capacitors are often used in electric and electronic circuits as energy storage devices. They can also be
used to differentiate between high frequency and low-frequency signals This property makes them useful
in electronic filters.


17 | P a g e




Fig 3.4
Capacitoe


3.2.8 RESISTOR
A resistor is a two-terminal electrical or electronic component that opposes an electric current by producing
a voltage drop between its terminals in accordance with Ohm's law: The electrical resistance is equal to the
voltage drop across the resistor divided by the current through the resistor while the temperature remains the
same. Resistors are used as part of electrical networks and electronic circuits.








Fig 3.5
Resister


18 | P a g e
3.2.9 MICROCONTROLLER


3.2.9.1 Features
• 8K Bytes of In-System Programmable (ISP) Flash Memory
• 4.0V to 5.5V Operating voltage.
• Fully Static Operation: 0 Hz to 33 MHz
• 256 * 8-bit Internal RAM
• 32 Programmable I/O Lines
• Three 16-bit Timer/Counters
• Eight Interrupt Sources
• Full Duplex UART Serial Channel
• Interrupt Recovery from Power-down Mode
• Power-off Flag
• Fast Programming Time
• Flexible ISP Programming
3.2.9.2 Description
The is a low-power, high-performance CMOS 8-bit microcontroller with 8K bytes of in-system
programmable Flash memory. The device is manufactured using Atmel’s high-density nonvolatile memory
technology and is compatible with the indus-try-standard instruction set and pinout. The on-chip Flash
allows the program memory to be reprogrammed in-system or by a conventional nonvolatile memory
programmer. By combining a versatile 8-bit CPU with in-system programmable Flash on a monolithic chip,
the is a powerful microcontroller which provides a highly-flexible and cost-effective solution to many
embedded control applications. The AT89S52 provides the following standard features: 8K bytes of Flash,
256 bytes of RAM, 32 I/O lines, Watchdog timer, two data pointers, three 16-bit timer/counters, a six-vector
two-level interrupt architecture, a full duplex serial port, on-chip oscillator, and clock circuitry. In addition,
the is designed with static logic for operation down to zero frequency and supports two software selectable
power saving modes. The Idle Mode stops the CPU while allowing the RAM, timer/counters, serial port,
and interrupt system to continue functioning. The Power-down mode saves the RAM con-tents but freezes
the oscillator, disabling all other chip functions until the next interrupt or hardware reset.
19 | P a g e
3.2.9.3 Pin Description
Pin Description
Fig 3.6
• VCC Supply voltage.
• GND Ground.
• Port 0 Port 0 is an 8-bit open drain bi-directional I/O port. As an output port, each pin can sink
eight TTL inputs. When 1s are written to port 0 pins, the pins can be used as high-impedance inputs.
Port 0 can also be configured to be the multiplexed low-order address/data bus during accesses to
external program and data memory. In this mode,P0 has internal pull-ups. Port 0 also receives the
code bytes during Flash
programming and outputs the code bytes during program verification.
20 | P a g e
External pull-ups are required during program verification
• Port 1 Port 1 is an 8-bit bi-directional I/O port with internal pull-ups. The Port 1 output buffers can
sink/source four TTL inputs. When 1s are written to Port 1 pins, they are pulled high by the internal
pull-ups and can be used as inputs. As inputs, Port 1 pins that are externally being pulled low will
source current (IIL) because of the internal pull-ups. In addition, P1.0 and P1.1 can be configured to
be the timer/counter 2 external count input (P1.0/T2) and the timer/counter 2 trigger input
(P1.1/T2EX), respectively, as shown in the following table. Port 1 also receives the low-order
address bytes during Flash programming and verification.

• Port 2 Port 2 is an 8-bit bi-directional I/O port with internal pull-ups. The Port 2 output buffers can
sink/source four TTL inputs. When 1s are written to Port 2 pins, they are pulled high by the internal
pull-ups and can be used as inputs. As inputs, Port 2 pins that are externally being pulled low will
source current (IIL) because of the internal pull-ups. Port 2 emits the high-order address byte during
fetches from external program memory and during accesses to external data memory that use 16-bit
addresses (MOVX @ DPTR). In this application, Port 2 uses strong internal pull-ups when emitting
1s. During accesses to external data memory that use 8-bit addresses (MOVX @ RI), Port 2 emits
the contents of the P2 Special Function Register. Port 2 also receives the high-order address bits and
some control signals during Flash programming and verification.
• Port 3 Port 3 is an 8-bit bi-directional I/O port with internal pull-ups. The Port 3 output buffers can
sink/source four TTL inputs. When 1s are written to Port 3 pins, they are pulled high by the internal
pull-ups and can be used as inputs. As inputs, Port 3 pins that are externally being pulled low will
source current (IIL) because of the pull-ups. Port 3 receives some control signals for Flash
programming and verification. Port 3 also serves the functions of various special features of the
• RST Reset input. A high on this pin for two machine cycles while the oscillator is running resets
the device. This pin drives high for 98 oscillator periods after the Watchdog times out. The
DISRTO bit in SFR AUXR (address 8EH) can be used to disable this feature. In the default state of
bit DISRTO, the RESET HIGH out feature is enabled.


• ALE/PROG Address Latch Enable (ALE) is an output pulse for latching the low byte of the
address during accesses to external memory. This pin is also the program pulse input (PROG)
during Flash programming. In normal operation, ALE is emitted at a constant rate of 1/6 the
oscillator frequency and may be used for external timing or clocking purposes. Note, however, that
one ALE pulse is skipped dur-ing each access to external data memory. If desired, ALE operation
can be disabled by setting bit 0 of SFR location 8EH. With the bit set, ALE is active only during a
MOVX or MOVC instruction. Otherwise, the pin is weakly pulled high. Setting the ALE-disable bit
has no effect if the microcontroller is in external execution mode.
• PSEN Program Store Enable (PSEN) is the read strobe to external program memory. When the
AT89S52 is executing code from external program memory, PSEN is activated twice each
21 | P a g e
machine cycle, except that two PSEN activations are skipped during each access to external data
memory.
• EA/VPP External Access Enable. EA must be strapped to GND in order to enable the device to
fetch code from external program memory locations starting at 0000H up to FFFFH. Note, however,
that if lock bit 1 is programmed, EA will be internally latched on reset. EA should be strapped to
VCC for internal program executions. This pin also receives the 12-volt programming enable
voltage (VPP) during Flash programming.
• XTAL1 Input to the inverting oscillator amplifier and input to the internal clock operating
circuit.
• XTAL2 Output from the inverting oscillator amplifier.


22 | P a g e
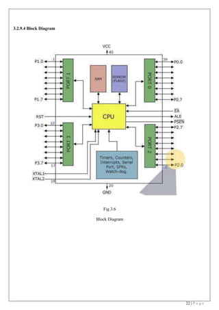
3.2.9.4 Block Diagram


























Fig 3.6
Block Diagram
23 | P a g e
The 89S52 has 4 different ports, each one having 8 Input/output lines providing a total of 32 I/O lines.
Those ports can be used to output DATA and orders do other devices, or to read the state of a sensor, or a
switch. Most of the ports of the 89S52 have 'dual function' meaning that they can be used for two different
functions.
The first one is to perform input/output operations and the second one is used to implement special
features of the microcontroller like counting external pulses, interrupting the execution of the program
according to external events, performing serial data transfer or connecting the chip to a computer to
update the software. Each port has 8 pins, and will be treated from the software point of view as an 8-bit
variable called 'register', each bit being connected to a different Input/Output pin.
There are two different memory types: RAM and EEPROM. Shortly, RAM is used to store variable during
program execution, while the EEPROM memory is used to store the program itself, that's why it is often
referred to as the 'program memory'. It is clear that the CPU (Central Processing Unit) is the heart of the
micro controllers. It is the CPU that will Read the program from the FLASH memory and Execute it by
interacting with the different peripherals.
24 | P a g e
CHAPTER-4
SYSTEM DESIGN
This system is designed for controlling the devices, it includes a cell phone which is connect to the system
via head set. To active the cellular phone part of the system a call is to be made and as the call is answered,
in response the user would enter a three/four(as he/she want) digit password to access the system to control
devices. As the caller press the specific password, it results in turning ON or OFF specific device. The
device switching is achieved by Relays.
4.1 Design characteristics
First of all a short list of embedded control system design characteristics and their application to the
current subject of home/building automation systems. These are the characteristics a design engineer has to
keep in mind when designing such an automation system:
4.2 About DTMF - Dual Tone Multi Frequenc
Fig 4.1
Dual Tone Multi Frequency
The M-8870 is a full DTMF Receiver that integrates both band split filter and decoder functions into a
single 18-pin DIP or SOIC package. Manufactured using CMOS process technology, the M-8870 offers
low power consumption (35 mW max) and precise data handling. Its filter section uses switched capacitor
technology for both the high and lowgroup filters and for dial tone rejection. Its decoder uses digital
counting techniques to detect and decode all 16 DTMF tone pairs into a 4-bit code. External component
count is minimized by provision of an on-chip differential input amplifier, clock generator, and latched tri-
state interface bus. Minimal external components required include a low-cost 3.579545 MHz color burst
25 | P a g e
crystal, a timing resistor, and a timing capacitor. An MT8870 series DTMF decoder is used here. All types
of the MT8870 series use digital counting techniques to detect and decode all the 16 DTMF tone pairs into
a 4-bit code output. The built-in dial tone rejection circuit eliminates the need for pre-filtering. When the
input signal given at pin 2 (IN-) in single-ended input configuration is recognized to be effective, the
correct 4-bit decode signal of the DTMF tone is transferred to Q1 (pin 11) through Q4 (pin 14) outputs.
4.4 SYSTEM DESIGN
4.4.1 Design values
1.The DTMF tones from the mobile phone on the receiver side are given to a differential
amplifier whose gain can be varied by connecting a feedback resistor from pin no. 3(which is the output of
op-amp) of CM8870.In our application the required gain is unity so we select,
R1=100Kohms,
R2=100Kohms
=>Gain=R2/R1=1
2.The internal clock circuit of CM8870 is completed with addition of a ceramic resonator having
resonant frequency of 3.58MHz.The internal clock circuit of CM8870 is completed with addition of a
ceramic resonator having resonant frequency of 3.58MHz.
3.Before the registration of a decoded tone pair, the receiver (CM8870) checks for a valid signal
duration (duration for which a key is pressed by the remote user).This check is performed by an
external RC time constant driven by E.The minimum time duration for which a key should be pressed
to validate itself is decided by R 3& C3.There values aredecided by the formula: Trec=Tdp+Tgtp
Where,
Tgtp=0.67*R 3*C3
Tdpis the time to detect the presence of a valid signal. So it is a parameter of the
device.trecis the minimum time duration for which a key must be pressed by the remote user
for validation. For,
trec= 40ms
R.3=300Kohms
C3=0.1uf
4.TOE - This is the Tone Output Enable. A low level shifts Q1-Q4 toits high impedance state. A high
level makes the binary output available on the output pins(Q1-Q4).
26 | P a g e
4.5 Design values for Microcontroller :
1.Port 1 of the microcontroller is made an input port by writing all one’s to it, and port 0 is the output
port which is connected to the relay driver IC (U3).
2.The reset pin of U2 (pin no. 9) is connected to the reset circuit ie,
R.4=10Kohms
C5=10uf
4.6 Components List:
To build and access this project the requisites are:
1.Transformerwith turns ratio 230:15.
2.A voltage regulator IC(7805)
3.2 diodes(1N4007)
6. 4 Resistances: 100 Kohms (2 q)
300 Kohms(1q)
10 Kohms(1q)
7. 2 crystals: 3.58MHz12MHz
8. 4 two pinrelimates(male and female).
9. Two phones-We need one cell phone with auto answer facility on the receiver side and one
phone(which can either be a cell phone or land line) with the remote user.
10. A Chord with a male connector-We need a chord with a male connector connected onone side and one
end left open. The dimensions of the connector should be same as thedimensions of the jack present in
the phone with the control unit. (In our case we used a 3.5mm jack)
11.DTMF tone decoding IC-IC for converting DTMF toness to their respective binaryvalues.
We used CM8870.
12.Microcontroller-AT89s52 microcontroller.
13.Relay deriver IC- ULN 2803
14.Two relays of 5v driving voltage each.
15.Two bulbs of power rating 25Watts.
4.7 IMPLEMENTATION OF SYSTEM
4.7.1 System Algorithm:
1. Person who wants to switch on/off a device calls on the phone at the receiver side.
2. The call gets answered automatically if it is not picked up manually till 5seconds.
3. Once the call gets answered we have to enter a password for authentication (in our case it is1 2).
27 | P a g e
4. Then after entering the password we have to make a choice for switching on/off any device
(Press ‘*’ for switch on and ‘#’ for switch off).
5. Then we have to enter the corresponding number for a device that we wish to switch on/ off (‘6’ for
first device and ‘7’ for the second).
6. After switching on/off device once, if we again want to switch on/off a device than weagain have to
enter the password and repeat the whole procedure. Note:On the transmitter side the user controlling
the appliance’s has to press each digit for aminimum duration of time, which is40ms
4.7.2 Program algorithm:
1. On start of the system all the devices are off.
2. If a key press is detected, program goes to 3, else it stays here.
3. If the pressed key is 1 then program goes to 4, else it goes to 2.
4. If 2 is pressed (correct password) program goes to 5,else it goes to 2.
5. Now the microcontroller checks whether you want to switch on/off the device.
4.8 Performance and evaluation of the system
1. The receiver must reside in a location where a signal with sufficient strength can be received
from a cellular phone network.
2. The only person who can communicate with the control module is the person who will be successfully
authenticated.
28 | P a g e
CHAPTER 5
VERIFICATION AND VALIDATION
5.1 FLOWCHART
The implementation of the project follows a flowchart that has been described in details
which follows the sequence:
1. Ports of microcontroller are set
i. Port A is set as input for DTMF signal.
ii. Port B is set as output for switching relays.
2. Call is established between the remote station phone and phone attached to DTMF system.
3. The phone is in auto pickup mode.
4. DTMF Decoder decodes the DTMF signal into binary form and sends to
microprocessor for further action.
5. Process is as follows
i. If 9 is pressed all the appliances will be turned off. ii. If 1
is pressed once relay 1 will be turned on.
iii. If 1 is pressed twice relay 1 will be turned off.
iv. If 2 is pressed once relay 2 will be turned on.
v. If 2 is pressed twice relay 2 will be turned off and so on.
6. After that microprocessor will check if the is on hook or not, if not it will wait for next
instruction.
29 | P a g e
CHAPTER 6
CRITICAL EVALUATION
6.1 APPLICATIONS OF HOMEAUTOMATION USING DTMF
There are numerous application areas of home automation using DTMFThe purpose of
this Application Note is to provide information on the operation and application of DTMF a
few of which are outlined below:
6.1.1 Effective control of home appliances
Effective control of home appliances like Air Conditioners, Water Heaters, Thermal
Baths, Furnaces Incubators. Home appliances control, Hotel lights/ fans Control, Shops and
Showrooms appliances control, Industrial appliances etc.
6.1.2 Turn Your Webcam into a Security Camera
Instead of installing a surveillance camera you can always use the webcam for keeping
track on your children as it can successfully perform the activity of taking note of all
activities. Also it is cheap and very minute and the activities can be checked with the help of
the internet.
6.1.3 Install a Wireless Intercom
You are busy eating your food and suddenly you see the vegetables are over. You call
out to your spouse to give you some who is busy in some work. You have to scream at the
top of your voice which is very embarrassing. Instead of shouting you could simply attach a
wireless intercom and call out to her and ask her for the vegetable. In this way you can save
your energy and time too.Its visible around us that crime is on the increase, families are
beginning to aim at purchasing security alarm systems for their homes. 

6.1.4 Capture Party Moments without using your Digital Camera or DSLR
The best way to capture party moments without your DSL would be with the help of a
webcam. Set the time and let it go on capturing videos and images. There are software’s
available for windows. The software helps in saving the captured pictures as JPEG files. In
30 | P a g e
that case you no more need to worry to take your camera along if you have a webcam with
you.
6.1.5 Use Automatic Sprinklers to Water your Garden
You can make your own DIY automatic sprinkler that will reduce your effort of dragging
the sprinklers out in the garden. Again you can set a time so that the sprinkler automatically
sprinkles water in the yard at the set time.
6.2 LIMITATIONS OF HOMEAUTOMATION USING DTMF
6.2.1 Number of appliances is limited
DTMF is limited to 16 pairs of tones because it was developed for telephone keypads and
the largest foreseeable matrix size I guess was 4 x 4 - this means 16 and there is no chance of
extending this because the chipsets used are not going to be revamped.
6.2.2 No security
Anyone can control the appliances by calling the mobile connected to module. This is
just a limitation in the foresight of the guy writing the article you linked - he envisaged 16
appliances that could be controlled remotely corresponding to the 16 keys. Why not use two
key-presses to activate an appliance - this technique is only limited by the ability of the user
to remember the codes AND why not have it password protected so, when you "connect"
thru to the telephone decoder the microcontroller won't allow any activation or deactivation
without a 4 digit code being entered
6.2.3 Human Error
If the equipment is not handled & installed safely, this can lead to the equipment being
damaged, and the risk of the system crashing is high.
6.2.4 Reliability
This occurs on a very rare occasions, depending on the age of the equipment it can have a
effect on the system, but otherwise the technology in the home automation systems are all up
to date.
31 | P a g e
6.2.5 Other limitations of home automation
• The receiver must reside in a location where a signal with sufficient strength can be
received from a cellular phone network.
• The only person who can communicate with the control module is the person
who will be successfully authenticated.
• Only devices with electrical controlling input ports will be possible targets for
control.
• The controlled devices will have I/O ports that will make communication with the
receiver possible.
• The receiver must have a power source (120V) attached at all times.
• Operation of the controlling unit is only possible through a cell phone with SMS
messaging capabilities.
• The controlling unit must be able to receive and decode SMS messages.

32 | P a g e
Cost Analysis
S.No Components Price (Rs.)
1. Arduino Uno 300
2. Transformer 150
3. DTMF Decoder 110
4. LEDs 20
5. AUX Cable 60
6. IC 2003 30
7. Resistors 10
8. Wires 20
9. Voltage Regulator 10
10. PCB 20
11. Capacitor 10
12. Soldering wire 50
13. Relay 120
TOTAL 810
33 | P a g e

DTMF based home automation with ADRUINO

  • 1.
    Table of Contents Chapter1 3-5 Introduction to DTMF Chapter 2 6-13 Related to Work Chapter 3 14-23 PROBLEM DESCRIPTION AND SPECIFICATION Chaper 4 24-27 SYSTEM DESIGN CHAPTER 5 28-28 VERIFICATION AND VALIDATION CHAPTER 6 29-31 CRITICAL EVALUATION ECE Archives Project Submission Form………………………………… List of Figures Figure 1.1 A DTMF telephone keypad 4 Figure : 2.1 Adruino 7 Figure : 2.2 Relay block diagram 10 Figure: 2.3 Relay Driver 11 Figure : 2.4 Power Supply block diagram 13 Figure : 3:1 Transformer 14 Figure : 3.2 Diode 15 Figure : 3.3 Voltage regulator 16 Figure : 3.4 Capacitoe 17 Figure : 3.5 Resister 17 Figure : 3.6 Pin Description 18 Figure : 3.6 Block Diagram 22 Figure : 4.1 Dual Tone Multi Frequency 24 List of Tables Table : 1.1 DTMF keypad frequency 5 Table : 2.1 Adurion specification 8 Cost Analysis 32 REFRENCES 33
  • 2.
    2 | Pa g e Abstract Traditionally electrical appliances in a home are controlled via switches that regulate the electricity to these devices. As the world gets more and more technologically advanced, we find new technology coming in deeper and deeper into our personal lives even at home. Home automation is becoming more and more popular around the world and is becoming a common practice. The process of home automation works by making everything in the house automatically controlled using technology to control and do the jobs that we would normally do manually. Home automation takes care of a lot of different activities in the house. This project we propose a unique System for Home automation utilizing Dual Tone Multi Frequency (DTMF) that is paired with a wireless module to provide seamless wireless control over many devices in a house. This user console has many keys, each corresponding to the device that needs to be activated. The encoder encodes the user choice and sends via a GSM transmitter. The GSM receiver receives the modulated signal and demodulates it and the user choice is determined by the DTMF decoder. Based upon this the required appliance is triggered.
  • 3.
    3 | Pa g e CHAPTER-1 INTRODUCTION DTMF Home Automation lets you operate your home appliances like lights and water pump from your office or any other remote place. So if you forgot to switch off the lights or other appliances while going out, it helps you to turn off the appliance with your cell phone.Your cell phone works as remote control to your home appliances. You can control the desired appliance by presetting the corresponding key. The Project “Home Automation using mobile communication” has different sections such as: 1.Microcontroller 2.DTMF decoder 3. Relays 1.1 Dual-tone multi-frequency Dual-tone multi-frequency (DTMF) signaling is used for telephone signaling over the line in the voice- frequency band to the call switching center. The version of DTMF used for telephone tone dialing is known by the trademarked term Touch-Tone and is standardized by ITU-T Recommendation Other multi- frequency systems are used for signaling internal to the telephone network.As a method of in-band signaling, DTMF tones were also used by cable television broadcasters to indicate the start and stop times of local commercial insertion points during station breaks for the benefit of cable companies. Until better out-of-band signaling equipment was developed in the 1990s, fast, unacknowledged, and loud DTMF tone sequences could be heard during the commercial breaks of cable channels in the United States and elsewhere. Today, most telephone equipment use a DTMF receiver IC. One common DTMF receiver IC is the Motorola MT8870 that is widely used in electronic communications circuits. The MT8870 is an 18-pin IC. It is used in telephones and a variety of other applications. When a proper output is not obtained in projects using this IC, engineers or technicians need to test this IC separately. A quick testing of this IC could save a lot of time in re-search labs and manufacturing industries of communication instruments. DTMF IC. It can be assembled on a multipurpose PCB with an 18-pin IC base. One can also test the IC on a simple breadboard.For optimum working of telephone equipment, the DTMF receiver must be designed to recognize a valid tone pair greater than 40 ms in duration and to accept successive digit tone-pairs that are greater than 40 ms apart. However, for other applications like remote controls and radio communications, the tone duration may differ due to noise considerations. Therefore, by adding an extra resistor and steering diode the tone duration . can be set to different values. The circuit is configured in balanced-line mode. To reject common-mode noise signals, a balanced differential amplifier input is used. The circuit also provides an excellent bridging interface across a properly terminated telephone line. Transient protection may be achieved by splitting the input resistors and inserting ZENER diodes (ZD1 and ZD2) to achieve voltage clamping. This allows the transient energy to be dissipated in the resistors and diodes, and limits the maximum voltage that may appear at the inputs. Whenever you press any key on your local telephone keypad, the delayed steering (Std) output of the IC goes high on receiving the tone-pair, causing LED5 (connected to pin 15 of IC via resistor R15) to glow.
  • 4.
    4 | Pa g e It will be high for a duration de-pending on the values of capacitor and resistors at pins 16 and 17. The optional circuit shown within dot-ted line is used for guard time adjustment. Whenever you press any key on your local telephone keypad, the delayed steering (Std) output of the IC goes high on receiving the tone-pair, causing LED5 (connected to pin 15 of IC via resistor R15) to glow. It will be high for a duration de-pending on the values of capacitor and resistors at pins 16 and 17. The optional circuit shown within dot-ted line is used for guard time adjustmed. The LEDs connected via resistors R11 to R14 at pins 11 through 14, respectively, indicate the output of the IC. The tone-pair DTMF (dual-tone multi-frequency) generated by pressing the telephone button is converted into bi-nary values internally in the IC. The binary values are indicated by glowing of LEDs at the output pins of the IC. LED1 represents the lowest signifi-cant bit (LSB) and LED4 represents the most significant bit (MSB). So, when you dial a number, say, 5, LED1 and LED3 will glow, which is equal to 0101. Similarly, for every other number dialed on your telephone, the corresponding LEDs will glow. Thus, a non-defective IC should indicate proper bi-nary values corresponding to the decimal number pressed on your telephone key-pad. To test the DTMF IC 8870/KT3170, proceed as follows:
 • Switch on S1. (Switch on auxiliary switch S2 only if keys A, B, C, and D are to be used.) • Now push key ‘*’ to generate DTMF tone. • Push any decimal key from the telephone keypad. • Observe the equivalent binary as shown in the table. 
 If the binary number implied by glowing of LED1 to LED4 is equivalent to the pressed key number, the DTMF IC 8870 is correct Keys A, B, C, and D on the telephone keypad are used for special signaling and are not available on standard pushbutton telephone keypads. Pin 5 of the IC is pulled down to ground through resistor R8. Switch on auxiliary switch S2 Fig 1.1 A DTMF telephone keypad
  • 5.
    5 | Pa g e 1.2 Keypad The DTMF keypad is laid out in a 4×4 matrix, with each row representing a low frequency, and each column representing a high frequency. Pressing a single key (such as '1' ) will send a sinusoidal tone of the two frequencies (697 and 1209 hertz (Hz)). The original keypads had levers inside, so each button activated two contacts. The multiple tones are the reason for calling the system multi frequency. These tones are then decoded by the switching center to determine which key was pressed.
 
 1209 Hz 1336Hz 1633 Hz 
 
 
 
 697 Hz 1 2 3 
 
 
 
 770 Hz 4 5 6 
 
 
 
 852 Hz 7 8 9 
 
 
 
 941 Hz * 0 # 
 
 
 
 DTMF keypad frequencies Table 1.1
  • 6.
    6 | Pa g e CHAPTER-2 RAELATED WORK 2.1 IMPLEMENATION OF Arduino UNO • The Arduino Uno is a microcontroller board based on the ATmega328P. • It has 14 digital input/output pins (of which 6 can be used as PWM outputs), 6 analog inputs, a 16 MHz quartz crystal, a USB connection, a power jack, an ICSP header and a reset button. • Simply connect it to a computer with a USB cable or power it with a AC-to-DC adapter or battery to get started.
  • 7.
    7 | Pa g e 2.2 The board Fig : 2.1 Adruino
  • 8.
    8 | Pa g e 2.3 Specifications Table : 2.1 Adurion specification
  • 9.
    9 | Pa g e 2.4 DTMF Decoder • Operating voltage: 2.5V~5.5V • Minimal external components • No external filter is required • Low standby current • Excellent performance • Tristate data output for MCU interface • 3.58MHz crystal or ceramic resonator • 18-pin SOP package 2.4 Relay • Relay is basically an electromagnetic switch which can be turn on and off by an applying the voltage across its contacts. • In this project used a 12V 4-channel relay.
  • 10.
    10 | Pa g e 3.5 How Relay Works? Fig : 2.2 Relay block diagram
  • 11.
    11 | Pa g e 3.6 Relay Driver(ULN2003) Fig:2.3 Relay Driver
  • 12.
    12 | Pa g e 3.7 Why Relay Driver? • Relay safely driven by ULN2003 IC • Protect microcontroller from relay kick back using integrated clamping diodes. • Has 7 high current Darlington arrays each containing 7 open collector Darlington pairs with common emitters.
  • 13.
    13 | Pa g e Fig : 2.4 Power Supply
  • 14.
    14 | Pa g e CHAPTER-3 PROBLEM DESCRIPTION AND SPECIFICATION 3.1 Problem Statement The objective of this project is to develop a device that allows for a user to remotely control and monitor multiple home appliances using a cellular phone. This system will be a powerful and flexible tool that will offer this service at any time, and from anywhere with the constraints of the technologies being applied. Possible target appliances include (but are not limited to) climate control systems, security systems, and lights; anything with an electrical interface. The proposed approach for designing this system is to implement a microcontroller-based control module that receives its instructions and commands from a cellular phone . The microcontroller then will carry out the issued commands and then communicate the status of a given appliance or device back to the cellular phone. For security purposes, a means of identification and user authentication will be implemented, and will combine caller identification with a password authorization. 
 3.2 Components Required 3.2.1 STEP DOWN TRANSFORMER Step down transformer from 220 volt Ac to 9-0-9 ac. We use step down transformer to step down the voltage from 220 to 9 volt ac. This AC is further connected to the rectifier circuit for AC to DC conversion. Transformer current rating is 750 ma. 
 
 
 
 
 Fig 3.1
  • 15.
    15 | Pa g e 3.2.2 DIODE In this project we use IN 4007 diode as a rectifier. IN 4007 is special diode to convert the AC into DC. In this project we use two diode as a rectifier. Here we use full wave rectifier. Output of rectifier is pulsating DC. To convert the pulsating dc into smooth dc we use Electrolytic capacitor as a main filter. Capacitor converts the pulsating dc into smooth dc and this DC is connected to the Regulator circuit for Regulated 5 volt DC. 
 
 
 
 
 Fig 3.2 Diode The Digilab board can use any power supply that creates a DC voltage between 6 and 12 volts. A 5V voltage regulator (7805) is used to ensure that no more than 5V is delivered to the Digilab board regardless of the voltage present at the J12 connector (provided that voltage is less than 12VDC). The regulator functions by using a diode to clamp the output voltage at 5VDC regardless of the input voltage - excess voltage is converted to heat and dissipated through the body of the regulator. If a DC supply of greater than 12V is used, excessive heat will be generated, and the board may be damaged. If a DC supply of less than 5V is used, insufficient voltage will be present at the regulators output.
  • 16.
    16 | Pa g e 
 
 
 
 Fig 3.3 Voltage regulator 3.2.6 RELAYS In order to enable a circuit to be isolated from the system only under faulty conditions, protective relays are used. In normal cases, it is open circuit relay. The relay is usually provided with 4 terminals, two of which are connected to relay winding and other two are connected to the circuit to be controlled. It has following characteristics : • Sensitivity • Selectivity • speed 3.2.7 CAPACITOR A capacitor is an electrical/electronic device that can store energy in the electric field between a pair of conductors (called "plates"). The process of storing energy in the capacitor is known as "charging", and involves electric charges of equal magnitude, but opposite polarity, building up on each plate. Capacitors are often used in electric and electronic circuits as energy storage devices. They can also be used to differentiate between high frequency and low-frequency signals This property makes them useful in electronic filters. 

  • 17.
    17 | Pa g e 
 
 Fig 3.4 Capacitoe 
 3.2.8 RESISTOR A resistor is a two-terminal electrical or electronic component that opposes an electric current by producing a voltage drop between its terminals in accordance with Ohm's law: The electrical resistance is equal to the voltage drop across the resistor divided by the current through the resistor while the temperature remains the same. Resistors are used as part of electrical networks and electronic circuits. 
 
 
 
 Fig 3.5 Resister 

  • 18.
    18 | Pa g e 3.2.9 MICROCONTROLLER 
 3.2.9.1 Features • 8K Bytes of In-System Programmable (ISP) Flash Memory • 4.0V to 5.5V Operating voltage. • Fully Static Operation: 0 Hz to 33 MHz • 256 * 8-bit Internal RAM • 32 Programmable I/O Lines • Three 16-bit Timer/Counters • Eight Interrupt Sources • Full Duplex UART Serial Channel • Interrupt Recovery from Power-down Mode • Power-off Flag • Fast Programming Time • Flexible ISP Programming 3.2.9.2 Description The is a low-power, high-performance CMOS 8-bit microcontroller with 8K bytes of in-system programmable Flash memory. The device is manufactured using Atmel’s high-density nonvolatile memory technology and is compatible with the indus-try-standard instruction set and pinout. The on-chip Flash allows the program memory to be reprogrammed in-system or by a conventional nonvolatile memory programmer. By combining a versatile 8-bit CPU with in-system programmable Flash on a monolithic chip, the is a powerful microcontroller which provides a highly-flexible and cost-effective solution to many embedded control applications. The AT89S52 provides the following standard features: 8K bytes of Flash, 256 bytes of RAM, 32 I/O lines, Watchdog timer, two data pointers, three 16-bit timer/counters, a six-vector two-level interrupt architecture, a full duplex serial port, on-chip oscillator, and clock circuitry. In addition, the is designed with static logic for operation down to zero frequency and supports two software selectable power saving modes. The Idle Mode stops the CPU while allowing the RAM, timer/counters, serial port, and interrupt system to continue functioning. The Power-down mode saves the RAM con-tents but freezes the oscillator, disabling all other chip functions until the next interrupt or hardware reset.
  • 19.
    19 | Pa g e 3.2.9.3 Pin Description Pin Description Fig 3.6 • VCC Supply voltage. • GND Ground. • Port 0 Port 0 is an 8-bit open drain bi-directional I/O port. As an output port, each pin can sink eight TTL inputs. When 1s are written to port 0 pins, the pins can be used as high-impedance inputs. Port 0 can also be configured to be the multiplexed low-order address/data bus during accesses to external program and data memory. In this mode,P0 has internal pull-ups. Port 0 also receives the code bytes during Flash programming and outputs the code bytes during program verification.
  • 20.
    20 | Pa g e External pull-ups are required during program verification • Port 1 Port 1 is an 8-bit bi-directional I/O port with internal pull-ups. The Port 1 output buffers can sink/source four TTL inputs. When 1s are written to Port 1 pins, they are pulled high by the internal pull-ups and can be used as inputs. As inputs, Port 1 pins that are externally being pulled low will source current (IIL) because of the internal pull-ups. In addition, P1.0 and P1.1 can be configured to be the timer/counter 2 external count input (P1.0/T2) and the timer/counter 2 trigger input (P1.1/T2EX), respectively, as shown in the following table. Port 1 also receives the low-order address bytes during Flash programming and verification.
 • Port 2 Port 2 is an 8-bit bi-directional I/O port with internal pull-ups. The Port 2 output buffers can sink/source four TTL inputs. When 1s are written to Port 2 pins, they are pulled high by the internal pull-ups and can be used as inputs. As inputs, Port 2 pins that are externally being pulled low will source current (IIL) because of the internal pull-ups. Port 2 emits the high-order address byte during fetches from external program memory and during accesses to external data memory that use 16-bit addresses (MOVX @ DPTR). In this application, Port 2 uses strong internal pull-ups when emitting 1s. During accesses to external data memory that use 8-bit addresses (MOVX @ RI), Port 2 emits the contents of the P2 Special Function Register. Port 2 also receives the high-order address bits and some control signals during Flash programming and verification. • Port 3 Port 3 is an 8-bit bi-directional I/O port with internal pull-ups. The Port 3 output buffers can sink/source four TTL inputs. When 1s are written to Port 3 pins, they are pulled high by the internal pull-ups and can be used as inputs. As inputs, Port 3 pins that are externally being pulled low will source current (IIL) because of the pull-ups. Port 3 receives some control signals for Flash programming and verification. Port 3 also serves the functions of various special features of the • RST Reset input. A high on this pin for two machine cycles while the oscillator is running resets the device. This pin drives high for 98 oscillator periods after the Watchdog times out. The DISRTO bit in SFR AUXR (address 8EH) can be used to disable this feature. In the default state of bit DISRTO, the RESET HIGH out feature is enabled. 
 • ALE/PROG Address Latch Enable (ALE) is an output pulse for latching the low byte of the address during accesses to external memory. This pin is also the program pulse input (PROG) during Flash programming. In normal operation, ALE is emitted at a constant rate of 1/6 the oscillator frequency and may be used for external timing or clocking purposes. Note, however, that one ALE pulse is skipped dur-ing each access to external data memory. If desired, ALE operation can be disabled by setting bit 0 of SFR location 8EH. With the bit set, ALE is active only during a MOVX or MOVC instruction. Otherwise, the pin is weakly pulled high. Setting the ALE-disable bit has no effect if the microcontroller is in external execution mode. • PSEN Program Store Enable (PSEN) is the read strobe to external program memory. When the AT89S52 is executing code from external program memory, PSEN is activated twice each
  • 21.
    21 | Pa g e machine cycle, except that two PSEN activations are skipped during each access to external data memory. • EA/VPP External Access Enable. EA must be strapped to GND in order to enable the device to fetch code from external program memory locations starting at 0000H up to FFFFH. Note, however, that if lock bit 1 is programmed, EA will be internally latched on reset. EA should be strapped to VCC for internal program executions. This pin also receives the 12-volt programming enable voltage (VPP) during Flash programming. • XTAL1 Input to the inverting oscillator amplifier and input to the internal clock operating circuit. • XTAL2 Output from the inverting oscillator amplifier. 

  • 22.
    22 | Pa g e 3.2.9.4 Block Diagram 
 
 
 
 
 
 
 
 
 
 
 
 
 Fig 3.6 Block Diagram
  • 23.
    23 | Pa g e The 89S52 has 4 different ports, each one having 8 Input/output lines providing a total of 32 I/O lines. Those ports can be used to output DATA and orders do other devices, or to read the state of a sensor, or a switch. Most of the ports of the 89S52 have 'dual function' meaning that they can be used for two different functions. The first one is to perform input/output operations and the second one is used to implement special features of the microcontroller like counting external pulses, interrupting the execution of the program according to external events, performing serial data transfer or connecting the chip to a computer to update the software. Each port has 8 pins, and will be treated from the software point of view as an 8-bit variable called 'register', each bit being connected to a different Input/Output pin. There are two different memory types: RAM and EEPROM. Shortly, RAM is used to store variable during program execution, while the EEPROM memory is used to store the program itself, that's why it is often referred to as the 'program memory'. It is clear that the CPU (Central Processing Unit) is the heart of the micro controllers. It is the CPU that will Read the program from the FLASH memory and Execute it by interacting with the different peripherals.
  • 24.
    24 | Pa g e CHAPTER-4 SYSTEM DESIGN This system is designed for controlling the devices, it includes a cell phone which is connect to the system via head set. To active the cellular phone part of the system a call is to be made and as the call is answered, in response the user would enter a three/four(as he/she want) digit password to access the system to control devices. As the caller press the specific password, it results in turning ON or OFF specific device. The device switching is achieved by Relays. 4.1 Design characteristics First of all a short list of embedded control system design characteristics and their application to the current subject of home/building automation systems. These are the characteristics a design engineer has to keep in mind when designing such an automation system: 4.2 About DTMF - Dual Tone Multi Frequenc Fig 4.1 Dual Tone Multi Frequency The M-8870 is a full DTMF Receiver that integrates both band split filter and decoder functions into a single 18-pin DIP or SOIC package. Manufactured using CMOS process technology, the M-8870 offers low power consumption (35 mW max) and precise data handling. Its filter section uses switched capacitor technology for both the high and lowgroup filters and for dial tone rejection. Its decoder uses digital counting techniques to detect and decode all 16 DTMF tone pairs into a 4-bit code. External component count is minimized by provision of an on-chip differential input amplifier, clock generator, and latched tri- state interface bus. Minimal external components required include a low-cost 3.579545 MHz color burst
  • 25.
    25 | Pa g e crystal, a timing resistor, and a timing capacitor. An MT8870 series DTMF decoder is used here. All types of the MT8870 series use digital counting techniques to detect and decode all the 16 DTMF tone pairs into a 4-bit code output. The built-in dial tone rejection circuit eliminates the need for pre-filtering. When the input signal given at pin 2 (IN-) in single-ended input configuration is recognized to be effective, the correct 4-bit decode signal of the DTMF tone is transferred to Q1 (pin 11) through Q4 (pin 14) outputs. 4.4 SYSTEM DESIGN 4.4.1 Design values 1.The DTMF tones from the mobile phone on the receiver side are given to a differential amplifier whose gain can be varied by connecting a feedback resistor from pin no. 3(which is the output of op-amp) of CM8870.In our application the required gain is unity so we select, R1=100Kohms, R2=100Kohms =>Gain=R2/R1=1 2.The internal clock circuit of CM8870 is completed with addition of a ceramic resonator having resonant frequency of 3.58MHz.The internal clock circuit of CM8870 is completed with addition of a ceramic resonator having resonant frequency of 3.58MHz. 3.Before the registration of a decoded tone pair, the receiver (CM8870) checks for a valid signal duration (duration for which a key is pressed by the remote user).This check is performed by an external RC time constant driven by E.The minimum time duration for which a key should be pressed to validate itself is decided by R 3& C3.There values aredecided by the formula: Trec=Tdp+Tgtp Where, Tgtp=0.67*R 3*C3 Tdpis the time to detect the presence of a valid signal. So it is a parameter of the device.trecis the minimum time duration for which a key must be pressed by the remote user for validation. For, trec= 40ms R.3=300Kohms C3=0.1uf 4.TOE - This is the Tone Output Enable. A low level shifts Q1-Q4 toits high impedance state. A high level makes the binary output available on the output pins(Q1-Q4).
  • 26.
    26 | Pa g e 4.5 Design values for Microcontroller : 1.Port 1 of the microcontroller is made an input port by writing all one’s to it, and port 0 is the output port which is connected to the relay driver IC (U3). 2.The reset pin of U2 (pin no. 9) is connected to the reset circuit ie, R.4=10Kohms C5=10uf 4.6 Components List: To build and access this project the requisites are: 1.Transformerwith turns ratio 230:15. 2.A voltage regulator IC(7805) 3.2 diodes(1N4007) 6. 4 Resistances: 100 Kohms (2 q) 300 Kohms(1q) 10 Kohms(1q) 7. 2 crystals: 3.58MHz12MHz 8. 4 two pinrelimates(male and female). 9. Two phones-We need one cell phone with auto answer facility on the receiver side and one phone(which can either be a cell phone or land line) with the remote user. 10. A Chord with a male connector-We need a chord with a male connector connected onone side and one end left open. The dimensions of the connector should be same as thedimensions of the jack present in the phone with the control unit. (In our case we used a 3.5mm jack) 11.DTMF tone decoding IC-IC for converting DTMF toness to their respective binaryvalues. We used CM8870. 12.Microcontroller-AT89s52 microcontroller. 13.Relay deriver IC- ULN 2803 14.Two relays of 5v driving voltage each. 15.Two bulbs of power rating 25Watts. 4.7 IMPLEMENTATION OF SYSTEM 4.7.1 System Algorithm: 1. Person who wants to switch on/off a device calls on the phone at the receiver side. 2. The call gets answered automatically if it is not picked up manually till 5seconds. 3. Once the call gets answered we have to enter a password for authentication (in our case it is1 2).
  • 27.
    27 | Pa g e 4. Then after entering the password we have to make a choice for switching on/off any device (Press ‘*’ for switch on and ‘#’ for switch off). 5. Then we have to enter the corresponding number for a device that we wish to switch on/ off (‘6’ for first device and ‘7’ for the second). 6. After switching on/off device once, if we again want to switch on/off a device than weagain have to enter the password and repeat the whole procedure. Note:On the transmitter side the user controlling the appliance’s has to press each digit for aminimum duration of time, which is40ms 4.7.2 Program algorithm: 1. On start of the system all the devices are off. 2. If a key press is detected, program goes to 3, else it stays here. 3. If the pressed key is 1 then program goes to 4, else it goes to 2. 4. If 2 is pressed (correct password) program goes to 5,else it goes to 2. 5. Now the microcontroller checks whether you want to switch on/off the device. 4.8 Performance and evaluation of the system 1. The receiver must reside in a location where a signal with sufficient strength can be received from a cellular phone network. 2. The only person who can communicate with the control module is the person who will be successfully authenticated.
  • 28.
    28 | Pa g e CHAPTER 5 VERIFICATION AND VALIDATION 5.1 FLOWCHART The implementation of the project follows a flowchart that has been described in details which follows the sequence: 1. Ports of microcontroller are set i. Port A is set as input for DTMF signal. ii. Port B is set as output for switching relays. 2. Call is established between the remote station phone and phone attached to DTMF system. 3. The phone is in auto pickup mode. 4. DTMF Decoder decodes the DTMF signal into binary form and sends to microprocessor for further action. 5. Process is as follows i. If 9 is pressed all the appliances will be turned off. ii. If 1 is pressed once relay 1 will be turned on. iii. If 1 is pressed twice relay 1 will be turned off. iv. If 2 is pressed once relay 2 will be turned on. v. If 2 is pressed twice relay 2 will be turned off and so on. 6. After that microprocessor will check if the is on hook or not, if not it will wait for next instruction.
  • 29.
    29 | Pa g e CHAPTER 6 CRITICAL EVALUATION 6.1 APPLICATIONS OF HOMEAUTOMATION USING DTMF There are numerous application areas of home automation using DTMFThe purpose of this Application Note is to provide information on the operation and application of DTMF a few of which are outlined below: 6.1.1 Effective control of home appliances Effective control of home appliances like Air Conditioners, Water Heaters, Thermal Baths, Furnaces Incubators. Home appliances control, Hotel lights/ fans Control, Shops and Showrooms appliances control, Industrial appliances etc. 6.1.2 Turn Your Webcam into a Security Camera Instead of installing a surveillance camera you can always use the webcam for keeping track on your children as it can successfully perform the activity of taking note of all activities. Also it is cheap and very minute and the activities can be checked with the help of the internet. 6.1.3 Install a Wireless Intercom You are busy eating your food and suddenly you see the vegetables are over. You call out to your spouse to give you some who is busy in some work. You have to scream at the top of your voice which is very embarrassing. Instead of shouting you could simply attach a wireless intercom and call out to her and ask her for the vegetable. In this way you can save your energy and time too.Its visible around us that crime is on the increase, families are beginning to aim at purchasing security alarm systems for their homes. 
 6.1.4 Capture Party Moments without using your Digital Camera or DSLR The best way to capture party moments without your DSL would be with the help of a webcam. Set the time and let it go on capturing videos and images. There are software’s available for windows. The software helps in saving the captured pictures as JPEG files. In
  • 30.
    30 | Pa g e that case you no more need to worry to take your camera along if you have a webcam with you. 6.1.5 Use Automatic Sprinklers to Water your Garden You can make your own DIY automatic sprinkler that will reduce your effort of dragging the sprinklers out in the garden. Again you can set a time so that the sprinkler automatically sprinkles water in the yard at the set time. 6.2 LIMITATIONS OF HOMEAUTOMATION USING DTMF 6.2.1 Number of appliances is limited DTMF is limited to 16 pairs of tones because it was developed for telephone keypads and the largest foreseeable matrix size I guess was 4 x 4 - this means 16 and there is no chance of extending this because the chipsets used are not going to be revamped. 6.2.2 No security Anyone can control the appliances by calling the mobile connected to module. This is just a limitation in the foresight of the guy writing the article you linked - he envisaged 16 appliances that could be controlled remotely corresponding to the 16 keys. Why not use two key-presses to activate an appliance - this technique is only limited by the ability of the user to remember the codes AND why not have it password protected so, when you "connect" thru to the telephone decoder the microcontroller won't allow any activation or deactivation without a 4 digit code being entered 6.2.3 Human Error If the equipment is not handled & installed safely, this can lead to the equipment being damaged, and the risk of the system crashing is high. 6.2.4 Reliability This occurs on a very rare occasions, depending on the age of the equipment it can have a effect on the system, but otherwise the technology in the home automation systems are all up to date.
  • 31.
    31 | Pa g e 6.2.5 Other limitations of home automation • The receiver must reside in a location where a signal with sufficient strength can be received from a cellular phone network. • The only person who can communicate with the control module is the person who will be successfully authenticated. • Only devices with electrical controlling input ports will be possible targets for control. • The controlled devices will have I/O ports that will make communication with the receiver possible. • The receiver must have a power source (120V) attached at all times. • Operation of the controlling unit is only possible through a cell phone with SMS messaging capabilities. • The controlling unit must be able to receive and decode SMS messages.

  • 32.
    32 | Pa g e Cost Analysis S.No Components Price (Rs.) 1. Arduino Uno 300 2. Transformer 150 3. DTMF Decoder 110 4. LEDs 20 5. AUX Cable 60 6. IC 2003 30 7. Resistors 10 8. Wires 20 9. Voltage Regulator 10 10. PCB 20 11. Capacitor 10 12. Soldering wire 50 13. Relay 120 TOTAL 810
  • 33.
    33 | Pa g e