1 | P a g e
1.0 Introduction
Located at Jalan SS13/3A, Subang Jaya, this four-storeys multipurpose building known as
Lifepoint, Subang Jaya Assembly of God was constructed from the old Faber Castell office
and factory that is now changed into a church that is also commonly used as a community
center to hold various events and activities. SH Teh Architect had redesigned the building
alongside the existing structures on the 21th
of November 2009 and renovated once more on
the 10th
of October 2011.
Architect: Ar. Teh Soh Huang
Total floor area: 4559.2m2
Address:
14 Jalan SS13/3A
47500 Subang Jaya
Selangor Darul Ehsan
Malaysia.
1.1 Abstract
The following research report will be a compilation of the working building services in the
Lifepoint Building such as the Air conditioning and ventilation system, Electrical supply
system, Mechanical transportation and Fire protection system. This report will further delve
into the process that these systems undergo in accordance to the Uniform Building By-Laws
and other related regulations as well as our own analysis on the advantages and disadvantages
of the services.
SITE
2 | P a g e
MECHANICAL VENTILATION AND AIR-CONDITIONING SYSTEM
2.0 Introduction
Life Point Church operates mostly on split unit air conditioning system because of its small
divided spaces. But the main hall is too big for split unit air conditioning system to provide
conditioned and quality air. So the centralised air conditioning system is used to provide
adequate fresh cool air to the main hall. The air handling unit is located just behind the main
hall which is on top of the robbing room and there are not one but two rooms (one for each
sides). This is to reduce the ductwork required to transfer the cool air from the AHU and to
reduce heat lost from the cool air thus increasing the efficiency of the air conditioning system
and as a strategic if one breaks down. The condenser units are placed outside the robbing
room for the same reason.
▲Figure 2.0.1: Location plan of AHU ▲Figure 2.0.2: Entrance of AHU
Room
▲Figure 2.0.3: Location of Condenser Units ▲Figure 2.0.4: Condenser units outside robbing room
3 | P a g e
2.1 Literature Review
A HVAC (Heating, Ventilating and Air Conditioning) system is to provide the people
working inside buildings with “conditioned” air so that they will have a comfortable and safe
work environment. “Conditioned” air means that air is clean and odour-free, and the
temperature, humidity, and movement of the air are within certain comfort ranges (BNP
Media, 2000) To ensure that the air quality in a building is maintained, The American Society
of Heating, Refrigerating and Air-Conditioning Engineers (ASHRAE) has set standards that
more than 80% or more of a commercial building occupants accepts the indoor air quality
provided.
2.1.1 Mechanical Ventilation
To avoid symptoms of sick building syndrome, mould growths, asthma and dust mite
allergies, provision of air circulation must be integrated with building design. Air infiltration
can be achieved by natural or mechanical ventilation means. Natural ventilation by these
means is difficult to regulate in defined quantities, therefore low-energy-use mechanical
ventilation systems, particularly those with a heat recovery facility, are becoming quite
common in new-build homes. But when there is enough air ventilation provided from the
openings of the building, mechanical exhaust might be needed to extract stale air from
internal spaces.
Requirements for an acceptable amount of fresh air supply in buildings will vary
depending on the nature of occupation and activity. Air change per hour or ventilation rate is
preferred criterion for system design. This is calculated by dividing the quantity of air by the
room volume and multiplying by the occupancy (Hall & Greeno, 2007)
Typical mechanical ventilation systems used by buildings are supply ventilation system,
exhaust ventilation system and balance ventilation system (Energy star, n.d.)
◄Figure 2.1.1.1: Exhaust
Ventilation (Central Air, Inc., 2014)
4 | P a g e
Case Study
2.1.2 Air-Conditioning
Air-conditioning is a process that simultaneously conditions air; distributes it combined with
the outdoor air to the conditioned space; and at the same time controls and maintains the
required space’s temperature, humidity, air movement, air cleanliness, sound level, and
pressure differential within predetermined limits for the health and comfort of the occupants,
for product processing, or both (Wang & Lavan, 1999)
Air conditioning is achieved by developing the principles of moving air in ducted
ventilation systems to include a number of physical and scientific processes which enhance
the air quality. The objective is to provide and maintain internal air conditions at a
predetermined state, regardless of the time of year, the season and the external atmospheric
environment. For buildings with human occupancy, the design specification is likely to
include an internal air temperature of 19-23˚C and relative humidity between 40 and 60%
(Hall & Greeno, 2007)
Types of air conditioning system, individual system, space system, packaged system, air
system, water system, central plan refrigerant and heating system, and control system (Wang
& Lavan, 1999)
In assembly buildings with seating, people generally remain in one place throughout a
performance, so they cannot move away from drafts. Therefore, good air distribution is
essential. Because of the configuration of these spaces, supply jet nozzles with long throws of
15 to 45m may need to be installed on sidewalls. For ceiling distribution, downward throw is
not critical if returns are low. This approach has been successful in applications that are not
noise-sensitive, but designer needs to select air distribution nozzles carefully (ASHRAE,
2011)
▲Figure 2.1.2.1: Standard of Air Change Rate (Mitsubishi Electric, 2011)
5 | P a g e
2.2 Mechanical Ventilation
Indoor
Outdoor
▲Figure 2.2.1: Air flow of Spot Ventilation System
▲Figure 2.2.2: Ground Floor Plan, rooms where Mechanical Ventilation is applied
The spot ventilation system practiced in this building is the extract system where they use
natural inlet and mechanical extract. The internal space is constantly ventilated whilst indoor
air is drawn out causing space to be slightly depressurized. This type of mechanical
ventilation is used in the toilets and the pantry of the case study building. This is mostly
practised in hot humid climates where there is a risk of drawing hot outdoor air into
remaining holes and cracks in the construction assembly where it could reach cool interior
surfaces, condense, and cause moisture problems, stated by Energy star (n.d.)
Natural inlet
(Openings)
Mechanical
outlet
(Propeller Fan)
Stale air
Fresh Air
6 | P a g e
2.2.1 Natural inlet – Windows
▲ Figure 2.2.1.1: Windows in the Toilet ▲ Figure 2.2.1.2: Window in Pantry
As stated in UBBL 39(1) that every room designed shall be provided with natural lighting
and natural ventilation by means of one or more windows having a total area of not less than
10% of the clear floor area of such room and shall have openings capable of allowing a free
uninterrupted passage of air or not less than 10% of such floor area. The large window
openings for the rooms stated in Figure 2.2.2. are slightly exceeding the required area
accordance to the function and usage of the rooms and the area of the respective rooms.
Where the pantry has an area of 17.1 but there is a 2.25 of window opening provided
which is 13.1% of the total floor area meeting the requirement of UBBL.
In UBBL 39(4), every water-closet, latrine, urinal or bathroom shall be provided with
natural lighting and natural ventilation by means of one or more openings having a total area
of not less than 0.2 square metres per water-closet, urinal latrine or bathroom and such
openings shall be capable of allowing a free uninterrupted passage of air. Whereas the total
area of the female toilet is 22.2 and the windows have a total area of 1.8 which is again,
more than what is required as there are just five water-closets in the female toilet. Having
windows that exceeds the requirements isn’t all a bad thing as horizontal railings are installed
for security and safety purposes. By having large surface area of window openings allows
prevailing wind to pass through it introducing fresh air into the internal spaces of the building
while maintain the indoor air quality.
7 | P a g e
2.2.2 Mechanical extract – Propeller fan
According to the Third Schedule (2), the inlets should be at high level with extraction points
at low level. Re circulation arrangements should not be provided. The incoming air should be
filtered and air-conditioned (the theatre temperature being capable of adjustment with
mechanical requirements within the range 20 °C to 24.4°C. Control over humidity of air in
the rooms should be provided to ensure that it will be within the range of 55% to 65%. And in
the Third Schedule (5), Air inlet points shall be not lower than two-thirds of the height of the
room and exhaust air openings shall be within 1 metre of the finished floor level of the
enclosure.
This method of natural inlet and mechanical outlet is used only in various part of the
building. Locations like, toilets, pantry. As mentioned, internal space requires stale air to be
transferred out to ensure that indoor air quality is maintained and to have a comfortable
internal environment.
2.3 Air-Conditioning System
Air-conditioning system is a system for controlling the temperature and humidity of air in a
building (Space Air conditioning plc, 2014) Besides controlling the temperature of the room
in the building, air-conditioning provides ventilation to the space bringing oxygen for the
occupants to breathe in while filtering off dust, pollen and other micro particles from the
recycled air that will bring harm them.
There are two types of air-conditioning systems in our building which are the split unit
air-conditioning system and the centralised air-conditioning system.
▲Figure 2.2.2.1: Propeller in Kitchen ▲Figure 2.2.2.2: Surface Mounted Fan
8 | P a g e
2.3.1 Centralised Air Conditioning System
▲Figure 2.3.1.1: Location of Central Air Conditioning System
▲Figure 2.3.1.2: Central Air Conditioning System (Pisupati, 2014)
This centralized air-conditioning system could be seen in the main hall, where the air
handling unit (AHU) is located behind the stage. In this case, there are two AHU room in the
building to provide conditioned air to the main hall which is the biggest room in the whole
building. There are few basic mechanical components which work together to create a
comfortable internal environment for the users (How Central Air Conditioner Works, n.d.)
9 | P a g e
One of the components is the compressor (refer 2.3.2.3) which controls the pressure
difference in the whole central air conditioning system. The high pressured gas from
compressor will then moves to the condenser (refer to 2.3.2.4) to release the heat outdoor
with the aid of condenser fan in the unit. The refrigerant is condensed here turning it to liquid
form. The evaporator (refer to 2.3.2.7) and blower (refer to 2.3.2.11) work as one to cool
down the main hall. The refrigerant flows through the evaporator whereas the blower is
responsible to suck the return air into the AHU then blow it out through the evaporator while
the refrigerant removes the heat from the air. There is a meter device, which controls the
amount of refrigerant passing through, called expansion valve (refer 2.3.2.6). In events of
fire, fire damper (refer to 2.3.2.15) in the ducting system will act. (Knapp. 2014)
10 | P a g e
2.3.2 Components of Air Conditioner
2.3.2.1 Refrigerant Cycle
▲Figure 2.3.2.1.1: Refrigerant cycle in air-conditioner (Warrior Press, 2014)
For air conditioner to operate, the refrigerant must be used repeatedly. The refrigerant
undergoes the same cycle of compression, condensation, expansion and evaporation in a
closed circuit (Hoffman, 2006)
High pressure liquid
Low pressure liquid
Condenser
Expansion
Valve
Evaporator
Compressor
High pressure gasLow pressure gas
▲Figure 2.3.2.1.2: Basic Refrigerant Cycle
11 | P a g e
Firstly, the refrigerant goes into the compressor (refer 2.3.2.3) as a low pressure gas and
comes out as a high pressure gas. The gas will then move to the condenser (refer 2.3.2.4) and
the gas will start to condense into liquid while removing its heat outside. As the high pressure
liquid flows into the expansion valve (refer 2.3.2.6), the flow of liquid is restricted and the
pressure is lowered as it leaves the expansion valve. After that, the low pressure liquid moves
into the evaporator (refer to 2.3.2.7) and ended up in the compressor where the cycle is
repeated.
2.3.2.2 Air Cycle
The air cycle between the interior spaces and the AHU room works together as one. Air cycle
is a process where the conditioned air is distributed back to the room. The heat inside the
spaces is removed when the air is absorbed by the evaporator (refer to 2.3.2.7). Then the hot
refrigerant will flow back towards the condenser (refer to 2.3.2.4) and release the heat back
to the external environment.
▲Figure 2.3.2.2.1: Schematic diagram of Air Cycle
12 | P a g e
2.3.2.3 Compressor
▲Figure 2.3.2.3.1: First Floor Plan with Compressor indicated
Total compressors used for site are ten, five on the right and another five on the left. This
is done in case there is an emergency breakdown, thus the other five compressors can still be
operated. This component is located in the condenser unit which is the Packaged Unit Air
Conditioning System, located outdoor for ventilation. Type of compressor used would be the
reciprocating compressor, where gas is extracted into cylinder in piston stroke, discharge
valve opens when compressed, as the low pressured vaporized refrigerant flows through the
compressor, it will be compressed to high pressure causing it to be very hot. One of the
advantages of using reciprocating compressor would be that high pressure could be achieved
with low mass flow and is cheap.
▲Figure 2.3.2.3.2: Condenser Unit with Compressor Inside
13 | P a g e
2.3.2.4 Condenser
The condenser and compressor are placed together in the same system, as they used the
centralised air conditioning system, while them both plays different role, the condenser is in
charge of removing heat from the high pressure liquefy refrigerant thus condensing the liquid
to vapour form.
2.3.2.5 Air Handling Unit Rooms (AHU)
▲Diagram 2.3.2.5.1: First Floor Plan with AHU Room indicated.
The AHU Rooms are located at the back of the main hall and the compressors being behind
the room allows easy access and maintenance. It is important to locate the AHU room in an
appropriate location as it affects structural costs, architectural design. Inside there is the
control panel (refer 2.3.2.8), evaporator (refer 2.3.2.7), expansion valve (refer 2.3.1.6),
blower (2.3.2.11) and the entire system needed to run the air-conditioning system. There are
▲Figure 2.3.2.4.1: Condenser Unit
14 | P a g e
a total of two AHU rooms in the entire building. Both used to facilitate just for the main hall.
The AHU room is usually restricted as it is where the machinery is located. It is important for
the ventilation engineers to design the AHU room accordance to required air conditioning
system to it. According to ASHRAE (2011), making sure that the room meets the project’s
budget and provides compliance with the prescribed regulatory requirements such as building
life safety, energy and ventilation code is important.
2.3.2.6 Expansion Valve
Situated in the air handler where it is near the evaporator. When the high pressure liquid
flows through the expansion valve, it will then lowered the pressure of the liquid and
restricted the volume of the flow of the liquid and its pressure as it passes to the condenser.
2.3.2.7 Evaporator
Positioned in the AHU Room this is behind the main hall. It is a system filled with coils
where it will convert low pressure liquid refrigerant into low pressure vapour refrigerant
when the refrigerant absorbs heat. This is known as the evaporation process. Low pressure
liquid that was partially collected from the expansion valve and main hall will be passes on to
condenser unit to be pressurized by the compressor.
15 | P a g e
2.3.2.8 Control Panel
Electricity for the air conditioning system is separated from the power and lighting system.
This is due to the fact that if the electric circuit for the lighting trips, they would be able to
control their air conditioning system. This could be taken into account as an emergent
solution. The air conditioning system has their very own panel board in the consumer switch
room. And each air conditioning unit has their own circuit breaker, each labelled accordingly
in order not to cause confusion for personnel who have little knowledge on the air
conditioning system. Control panels allow occupant to adjust room temperature accordingly
to fit their comfort.
▲Figure 2.3.2.8.1: HVAC System Control Panel in Consumer Switch Room (left) Control Panel
of Compressor to indicated designated temperature (right)
16 | P a g e
2.3.2.9 Air Filter
Air filter placed on the exterior of machineries and equipment are used to protect the
machinery and equipment. It is generally used to filter out dust and unwanted substance
before being suck into the system. Filters needs to be changed occasionally, as used filter
would affect the quality of airflow in space.
2.3.2.10 Ventilation
Louver placed on the on the wall of room in order to provide ventilation to AHU room. The
ventilation is also used to allow air flow inside room, thus to be ‘recycle’. And accordance to
ASHRAE (2011), by providing ventilation means into the breathing zone of facility
occupants.
▲Figure 2.3.2.10.1: Ventilation louver inside AHU
Room
▲Figure 2.3.2.9.1: Air filters on machinery ▲Figure 2.3.2.9.2: Tissue being used as
demonstration
17 | P a g e
2.3.2.11 Blower
This blower fan is located near the evaporator to blow warm return air passed the evaporator
coil to remove heat from the return air and discharge the cool supply back to the internal
spaces through the cone diffuser.
2.3.2.12 Supply Air Diffuser
Air supply for large spaces should be designed in order to provide thermal comfort for user.
According to ASHRAE (2011), air is generally distributed from height of 4.3m and greater.
By designing the diffuser at a tall height, air could be flow out and produce a constant
temperature for space. The evaporator behind the cone diffuser, a system of coils that, when
filled with cold refrigerant, it cools the air around it. It will then convert low pressure liquid
refrigerant into low pressure vapour refrigerant. Hence cool air is produced.
2.3.2.13 Return Air Griller
▲Figure 2.3.2.13.1: Mechanical
extraction in main hall under stage
▲Figure 2.3.2.12.1: A line of cone Diffuser ▲Figure 2.3.2.12.2: Close-up of Cone Diffuser
18 | P a g e
The Third Schedule (5) pointed out that, air inlet points shall be not lower than two-thirds of
the height of the room and exhaust air openings shall be within 1 metre of the finished floor
level of the enclosure. Whereas the louvers acting as openings, allows the mechanical
extraction in the AHU Room, absorbs the water vapour and stale air, where the ducts would
bring the unclean air and odour to compressor as to ‘recycle’ the air. This mechanical extract
is also to help maintain cleanliness of the carpet, just so the carpet would not absorb the water
vapour causing it to be moist.
2.3.2.14 Duct System
Ducting is used to transfer cool air to space. It is also used to convey exhaust air from hood to
the outside along with any grease, smoke, VOCs and odours that are not extracted from the
airstream along the way. These ducts act as an airstream from the internal to the external, vice
versa. The ducts must be grease tight; it must be clear of combusts, or combustible material
must be protected so that it cannot be ignited by fire in ducts; and ducts must be sized to
convey the volume of airflow necessary to remove the effluence as stated in (ASHRAE,
2010). In order to control the volume of air flow to space, dampers (refer to 2.3.4.1), are used.
It is the ventilation engineers’ job to figure the specified type of ducting that would suit the
airway based on the velocity of air. As ASHRAE (2010) stated that if the air way is oversized
and velocity is low, it will cost more than necessary. Appropriate air velocity should be under
6m/s.
Figure 2.3.2.14.1: Ducting System in AHU Room
19 | P a g e
2.3.2.15 Dampers
Dampers are found inside ducting system of ventilation. It’s serve to control the volume of air
exhausted out from HVAC system. Also serving the purpose of fire protection if fire breaks
out and smoke kindled, dampers can be used to block out smoke from flowing to another
space. As static fire dampers applied in HVAC system are built in to shut down in the events
of a fire upon detection (Knapp, 2014)
2.3.2.16 Pipe System
There are two main lines in the Pipe System; liquid line and suction line.
The liquid line is located between the condenser unit and the evaporator. In the
condenser unit, the condenser fan will introduce air into the unit and heat from the internal
spaces absorbed by the refrigerant will be released to the external surrounding. The smaller
diameter of the tube carries liquid refrigerant from the condenser unit where the line will get
very hot when the refrigerant is pressurised as it passes through the tube. In the Life Point
Church, the liquid line is not insulated as the heat transfer between the refrigerant and the
surrounding is minimal because of the climate in Malaysia.
The suction line is a larger diameter tube that carries refrigerant vapour between the
evaporator and the condenser unit. This line is very cold when it is in operation because the
vaporized refrigerant expands as it cools down. When the refrigerant pass through the
evaporator, the return air will be sucked into the unit and cool air will be blown out by the
blower in the evaporator causing the rooms temperature to be cool. This line has to be
insulated using the rubber insulation pipe to prevent heat gain from the external surrounding.
Suction /
Vapour Line
Liquid Line
▲Figure 2.3.3.6: Refrigerant line
20 | P a g e
2.3.3 Split Unit Conditioning System
The split unit air-conditioning system integrated by Life Point Church is the ductless split
unit where there is no fresh air introduced into the spaces. The existing indoor air is recycled
and recirculated unless there are openings to provide ventilation. Different types of indoor
units identified in the building which is the wall mounted and the ceiling mounted/cassette
type.
▲Figure 2.3.3.3: Wall mounted type▲Figure 2.3.3.2: Wall mounted type
▲Figure 2.3.3.4: Ceiling mounted type
▲Figure 2.3.3.1: Location of Split Unit Air Conditioner
21 | P a g e
The wall air conditioners are frequently used in singles room where prayers or meetings
are held. Each unit would have their own outdoor unit, making a total of 75 units. Piping
system (refer to 2.3.2.16) could be seen traveling on walls or panel from space to space as
shown in Figure 2.3.3.5, connecting from their individual outdoor unit to their own
personalize indoor unit. They could be control individually using a simple remote control,
allowing user to easily control the temperature to their liking.
The prayer rooms are ventilated using this system. Individual condenser is place at
designated location, mostly in rooms designed for minimum amount of people. This system
isn’t used as often, especially when the centralized air conditioning system is being used.
▲Figure 2.3.3.5: Piping System
▲Figure 2.3.3.6: Split Unit Air-Conditioning
System (heatingpartscenter, 2012)
▲Figure 2.3.3.7: Refrigerant line of split unit air
conditioner (Snyder, 2014)
22 | P a g e
The split unit air conditioner consists of two units which are the condenser unit,
which is placed outdoor, and the evaporator, which is the indoor unit. The condenser unit
consists of compressor and condenser where they work together as a whole. The outdoor and
indoor units are both connected by copper tubing that are insulated by black rubber insulation
pipe. The copper tubing is the refrigerant line which runs between the evaporator coil in the
air handler (indoor) and the condenser unit that contains the compressor and condenser coil
(outdoor). The insulation on the suction or vapour lines (refer to Piping System 2.3.2.16)
connecting to the outdoor condensing unit is very important in maintaining the efficiency of
the system and reducing energy consumption (Snyder, 2014)
▲ Figure 2.3.3.8: Indoor Unit (Evaporator) ▲ Figure 2.3.3.9: Outdoor Unit (Condenser Unit)
2.3.4 Analysis
The centralised air conditioning system in the main hall is switch on at all times, this is to
cut cost on the electricity. As by having the compressors on at all times, the energy to turn it
back off and on would cost more than having the compressors running straight for three hours.
The condenser units for the split unit air conditioners are also located at places that are easier
to reach for maintenance.
23 | P a g e
ELECTRICAL SUPPLY SYSTEM
3.0 Introduction
Life Point Church is a four-storeys height community building which consisted of different
functional spaces, such as halls, cafeteria, classrooms and sports area, to serve the users.
Electricity plays an important role in supporting the function of the spaces. The electrical
system used in the building is three-phase four wire system, which are the system applied in
Malaysia. Since it is a community building which can carries large amount of users, the
power of 415v instead of 240v is required to be supplied to the equiprment throughout the
building.
The total area of Life Point Church is 2130m square, which the indoor connected
substation is needed. A transformer comes along with the substation is located just right next
to it in a TNB transformer room, followed by the building consumer switch room.
Buku Panduan Piawan Elektrik:
An indoor main distribution substation with 33/11kV power is required in order to supply a
building with total area of 2116m square.
▲Figure 3.0: The image shows the location of main switch room and M&E room at the ground floor.
As shown in Figure 3.0 there is a Mechanical and Electrical room (M&E) in the
ground floor which located right next to the Main Hall. This room consists of different
distribution boards which controls electricity supply towards different spaces in our site. In
the first and second floor, there is no M&E room but only a distribution boxes which are
located seperately in each floor since it does not have to support heavy electrical equipment
such as the air-conditioning system in the main hall located at ground floor.
24 | P a g e
3.1 Literature Review
The electric power industry shapes and contributes to the welfare, progress, and technological
advances of humanity (El-Hawary and El-Hawary, n.d.). As time goes, the power plants and
generating station were built bigger in size so that they could perform better and produce
higher voltage of electric power that could be transmitted over a great distance towards
different industries to the consumers.
▲ Figure 3.1.1: The transport of electricity and brief introduction on the flow. (Australian Government
Department of Industry, n.d.)
In Malaysia, the electrical system used is three-phase four wire system. Three-phase four
wire distribution systems have been used to supply single-phase low-voltage loads. The
advantages of this system is that it is grounded and it has a neutral phase compared to three-
phase three wire system.
The structure of the electrical power system included a generation system which
consist of generators and transformers. In Peninsula Malaysia, we have Tenaga Nasional
Berhad (TNB) which operates different types of power generators, such as hydroelectric,
coal-fired plants, oil-fired plants and also plenty biomass and hybrid power station that
supply electrical power. TNB uses mostly coal-fired plants but due to the consideration of
environment, excessive conservation of fossil fuels are not recommended to be used. Hence,
25 | P a g e
other approaches such as hydroelectric power plant is slowly developing in Malaysia
electrical power generation system.
Electricity is processed by step-up transformers before it is connected to the national
grid (Hall & Greeno, 2005). A step-up transformer reduces loses in line in order to ensure the
transmission of power could carry on longer and to a long distance. Once the power reached
its consumer unit, a step-down transformer is now needed to reduce the voltage to a required
value depends on the needs of the consumer unit. That is why a substation is needed to
transform power with high efficiency from one level of voltage to another before entering a
building. Next, the electricity will goes through distribution system which utilise the
overhead and underground conductor. The distribution system can be classified into two,
which is the primary distributional line which serves small industries and the secondary
distribution network that utilises commercial and residential consumers. The planning of an
electrical power system should be continue in a consumer unit in order to protect the power
system. This operational planning included instrument transformer, circuit breakers,
disconnect switches, fuses and lighting arresters. All the compartments are working in
cooperation with each another and are placed on panel boards in the consumer switch room.
▲ Figure 3.1.2: A TNB Substation in larger scale that supply power for industrial building which located right
next to our site.
26 | P a g e
Case Study
3.2 TNB Substation
▲ Diagram 3.2: Schematic diagram of the system component of the electrical power supply system flow from
the input to the output source.
According to the TNB Electricity Supply Application Handbook, Tenaga Nasional Berhad
(TNB), is charged with the two main responsibilities. The first is to generate, transmit and
distribute and sell energy to consumer throughout Peninsula Malaysia. And following by to
plan install, operate and maintain electricity installation for the generation, transmission and
distribution of electricity. The parties such as consultant engineers are involved in making
decision to change the substation number, size, location and the consumer switch room.
From substation
supply
Consumer
Switch Room
Panel Board Switch Gear
Mechanical and
Electrical Room
Distribution
Board
Consumer Unit
3 Phase
Miniature Circuit
Breaker (MCB)
Ring Circuit
▲ Figure 3.2.1 The location of TNB room
which is located at the ground floor of the
building.
▲ Figure 3.2.2 The exterior look of TNB
transformer room and TNB switch room which are
placed next to each other.
27 | P a g e
The TNB transformer room transfer voltage from high to low. It is located between
the generation station and the consumer switch room to ensure that the electricity can flows
through in different voltage levels. The total area of TNB switch room in Live Point Church
is 6600mm x 6000mm x 4000mm. It reached the requirement as stated in Malaysian Grid
Code.
Malaysian Grid Code: The TNB switch room was required to reach a minimum size of
6000mm x 5000mm x 4000mm where the size could be modified through discussion by both
TNB and consultant engineer.
In the TNB transformer room, a 1000kVA transformer is used. 15-1000kVA
transformer is categorised under a three phase transformer (Jefferson Electric, 2014). This
type of transformer is used for all general three phase loads, either indoor or outdoor, which
included lighting, industrial and commercial applications. Advantage of using the three phase
transformer is that it is smaller, lighter and cheaper than three individual single phase
transformer connected together (Storr, 2013).
▲ Figure 3.2.3: The symbol indicating voltage of
the transformer used.
▲ Figure 3.2.4: Meter and fire alarm at the
exterior of the TNB substation for safety purpose.
28 | P a g e
3.3 Consumer Switch Room
A consumer switch room contains of different compartments of operating power system, such
as panel board, distribution board, switch panels and physical TNB check-up meter. It
maintains the reactive power balance and acts as a control center to distribute electrical power
throughout the building. Electric supply from the TNB substation is transferred to this room
where it serves as the main electrical distribution room for the Live Point Church. Hence, it is
placed next to the TNB substation to ensure that the power is transferred within a short
distance to prevent excessive loss of electrical power. Fire protection equipment such as fire
extinguishers, fire sprinkler and fire alarm are placed inside room to ensure safety. Besides,
the door and windows in the room are well protected as well, so that the fire will not spread
to other places.
▲ Figure 3.3.1: The location of consumer switch room which located right next to the substation, and the side
entrance.
▲ Figure 3.3.2, 3.3.3, 3.3.4: Emergency light, Fire extinguishers, smoke detector and fire sprinkler are used.
The detail of fire protection system in the consumer switch room will be further explain in Topic 3: Fire
Protection System. These equipment are necessary in ensure the building safety.
29 | P a g e
3.4 Panel Board
The main compartment which is located in the Consumer Switch Room is the panel board. It
has an assembly of switches and circuit protection devices from which power is distributed.
This distribution of the large incoming electricity supply from the TNB substation into
appropriate electricity voltage is required in order to serve their individual purposes.
The type of panel board used in this building is the metal enclosed panel board. Metal
enclosed panel board in which components arranged in separate compartments with metal
enclosures is intended to be earthed (Stokes, 2003). The boards are to be totally enclosed with
sheets of steel fabricated for safety purposes. The components of the board included the main
switch devices, circuit breaker and busbar chambers.
▲ Figure 3.4.1: Panel boards inside the Consumer Switch Room.
► Figure 3.4.2: A separated panel board that only supply electrical power to the air-conditioning system.
Mr. Eddie, the person in-charged in M&E said that, the air-conditioning system is the
largest and the most important system in Life Point Church. The breakdown of this system
will influence much to the function of the building and its users. Hence it has to be separated
by having an individual switch board that only takes control on itself to ensure that the falls
in other systems will not interrupt the operating of it.
30 | P a g e
3.5 Switch Gear
As mentioned, switch is one of the important part in a compartment of a panel board. A
mechanical switching device is capable in making, carrying and breaking currents under
normal circuit conditions (Stokes, 2003). As observed, each switch gear in a panel board
contains of a main circuit breaker, an earth leakage circuit breaker, and a meter. Busbar
chamber is another main component that is hidden in the panel board.
▲ Diagram 3.5: Diagram shows the components in a switch gear.
Switch Gear
Switches Circuit Breaker
Earth Leakage
Circuit Breaker
(ELCB)
Busbar
Chamber
Metering
apparatus
◄ Figure 3.5.1: The component in
compartment in the panel board, which
included switches, circuit breaker, and meter.
◄ Figure 3.5.2: A kilowatt hour meter is used
for the reading of energy consumed.
Panel
Board
Meter
Circuit
Breaker
ELCB
MCB
31 | P a g e
3.5.1 Switch
Switch has a function which is more or the same as a circuit breaker. But switch is relatively
cheaper than circuit breaker in a distributional system. The only difference between a switch
and a circuit breaker is that switch does not interrupt fault current flow (Stokes, 2003). The
function of circuit breaker on interrupting current will be further explain.
▲ Figure 3.5.1.1: The switch to control capacity bank.
3.5.2 High Performance Circuit Breaker
Circuit breaker is an important feature that ensures the safety in the operation of an electrical
grid. It is a device that could interrupts and makes, short-circuit current as well as operating
on load current (Stokes, 2003). It has to be turned on all time because there are two main
tasks, first, is its responsibility in the daily switching of lines during normal operating on load
current, and secondly for the disconnection of the power supply in case of power overload or
short circuit while the power is off (Pinnekamp, 2007). The type of circuit breaker used is a
low-voltage high performance circuit breaker.
▲ Figure 3.5.2.1: High performance circuit breaker used found in the switch board
32 | P a g e
3.5.3 Earth Leakage Circuit Breaker (ELCB)
Earth leakage circuit breaker (ELCB) is also an important part in the panel board. An ELCB
is a device used in cutting off the power once it detects the happening of leakage from the
installation to the earth (Parmer, 2011). The type of ELCB used is a current operated. This
component is also known as Residual-current devices (RCD). It trips the contact of the circuit
conductors once the imbalance in current is detected.
▲ Figure 3.5.3.1, 3.5.3.2: The images show two different types of Residual-current Devices used in site.
3.5.4 Busbar Chamber
Busbar is a grounded copper bar in a panel board to which all the neutral and groundling
wires are connected to different equipment such as distribution board, substation and the
switch gear. Copper is chosen is because it could conduct electricity better than other metals
especially brass and aluminium. Besides, it is relatively cheaper as well.
▲ Figure 3.5.4: Cables that are connected to the busbar chamber which is placed inside the board. It connects
the busbar to the other electrical apparatus through different wires.
33 | P a g e
3.6 Mechanical and Electrical Room (M&E)
M&E stands for the Mechanical and Electrical. The M&E room locates different distribution
boards in it.
3.6.1 Distribution Board (DB)
The Distribution Board, refers to an equipment which connects, controls and protects a
number of branch circuits fed from one main circuit of a wiring installation in a building or
premises for easy and safe handling of incoming power supply (The Development
Commissioner, 2003). It might consists switches, bus bars, fuse link and some other
protective equipments.
3.7 Consumer Unit
▲ Figure 3.6.1.2: Members consisted in one
Distribution Board.
▲ Figure 3.6: Outlook of the M&E room
with different DB that controls different
areas and systems which is located at ground
floor.
▲ Figure 3.6.1: In the first and second floor, there is no
room to store the DB. But they put the DB in a cabinet
which is located in classroom.
▲ Figure 3.6.1.1: Example of Distribution
Board. It is called DB in short.
34 | P a g e
3.7 Consumer Unit
A consumer unit is very similar to the distribution boards where both acts as a control to
different system. But consumer unit is smaller than DB and it is not directly connected to the
main panel boards in the Consumer switch room. It is called “fuse box” in short. This unit
contains a two-pole switch isolator for neutral supply cables and the phase. It also has three
bars for the line, neutral and cpc (circuit protective conductor) to earth terminals. The line bar
is provided with miniature circuit breakers (MCB) each to protect individual circuits from
overload (Hall & Greeno, 2007).
3.7.1 Miniature Circuit Breaker (MCB)
The low voltage miniature circuit breaker has the same function other circuit breakers. It is a
fuse that switches off electricity when abnormal circuit condition is detected. But it is
preferably use compare to a fuse because of its quick restoration and automatic system.
▲ Figure 3.7: Consumer unit found in the third floor which controls the lighting system in the sport
complex.
▲ Figure 3.7.1: MCB found in the fuse box
35 | P a g e
3.8 Ring Breaker
A ring breaker circuit would be taken around the site with supplies taken into each building.
Using underground electrical cables which are loop-in into the buildings accordingly from the
substations. This provides a higher stability of supply and lower number of cables compared
to radial system. It is not connected to the either the distribution board or the consumer unit.
3.9 Analysis
In conclusion, due to safety purposes, the TNB rooms are well locked and have been taken
care in good condition. It proves that the management of the building has been threating the
TNB switch room as an important space since the high voltage of electrical power could
endanger the users.
Besides, there is a TNB check-up meter recording the data of power used in the
consumer switch room. The checking up of the system is not only providing information to
the TNB, it also ensure the safety of the building by protecting the system.
In the other hand, the planning of the distribution board in the first and second floor
are lack of consideration. This is because of the cabinet is placed in a public open area, the
learning room for children. The engineers should have consider the safety of users before
they plan the location to place the distribution boards.
Lastly, as shown in Figure 3.8.1 and Figure 3.8.2, some of the plug points are not in
good condition and the cable cover has also been destroyed leaving the cable exposed. The
management should have more check-up and repair the broken parts to ensure the users
safety.
▲ Figure 3.8.1 Circuit plug point found on site. ▲ Figure 3.8.2: The cable that connected the ring
breaker circuit to the substation
36 | P a g e
MECHANICAL TRANSPORTATION SYSTEM
4.0 Introduction
▲ Figure 4.0: Location of Elevator at Ground Floor Plan
The church is using machine room less elevator system. This elevator system is newly built
along with the new main lobby. There is only one passenger lift in this four storey building.
The model of lift used is Schindler 3300AP. It installed next to main lobby entrance and main
hall. It has to be designed according to local laws for safety purpose and user friendly. For
example, the handrail of the car is installed according to the height of wheel chair. The total
weight that it can withstand is approximately 1160kg according to the notice pasted in the
elevator. It is able to transport 17 person at a time.
37 | P a g e
4.1 Literature Review
Mechanical transportation system include elevator, escalator and moving walkway. In this
report, the mechanical transportation system that we cover is vertical mechanical
transportation system. Elevator is vertical transportation equipment that efficiently moves
people and goods between floors of a building (Web.mit.edu, 2014).
An ideal elevator installation provide minimum waiting period for the car at each
landing level, comfortable acceleration, rapid loading and unloading of doors, quiet operation
of door, secure, safe and quick (Pickard, 2002).
The number of elevator installed is due to several factors, which are the population of
users occupy the building, type of building occupancy, number of floor and height, starting
and finishing times of the population, position of building in relation to public transport
services (Pickard, 2002).
The type of elevator can been classified to four system, which are hydraulic elevator,
traction elevator, climbing elevator and pneumatic elevator. In the case study, the elevator we
study is traction elevator. Type of elevator is chosen according to building height, building
type, hoist mechanism, elevation users and type of users. (Safety rules for the construction
and installation of lifts - Part 1: Electric lifts (First revision), 2012)
There are three types of traction elevators, which are geared traction elevator, gearless
traction elevator and machine-room-less elevator. The type of traction elevator can be
identified by location of machine room and type of traction machine used. Machine-room-
less elevator does not required machine room. The traction motor is directly attach to top side
of lift shaft. MRL elevators saves building space as it does not required machine room. The
building electricity can saves up to 70% as the motor works with Variable Voltage Variable
Frequency (VVVF) drive. Hence, the expenses of MRL elevator is lower than other traction
elevator. (Safety rules for the construction and installation of lifts - Part 1: Electric lifts (First
revision), 2012)
38 | P a g e
Case Study
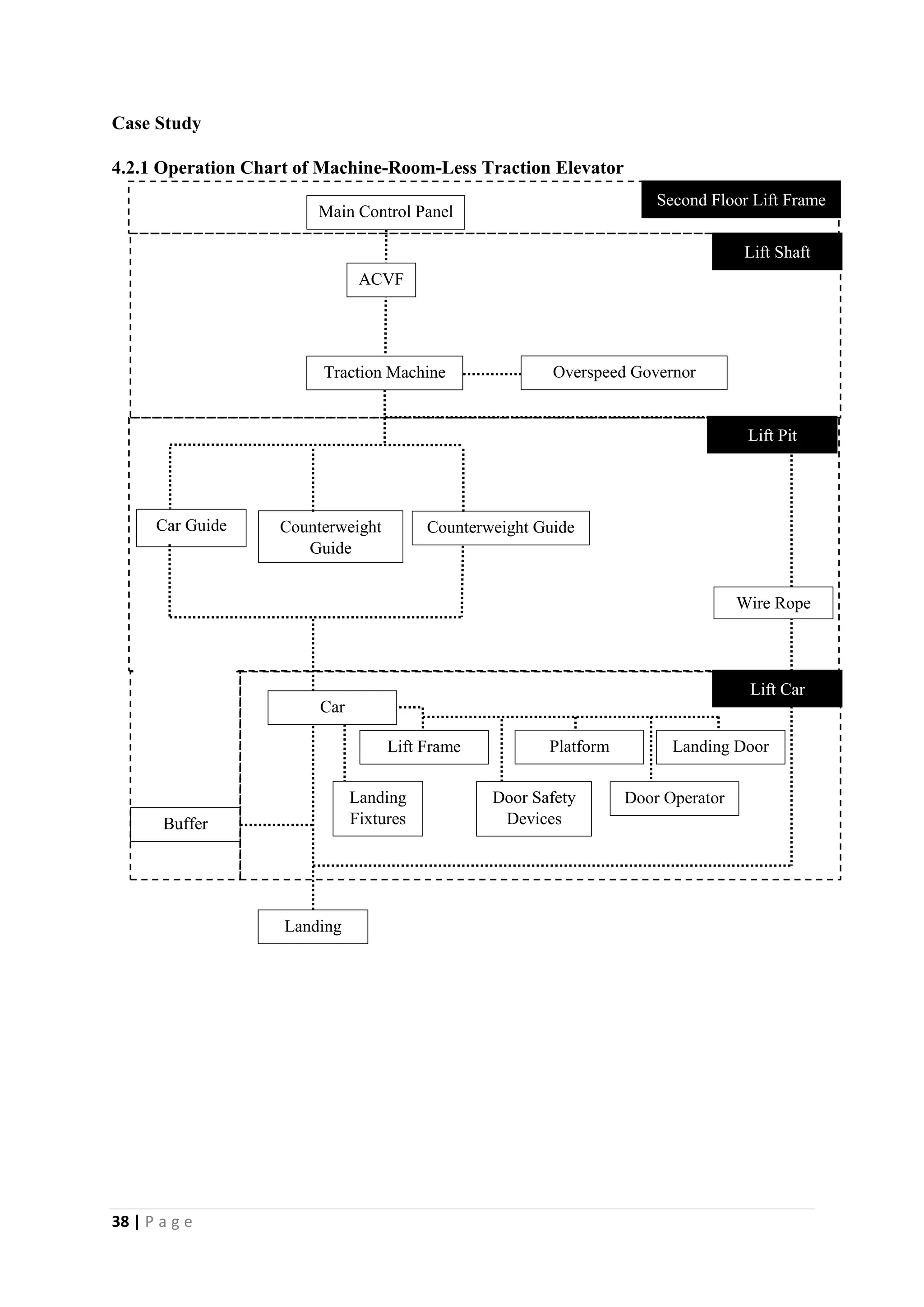
4.2.1 Operation Chart of Machine-Room-Less Traction Elevator
ACVF
Lift Frame
Traction Machine
Car Guide Counterweight GuideCounterweight
Guide
Gu
Overspeed Governor
Buffer
Wire Rope
Platform
Door OperatorDoor Safety
Devices
Landing
Landing Door
Landing
Fixtures
Lift Shaft
Lift Car
Lift Pit
Car
Main Control Panel
Second Floor Lift Frame
39 | P a g e
4.2.2 Control Panel
▲Figure 4.2.2.1: Key Hole to open Main Control Panel
▲Figure 4.2.2.2: Interior of Main Control Panel ▲Figure 4.2.2.3: Elevator Section
The main control panel is installed at lift frame of second floor for service purpose and
safety purpose. It receive the voltage supplied from main electricity supply (TNB) and turn
down the voltage to predetermined voltage level to controls the entire elevator system and
ACVF machine that located in machine room. It receives signal from users through car
operating panels. It also initiates raise or lower directional command and starting or stopping
lift car.
40 | P a g e
4.2.3 ACVF
▲Figure 4.2.3.1: ACVF in lift shaft ▲Figure 4.2.3.2: Elevator Section
The ACVF functions to receive signal from main control panel and control the components in
lift shaft. It has been installed beside the traction motor. If there is emergency, the main
control panel will cut down the electricity provide to ACVF, then the entire elevator system
will be stopped.
41 | P a g e
4.2.4 Traction Machine
▲Figure 4.2.4.1: Gearless Traction Motor in Machine
Room
▲Figure 4.2.4.2: Cooling Fan installed at Gearless
Traction Motor
▲Figure 4.2.4.3: Elevator Section
Safety rules for the construction and installation of lifts - Part 1: Electric lifts (First revision)
i. The ratio between the pitch diameter of sheaves, pulleys or drums and the nominal
diameter of the suspension ropes shall be at least 40, regardless of the number of
strands.
Gearless traction machine is used in the studied elevator system. It includes machine, traction
sheave, brake and encoder. The gearless motor used enables a direct power transfer to avoid
loss of power. A cooling fan is installed on to the motor to avoid overheat. The traction
sheave is connected directly to the shaft of the traction motor, the motor rotation is
transmitted directly to the traction sheave without any intermediate gearing. The drive used
gearless machine for smooth ride quality. As the gearless machine allows smooth ride quality,
it does not required oil lubrication. A frequency converter is equipped with stand-by power
mode for emergency purpose.
42 | P a g e
4.2.5 Overspeed Governor
▲Figure 4.2.5.1: Plan view of Lift Shaft
▲Figure 4.2.5.2: Overspeed
Governor on top of lift shaft
▲Figure 4.2.5.3: Safety Contact of
Overspeed Governor
▲Figure 4.2.5.4: Speed limit of
Overspeed Governor
Safety rules for the construction and installation of lifts - Part 1: Electric lifts (First revision)
i. Tripping of the overspeed governor for the car safety gear shall occur at a speed at
least
Equal to 115 % of the rated speed.
ii. The tripping speed of an overspeed governor for a counterweight or balancing weight
safety gear shall be higher than that for the car safety gear according to (i), not,
however exceeding it by more than 10 %.
iii. The direction of rotation, corresponding to the operation of the safety gear, shall be
marked on the overspeed governor.
iv. The minimum breaking load of the rope shall be related by a safety factor of at least 8
to the tensile force produced in the rope of the overspeed governor when tripped
taking into
Governor Pulley
Safety ContactGovernor Rope Tension Spring
43 | P a g e
account a friction factor µmax equal to 0.2 for traction type overspeed governor.
v. On the overspeed governor a data plate shall be fixed indicating :
a) The name of the manufacturer of the overspeed governor;
b) The type examination sign and its references;
c) The actual tripping speed for which it has been adjusted.
There are two overspeed governor installed for this elevator system. One is installed on top of
lift shaft and another one is installed at lift pit. It functions to stop and hold the governor rope
with a predetermined force when car exceeding 40% of the rated speed. The predetermined
speed of the car is approximately 1 m/s, if the car speed is detected over this predetermined
speed, the tension spring will first response, then trigger the safety contact and locking plate.
A cable is usually attached to the safeties on the underside of the car, which is governor rope.
The governor rope runs down through a pulley at the bottom of the shaft and back up to the
machine room and around the governor sheave.
44 | P a g e
4.2.6 Guide Rails
▲Figure 4.2.6.1: Counterweight Guide ▲Figure 4.2.6.2: Car Guide with Oil Lubricant Attached on it
Safety rules for the construction and installation of lifts - Part 1: Electric lifts (First revision)
i. The guide rails, their joints and attachments shall be sufficient to withstand the loads
and
forces imposed on them in order to ensure a safe operation of the lift.
ii. For T-profile guide rails the maximum calculated permissible deflections are :
a) 5 mm in both directions for car, counterweight or balancing weight guide rails on
which safety gears are operating ;
b) 10 mm in both directions for guide rails of counterweight or balancing weight
without safety gears.
iii. Guide rails for counterweights or balancing weights without safety gear may be made
of
formed metal sheet. They shall be protected against corrosion.
Guide rails including car guides and counterweight guides. The machined channel and 'T'
section secured to car and wall respectively. It guides the car and counterweights to ensure
that they will travel in a uniform vertical direction. In order to ensure smooth ride, the cotton
that soaked with oil attached to the surface of guide rails, hence it is able to lubricate the
guide rails during travelling. The oil level has to be checked frequently to ensure it does not
goes below the red line to improve travel quality.
Counterweight
Guide
Cotton
Car Guide
Oil
45 | P a g e
4.2.7 Counterweight
▲Figure 4.2.7.1: Counterweight Guide ▲Figure 4.2.7.2 Elevator Section
Safety rules for the construction and installation of lifts - Part 1: Electric lifts (First revision)
i. If the counterweight or the balancing weight incorporates filler weights, necessary
measures shall be taken to prevent their displacement. To this effect the following
shall be used:
a) Either a frame in which the fillers are secured, or
b) If the fillers are made of metal, and if the rated speed of the lifts does not exceed 1
m/s, a minimum of two tie-rods on which the fillers are secured.
It provides traction and acts as a balance to the weight of car about 40% to 50% of the car
rated load. It also reduces the size of lift motor and provide safety measure when the
counterweight on its buffer, hence removing traction from car.
Counterweight
46 | P a g e
4.2.8 Buffers
▲Figure 4.2.8.1 Oil Buffer at Lift Pit ▲Figure 4.2.8.2: Elevator Section
Safety rules for the construction and installation of lifts - Part 1: Electric lifts (First revision)
i. Lifts shall be provided with buffers at the bottom limit of travel of the car and
counterweight
Oil buffer is used in this elevator system. It functions to accumulate and dissipate the kinetic
energy of the car or counterweight. Oil buffer is commonly used for traction elevators. It is
combination of oil and springs to reduce speed of descending car or counterweight. It is
located in elevator pit. It requires routine cleaning and painting to ensure it is in well
performance specification.
47 | P a g e
4.2.9 Schindler’s Traction Media
▲Figure 4.2.9.1: Traction Pulley in Traction Machine ▲Figure 4.2.9.2: Elevator Section
Safety rules for the construction and installation of lifts - Part 1: Electric lifts (First revision)
i. The ends of each chain shall be fixed to the car, counterweight or balancing weight, or
suspension points of the dead parts of reeved chains by suitable terminations. The
junction between the chain and the chain termination shall be able to resist at least 80 %
of the minimum breaking load of the chain.
ii. An automatic device shall be provided for equalizing the tension of suspension ropes
or chains, at least at one of their ends.
iii. Rope traction shall be such that the following three conditions are fulfilled :
a) The car shall be maintained at floor level without slip when loaded to 125 %.
b) it shall be ensured that any emergency braking causes the car, whether empty or
with rated load, to decelerate with a value not exceeding the setting of the buffer,
including reduced stroke buffer ;
Instead of using wire rope, the traction media has been used due to the improved elasticity
and smaller space requirement. The traction pulley for steel ropes is replaced by an only
85mm traction shaft. It has 8 traction media to connect to the car for safety purpose. It
requires smaller motor, which benefit the machine-room-less elevator system. It is connect to
the car and allow vertical travelling of car.
Traction Pulley Traction Media
48 | P a g e
4.3 Safety System
4.3.1 Hoistway Door Interlock
▲Figure 4.3.1.1: Eye of the car level ▲Figure 4.3.1.2: Hoistway Door Interlock
Safety rules for the construction and installation of lifts - Part 1: Electric lifts (First revision)
i. It shall not be possible in normal operation to open a landing door (or any of the
panels in the case of a multi-panel door) unless the car has stopped, or is on the point
of stopping, in the unlocking zone of that door.
ii. The unlocking zone shall not extend more than 0.20 m above and below the landing
level.
iii. Each landing door shall be provided with a locking device satisfying the conditions of
7.7.1.This device shall be protected against deliberate misuse.
iv. The effective locking of the landing door in the closed position shall precede the
movement of the car. However, preliminary operations for the movement of the car
may take place. The locking must be proved by an electric safety device in conformity
with 14.1.2.
v. The car shall not be able to start until the locking elements are engaged by at least 7
mm.
vi. The locking elements and their fixings shall be resistant to shock, and be made or
reinforced with metal.
It is used to prevent car door to open at false landing level. The “eye” has been preset to
certain height and level to allow the car door to be opened. If the door open in false level, the
eye detected the information, it triggered the interlock function, prevent the door to be opened.
49 | P a g e
If the doors are forced open, the interlock circuit will be broken, causing the elevator to stop
instantaneously.
4.3.2 Progressive Safety Gear
▲Figure 4.3.3.1: Eye of the car level ▲Figure 4.3.3.2: Hoistway Door Interlock
Safety rules for the construction and installation of lifts - Part 1: Electric lifts (First revision)
i. The car shall be provided with a safety gear capable of operating in the downward
direction and capable of stopping a car carrying the rated load, at the tripping speed of
the overspeed governor, even if the suspension devices break, by gripping the guide
rails, and of holding the car there.
ii. A safety gear operating in upward direction may be used in accordance with 9.10.
iii. NOTE: The safety gear operating devices shall preferably be located at the lower part
of the car.
Safety gear is a mechanical device to stop the elevator car and counterweight by gripping the
guide rails when the car is travelling over pre-determined speed. Progressive safety gear
retardation is affected by breaking action on guide rails to limit the forces on elevator car and
counterweight. A pair of safety gears is installed in bottom part of car sling and operated
instantaneously by linkage mechanism that actuated by overspeed governor.
Safety Gear
50 | P a g e
4.4 Analysis
▲Figure 4.4.1: Exhaust fan at the corner of Lift
Shaft
▲Figure 4.4.2: Position of Exhaust Fan at Lift Shaft
Safety rules for the construction and installation of lifts - Part 1: Electric lifts (First revision)
i. The well shall be suitably ventilated. It shall not be used to provide ventilation of
rooms other than those belonging to the lift.
ii. The machine rooms shall be suitably ventilated. Should the well be ventilated through
the machine room, this has to be taken into account. Stale air from other parts of the
building shall not be extracted directly into the machine room. It shall be such that the
motors, and equipment, as well as electric cables, etc., are protected as far as it is
reasonably practicable from dust, harmful fumes and humidity.
NOTE: In the absence of relevant regulations or standards, it is recommended that ventilation
openings at the top of the well, with a minimum area of 1 % of the horizontal section of the
well, are provided.
UBBL
i. Where openings to lift shafts are not connected to protected lobbies, such lift shafts
shall be provided with vents of not less than 0.09 square metre per lift located at the
top of the shafts. Where the vent does not discharge directly to the open air the lift
shafts shall be vented to the exterior through a duct of the required FRP as for the lift
shafts.
ii. Every opening in a lift shaft or lift entrance shall open into a protected lobby unless
other suitable means of protection to the opening to the satisfaction of the local
51 | P a g e
authority is provided. These requirements shall not apply to open type industrial and
other special buildings as may be approved.
The traction machine is attached by using permanent magnet at the top of lift shaft. Exhaust
fan is installed to reduce room temperature in lift shaft as these components release heat
during operation. An exhaust fan is installed on top of car too to allow ventilation in lift car.
▲Figure 4.4.3: Checklist for maintenance by DOSH ▲Figure 4.4.4: Checklist for maintenance by DOSH
Maintenance of elevator has been done every month according to the checklist in Figure 4.4.3
and Figure 4.4.4 to ensure the elevator system satisfies the requirement for safe ride. The oil
level should not be lower than the red line. The maintenance should be aware and fill in the
oil tank.
▲Figure 4.4.5: Oil Level of Oil Tank
52 | P a g e
FIRE PROTECTION SYSTEM
5.0 Introduction
LifePoint Church is equipped with hose reel system, fire alarm system, heat and smoke
detectors, portable fire extinguishers and other passive fire systems. The walls are protected
with Fire Rated Walls to ensure the building is able to withstand the fire for a certain period
of time to allow occupants to escape. For a four-storeys building, water sprinkler system is
not present. Due to its height below 18.3m, the building does not required any dry riser
system.
Every fire exit and escape staircase is equipped with a “Keluar” sign to guide the
building occupants to the exit path. Besides, a simplified floor plan as seen in Diagram 5.0
with indications on the emergency exit is located next to the lift on every level of the building.
Emergency lights are also installed at each areas of the building to ensure illumination for the
building occupants to the nearest exits in thick smokes or sudden blackout.
▲Figure 5.0: Ground floor plan with legend
53 | P a g e
5.1 Literature Review
Fire, is an oxidation process that releases energy in the form of heat and light and gases. This
process known as combustion requires fuel, high temperature and oxygen to occur. The
results caused by combustion such as flame, heat, toxic gases and insufficiency of oxygen can
pose extreme hazards to the occupants and buildings therefore fire protection is needed
(Grondzik, Stein, Reynolds & Kwok, 2010). There are three types of fire protection, active
system, passive system and education of building owners and occupants about fire safety and
fire systems.
For successful control, suppression, or extinguishment of fires, the active system
relies on containing and acting on the fire while it is still manageable to be effective. Hence
active system needs to work together with passive system that slows down the spread of fire
(Roach, 2014).
Requirements for the fire systems vary according to the building types, floor area,
height of building, types of occupancy and function of building (Uniform Building By-Laws,
2006).
Active Fire Protection
An action is required for active fire protection systems to work, either it to be by manual,
electrical or mechanical (Roach, 2014). Active system detects fire through detector that will
send signals to devices such as alarm bell to alert the building occupants. This system then
controls fire by activating fire shutter doors to limit the spread of fire and smoke to other area
of the building. It suppresses or extinguish fire through carbon dioxide system, sprinklers,
hose reel system, riser system and the use of fire hydrant.
Passive Fire Protection
Passive system does not require external power or any activation and can be grouped into
three categories according to its purposes:
i) Limiting the growth rate of fire
ii) Compartmentation of fire
iii) Providing emergency escape from fire areas
Passive system slows down fire with fire-resistant walls, floors, doors or spray-on
fireproofing mixture on critical members such as beams and columns. This protects the
54 | P a g e
building from collapsing due to the weakening of building parts in high temperature
condition and provides building occupants with more time to evacuate.
The division of building into one or more fire compartments is intended to prevent the
spread of fire to nearby compartments and acts as the maximum extension area of the fire
(Botma, 2013). Fire compartment needs to be enclosed by fire barriers to prevent the fire
from spreading into other rooms when the fire is from the fire compartment or to act as a
protected area for the occupants when the fire occurs from outside the fire compartment area
(Buildings Department, 2012).
Passive system provides escape for occupants from fire areas through fire staircase,
corridors and emergency light (Roach, 2014) and by setting regulations such as dead end
limit to allow occupants to reach the nearest fire exits in time.
55 | P a g e
Case Study
5.2 Active Fire Protection
5.2.1 Hose Reel System
▲Figure 5.2.1: Schematic drawing from hose reel system
5.2.1.1 Water Storage Tank
UBBL:
247. (1) Water storage capacity and water flow rate
for fire fighting systems and installations shall be
provided in accordance with the scale as set out in
the Tenth Schedule to these By-laws.
[Tenth Schedule]
Minimum storage required for the first hose reel-
2275 litre
For each additional hose reel- 1137.5 litre up to a
maximum of 9100 litre
(2) Main water storage tanks within the building,
other than for hose reel systems, shall be located at
ground, first or second basement levels, with fire
brigade pumping inlet connections accessible for
fire appliances.
▲Figure 5.2.1.1.1 Hose reel storage tank
Pressure switch
Pump control panel
Storage tank
Gate valve Hose reel
Standby diesel hose reel pump
Pressure gauge
Electric duty pump
Water
main
Check valves
Drainage
Gate valve
56 | P a g e
▲Figure 5.2.1.1.2: Location of water storage tank on Ground Floor Plan
▲Figure 5.2.1.1.3: Storage tank level indicator
This storage tank is to supply water only for the hose reel system. It is located on the ground
floor of the building to allow it to be accessible for fire brigade, which conforms to the UBBL
247(2). This hose reel storage tank is made of pressed steel and it is 12’ x8’ x 4’ (3.66m x
2.44m x 1.22m) with a capacity of 9085 litres, approximately the maximum capacity stated in
UBBL 247(1).
The figure on the level indicator cannot be less than 7 for the building and it will be checked
once every three days to ensure the water level and the pressure in the tank is adequate to
supply for the hose reel system during fire emergency.
57 | P a g e
5.2.1.2 Pumps
The existing water tank pumps can be operated automatically or manually. The electric duty
pump is the main pump for the water storage to pump water to all hose reels when fire
emergency happens. If the main pump stops operating during fire, the standby diesel pump
will pump the water up.
When the hose reel is in use, water flows out of the hose causing the increase in air space and
decrease in the air pressure in the pipe. This causes the pressure in the check valves to drop
▲Figure 5.2.1.2.1: Electric duty pump(right) and standby diesel hose reel pump(left)
1. Electric duty pump
2. Standby diesel pump
3. Flexible coupling
4. Check valve
5. Gate valve
6. Pressure gauge
7. Pressure switch
12
4
3
5
6 7
▲Figure 5.2.1.2.2: Parts of water storage pumps
58 | P a g e
below the adjusted pressure field setting of the pressure switch. This triggers the automatic
operation of the pump to supply water for the hose (Petromas Infiniti Sdn. Bhd., 2012). On
the other hand, the pump will shut off when the pressure is higher than the pre-set range.
▲Figure 5.2.1.2.5: Hose reel duty pump and stand by pump control panels
▲Figure 5.2.1.2.3: Pressure gauge and
pressure switches
▲Figure 5.2.1.2.4: The control panel is to operate the
pumps by manual and to check the failure of either
pump.
59 | P a g e
5.2.1.3 Valves
5.2.1.4 Hose Reel
UBBL:
248. (1) Wet riser, dry riser, sprinkler and
other fire installation pipes and fittings shall
be painted red.
248. (2) All cabinets and areas of recessed in
walls for location of fire installations and
extinguishers shall be clearly identified to
the satisfaction of the Fire Authority or
otherwise clearly identified.
▲Diagram 5.2.1.4.3: Hose reel diagram
▲ Figure 5.2.1.4.1: Hose reel
Check valve:
Also known as non-return valve, only allows water to flow in
one direction.
Gate valve:
To allow or restrict flow of water through the pipe by turning it
manually.
▲Figure 5.2.1.4.2: Hose reel instruction and
specification
Swing
Adjustable
nozzle
Hose
Hose reel drum
Valve
◄ Figure 5.2.1.3: Check valves and gate valves
60 | P a g e
Hose reel acts as a first aid firefighting equipment for building users and should be located
within 30m hose coverage of the hose reel and in noticeable places beside exit doors or
staircases or along escape routes. It should also be located at places least likely to be
endangered by fire such as staircase landing (Hall & Greeno, 2013). For every 800m2
of floor
area there should be a hose reel installed. The building has a hose reel for every main areas
on the ground floor as seen in Figure5.2.1.4.4 instead for every 800m2
due to the division of
spaces. This allows users from each space to have their own hose reel. But for the main hall,
the length to the other end is approximately 36metres which is longer than the hose reel can
reach.
The hose reels used are manufactured according to Australian Standard AS1221 and are
approved by QAS Australia. The rubber hose is 30 meters in length and has a test pressure of
1.5MPa (15 bar).
945.7m2
246.6m2
288.0m
2
239.2m2
65.7m2
36m24m
27m
Hose reel (in building)
Hose reel (outside building)
Exit door
▲Figure5.2.1.4.4: Location of hose reels in Ground Floor Plan
61 | P a g e
The hose reels used are all swing type automatic hose reels which have built-in internal
valves. The internal valve functions by opening after two revolutions of the hose reel and will
close automatically when the hose is wound back to the reel (Semarak Industri Sdn. Bhd.,
2013). Swing type hose reel allows the hose to be pulled in different directions.
▲Figure 5.2.1.4.5: Hose reel cabinets
Even though the cabinets have see-through glass panels but there is no identification such as
painted red or signage on the cabinets as required by UBBL 248. (2)
5.2.2 Fire Alarm System
Smoke and
heat triggers
the detectors
signal sent to
alarm system
Building
occupants are
alerted
electrical
signals sent to
other active
systems to
control and
extinguish the
fire
Signal sent to
Fire Alarm
Control Panel
at Guard
House
Location of
fire or
smoke is
identified
Fire is
extinguished
manually
Manual
breakglass
unit or key
switch box
62 | P a g e
5.2.2.1 Smoke and Heat Detectors
▲Figure 5.2.2.1.3: 7 Location of smoke detectors and heat detectors in Ground Floor Plan
▲Figure 5.2.2.1.2: Heat detectors
Smoke detector
Lift
Heat detector
6m
UBBL:
153. (1) All lift lobbies shall be provided with smoke detector.
Pantry and toilet area
▲Figure 5.2.2.1.1: Smoke detectors
Connection to fire alarm
panel (at Guard house)
63 | P a g e
The spacing for the heat detectors is approximately 6m each for LifePoint Church as to
ensure quick detection of fire outbreak. From Figure 5.2.2.1.3, one smoke detector is located
at the lift lobby, conforming to the UBBL 153. (1). Another smoke detector is also installed
at the water storage tank area, to detect possible smoke coming from the pumps.
For the building, no smoke or heat detectors are installed at the pantry and toilet areas. As
seen in Figure 5.2.2.1.3, all detectors are connected to the Fire Alarm Panel at the Guard
House.
Smoke detector
There are commonly two types of smoke detectors available in the market, which is the
photoelectric and ionization. Photoelectric detector requires more smoke than ionization
detector to be activated (Smoke detectors, 2006).
The light beam is projected to the supervisory photocell in a straight line. When smoke enters
the detector, the light beam is deflected to the alarm photocell and this creates a current to
activate the alarm system.
▲Figure 5.2.2.1.4: Photoelectric detector
(Grondzik, Stein, Reynolds & Kwok, 2010)
64 | P a g e
Opposite charged ions are attracted by the positive and negative charged plate electrodes
which causes the flow of ions. The movements of ions between the plates then produce small
electric current. When smoke particles enter the chamber, the ion flow slows down and the
current is disrupted. This causes the alarm to sound.
Heat Detector
This heat detector has a combination of rate-of-rise and fixed temperature units. The rate-of-
rise unit operates when the rate of surrounding temperature rises exceeding a preset amount
usually around 8o
C/minute. This rate of change of temperature causes the bellows to expand
and touches the rate-of-rise contact and sound the alarm.
For the fixed temperature unit, the bimetal element will expand when a certain temperature is
achieved usually at 57 o
C or 85 o
C. The fixed temperature contact attached on the bimetal
element will then touches the other fixed-temperature contact and electric current will flow
and activate the alarm system (Grondzik, Stein, Reynolds & Kwok, 2010).
▲Figure 5.2.2.1.5: Ionization smoke detector
(Hall & Greeno, 2013)
▲Figure 5.2.2.1.6: A combination of rate-of-rise and fixed
temperature detector (Grondzik, Stein, Reynolds & Kwok, 2010)
65 | P a g e
5.2.2.2 Manual Breakglass Unit and Key Switch Box
The fire alarm system alerts the building occupants when there is a fire outbreak so that
immediate safety measure and firefighting action can be taken. This system can be operated
either automatically through the detectors or manually by breaking the glass of the breakglass
unit to activate the fire alarm.
▲Figure 5.2.2.2.3, Figure 5.2.2.2.4: Manual key switch boxes located outside of TNB switch room and
transformer room
Individual manual key switch boxes are installed outside of each switch room and
transformer room. This enables quick activation of fire alarm and release of carbon dioxide
gas when the room is on fire by turning the key of the key switch box. Key switch boxes are
used here instead of manual breakglass unit is to prevent anyone to intentionally activate the
▲Figure 5.2.2.2.2: Breakglass unit▲Figure 5.2.2.2.1: Alarm bell and breakglass unit
66 | P a g e
carbon dioxide system without emergency as only permissioned individuals and the Fire
Authority have the key.
The breakglass units and fire alarms are located along fire escape routes or next to the
emergency exits. This enables building occupants to be able to activate the fire alarm system
when fire occurs.
▲Diagram 5.2.2.2: Fire Alarm System on Ground Floor Plan
Smoke detector
Fire Alarm Panel at Guard
House
Heat detector
Connection to Fire Alarm
Panel
Fire alarm system junction
box
Fire Alarm
67 | P a g e
5.2.2.3 Fire Alarm Control Panel
The Fire Alarm Control Panel is located at the Guard House because it is detached from the
main building so the fire could not spread to it and there will be guards monitoring the fire
alarm panel 24 hours daily so any fire emergency can be detected immediately.
The Fire Alarm System Junction Box is located at the cafeteria, next to the Consumer Switch
Room. This is because the Consumer switch room, TNB switch room and TNB transformer
room have a separated alarm system circuit which is connected to the junction box.
5.2.3 Portable fire extinguisher
UBBL:
227. Portable extinguisher shall be provided in
accordance with the relevant codes of practice and shall
be sited in prominent positions on exit routes to be
visible from all directions and similar extinguishers in a
building shall be of the same method of operation.
▲Figure 5.2.3.1: Portable fire
extinguisher
▲Figure 5.2.2.3.1: Fire
Alarm Control Panel at
the Guard House
▲Figure 5.2.2.3.2: Fire Alarm System Junction
Box
68 | P a g e
▲Figure 5.2.3.2: Parts of ABC dry powder fire extinguisher
▲Diagram 5.2.3: Location of portable fire extinguishers in Ground Floor Plan
Main hallNew Main
Hall
Dry chemical powder
Nozzle
Discharge lever
Locking ring pin
Siphon tube
Carrying handle
Portable fire
extinguisher
Emergency exit
69 | P a g e
Portable fire extinguisher is a compressed cylindrical device used for small fire and as first
aid fire control. Different color codes represent the different fire sources appropriate for the
extinguisher (Greeno, 2005). The portable fire extinguishers used are red with blue band,
indicating it as 9kg ABC dry powder extinguishers which its applications are stated below:
Source: Hall, F., & Greeno, R. (2013). Portable fire extinguishers.
As seen in Diagram 5.2.3, the portable fire extinguishers are placed next to the emergency
exits or along the escape paths which complies to the UBBL 227. No portable fire
extinguisher is found in the office area.
For easy reach, portable fire extinguisher should always be hung on wall brackets. Besides it
should not be placed under excessive heat or cold, as the temperature limit stated on the
portable fire extinguisher is -20o
C to 60 o
C.
The fire extinguisher is placed on the ground and next to the window, under the risk of being
exposed to high temperature or accidentally knocked down by building occupants.
Class A organic solids (wood, paper, cloth etc)
Class B flammable liquids (petrol, oil, paint etc)
Class C flammable gases (methane, propane, acetylene etc)
Electrical hazards
▲Figure 5.2.3.3, Figure 5.2.3.4: Placement of portable fire extinguishers
70 | P a g e
5.2.4 Hydrant system
5.2.4.1 Pillar hydrant
Fire hydrant system functions as water source for fire protection. The pillar hydrants are
located at the opposite end of LifePoint Church site boundary. The nearest pillar hydrant to
the water storage tank is approximately 45metres away which exceeds the length of the
30metres hose.
Building area
Fire hydrant
Hydrant cabinet
(with nozzles, hose
and accessories)
Water main
UBBL:
Part VIII 225. (2)Every building shall be
served by at least one fire hydrant located not
more than 91.5 meters from the nearest point
of fire brigade access.
UBBL 1984 By Laws-225(2&3):
Not more than 6 meter from the building
–Not more than 30 meter away from the
entrance to the building
When the hydrant is installed within the
owner’s boundary, each should be provided
with 30meters of 65mm diameter rubber lined
hose, instantaneous couplings and nozzles.
▲Figure 5.2.4.1: Pillar hydrants
71 | P a g e
5.2.4.2 Hydrant cabinet
The hydrant cabinet is placed next to the pillar hydrant and has a key attached to it. In case of
fire emergency, the key is used to unlock the cabinet and to retrieve the fire hose with nozzle
and accessories. The hose is to be attached to the pillar hydrant next to it.
Main entrance
50.421m
47.415m
▲Figure 5.2.4.2: Hydrant cabinet near the guard house
▲Diagram 5.2.4.1: Locations of fire hydrants on Ground Floor Plan
Guard House
72 | P a g e
5.2.5 Fire Suppression System
▲Diagram 5.2.5.1: Schematic diagram on suppression system.
▲Diagram 5..2.5.3: The location of the fire suppression system.
4 1
5
2
3
LEGEND
1. Flashing Lights
2. Fire Alarm
3. Manual Fire Alarm with
Break Glass
4. Nozzle
5. CO2 Cylinder
Fire Detector Fire Alarm
Flashing
Light
CO2 Cylinder
▲Diagram 5.2.5.2: Annotation on members in the system.
73 | P a g e
The fire suppression system is required within any electrical room although an exclusion is
allowed for rooms with generators or transformers. The CO2 is an electrically nonconductive
gas that is 50% more dense than air hence it will cover the fire reducing oxygen and prevents
combustion.
▲Figure 5.2.5.4: The flashing lights in green state.
The fire suppression system is required within any electrical room although an
exclusion is allowed for rooms with generators or transformers hence the reason it is only
present in the switch room in the church. When fire is detected in the switch room, the
flashing light above the door will turn red before the activation of the gas system. This is to
prevent the users from entering as the CO2 gas released is an asphyxiate, especially in a small
room and can build up to a point where respiration becomes difficult.
▲Figure 5.2.5.5: CO2 cylinder attached to steel piping.
74 | P a g e
UBBL:
The use of CO2 gas by requirements of National Fire Protection Association or
Jabatan Bomba in the following rooms; transformer room, high voltage switch room,
power grid room & electric T.E.N. room.
▲ Figure 5.2.5.6: CO gas
cylinder.
▲ Figure 5.2.5.7: Nozzle where extinguisher
agent is discharged.
75 | P a g e
5.2.6 Double Roller Shutter
1
2
3
LEGEND
1. Roller
2. Motor
3. Shutter
Break Glass
Key Box
Fire Alarm
Roller
Shutter
▲Diagram 5.2.6.1: Schematic of double roller shutter.
▲Diagram 5.2.6.2: Annotation of different parts of the shutter.
▲Diagram 5.2.6.3: The location of the double fire shutter.
76 | P a g e
In the case of fire, a key located next to the shutter can be used to activate the alarm and
simultaneously causes the shutters to close. The double roller shutters can resist the spread of
flame as it has a 1 hour adequate fire resistance. In addition to resisting the spread of heat and
smoke by offering a buffer zone(the air-cavity between the shutters) for smoke and radiant
heat transmission.
▲Figure 5.2.6.6: The buffer zone drastically reduces the transition of heat.
▲Figure 5.2.6.5: Break glass key to activate
fire alarm.
▲Figure 5.2.6.4: Double Roller
Shutter Door
77 | P a g e
5.3 Passive Fire Protection
5.3.1 Fire Escape System
5.3.1.1 Fire Rated Doors
LEGEND
1. Illuminated Exit Sign
2. Stopper
3. Push Bar
4. Latches & Bolts
5. Fire Vision Panel
6. Door Handle
7. Fire Notice
1
2
4
3
5
6
7
▲ Figure 5.3.1.1.1: 900 x 2100 1
hour fire rated door.
▲Figure 5.3.1.1.2: 1800 x 2100 2
hour fire rated door.
78 | P a g e
▲Figure 5.3.1.1.3: Fire rate door approval label.
Fire rated doors are compartmentalised throughout the building to delay the spread of fire and
smoke from one area another area. These fire doors come with an aluminium door closer
mounted on top of the door to ensure the doors close after being opened as closing a door
remains a low priority when escaping a fire. Certain fire rated doors have a 100mm x 600mm
vision panel that allows people to see the other side of the door before entering. As people
tend to panic during a fire, most fire rated doors that has the most circulation come equipped
with a push bar allowing people to be able to open the door with ease.
UBBL:
133. “Fire Resisting” means the construction so designated, including doors, has a minimum
standard of fire-resistance of not less than half hour in accordance with the relevant
Schedules of these By-laws or which achieves such standard when tested in accordance with
BS476: Part 8: 1972 except that, in the case of the doors –
(a) The rabbets to the door frame or the door stops whichever may be are not less than
18 millimetres deep; and
(b) The door is hung on metal hinges having a melting point of not less than 800°C,
and
(c) The door is rendered self-closing.
164. (1) All fire doors shall be fitted with automatic doors closers of hydraulically spring
operated type in the case of swing doors and of wire rope and weight type in the case of
sliding doors.
79 | P a g e
5.3.1.2 Emergency Exit Sign
▲Figure 5.3.1.2.1: Keluar Emergency Exit Sign ▲Figure 5.3.1.2.2: Height limitations for sign.
As the fire rated door serve the function of providing the people means of escape, all fire
rated doors should come with an emergency exit sign which indicates the closest emergency
exit during a fire. The emergency exits lights were placed ideally mounted 3 to 8 meters
above the floor, although most commonly directly above the door frame. These lights come
with a dual-power system whereby it was lit by the main power and battery in a charged state
in the case of a power outage that powered the light. The sign in the building has large letters
and a green photoluminescence light so that it easier for people to see during a fire as
visibility will be reduced due to the smoke.
UBBL:
172.
(1) Storey exits and access shall be marked by readily visible signs and shall not be
obscured by any decorations, furnishings or other equipment.
(2) A sign reading “KELUAR” with an arrow indicating the direction shall be placed
in every location where the direction of travel to reach the nearest exit is not
immediately apparent.
(3) Every exit sign shall have the word “KELUAR” in plainly legible letters not less
than 150 millimetres high with the principal strokes of the letters not less than 18
millimetres wide. The lettering shall be in red against a black background.
(4) All exits signs shall be illuminated continuously during periods of occupancy.
80 | P a g e
5.3.1.3 Fire Escape Stairway
▲Figure 5.3.1.3.1: Location of fire escape staircases.
During a fire, the initial priority is to safely and quickly evacuate all occupancy within the
vicinity of the building to a safe location or assembly point. As such the fire escape route
within the building plays an important role in ensuring that people escaping have the shortest
and safest route to escape during an emergency. No dead end limits are present since all
rooms have multiple possible exit paths to the nearest fire exit.
The width of the staircases are 1050mm wide with 130mm risers and a 290mm thread
depth. The internal staircases have landings of 2350mm wide and have a 1450mm depth. The
number of steps in each flight of stairs are uniform and provides a steady rhythm for walking
down to prevent people from falling.
LEGEND
Internal Escape Staircases
External Escape
Staircases
81 | P a g e
Railings made of flame retardant stainless steel are also present on all fire escape
staircases and are approximately 900mm high. Minor hand rails on the railing are also present
to accommodate towards children of different height.
▲Figure 5.3.1.3.3: External escape
route form first floor.
▲Figure 5.3.1.3.2: External escape
route from second floor.
▲Figure 5.3.1.3.4: Underside of fire escape staircase
82 | P a g e
UBBL :
133. “staircase external” means a staircase which is completely open to the external air on at
least two sides from the level of the top of the balustrades to the underside of the flight of
stairs immediately above,
“staircase internal” means a staircase enclosed on all sides by partitions of walls and which
has all openings in the external walls glazed or otherwise protected from the weather;
168.
(1) Except as provided for in-law 194 every upper floor shall have means of egress
via at least two separate staircases.
(2) Staircases shall be of such width that in the event of any one staircase not being
available for escape purposes the remaining staircase shall accommodate the highest
occupancy load of any one floor discharging into it calculated in accordance with
provisions in the Seventh Schedule to these By-laws are not exceeded.
(3) The required width of a staircase shall be the clear width between walls but
handrails may be permitted to encroach on this width to a maximum of 75 millimeters.
(4) The required width of a staircase shall be maintained throughout its length
including at landings.
(5) Doors giving access to staircases shall be so positioned that their swing shall at no
point encroach on the required width of the staircase or landing.
▲Figure 5.3.1.3.5: Stainless steel railing.
83 | P a g e
5.3.1.4 Fire Rated Walls
The walls in the building being compartmentalized through the use of various types of fire
rated walls that have undergone fire resistance rating for the purpose of fire separation. This
to ensure that during a fire the walls are able to prevent the spread of fire for a set period of
time. Different rates of fire resistance ratings have been used in different places, the walls in
the transformer and switch rooms have higher ratings since the possibility of fire starting
there is higher and in a compact room fire would cover the area at a faster rate. The outer
walls have a standard fire rating as it require sufficient structural stability to maintain the
integrity of the walls.
Fire Rated Wall Type Fire Resistance Rating
115 mm Brickwall with 20mm Cement Plaster 2 hours
230 mm Brickwall with 20mm Cement Plaster 4 hours
Fire Rated Gypsum Board Partition ½ hour
Gypsum Partition with Halved Glazed ¼ hour
▲Figure 5.3.1.4.1: Wall placement on ground floor
115 mm Brick Wall
230 mm Brick Wall
Fire Rated Gypsum Board
Partition
Gypsum Board Partition w/
Halved Glazed
LEGEND
84 | P a g e
UBBL:
139. The following areas or uses shall be separated from the other areas of the occupancy in
which they are located by fire resisting construction of elements of structure of a FRP to be
determined by the local authority based on the degree of fire hazard:
(g) Transformer rooms and substations
5.3.1.5 Emergency Lights
The emergency lights are back up lighting devices that turn on automatically in the case of a
power outage or a fire whereby the lights would activated in a focused bright ray. These
lights were placed facing the closest emergency escape route inside the room it is placed in.
As these lights were required to go on during an emergency, its power source is kept
segregated from other wiring and connected to the fire resistant cabling.
▲Figure 5.3.1.5.2: The emergency light in charged state.
l
1
2
3
4
LEGEND
1. Headlight
2. Fuse Panel
3. Power Light
4. Charged Light
▲Figure 5.3.1.5.1: Annotation of the emergency light.
85 | P a g e
6.0 Conclusion
Through our multiple visits to the Lifepoint Church, we’ve come to see how vital it is for
Mechanical Ventilation and Air-conditioning System, Electrical Supply System, Mechanical
Transportation System and Fire Protection System to work as a whole. The systems in the
building have obeyed to the Uniform Building By-Laws(UBBL) for the standardization of
certain requirements to provide efficient egress, comfort and safety to the users and the
building. Even though the building lacks the presence of dry risers, to which the technician
present during our visit ensures us it is not completely necessary. Regular maintenance and
examination of all systems and equipment are done by the church consistently to ensure the
operation of each service is in optimal condition.
86 | P a g e
7.0 References
2.bp.blogspot.com,. (2014). Retrieved 7 October 2014, from http://2.bp.blogspot.com/-
uJwC8QOFEPQ/T4gE4gl4R4I/AAAAAAAABro/9kWsEYOSEOY/s640/GEARED+M
ACHINE.JPG
Australian Government Department of Industry, (n.d.). Transport of Electricity. [image]
Available at: http://eex.gov.au/energy-management/energy-procurement/energy-
pricing/the-energy-supply-chain/ [Accessed 6 Oct. 2014].
Association for Specialist Fire Protection, (2012). ASFP Guide to Inspecting Passive Fire
Protection for Fire Risk Assessors. United Kingdom.
BNP Media, (2000). HVAC Systems: How They Work. edc. [online] Available at:
http://www.edcmag.com/articles/hvac-systems-how-they-work [Accessed 7 Oct.
2014].
Botma, A.Y. (2013). Research to the Performance and Adequacy of Fire Compartmentation
(Master Thesis). Retrieved from
http://repository.tudelft.nl/view/ir/uuid:62e3f4a9-29c6-4745-b206-64f13c6f2c9d/
Buildings Department. (2012). Code of Practice for Fire Safety in Buildings. Retrieved from
http://www.bd.gov.hk/english/documents/code/fs_code2011.pdf
Central Air, Inc., (2014). Exhaust Ventilation. [image] Available at:
http://heatoregon.com/img/exhaust_ventilation.gif [Accessed 7 Oct. 2014].
Chong, L. (2012). Interpretation of Passive Fire Requirements in the UBBL 1984.
El-Hawary, M. and El-Hawary, M. (n.d.). Introduction to electrical power systems. 1st ed.
Firesafe.org.uk, (2014). Fire Doors. [online] Available at: http://www.firesafe.org.uk/fire-
doors/ [Accessed 12 Oct. 2014].
Grondzik, W. T., Stein, B., Reynolds, J. S., & Kwok, A. G. (2010). Part VI Fire Protection.
In Mechanical and electrical equipment for buildings (11th ed., pp. 1085-1087). New
Jersey, NJ: J. Wiley & Sons.
87 | P a g e
Hall, F., & Greeno, R. (2005). Building services handbook (7th ed.). New York and
Canada: Routledge.
heatingpartscenter, (2012). Split unit air-conditioner. [image] Available at:
http://heatingpartscenter.co.uk/page.asp?id=splitair [Accessed 8 Oct. 2014].
Hoffman, P. (2006). Air Conditioning - Basic Refrigeration Cycle. [online] Swtc.edu.
Available at: https://www.swtc.edu/ag_power/air_conditioning/lecture/
basic_cycle.htm [Accessed 8 Oct. 2014].
How Central Air Conditioner Works. (n.d.). Retrieved from http://www.central-air-
conditioner-and-refrigeration.com/Central_air_conditioner.html
Integrated Publishing, Inc., (n.d.). Refrigerating cycle of a package type air-conditining unit.
[image] Available at: http://engineeringtraining.tpub.com/14070/img/
14070_91_2.jpg [Accessed 8 Oct. 2014].
Jamil, u. (2014). Fire Fighting Systems | Fire Protection Systems - QECPAK - Pakistan.
[online] Qecpak.com. Available at: http://qecpak.com/firefightingsystems.html
[Accessed 12 Oct. 2014].
Jefferson Electric, (2014). [online] Available at:
http://www.jeffersonelectric.com/s3/site/catalog/basics.pdf [Accessed 6 Oct. 2014].
Knapp, J. (2014). Fire Dampers and Smoke Dampers: The Difference is Important. 1st ed.
[PDF] Air Movement and Control Association. Available at:
http://www.amca.org/userfiles/file/firesmokedampers.pdf [Accessed 11 Oct. 2014].
Mitsubishi Electric, (2011). Standard of Air Change Rate. [image] Available at:
http://www.mitsubishi-electric.vn/media/164114/21_500x241.jpg [Accessed 7 Oct.
2014].
Onlinedigeditions.com,. (2014). MR Management – Mann Report Management Vol. I Issue
IV : Elevator Technology. Retrieved 7 October 2014, from
http://onlinedigeditions.com/display_article.php?id=1104104
88 | P a g e
Parmer, J. (2011). Working Principle of Earth Leakage Circuit Breaker (ELCB) and Residual
Current Device (RCD) | EEP. [online] Electrical-engineering-portal.com. Available at:
http://electrical-engineering-portal.com/working-principle-of-earth-leakage-circuit-
breaker-elcb-and-residual-current-device-rcd [Accessed 3 Oct. 2014].
Pickard, Q. (2002). The architects' handbook (1st ed.). Malden, MA: Blackwell Science.
Pinnekamp, F. (2007). The Circuit Breaker: A showcase of industrial product development.
1st ed. Zurich, Switzerland: Group R&D and Technology.
Pisupati, S. (2014). Central Air Conditioning System. [image] Available at:
https://courseware.eeducation.psu.edu/courses/egee102/L09Instruction/Lesson7_imag
es/7_15_diagram.gif [Accessed 11 Oct. 2014].
Roach, K. (2014). Balancing passive, active fire protection. Consulting-Specifying
Engineer, 51(6), 5-8.
Safety rules for the construction and installation of lifts - Part 1: Electric lifts (First
revision). (2012) (1st ed.). Retrieved from
http://file:///C:/Users/Lenovo/Downloads/MS%20EN%2081-1_2012-
PREV%20PDF%20(2).pdf
Semarak Industri Sdn. Bhd. (2013). Products Catalogue: Hose Reel System. Retrieved from
http://www.semarak-industri.com/images/katalog.pdf
Smoke detectors. (2006). Restaurant Business, 105(6), 88.
Snyder, D. (2014). Inspecting Insulation on Air Conditioner Refrigerant Lines. [online] Air-
conditioning-hvac.knoji.com. Available at: https://air-conditioning-
hvac.knoji.com/inspecting-insulation-on-air-conditioner-refrigerant-lines/ [Accessed 8
Oct. 2014].
Snyder, D. (2014). Refrigerant Cycle. [image] Available at:
https://knoji.com/images/user/danmsnyder/refrigeration-cycle-1-b2704cf1.jpg
[Accessed 8 Oct. 2014].
89 | P a g e
Space Airconditioning plc, (2014). What Is Air Conditioning?. [online] Spaceair.co.uk.
Available at: http://www.spaceair.co.uk/what-is-air-conditioning [Accessed 7 Oct.
2014].
Stein, B., & Reynolds, J. (2010). Mechanical and electrical equipment for buildings (11th
ed.). New York: J. Wiley & Sons.
Stokes, G. (2003). Handbook of Electrical Installation Practice. 4th ed. Garsington Road:
Blackwell Science Ltd.
Storr, W. (2013). Three Phase Transformer Connections and Basics. [online] Basic
Electronics Tutorials. Available at: http://www.electronics-
tutorials.ws/transformer/three-phase-transformer.html [Accessed 12 Oct. 2014].
Tenaga Nasional Berhad, (2008). Buku Panduan Piawan Baru Rekabentuk Pencawang
Elektrik (Jenis Bagungan) Bahagian Pembahagian. Kuala Lumpur.
Tenaga Nasional Berhad, (2011). Electricity Supply Application Handbook. Kuala Lumpur:
Distribution Division Tenaga Nasional Berhad.
The Development Commissioner, (2003). Distribution Board. Nirman Bhavan, New Delhi:
Small Industries Service Institute.
US Department of the Interior Bureau of Reclamation, (2005).CO2 System Operation and
Maintenance. Denver, Colorado: Hydroelectric Research and Technical Services
Group.
US Environmental Protection Agency, (2010). Carbon Dioxide as a Fire Suppressant:
Examining the Risks. United State.
Wang, S. K., & Lavan, Z. (1999). Mechanical Engineering Handbook. Boca Rotan: CRC
Press LLC.
Warrior Press, (2014). Refrigerant Cycle. [image] Available at:
http://hvacairconditioningdesign.com/images/Figure125.jpg [Accessed 8 Oct. 2014].
90 | P a g e
Web.mit.edu,. (2014). 2.972 How an Elevator Works. Retrieved 7 October 2014, from
http://web.mit.edu/2.972/www/reports/elevator/elevator.html

Building services group report

  • 1.
    1 | Pa g e 1.0 Introduction Located at Jalan SS13/3A, Subang Jaya, this four-storeys multipurpose building known as Lifepoint, Subang Jaya Assembly of God was constructed from the old Faber Castell office and factory that is now changed into a church that is also commonly used as a community center to hold various events and activities. SH Teh Architect had redesigned the building alongside the existing structures on the 21th of November 2009 and renovated once more on the 10th of October 2011. Architect: Ar. Teh Soh Huang Total floor area: 4559.2m2 Address: 14 Jalan SS13/3A 47500 Subang Jaya Selangor Darul Ehsan Malaysia. 1.1 Abstract The following research report will be a compilation of the working building services in the Lifepoint Building such as the Air conditioning and ventilation system, Electrical supply system, Mechanical transportation and Fire protection system. This report will further delve into the process that these systems undergo in accordance to the Uniform Building By-Laws and other related regulations as well as our own analysis on the advantages and disadvantages of the services. SITE
  • 2.
    2 | Pa g e MECHANICAL VENTILATION AND AIR-CONDITIONING SYSTEM 2.0 Introduction Life Point Church operates mostly on split unit air conditioning system because of its small divided spaces. But the main hall is too big for split unit air conditioning system to provide conditioned and quality air. So the centralised air conditioning system is used to provide adequate fresh cool air to the main hall. The air handling unit is located just behind the main hall which is on top of the robbing room and there are not one but two rooms (one for each sides). This is to reduce the ductwork required to transfer the cool air from the AHU and to reduce heat lost from the cool air thus increasing the efficiency of the air conditioning system and as a strategic if one breaks down. The condenser units are placed outside the robbing room for the same reason. ▲Figure 2.0.1: Location plan of AHU ▲Figure 2.0.2: Entrance of AHU Room ▲Figure 2.0.3: Location of Condenser Units ▲Figure 2.0.4: Condenser units outside robbing room
  • 3.
    3 | Pa g e 2.1 Literature Review A HVAC (Heating, Ventilating and Air Conditioning) system is to provide the people working inside buildings with “conditioned” air so that they will have a comfortable and safe work environment. “Conditioned” air means that air is clean and odour-free, and the temperature, humidity, and movement of the air are within certain comfort ranges (BNP Media, 2000) To ensure that the air quality in a building is maintained, The American Society of Heating, Refrigerating and Air-Conditioning Engineers (ASHRAE) has set standards that more than 80% or more of a commercial building occupants accepts the indoor air quality provided. 2.1.1 Mechanical Ventilation To avoid symptoms of sick building syndrome, mould growths, asthma and dust mite allergies, provision of air circulation must be integrated with building design. Air infiltration can be achieved by natural or mechanical ventilation means. Natural ventilation by these means is difficult to regulate in defined quantities, therefore low-energy-use mechanical ventilation systems, particularly those with a heat recovery facility, are becoming quite common in new-build homes. But when there is enough air ventilation provided from the openings of the building, mechanical exhaust might be needed to extract stale air from internal spaces. Requirements for an acceptable amount of fresh air supply in buildings will vary depending on the nature of occupation and activity. Air change per hour or ventilation rate is preferred criterion for system design. This is calculated by dividing the quantity of air by the room volume and multiplying by the occupancy (Hall & Greeno, 2007) Typical mechanical ventilation systems used by buildings are supply ventilation system, exhaust ventilation system and balance ventilation system (Energy star, n.d.) ◄Figure 2.1.1.1: Exhaust Ventilation (Central Air, Inc., 2014)
  • 4.
    4 | Pa g e Case Study 2.1.2 Air-Conditioning Air-conditioning is a process that simultaneously conditions air; distributes it combined with the outdoor air to the conditioned space; and at the same time controls and maintains the required space’s temperature, humidity, air movement, air cleanliness, sound level, and pressure differential within predetermined limits for the health and comfort of the occupants, for product processing, or both (Wang & Lavan, 1999) Air conditioning is achieved by developing the principles of moving air in ducted ventilation systems to include a number of physical and scientific processes which enhance the air quality. The objective is to provide and maintain internal air conditions at a predetermined state, regardless of the time of year, the season and the external atmospheric environment. For buildings with human occupancy, the design specification is likely to include an internal air temperature of 19-23˚C and relative humidity between 40 and 60% (Hall & Greeno, 2007) Types of air conditioning system, individual system, space system, packaged system, air system, water system, central plan refrigerant and heating system, and control system (Wang & Lavan, 1999) In assembly buildings with seating, people generally remain in one place throughout a performance, so they cannot move away from drafts. Therefore, good air distribution is essential. Because of the configuration of these spaces, supply jet nozzles with long throws of 15 to 45m may need to be installed on sidewalls. For ceiling distribution, downward throw is not critical if returns are low. This approach has been successful in applications that are not noise-sensitive, but designer needs to select air distribution nozzles carefully (ASHRAE, 2011) ▲Figure 2.1.2.1: Standard of Air Change Rate (Mitsubishi Electric, 2011)
  • 5.
    5 | Pa g e 2.2 Mechanical Ventilation Indoor Outdoor ▲Figure 2.2.1: Air flow of Spot Ventilation System ▲Figure 2.2.2: Ground Floor Plan, rooms where Mechanical Ventilation is applied The spot ventilation system practiced in this building is the extract system where they use natural inlet and mechanical extract. The internal space is constantly ventilated whilst indoor air is drawn out causing space to be slightly depressurized. This type of mechanical ventilation is used in the toilets and the pantry of the case study building. This is mostly practised in hot humid climates where there is a risk of drawing hot outdoor air into remaining holes and cracks in the construction assembly where it could reach cool interior surfaces, condense, and cause moisture problems, stated by Energy star (n.d.) Natural inlet (Openings) Mechanical outlet (Propeller Fan) Stale air Fresh Air
  • 6.
    6 | Pa g e 2.2.1 Natural inlet – Windows ▲ Figure 2.2.1.1: Windows in the Toilet ▲ Figure 2.2.1.2: Window in Pantry As stated in UBBL 39(1) that every room designed shall be provided with natural lighting and natural ventilation by means of one or more windows having a total area of not less than 10% of the clear floor area of such room and shall have openings capable of allowing a free uninterrupted passage of air or not less than 10% of such floor area. The large window openings for the rooms stated in Figure 2.2.2. are slightly exceeding the required area accordance to the function and usage of the rooms and the area of the respective rooms. Where the pantry has an area of 17.1 but there is a 2.25 of window opening provided which is 13.1% of the total floor area meeting the requirement of UBBL. In UBBL 39(4), every water-closet, latrine, urinal or bathroom shall be provided with natural lighting and natural ventilation by means of one or more openings having a total area of not less than 0.2 square metres per water-closet, urinal latrine or bathroom and such openings shall be capable of allowing a free uninterrupted passage of air. Whereas the total area of the female toilet is 22.2 and the windows have a total area of 1.8 which is again, more than what is required as there are just five water-closets in the female toilet. Having windows that exceeds the requirements isn’t all a bad thing as horizontal railings are installed for security and safety purposes. By having large surface area of window openings allows prevailing wind to pass through it introducing fresh air into the internal spaces of the building while maintain the indoor air quality.
  • 7.
    7 | Pa g e 2.2.2 Mechanical extract – Propeller fan According to the Third Schedule (2), the inlets should be at high level with extraction points at low level. Re circulation arrangements should not be provided. The incoming air should be filtered and air-conditioned (the theatre temperature being capable of adjustment with mechanical requirements within the range 20 °C to 24.4°C. Control over humidity of air in the rooms should be provided to ensure that it will be within the range of 55% to 65%. And in the Third Schedule (5), Air inlet points shall be not lower than two-thirds of the height of the room and exhaust air openings shall be within 1 metre of the finished floor level of the enclosure. This method of natural inlet and mechanical outlet is used only in various part of the building. Locations like, toilets, pantry. As mentioned, internal space requires stale air to be transferred out to ensure that indoor air quality is maintained and to have a comfortable internal environment. 2.3 Air-Conditioning System Air-conditioning system is a system for controlling the temperature and humidity of air in a building (Space Air conditioning plc, 2014) Besides controlling the temperature of the room in the building, air-conditioning provides ventilation to the space bringing oxygen for the occupants to breathe in while filtering off dust, pollen and other micro particles from the recycled air that will bring harm them. There are two types of air-conditioning systems in our building which are the split unit air-conditioning system and the centralised air-conditioning system. ▲Figure 2.2.2.1: Propeller in Kitchen ▲Figure 2.2.2.2: Surface Mounted Fan
  • 8.
    8 | Pa g e 2.3.1 Centralised Air Conditioning System ▲Figure 2.3.1.1: Location of Central Air Conditioning System ▲Figure 2.3.1.2: Central Air Conditioning System (Pisupati, 2014) This centralized air-conditioning system could be seen in the main hall, where the air handling unit (AHU) is located behind the stage. In this case, there are two AHU room in the building to provide conditioned air to the main hall which is the biggest room in the whole building. There are few basic mechanical components which work together to create a comfortable internal environment for the users (How Central Air Conditioner Works, n.d.)
  • 9.
    9 | Pa g e One of the components is the compressor (refer 2.3.2.3) which controls the pressure difference in the whole central air conditioning system. The high pressured gas from compressor will then moves to the condenser (refer to 2.3.2.4) to release the heat outdoor with the aid of condenser fan in the unit. The refrigerant is condensed here turning it to liquid form. The evaporator (refer to 2.3.2.7) and blower (refer to 2.3.2.11) work as one to cool down the main hall. The refrigerant flows through the evaporator whereas the blower is responsible to suck the return air into the AHU then blow it out through the evaporator while the refrigerant removes the heat from the air. There is a meter device, which controls the amount of refrigerant passing through, called expansion valve (refer 2.3.2.6). In events of fire, fire damper (refer to 2.3.2.15) in the ducting system will act. (Knapp. 2014)
  • 10.
    10 | Pa g e 2.3.2 Components of Air Conditioner 2.3.2.1 Refrigerant Cycle ▲Figure 2.3.2.1.1: Refrigerant cycle in air-conditioner (Warrior Press, 2014) For air conditioner to operate, the refrigerant must be used repeatedly. The refrigerant undergoes the same cycle of compression, condensation, expansion and evaporation in a closed circuit (Hoffman, 2006) High pressure liquid Low pressure liquid Condenser Expansion Valve Evaporator Compressor High pressure gasLow pressure gas ▲Figure 2.3.2.1.2: Basic Refrigerant Cycle
  • 11.
    11 | Pa g e Firstly, the refrigerant goes into the compressor (refer 2.3.2.3) as a low pressure gas and comes out as a high pressure gas. The gas will then move to the condenser (refer 2.3.2.4) and the gas will start to condense into liquid while removing its heat outside. As the high pressure liquid flows into the expansion valve (refer 2.3.2.6), the flow of liquid is restricted and the pressure is lowered as it leaves the expansion valve. After that, the low pressure liquid moves into the evaporator (refer to 2.3.2.7) and ended up in the compressor where the cycle is repeated. 2.3.2.2 Air Cycle The air cycle between the interior spaces and the AHU room works together as one. Air cycle is a process where the conditioned air is distributed back to the room. The heat inside the spaces is removed when the air is absorbed by the evaporator (refer to 2.3.2.7). Then the hot refrigerant will flow back towards the condenser (refer to 2.3.2.4) and release the heat back to the external environment. ▲Figure 2.3.2.2.1: Schematic diagram of Air Cycle
  • 12.
    12 | Pa g e 2.3.2.3 Compressor ▲Figure 2.3.2.3.1: First Floor Plan with Compressor indicated Total compressors used for site are ten, five on the right and another five on the left. This is done in case there is an emergency breakdown, thus the other five compressors can still be operated. This component is located in the condenser unit which is the Packaged Unit Air Conditioning System, located outdoor for ventilation. Type of compressor used would be the reciprocating compressor, where gas is extracted into cylinder in piston stroke, discharge valve opens when compressed, as the low pressured vaporized refrigerant flows through the compressor, it will be compressed to high pressure causing it to be very hot. One of the advantages of using reciprocating compressor would be that high pressure could be achieved with low mass flow and is cheap. ▲Figure 2.3.2.3.2: Condenser Unit with Compressor Inside
  • 13.
    13 | Pa g e 2.3.2.4 Condenser The condenser and compressor are placed together in the same system, as they used the centralised air conditioning system, while them both plays different role, the condenser is in charge of removing heat from the high pressure liquefy refrigerant thus condensing the liquid to vapour form. 2.3.2.5 Air Handling Unit Rooms (AHU) ▲Diagram 2.3.2.5.1: First Floor Plan with AHU Room indicated. The AHU Rooms are located at the back of the main hall and the compressors being behind the room allows easy access and maintenance. It is important to locate the AHU room in an appropriate location as it affects structural costs, architectural design. Inside there is the control panel (refer 2.3.2.8), evaporator (refer 2.3.2.7), expansion valve (refer 2.3.1.6), blower (2.3.2.11) and the entire system needed to run the air-conditioning system. There are ▲Figure 2.3.2.4.1: Condenser Unit
  • 14.
    14 | Pa g e a total of two AHU rooms in the entire building. Both used to facilitate just for the main hall. The AHU room is usually restricted as it is where the machinery is located. It is important for the ventilation engineers to design the AHU room accordance to required air conditioning system to it. According to ASHRAE (2011), making sure that the room meets the project’s budget and provides compliance with the prescribed regulatory requirements such as building life safety, energy and ventilation code is important. 2.3.2.6 Expansion Valve Situated in the air handler where it is near the evaporator. When the high pressure liquid flows through the expansion valve, it will then lowered the pressure of the liquid and restricted the volume of the flow of the liquid and its pressure as it passes to the condenser. 2.3.2.7 Evaporator Positioned in the AHU Room this is behind the main hall. It is a system filled with coils where it will convert low pressure liquid refrigerant into low pressure vapour refrigerant when the refrigerant absorbs heat. This is known as the evaporation process. Low pressure liquid that was partially collected from the expansion valve and main hall will be passes on to condenser unit to be pressurized by the compressor.
  • 15.
    15 | Pa g e 2.3.2.8 Control Panel Electricity for the air conditioning system is separated from the power and lighting system. This is due to the fact that if the electric circuit for the lighting trips, they would be able to control their air conditioning system. This could be taken into account as an emergent solution. The air conditioning system has their very own panel board in the consumer switch room. And each air conditioning unit has their own circuit breaker, each labelled accordingly in order not to cause confusion for personnel who have little knowledge on the air conditioning system. Control panels allow occupant to adjust room temperature accordingly to fit their comfort. ▲Figure 2.3.2.8.1: HVAC System Control Panel in Consumer Switch Room (left) Control Panel of Compressor to indicated designated temperature (right)
  • 16.
    16 | Pa g e 2.3.2.9 Air Filter Air filter placed on the exterior of machineries and equipment are used to protect the machinery and equipment. It is generally used to filter out dust and unwanted substance before being suck into the system. Filters needs to be changed occasionally, as used filter would affect the quality of airflow in space. 2.3.2.10 Ventilation Louver placed on the on the wall of room in order to provide ventilation to AHU room. The ventilation is also used to allow air flow inside room, thus to be ‘recycle’. And accordance to ASHRAE (2011), by providing ventilation means into the breathing zone of facility occupants. ▲Figure 2.3.2.10.1: Ventilation louver inside AHU Room ▲Figure 2.3.2.9.1: Air filters on machinery ▲Figure 2.3.2.9.2: Tissue being used as demonstration
  • 17.
    17 | Pa g e 2.3.2.11 Blower This blower fan is located near the evaporator to blow warm return air passed the evaporator coil to remove heat from the return air and discharge the cool supply back to the internal spaces through the cone diffuser. 2.3.2.12 Supply Air Diffuser Air supply for large spaces should be designed in order to provide thermal comfort for user. According to ASHRAE (2011), air is generally distributed from height of 4.3m and greater. By designing the diffuser at a tall height, air could be flow out and produce a constant temperature for space. The evaporator behind the cone diffuser, a system of coils that, when filled with cold refrigerant, it cools the air around it. It will then convert low pressure liquid refrigerant into low pressure vapour refrigerant. Hence cool air is produced. 2.3.2.13 Return Air Griller ▲Figure 2.3.2.13.1: Mechanical extraction in main hall under stage ▲Figure 2.3.2.12.1: A line of cone Diffuser ▲Figure 2.3.2.12.2: Close-up of Cone Diffuser
  • 18.
    18 | Pa g e The Third Schedule (5) pointed out that, air inlet points shall be not lower than two-thirds of the height of the room and exhaust air openings shall be within 1 metre of the finished floor level of the enclosure. Whereas the louvers acting as openings, allows the mechanical extraction in the AHU Room, absorbs the water vapour and stale air, where the ducts would bring the unclean air and odour to compressor as to ‘recycle’ the air. This mechanical extract is also to help maintain cleanliness of the carpet, just so the carpet would not absorb the water vapour causing it to be moist. 2.3.2.14 Duct System Ducting is used to transfer cool air to space. It is also used to convey exhaust air from hood to the outside along with any grease, smoke, VOCs and odours that are not extracted from the airstream along the way. These ducts act as an airstream from the internal to the external, vice versa. The ducts must be grease tight; it must be clear of combusts, or combustible material must be protected so that it cannot be ignited by fire in ducts; and ducts must be sized to convey the volume of airflow necessary to remove the effluence as stated in (ASHRAE, 2010). In order to control the volume of air flow to space, dampers (refer to 2.3.4.1), are used. It is the ventilation engineers’ job to figure the specified type of ducting that would suit the airway based on the velocity of air. As ASHRAE (2010) stated that if the air way is oversized and velocity is low, it will cost more than necessary. Appropriate air velocity should be under 6m/s. Figure 2.3.2.14.1: Ducting System in AHU Room
  • 19.
    19 | Pa g e 2.3.2.15 Dampers Dampers are found inside ducting system of ventilation. It’s serve to control the volume of air exhausted out from HVAC system. Also serving the purpose of fire protection if fire breaks out and smoke kindled, dampers can be used to block out smoke from flowing to another space. As static fire dampers applied in HVAC system are built in to shut down in the events of a fire upon detection (Knapp, 2014) 2.3.2.16 Pipe System There are two main lines in the Pipe System; liquid line and suction line. The liquid line is located between the condenser unit and the evaporator. In the condenser unit, the condenser fan will introduce air into the unit and heat from the internal spaces absorbed by the refrigerant will be released to the external surrounding. The smaller diameter of the tube carries liquid refrigerant from the condenser unit where the line will get very hot when the refrigerant is pressurised as it passes through the tube. In the Life Point Church, the liquid line is not insulated as the heat transfer between the refrigerant and the surrounding is minimal because of the climate in Malaysia. The suction line is a larger diameter tube that carries refrigerant vapour between the evaporator and the condenser unit. This line is very cold when it is in operation because the vaporized refrigerant expands as it cools down. When the refrigerant pass through the evaporator, the return air will be sucked into the unit and cool air will be blown out by the blower in the evaporator causing the rooms temperature to be cool. This line has to be insulated using the rubber insulation pipe to prevent heat gain from the external surrounding. Suction / Vapour Line Liquid Line ▲Figure 2.3.3.6: Refrigerant line
  • 20.
    20 | Pa g e 2.3.3 Split Unit Conditioning System The split unit air-conditioning system integrated by Life Point Church is the ductless split unit where there is no fresh air introduced into the spaces. The existing indoor air is recycled and recirculated unless there are openings to provide ventilation. Different types of indoor units identified in the building which is the wall mounted and the ceiling mounted/cassette type. ▲Figure 2.3.3.3: Wall mounted type▲Figure 2.3.3.2: Wall mounted type ▲Figure 2.3.3.4: Ceiling mounted type ▲Figure 2.3.3.1: Location of Split Unit Air Conditioner
  • 21.
    21 | Pa g e The wall air conditioners are frequently used in singles room where prayers or meetings are held. Each unit would have their own outdoor unit, making a total of 75 units. Piping system (refer to 2.3.2.16) could be seen traveling on walls or panel from space to space as shown in Figure 2.3.3.5, connecting from their individual outdoor unit to their own personalize indoor unit. They could be control individually using a simple remote control, allowing user to easily control the temperature to their liking. The prayer rooms are ventilated using this system. Individual condenser is place at designated location, mostly in rooms designed for minimum amount of people. This system isn’t used as often, especially when the centralized air conditioning system is being used. ▲Figure 2.3.3.5: Piping System ▲Figure 2.3.3.6: Split Unit Air-Conditioning System (heatingpartscenter, 2012) ▲Figure 2.3.3.7: Refrigerant line of split unit air conditioner (Snyder, 2014)
  • 22.
    22 | Pa g e The split unit air conditioner consists of two units which are the condenser unit, which is placed outdoor, and the evaporator, which is the indoor unit. The condenser unit consists of compressor and condenser where they work together as a whole. The outdoor and indoor units are both connected by copper tubing that are insulated by black rubber insulation pipe. The copper tubing is the refrigerant line which runs between the evaporator coil in the air handler (indoor) and the condenser unit that contains the compressor and condenser coil (outdoor). The insulation on the suction or vapour lines (refer to Piping System 2.3.2.16) connecting to the outdoor condensing unit is very important in maintaining the efficiency of the system and reducing energy consumption (Snyder, 2014) ▲ Figure 2.3.3.8: Indoor Unit (Evaporator) ▲ Figure 2.3.3.9: Outdoor Unit (Condenser Unit) 2.3.4 Analysis The centralised air conditioning system in the main hall is switch on at all times, this is to cut cost on the electricity. As by having the compressors on at all times, the energy to turn it back off and on would cost more than having the compressors running straight for three hours. The condenser units for the split unit air conditioners are also located at places that are easier to reach for maintenance.
  • 23.
    23 | Pa g e ELECTRICAL SUPPLY SYSTEM 3.0 Introduction Life Point Church is a four-storeys height community building which consisted of different functional spaces, such as halls, cafeteria, classrooms and sports area, to serve the users. Electricity plays an important role in supporting the function of the spaces. The electrical system used in the building is three-phase four wire system, which are the system applied in Malaysia. Since it is a community building which can carries large amount of users, the power of 415v instead of 240v is required to be supplied to the equiprment throughout the building. The total area of Life Point Church is 2130m square, which the indoor connected substation is needed. A transformer comes along with the substation is located just right next to it in a TNB transformer room, followed by the building consumer switch room. Buku Panduan Piawan Elektrik: An indoor main distribution substation with 33/11kV power is required in order to supply a building with total area of 2116m square. ▲Figure 3.0: The image shows the location of main switch room and M&E room at the ground floor. As shown in Figure 3.0 there is a Mechanical and Electrical room (M&E) in the ground floor which located right next to the Main Hall. This room consists of different distribution boards which controls electricity supply towards different spaces in our site. In the first and second floor, there is no M&E room but only a distribution boxes which are located seperately in each floor since it does not have to support heavy electrical equipment such as the air-conditioning system in the main hall located at ground floor.
  • 24.
    24 | Pa g e 3.1 Literature Review The electric power industry shapes and contributes to the welfare, progress, and technological advances of humanity (El-Hawary and El-Hawary, n.d.). As time goes, the power plants and generating station were built bigger in size so that they could perform better and produce higher voltage of electric power that could be transmitted over a great distance towards different industries to the consumers. ▲ Figure 3.1.1: The transport of electricity and brief introduction on the flow. (Australian Government Department of Industry, n.d.) In Malaysia, the electrical system used is three-phase four wire system. Three-phase four wire distribution systems have been used to supply single-phase low-voltage loads. The advantages of this system is that it is grounded and it has a neutral phase compared to three- phase three wire system. The structure of the electrical power system included a generation system which consist of generators and transformers. In Peninsula Malaysia, we have Tenaga Nasional Berhad (TNB) which operates different types of power generators, such as hydroelectric, coal-fired plants, oil-fired plants and also plenty biomass and hybrid power station that supply electrical power. TNB uses mostly coal-fired plants but due to the consideration of environment, excessive conservation of fossil fuels are not recommended to be used. Hence,
  • 25.
    25 | Pa g e other approaches such as hydroelectric power plant is slowly developing in Malaysia electrical power generation system. Electricity is processed by step-up transformers before it is connected to the national grid (Hall & Greeno, 2005). A step-up transformer reduces loses in line in order to ensure the transmission of power could carry on longer and to a long distance. Once the power reached its consumer unit, a step-down transformer is now needed to reduce the voltage to a required value depends on the needs of the consumer unit. That is why a substation is needed to transform power with high efficiency from one level of voltage to another before entering a building. Next, the electricity will goes through distribution system which utilise the overhead and underground conductor. The distribution system can be classified into two, which is the primary distributional line which serves small industries and the secondary distribution network that utilises commercial and residential consumers. The planning of an electrical power system should be continue in a consumer unit in order to protect the power system. This operational planning included instrument transformer, circuit breakers, disconnect switches, fuses and lighting arresters. All the compartments are working in cooperation with each another and are placed on panel boards in the consumer switch room. ▲ Figure 3.1.2: A TNB Substation in larger scale that supply power for industrial building which located right next to our site.
  • 26.
    26 | Pa g e Case Study 3.2 TNB Substation ▲ Diagram 3.2: Schematic diagram of the system component of the electrical power supply system flow from the input to the output source. According to the TNB Electricity Supply Application Handbook, Tenaga Nasional Berhad (TNB), is charged with the two main responsibilities. The first is to generate, transmit and distribute and sell energy to consumer throughout Peninsula Malaysia. And following by to plan install, operate and maintain electricity installation for the generation, transmission and distribution of electricity. The parties such as consultant engineers are involved in making decision to change the substation number, size, location and the consumer switch room. From substation supply Consumer Switch Room Panel Board Switch Gear Mechanical and Electrical Room Distribution Board Consumer Unit 3 Phase Miniature Circuit Breaker (MCB) Ring Circuit ▲ Figure 3.2.1 The location of TNB room which is located at the ground floor of the building. ▲ Figure 3.2.2 The exterior look of TNB transformer room and TNB switch room which are placed next to each other.
  • 27.
    27 | Pa g e The TNB transformer room transfer voltage from high to low. It is located between the generation station and the consumer switch room to ensure that the electricity can flows through in different voltage levels. The total area of TNB switch room in Live Point Church is 6600mm x 6000mm x 4000mm. It reached the requirement as stated in Malaysian Grid Code. Malaysian Grid Code: The TNB switch room was required to reach a minimum size of 6000mm x 5000mm x 4000mm where the size could be modified through discussion by both TNB and consultant engineer. In the TNB transformer room, a 1000kVA transformer is used. 15-1000kVA transformer is categorised under a three phase transformer (Jefferson Electric, 2014). This type of transformer is used for all general three phase loads, either indoor or outdoor, which included lighting, industrial and commercial applications. Advantage of using the three phase transformer is that it is smaller, lighter and cheaper than three individual single phase transformer connected together (Storr, 2013). ▲ Figure 3.2.3: The symbol indicating voltage of the transformer used. ▲ Figure 3.2.4: Meter and fire alarm at the exterior of the TNB substation for safety purpose.
  • 28.
    28 | Pa g e 3.3 Consumer Switch Room A consumer switch room contains of different compartments of operating power system, such as panel board, distribution board, switch panels and physical TNB check-up meter. It maintains the reactive power balance and acts as a control center to distribute electrical power throughout the building. Electric supply from the TNB substation is transferred to this room where it serves as the main electrical distribution room for the Live Point Church. Hence, it is placed next to the TNB substation to ensure that the power is transferred within a short distance to prevent excessive loss of electrical power. Fire protection equipment such as fire extinguishers, fire sprinkler and fire alarm are placed inside room to ensure safety. Besides, the door and windows in the room are well protected as well, so that the fire will not spread to other places. ▲ Figure 3.3.1: The location of consumer switch room which located right next to the substation, and the side entrance. ▲ Figure 3.3.2, 3.3.3, 3.3.4: Emergency light, Fire extinguishers, smoke detector and fire sprinkler are used. The detail of fire protection system in the consumer switch room will be further explain in Topic 3: Fire Protection System. These equipment are necessary in ensure the building safety.
  • 29.
    29 | Pa g e 3.4 Panel Board The main compartment which is located in the Consumer Switch Room is the panel board. It has an assembly of switches and circuit protection devices from which power is distributed. This distribution of the large incoming electricity supply from the TNB substation into appropriate electricity voltage is required in order to serve their individual purposes. The type of panel board used in this building is the metal enclosed panel board. Metal enclosed panel board in which components arranged in separate compartments with metal enclosures is intended to be earthed (Stokes, 2003). The boards are to be totally enclosed with sheets of steel fabricated for safety purposes. The components of the board included the main switch devices, circuit breaker and busbar chambers. ▲ Figure 3.4.1: Panel boards inside the Consumer Switch Room. ► Figure 3.4.2: A separated panel board that only supply electrical power to the air-conditioning system. Mr. Eddie, the person in-charged in M&E said that, the air-conditioning system is the largest and the most important system in Life Point Church. The breakdown of this system will influence much to the function of the building and its users. Hence it has to be separated by having an individual switch board that only takes control on itself to ensure that the falls in other systems will not interrupt the operating of it.
  • 30.
    30 | Pa g e 3.5 Switch Gear As mentioned, switch is one of the important part in a compartment of a panel board. A mechanical switching device is capable in making, carrying and breaking currents under normal circuit conditions (Stokes, 2003). As observed, each switch gear in a panel board contains of a main circuit breaker, an earth leakage circuit breaker, and a meter. Busbar chamber is another main component that is hidden in the panel board. ▲ Diagram 3.5: Diagram shows the components in a switch gear. Switch Gear Switches Circuit Breaker Earth Leakage Circuit Breaker (ELCB) Busbar Chamber Metering apparatus ◄ Figure 3.5.1: The component in compartment in the panel board, which included switches, circuit breaker, and meter. ◄ Figure 3.5.2: A kilowatt hour meter is used for the reading of energy consumed. Panel Board Meter Circuit Breaker ELCB MCB
  • 31.
    31 | Pa g e 3.5.1 Switch Switch has a function which is more or the same as a circuit breaker. But switch is relatively cheaper than circuit breaker in a distributional system. The only difference between a switch and a circuit breaker is that switch does not interrupt fault current flow (Stokes, 2003). The function of circuit breaker on interrupting current will be further explain. ▲ Figure 3.5.1.1: The switch to control capacity bank. 3.5.2 High Performance Circuit Breaker Circuit breaker is an important feature that ensures the safety in the operation of an electrical grid. It is a device that could interrupts and makes, short-circuit current as well as operating on load current (Stokes, 2003). It has to be turned on all time because there are two main tasks, first, is its responsibility in the daily switching of lines during normal operating on load current, and secondly for the disconnection of the power supply in case of power overload or short circuit while the power is off (Pinnekamp, 2007). The type of circuit breaker used is a low-voltage high performance circuit breaker. ▲ Figure 3.5.2.1: High performance circuit breaker used found in the switch board
  • 32.
    32 | Pa g e 3.5.3 Earth Leakage Circuit Breaker (ELCB) Earth leakage circuit breaker (ELCB) is also an important part in the panel board. An ELCB is a device used in cutting off the power once it detects the happening of leakage from the installation to the earth (Parmer, 2011). The type of ELCB used is a current operated. This component is also known as Residual-current devices (RCD). It trips the contact of the circuit conductors once the imbalance in current is detected. ▲ Figure 3.5.3.1, 3.5.3.2: The images show two different types of Residual-current Devices used in site. 3.5.4 Busbar Chamber Busbar is a grounded copper bar in a panel board to which all the neutral and groundling wires are connected to different equipment such as distribution board, substation and the switch gear. Copper is chosen is because it could conduct electricity better than other metals especially brass and aluminium. Besides, it is relatively cheaper as well. ▲ Figure 3.5.4: Cables that are connected to the busbar chamber which is placed inside the board. It connects the busbar to the other electrical apparatus through different wires.
  • 33.
    33 | Pa g e 3.6 Mechanical and Electrical Room (M&E) M&E stands for the Mechanical and Electrical. The M&E room locates different distribution boards in it. 3.6.1 Distribution Board (DB) The Distribution Board, refers to an equipment which connects, controls and protects a number of branch circuits fed from one main circuit of a wiring installation in a building or premises for easy and safe handling of incoming power supply (The Development Commissioner, 2003). It might consists switches, bus bars, fuse link and some other protective equipments. 3.7 Consumer Unit ▲ Figure 3.6.1.2: Members consisted in one Distribution Board. ▲ Figure 3.6: Outlook of the M&E room with different DB that controls different areas and systems which is located at ground floor. ▲ Figure 3.6.1: In the first and second floor, there is no room to store the DB. But they put the DB in a cabinet which is located in classroom. ▲ Figure 3.6.1.1: Example of Distribution Board. It is called DB in short.
  • 34.
    34 | Pa g e 3.7 Consumer Unit A consumer unit is very similar to the distribution boards where both acts as a control to different system. But consumer unit is smaller than DB and it is not directly connected to the main panel boards in the Consumer switch room. It is called “fuse box” in short. This unit contains a two-pole switch isolator for neutral supply cables and the phase. It also has three bars for the line, neutral and cpc (circuit protective conductor) to earth terminals. The line bar is provided with miniature circuit breakers (MCB) each to protect individual circuits from overload (Hall & Greeno, 2007). 3.7.1 Miniature Circuit Breaker (MCB) The low voltage miniature circuit breaker has the same function other circuit breakers. It is a fuse that switches off electricity when abnormal circuit condition is detected. But it is preferably use compare to a fuse because of its quick restoration and automatic system. ▲ Figure 3.7: Consumer unit found in the third floor which controls the lighting system in the sport complex. ▲ Figure 3.7.1: MCB found in the fuse box
  • 35.
    35 | Pa g e 3.8 Ring Breaker A ring breaker circuit would be taken around the site with supplies taken into each building. Using underground electrical cables which are loop-in into the buildings accordingly from the substations. This provides a higher stability of supply and lower number of cables compared to radial system. It is not connected to the either the distribution board or the consumer unit. 3.9 Analysis In conclusion, due to safety purposes, the TNB rooms are well locked and have been taken care in good condition. It proves that the management of the building has been threating the TNB switch room as an important space since the high voltage of electrical power could endanger the users. Besides, there is a TNB check-up meter recording the data of power used in the consumer switch room. The checking up of the system is not only providing information to the TNB, it also ensure the safety of the building by protecting the system. In the other hand, the planning of the distribution board in the first and second floor are lack of consideration. This is because of the cabinet is placed in a public open area, the learning room for children. The engineers should have consider the safety of users before they plan the location to place the distribution boards. Lastly, as shown in Figure 3.8.1 and Figure 3.8.2, some of the plug points are not in good condition and the cable cover has also been destroyed leaving the cable exposed. The management should have more check-up and repair the broken parts to ensure the users safety. ▲ Figure 3.8.1 Circuit plug point found on site. ▲ Figure 3.8.2: The cable that connected the ring breaker circuit to the substation
  • 36.
    36 | Pa g e MECHANICAL TRANSPORTATION SYSTEM 4.0 Introduction ▲ Figure 4.0: Location of Elevator at Ground Floor Plan The church is using machine room less elevator system. This elevator system is newly built along with the new main lobby. There is only one passenger lift in this four storey building. The model of lift used is Schindler 3300AP. It installed next to main lobby entrance and main hall. It has to be designed according to local laws for safety purpose and user friendly. For example, the handrail of the car is installed according to the height of wheel chair. The total weight that it can withstand is approximately 1160kg according to the notice pasted in the elevator. It is able to transport 17 person at a time.
  • 37.
    37 | Pa g e 4.1 Literature Review Mechanical transportation system include elevator, escalator and moving walkway. In this report, the mechanical transportation system that we cover is vertical mechanical transportation system. Elevator is vertical transportation equipment that efficiently moves people and goods between floors of a building (Web.mit.edu, 2014). An ideal elevator installation provide minimum waiting period for the car at each landing level, comfortable acceleration, rapid loading and unloading of doors, quiet operation of door, secure, safe and quick (Pickard, 2002). The number of elevator installed is due to several factors, which are the population of users occupy the building, type of building occupancy, number of floor and height, starting and finishing times of the population, position of building in relation to public transport services (Pickard, 2002). The type of elevator can been classified to four system, which are hydraulic elevator, traction elevator, climbing elevator and pneumatic elevator. In the case study, the elevator we study is traction elevator. Type of elevator is chosen according to building height, building type, hoist mechanism, elevation users and type of users. (Safety rules for the construction and installation of lifts - Part 1: Electric lifts (First revision), 2012) There are three types of traction elevators, which are geared traction elevator, gearless traction elevator and machine-room-less elevator. The type of traction elevator can be identified by location of machine room and type of traction machine used. Machine-room- less elevator does not required machine room. The traction motor is directly attach to top side of lift shaft. MRL elevators saves building space as it does not required machine room. The building electricity can saves up to 70% as the motor works with Variable Voltage Variable Frequency (VVVF) drive. Hence, the expenses of MRL elevator is lower than other traction elevator. (Safety rules for the construction and installation of lifts - Part 1: Electric lifts (First revision), 2012)
  • 38.
    38 | Pa g e Case Study 4.2.1 Operation Chart of Machine-Room-Less Traction Elevator ACVF Lift Frame Traction Machine Car Guide Counterweight GuideCounterweight Guide Gu Overspeed Governor Buffer Wire Rope Platform Door OperatorDoor Safety Devices Landing Landing Door Landing Fixtures Lift Shaft Lift Car Lift Pit Car Main Control Panel Second Floor Lift Frame
  • 39.
    39 | Pa g e 4.2.2 Control Panel ▲Figure 4.2.2.1: Key Hole to open Main Control Panel ▲Figure 4.2.2.2: Interior of Main Control Panel ▲Figure 4.2.2.3: Elevator Section The main control panel is installed at lift frame of second floor for service purpose and safety purpose. It receive the voltage supplied from main electricity supply (TNB) and turn down the voltage to predetermined voltage level to controls the entire elevator system and ACVF machine that located in machine room. It receives signal from users through car operating panels. It also initiates raise or lower directional command and starting or stopping lift car.
  • 40.
    40 | Pa g e 4.2.3 ACVF ▲Figure 4.2.3.1: ACVF in lift shaft ▲Figure 4.2.3.2: Elevator Section The ACVF functions to receive signal from main control panel and control the components in lift shaft. It has been installed beside the traction motor. If there is emergency, the main control panel will cut down the electricity provide to ACVF, then the entire elevator system will be stopped.
  • 41.
    41 | Pa g e 4.2.4 Traction Machine ▲Figure 4.2.4.1: Gearless Traction Motor in Machine Room ▲Figure 4.2.4.2: Cooling Fan installed at Gearless Traction Motor ▲Figure 4.2.4.3: Elevator Section Safety rules for the construction and installation of lifts - Part 1: Electric lifts (First revision) i. The ratio between the pitch diameter of sheaves, pulleys or drums and the nominal diameter of the suspension ropes shall be at least 40, regardless of the number of strands. Gearless traction machine is used in the studied elevator system. It includes machine, traction sheave, brake and encoder. The gearless motor used enables a direct power transfer to avoid loss of power. A cooling fan is installed on to the motor to avoid overheat. The traction sheave is connected directly to the shaft of the traction motor, the motor rotation is transmitted directly to the traction sheave without any intermediate gearing. The drive used gearless machine for smooth ride quality. As the gearless machine allows smooth ride quality, it does not required oil lubrication. A frequency converter is equipped with stand-by power mode for emergency purpose.
  • 42.
    42 | Pa g e 4.2.5 Overspeed Governor ▲Figure 4.2.5.1: Plan view of Lift Shaft ▲Figure 4.2.5.2: Overspeed Governor on top of lift shaft ▲Figure 4.2.5.3: Safety Contact of Overspeed Governor ▲Figure 4.2.5.4: Speed limit of Overspeed Governor Safety rules for the construction and installation of lifts - Part 1: Electric lifts (First revision) i. Tripping of the overspeed governor for the car safety gear shall occur at a speed at least Equal to 115 % of the rated speed. ii. The tripping speed of an overspeed governor for a counterweight or balancing weight safety gear shall be higher than that for the car safety gear according to (i), not, however exceeding it by more than 10 %. iii. The direction of rotation, corresponding to the operation of the safety gear, shall be marked on the overspeed governor. iv. The minimum breaking load of the rope shall be related by a safety factor of at least 8 to the tensile force produced in the rope of the overspeed governor when tripped taking into Governor Pulley Safety ContactGovernor Rope Tension Spring
  • 43.
    43 | Pa g e account a friction factor µmax equal to 0.2 for traction type overspeed governor. v. On the overspeed governor a data plate shall be fixed indicating : a) The name of the manufacturer of the overspeed governor; b) The type examination sign and its references; c) The actual tripping speed for which it has been adjusted. There are two overspeed governor installed for this elevator system. One is installed on top of lift shaft and another one is installed at lift pit. It functions to stop and hold the governor rope with a predetermined force when car exceeding 40% of the rated speed. The predetermined speed of the car is approximately 1 m/s, if the car speed is detected over this predetermined speed, the tension spring will first response, then trigger the safety contact and locking plate. A cable is usually attached to the safeties on the underside of the car, which is governor rope. The governor rope runs down through a pulley at the bottom of the shaft and back up to the machine room and around the governor sheave.
  • 44.
    44 | Pa g e 4.2.6 Guide Rails ▲Figure 4.2.6.1: Counterweight Guide ▲Figure 4.2.6.2: Car Guide with Oil Lubricant Attached on it Safety rules for the construction and installation of lifts - Part 1: Electric lifts (First revision) i. The guide rails, their joints and attachments shall be sufficient to withstand the loads and forces imposed on them in order to ensure a safe operation of the lift. ii. For T-profile guide rails the maximum calculated permissible deflections are : a) 5 mm in both directions for car, counterweight or balancing weight guide rails on which safety gears are operating ; b) 10 mm in both directions for guide rails of counterweight or balancing weight without safety gears. iii. Guide rails for counterweights or balancing weights without safety gear may be made of formed metal sheet. They shall be protected against corrosion. Guide rails including car guides and counterweight guides. The machined channel and 'T' section secured to car and wall respectively. It guides the car and counterweights to ensure that they will travel in a uniform vertical direction. In order to ensure smooth ride, the cotton that soaked with oil attached to the surface of guide rails, hence it is able to lubricate the guide rails during travelling. The oil level has to be checked frequently to ensure it does not goes below the red line to improve travel quality. Counterweight Guide Cotton Car Guide Oil
  • 45.
    45 | Pa g e 4.2.7 Counterweight ▲Figure 4.2.7.1: Counterweight Guide ▲Figure 4.2.7.2 Elevator Section Safety rules for the construction and installation of lifts - Part 1: Electric lifts (First revision) i. If the counterweight or the balancing weight incorporates filler weights, necessary measures shall be taken to prevent their displacement. To this effect the following shall be used: a) Either a frame in which the fillers are secured, or b) If the fillers are made of metal, and if the rated speed of the lifts does not exceed 1 m/s, a minimum of two tie-rods on which the fillers are secured. It provides traction and acts as a balance to the weight of car about 40% to 50% of the car rated load. It also reduces the size of lift motor and provide safety measure when the counterweight on its buffer, hence removing traction from car. Counterweight
  • 46.
    46 | Pa g e 4.2.8 Buffers ▲Figure 4.2.8.1 Oil Buffer at Lift Pit ▲Figure 4.2.8.2: Elevator Section Safety rules for the construction and installation of lifts - Part 1: Electric lifts (First revision) i. Lifts shall be provided with buffers at the bottom limit of travel of the car and counterweight Oil buffer is used in this elevator system. It functions to accumulate and dissipate the kinetic energy of the car or counterweight. Oil buffer is commonly used for traction elevators. It is combination of oil and springs to reduce speed of descending car or counterweight. It is located in elevator pit. It requires routine cleaning and painting to ensure it is in well performance specification.
  • 47.
    47 | Pa g e 4.2.9 Schindler’s Traction Media ▲Figure 4.2.9.1: Traction Pulley in Traction Machine ▲Figure 4.2.9.2: Elevator Section Safety rules for the construction and installation of lifts - Part 1: Electric lifts (First revision) i. The ends of each chain shall be fixed to the car, counterweight or balancing weight, or suspension points of the dead parts of reeved chains by suitable terminations. The junction between the chain and the chain termination shall be able to resist at least 80 % of the minimum breaking load of the chain. ii. An automatic device shall be provided for equalizing the tension of suspension ropes or chains, at least at one of their ends. iii. Rope traction shall be such that the following three conditions are fulfilled : a) The car shall be maintained at floor level without slip when loaded to 125 %. b) it shall be ensured that any emergency braking causes the car, whether empty or with rated load, to decelerate with a value not exceeding the setting of the buffer, including reduced stroke buffer ; Instead of using wire rope, the traction media has been used due to the improved elasticity and smaller space requirement. The traction pulley for steel ropes is replaced by an only 85mm traction shaft. It has 8 traction media to connect to the car for safety purpose. It requires smaller motor, which benefit the machine-room-less elevator system. It is connect to the car and allow vertical travelling of car. Traction Pulley Traction Media
  • 48.
    48 | Pa g e 4.3 Safety System 4.3.1 Hoistway Door Interlock ▲Figure 4.3.1.1: Eye of the car level ▲Figure 4.3.1.2: Hoistway Door Interlock Safety rules for the construction and installation of lifts - Part 1: Electric lifts (First revision) i. It shall not be possible in normal operation to open a landing door (or any of the panels in the case of a multi-panel door) unless the car has stopped, or is on the point of stopping, in the unlocking zone of that door. ii. The unlocking zone shall not extend more than 0.20 m above and below the landing level. iii. Each landing door shall be provided with a locking device satisfying the conditions of 7.7.1.This device shall be protected against deliberate misuse. iv. The effective locking of the landing door in the closed position shall precede the movement of the car. However, preliminary operations for the movement of the car may take place. The locking must be proved by an electric safety device in conformity with 14.1.2. v. The car shall not be able to start until the locking elements are engaged by at least 7 mm. vi. The locking elements and their fixings shall be resistant to shock, and be made or reinforced with metal. It is used to prevent car door to open at false landing level. The “eye” has been preset to certain height and level to allow the car door to be opened. If the door open in false level, the eye detected the information, it triggered the interlock function, prevent the door to be opened.
  • 49.
    49 | Pa g e If the doors are forced open, the interlock circuit will be broken, causing the elevator to stop instantaneously. 4.3.2 Progressive Safety Gear ▲Figure 4.3.3.1: Eye of the car level ▲Figure 4.3.3.2: Hoistway Door Interlock Safety rules for the construction and installation of lifts - Part 1: Electric lifts (First revision) i. The car shall be provided with a safety gear capable of operating in the downward direction and capable of stopping a car carrying the rated load, at the tripping speed of the overspeed governor, even if the suspension devices break, by gripping the guide rails, and of holding the car there. ii. A safety gear operating in upward direction may be used in accordance with 9.10. iii. NOTE: The safety gear operating devices shall preferably be located at the lower part of the car. Safety gear is a mechanical device to stop the elevator car and counterweight by gripping the guide rails when the car is travelling over pre-determined speed. Progressive safety gear retardation is affected by breaking action on guide rails to limit the forces on elevator car and counterweight. A pair of safety gears is installed in bottom part of car sling and operated instantaneously by linkage mechanism that actuated by overspeed governor. Safety Gear
  • 50.
    50 | Pa g e 4.4 Analysis ▲Figure 4.4.1: Exhaust fan at the corner of Lift Shaft ▲Figure 4.4.2: Position of Exhaust Fan at Lift Shaft Safety rules for the construction and installation of lifts - Part 1: Electric lifts (First revision) i. The well shall be suitably ventilated. It shall not be used to provide ventilation of rooms other than those belonging to the lift. ii. The machine rooms shall be suitably ventilated. Should the well be ventilated through the machine room, this has to be taken into account. Stale air from other parts of the building shall not be extracted directly into the machine room. It shall be such that the motors, and equipment, as well as electric cables, etc., are protected as far as it is reasonably practicable from dust, harmful fumes and humidity. NOTE: In the absence of relevant regulations or standards, it is recommended that ventilation openings at the top of the well, with a minimum area of 1 % of the horizontal section of the well, are provided. UBBL i. Where openings to lift shafts are not connected to protected lobbies, such lift shafts shall be provided with vents of not less than 0.09 square metre per lift located at the top of the shafts. Where the vent does not discharge directly to the open air the lift shafts shall be vented to the exterior through a duct of the required FRP as for the lift shafts. ii. Every opening in a lift shaft or lift entrance shall open into a protected lobby unless other suitable means of protection to the opening to the satisfaction of the local
  • 51.
    51 | Pa g e authority is provided. These requirements shall not apply to open type industrial and other special buildings as may be approved. The traction machine is attached by using permanent magnet at the top of lift shaft. Exhaust fan is installed to reduce room temperature in lift shaft as these components release heat during operation. An exhaust fan is installed on top of car too to allow ventilation in lift car. ▲Figure 4.4.3: Checklist for maintenance by DOSH ▲Figure 4.4.4: Checklist for maintenance by DOSH Maintenance of elevator has been done every month according to the checklist in Figure 4.4.3 and Figure 4.4.4 to ensure the elevator system satisfies the requirement for safe ride. The oil level should not be lower than the red line. The maintenance should be aware and fill in the oil tank. ▲Figure 4.4.5: Oil Level of Oil Tank
  • 52.
    52 | Pa g e FIRE PROTECTION SYSTEM 5.0 Introduction LifePoint Church is equipped with hose reel system, fire alarm system, heat and smoke detectors, portable fire extinguishers and other passive fire systems. The walls are protected with Fire Rated Walls to ensure the building is able to withstand the fire for a certain period of time to allow occupants to escape. For a four-storeys building, water sprinkler system is not present. Due to its height below 18.3m, the building does not required any dry riser system. Every fire exit and escape staircase is equipped with a “Keluar” sign to guide the building occupants to the exit path. Besides, a simplified floor plan as seen in Diagram 5.0 with indications on the emergency exit is located next to the lift on every level of the building. Emergency lights are also installed at each areas of the building to ensure illumination for the building occupants to the nearest exits in thick smokes or sudden blackout. ▲Figure 5.0: Ground floor plan with legend
  • 53.
    53 | Pa g e 5.1 Literature Review Fire, is an oxidation process that releases energy in the form of heat and light and gases. This process known as combustion requires fuel, high temperature and oxygen to occur. The results caused by combustion such as flame, heat, toxic gases and insufficiency of oxygen can pose extreme hazards to the occupants and buildings therefore fire protection is needed (Grondzik, Stein, Reynolds & Kwok, 2010). There are three types of fire protection, active system, passive system and education of building owners and occupants about fire safety and fire systems. For successful control, suppression, or extinguishment of fires, the active system relies on containing and acting on the fire while it is still manageable to be effective. Hence active system needs to work together with passive system that slows down the spread of fire (Roach, 2014). Requirements for the fire systems vary according to the building types, floor area, height of building, types of occupancy and function of building (Uniform Building By-Laws, 2006). Active Fire Protection An action is required for active fire protection systems to work, either it to be by manual, electrical or mechanical (Roach, 2014). Active system detects fire through detector that will send signals to devices such as alarm bell to alert the building occupants. This system then controls fire by activating fire shutter doors to limit the spread of fire and smoke to other area of the building. It suppresses or extinguish fire through carbon dioxide system, sprinklers, hose reel system, riser system and the use of fire hydrant. Passive Fire Protection Passive system does not require external power or any activation and can be grouped into three categories according to its purposes: i) Limiting the growth rate of fire ii) Compartmentation of fire iii) Providing emergency escape from fire areas Passive system slows down fire with fire-resistant walls, floors, doors or spray-on fireproofing mixture on critical members such as beams and columns. This protects the
  • 54.
    54 | Pa g e building from collapsing due to the weakening of building parts in high temperature condition and provides building occupants with more time to evacuate. The division of building into one or more fire compartments is intended to prevent the spread of fire to nearby compartments and acts as the maximum extension area of the fire (Botma, 2013). Fire compartment needs to be enclosed by fire barriers to prevent the fire from spreading into other rooms when the fire is from the fire compartment or to act as a protected area for the occupants when the fire occurs from outside the fire compartment area (Buildings Department, 2012). Passive system provides escape for occupants from fire areas through fire staircase, corridors and emergency light (Roach, 2014) and by setting regulations such as dead end limit to allow occupants to reach the nearest fire exits in time.
  • 55.
    55 | Pa g e Case Study 5.2 Active Fire Protection 5.2.1 Hose Reel System ▲Figure 5.2.1: Schematic drawing from hose reel system 5.2.1.1 Water Storage Tank UBBL: 247. (1) Water storage capacity and water flow rate for fire fighting systems and installations shall be provided in accordance with the scale as set out in the Tenth Schedule to these By-laws. [Tenth Schedule] Minimum storage required for the first hose reel- 2275 litre For each additional hose reel- 1137.5 litre up to a maximum of 9100 litre (2) Main water storage tanks within the building, other than for hose reel systems, shall be located at ground, first or second basement levels, with fire brigade pumping inlet connections accessible for fire appliances. ▲Figure 5.2.1.1.1 Hose reel storage tank Pressure switch Pump control panel Storage tank Gate valve Hose reel Standby diesel hose reel pump Pressure gauge Electric duty pump Water main Check valves Drainage Gate valve
  • 56.
    56 | Pa g e ▲Figure 5.2.1.1.2: Location of water storage tank on Ground Floor Plan ▲Figure 5.2.1.1.3: Storage tank level indicator This storage tank is to supply water only for the hose reel system. It is located on the ground floor of the building to allow it to be accessible for fire brigade, which conforms to the UBBL 247(2). This hose reel storage tank is made of pressed steel and it is 12’ x8’ x 4’ (3.66m x 2.44m x 1.22m) with a capacity of 9085 litres, approximately the maximum capacity stated in UBBL 247(1). The figure on the level indicator cannot be less than 7 for the building and it will be checked once every three days to ensure the water level and the pressure in the tank is adequate to supply for the hose reel system during fire emergency.
  • 57.
    57 | Pa g e 5.2.1.2 Pumps The existing water tank pumps can be operated automatically or manually. The electric duty pump is the main pump for the water storage to pump water to all hose reels when fire emergency happens. If the main pump stops operating during fire, the standby diesel pump will pump the water up. When the hose reel is in use, water flows out of the hose causing the increase in air space and decrease in the air pressure in the pipe. This causes the pressure in the check valves to drop ▲Figure 5.2.1.2.1: Electric duty pump(right) and standby diesel hose reel pump(left) 1. Electric duty pump 2. Standby diesel pump 3. Flexible coupling 4. Check valve 5. Gate valve 6. Pressure gauge 7. Pressure switch 12 4 3 5 6 7 ▲Figure 5.2.1.2.2: Parts of water storage pumps
  • 58.
    58 | Pa g e below the adjusted pressure field setting of the pressure switch. This triggers the automatic operation of the pump to supply water for the hose (Petromas Infiniti Sdn. Bhd., 2012). On the other hand, the pump will shut off when the pressure is higher than the pre-set range. ▲Figure 5.2.1.2.5: Hose reel duty pump and stand by pump control panels ▲Figure 5.2.1.2.3: Pressure gauge and pressure switches ▲Figure 5.2.1.2.4: The control panel is to operate the pumps by manual and to check the failure of either pump.
  • 59.
    59 | Pa g e 5.2.1.3 Valves 5.2.1.4 Hose Reel UBBL: 248. (1) Wet riser, dry riser, sprinkler and other fire installation pipes and fittings shall be painted red. 248. (2) All cabinets and areas of recessed in walls for location of fire installations and extinguishers shall be clearly identified to the satisfaction of the Fire Authority or otherwise clearly identified. ▲Diagram 5.2.1.4.3: Hose reel diagram ▲ Figure 5.2.1.4.1: Hose reel Check valve: Also known as non-return valve, only allows water to flow in one direction. Gate valve: To allow or restrict flow of water through the pipe by turning it manually. ▲Figure 5.2.1.4.2: Hose reel instruction and specification Swing Adjustable nozzle Hose Hose reel drum Valve ◄ Figure 5.2.1.3: Check valves and gate valves
  • 60.
    60 | Pa g e Hose reel acts as a first aid firefighting equipment for building users and should be located within 30m hose coverage of the hose reel and in noticeable places beside exit doors or staircases or along escape routes. It should also be located at places least likely to be endangered by fire such as staircase landing (Hall & Greeno, 2013). For every 800m2 of floor area there should be a hose reel installed. The building has a hose reel for every main areas on the ground floor as seen in Figure5.2.1.4.4 instead for every 800m2 due to the division of spaces. This allows users from each space to have their own hose reel. But for the main hall, the length to the other end is approximately 36metres which is longer than the hose reel can reach. The hose reels used are manufactured according to Australian Standard AS1221 and are approved by QAS Australia. The rubber hose is 30 meters in length and has a test pressure of 1.5MPa (15 bar). 945.7m2 246.6m2 288.0m 2 239.2m2 65.7m2 36m24m 27m Hose reel (in building) Hose reel (outside building) Exit door ▲Figure5.2.1.4.4: Location of hose reels in Ground Floor Plan
  • 61.
    61 | Pa g e The hose reels used are all swing type automatic hose reels which have built-in internal valves. The internal valve functions by opening after two revolutions of the hose reel and will close automatically when the hose is wound back to the reel (Semarak Industri Sdn. Bhd., 2013). Swing type hose reel allows the hose to be pulled in different directions. ▲Figure 5.2.1.4.5: Hose reel cabinets Even though the cabinets have see-through glass panels but there is no identification such as painted red or signage on the cabinets as required by UBBL 248. (2) 5.2.2 Fire Alarm System Smoke and heat triggers the detectors signal sent to alarm system Building occupants are alerted electrical signals sent to other active systems to control and extinguish the fire Signal sent to Fire Alarm Control Panel at Guard House Location of fire or smoke is identified Fire is extinguished manually Manual breakglass unit or key switch box
  • 62.
    62 | Pa g e 5.2.2.1 Smoke and Heat Detectors ▲Figure 5.2.2.1.3: 7 Location of smoke detectors and heat detectors in Ground Floor Plan ▲Figure 5.2.2.1.2: Heat detectors Smoke detector Lift Heat detector 6m UBBL: 153. (1) All lift lobbies shall be provided with smoke detector. Pantry and toilet area ▲Figure 5.2.2.1.1: Smoke detectors Connection to fire alarm panel (at Guard house)
  • 63.
    63 | Pa g e The spacing for the heat detectors is approximately 6m each for LifePoint Church as to ensure quick detection of fire outbreak. From Figure 5.2.2.1.3, one smoke detector is located at the lift lobby, conforming to the UBBL 153. (1). Another smoke detector is also installed at the water storage tank area, to detect possible smoke coming from the pumps. For the building, no smoke or heat detectors are installed at the pantry and toilet areas. As seen in Figure 5.2.2.1.3, all detectors are connected to the Fire Alarm Panel at the Guard House. Smoke detector There are commonly two types of smoke detectors available in the market, which is the photoelectric and ionization. Photoelectric detector requires more smoke than ionization detector to be activated (Smoke detectors, 2006). The light beam is projected to the supervisory photocell in a straight line. When smoke enters the detector, the light beam is deflected to the alarm photocell and this creates a current to activate the alarm system. ▲Figure 5.2.2.1.4: Photoelectric detector (Grondzik, Stein, Reynolds & Kwok, 2010)
  • 64.
    64 | Pa g e Opposite charged ions are attracted by the positive and negative charged plate electrodes which causes the flow of ions. The movements of ions between the plates then produce small electric current. When smoke particles enter the chamber, the ion flow slows down and the current is disrupted. This causes the alarm to sound. Heat Detector This heat detector has a combination of rate-of-rise and fixed temperature units. The rate-of- rise unit operates when the rate of surrounding temperature rises exceeding a preset amount usually around 8o C/minute. This rate of change of temperature causes the bellows to expand and touches the rate-of-rise contact and sound the alarm. For the fixed temperature unit, the bimetal element will expand when a certain temperature is achieved usually at 57 o C or 85 o C. The fixed temperature contact attached on the bimetal element will then touches the other fixed-temperature contact and electric current will flow and activate the alarm system (Grondzik, Stein, Reynolds & Kwok, 2010). ▲Figure 5.2.2.1.5: Ionization smoke detector (Hall & Greeno, 2013) ▲Figure 5.2.2.1.6: A combination of rate-of-rise and fixed temperature detector (Grondzik, Stein, Reynolds & Kwok, 2010)
  • 65.
    65 | Pa g e 5.2.2.2 Manual Breakglass Unit and Key Switch Box The fire alarm system alerts the building occupants when there is a fire outbreak so that immediate safety measure and firefighting action can be taken. This system can be operated either automatically through the detectors or manually by breaking the glass of the breakglass unit to activate the fire alarm. ▲Figure 5.2.2.2.3, Figure 5.2.2.2.4: Manual key switch boxes located outside of TNB switch room and transformer room Individual manual key switch boxes are installed outside of each switch room and transformer room. This enables quick activation of fire alarm and release of carbon dioxide gas when the room is on fire by turning the key of the key switch box. Key switch boxes are used here instead of manual breakglass unit is to prevent anyone to intentionally activate the ▲Figure 5.2.2.2.2: Breakglass unit▲Figure 5.2.2.2.1: Alarm bell and breakglass unit
  • 66.
    66 | Pa g e carbon dioxide system without emergency as only permissioned individuals and the Fire Authority have the key. The breakglass units and fire alarms are located along fire escape routes or next to the emergency exits. This enables building occupants to be able to activate the fire alarm system when fire occurs. ▲Diagram 5.2.2.2: Fire Alarm System on Ground Floor Plan Smoke detector Fire Alarm Panel at Guard House Heat detector Connection to Fire Alarm Panel Fire alarm system junction box Fire Alarm
  • 67.
    67 | Pa g e 5.2.2.3 Fire Alarm Control Panel The Fire Alarm Control Panel is located at the Guard House because it is detached from the main building so the fire could not spread to it and there will be guards monitoring the fire alarm panel 24 hours daily so any fire emergency can be detected immediately. The Fire Alarm System Junction Box is located at the cafeteria, next to the Consumer Switch Room. This is because the Consumer switch room, TNB switch room and TNB transformer room have a separated alarm system circuit which is connected to the junction box. 5.2.3 Portable fire extinguisher UBBL: 227. Portable extinguisher shall be provided in accordance with the relevant codes of practice and shall be sited in prominent positions on exit routes to be visible from all directions and similar extinguishers in a building shall be of the same method of operation. ▲Figure 5.2.3.1: Portable fire extinguisher ▲Figure 5.2.2.3.1: Fire Alarm Control Panel at the Guard House ▲Figure 5.2.2.3.2: Fire Alarm System Junction Box
  • 68.
    68 | Pa g e ▲Figure 5.2.3.2: Parts of ABC dry powder fire extinguisher ▲Diagram 5.2.3: Location of portable fire extinguishers in Ground Floor Plan Main hallNew Main Hall Dry chemical powder Nozzle Discharge lever Locking ring pin Siphon tube Carrying handle Portable fire extinguisher Emergency exit
  • 69.
    69 | Pa g e Portable fire extinguisher is a compressed cylindrical device used for small fire and as first aid fire control. Different color codes represent the different fire sources appropriate for the extinguisher (Greeno, 2005). The portable fire extinguishers used are red with blue band, indicating it as 9kg ABC dry powder extinguishers which its applications are stated below: Source: Hall, F., & Greeno, R. (2013). Portable fire extinguishers. As seen in Diagram 5.2.3, the portable fire extinguishers are placed next to the emergency exits or along the escape paths which complies to the UBBL 227. No portable fire extinguisher is found in the office area. For easy reach, portable fire extinguisher should always be hung on wall brackets. Besides it should not be placed under excessive heat or cold, as the temperature limit stated on the portable fire extinguisher is -20o C to 60 o C. The fire extinguisher is placed on the ground and next to the window, under the risk of being exposed to high temperature or accidentally knocked down by building occupants. Class A organic solids (wood, paper, cloth etc) Class B flammable liquids (petrol, oil, paint etc) Class C flammable gases (methane, propane, acetylene etc) Electrical hazards ▲Figure 5.2.3.3, Figure 5.2.3.4: Placement of portable fire extinguishers
  • 70.
    70 | Pa g e 5.2.4 Hydrant system 5.2.4.1 Pillar hydrant Fire hydrant system functions as water source for fire protection. The pillar hydrants are located at the opposite end of LifePoint Church site boundary. The nearest pillar hydrant to the water storage tank is approximately 45metres away which exceeds the length of the 30metres hose. Building area Fire hydrant Hydrant cabinet (with nozzles, hose and accessories) Water main UBBL: Part VIII 225. (2)Every building shall be served by at least one fire hydrant located not more than 91.5 meters from the nearest point of fire brigade access. UBBL 1984 By Laws-225(2&3): Not more than 6 meter from the building –Not more than 30 meter away from the entrance to the building When the hydrant is installed within the owner’s boundary, each should be provided with 30meters of 65mm diameter rubber lined hose, instantaneous couplings and nozzles. ▲Figure 5.2.4.1: Pillar hydrants
  • 71.
    71 | Pa g e 5.2.4.2 Hydrant cabinet The hydrant cabinet is placed next to the pillar hydrant and has a key attached to it. In case of fire emergency, the key is used to unlock the cabinet and to retrieve the fire hose with nozzle and accessories. The hose is to be attached to the pillar hydrant next to it. Main entrance 50.421m 47.415m ▲Figure 5.2.4.2: Hydrant cabinet near the guard house ▲Diagram 5.2.4.1: Locations of fire hydrants on Ground Floor Plan Guard House
  • 72.
    72 | Pa g e 5.2.5 Fire Suppression System ▲Diagram 5.2.5.1: Schematic diagram on suppression system. ▲Diagram 5..2.5.3: The location of the fire suppression system. 4 1 5 2 3 LEGEND 1. Flashing Lights 2. Fire Alarm 3. Manual Fire Alarm with Break Glass 4. Nozzle 5. CO2 Cylinder Fire Detector Fire Alarm Flashing Light CO2 Cylinder ▲Diagram 5.2.5.2: Annotation on members in the system.
  • 73.
    73 | Pa g e The fire suppression system is required within any electrical room although an exclusion is allowed for rooms with generators or transformers. The CO2 is an electrically nonconductive gas that is 50% more dense than air hence it will cover the fire reducing oxygen and prevents combustion. ▲Figure 5.2.5.4: The flashing lights in green state. The fire suppression system is required within any electrical room although an exclusion is allowed for rooms with generators or transformers hence the reason it is only present in the switch room in the church. When fire is detected in the switch room, the flashing light above the door will turn red before the activation of the gas system. This is to prevent the users from entering as the CO2 gas released is an asphyxiate, especially in a small room and can build up to a point where respiration becomes difficult. ▲Figure 5.2.5.5: CO2 cylinder attached to steel piping.
  • 74.
    74 | Pa g e UBBL: The use of CO2 gas by requirements of National Fire Protection Association or Jabatan Bomba in the following rooms; transformer room, high voltage switch room, power grid room & electric T.E.N. room. ▲ Figure 5.2.5.6: CO gas cylinder. ▲ Figure 5.2.5.7: Nozzle where extinguisher agent is discharged.
  • 75.
    75 | Pa g e 5.2.6 Double Roller Shutter 1 2 3 LEGEND 1. Roller 2. Motor 3. Shutter Break Glass Key Box Fire Alarm Roller Shutter ▲Diagram 5.2.6.1: Schematic of double roller shutter. ▲Diagram 5.2.6.2: Annotation of different parts of the shutter. ▲Diagram 5.2.6.3: The location of the double fire shutter.
  • 76.
    76 | Pa g e In the case of fire, a key located next to the shutter can be used to activate the alarm and simultaneously causes the shutters to close. The double roller shutters can resist the spread of flame as it has a 1 hour adequate fire resistance. In addition to resisting the spread of heat and smoke by offering a buffer zone(the air-cavity between the shutters) for smoke and radiant heat transmission. ▲Figure 5.2.6.6: The buffer zone drastically reduces the transition of heat. ▲Figure 5.2.6.5: Break glass key to activate fire alarm. ▲Figure 5.2.6.4: Double Roller Shutter Door
  • 77.
    77 | Pa g e 5.3 Passive Fire Protection 5.3.1 Fire Escape System 5.3.1.1 Fire Rated Doors LEGEND 1. Illuminated Exit Sign 2. Stopper 3. Push Bar 4. Latches & Bolts 5. Fire Vision Panel 6. Door Handle 7. Fire Notice 1 2 4 3 5 6 7 ▲ Figure 5.3.1.1.1: 900 x 2100 1 hour fire rated door. ▲Figure 5.3.1.1.2: 1800 x 2100 2 hour fire rated door.
  • 78.
    78 | Pa g e ▲Figure 5.3.1.1.3: Fire rate door approval label. Fire rated doors are compartmentalised throughout the building to delay the spread of fire and smoke from one area another area. These fire doors come with an aluminium door closer mounted on top of the door to ensure the doors close after being opened as closing a door remains a low priority when escaping a fire. Certain fire rated doors have a 100mm x 600mm vision panel that allows people to see the other side of the door before entering. As people tend to panic during a fire, most fire rated doors that has the most circulation come equipped with a push bar allowing people to be able to open the door with ease. UBBL: 133. “Fire Resisting” means the construction so designated, including doors, has a minimum standard of fire-resistance of not less than half hour in accordance with the relevant Schedules of these By-laws or which achieves such standard when tested in accordance with BS476: Part 8: 1972 except that, in the case of the doors – (a) The rabbets to the door frame or the door stops whichever may be are not less than 18 millimetres deep; and (b) The door is hung on metal hinges having a melting point of not less than 800°C, and (c) The door is rendered self-closing. 164. (1) All fire doors shall be fitted with automatic doors closers of hydraulically spring operated type in the case of swing doors and of wire rope and weight type in the case of sliding doors.
  • 79.
    79 | Pa g e 5.3.1.2 Emergency Exit Sign ▲Figure 5.3.1.2.1: Keluar Emergency Exit Sign ▲Figure 5.3.1.2.2: Height limitations for sign. As the fire rated door serve the function of providing the people means of escape, all fire rated doors should come with an emergency exit sign which indicates the closest emergency exit during a fire. The emergency exits lights were placed ideally mounted 3 to 8 meters above the floor, although most commonly directly above the door frame. These lights come with a dual-power system whereby it was lit by the main power and battery in a charged state in the case of a power outage that powered the light. The sign in the building has large letters and a green photoluminescence light so that it easier for people to see during a fire as visibility will be reduced due to the smoke. UBBL: 172. (1) Storey exits and access shall be marked by readily visible signs and shall not be obscured by any decorations, furnishings or other equipment. (2) A sign reading “KELUAR” with an arrow indicating the direction shall be placed in every location where the direction of travel to reach the nearest exit is not immediately apparent. (3) Every exit sign shall have the word “KELUAR” in plainly legible letters not less than 150 millimetres high with the principal strokes of the letters not less than 18 millimetres wide. The lettering shall be in red against a black background. (4) All exits signs shall be illuminated continuously during periods of occupancy.
  • 80.
    80 | Pa g e 5.3.1.3 Fire Escape Stairway ▲Figure 5.3.1.3.1: Location of fire escape staircases. During a fire, the initial priority is to safely and quickly evacuate all occupancy within the vicinity of the building to a safe location or assembly point. As such the fire escape route within the building plays an important role in ensuring that people escaping have the shortest and safest route to escape during an emergency. No dead end limits are present since all rooms have multiple possible exit paths to the nearest fire exit. The width of the staircases are 1050mm wide with 130mm risers and a 290mm thread depth. The internal staircases have landings of 2350mm wide and have a 1450mm depth. The number of steps in each flight of stairs are uniform and provides a steady rhythm for walking down to prevent people from falling. LEGEND Internal Escape Staircases External Escape Staircases
  • 81.
    81 | Pa g e Railings made of flame retardant stainless steel are also present on all fire escape staircases and are approximately 900mm high. Minor hand rails on the railing are also present to accommodate towards children of different height. ▲Figure 5.3.1.3.3: External escape route form first floor. ▲Figure 5.3.1.3.2: External escape route from second floor. ▲Figure 5.3.1.3.4: Underside of fire escape staircase
  • 82.
    82 | Pa g e UBBL : 133. “staircase external” means a staircase which is completely open to the external air on at least two sides from the level of the top of the balustrades to the underside of the flight of stairs immediately above, “staircase internal” means a staircase enclosed on all sides by partitions of walls and which has all openings in the external walls glazed or otherwise protected from the weather; 168. (1) Except as provided for in-law 194 every upper floor shall have means of egress via at least two separate staircases. (2) Staircases shall be of such width that in the event of any one staircase not being available for escape purposes the remaining staircase shall accommodate the highest occupancy load of any one floor discharging into it calculated in accordance with provisions in the Seventh Schedule to these By-laws are not exceeded. (3) The required width of a staircase shall be the clear width between walls but handrails may be permitted to encroach on this width to a maximum of 75 millimeters. (4) The required width of a staircase shall be maintained throughout its length including at landings. (5) Doors giving access to staircases shall be so positioned that their swing shall at no point encroach on the required width of the staircase or landing. ▲Figure 5.3.1.3.5: Stainless steel railing.
  • 83.
    83 | Pa g e 5.3.1.4 Fire Rated Walls The walls in the building being compartmentalized through the use of various types of fire rated walls that have undergone fire resistance rating for the purpose of fire separation. This to ensure that during a fire the walls are able to prevent the spread of fire for a set period of time. Different rates of fire resistance ratings have been used in different places, the walls in the transformer and switch rooms have higher ratings since the possibility of fire starting there is higher and in a compact room fire would cover the area at a faster rate. The outer walls have a standard fire rating as it require sufficient structural stability to maintain the integrity of the walls. Fire Rated Wall Type Fire Resistance Rating 115 mm Brickwall with 20mm Cement Plaster 2 hours 230 mm Brickwall with 20mm Cement Plaster 4 hours Fire Rated Gypsum Board Partition ½ hour Gypsum Partition with Halved Glazed ¼ hour ▲Figure 5.3.1.4.1: Wall placement on ground floor 115 mm Brick Wall 230 mm Brick Wall Fire Rated Gypsum Board Partition Gypsum Board Partition w/ Halved Glazed LEGEND
  • 84.
    84 | Pa g e UBBL: 139. The following areas or uses shall be separated from the other areas of the occupancy in which they are located by fire resisting construction of elements of structure of a FRP to be determined by the local authority based on the degree of fire hazard: (g) Transformer rooms and substations 5.3.1.5 Emergency Lights The emergency lights are back up lighting devices that turn on automatically in the case of a power outage or a fire whereby the lights would activated in a focused bright ray. These lights were placed facing the closest emergency escape route inside the room it is placed in. As these lights were required to go on during an emergency, its power source is kept segregated from other wiring and connected to the fire resistant cabling. ▲Figure 5.3.1.5.2: The emergency light in charged state. l 1 2 3 4 LEGEND 1. Headlight 2. Fuse Panel 3. Power Light 4. Charged Light ▲Figure 5.3.1.5.1: Annotation of the emergency light.
  • 85.
    85 | Pa g e 6.0 Conclusion Through our multiple visits to the Lifepoint Church, we’ve come to see how vital it is for Mechanical Ventilation and Air-conditioning System, Electrical Supply System, Mechanical Transportation System and Fire Protection System to work as a whole. The systems in the building have obeyed to the Uniform Building By-Laws(UBBL) for the standardization of certain requirements to provide efficient egress, comfort and safety to the users and the building. Even though the building lacks the presence of dry risers, to which the technician present during our visit ensures us it is not completely necessary. Regular maintenance and examination of all systems and equipment are done by the church consistently to ensure the operation of each service is in optimal condition.
  • 86.
    86 | Pa g e 7.0 References 2.bp.blogspot.com,. (2014). Retrieved 7 October 2014, from http://2.bp.blogspot.com/- uJwC8QOFEPQ/T4gE4gl4R4I/AAAAAAAABro/9kWsEYOSEOY/s640/GEARED+M ACHINE.JPG Australian Government Department of Industry, (n.d.). Transport of Electricity. [image] Available at: http://eex.gov.au/energy-management/energy-procurement/energy- pricing/the-energy-supply-chain/ [Accessed 6 Oct. 2014]. Association for Specialist Fire Protection, (2012). ASFP Guide to Inspecting Passive Fire Protection for Fire Risk Assessors. United Kingdom. BNP Media, (2000). HVAC Systems: How They Work. edc. [online] Available at: http://www.edcmag.com/articles/hvac-systems-how-they-work [Accessed 7 Oct. 2014]. Botma, A.Y. (2013). Research to the Performance and Adequacy of Fire Compartmentation (Master Thesis). Retrieved from http://repository.tudelft.nl/view/ir/uuid:62e3f4a9-29c6-4745-b206-64f13c6f2c9d/ Buildings Department. (2012). Code of Practice for Fire Safety in Buildings. Retrieved from http://www.bd.gov.hk/english/documents/code/fs_code2011.pdf Central Air, Inc., (2014). Exhaust Ventilation. [image] Available at: http://heatoregon.com/img/exhaust_ventilation.gif [Accessed 7 Oct. 2014]. Chong, L. (2012). Interpretation of Passive Fire Requirements in the UBBL 1984. El-Hawary, M. and El-Hawary, M. (n.d.). Introduction to electrical power systems. 1st ed. Firesafe.org.uk, (2014). Fire Doors. [online] Available at: http://www.firesafe.org.uk/fire- doors/ [Accessed 12 Oct. 2014]. Grondzik, W. T., Stein, B., Reynolds, J. S., & Kwok, A. G. (2010). Part VI Fire Protection. In Mechanical and electrical equipment for buildings (11th ed., pp. 1085-1087). New Jersey, NJ: J. Wiley & Sons.
  • 87.
    87 | Pa g e Hall, F., & Greeno, R. (2005). Building services handbook (7th ed.). New York and Canada: Routledge. heatingpartscenter, (2012). Split unit air-conditioner. [image] Available at: http://heatingpartscenter.co.uk/page.asp?id=splitair [Accessed 8 Oct. 2014]. Hoffman, P. (2006). Air Conditioning - Basic Refrigeration Cycle. [online] Swtc.edu. Available at: https://www.swtc.edu/ag_power/air_conditioning/lecture/ basic_cycle.htm [Accessed 8 Oct. 2014]. How Central Air Conditioner Works. (n.d.). Retrieved from http://www.central-air- conditioner-and-refrigeration.com/Central_air_conditioner.html Integrated Publishing, Inc., (n.d.). Refrigerating cycle of a package type air-conditining unit. [image] Available at: http://engineeringtraining.tpub.com/14070/img/ 14070_91_2.jpg [Accessed 8 Oct. 2014]. Jamil, u. (2014). Fire Fighting Systems | Fire Protection Systems - QECPAK - Pakistan. [online] Qecpak.com. Available at: http://qecpak.com/firefightingsystems.html [Accessed 12 Oct. 2014]. Jefferson Electric, (2014). [online] Available at: http://www.jeffersonelectric.com/s3/site/catalog/basics.pdf [Accessed 6 Oct. 2014]. Knapp, J. (2014). Fire Dampers and Smoke Dampers: The Difference is Important. 1st ed. [PDF] Air Movement and Control Association. Available at: http://www.amca.org/userfiles/file/firesmokedampers.pdf [Accessed 11 Oct. 2014]. Mitsubishi Electric, (2011). Standard of Air Change Rate. [image] Available at: http://www.mitsubishi-electric.vn/media/164114/21_500x241.jpg [Accessed 7 Oct. 2014]. Onlinedigeditions.com,. (2014). MR Management – Mann Report Management Vol. I Issue IV : Elevator Technology. Retrieved 7 October 2014, from http://onlinedigeditions.com/display_article.php?id=1104104
  • 88.
    88 | Pa g e Parmer, J. (2011). Working Principle of Earth Leakage Circuit Breaker (ELCB) and Residual Current Device (RCD) | EEP. [online] Electrical-engineering-portal.com. Available at: http://electrical-engineering-portal.com/working-principle-of-earth-leakage-circuit- breaker-elcb-and-residual-current-device-rcd [Accessed 3 Oct. 2014]. Pickard, Q. (2002). The architects' handbook (1st ed.). Malden, MA: Blackwell Science. Pinnekamp, F. (2007). The Circuit Breaker: A showcase of industrial product development. 1st ed. Zurich, Switzerland: Group R&D and Technology. Pisupati, S. (2014). Central Air Conditioning System. [image] Available at: https://courseware.eeducation.psu.edu/courses/egee102/L09Instruction/Lesson7_imag es/7_15_diagram.gif [Accessed 11 Oct. 2014]. Roach, K. (2014). Balancing passive, active fire protection. Consulting-Specifying Engineer, 51(6), 5-8. Safety rules for the construction and installation of lifts - Part 1: Electric lifts (First revision). (2012) (1st ed.). Retrieved from http://file:///C:/Users/Lenovo/Downloads/MS%20EN%2081-1_2012- PREV%20PDF%20(2).pdf Semarak Industri Sdn. Bhd. (2013). Products Catalogue: Hose Reel System. Retrieved from http://www.semarak-industri.com/images/katalog.pdf Smoke detectors. (2006). Restaurant Business, 105(6), 88. Snyder, D. (2014). Inspecting Insulation on Air Conditioner Refrigerant Lines. [online] Air- conditioning-hvac.knoji.com. Available at: https://air-conditioning- hvac.knoji.com/inspecting-insulation-on-air-conditioner-refrigerant-lines/ [Accessed 8 Oct. 2014]. Snyder, D. (2014). Refrigerant Cycle. [image] Available at: https://knoji.com/images/user/danmsnyder/refrigeration-cycle-1-b2704cf1.jpg [Accessed 8 Oct. 2014].
  • 89.
    89 | Pa g e Space Airconditioning plc, (2014). What Is Air Conditioning?. [online] Spaceair.co.uk. Available at: http://www.spaceair.co.uk/what-is-air-conditioning [Accessed 7 Oct. 2014]. Stein, B., & Reynolds, J. (2010). Mechanical and electrical equipment for buildings (11th ed.). New York: J. Wiley & Sons. Stokes, G. (2003). Handbook of Electrical Installation Practice. 4th ed. Garsington Road: Blackwell Science Ltd. Storr, W. (2013). Three Phase Transformer Connections and Basics. [online] Basic Electronics Tutorials. Available at: http://www.electronics- tutorials.ws/transformer/three-phase-transformer.html [Accessed 12 Oct. 2014]. Tenaga Nasional Berhad, (2008). Buku Panduan Piawan Baru Rekabentuk Pencawang Elektrik (Jenis Bagungan) Bahagian Pembahagian. Kuala Lumpur. Tenaga Nasional Berhad, (2011). Electricity Supply Application Handbook. Kuala Lumpur: Distribution Division Tenaga Nasional Berhad. The Development Commissioner, (2003). Distribution Board. Nirman Bhavan, New Delhi: Small Industries Service Institute. US Department of the Interior Bureau of Reclamation, (2005).CO2 System Operation and Maintenance. Denver, Colorado: Hydroelectric Research and Technical Services Group. US Environmental Protection Agency, (2010). Carbon Dioxide as a Fire Suppressant: Examining the Risks. United State. Wang, S. K., & Lavan, Z. (1999). Mechanical Engineering Handbook. Boca Rotan: CRC Press LLC. Warrior Press, (2014). Refrigerant Cycle. [image] Available at: http://hvacairconditioningdesign.com/images/Figure125.jpg [Accessed 8 Oct. 2014].
  • 90.
    90 | Pa g e Web.mit.edu,. (2014). 2.972 How an Elevator Works. Retrieved 7 October 2014, from http://web.mit.edu/2.972/www/reports/elevator/elevator.html