AUTOCAD BASICS
By–AtifRazi
Contents
Sr. No. Particulars
01. Introduction to AutoCAD
02. History of AutoCAD
03. Benefits of AutoCAD
04. Features of AutoCAD
05. Workspaces in AutoCAD
06. Cursor
07. AutoCAD Window
08. Toolbars
09. File Formats
10. Drawing Limits
11. Drawing Units
12. Dimension Style
13. Commands
14. 2D Drawings
15. Isometric Drawings
16. 3D Drawings
1
IntroduCtIon to AutoCAd
❖ AutoCAD is a 2D and 3D Computer-Aided Design (CAD) software
application for desktop, web and mobile.
❖ It was first released in December 1982 by Autodesk and has since
become the industry standard for CAD software.
❖ The word AutoCAD is made up of two words “Auto” (Autodesk) and
“CAD” (Computer Aided Design).
❖ AutoCAD is a general drafting and design application used in industry by
architects, project managers, engineers, graphic designers, city planners
and other professionals to prepare technical drawings.
HIstorY of AutoCAd
❖ AutoCAD was derived from a program called Interact CAD, which was
written by Autodesk co-founder Michael Riddle.
❖ Interact CAD was one of the first commercial software programs to
digitize drawings. In 1982, Interact CAD was sold to Autodesk founder
John Walker, who relaunched it under the name AutoCAD.
❖ AutoCAD was initially a DOS application, but subsequent versions were
later released for other platforms including Classic Mac OS (1992),
Microsoft Windows (1992), web browsers (2010), iOS (2010), macOS
(2010), and Android (2011).
❖ AutoCAD quickly became the most popular CAD software program in the
world. By March 1986, only four years after it was introduced, AutoCAD
had become the most widely used design application worldwide.
❖ Autodesk has continued to develop AutoCAD, and the software has
become increasingly sophisticated over the years.
Today, AutoCAD is used by millions of people around the world.
2
BenefIts of AutoCAd
❖ Increased productivity:
AutoCAD can help you to increase your productivity by automating many
of the tasks involved in creating drawings.
❖ Improved accuracy:
AutoCAD can help you to create more accurate drawings by providing
tools for checking for errors and by ensuring that drawings are to scale.
❖ Enhanced collaboration:
AutoCAD can help you to collaborate with others more effectively by
providing tools for sharing drawings and for tracking changes.
❖ Reduced costs:
AutoCAD can help you to reduce costs by automating tasks, improving
accuracy, and enhancing collaboration.
3
feAtures of AutoCAd
❖ 2D drafting:
AutoCAD is a powerful tool for creating 2D drawings, including lines,
arcs, circles, and polygons.
It also includes tools for editing and annotating drawings.
❖ 3D modeling:
AutoCAD can also be used to create 3D models.
This can be useful for visualizing designs and for creating prototypes.
❖ Dimensioning:
AutoCAD can be used to add dimensions to drawings.
This can be useful for ensuring that drawings are accurate and can be
used for manufacturing.
❖ Layering:
AutoCAD supports layering, which allows you to organize your drawings
into different layers.
This can be useful for keeping your drawings organized and for
controlling which objects are visible.
❖ External references:
AutoCAD supports external references (XREFs), which allow you to
reference other drawings into your current drawing.
This can be useful for keeping your drawings up-to-date.
❖ AutoCAD web and mobile:
AutoCAD is available as a web and mobile app, which allows you to view
and edit drawings from anywhere.
❖ Customization:
AutoCAD is highly customizable, which allows you to tailor the software
to your specific needs.
There are a number of ways to customize AutoCAD, including using
custom commands, toolbars, and scripts.
4
WorKsPACes In AutoCAd
❖ Workspaces in AutoCAD are customized user interfaces that allow
you to quickly access the tools and commands that you use most
frequently for specific tasks.
Each workspace includes a specific set of menus, toolbars,
palettes, and ribbon panels that are relevant to the task at hand.
This can help you to streamline your workflow and become more
productive.
❖ There are a number of predefined workspaces included with
AutoCAD, such as:
• 2D Drafting & Annotation:
This workspace is designed for creating and editing 2D drawings.
It includes tools for drawing lines, arcs, circles, and other shapes,
as well as tools for annotating drawings with dimensions, leaders,
and text.
The display of AutoCAD 2D Drafting & Annotation is shown in the
image below :
5
• 3D Basics:
This workspace is designed for creating and viewing basic 3D
models.
It includes tools for creating 3D objects, such as solids, surfaces,
and meshes, as well as tools for viewing and manipulating 3D
models.
The display of AutoCAD 3D Basic is shown in the image below:
• 3D Modeling:
This workspace is designed for creating complex 3D models.
It includes all of the tools from the 3D Basics workspace, as well as
additional tools for advanced modeling tasks, such as surfacing,
mesh editing, and rendering.
The display of AutoCAD 3D Modeling is shown in the image below:
6
CURSOR
The pickbox is a rectangular box that appears around the cursor when you are in
object selection mode.
It is used to identify objects that you want to select or modify.
When the cursor is within the pickbox of an object, the object is highlighted,
indicating that it is selected.
The crosshair is a pair of intersecting lines that form a cross at the center of the
cursor.
It is used as a reference point for drawing, editing, and measuring objects.
The crosshair intersection point represents the precise location of the cursor.
7
AutoCAd WIndoW
8
toolBArs
• Program Title Bar:
The program title bar is located at the top of the AutoCAD window and displays
the name of the program and the title of the current drawing.
It also includes buttons for minimizing, maximizing, and closing the window.
• Quick Access Toolbar :
The Quick Access Toolbar is a customizable toolbar that contains shortcuts to
your most frequently used commands.
By default, the Quick Access Toolbar contains the Save, Open, Undo, Redo,
and Zoom commands. You can add or remove commands from the Quick
Access Toolbar by right-clicking on the toolbar and selecting Customize Quick
Access Toolbar
• File Tabs:
The File Tabs are located at the top of the AutoCAD window and provide quick
access to the various files that you have open.
You can click on a tab to switch to that file, and you can right-click on a tab to
close that file.
• Application Menu :
The Application Menu is located in the top-left corner of the AutoCAD window
and provides access to a variety of commands, including commands for
creating new drawings, opening existing drawings, saving drawings, and
printing drawings.
• UCS Icon:
The UCS Icon is located in the bottom-left corner of the AutoCAD window and
indicates the current User Coordinate System (UCS).
The UCS is the coordinate system that is used to reference all points and
objects in the drawing. You can click on the UCS Icon to open the UCS dialog
box, where you can change the UCS.
The 2D UCS is shown in the given image:
9
The 3D UCS is shown in the given image:
• Model Tab:
The Model Tab is located at the bottom of the AutoCAD window and is used to
work with the model space of the drawing.
The model space is the area where you create and edit your 2D and 3D objects.
• Layout Tabs:
The Layout Tabs are located at the bottom of the AutoCAD window and are
used to work with the paper space layouts of the drawing.
Paper space layouts are used to create and print drawings to scale.
• Ribbon:
The Ribbon is a graphical user interface that replaces the traditional pull-down
menus and toolbars in AutoCAD.
The Ribbon is organized into tabs, each of which contains a set of related
commands.
To use a command on the Ribbon, simply click on the button for that command.
• InfoCenter:
The InfoCenter is located in the top-right corner of the AutoCAD window and
provides quick access to help, tutorials, and other resources.
• ViewCube:
The ViewCube is located in the status bar of the AutoCAD window and allows
10
you to rotate and zoom the view of the drawing.
You can also use the ViewCube to change the perspective of the view.
• Drawing Area:
The Drawing Area is located in the center of the AutoCAD window and is where
you create and edit your drawings.
• Navigation Bar:
The Navigation Bar is located at the bottom of the AutoCAD window and
provides quick access to navigation tools, such as the Pan, Zoom, and Orbit
tools.
The navigation bar is shown in the below image:
• Command Window:
The Command Window is located at the bottom of the AutoCAD window and
allows you to enter commands directly into AutoCAD. To enter a command in
the Command Window, simply type the name of the command and press Enter.
11
• Status Bar:
The Status Bar is located at the bottom of the AutoCAD window and displays
information about the current drawing, such as the cursor coordinates, the
current UCS, and the current snap mode.
Components of Status Bar:
• Dynamic Input:
This feature displays real-time feedback about the geometry and dimensions
of objects as you draw or modify them.
It helps you visualize and ensure accurate measurements and placements.
• Ortho Mode:
This mode restricts cursor movement to horizontal and vertical directions,
preventing diagonal or angled movements.
It's useful for precise drafting of lines, arcs, and other shapes.
• Object Snap Tracking:
This feature tracks the cursor's proximity to object snap points, such as
12
endpoints, intersections, and midpoints.
It helps you quickly snap to specific points on objects for precise alignment
and placement.
• Object Snap:
This feature allows you to snap the cursor to specific points on objects, such
as endpoints, intersections, midpoints, and tangency points.
It helps you create precise connections and alignments between objects.
• Dynamic UCS:
This feature automatically updates the User Coordinate System (UCS) to
align with the current drawing element or angle.
It simplifies object placement and dimensioning relative to the active element.
• Polar Tracking:
This feature guides the cursor movement along specific angles or directions,
particularly useful for drawing lines, arcs, and other shapes along predefined
angles.
It ensures precise alignment and orientation of objects.
• Snap Modes:
This group of buttons allows you to toggle various snap modes, such as
endpoint snap, midpoint snap, intersection snap, and tangency snap.
These modes help you quickly snap the cursor to specific points on objects for
accurate placement and alignment.
• Grid Snap:
This button toggles the grid snap mode, which restricts cursor movement to
grid points.
It's useful for creating aligned and evenly spaced objects.
• Grid Mode:
This button toggles the grid display, making the grid lines visible or invisible.
Grid lines provide visual reference for aligning and spacing objects.
• Coordinate Display:
This option allows you to display the cursor coordinates in various formats,
such as relative to the current UCS, absolute cartesian coordinates, or polar
13
coordinates.
It provides precise positional information for objects.
3D TOOLS
Extrude: The Extrude command in AutoCAD 3D is used to create a surface or
solid of a 2D surface or a 3D curve
Revolve : The Revolve command in AutoCAD 3D is used to create a 3D solid or
surface by sweeping the object through its axis at a predefined angle.
Loft : The loft command in AutoCAD is used to create 3D solid or surface. The
3D solid or surface is formed within the space between various cross sections.
Sweep : The 2D sub-object or object is swept along an open or closed path to
create a 3D surface or solid using sweep command.
Presspull : The Presspull command in AutoCAD 3D is used to create an area
formed by the closed boundary Or It is used to pull an enclosed boundary.
14
File Formats
AutoCAD supports various file formats for saving drawings, including:
• DWG (drawing):
The native file format used by AutoCAD for saving 2D and 3D drawings.
• DXF (drawing interchange format):
A file format that allows the exchange of drawings between different CAD
software applications.
• DWF (design web format):
A format used for sharing and publishing 2D and 3D design data.
DRAWING LIMITS
Adding limits in AutoCAD defines the visible boundary of the drawing area,
restricting the placement of objects beyond those limits.
To add limits in AutoCAD:
i. Type LIMITS on the command line or command prompt.
ii. Press Enter or spacebar.
iii. Specify the Lower-Left Corner
iv. Specify the Upper-Right Corner
v. Press Enter to Confirm
drAWInG unIts
To set the Drawing Units, type UN then press ENTER key.
Then a pop-up window will appear.
Then do the changes as per requirements.
Then click OK.
15
dIMensIon stYle MAnAGer
To set the Dimension Style, type D then press ENTER key.
Then a pop-up window will appear.
Then click on Modify.
Then do the changes as per requirements.
16
17
CoMMAnds
ONE KEY SHORTCUTS
18
ONE KEY SHORTCUTS
Q QSAVE : Saves the current drawing.
A ARC : Creates an arc.
Z ZOOM : Increases or decreases the magnification of the view in the current
viewport.
S STRETCH : Stretches objects crossed by a selection window or polygon.
X EXPLODE : Breaks a compound object into its component objects.
E ERASE : Removes objects from a drawing.
D DIMSTYLE : Creates and modifies dimension styles.
C CIRCLE : Creates a circle
F FILLET : Rounds and fillets the edges of objects.
V VIEW : Saves and restores named views, camera views, layout views, and
preset views.
H HATCH : Fills an enclosed area or selected objects with a hatch pattern, solid
fill, or gradient fill.
J JOIN : Joins similar objects to form a single, unbroken object.
M MOVE : Moves objects a specified distance in a specified direction.
I INSERT : Inserts a block or drawing into the current drawing.
O OFFSET : Creates concentric circles, parallel lines, and parallel curves.
L LINE : Creates straight line segments.
P PAN : Adds a parameter with grips to a dynamic block definition.
Toggle (ON/OFF) Drawing Modes :
F1 : Display Help
F2 : Toggle text screen
F3 : Toggle object snap mode
F4 : Toggle 3DOsnap
19
F5 : Toggle Isoplane
F6 : Toggle Dynamic UCS
F7 : Toggle grid mode
F8 : Toggle ortho mode
F9 : Toggle snap mode
F10 : Toggle polar mode
F11 : Toggle object snap tracking
F12 : Toggle dynamic input mode
Manage Workflow :
ESC : Cancel current command
Ctrl+C : Copy object
Ctrl+X : Cut object
Ctrl+V : Paste object
Ctrl+Z : Undo last action
Ctrl+Y : Redo last action
Manage Drawings
Ctrl+N : New Drawing
Ctrl+S : Save drawing
Ctrl+O : Open drawing
Ctrl+P : Plot dialog box
Ctrl+Q : Exit
Ctrl+A : Select all objects
Ctrl+Tab : Switch to next
Ctrl+Shift+Tab : Switch to previous drawing
20
Ctrl+Page Up : Switch to previous tab in current drawing
Ctrl+Page Down : Switch to next tab in current drawing
DRAW COMMANDS
1. Line – L
2. Polyline – PL
3. Circle – C
4. Arc – A
5. Rectangle – REC
6. Ellipse – EL
7. Polygon – POL
8. Spline – SPL
9. Point – PO
10. Hatch – H
11. Multiline Text – MTEXT
12. Block – B
13. Write Block – WB
MODIFY COMMANDS
1. Erase – E
2. Copy – CO
3. Mirror – MI
4. Offset – O
21
5. Array – AR
6. Move – M
7. Rotate – RO
8. Scale – SC
9. Fillet – F
10. Chamfer – CHA
11. Trim – TR
12. Extend – EX
DIMENSIONING COMMANDS
• Dimension – DIM
• The commands for linear, aligned, angular, etc will be given as first DIM and
then the respective command.
• For example,
•Linear – DIMLIN
• Aligned – DIMALI
• Angular – DIMANG
22
2d drAWInGs
USING LINE COMMAND
USING LINE COMMAND WITH ANGLES
PARALLEL LINES USING OFFSET COMMAND
23
USING OFFSET AND TRIM COMMAND
USING FILLET COMMAND
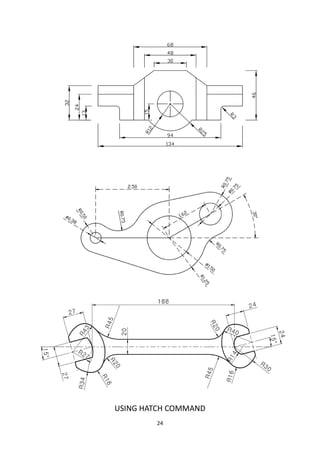
24
USING HATCH COMMAND
25
USING POLAR ARRAY
26
27
USING CIRCLE AND LINE COMMAND
28
IsoMetrIC drAWInGs
3D objects made drawn in 2D plane is known as isometric.
To switch to isometric mode in AutoCAD :
• Type SNAPSTYL + ENTER
• Then press 1 + ENTER
• Then press Z + ENTER
• And then press A + ENTER
29
30
3d drAWInGs
31
32
33
34
35
36

AutoCAD Basics

  • 1.
  • 2.
    Contents Sr. No. Particulars 01.Introduction to AutoCAD 02. History of AutoCAD 03. Benefits of AutoCAD 04. Features of AutoCAD 05. Workspaces in AutoCAD 06. Cursor 07. AutoCAD Window 08. Toolbars 09. File Formats 10. Drawing Limits 11. Drawing Units 12. Dimension Style 13. Commands 14. 2D Drawings 15. Isometric Drawings 16. 3D Drawings
  • 3.
    1 IntroduCtIon to AutoCAd ❖AutoCAD is a 2D and 3D Computer-Aided Design (CAD) software application for desktop, web and mobile. ❖ It was first released in December 1982 by Autodesk and has since become the industry standard for CAD software. ❖ The word AutoCAD is made up of two words “Auto” (Autodesk) and “CAD” (Computer Aided Design). ❖ AutoCAD is a general drafting and design application used in industry by architects, project managers, engineers, graphic designers, city planners and other professionals to prepare technical drawings. HIstorY of AutoCAd ❖ AutoCAD was derived from a program called Interact CAD, which was written by Autodesk co-founder Michael Riddle. ❖ Interact CAD was one of the first commercial software programs to digitize drawings. In 1982, Interact CAD was sold to Autodesk founder John Walker, who relaunched it under the name AutoCAD. ❖ AutoCAD was initially a DOS application, but subsequent versions were later released for other platforms including Classic Mac OS (1992), Microsoft Windows (1992), web browsers (2010), iOS (2010), macOS (2010), and Android (2011). ❖ AutoCAD quickly became the most popular CAD software program in the world. By March 1986, only four years after it was introduced, AutoCAD had become the most widely used design application worldwide. ❖ Autodesk has continued to develop AutoCAD, and the software has become increasingly sophisticated over the years. Today, AutoCAD is used by millions of people around the world.
  • 4.
    2 BenefIts of AutoCAd ❖Increased productivity: AutoCAD can help you to increase your productivity by automating many of the tasks involved in creating drawings. ❖ Improved accuracy: AutoCAD can help you to create more accurate drawings by providing tools for checking for errors and by ensuring that drawings are to scale. ❖ Enhanced collaboration: AutoCAD can help you to collaborate with others more effectively by providing tools for sharing drawings and for tracking changes. ❖ Reduced costs: AutoCAD can help you to reduce costs by automating tasks, improving accuracy, and enhancing collaboration.
  • 5.
    3 feAtures of AutoCAd ❖2D drafting: AutoCAD is a powerful tool for creating 2D drawings, including lines, arcs, circles, and polygons. It also includes tools for editing and annotating drawings. ❖ 3D modeling: AutoCAD can also be used to create 3D models. This can be useful for visualizing designs and for creating prototypes. ❖ Dimensioning: AutoCAD can be used to add dimensions to drawings. This can be useful for ensuring that drawings are accurate and can be used for manufacturing. ❖ Layering: AutoCAD supports layering, which allows you to organize your drawings into different layers. This can be useful for keeping your drawings organized and for controlling which objects are visible. ❖ External references: AutoCAD supports external references (XREFs), which allow you to reference other drawings into your current drawing. This can be useful for keeping your drawings up-to-date. ❖ AutoCAD web and mobile: AutoCAD is available as a web and mobile app, which allows you to view and edit drawings from anywhere. ❖ Customization: AutoCAD is highly customizable, which allows you to tailor the software to your specific needs. There are a number of ways to customize AutoCAD, including using custom commands, toolbars, and scripts.
  • 6.
    4 WorKsPACes In AutoCAd ❖Workspaces in AutoCAD are customized user interfaces that allow you to quickly access the tools and commands that you use most frequently for specific tasks. Each workspace includes a specific set of menus, toolbars, palettes, and ribbon panels that are relevant to the task at hand. This can help you to streamline your workflow and become more productive. ❖ There are a number of predefined workspaces included with AutoCAD, such as: • 2D Drafting & Annotation: This workspace is designed for creating and editing 2D drawings. It includes tools for drawing lines, arcs, circles, and other shapes, as well as tools for annotating drawings with dimensions, leaders, and text. The display of AutoCAD 2D Drafting & Annotation is shown in the image below :
  • 7.
    5 • 3D Basics: Thisworkspace is designed for creating and viewing basic 3D models. It includes tools for creating 3D objects, such as solids, surfaces, and meshes, as well as tools for viewing and manipulating 3D models. The display of AutoCAD 3D Basic is shown in the image below: • 3D Modeling: This workspace is designed for creating complex 3D models. It includes all of the tools from the 3D Basics workspace, as well as additional tools for advanced modeling tasks, such as surfacing, mesh editing, and rendering. The display of AutoCAD 3D Modeling is shown in the image below:
  • 8.
    6 CURSOR The pickbox isa rectangular box that appears around the cursor when you are in object selection mode. It is used to identify objects that you want to select or modify. When the cursor is within the pickbox of an object, the object is highlighted, indicating that it is selected. The crosshair is a pair of intersecting lines that form a cross at the center of the cursor. It is used as a reference point for drawing, editing, and measuring objects. The crosshair intersection point represents the precise location of the cursor.
  • 9.
  • 10.
    8 toolBArs • Program TitleBar: The program title bar is located at the top of the AutoCAD window and displays the name of the program and the title of the current drawing. It also includes buttons for minimizing, maximizing, and closing the window. • Quick Access Toolbar : The Quick Access Toolbar is a customizable toolbar that contains shortcuts to your most frequently used commands. By default, the Quick Access Toolbar contains the Save, Open, Undo, Redo, and Zoom commands. You can add or remove commands from the Quick Access Toolbar by right-clicking on the toolbar and selecting Customize Quick Access Toolbar • File Tabs: The File Tabs are located at the top of the AutoCAD window and provide quick access to the various files that you have open. You can click on a tab to switch to that file, and you can right-click on a tab to close that file. • Application Menu : The Application Menu is located in the top-left corner of the AutoCAD window and provides access to a variety of commands, including commands for creating new drawings, opening existing drawings, saving drawings, and printing drawings. • UCS Icon: The UCS Icon is located in the bottom-left corner of the AutoCAD window and indicates the current User Coordinate System (UCS). The UCS is the coordinate system that is used to reference all points and objects in the drawing. You can click on the UCS Icon to open the UCS dialog box, where you can change the UCS. The 2D UCS is shown in the given image:
  • 11.
    9 The 3D UCSis shown in the given image: • Model Tab: The Model Tab is located at the bottom of the AutoCAD window and is used to work with the model space of the drawing. The model space is the area where you create and edit your 2D and 3D objects. • Layout Tabs: The Layout Tabs are located at the bottom of the AutoCAD window and are used to work with the paper space layouts of the drawing. Paper space layouts are used to create and print drawings to scale. • Ribbon: The Ribbon is a graphical user interface that replaces the traditional pull-down menus and toolbars in AutoCAD. The Ribbon is organized into tabs, each of which contains a set of related commands. To use a command on the Ribbon, simply click on the button for that command. • InfoCenter: The InfoCenter is located in the top-right corner of the AutoCAD window and provides quick access to help, tutorials, and other resources. • ViewCube: The ViewCube is located in the status bar of the AutoCAD window and allows
  • 12.
    10 you to rotateand zoom the view of the drawing. You can also use the ViewCube to change the perspective of the view. • Drawing Area: The Drawing Area is located in the center of the AutoCAD window and is where you create and edit your drawings. • Navigation Bar: The Navigation Bar is located at the bottom of the AutoCAD window and provides quick access to navigation tools, such as the Pan, Zoom, and Orbit tools. The navigation bar is shown in the below image: • Command Window: The Command Window is located at the bottom of the AutoCAD window and allows you to enter commands directly into AutoCAD. To enter a command in the Command Window, simply type the name of the command and press Enter.
  • 13.
    11 • Status Bar: TheStatus Bar is located at the bottom of the AutoCAD window and displays information about the current drawing, such as the cursor coordinates, the current UCS, and the current snap mode. Components of Status Bar: • Dynamic Input: This feature displays real-time feedback about the geometry and dimensions of objects as you draw or modify them. It helps you visualize and ensure accurate measurements and placements. • Ortho Mode: This mode restricts cursor movement to horizontal and vertical directions, preventing diagonal or angled movements. It's useful for precise drafting of lines, arcs, and other shapes. • Object Snap Tracking: This feature tracks the cursor's proximity to object snap points, such as
  • 14.
    12 endpoints, intersections, andmidpoints. It helps you quickly snap to specific points on objects for precise alignment and placement. • Object Snap: This feature allows you to snap the cursor to specific points on objects, such as endpoints, intersections, midpoints, and tangency points. It helps you create precise connections and alignments between objects. • Dynamic UCS: This feature automatically updates the User Coordinate System (UCS) to align with the current drawing element or angle. It simplifies object placement and dimensioning relative to the active element. • Polar Tracking: This feature guides the cursor movement along specific angles or directions, particularly useful for drawing lines, arcs, and other shapes along predefined angles. It ensures precise alignment and orientation of objects. • Snap Modes: This group of buttons allows you to toggle various snap modes, such as endpoint snap, midpoint snap, intersection snap, and tangency snap. These modes help you quickly snap the cursor to specific points on objects for accurate placement and alignment. • Grid Snap: This button toggles the grid snap mode, which restricts cursor movement to grid points. It's useful for creating aligned and evenly spaced objects. • Grid Mode: This button toggles the grid display, making the grid lines visible or invisible. Grid lines provide visual reference for aligning and spacing objects. • Coordinate Display: This option allows you to display the cursor coordinates in various formats, such as relative to the current UCS, absolute cartesian coordinates, or polar
  • 15.
    13 coordinates. It provides precisepositional information for objects. 3D TOOLS Extrude: The Extrude command in AutoCAD 3D is used to create a surface or solid of a 2D surface or a 3D curve Revolve : The Revolve command in AutoCAD 3D is used to create a 3D solid or surface by sweeping the object through its axis at a predefined angle. Loft : The loft command in AutoCAD is used to create 3D solid or surface. The 3D solid or surface is formed within the space between various cross sections. Sweep : The 2D sub-object or object is swept along an open or closed path to create a 3D surface or solid using sweep command. Presspull : The Presspull command in AutoCAD 3D is used to create an area formed by the closed boundary Or It is used to pull an enclosed boundary.
  • 16.
    14 File Formats AutoCAD supportsvarious file formats for saving drawings, including: • DWG (drawing): The native file format used by AutoCAD for saving 2D and 3D drawings. • DXF (drawing interchange format): A file format that allows the exchange of drawings between different CAD software applications. • DWF (design web format): A format used for sharing and publishing 2D and 3D design data. DRAWING LIMITS Adding limits in AutoCAD defines the visible boundary of the drawing area, restricting the placement of objects beyond those limits. To add limits in AutoCAD: i. Type LIMITS on the command line or command prompt. ii. Press Enter or spacebar. iii. Specify the Lower-Left Corner iv. Specify the Upper-Right Corner v. Press Enter to Confirm drAWInG unIts To set the Drawing Units, type UN then press ENTER key. Then a pop-up window will appear. Then do the changes as per requirements. Then click OK.
  • 17.
    15 dIMensIon stYle MAnAGer Toset the Dimension Style, type D then press ENTER key. Then a pop-up window will appear. Then click on Modify. Then do the changes as per requirements.
  • 18.
  • 19.
  • 20.
    18 ONE KEY SHORTCUTS QQSAVE : Saves the current drawing. A ARC : Creates an arc. Z ZOOM : Increases or decreases the magnification of the view in the current viewport. S STRETCH : Stretches objects crossed by a selection window or polygon. X EXPLODE : Breaks a compound object into its component objects. E ERASE : Removes objects from a drawing. D DIMSTYLE : Creates and modifies dimension styles. C CIRCLE : Creates a circle F FILLET : Rounds and fillets the edges of objects. V VIEW : Saves and restores named views, camera views, layout views, and preset views. H HATCH : Fills an enclosed area or selected objects with a hatch pattern, solid fill, or gradient fill. J JOIN : Joins similar objects to form a single, unbroken object. M MOVE : Moves objects a specified distance in a specified direction. I INSERT : Inserts a block or drawing into the current drawing. O OFFSET : Creates concentric circles, parallel lines, and parallel curves. L LINE : Creates straight line segments. P PAN : Adds a parameter with grips to a dynamic block definition. Toggle (ON/OFF) Drawing Modes : F1 : Display Help F2 : Toggle text screen F3 : Toggle object snap mode F4 : Toggle 3DOsnap
  • 21.
    19 F5 : ToggleIsoplane F6 : Toggle Dynamic UCS F7 : Toggle grid mode F8 : Toggle ortho mode F9 : Toggle snap mode F10 : Toggle polar mode F11 : Toggle object snap tracking F12 : Toggle dynamic input mode Manage Workflow : ESC : Cancel current command Ctrl+C : Copy object Ctrl+X : Cut object Ctrl+V : Paste object Ctrl+Z : Undo last action Ctrl+Y : Redo last action Manage Drawings Ctrl+N : New Drawing Ctrl+S : Save drawing Ctrl+O : Open drawing Ctrl+P : Plot dialog box Ctrl+Q : Exit Ctrl+A : Select all objects Ctrl+Tab : Switch to next Ctrl+Shift+Tab : Switch to previous drawing
  • 22.
    20 Ctrl+Page Up :Switch to previous tab in current drawing Ctrl+Page Down : Switch to next tab in current drawing DRAW COMMANDS 1. Line – L 2. Polyline – PL 3. Circle – C 4. Arc – A 5. Rectangle – REC 6. Ellipse – EL 7. Polygon – POL 8. Spline – SPL 9. Point – PO 10. Hatch – H 11. Multiline Text – MTEXT 12. Block – B 13. Write Block – WB MODIFY COMMANDS 1. Erase – E 2. Copy – CO 3. Mirror – MI 4. Offset – O
  • 23.
    21 5. Array –AR 6. Move – M 7. Rotate – RO 8. Scale – SC 9. Fillet – F 10. Chamfer – CHA 11. Trim – TR 12. Extend – EX DIMENSIONING COMMANDS • Dimension – DIM • The commands for linear, aligned, angular, etc will be given as first DIM and then the respective command. • For example, •Linear – DIMLIN • Aligned – DIMALI • Angular – DIMANG
  • 24.
    22 2d drAWInGs USING LINECOMMAND USING LINE COMMAND WITH ANGLES PARALLEL LINES USING OFFSET COMMAND
  • 25.
    23 USING OFFSET ANDTRIM COMMAND USING FILLET COMMAND
  • 26.
  • 27.
  • 28.
  • 29.
    27 USING CIRCLE ANDLINE COMMAND
  • 30.
    28 IsoMetrIC drAWInGs 3D objectsmade drawn in 2D plane is known as isometric. To switch to isometric mode in AutoCAD : • Type SNAPSTYL + ENTER • Then press 1 + ENTER • Then press Z + ENTER • And then press A + ENTER
  • 31.
  • 32.
  • 33.
  • 34.
  • 35.
  • 36.
  • 37.
  • 38.