LTE – Long Term Evolution
Technical Seminar
Ahmedul Quadir
E-mail: ahmedul.quadir@ericsson.com
Ericsson AB
LTE – Targets
• High data rates
–
–

Downlink: >150 Mbps
Uplink: >50 Mbps

• Low delay/latency
–
–

User plane RTT: < 10 ms RAN RTT (fewer nodes, shorter TTI)
Channel set-up: < 100 ms idle-to-active (fewer nodes, shorter messages, quicker node resp.)

• High spectral efficiency
–

Targeting 3 X HSPA Rel. 6 (@ 2006 )

• Spectrum flexibility
–
–

Operation in a wide-range of spectrum allocations, new and existing
Wide range of Bandwidth: 1.4, 1.6, 3.0/3.2, 5, 10, 15 and 20 MHz, FDD and TDD

• Simplicity – Less signaling, Auto Configuration e-NodeB
– ”PnP”, ”Simple as an Apple”

• Cost-effective migration from current/future 2/3G systems
• State-of-the-art towards 4G
• Focus on services from the packet-switched domain
Simplified Network Architecture
WCDMA

LTE/SAE

SAE Core NW
(EPC)

Core NW

A flat architecture for
optimized
performance and
cost efficiency

RNC

RNC

NodeB

NodeB

UE

Moving all RNC
functions to e-NodeB

e-NodeB

UE

e-NodeB
Network Architecture
Internet

IMS IP Multimedia
subsystem

PSTN/ISDN
GMSC

GGSN
PDN-GW
HLR

IP backbone

VLR
MSC

MME/
S-GW

MME/
S-GW

SGSN
IP

BSC

BTS

2G, GSM and GPRS
Duplex techinque: FDD
Freq band: 900MHz, 1800MHz, 1900MHz
Bandwidth per carrier: 200 kHz
Multiple access: TDMA

RNC

NodeB

3G, UMTS with WCDMA
Duplex techinque: FDD (and TDD)
Freq band: 2 GHz 15 bands
Bandwidth per carrier: 5 MHz BW
Access tech: CDMA

eNodeB

eNodeB

LTE/SAE 4G
Duplex technique: FDD or TDD
Freq band: 450MHz up to 2.6GHz 15 bands
Bandwidth 1.25 – 20 MHz BW
Multiple access: OFDM (OFDMA DL and SCFDMA UL)
E-UTRAN Architecture
EPC
(Evolved
Packet Core)

MME/S-GW

MME/S-GW

SAE
(Service Architecture
Evolution)

S1

E-UTRAN

X2

LTE
(Long Term Evolution)

eNB

eNB

X2

X2
eNB

MME (Mobility Management Entity)

Distribution of paging messages to the eNBs, Security control, Idle state
mobility control, SAE bearer control, Ciphering and integrity protection of
NAS signalling

S-GW (Serving Gateway)

Termination of U-plane packets for paging reasons; Switching of U-plane
for support of UE mobility

eNB (e-NodeB)

RRM: Radio Bearer Control, Admission Control, Connection Mobility
Control Scheduling, IP Header Compression, encryption of user data
streams, Scheduling and transmission of paging messages, Selection of
an MME at UE attachment, Routing of user plane data towards serving
GW, Scheduling and transmission of broadcast information,
Measurements and reporting
SAE Bearer Service Architecture
LTE/SAE

Internet

E -UTRAN

UE

EPC

eNB

GW

Peer
Entity

End -to-end Service
SAE Bearer Service
SAE Radio BS

Phys . Radio BS

Radio

External BS

SAE Access BS

Physical BS

S1

Gi
LTE Physical Layer
User #1 scheduled

User #2 scheduled

Δf=15kHz

User #3
scheduled

 Downlink: Adaptive OFDM
– Channel-dependent scheduling and link adaptation
in time and frequency domain

180 kHz

frequency

 Uplink: SC-FDMA with dynamic bandwidth (Pre-coded OFDM)
– Higher power efficiency
– Reduced uplink interference (enables intra-cell
orthogonality )
 Multi-Antennas, both RBS and terminal
– MIMO, antenna beams, TX- and RX diversity, interference rejection
– High bit rates and high capacity

frequency

TX

RX

• Flexible bandwidth
– Possible to deploy in <5 MHz bandwidths up to
20 MHz
<5

 FDD and TDD concept
– Maximum commonality between FDD and TDD
 Minimum UE capability: BW = 20 MHz

5

FDD-only

10

15

20 MHz

Half-duplex FDD

fDL

fDL

fUL

fUL

TDD-only
fDL/UL
LTE basics
Radio resources

Scheduling

1ms 1ms 1ms

FDD:

freq

time

TDD:
DL: OFDMA
UL: SC-FDMA
Sharing: frequency & time

180kHz

Scheduling: Allocation of Physical resource blocks (PRB) and
which Modulation Scheme to use
Alt 1 Round robin, red, black, red
Alt 2 Best quality red, red, red …
Alt 3 Proportional fairness, quality/data volume,
red , red
, black, red
Also take into account the QoS of the service and UE category

Physical Resource Block (PRB):
0.5 ms x 180 kHz

PD SCH

PU SCH
UE category

Categor
y

DL
(Mbps)

DL
MOD

UL
(Mbps
)

UL
MOD

eNB

Modulation
QPSK

1

10

64
QAM

2

50

64
QAM

25

-

3

100

64
QAM

50

-

4

150

64
QAM

50

-

5

300

64
QAM

75

64QAM

5

16QAM

16QAM

64QAM
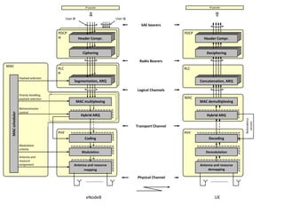
Channel Structure
IP packet

IP packet

User #i

User #j

SAE bearers
PDCP
#i

PDCP
Header Compr.

Header Compr.

Ciphering

Deciphering
Radio Bearers

MAC

RLC

RLC

#i
Payload selection

Segmentation, ARQ

Concatenation, ARQ
Logical Channels
MAC

MAC multiplexing

Retransmission
control

Hybrid ARQ
Hybrid ARQ

MAC demultiplexing
Hybrid ARQ
Hybrid ARQ
Redundancy
version

MAC scheduler

Priority handling,
payload selection

Transport Channel

PHY
Modulation
scheme
Antenna and
resource
assignment

PHY

Coding + RM
Coding
Data modulation

Coding + RM
Decoding
Data modulation
Demodulation

Modulation

Antenna and resrouce
Antenna and resource
mapping
mapping

Antenna and resrouce
Antenna and resource
mapping
demapping

Physical Channel

eNodeB

UE
Channel Structure
Uplink

Downlink

PCCH

MTCH MCCH

BCCH

DTCH

DCCH

CCCH

DTCH

CCCH

DCCH

“type of information”
(traffic/control)

pri sec

MCH

PCH

BCH

Logical Channels

RACH

UL-SCH

DL-SCH

Transport Channels
“how and with what
characteristics”
(common/shared/mc/bc)

PDCCH
info

PMCH

PBCH

PDSCH

PCFICH

-Sched TF DL
-Sched grant UL
-Pwr Ctrl cmd
ACK/NACK
-HARQ info

PDCCH

PHICH

Physical Channels
PUCCH

PUSCH

ACK/NACK
CQI
Scheduling req.

PRACH

“bits, symbols,
modulation, radio
frames etc”
Channel Structure
Channel Name

Acronym

Control channel

Traffic channel

Broadcast Control Channel

BCCH

X

Paging Control Channel

PCCH

X

Common Control Channel

CCCH

X

Dedicated Control Channel

DCCH

X

Multicast Control Channel

MCCH

X

Dedicated Traffic Channel

DTCH

X

Multicast Traffic Channel

MTCH

X
Channel Structure
Channel Name

Acronym

Downlink

Uplink

Broadcast Channel

BCH

X

Downlink Shared Channel

DL-SCH

X

Paging Channel

PCH

X

Multicast Channel

MCH

X

Uplink Shared Channel

UL-SCH

X

Random Access Channel

RACH

X
Channel Structure
Channel Name

Acronym

Downlink

Uplink

Physical downlink shared channel

PDSCH

X

Physical broadcast channel

PBCH

X

Physical multicast channel

PMCH

X

Physical uplink shared channel

PUSCH

X

Physical random access channel

PRACH

X
Time-domain Structure
Time-domain Structure
One radio frame (10 ms) = 10 subframes
#0

#1

#9

One subframe (1 ms) = two slots

One slot (0.5 ms) = 7 OFDM symbols
Normal CP, 7 OFDM
symbols per slot

One OFDM symbol

TCP

Tu 66.7 s

• For TDD, subframe 0 and 5 are always downlink transmissions
– Used for cell search signals and broadcast of system information
Guard Time for TDD Operation
• Guard time required by TDD provided by DTX of last symbol(s) of the
downlink sub-frame preceding the DL-to-UL switch-point

One radio frame (10 ms) = 10 subframes
#0

#9
One subframe (1 ms) = two slots

One slot (0.5 ms) = 7 OFDM symbols
Normal CP, 7 OFDM
symbols per slot

Last OFDM symbol(s) not transmitted to create
guard time for UL-to-DL switch
Downlink
Downlink: OFDM
Orthogonal Frequency Division Multiplexing
• Orthogonal: all other subcarriers zero at sampling point
• Sub carrier spacing 15 kHz
• Delay spread << Symbol time < Coherence time

Benefits

Drawbacks

+
+
+
+
+
+

-

Sensitive to doppler
and freq errors

-

Overhead

Frequency diversity
Robust against ISI
Easy to implement
Flexible BW
Suitable for MIMO
Classic technology
(WLAN, ADSL etc)

f
Resource Blocks
• The basic TTI (Transmission Time Interval) for DL-SCH is 1 ms
– TTI is a transport channel property
– Subframe is a physical channel property
– One (or two) transport blocks per TTI sent to L1

• One resource block is 12 subcarriers during one 0.5 ms slot

f = 15 kHz

One resource block
(12 7 = 84 resource elements)
DL-SCH Processing
CRC insertion (24 bits)

CRC
CRC

Rel 6 Turbo coding (with QPP interleaver)

Coding
Coding

Rate matching, redundancy version generation

1 or 2 transport
transport block
blocks per TTI
per TTI

HARQ
HARQ

Scrambling for inter-cell interference randomization

Scrambling
Scrambling

Modulation (QPSK, 16QAM, 64QAM)

Modulation
Modulation

Mapping to transmission layers (for multi-layer
transmission)

Pre-coding (for multi-rank transmission)

Resource block mapping

Resource block mapping
Resource block mapping
Reference Signals
Cell-specific Reference Signals
•

Cell-specific reference signals

•

Used for

– Sequence is a product of
• 1 of 3 orthogonal sequences
• 1 of 170 pseudo-random sequences
– 3 170=510 different sequences  510 different cell identities
– coherent demodulation in the UE
– channel-quality measurements for scheduling
– measurements for mobility

Frequency
Time

Downlink reference symbol
Cell-specific Reference Signals
•

One reference signal per antenna port
–
–

•

Different time/frequency resources used for different antenna ports
–

•

1, 2, or 4 antenna ports supported
specified per antenna port, reference signals are not pre-coded

Nothing transmitted on ‘other’ antennas when reference symbol transmitted on one antenna

Higher density in time for antenna 1, 2 than antenna 3, 4

Antenna #1

Antenna #1

Antenna #2

Antenna #2

Antenna #3

Frequency
Time

Antenna #4
Control signaling
Downlink
Downlink Control Signaling
• Downlink control signaling
– DL scheduling (transport format and resource assignment)
– UL scheduling grants
– ACK/NAK related to UL transmission

• Transmitted in first n OFDM symbols, n 3
– Allows for micro sleep

• DL scheduling assignment, UL scheduling grant
– Convolutional coding, QPSK, transmitted over the full BW

Reference symbols

L1/L2 control
Cell Search
Cell Search
Primary and secondary synchronization signal
– Transmitted in subframe #0 and #5
• Primary synchronization signal can be used as phase reference for secondary
reference signal
– Uses 62 center subcarriers (~6 resource blocks)  cell search procedure independent
of system bandwidth
10 ms radio frame

1 ms subframe

0.5 ms slot

#1

#2

#3

#4

0.5 ms slot

0.5 ms slot

0 1 2 3 4 5 6 0 1 2 3 4 5 6

Primary
synchronization signal

#6

#7

#8

0.5 ms slot

0 1 2 3 4 5 6 0 1 2 3 4 5 6

OFDM symbol
Secondary
synchronization signal

#5

system bandwidth

#0

62 subcarriers

•

#9
Scheduling
Downlink
Basic DL scheduling mechanism
• Ue provides a Channel
Quality Report (CQI) based
on DL reference symbols
• Scheduler assigns
resources per RB based on
QoS, CQI etc.
• Resource allocation is
transmitted in connection
with data
• Many details remain open
in 3GPP

DL scheduler

eNodeB

Ue
MIMO in E-UTRA DL Shared CH
Multi Antenna Possibilities
Directivity

Diversity

Spatial Multiplexing

Antenna/Beamforming gain

“Reduce fading”

“Data Rate multiplication”

Example

Example

Example

Channel knowledge (average/instant)

Transmit the signal in the best
direction

Transmit the signal in all
directions

Transmit several signals in
different directions

•Different techniques make different assumptions on channel knowledge at rx and tx
•Many technqiues can realize several benefits
•Realized benefit depends on channel (incl. antenna) and interference properties
Uplink
Uplink Frequency Hopping
• Uplink transmission can hop on slot
boundaries
– to obtain channel diversity
– to obtain interference diversity
User #1

User #2

User #3

No hopping
1 RB
(12 sub-carriers)

User #1

Hopping

User #2

3 RB
(36 sub-carriers)

User #3
UL-SCH Processing
• UL-SCH processing similar to DL-SCH
CRC insertion (24 bits)

CRC

Rel 6 Turbo coding (with QPP interleaver)

Coding

Rate matching, redundancy version generation

HARQ

UE-specific scrambling for interference randomization

Scrambling

Modulation (QPSK, 16QAM, 64QAM)

Modulation

To DFTS-OFDM modulation, including
mapping to assigned frequency
resource
Scheduling
Uplink
Basic UL scheduling mechanism
•

•

•

•
•
•

Ue request UL transmission
via ”scheduling request”
Scheduler assigns initial
resources without detailed
knowledge of buffer content
More detailed buffer status
report follows in connection
with data
UL assignments are valid per
UE
Ue performs prioritization
between RB
Many details remain open in
3GPP

CQI

UL scheduler

eNodeB

Ue
IMS
Network
AS
MTAS

PSTN

OSS-RC

DNS/
ENUM

S-CSCF

P-CSCF

Network & Service
management

IMS Control
layer

MGC
Broadband Wired
Access

Service Layer

AS

Application Servers

I-CSCF

WLAN

AS

MM

Internet

N-SBG

Rx+

MGW

User data
RTP/UDP GTP/UDP

PCRF

SIP/UDP or SIP/TCP
GTP-C

S7/Gx
EPC

CS Core

GPRS
Packet
Core

SGSN

GWMSC

SGs

MSC

Gxa
S6a
S4
S3

P-GW
MME
S11

S1-CP
UTRAN

S101

S5/S8

eNodeB

X2-CP

RNC

CDMA2000
HRPD
(EV-DO)

MSC

IWS

Platforms / Concepts
CPP /
RBS6000

Uu
X2-UP

S103
S102

S1-UP

E-UTRAN

PDSN

S2a

S-GW

GERAN

ISUP
S1-AP, X2-AP, SgsAP
H.248
Diameter
Other

HSS

S6d
GGSN

DNS/ENUM

IMS Connectivity
layer

A-SBG

EMA

TSP/NSP or
TSP/IS

Juniper/R
edback

SUN

WPP

IS

eNodeB
Links and references
www.3gpp.org
•
•
•
•
•
•

Evolved Universal Terrestrial Radio Access (E-UTRA) and Evolved Universal Terrestrial Radio
Access (E-UTRAN); Overall description; Stage 2, 36.300
Evolved Universal Terrestrial Radio Access (E-UTRA); Physical Channels and Modulation,
36.211
Evolved Universal Terrestrial Radio Access (E-UTRA); Multiplexing and channel coding ,
36.212
Evolved Universal Terrestrial Radio Access (E-UTRA); Physical layer procedures, 36.213
Evolved Universal Terrestrial Radio Access (E-UTRA); Physical layer; Measurements , 36.214
LTE Physical Layer – General Description, 36.201

A good book:
•

3G Evolution – HSPA and LTE for Mobile Broadband, Academic Press 2007
Erik Dahlman; Stefan Parkvall; Johan Sköld; Per Beming
Q&A

4G-Fourth Generation Mobile Communication System

  • 1.
    LTE – LongTerm Evolution Technical Seminar Ahmedul Quadir E-mail: ahmedul.quadir@ericsson.com Ericsson AB
  • 2.
    LTE – Targets •High data rates – – Downlink: >150 Mbps Uplink: >50 Mbps • Low delay/latency – – User plane RTT: < 10 ms RAN RTT (fewer nodes, shorter TTI) Channel set-up: < 100 ms idle-to-active (fewer nodes, shorter messages, quicker node resp.) • High spectral efficiency – Targeting 3 X HSPA Rel. 6 (@ 2006 ) • Spectrum flexibility – – Operation in a wide-range of spectrum allocations, new and existing Wide range of Bandwidth: 1.4, 1.6, 3.0/3.2, 5, 10, 15 and 20 MHz, FDD and TDD • Simplicity – Less signaling, Auto Configuration e-NodeB – ”PnP”, ”Simple as an Apple” • Cost-effective migration from current/future 2/3G systems • State-of-the-art towards 4G • Focus on services from the packet-switched domain
  • 3.
    Simplified Network Architecture WCDMA LTE/SAE SAECore NW (EPC) Core NW A flat architecture for optimized performance and cost efficiency RNC RNC NodeB NodeB UE Moving all RNC functions to e-NodeB e-NodeB UE e-NodeB
  • 4.
    Network Architecture Internet IMS IPMultimedia subsystem PSTN/ISDN GMSC GGSN PDN-GW HLR IP backbone VLR MSC MME/ S-GW MME/ S-GW SGSN IP BSC BTS 2G, GSM and GPRS Duplex techinque: FDD Freq band: 900MHz, 1800MHz, 1900MHz Bandwidth per carrier: 200 kHz Multiple access: TDMA RNC NodeB 3G, UMTS with WCDMA Duplex techinque: FDD (and TDD) Freq band: 2 GHz 15 bands Bandwidth per carrier: 5 MHz BW Access tech: CDMA eNodeB eNodeB LTE/SAE 4G Duplex technique: FDD or TDD Freq band: 450MHz up to 2.6GHz 15 bands Bandwidth 1.25 – 20 MHz BW Multiple access: OFDM (OFDMA DL and SCFDMA UL)
  • 5.
    E-UTRAN Architecture EPC (Evolved Packet Core) MME/S-GW MME/S-GW SAE (ServiceArchitecture Evolution) S1 E-UTRAN X2 LTE (Long Term Evolution) eNB eNB X2 X2 eNB MME (Mobility Management Entity) Distribution of paging messages to the eNBs, Security control, Idle state mobility control, SAE bearer control, Ciphering and integrity protection of NAS signalling S-GW (Serving Gateway) Termination of U-plane packets for paging reasons; Switching of U-plane for support of UE mobility eNB (e-NodeB) RRM: Radio Bearer Control, Admission Control, Connection Mobility Control Scheduling, IP Header Compression, encryption of user data streams, Scheduling and transmission of paging messages, Selection of an MME at UE attachment, Routing of user plane data towards serving GW, Scheduling and transmission of broadcast information, Measurements and reporting
  • 6.
    SAE Bearer ServiceArchitecture LTE/SAE Internet E -UTRAN UE EPC eNB GW Peer Entity End -to-end Service SAE Bearer Service SAE Radio BS Phys . Radio BS Radio External BS SAE Access BS Physical BS S1 Gi
  • 7.
    LTE Physical Layer User#1 scheduled User #2 scheduled Δf=15kHz User #3 scheduled  Downlink: Adaptive OFDM – Channel-dependent scheduling and link adaptation in time and frequency domain 180 kHz frequency  Uplink: SC-FDMA with dynamic bandwidth (Pre-coded OFDM) – Higher power efficiency – Reduced uplink interference (enables intra-cell orthogonality )  Multi-Antennas, both RBS and terminal – MIMO, antenna beams, TX- and RX diversity, interference rejection – High bit rates and high capacity frequency TX RX • Flexible bandwidth – Possible to deploy in <5 MHz bandwidths up to 20 MHz <5  FDD and TDD concept – Maximum commonality between FDD and TDD  Minimum UE capability: BW = 20 MHz 5 FDD-only 10 15 20 MHz Half-duplex FDD fDL fDL fUL fUL TDD-only fDL/UL
  • 8.
    LTE basics Radio resources Scheduling 1ms1ms 1ms FDD: freq time TDD: DL: OFDMA UL: SC-FDMA Sharing: frequency & time 180kHz Scheduling: Allocation of Physical resource blocks (PRB) and which Modulation Scheme to use Alt 1 Round robin, red, black, red Alt 2 Best quality red, red, red … Alt 3 Proportional fairness, quality/data volume, red , red , black, red Also take into account the QoS of the service and UE category Physical Resource Block (PRB): 0.5 ms x 180 kHz PD SCH PU SCH UE category Categor y DL (Mbps) DL MOD UL (Mbps ) UL MOD eNB Modulation QPSK 1 10 64 QAM 2 50 64 QAM 25 - 3 100 64 QAM 50 - 4 150 64 QAM 50 - 5 300 64 QAM 75 64QAM 5 16QAM 16QAM 64QAM
  • 9.
  • 10.
    IP packet IP packet User#i User #j SAE bearers PDCP #i PDCP Header Compr. Header Compr. Ciphering Deciphering Radio Bearers MAC RLC RLC #i Payload selection Segmentation, ARQ Concatenation, ARQ Logical Channels MAC MAC multiplexing Retransmission control Hybrid ARQ Hybrid ARQ MAC demultiplexing Hybrid ARQ Hybrid ARQ Redundancy version MAC scheduler Priority handling, payload selection Transport Channel PHY Modulation scheme Antenna and resource assignment PHY Coding + RM Coding Data modulation Coding + RM Decoding Data modulation Demodulation Modulation Antenna and resrouce Antenna and resource mapping mapping Antenna and resrouce Antenna and resource mapping demapping Physical Channel eNodeB UE
  • 11.
    Channel Structure Uplink Downlink PCCH MTCH MCCH BCCH DTCH DCCH CCCH DTCH CCCH DCCH “typeof information” (traffic/control) pri sec MCH PCH BCH Logical Channels RACH UL-SCH DL-SCH Transport Channels “how and with what characteristics” (common/shared/mc/bc) PDCCH info PMCH PBCH PDSCH PCFICH -Sched TF DL -Sched grant UL -Pwr Ctrl cmd ACK/NACK -HARQ info PDCCH PHICH Physical Channels PUCCH PUSCH ACK/NACK CQI Scheduling req. PRACH “bits, symbols, modulation, radio frames etc”
  • 12.
    Channel Structure Channel Name Acronym Controlchannel Traffic channel Broadcast Control Channel BCCH X Paging Control Channel PCCH X Common Control Channel CCCH X Dedicated Control Channel DCCH X Multicast Control Channel MCCH X Dedicated Traffic Channel DTCH X Multicast Traffic Channel MTCH X
  • 13.
    Channel Structure Channel Name Acronym Downlink Uplink BroadcastChannel BCH X Downlink Shared Channel DL-SCH X Paging Channel PCH X Multicast Channel MCH X Uplink Shared Channel UL-SCH X Random Access Channel RACH X
  • 14.
    Channel Structure Channel Name Acronym Downlink Uplink Physicaldownlink shared channel PDSCH X Physical broadcast channel PBCH X Physical multicast channel PMCH X Physical uplink shared channel PUSCH X Physical random access channel PRACH X
  • 15.
  • 16.
    Time-domain Structure One radioframe (10 ms) = 10 subframes #0 #1 #9 One subframe (1 ms) = two slots One slot (0.5 ms) = 7 OFDM symbols Normal CP, 7 OFDM symbols per slot One OFDM symbol TCP Tu 66.7 s • For TDD, subframe 0 and 5 are always downlink transmissions – Used for cell search signals and broadcast of system information
  • 17.
    Guard Time forTDD Operation • Guard time required by TDD provided by DTX of last symbol(s) of the downlink sub-frame preceding the DL-to-UL switch-point One radio frame (10 ms) = 10 subframes #0 #9 One subframe (1 ms) = two slots One slot (0.5 ms) = 7 OFDM symbols Normal CP, 7 OFDM symbols per slot Last OFDM symbol(s) not transmitted to create guard time for UL-to-DL switch
  • 18.
  • 19.
    Downlink: OFDM Orthogonal FrequencyDivision Multiplexing • Orthogonal: all other subcarriers zero at sampling point • Sub carrier spacing 15 kHz • Delay spread << Symbol time < Coherence time Benefits Drawbacks + + + + + + - Sensitive to doppler and freq errors - Overhead Frequency diversity Robust against ISI Easy to implement Flexible BW Suitable for MIMO Classic technology (WLAN, ADSL etc) f
  • 20.
    Resource Blocks • Thebasic TTI (Transmission Time Interval) for DL-SCH is 1 ms – TTI is a transport channel property – Subframe is a physical channel property – One (or two) transport blocks per TTI sent to L1 • One resource block is 12 subcarriers during one 0.5 ms slot f = 15 kHz One resource block (12 7 = 84 resource elements)
  • 21.
    DL-SCH Processing CRC insertion(24 bits) CRC CRC Rel 6 Turbo coding (with QPP interleaver) Coding Coding Rate matching, redundancy version generation 1 or 2 transport transport block blocks per TTI per TTI HARQ HARQ Scrambling for inter-cell interference randomization Scrambling Scrambling Modulation (QPSK, 16QAM, 64QAM) Modulation Modulation Mapping to transmission layers (for multi-layer transmission) Pre-coding (for multi-rank transmission) Resource block mapping Resource block mapping Resource block mapping
  • 22.
  • 23.
    Cell-specific Reference Signals • Cell-specificreference signals • Used for – Sequence is a product of • 1 of 3 orthogonal sequences • 1 of 170 pseudo-random sequences – 3 170=510 different sequences  510 different cell identities – coherent demodulation in the UE – channel-quality measurements for scheduling – measurements for mobility Frequency Time Downlink reference symbol
  • 24.
    Cell-specific Reference Signals • Onereference signal per antenna port – – • Different time/frequency resources used for different antenna ports – • 1, 2, or 4 antenna ports supported specified per antenna port, reference signals are not pre-coded Nothing transmitted on ‘other’ antennas when reference symbol transmitted on one antenna Higher density in time for antenna 1, 2 than antenna 3, 4 Antenna #1 Antenna #1 Antenna #2 Antenna #2 Antenna #3 Frequency Time Antenna #4
  • 25.
  • 26.
    Downlink Control Signaling •Downlink control signaling – DL scheduling (transport format and resource assignment) – UL scheduling grants – ACK/NAK related to UL transmission • Transmitted in first n OFDM symbols, n 3 – Allows for micro sleep • DL scheduling assignment, UL scheduling grant – Convolutional coding, QPSK, transmitted over the full BW Reference symbols L1/L2 control
  • 27.
  • 28.
    Cell Search Primary andsecondary synchronization signal – Transmitted in subframe #0 and #5 • Primary synchronization signal can be used as phase reference for secondary reference signal – Uses 62 center subcarriers (~6 resource blocks)  cell search procedure independent of system bandwidth 10 ms radio frame 1 ms subframe 0.5 ms slot #1 #2 #3 #4 0.5 ms slot 0.5 ms slot 0 1 2 3 4 5 6 0 1 2 3 4 5 6 Primary synchronization signal #6 #7 #8 0.5 ms slot 0 1 2 3 4 5 6 0 1 2 3 4 5 6 OFDM symbol Secondary synchronization signal #5 system bandwidth #0 62 subcarriers • #9
  • 29.
  • 30.
    Basic DL schedulingmechanism • Ue provides a Channel Quality Report (CQI) based on DL reference symbols • Scheduler assigns resources per RB based on QoS, CQI etc. • Resource allocation is transmitted in connection with data • Many details remain open in 3GPP DL scheduler eNodeB Ue
  • 31.
    MIMO in E-UTRADL Shared CH
  • 32.
    Multi Antenna Possibilities Directivity Diversity SpatialMultiplexing Antenna/Beamforming gain “Reduce fading” “Data Rate multiplication” Example Example Example Channel knowledge (average/instant) Transmit the signal in the best direction Transmit the signal in all directions Transmit several signals in different directions •Different techniques make different assumptions on channel knowledge at rx and tx •Many technqiues can realize several benefits •Realized benefit depends on channel (incl. antenna) and interference properties
  • 33.
  • 34.
    Uplink Frequency Hopping •Uplink transmission can hop on slot boundaries – to obtain channel diversity – to obtain interference diversity User #1 User #2 User #3 No hopping 1 RB (12 sub-carriers) User #1 Hopping User #2 3 RB (36 sub-carriers) User #3
  • 35.
    UL-SCH Processing • UL-SCHprocessing similar to DL-SCH CRC insertion (24 bits) CRC Rel 6 Turbo coding (with QPP interleaver) Coding Rate matching, redundancy version generation HARQ UE-specific scrambling for interference randomization Scrambling Modulation (QPSK, 16QAM, 64QAM) Modulation To DFTS-OFDM modulation, including mapping to assigned frequency resource
  • 36.
  • 37.
    Basic UL schedulingmechanism • • • • • • Ue request UL transmission via ”scheduling request” Scheduler assigns initial resources without detailed knowledge of buffer content More detailed buffer status report follows in connection with data UL assignments are valid per UE Ue performs prioritization between RB Many details remain open in 3GPP CQI UL scheduler eNodeB Ue
  • 38.
  • 39.
    Network AS MTAS PSTN OSS-RC DNS/ ENUM S-CSCF P-CSCF Network & Service management IMSControl layer MGC Broadband Wired Access Service Layer AS Application Servers I-CSCF WLAN AS MM Internet N-SBG Rx+ MGW User data RTP/UDP GTP/UDP PCRF SIP/UDP or SIP/TCP GTP-C S7/Gx EPC CS Core GPRS Packet Core SGSN GWMSC SGs MSC Gxa S6a S4 S3 P-GW MME S11 S1-CP UTRAN S101 S5/S8 eNodeB X2-CP RNC CDMA2000 HRPD (EV-DO) MSC IWS Platforms / Concepts CPP / RBS6000 Uu X2-UP S103 S102 S1-UP E-UTRAN PDSN S2a S-GW GERAN ISUP S1-AP, X2-AP, SgsAP H.248 Diameter Other HSS S6d GGSN DNS/ENUM IMS Connectivity layer A-SBG EMA TSP/NSP or TSP/IS Juniper/R edback SUN WPP IS eNodeB
  • 40.
    Links and references www.3gpp.org • • • • • • EvolvedUniversal Terrestrial Radio Access (E-UTRA) and Evolved Universal Terrestrial Radio Access (E-UTRAN); Overall description; Stage 2, 36.300 Evolved Universal Terrestrial Radio Access (E-UTRA); Physical Channels and Modulation, 36.211 Evolved Universal Terrestrial Radio Access (E-UTRA); Multiplexing and channel coding , 36.212 Evolved Universal Terrestrial Radio Access (E-UTRA); Physical layer procedures, 36.213 Evolved Universal Terrestrial Radio Access (E-UTRA); Physical layer; Measurements , 36.214 LTE Physical Layer – General Description, 36.201 A good book: • 3G Evolution – HSPA and LTE for Mobile Broadband, Academic Press 2007 Erik Dahlman; Stefan Parkvall; Johan Sköld; Per Beming
  • 41.