Home Automation Using Mobile Application
A
Project Report
Submitted in partial fulfilment for the award of the
Degree of
Bachelor of Technology (Electrical Engineering)
Submitted By:
Eklavya Sharma (12EBKEE031)
Rakesh Sharma (12EBKEE083)
Under the Guidance of:
Mr. Dinesh Kumar
Assistant Professor BKBIET (Electrical Engineering)
Department of Electrical Engineering
B K Birla Institute of Engineering & Technology, Pilani (Rajasthan)
(Under Rajasthan Technical University, Kota)
May 2016
ii
DECLARATION BY CANDIDATE
We hereby declare that the work which is being presented in the thesis entitled
(“Home Automation Using Mobile Application)” in fulfilment of the
requirements for the award of degree of Bachelor of Technology in Electrical
Engineering and submitted to B. K. Birla Institute of Engineering and
Technology, Pilani (Rajasthan) , India, is an authentic record of my own work
carried by me under the supervision of Mr. Dinesh Kumar (Department Of
Electrical Engineering), B. K. Birla Institute of Engineering and Technology,
Pilani-333031, Rajasthan.
Date: 09th May 2016 Name and Signature of the Candidates
Eklavya Sharma
Rakesh Sharma
iii
CERTIFICATE BY PROJECT GUIDE
This is to certify that Mr. Eklavya Sharma and Mr. Rakesh Sharma,
student of B.Tech. Electrical Engineering IV Year has submitted their
Project Report entitled (“Home Automation Using Mobile
Application’’) under my guidance.
Mr. Dinesh Kumar
Assistant Professor
Department of Electrical Engineering
This is to certify that the above statement made by the guide is correct
to the best of my knowledge.
Signature of the Principal (Academics)
Date:
iv
ACKNOWLEDGEMENT
It gives me immense pleasure to express my deepest sense of gratitude and sincere
thanks to my guide Mr. Dinesh Kumar (Department of Electrical
Engineering) BKBIET, Pilani for his valuable guidance, encouragement and
help for completing this work. I would like to express my sincere thanks to Dr. P
S Bhatnagar, Director BKBIET, Pilani for giving me this opportunity to
undertake this project. I would also like to thank Dr. L Solanki, Principal
(Academics) BKBIET, Pilani for whole hearted support. I am also grateful to
my teachers for their constant support and guidance.
At the end I would like to express my sincere thanks to all my friends and others
who helped me directly or indirectly during this project work.
Student Name - Eklavya Sharma
Enrollment no. - 12EBKEE031
Student Name – Rakesh Sharma
Enrollment no. - 12EBKEE083
Date: 09th
May 2016
v
TABLE OF CONTENTS
S.NO Topic PAGE NO.
Declaration By Candidate ii
Certificate By Project Guide iii
Acknowledgement iv
Abstract vi
1. Introduction 1
List Of Components Required 2
1.1 The Arduino Platform 2
1.1.1 Schematic Diagram 4
1.1.2 Power Supply 4
1.1.3 Memory 5
1.1.4 Input And Output 5
1.1.5 Communication 6
1.2 Arduino IDE 7
1.3 Bluetooth Module Hc-06 8
1.4 Dc Relays 10
1.5 Relay Driver Uln2003 Ic/ L293d 12
1.6 Ultrasonic Sensor (Hc – Sr04) 14
1.7 Power Supply For Arduino And Relay Driver 16
2. Connections With Arduino
2.1 Connecting Bluetooth Module Hc-06 20
2.2 Connecting Ultrasonic Sensor. 21
3. Smart Home Automation Flow Chart 23
3.1 Smart Home Automation Block Diagram 23
3.2 Programming Implementation Block
Diagram
23
4. Android Application Development 24
4.1 MIT App Inventor 24
4.2 Application Development Block Code For Smart Home
Automation
25
5. Program Code 30
vi
6.1 Arduino Program Code For Smart Home Automation 30
6.2 Arduino Program Code For Tank Level Measurement And
Control
33
6. Conclusion 36
7. Future Work 37
8. Applications Of Smart Home Automation 38
9. References 39
vii
ABSTRACT
Smart home automation refers to the use of computer and information technology to control
home Appliances and features (such as windows or lighting) through home networking to
enhance power efficiency and improve the quality of living. Nowadays home automation is
becoming more and more popular due its abundant advantages. Home automation systems can
range from simple remote control of lighting through to complex computer/micro-controller
based networks with varying degrees of intelligence and automation. Smart home automation
is adopted for reasons of ease, security and energy efficiency. Here, our aim is to design a kit
that can be used for controlling AC Loads from Android phone via Bluetooth Module HC-06
by using Arduino as microcontroller. I have also used the ultrasonic sensor HC-SR04 for the
tank level measurement which measures the water level of the water tank in real time and sends
the data to the Arduino phone accessed via the Mobile Application via the Bluetooth module
using thee serial communication. Here I’m using Arduino Uno r3 which is a microcontroller
board based on the ATmega328. The android mobile application is developed using the MIT
App-Inventor 2 tool. This project is beneficial in energy saving and security as well as for those
who are physically challenged as this application can take input as the voice command of the
user. The given system is cost effective, provides an ease of control and management and can
be easily installed for homes or commercial buildings.
viii
TABLE OF FIGURE
S.NO. FIGURE PAGE NO.
Fig. 1.1. Arduino Prototyping Board (Arduino Uno) 3
Fig. 1.2. Arduino Prototyping Board Pin Diagram
Fig. 1.3. Arduino Integrated Development Environment 8
Fig. 1.4. Arduino Integrated Development Environment 9
Fig. 1.5. DC 6/12 V Relays 10
Fig. 1.6. Relay Driving Circuit 11
Fig. 1.7. ULN2003 IC 12
Fig. 1.8. L293D Relay Driver IC 13
Fig. 1.9. Ultrasonic Sensor 14
Fig. 1.10. Full Wave Bridge Rectifier 15
Fig. 1.11. Full Wave Bridge rectifier 16
Fig. 1.12. Pin configuration of LM78XX series 17
Fig. 1.13. LM7805 Connections 18
Fig. 2.1. Arduino Uno and HC-06 (Bluetooth Module) Connections 26
Fig. 2.2. Arduino Uno and HC-SR04 (Ultrasonic) Connections 27
Fig. 4.1. MIT App Inventor 30
Fig. 4.2. Smart Home Mobile Application 31
Fig. 4.3. Block Code of Smart Home Application 32
Fig. 4.4. Tank Level Measurement Application 33
Fig. 4.5. Block Code For Tank Level Measurement 33
1
INTRODUCTION
Our smart home automation kit provides smartphone application based solutions for control &
energy optimization in industry, commercial buildings & homes. The kit requires a Arduino
Uno R3 having ATMega328 microcontroller for processing, Bluetooth module HC-06 is
required to transmit and receive data, relays are required to control the AC loads, ULN2003 IC
is used to drive the relays, an Android smartphone with the Smart Home Automation
application installed is required to control the AC loads fixed in the switch board and a power
supply of 12 V is required to power up the relays and Arduino requires the power supply of 7
V. If the DPDT (Double Pole Double Throw) switches are used then the kit can be made to
work manually as well as remotely.
Furthermore, the system can be improved for the door control, the temperature detection, the
light dimmer control etc. Similarly, the application can be improved for voice recognition. The
Smart Home Automation can be improved for receiving and sending signal through ESP8266
Wi-Fi module and can be controlled through mobile or computer via web.
2
OBJECTIVE
ď‚· Aim is to design a kit that can be used for controlling AC Loads from Android phone using
Arduino
ď‚· To understand the concept of Smart Home Automation
ď‚· To communicate with the microcontroller or sensors
ď‚· To establish Serial communication between Arduino and Mobile
ď‚· To design a User Interface for HMI i.e. Mobile Application
ď‚· To design the hardware connections between Arduino, HC-06, Relay and AC-loads
LIST OF COMPONENTS REQUIRED
1.1 THE ARDUINO PLATFORM
The Arduino platform is an open source electronic prototyping system. It is composed of two
parts, the Arduino Uno board and the Arduino IDE (Integrated Development Environment).
The Uno board is designed to provide an easy to use human changeable pin interface to the
Atmel AVR AT mega microcontroller, the heart of the Arduino hardware. The AVR
microcontrollers from Atmel use the C language for programming and are commercially
available and very popular with hobbyists and electronics enthusiasts. Arduino builds on this
by adding simplicity to the hardware interface and an easy to use software package.
The Arduino Uno is a microcontroller board based on the ATmega328. It has 14 digital
input/output pins (of which 6 can be used as PWM outputs), 6 analog inputs, a 16 MHz crystal
oscillator, a USB connection, a power jack, an ICSP header, and a reset button. It contains
everything needed to support the microcontroller; simply connect it to a computer with a USB
cable or power it with a AC-to-DC adapter or battery to get started. The Uno differs from all
preceding boards in that it does not use the FTDI USB-to-serial driver chip. Instead, it features
theAtmega16U2 (Atmega8U2 up to version R2) programmed as a USB-to-serial converter.
Arduino is meant to be used as a physical computing platform. That is, to use the electronic
hardware to interface with humans using sensors and actuators controlled by software executed
by a computer. The groundwork of this paper focuses on the physical computing aspect of
Arduino.
3
Fig. 1.1. - Arduino Prototyping Board (Arduino Uno)
Microcontroller ATmega328
Operating Voltage 5 volt
Input Voltage (recommended) 7-12 volt
Input Voltage (limits) 6-20 volt
Digital I/O Pins 14 (of which 6 provide PWM output)
Analog Input Pins 6
DC Current per I/O Pin 40 mA
DC Current for 3.3V Pin 50 mA
Table 1.1. - Arduino Specifications
4
SCHEMATIC DIAGRAM
Fig. 1.2. - Arduino Prototyping Board (Arduino Uno)
POWER SUPPLY
The Uno board can be powered via the USB connection or with an external power supply. The
power source is selected automatically.
External (non-USB) power can come either from an AC-to-DC adapter (wall-wart) or battery.
The adapter can be connected by plugging a 2.1mm center-positive plug into the board's power
jack. Leads from a battery can be inserted in the GND and Vin pin headers of the POWER
connector.
5
The board can operate on an external supply from 6 to 20 volts. If supplied with less than 7V,
however, the 5V pin may supply less than five volts and the board may become unstable. If
using more than 12V, the voltage regulator may overheat and damage the board. The
recommended range is 7 to 12 volts.
The power pins are as follows:
Vin- The input voltage to the Uno board when it's using an external power source (as opposed
to 5 volts from the USB connection or other regulated power source). You can supply voltage
through this pin, or, if supplying voltage via the power jack, access it through this pin.
5V.This pin outputs a regulated 5V from the regulator on the board. The board can be supplied
with power either from the DC power jack (7 - 12V), the USB connector (5V), or the VIN pin
of the board (7-12V). Supplying voltage via the 5V or 3.3V pins bypasses the regulator, and
can damage your board. We don't advise it.
3V3. A 3.3 volt supply generated by the on-board regulator. Maximum current draw is 50 mA.
GND. Ground pins.
IOREF. This pin on the Uno board provides the voltage reference with which the
microcontroller operates. A properly configured shield can read the IOREF pin voltage and
select the appropriate power source or enable voltage translators on the outputs to work with
the 5V or 3.3V.
MEMORY
The ATmega328 has 32 KB (with 0.5 KB occupied by the bootloader). It also has 2 KB of
SRAM and 1 KB of EEPROM (which can be read and written with the EEPROM library).
INPUT AND OUTPUT
See the mapping between Arduino pins and ATmega328P ports. The mapping for the Atmega8,
168, and 328 is identical.
Each of the 14 digital pins on the Uno can be used as an input or output, using pinMode(),
digitalWrite(), and digitalRead() functions. They operate at 5 volts. Each pin can provide or
receive 20 mA as recommended operating condition and has an internal pull-up resistor
(disconnected by default) of 20-50k ohm. A maximum of 40mA is the value that must not be
exceeded on any I/O pin to avoid permanent damage to the microcontroller.
6
In addition, some pins have specialized functions:
Serial: 0 (RX) and 1 (TX). Used to receive (RX) and transmit (TX) TTL serial data. These pins
are connected to the corresponding pins of the ATmega8U2 USB-to-TTL Serial chip.
External Interrupts: 2 and 3. These pins can be configured to trigger an interrupt on a low value,
a rising or falling edge, or a change in value. See the attachInterrupt() function for details.
PWM: 3, 5, 6, 9, 10, and 11. Provide 8-bit PWM output with the analogWrite() function.
SPI: 10 (SS), 11 (MOSI), 12 (MISO), 13 (SCK). These pins support SPI communication using
the SPI library.
LED: 13. There is a built-in LED driven by digital pin 13. When the pin is HIGH value, the
LED is on, when the pin is LOW, it's off.
TWI: A4 or SDA pin and A5 or SCL pin. Support TWI communication using the Wire library.
The Uno has 6 analog inputs, labeled A0 through A5, each of which provide 10 bits of
resolution (i.e. 1024 different values). By default they measure from ground to 5 volts, though
is it possible to change the upper end of their range using the AREF pin and the
analogReference() function.
There are a couple of other pins on the board:
AREF. Reference voltage for the analog inputs. Used with analogReference().
Reset. Bring this line LOW to reset the microcontroller. Typically used to add a reset button to
shields which block the one on the board.
COMMUNICATION
The Uno has a number of facilities for communicating with a computer, another Uno board, or
other microcontrollers. The ATmega328 provides UART TTL (5V) serial communication,
which is available on digital pins 0 (RX) and 1 (TX). An ATmega16U2 on the board channels
this serial communication over USB and appears as a virtual com port to software on the
computer. The 16U2 firmware uses the standard USB COM drivers, and no external driver is
needed. However, on Windows, a .inf file is required. The Arduino Software (IDE) includes a
serial monitor which allows simple textual data to be sent to and from the board. The RX and
TX LEDs on the board will flash when data is being transmitted via the USB-to-serial chip and
USB connection to the computer (but not for serial communication on pins 0 and 1).
7
A “SoftwareSerial” library allows serial communication on any of the Uno's digital pins.
The ATmega328 also supports I2C (TWI) and SPI communication. The Arduino Software
(IDE) includes a Wire library to simplify use of the I2C bus; see the documentation for details.
For SPI communication, use the SPI library.
1.2 ARDUINO IDE
The open-source Arduino Software (also known as the Arduino IDE - short for Integrated
Development Environment) makes it easy to write code and upload it to the board. It runs on
Windows, Mac OS X, and Linux. The environment is written in Java and based on Processing
and other open-source software. This software can be used with any Arduino board.
This software can be used with any Arduino board. The Arduino IDE is the software
environment used to create the programs, called “sketches,” that will be executed by the
Arduino hardware. The IDE uses a modified C language compiler to build, translate, and
transmit the code to the microcontroller board. The AVR microcontrollers are typically
programmed using the C language. Since C can be somewhat difficult to learn for the typical
hobbyist, the IDE makes a combination of modified C and Arduino specific commands
available to the user. The IDE provides the simplicity for less proficient users but supports
advanced users who are knowledgeable in C. The IDE also has a set of additional code
functions called libraries. Libraries extend the commands available to provide capabilities not
available in the core Arduino language. In essence, a library allows the user to perform
seemingly complex functions using a small set of commands.
Installing Arduino IDE
For Windows 8, 7, Vista, and XP
ď‚· Go to the Arduino download page and download the latest version of the Arduino software
for Windows.
ď‚· When the download is finished, un-zip it and open up the Arduino folder to confirm that
yes, there are indeed some files and sub-folders inside. The file structure is important so
don’t be moving any files around unless you really know what you are doing.
ď‚· Power up your Arduino by connecting your Arduino board to your computer with a USB
cable (or FTDI connector if you are using an Arduino pro).
8
Fig. 1.3. - Arduino Integrated Development Environment
1.3 BLUETOOTH MODULE HC-06
The Bluetooth module is used for communication between smart phone and the Arduino. The
Bluetooth module HC-06 allows the serial and UART communication between your Arduino
Uno or any microcontroller with a PC or a Smartphone equipped with a Bluetooth facility.
Connecting the Bluetooth module HC-06 with Arduino Uno have numerous application like
controlling home lights using Bluetooth module, driving a RC car, controlling robot using
mobile application etc. The Arduino pins 0 and 1 are specified for Universal Asynchronous
Receiver/Transmitter (UART) that control the interface with its attached serial devices.
9
The HC-06 Bluetooth module contains four pins-
PINS FUNCTIONS
TXD Serial output of the module used for the transmission of data
RXD Serial output of the module for receiving the data,
VCC It is in the range of 3.3-6 V
GND Ground.
NOTE: The Arduino pins 0 and 1 are specified for Universal Asynchronous
Receiver/Transmitter (UART) that control the interface with its attached serial devices. The
module is powered from Arduino 3.3 volt supply.
Fig. 1.4. - Arduino Integrated Development Environment
10
Specification of Bluetooth Module HC-06-
Bluetooth number HC-06
Operating Voltage 3.3-6.0 volts
Default baud rate 9600 bps
Signal Coverage 30ft
Default Password 1234
1.4 DC RELAYS
A relay is an electrically operated switch. Many relays use an electromagnet to mechanically
operate a switch, but other operating principles are also used, such as solid-state relays. Relays
are used where it is necessary to control a circuit by a low-power signal (with complete
electrical isolation between control and controlled circuits), or where several circuits must be
controlled by one signal. The first relays were used in long distance telegraph circuits as
amplifiers: they repeated the signal coming in from one circuit and re-transmitted it on another
circuit. Relays were used extensively in telephone exchanges and early computers to perform
logical operations.
Fig. 1.5. – DC 6/12 V Relays
11
A Relay is an electrically operated switch. Many relays use an electromagnet to mechanically
operate the switch and provide electrical isolation between two circuits. In this project there is
no real need to isolate one circuit from the other, but we will use an Arduino UNO to control
the relay.
Why to use relay for controlling AC light?
AC is alternating current 220v (India) which powers the ac lights. Arduino cannot control high
volt n amp, but a relay can do this job, which is the sole design of it. So we are using relay as
switch to control high power devices.
What is NO NC and COM in relay?
COM (Common connection) - It is the center terminal, It is hot as power to the load is
connected at this terminal.
NO (Normally open) - It acts like a switch, since it is open - there will be no contact between
COM and NO, When we trigger the relay module, it connects to COM by the electromagnet
inside the relay and supply to the load is provided, which powers up the light. Thus the circuit
is closed until we trigger the state to low in relay.
NC (Normally closed) - It is always in contact with COM, even when relay is not powered.
When we trigger the relay it opens the circuit, so the connection is lost. It behaves just opposite
to NO.
Fig. 1.6. – Relay Driving Circuit
12
To control the relays and thereby the lights we need to make a driver circuit which is needed
for the driving purpose as well as for the isolation of the AC power with the Arduino (Dc
power). For the driving purpose the LM293d can also be used.
1.5 RELAY DRIVER ULN2003 IC/ L293D
The relay driver ULN2003 ic is a high voltage and current darlington array ic, it comprises of
7-open collector darlington pairs with common emitters. A pair of darlington is an arrangement
of two bipolar transistors. This IC belongs to the family of ULN200x ICs and various types of
this family interface to various logic families. This ULN2003 IC is for 5V TTL and CMOS
logic devices.
Fig. 1.7. – ULN2003 IC
These ICs are used as relay drivers as well as to drive a wide range of loads, line drivers, display
drivers etc. This IC is also normally used while driving Stepper Motors. The pairs of darlington
13
in ULN2003 is esteemed at 500mA and can withstand peak current of 600mA.In the pin layout,
the i/ps & o/ps are provided reverse to each other. Each driver also has a suppression diode to
dissipate voltage spikes while driving inductive loads.
The ULN2003 has a 2.7kΩ series base resistor for each Darlington pair for operation directly
with TTL or 5V CMOS devices. The ULN2003 is known for its high-current, high-voltage
capacity. The drivers can be paralleled for even higher current output. Even further, stacking
one chip on top of another, both electrically and physically, has been done. Generally it can
also be used for interfacing with a stepper motor, where the motor requires high ratings which
cannot be provided by other interfacing devices.
Features:
ď‚· 500mA rated collector current(Single output)
ď‚· High-voltage outputs: 50V
ď‚· Inputs compatible with various types of logic.
ď‚· Relay driver application
ď‚· Inputs pinned opposite outputs to simplify layout
 Seven Darlington’s per package
A Darlington transistor (also known as Darlington pair) achieves very high current
amplification by connecting two bipolar transistors in direct DC coupling so the current
amplified by the first transistor is amplified further by the second one. The resultant current
gain is the product of those of the two component transistors:
The seven Darlington pairs in ULN2003 can operate independently except the common
cathode diodes that connect to their respective collectors.
L293D IC:
The L293D is quadruple high-current half-H driver. The L293D is designed to provide
bidirectional drive currents of up to 600 milliampere at voltages from 4.5 Volts to 36 Volts.
L293D IC’s are designed to drive a wide array of inductive loads such as relays, solenoids, DC
and bipolar stepping motors, as well as other high-current and high-voltage loads [6]. Here, it
14
is used to drive two DC geared motors which are functioning as the rear wheels of the
RoboDroid. The features and specification can be found in the datasheet.
Fig. 1.8. – L293D Relay Driver IC
1.6 ULTRASONIC SENSOR (HC – SR04)
Ultrasonic ranging module HC - SR04 provides 2cm - 400cm non-contact measurement
function, the ranging accuracy can reach to 3mm. The modules include ultrasonic transmitters,
receiver and control circuit.
The HC-SR04 ultrasonic sensor uses sonar to determine distance to an object like bats do. It
offers excellent non-contact range detection with high accuracy and stable readings in an easy-
to-use package. From 2cm to 400 cm or 1” to 13 feet. It operation is not affected by sunlight
15
or black material like Sharp rangefinders are (although acoustically soft materials like cloth
can be difficult to detect). It comes complete with ultrasonic transmitter and receiver module.
This sensor is really cool and popular among the Arduino Tinkerers. So I’ve decided to post a
project example using this sensor. In this project the ultrasonic sensor read and write the
distance in the serial monitor. It’s really simple.
The basic principle of work:
(1) Using IO trigger for at least 10us high level signal,
(2) The Module automatically sends eight 40 kHz and detect whether there is a pulse signal
back.
(3) IF the signal back, through high level, time of high output IO duration is the time from
sending ultrasonic to returning.
Test distance = (high level timeĂ—velocity of sound (340M/S) / 2.
Fig. 1.9. – Ultrasonic Sensor
16
1.7 POWER SUPPLY FOR ARDUINO AND RELAY DRIVER IC
To make a power supply that can give you 12 V and current of 1 A.
The easy steps to design a power supply that can give you the DC output voltage you want with
input as 230 V AC. I’m using the power supply to power up my Arduino board and the relay.
The input voltage of an Arduino can vary from 7 -12 Volts. For the 12 V power supply design
I’ve used a simple full wave bridge rectifier circuit. A Full Wave Bridge Rectifier is a circuit,
which converts an ac voltage into a pulsating dc voltage using both half cycles of the applied
ac voltage.
The full wave bridge rectifier circuit is very reliable, cheaper and the resulting output is much
easier to smooth. The designing of the circuit would cost you less than ₹150(less than $5).
The input voltage of an Arduino can vary from 7 -12 Volts. For the 12 V power supply design
I have used a simple full wave bridge rectifier circuit. A Full Wave Bridge Rectifier is a circuit,
which converts an ac voltage into a pulsating dc voltage using both half cycles of the applied
ac voltage. The full wave bridge rectifier circuit is very reliable, cheaper and the resulting
output is much easier to smooth. The designing of the circuit would cost you less than ₹150(less
than $5).
Fig. 1.10. - Full Wave Bridge Rectifier
17
1. Step Down Transformer – A single phase 230:18 V step down transformer is required for
12v dc power supply. Likewise, to design a 5 V power supply you may use the 230:10.
There are three wire in the transformer and 9-0-9 (considering the 18 v) is written on it. So,
you are needed to connect the outermost wires of the transformer (which are of same
colors).
2. Diode – Four Diodes are used in the circuit for rectification and a single diode is used as
freewheeling diode. All diodes are 1N4007.
3. Voltage Regulator IC– LM 7812 a voltage regulator IC is used in the 12V DC Power
supply. Similarly, for 5 volt power supply just replace the LM 7812 with LM 7805.
4. Capacitances– capacitances are used for reducing ripples in DC power supply as per
specifications. A 1000 µF and a 10 µF capacitances. All these items are easily available at
electronics shop.
5. Copper wires– For AC mains they should have the current capacity of more than 1 A.
6. Jumper wires– For connection purposes.
7. Soldering iron
8. Soldering wire
9. General Purpose PCB
10. Two pin plug
Optional components
1. Adapter Jack- The adapter jack is used to connect the power supply with the Arduino
board.
2. Heat sink (optional) – For the high current outputs from the power supply and for proper
heat dissipation from the voltage regulator. The heat sink may be connected to the Voltage
regulator IC.
3. LED- You can also connect the led with a limiting resistor for the indication of power
supply.
4. Limiting resistor- Limiting resistors are used to limit the current flow through the LED.
A LM7805 Voltage Regulator is a voltage regulator that outputs +5 volts and the current up to
750mA. The output of LM7812 is given to the LM7805. The LM7805 is sufficient to drive the
three servo motors.
18
Fig. 1.11. - Full Wave Bridge rectifier
An easy way to remember the voltage output by a LM78XX series of voltage regulators is the
last two digits of the number. A LM7805 ends with 05, thus it outputs 5 volts. The 78 part is
just the convention that the chip makers use to denote the series of regulators that output voltage
is positive. The other series of regulators, the LM79XX, is the series that output voltage is
negative. After you have all the above required items, plan the layout of the power supply and
carefully solder all the components. The resulting system will be a 12 volt power supply with
700mA and check the output of the power supply with a multimeter.
Fig. 1.12. - Pin configuration of LM78XX series
19
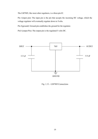
The LM7805, like most other regulators, is a three-pin IC.
Pin 1(input pin): The input pin is the pin that accepts the incoming DC voltage, which the
voltage regulator will eventually regulate down to 5volts.
Pin 2(ground): Ground pin establishes the ground for the regulator.
Pin3 (output Pin): The output pin is the regulated 5 volts DC.
Fig. 1.13. - LM7805 Connections
20
CONNECTIONS WITH ARDUINO
In this section the connection of different components with the Arduino. The programming in
the Arduino will be according to the hardware connections with the Arduino. The Arduino is
needed to be connected with the Bluetooth module HC-06 and the ULN2003. The ULN2003
is connected with the relays. The relays controls the AC loads as per the instruction given by
the users through the Smartphone. The smartphone send instructions to the Arduino Uno which
gives the input to the ULN2003 (Darlington pair) which switch on or switch off the relay.
2.1 CONNECTING BLUETOOTH MODULE HC-06
The Bluetooth module HC-06 allows the serial and UART communication between your
Arduino Uno or any microcontroller with a PC or a Smartphone equipped with a Bluetooth
facility. Connecting the Bluetooth module HC-06 with Arduino Uno have numerous
application like controlling home lights using Bluetooth module, driving a RC car, controlling
robot using mobile application etc.
The Arduino pins 0 and 1 are specified for Universal Asynchronous Receiver/Transmitter
(UART) that control the interface with its attached serial devices.
BLUETOOTH MODULE HC-06 ARDUINO UNO R3
TX RX (pin 0)
RX TX (pin 1)
VCC 3.3 volt supply from Arduino
GND Arduino ground
Table 1.2. – Bluetooth Module And Arduino Connections
For the communication between the Arduino and the PC connected with a USB cable with
serial connection you’ll need a library called “SoftwareSerial.h“. This library allows
you to setup serial communication on (almost any) digital pin of the Arduino Uno.
21
Fig. 2.1. – Arduino Uno and HC-06 (Bluetooth Module) Connections
2.2 CONNECTING ULTRASONIC SENSOR.
The ultrasonic sensor is useful in tank level measurement the ultrasonic will measure the level
of the tank. A single I/O pin is used to trigger an ultrasonic burst and then "listen" for the echo
return pulse. Using this method, it measures the level of the water in the tank. This data of
water level is sent to the Android mobile phone using the Bluetooth Module HC-06 which
reads the data and can switch off the motor automatically at the time the water tank is full and
when the water tank is empty it will automatically starts the motor or the user
The HC-SR04 barely works to 10 feet giving a total path length of 20 feet and a path time of
about 20ms so set the timeout to something above that, say 25 or 30ms. If you put a resistor,
say 2k2 between E and T then only connect to T you can use the HC-SR04 from just one
Arduino pin. Look up single pin operation of ultrasonic sensors. Also if you are using a HC-
SR04 with a PicAxe you need to up the clockspeed to at least 8MHz otherwise they don’t see
the start of the echo pulse so pulsin never starts.
22
ULTRASONIC SENSOR (HC-SR04) ARDUINO UNO R3
TRIG Pin 6
ECHO Pin 7
VCC 5 Volts
GND Ground
Table 1.3. – Ultrasonic Sensor and Arduino Connections
Fig. 2.2. – Arduino Uno and HC-SR04 (Ultrasonic Sensor) Connections
23
SMART HOME AUTOMATION FLOW CHART
3.1 SMART HOME AUTOMATION BLOCK DIAGRAM
3.2 PROGRAMMING IMPLEMENTATION BLOCK DIAGRAM
Human Input
Mobile
Application
Bluetooth Serial
Communication
Arduino
Processing
Relay Action
AC Load
Action
Initialize
Sensors
Libraries
Initialize
Bluetooth
Communication
Initialize All
Variables
Assign
Hardware Pins
Check Serial
Communication
Read Serial
Data
(Serial.read)
Input To Relays
Via IC
ULN2003
Read Sensor
Values
Send Serial
Data To Mobile
(Serial.write)
Automatic/
Manual (Users
Choice)
24
ANDROID APPLICATION DEVELOPMENT
4.1 MIT APP INVENTOR
MIT App Inventor is an open-source web application that allows the users to make software
applications for Android operating system. Even with limited programming experience one can
easily create an Android Application. App Inventor for Android is a visual language that relies
on simple programming blocks that users can drag and drop to create software applications. It
was made by Google and it is maintained by the Massachusetts Institute of Technology (MIT).
And MIT App Inventor 2 is the latest version of App Inventor.
It allows newcomers to computer programming to create software applications for the Android
operating system (OS). It uses a graphical interface, very similar to Scratch and the StarLogo
TNG user interface, which allows users to drag-and-drop visual objects to create an application
that can run on Android devices. In creating App Inventor, Google drew upon significant prior
research in educational computing, as well as work done within Google on online development
environments.
App Inventor and the projects on which it is based are informed by constructionist learning
theories, which emphasizes that programming can be a vehicle for engaging powerful ideas
through active learning. As such, it is part of an ongoing movement in computers and education
that began with the work of Seymour Papert and the MIT Logo Group in the 1960s and has
also manifested itself with Mitchel Resnick's work on Lego Mindstorms and StarLogo.
App Inventor makes Android app development highly visual, and highly intuitive. It is an easy
and fun way for the uninitiated to learn about computer programming, and is at the same time
a productive tool for advanced programmers alike. It is worth mentioning that despite being in
its infancy – that is to say beta phase – this platform still offers a robust set of programming
tools for all levels of programming ability and is ideal for use in education.
Indeed, a major angle being promoted by MIT/Google is its instrumentality in teaching and for
introducing anyone to programming, particularly young people, in say a high school setting.
Although, it has a much broader target audience than that. That is, adult non-programmers who
wish to teach themselves, and professional programmers.
25
MIT app inventor doesn’t support Internet Explorer browser. To use MIT App Inventor 2 for
Android, to develop mobile application you must use a compatible browser. Currently the
supported browsers are:
• Google Chrome 29+
• Safari 5+
• Firefox 23+
Fig. 4.1. – MIT App Inventor
4.2 APPLICATION DEVELOPMENT BLOCK CODE FOR SMART HOME
AUTOMATION
The application development for the smart home automation is done using thee MIT app
inventor tool. The user interface for the Android mobile application is made visually attractive
and intuitively designed. Four buttons to control for four light bulbs, a button for enabling the
Bluetooth and a list picker for connecting the Bluetooth Module is provided.
26
The commands for controlling the light can be given through voice a voice command mode
button is also provide for the voice control of the lights.
Fig. 4.2. – Smart Home Mobile Application
The application can be run on all android mobile phones. It provides fine, better, accurate and
fast control for the home ac lights. To use the application first of all the user, have to press the
Bluetooth button which will automatically switch on the Bluetooth on if it was not enabled.
After enabling the Bluetooth, the user has to pick the Bluetooth Module HC-06 and enter the
password.
The default password for the Bluetooth module is 1234. The user can also change the password
of the Bluetooth Module HC-06 using the AT commands. After the connection between the
27
mobile and Bluetooth Module has been established the user can easily control the lights by
pressing the buttons which are being provided near each label of the light name.
The block code image for the application development is shown in the figure given below:
Fig. 4.3. – Block Code of Smart Home Application
28
The mobile application for tank level measurement is shown in the figure:
Fig. 4.4. – Tank Level Measurement Application
Smart home application would give you the real time data of the water tank installed right into
your phone. So any time you can turn off or turn on the motor through your phone or otherwise
it will do it for you for a given minimum and maximum water limit. For an industry where
more than one tankers are installed you’ll get the real-time data of the filled capacity of the
different tanks and you can control them individually.
The real time tank level can be measured and seen in the mobile application. And accordingly
the motor connected with the water tank be controlled either automatically or manually. For
manual mode a button is provided to switch on or switch off the motor. For automatic mode,
whenever the tank level reaches to its 100% water level the motor will get turned off and when
29
the tank level reaches 0% the motor will get automatically switched on by the Arduino using a
relay and relay driver IC.
The Block code for the tank level measurement is shown below:
Fig. 4.3. – Block Code of Tank Level Measurement
30
PROGRAM CODE
The open-source Arduino Software (also known as the Arduino IDE - short for Integrated
Development Environment) is used to write the program code as it makes it easy to write the
code and upload it to the Arduino board. It runs on Windows, Mac OS X, and Linux.
The environment is written in Java and based on Processing and other open-source software.
This software can be used with any Arduino board.
The Arduino IDE is the software environment used to create the programs, called “sketches,”
that will be executed by the Arduino hardware. The program code for the project “Smart Home
Automation” is also written in the Arduino IDE.
Serial Communication:
To begin the serial communication, the statement “Serial.begin(speed)” is used that
communicate over the pins 0 and 1 of the Arduino board. It opens the serial port and sets the
data rate in bits per second (baud) for serial data transmission. Now to get the number of bytes
(characters) available for reading from the serial port “Serial.available( )”is used. The incoming
serial data sent from the mobile application is read using the function “Serial.read( )”.
6.1 ARDUINO PROGRAM CODE FOR SMART HOME AUTOMATION
/////// Relay pins are defined which are connected with the
output pins of ULN2003 ///////
const int relay1 = 13; // Pin 13 of Arduino is connected to
the first input pin of ULN2003
const int relay2 = 14; // Pin 14 of Arduino is connected to
the second input pin of ULN2003
const int relay3 = 15; // Pin 15 of Arduino is connected to
the third input pin of ULN2003
const int relay4 = 16; // Pin 16 of Arduino is connected to
the fourth input pin of ULN2003
31
int val;
int count1;
int count2;
int count3;
int count4;
// the setup routine runs once when you press reset:
void setup()
{
// initialize the digital pin as an output.
pinMode(relay1, OUTPUT);
pinMode(relay2, OUTPUT);
pinMode(relay3, OUTPUT);
pinMode(relay4, OUTPUT);
Serial.begin(9600);
}
// the loop routine runs over and over again forever
void loop()
{
if (Serial)
{
if (Serial.available() > 0)
{
val = Serial.read();
32
Serial.println(val, DEC);
relaycontrol(val);
}
}
}
void relaycontrol(int val)
{
switch (val)
{
case 101 : digitalWrite(relay1, HIGH);
delay(1000);
Serial.println("Relay 1 On");
break;
case 102 : digitalWrite(relay1, LOW);
delay(1000);
Serial.println("Relay 1 Off");
break;
case 103 : digitalWrite(relay2, HIGH);
delay(1000);
Serial.println("Relay 2 On ");
break;
case 104 : digitalWrite(relay2, LOW);
delay(1000);
Serial.println("Relay 2 Off");
break;
case 105 : digitalWrite(relay3, HIGH);
33
delay(1000);
Serial.println("Relay 3 On");
break;
case 106 : digitalWrite(relay3, LOW);
delay(1000);
Serial.println("Relay 3 Off");
break;
case 107 : digitalWrite(relay4, HIGH);
delay(1000);
Serial.println("Relay 4 On");
break;
case 108 : digitalWrite(relay4, LOW);
delay(1000);
Serial.println("Relay 4 Off");
break;
}
}
6.2 ARDUINO PROGRAM CODE FOR TANK LEVEL MEASUREMENT AND
CONTROL
#define trigPin 9
#define echoPin 8
const int relay1 = 13;
void setup()
{
Serial.begin (9600);
34
pinMode(trigPin, OUTPUT);
pinMode(echoPin, INPUT);
pinMode(relay1, OUTPUT);
}
void loop()
{
int val;
long duration, distance, fdistance;
digitalWrite(trigPin, LOW);
digitalWrite(trigPin, HIGH);
digitalWrite(trigPin, LOW);
duration = pulseIn(echoPin, HIGH);
distance = ((duration / 2) / 29.1);
if (distance > 0 && distance < 200)
{
fdistance = ((200 - distance) / 200) * 100;
Serial.print(fdistance, DEC);
if (fdistance == 99)
{
digitalWrite(relay1, LOW);
}
if (fdistance == 1)
{
digitalWrite(relay1, HIGH);
35
}
}
if (Serial.available() > 0)
{
val = Serial.read();
relaycontrol(val);
}
}
void relaycontrol(int val)
{
switch (val)
{
case 101 : digitalWrite(relay1, HIGH);
delay(1000);
break;
case 102 : digitalWrite(relay1, LOW);
delay(1000);
break;
}
delay(1000);
}
36
CONCLUSION
We have successfully designed a kit that controls the AC Loads from Android phone via
Bluetooth Module HC-06 by using Arduino as microcontroller. And designed a tank level
measurement system using the ultrasonic sensor HC-SR04 which measures the water level of
the water tank in real time and sends the data to the Arduino phone accessed via the Mobile
Application via the Bluetooth module using thee serial communication. We have also added
the voice command mode for the smart home application to control the AC loads and the tank
level measurement can be either automatic or can be controlled manually.
The system is cheap and designed for the commercial use. The minimum cost for designing the
smart home automation system and the water level measurement system is Rs 1000.
37
FUTURE WORK
Observing the present situation, we can build cross platform system that can be set up on
various platforms like iOS, Windows. Restriction only several devices can be removed by
extending automation of all other home appliances. To observe activity around a house or
business Security cameras can be controlled by the user. Security systems can include motion
sensors that will detect unauthorized movement and notify the user. Scope of this project can
be expanded to many areas by not restricting to only home. It will be flexible to support various
wired as well as wireless technologies like Bluetooth, ZigBee, Wi Wide Web.
Furthermore, the system can be improved for the door control, the temperature detection, the
light dimmer control etc. Similarly, the application can be improved for voice recognition. The
Smart Home Automation can be improved for receiving and sending signal through ESP8266
Wi-Fi module and can be controlled through mobile or computer via web.
38
APPLICATIONS OF SMART HOME AUTOMATION
1. Enhances energy saving, quality of living and security
2. Provides ease of control, management and energy optimization in industry, commercial
buildings & homes.
3. Beneficial for physically challenged
4. Cost effective and easy to installed in homes
5. Saving the water overflow problem thereby saving the water
6. Medical alert / Tele assistance.
7. Detection of fire, gas leaks and water leaks.
8. Smoke detector can detect a fire or smoke condition, causing all lights in the house to blink
to alert any person of the house to the possible emergency.
9. The system can call the home owner on their mobile phone to alert them, or call the fire
department or alarm monitoring company.
10. In terms of lighting control, it is possible to save energy when hours of wasted energy in
both residential and commercial applications by auto on/off light at night time in all major
city office buildings, say after 10pm.
39
REFERENCES
Books
1. McRoberts, Michael. Beginning Arduino. New York: Apress, 2010. Print.
2. Banzi, Massimo. Getting Started with Arduino. Sebastopol, CA: O'Reilly, 2009.
3. Margolis, Michael. Arduino Cookbook. Sebastopol, CA: O'Reilly, 2011.
4. Analog Devices Inc. "ADXL322 Datasheet." Small and Thin +- 2g Accelerometer.
5. Norwood: Analog Devices, 2007.
Website Site Links
1. http://www.codevista.net/182/how-to-connect-bluetooth-module-hc-06-with-arduino-uno
2. http://www.codevista.net/85/how-to-control-lights-through-mobile-app-using-bluetooth-
module-hc-06-and-arduino
3. http://www.codevista.net/269/introduction-to-the-arduino-platform-and-why-you-need-
one
4. http://www.instructables.com/id/Controlling-AC-light-using-Arduino-with-relay-
modu/?ALLSTEPS
5. http://googleblog.blogspot.in/2011/05/android-momentu m-mobile-and-more-at.html
6. http://developer.android.com/about/index.html
7. http://research.microsoft.com/en-us/projects/homeos
8. http://source.android.com/tech/accessories/index.html
9. http://developer.android.com/guide/topics/connectivity/us b/accessory.html#manifest.
10. http://source.android.com/tech/accessories/aoap/aoa.html
11. http://arduino.cc/en/Main/ArduinoBoardADK
12. http://source.android.com/tech/accessories/aoap/aoa2.htm
Reference Papers
1. “Smart Home for Elderly Care based on wireless sensor networks”, Ransing, Rasika S,
Nascent Technologies in Engineering Field (ICNTE), IEEE 2015.
2. “Smart Home Automation using wi-fi low power devices”, Folea S, Bordencea D, Hotea
C, Valean H, Automation Quality and Testing Robotics(AQTR), IEEE 2012
3. “Universal Mobile Application Development (UMAD) on Home Automation”, Amul
Jadhav, S. Anand, Nilesh Dhangare, K.S. Wagh, India Network and Complex Systems
ISSN 2224-610X (Paper) ISSN 2225-0603 (Online) Vol 2, No. 2, 2012.
40
4. “Ad-Hoc Low Powered 802.15.1 Protocol Based Automation System for Residence using
Mobile Devices”, Pradeep G., B. Santhi Chandra, M. Venkateswarao, Department of ECE,
K.L. University, Vijaywada, Andhra Pradesh, India IJCST Vol 2, SP 1, 2011
5. “Bluetooth Based Home Automation System using Cell Phone”, R Piyare, M. Tazil, IEEE
15th International Symposium on Consumer Electronics, 2011.
6. “Zigbee Based Home Automation”, Rana, Jitendra, Rajendra and Sunil N., April 2010.
7. “Safe and Secure PIC Based Remote Control Application for Intelligent Home”, E. Yavuz,
B. Hasan, I. Serkan and K. Duygu, International Journal of Computer Science and Network
Security, Vol 7. No. 5, May 2007.
8. “Towards Smart Home: Control Electrical Devices Online”, Muhammad Izhar Ramli,
Mohd. Wahab, Nabihah, Nornabihah Ahmad, International Conference on Science and
Technology: Application in Industry and Education, 2006.
9. “Java-Based Home Automation”, Al-Ali, Member IEEE & M. Al-Rousan, IEEE
Transaction on Consumer Electronics, Vol 50. No. 2, May 2004. [10] “Bluetooth Based
Home Automation System”, N. Sriskanthan and Tan Karand,Journal of Microprocessors
and Microsystems, Vol 26, 2002.
10. Hsien-Tang Lin" Implementing Smart Homes with Open Source Solutions" International
Journal of Smart Home Vol. 7, No. 4, July, 2013.
11. Rosslin John Robles1 and Tai-hoon Kim1" Applications, Systems and Methods in Smart
Home Technology: AReview" International Journal of Advanced Science and Technology
Vol. 15, February, 2010.
12. Sook-Ling Chua and Stephen Marsland and HansW. Guesgen" Beha viour Recognition
in Smart Homes Sook" Proceedings of the TwentySecond International Joint Conference
on Artificial Intelligence 2011.
13. Gowthami, Dr. Adiline macriga "Smart Home Monitoring and Con
trolling System Using Android Phone" International Journal of Emerging Technology and
Advanced Engineering Website: www.ijetae.com ISSN 2250-2459, ISO 9001:2008
Certified Journal, Volume 3, Issue 11, November 2013.
14. Saisakul Chernbumroong, Anthony S. Atkins, and Hongnian Yu Perception of Smart Home
Technologies to Assist Elderly People" 4th International conference on software,
Knowledge information manage and applications (SKIMA 2010).
15. Christian Reinisch, Mario J. Kofler, Wolfgang Kastner"ThinkHome: A Smart Home
as Digital Ecosystem" 4th IEEE International Conference on Digital Ecosystems and
Technologies (IEEE DEST 2010).

SMART HOME AUTOMATION USING MOBILE APPLICATION

  • 1.
    Home Automation UsingMobile Application A Project Report Submitted in partial fulfilment for the award of the Degree of Bachelor of Technology (Electrical Engineering) Submitted By: Eklavya Sharma (12EBKEE031) Rakesh Sharma (12EBKEE083) Under the Guidance of: Mr. Dinesh Kumar Assistant Professor BKBIET (Electrical Engineering) Department of Electrical Engineering B K Birla Institute of Engineering & Technology, Pilani (Rajasthan) (Under Rajasthan Technical University, Kota) May 2016
  • 2.
    ii DECLARATION BY CANDIDATE Wehereby declare that the work which is being presented in the thesis entitled (“Home Automation Using Mobile Application)” in fulfilment of the requirements for the award of degree of Bachelor of Technology in Electrical Engineering and submitted to B. K. Birla Institute of Engineering and Technology, Pilani (Rajasthan) , India, is an authentic record of my own work carried by me under the supervision of Mr. Dinesh Kumar (Department Of Electrical Engineering), B. K. Birla Institute of Engineering and Technology, Pilani-333031, Rajasthan. Date: 09th May 2016 Name and Signature of the Candidates Eklavya Sharma Rakesh Sharma
  • 3.
    iii CERTIFICATE BY PROJECTGUIDE This is to certify that Mr. Eklavya Sharma and Mr. Rakesh Sharma, student of B.Tech. Electrical Engineering IV Year has submitted their Project Report entitled (“Home Automation Using Mobile Application’’) under my guidance. Mr. Dinesh Kumar Assistant Professor Department of Electrical Engineering This is to certify that the above statement made by the guide is correct to the best of my knowledge. Signature of the Principal (Academics) Date:
  • 4.
    iv ACKNOWLEDGEMENT It gives meimmense pleasure to express my deepest sense of gratitude and sincere thanks to my guide Mr. Dinesh Kumar (Department of Electrical Engineering) BKBIET, Pilani for his valuable guidance, encouragement and help for completing this work. I would like to express my sincere thanks to Dr. P S Bhatnagar, Director BKBIET, Pilani for giving me this opportunity to undertake this project. I would also like to thank Dr. L Solanki, Principal (Academics) BKBIET, Pilani for whole hearted support. I am also grateful to my teachers for their constant support and guidance. At the end I would like to express my sincere thanks to all my friends and others who helped me directly or indirectly during this project work. Student Name - Eklavya Sharma Enrollment no. - 12EBKEE031 Student Name – Rakesh Sharma Enrollment no. - 12EBKEE083 Date: 09th May 2016
  • 5.
    v TABLE OF CONTENTS S.NOTopic PAGE NO. Declaration By Candidate ii Certificate By Project Guide iii Acknowledgement iv Abstract vi 1. Introduction 1 List Of Components Required 2 1.1 The Arduino Platform 2 1.1.1 Schematic Diagram 4 1.1.2 Power Supply 4 1.1.3 Memory 5 1.1.4 Input And Output 5 1.1.5 Communication 6 1.2 Arduino IDE 7 1.3 Bluetooth Module Hc-06 8 1.4 Dc Relays 10 1.5 Relay Driver Uln2003 Ic/ L293d 12 1.6 Ultrasonic Sensor (Hc – Sr04) 14 1.7 Power Supply For Arduino And Relay Driver 16 2. Connections With Arduino 2.1 Connecting Bluetooth Module Hc-06 20 2.2 Connecting Ultrasonic Sensor. 21 3. Smart Home Automation Flow Chart 23 3.1 Smart Home Automation Block Diagram 23 3.2 Programming Implementation Block Diagram 23 4. Android Application Development 24 4.1 MIT App Inventor 24 4.2 Application Development Block Code For Smart Home Automation 25 5. Program Code 30
  • 6.
    vi 6.1 Arduino ProgramCode For Smart Home Automation 30 6.2 Arduino Program Code For Tank Level Measurement And Control 33 6. Conclusion 36 7. Future Work 37 8. Applications Of Smart Home Automation 38 9. References 39
  • 7.
    vii ABSTRACT Smart home automationrefers to the use of computer and information technology to control home Appliances and features (such as windows or lighting) through home networking to enhance power efficiency and improve the quality of living. Nowadays home automation is becoming more and more popular due its abundant advantages. Home automation systems can range from simple remote control of lighting through to complex computer/micro-controller based networks with varying degrees of intelligence and automation. Smart home automation is adopted for reasons of ease, security and energy efficiency. Here, our aim is to design a kit that can be used for controlling AC Loads from Android phone via Bluetooth Module HC-06 by using Arduino as microcontroller. I have also used the ultrasonic sensor HC-SR04 for the tank level measurement which measures the water level of the water tank in real time and sends the data to the Arduino phone accessed via the Mobile Application via the Bluetooth module using thee serial communication. Here I’m using Arduino Uno r3 which is a microcontroller board based on the ATmega328. The android mobile application is developed using the MIT App-Inventor 2 tool. This project is beneficial in energy saving and security as well as for those who are physically challenged as this application can take input as the voice command of the user. The given system is cost effective, provides an ease of control and management and can be easily installed for homes or commercial buildings.
  • 8.
    viii TABLE OF FIGURE S.NO.FIGURE PAGE NO. Fig. 1.1. Arduino Prototyping Board (Arduino Uno) 3 Fig. 1.2. Arduino Prototyping Board Pin Diagram Fig. 1.3. Arduino Integrated Development Environment 8 Fig. 1.4. Arduino Integrated Development Environment 9 Fig. 1.5. DC 6/12 V Relays 10 Fig. 1.6. Relay Driving Circuit 11 Fig. 1.7. ULN2003 IC 12 Fig. 1.8. L293D Relay Driver IC 13 Fig. 1.9. Ultrasonic Sensor 14 Fig. 1.10. Full Wave Bridge Rectifier 15 Fig. 1.11. Full Wave Bridge rectifier 16 Fig. 1.12. Pin configuration of LM78XX series 17 Fig. 1.13. LM7805 Connections 18 Fig. 2.1. Arduino Uno and HC-06 (Bluetooth Module) Connections 26 Fig. 2.2. Arduino Uno and HC-SR04 (Ultrasonic) Connections 27 Fig. 4.1. MIT App Inventor 30 Fig. 4.2. Smart Home Mobile Application 31 Fig. 4.3. Block Code of Smart Home Application 32 Fig. 4.4. Tank Level Measurement Application 33 Fig. 4.5. Block Code For Tank Level Measurement 33
  • 9.
    1 INTRODUCTION Our smart homeautomation kit provides smartphone application based solutions for control & energy optimization in industry, commercial buildings & homes. The kit requires a Arduino Uno R3 having ATMega328 microcontroller for processing, Bluetooth module HC-06 is required to transmit and receive data, relays are required to control the AC loads, ULN2003 IC is used to drive the relays, an Android smartphone with the Smart Home Automation application installed is required to control the AC loads fixed in the switch board and a power supply of 12 V is required to power up the relays and Arduino requires the power supply of 7 V. If the DPDT (Double Pole Double Throw) switches are used then the kit can be made to work manually as well as remotely. Furthermore, the system can be improved for the door control, the temperature detection, the light dimmer control etc. Similarly, the application can be improved for voice recognition. The Smart Home Automation can be improved for receiving and sending signal through ESP8266 Wi-Fi module and can be controlled through mobile or computer via web.
  • 10.
    2 OBJECTIVE ď‚· Aim isto design a kit that can be used for controlling AC Loads from Android phone using Arduino ď‚· To understand the concept of Smart Home Automation ď‚· To communicate with the microcontroller or sensors ď‚· To establish Serial communication between Arduino and Mobile ď‚· To design a User Interface for HMI i.e. Mobile Application ď‚· To design the hardware connections between Arduino, HC-06, Relay and AC-loads LIST OF COMPONENTS REQUIRED 1.1 THE ARDUINO PLATFORM The Arduino platform is an open source electronic prototyping system. It is composed of two parts, the Arduino Uno board and the Arduino IDE (Integrated Development Environment). The Uno board is designed to provide an easy to use human changeable pin interface to the Atmel AVR AT mega microcontroller, the heart of the Arduino hardware. The AVR microcontrollers from Atmel use the C language for programming and are commercially available and very popular with hobbyists and electronics enthusiasts. Arduino builds on this by adding simplicity to the hardware interface and an easy to use software package. The Arduino Uno is a microcontroller board based on the ATmega328. It has 14 digital input/output pins (of which 6 can be used as PWM outputs), 6 analog inputs, a 16 MHz crystal oscillator, a USB connection, a power jack, an ICSP header, and a reset button. It contains everything needed to support the microcontroller; simply connect it to a computer with a USB cable or power it with a AC-to-DC adapter or battery to get started. The Uno differs from all preceding boards in that it does not use the FTDI USB-to-serial driver chip. Instead, it features theAtmega16U2 (Atmega8U2 up to version R2) programmed as a USB-to-serial converter. Arduino is meant to be used as a physical computing platform. That is, to use the electronic hardware to interface with humans using sensors and actuators controlled by software executed by a computer. The groundwork of this paper focuses on the physical computing aspect of Arduino.
  • 11.
    3 Fig. 1.1. -Arduino Prototyping Board (Arduino Uno) Microcontroller ATmega328 Operating Voltage 5 volt Input Voltage (recommended) 7-12 volt Input Voltage (limits) 6-20 volt Digital I/O Pins 14 (of which 6 provide PWM output) Analog Input Pins 6 DC Current per I/O Pin 40 mA DC Current for 3.3V Pin 50 mA Table 1.1. - Arduino Specifications
  • 12.
    4 SCHEMATIC DIAGRAM Fig. 1.2.- Arduino Prototyping Board (Arduino Uno) POWER SUPPLY The Uno board can be powered via the USB connection or with an external power supply. The power source is selected automatically. External (non-USB) power can come either from an AC-to-DC adapter (wall-wart) or battery. The adapter can be connected by plugging a 2.1mm center-positive plug into the board's power jack. Leads from a battery can be inserted in the GND and Vin pin headers of the POWER connector.
  • 13.
    5 The board canoperate on an external supply from 6 to 20 volts. If supplied with less than 7V, however, the 5V pin may supply less than five volts and the board may become unstable. If using more than 12V, the voltage regulator may overheat and damage the board. The recommended range is 7 to 12 volts. The power pins are as follows: Vin- The input voltage to the Uno board when it's using an external power source (as opposed to 5 volts from the USB connection or other regulated power source). You can supply voltage through this pin, or, if supplying voltage via the power jack, access it through this pin. 5V.This pin outputs a regulated 5V from the regulator on the board. The board can be supplied with power either from the DC power jack (7 - 12V), the USB connector (5V), or the VIN pin of the board (7-12V). Supplying voltage via the 5V or 3.3V pins bypasses the regulator, and can damage your board. We don't advise it. 3V3. A 3.3 volt supply generated by the on-board regulator. Maximum current draw is 50 mA. GND. Ground pins. IOREF. This pin on the Uno board provides the voltage reference with which the microcontroller operates. A properly configured shield can read the IOREF pin voltage and select the appropriate power source or enable voltage translators on the outputs to work with the 5V or 3.3V. MEMORY The ATmega328 has 32 KB (with 0.5 KB occupied by the bootloader). It also has 2 KB of SRAM and 1 KB of EEPROM (which can be read and written with the EEPROM library). INPUT AND OUTPUT See the mapping between Arduino pins and ATmega328P ports. The mapping for the Atmega8, 168, and 328 is identical. Each of the 14 digital pins on the Uno can be used as an input or output, using pinMode(), digitalWrite(), and digitalRead() functions. They operate at 5 volts. Each pin can provide or receive 20 mA as recommended operating condition and has an internal pull-up resistor (disconnected by default) of 20-50k ohm. A maximum of 40mA is the value that must not be exceeded on any I/O pin to avoid permanent damage to the microcontroller.
  • 14.
    6 In addition, somepins have specialized functions: Serial: 0 (RX) and 1 (TX). Used to receive (RX) and transmit (TX) TTL serial data. These pins are connected to the corresponding pins of the ATmega8U2 USB-to-TTL Serial chip. External Interrupts: 2 and 3. These pins can be configured to trigger an interrupt on a low value, a rising or falling edge, or a change in value. See the attachInterrupt() function for details. PWM: 3, 5, 6, 9, 10, and 11. Provide 8-bit PWM output with the analogWrite() function. SPI: 10 (SS), 11 (MOSI), 12 (MISO), 13 (SCK). These pins support SPI communication using the SPI library. LED: 13. There is a built-in LED driven by digital pin 13. When the pin is HIGH value, the LED is on, when the pin is LOW, it's off. TWI: A4 or SDA pin and A5 or SCL pin. Support TWI communication using the Wire library. The Uno has 6 analog inputs, labeled A0 through A5, each of which provide 10 bits of resolution (i.e. 1024 different values). By default they measure from ground to 5 volts, though is it possible to change the upper end of their range using the AREF pin and the analogReference() function. There are a couple of other pins on the board: AREF. Reference voltage for the analog inputs. Used with analogReference(). Reset. Bring this line LOW to reset the microcontroller. Typically used to add a reset button to shields which block the one on the board. COMMUNICATION The Uno has a number of facilities for communicating with a computer, another Uno board, or other microcontrollers. The ATmega328 provides UART TTL (5V) serial communication, which is available on digital pins 0 (RX) and 1 (TX). An ATmega16U2 on the board channels this serial communication over USB and appears as a virtual com port to software on the computer. The 16U2 firmware uses the standard USB COM drivers, and no external driver is needed. However, on Windows, a .inf file is required. The Arduino Software (IDE) includes a serial monitor which allows simple textual data to be sent to and from the board. The RX and TX LEDs on the board will flash when data is being transmitted via the USB-to-serial chip and USB connection to the computer (but not for serial communication on pins 0 and 1).
  • 15.
    7 A “SoftwareSerial” libraryallows serial communication on any of the Uno's digital pins. The ATmega328 also supports I2C (TWI) and SPI communication. The Arduino Software (IDE) includes a Wire library to simplify use of the I2C bus; see the documentation for details. For SPI communication, use the SPI library. 1.2 ARDUINO IDE The open-source Arduino Software (also known as the Arduino IDE - short for Integrated Development Environment) makes it easy to write code and upload it to the board. It runs on Windows, Mac OS X, and Linux. The environment is written in Java and based on Processing and other open-source software. This software can be used with any Arduino board. This software can be used with any Arduino board. The Arduino IDE is the software environment used to create the programs, called “sketches,” that will be executed by the Arduino hardware. The IDE uses a modified C language compiler to build, translate, and transmit the code to the microcontroller board. The AVR microcontrollers are typically programmed using the C language. Since C can be somewhat difficult to learn for the typical hobbyist, the IDE makes a combination of modified C and Arduino specific commands available to the user. The IDE provides the simplicity for less proficient users but supports advanced users who are knowledgeable in C. The IDE also has a set of additional code functions called libraries. Libraries extend the commands available to provide capabilities not available in the core Arduino language. In essence, a library allows the user to perform seemingly complex functions using a small set of commands. Installing Arduino IDE For Windows 8, 7, Vista, and XP  Go to the Arduino download page and download the latest version of the Arduino software for Windows.  When the download is finished, un-zip it and open up the Arduino folder to confirm that yes, there are indeed some files and sub-folders inside. The file structure is important so don’t be moving any files around unless you really know what you are doing.  Power up your Arduino by connecting your Arduino board to your computer with a USB cable (or FTDI connector if you are using an Arduino pro).
  • 16.
    8 Fig. 1.3. -Arduino Integrated Development Environment 1.3 BLUETOOTH MODULE HC-06 The Bluetooth module is used for communication between smart phone and the Arduino. The Bluetooth module HC-06 allows the serial and UART communication between your Arduino Uno or any microcontroller with a PC or a Smartphone equipped with a Bluetooth facility. Connecting the Bluetooth module HC-06 with Arduino Uno have numerous application like controlling home lights using Bluetooth module, driving a RC car, controlling robot using mobile application etc. The Arduino pins 0 and 1 are specified for Universal Asynchronous Receiver/Transmitter (UART) that control the interface with its attached serial devices.
  • 17.
    9 The HC-06 Bluetoothmodule contains four pins- PINS FUNCTIONS TXD Serial output of the module used for the transmission of data RXD Serial output of the module for receiving the data, VCC It is in the range of 3.3-6 V GND Ground. NOTE: The Arduino pins 0 and 1 are specified for Universal Asynchronous Receiver/Transmitter (UART) that control the interface with its attached serial devices. The module is powered from Arduino 3.3 volt supply. Fig. 1.4. - Arduino Integrated Development Environment
  • 18.
    10 Specification of BluetoothModule HC-06- Bluetooth number HC-06 Operating Voltage 3.3-6.0 volts Default baud rate 9600 bps Signal Coverage 30ft Default Password 1234 1.4 DC RELAYS A relay is an electrically operated switch. Many relays use an electromagnet to mechanically operate a switch, but other operating principles are also used, such as solid-state relays. Relays are used where it is necessary to control a circuit by a low-power signal (with complete electrical isolation between control and controlled circuits), or where several circuits must be controlled by one signal. The first relays were used in long distance telegraph circuits as amplifiers: they repeated the signal coming in from one circuit and re-transmitted it on another circuit. Relays were used extensively in telephone exchanges and early computers to perform logical operations. Fig. 1.5. – DC 6/12 V Relays
  • 19.
    11 A Relay isan electrically operated switch. Many relays use an electromagnet to mechanically operate the switch and provide electrical isolation between two circuits. In this project there is no real need to isolate one circuit from the other, but we will use an Arduino UNO to control the relay. Why to use relay for controlling AC light? AC is alternating current 220v (India) which powers the ac lights. Arduino cannot control high volt n amp, but a relay can do this job, which is the sole design of it. So we are using relay as switch to control high power devices. What is NO NC and COM in relay? COM (Common connection) - It is the center terminal, It is hot as power to the load is connected at this terminal. NO (Normally open) - It acts like a switch, since it is open - there will be no contact between COM and NO, When we trigger the relay module, it connects to COM by the electromagnet inside the relay and supply to the load is provided, which powers up the light. Thus the circuit is closed until we trigger the state to low in relay. NC (Normally closed) - It is always in contact with COM, even when relay is not powered. When we trigger the relay it opens the circuit, so the connection is lost. It behaves just opposite to NO. Fig. 1.6. – Relay Driving Circuit
  • 20.
    12 To control therelays and thereby the lights we need to make a driver circuit which is needed for the driving purpose as well as for the isolation of the AC power with the Arduino (Dc power). For the driving purpose the LM293d can also be used. 1.5 RELAY DRIVER ULN2003 IC/ L293D The relay driver ULN2003 ic is a high voltage and current darlington array ic, it comprises of 7-open collector darlington pairs with common emitters. A pair of darlington is an arrangement of two bipolar transistors. This IC belongs to the family of ULN200x ICs and various types of this family interface to various logic families. This ULN2003 IC is for 5V TTL and CMOS logic devices. Fig. 1.7. – ULN2003 IC These ICs are used as relay drivers as well as to drive a wide range of loads, line drivers, display drivers etc. This IC is also normally used while driving Stepper Motors. The pairs of darlington
  • 21.
    13 in ULN2003 isesteemed at 500mA and can withstand peak current of 600mA.In the pin layout, the i/ps & o/ps are provided reverse to each other. Each driver also has a suppression diode to dissipate voltage spikes while driving inductive loads. The ULN2003 has a 2.7kΩ series base resistor for each Darlington pair for operation directly with TTL or 5V CMOS devices. The ULN2003 is known for its high-current, high-voltage capacity. The drivers can be paralleled for even higher current output. Even further, stacking one chip on top of another, both electrically and physically, has been done. Generally it can also be used for interfacing with a stepper motor, where the motor requires high ratings which cannot be provided by other interfacing devices. Features:  500mA rated collector current(Single output)  High-voltage outputs: 50V  Inputs compatible with various types of logic.  Relay driver application  Inputs pinned opposite outputs to simplify layout  Seven Darlington’s per package A Darlington transistor (also known as Darlington pair) achieves very high current amplification by connecting two bipolar transistors in direct DC coupling so the current amplified by the first transistor is amplified further by the second one. The resultant current gain is the product of those of the two component transistors: The seven Darlington pairs in ULN2003 can operate independently except the common cathode diodes that connect to their respective collectors. L293D IC: The L293D is quadruple high-current half-H driver. The L293D is designed to provide bidirectional drive currents of up to 600 milliampere at voltages from 4.5 Volts to 36 Volts. L293D IC’s are designed to drive a wide array of inductive loads such as relays, solenoids, DC and bipolar stepping motors, as well as other high-current and high-voltage loads [6]. Here, it
  • 22.
    14 is used todrive two DC geared motors which are functioning as the rear wheels of the RoboDroid. The features and specification can be found in the datasheet. Fig. 1.8. – L293D Relay Driver IC 1.6 ULTRASONIC SENSOR (HC – SR04) Ultrasonic ranging module HC - SR04 provides 2cm - 400cm non-contact measurement function, the ranging accuracy can reach to 3mm. The modules include ultrasonic transmitters, receiver and control circuit. The HC-SR04 ultrasonic sensor uses sonar to determine distance to an object like bats do. It offers excellent non-contact range detection with high accuracy and stable readings in an easy- to-use package. From 2cm to 400 cm or 1” to 13 feet. It operation is not affected by sunlight
  • 23.
    15 or black materiallike Sharp rangefinders are (although acoustically soft materials like cloth can be difficult to detect). It comes complete with ultrasonic transmitter and receiver module. This sensor is really cool and popular among the Arduino Tinkerers. So I’ve decided to post a project example using this sensor. In this project the ultrasonic sensor read and write the distance in the serial monitor. It’s really simple. The basic principle of work: (1) Using IO trigger for at least 10us high level signal, (2) The Module automatically sends eight 40 kHz and detect whether there is a pulse signal back. (3) IF the signal back, through high level, time of high output IO duration is the time from sending ultrasonic to returning. Test distance = (high level time×velocity of sound (340M/S) / 2. Fig. 1.9. – Ultrasonic Sensor
  • 24.
    16 1.7 POWER SUPPLYFOR ARDUINO AND RELAY DRIVER IC To make a power supply that can give you 12 V and current of 1 A. The easy steps to design a power supply that can give you the DC output voltage you want with input as 230 V AC. I’m using the power supply to power up my Arduino board and the relay. The input voltage of an Arduino can vary from 7 -12 Volts. For the 12 V power supply design I’ve used a simple full wave bridge rectifier circuit. A Full Wave Bridge Rectifier is a circuit, which converts an ac voltage into a pulsating dc voltage using both half cycles of the applied ac voltage. The full wave bridge rectifier circuit is very reliable, cheaper and the resulting output is much easier to smooth. The designing of the circuit would cost you less than ₹150(less than $5). The input voltage of an Arduino can vary from 7 -12 Volts. For the 12 V power supply design I have used a simple full wave bridge rectifier circuit. A Full Wave Bridge Rectifier is a circuit, which converts an ac voltage into a pulsating dc voltage using both half cycles of the applied ac voltage. The full wave bridge rectifier circuit is very reliable, cheaper and the resulting output is much easier to smooth. The designing of the circuit would cost you less than ₹150(less than $5). Fig. 1.10. - Full Wave Bridge Rectifier
  • 25.
    17 1. Step DownTransformer – A single phase 230:18 V step down transformer is required for 12v dc power supply. Likewise, to design a 5 V power supply you may use the 230:10. There are three wire in the transformer and 9-0-9 (considering the 18 v) is written on it. So, you are needed to connect the outermost wires of the transformer (which are of same colors). 2. Diode – Four Diodes are used in the circuit for rectification and a single diode is used as freewheeling diode. All diodes are 1N4007. 3. Voltage Regulator IC– LM 7812 a voltage regulator IC is used in the 12V DC Power supply. Similarly, for 5 volt power supply just replace the LM 7812 with LM 7805. 4. Capacitances– capacitances are used for reducing ripples in DC power supply as per specifications. A 1000 µF and a 10 µF capacitances. All these items are easily available at electronics shop. 5. Copper wires– For AC mains they should have the current capacity of more than 1 A. 6. Jumper wires– For connection purposes. 7. Soldering iron 8. Soldering wire 9. General Purpose PCB 10. Two pin plug Optional components 1. Adapter Jack- The adapter jack is used to connect the power supply with the Arduino board. 2. Heat sink (optional) – For the high current outputs from the power supply and for proper heat dissipation from the voltage regulator. The heat sink may be connected to the Voltage regulator IC. 3. LED- You can also connect the led with a limiting resistor for the indication of power supply. 4. Limiting resistor- Limiting resistors are used to limit the current flow through the LED. A LM7805 Voltage Regulator is a voltage regulator that outputs +5 volts and the current up to 750mA. The output of LM7812 is given to the LM7805. The LM7805 is sufficient to drive the three servo motors.
  • 26.
    18 Fig. 1.11. -Full Wave Bridge rectifier An easy way to remember the voltage output by a LM78XX series of voltage regulators is the last two digits of the number. A LM7805 ends with 05, thus it outputs 5 volts. The 78 part is just the convention that the chip makers use to denote the series of regulators that output voltage is positive. The other series of regulators, the LM79XX, is the series that output voltage is negative. After you have all the above required items, plan the layout of the power supply and carefully solder all the components. The resulting system will be a 12 volt power supply with 700mA and check the output of the power supply with a multimeter. Fig. 1.12. - Pin configuration of LM78XX series
  • 27.
    19 The LM7805, likemost other regulators, is a three-pin IC. Pin 1(input pin): The input pin is the pin that accepts the incoming DC voltage, which the voltage regulator will eventually regulate down to 5volts. Pin 2(ground): Ground pin establishes the ground for the regulator. Pin3 (output Pin): The output pin is the regulated 5 volts DC. Fig. 1.13. - LM7805 Connections
  • 28.
    20 CONNECTIONS WITH ARDUINO Inthis section the connection of different components with the Arduino. The programming in the Arduino will be according to the hardware connections with the Arduino. The Arduino is needed to be connected with the Bluetooth module HC-06 and the ULN2003. The ULN2003 is connected with the relays. The relays controls the AC loads as per the instruction given by the users through the Smartphone. The smartphone send instructions to the Arduino Uno which gives the input to the ULN2003 (Darlington pair) which switch on or switch off the relay. 2.1 CONNECTING BLUETOOTH MODULE HC-06 The Bluetooth module HC-06 allows the serial and UART communication between your Arduino Uno or any microcontroller with a PC or a Smartphone equipped with a Bluetooth facility. Connecting the Bluetooth module HC-06 with Arduino Uno have numerous application like controlling home lights using Bluetooth module, driving a RC car, controlling robot using mobile application etc. The Arduino pins 0 and 1 are specified for Universal Asynchronous Receiver/Transmitter (UART) that control the interface with its attached serial devices. BLUETOOTH MODULE HC-06 ARDUINO UNO R3 TX RX (pin 0) RX TX (pin 1) VCC 3.3 volt supply from Arduino GND Arduino ground Table 1.2. – Bluetooth Module And Arduino Connections For the communication between the Arduino and the PC connected with a USB cable with serial connection you’ll need a library called “SoftwareSerial.h“. This library allows you to setup serial communication on (almost any) digital pin of the Arduino Uno.
  • 29.
    21 Fig. 2.1. –Arduino Uno and HC-06 (Bluetooth Module) Connections 2.2 CONNECTING ULTRASONIC SENSOR. The ultrasonic sensor is useful in tank level measurement the ultrasonic will measure the level of the tank. A single I/O pin is used to trigger an ultrasonic burst and then "listen" for the echo return pulse. Using this method, it measures the level of the water in the tank. This data of water level is sent to the Android mobile phone using the Bluetooth Module HC-06 which reads the data and can switch off the motor automatically at the time the water tank is full and when the water tank is empty it will automatically starts the motor or the user The HC-SR04 barely works to 10 feet giving a total path length of 20 feet and a path time of about 20ms so set the timeout to something above that, say 25 or 30ms. If you put a resistor, say 2k2 between E and T then only connect to T you can use the HC-SR04 from just one Arduino pin. Look up single pin operation of ultrasonic sensors. Also if you are using a HC- SR04 with a PicAxe you need to up the clockspeed to at least 8MHz otherwise they don’t see the start of the echo pulse so pulsin never starts.
  • 30.
    22 ULTRASONIC SENSOR (HC-SR04)ARDUINO UNO R3 TRIG Pin 6 ECHO Pin 7 VCC 5 Volts GND Ground Table 1.3. – Ultrasonic Sensor and Arduino Connections Fig. 2.2. – Arduino Uno and HC-SR04 (Ultrasonic Sensor) Connections
  • 31.
    23 SMART HOME AUTOMATIONFLOW CHART 3.1 SMART HOME AUTOMATION BLOCK DIAGRAM 3.2 PROGRAMMING IMPLEMENTATION BLOCK DIAGRAM Human Input Mobile Application Bluetooth Serial Communication Arduino Processing Relay Action AC Load Action Initialize Sensors Libraries Initialize Bluetooth Communication Initialize All Variables Assign Hardware Pins Check Serial Communication Read Serial Data (Serial.read) Input To Relays Via IC ULN2003 Read Sensor Values Send Serial Data To Mobile (Serial.write) Automatic/ Manual (Users Choice)
  • 32.
    24 ANDROID APPLICATION DEVELOPMENT 4.1MIT APP INVENTOR MIT App Inventor is an open-source web application that allows the users to make software applications for Android operating system. Even with limited programming experience one can easily create an Android Application. App Inventor for Android is a visual language that relies on simple programming blocks that users can drag and drop to create software applications. It was made by Google and it is maintained by the Massachusetts Institute of Technology (MIT). And MIT App Inventor 2 is the latest version of App Inventor. It allows newcomers to computer programming to create software applications for the Android operating system (OS). It uses a graphical interface, very similar to Scratch and the StarLogo TNG user interface, which allows users to drag-and-drop visual objects to create an application that can run on Android devices. In creating App Inventor, Google drew upon significant prior research in educational computing, as well as work done within Google on online development environments. App Inventor and the projects on which it is based are informed by constructionist learning theories, which emphasizes that programming can be a vehicle for engaging powerful ideas through active learning. As such, it is part of an ongoing movement in computers and education that began with the work of Seymour Papert and the MIT Logo Group in the 1960s and has also manifested itself with Mitchel Resnick's work on Lego Mindstorms and StarLogo. App Inventor makes Android app development highly visual, and highly intuitive. It is an easy and fun way for the uninitiated to learn about computer programming, and is at the same time a productive tool for advanced programmers alike. It is worth mentioning that despite being in its infancy – that is to say beta phase – this platform still offers a robust set of programming tools for all levels of programming ability and is ideal for use in education. Indeed, a major angle being promoted by MIT/Google is its instrumentality in teaching and for introducing anyone to programming, particularly young people, in say a high school setting. Although, it has a much broader target audience than that. That is, adult non-programmers who wish to teach themselves, and professional programmers.
  • 33.
    25 MIT app inventordoesn’t support Internet Explorer browser. To use MIT App Inventor 2 for Android, to develop mobile application you must use a compatible browser. Currently the supported browsers are: • Google Chrome 29+ • Safari 5+ • Firefox 23+ Fig. 4.1. – MIT App Inventor 4.2 APPLICATION DEVELOPMENT BLOCK CODE FOR SMART HOME AUTOMATION The application development for the smart home automation is done using thee MIT app inventor tool. The user interface for the Android mobile application is made visually attractive and intuitively designed. Four buttons to control for four light bulbs, a button for enabling the Bluetooth and a list picker for connecting the Bluetooth Module is provided.
  • 34.
    26 The commands forcontrolling the light can be given through voice a voice command mode button is also provide for the voice control of the lights. Fig. 4.2. – Smart Home Mobile Application The application can be run on all android mobile phones. It provides fine, better, accurate and fast control for the home ac lights. To use the application first of all the user, have to press the Bluetooth button which will automatically switch on the Bluetooth on if it was not enabled. After enabling the Bluetooth, the user has to pick the Bluetooth Module HC-06 and enter the password. The default password for the Bluetooth module is 1234. The user can also change the password of the Bluetooth Module HC-06 using the AT commands. After the connection between the
  • 35.
    27 mobile and BluetoothModule has been established the user can easily control the lights by pressing the buttons which are being provided near each label of the light name. The block code image for the application development is shown in the figure given below: Fig. 4.3. – Block Code of Smart Home Application
  • 36.
    28 The mobile applicationfor tank level measurement is shown in the figure: Fig. 4.4. – Tank Level Measurement Application Smart home application would give you the real time data of the water tank installed right into your phone. So any time you can turn off or turn on the motor through your phone or otherwise it will do it for you for a given minimum and maximum water limit. For an industry where more than one tankers are installed you’ll get the real-time data of the filled capacity of the different tanks and you can control them individually. The real time tank level can be measured and seen in the mobile application. And accordingly the motor connected with the water tank be controlled either automatically or manually. For manual mode a button is provided to switch on or switch off the motor. For automatic mode, whenever the tank level reaches to its 100% water level the motor will get turned off and when
  • 37.
    29 the tank levelreaches 0% the motor will get automatically switched on by the Arduino using a relay and relay driver IC. The Block code for the tank level measurement is shown below: Fig. 4.3. – Block Code of Tank Level Measurement
  • 38.
    30 PROGRAM CODE The open-sourceArduino Software (also known as the Arduino IDE - short for Integrated Development Environment) is used to write the program code as it makes it easy to write the code and upload it to the Arduino board. It runs on Windows, Mac OS X, and Linux. The environment is written in Java and based on Processing and other open-source software. This software can be used with any Arduino board. The Arduino IDE is the software environment used to create the programs, called “sketches,” that will be executed by the Arduino hardware. The program code for the project “Smart Home Automation” is also written in the Arduino IDE. Serial Communication: To begin the serial communication, the statement “Serial.begin(speed)” is used that communicate over the pins 0 and 1 of the Arduino board. It opens the serial port and sets the data rate in bits per second (baud) for serial data transmission. Now to get the number of bytes (characters) available for reading from the serial port “Serial.available( )”is used. The incoming serial data sent from the mobile application is read using the function “Serial.read( )”. 6.1 ARDUINO PROGRAM CODE FOR SMART HOME AUTOMATION /////// Relay pins are defined which are connected with the output pins of ULN2003 /////// const int relay1 = 13; // Pin 13 of Arduino is connected to the first input pin of ULN2003 const int relay2 = 14; // Pin 14 of Arduino is connected to the second input pin of ULN2003 const int relay3 = 15; // Pin 15 of Arduino is connected to the third input pin of ULN2003 const int relay4 = 16; // Pin 16 of Arduino is connected to the fourth input pin of ULN2003
  • 39.
    31 int val; int count1; intcount2; int count3; int count4; // the setup routine runs once when you press reset: void setup() { // initialize the digital pin as an output. pinMode(relay1, OUTPUT); pinMode(relay2, OUTPUT); pinMode(relay3, OUTPUT); pinMode(relay4, OUTPUT); Serial.begin(9600); } // the loop routine runs over and over again forever void loop() { if (Serial) { if (Serial.available() > 0) { val = Serial.read();
  • 40.
    32 Serial.println(val, DEC); relaycontrol(val); } } } void relaycontrol(intval) { switch (val) { case 101 : digitalWrite(relay1, HIGH); delay(1000); Serial.println("Relay 1 On"); break; case 102 : digitalWrite(relay1, LOW); delay(1000); Serial.println("Relay 1 Off"); break; case 103 : digitalWrite(relay2, HIGH); delay(1000); Serial.println("Relay 2 On "); break; case 104 : digitalWrite(relay2, LOW); delay(1000); Serial.println("Relay 2 Off"); break; case 105 : digitalWrite(relay3, HIGH);
  • 41.
    33 delay(1000); Serial.println("Relay 3 On"); break; case106 : digitalWrite(relay3, LOW); delay(1000); Serial.println("Relay 3 Off"); break; case 107 : digitalWrite(relay4, HIGH); delay(1000); Serial.println("Relay 4 On"); break; case 108 : digitalWrite(relay4, LOW); delay(1000); Serial.println("Relay 4 Off"); break; } } 6.2 ARDUINO PROGRAM CODE FOR TANK LEVEL MEASUREMENT AND CONTROL #define trigPin 9 #define echoPin 8 const int relay1 = 13; void setup() { Serial.begin (9600);
  • 42.
    34 pinMode(trigPin, OUTPUT); pinMode(echoPin, INPUT); pinMode(relay1,OUTPUT); } void loop() { int val; long duration, distance, fdistance; digitalWrite(trigPin, LOW); digitalWrite(trigPin, HIGH); digitalWrite(trigPin, LOW); duration = pulseIn(echoPin, HIGH); distance = ((duration / 2) / 29.1); if (distance > 0 && distance < 200) { fdistance = ((200 - distance) / 200) * 100; Serial.print(fdistance, DEC); if (fdistance == 99) { digitalWrite(relay1, LOW); } if (fdistance == 1) { digitalWrite(relay1, HIGH);
  • 43.
    35 } } if (Serial.available() >0) { val = Serial.read(); relaycontrol(val); } } void relaycontrol(int val) { switch (val) { case 101 : digitalWrite(relay1, HIGH); delay(1000); break; case 102 : digitalWrite(relay1, LOW); delay(1000); break; } delay(1000); }
  • 44.
    36 CONCLUSION We have successfullydesigned a kit that controls the AC Loads from Android phone via Bluetooth Module HC-06 by using Arduino as microcontroller. And designed a tank level measurement system using the ultrasonic sensor HC-SR04 which measures the water level of the water tank in real time and sends the data to the Arduino phone accessed via the Mobile Application via the Bluetooth module using thee serial communication. We have also added the voice command mode for the smart home application to control the AC loads and the tank level measurement can be either automatic or can be controlled manually. The system is cheap and designed for the commercial use. The minimum cost for designing the smart home automation system and the water level measurement system is Rs 1000.
  • 45.
    37 FUTURE WORK Observing thepresent situation, we can build cross platform system that can be set up on various platforms like iOS, Windows. Restriction only several devices can be removed by extending automation of all other home appliances. To observe activity around a house or business Security cameras can be controlled by the user. Security systems can include motion sensors that will detect unauthorized movement and notify the user. Scope of this project can be expanded to many areas by not restricting to only home. It will be flexible to support various wired as well as wireless technologies like Bluetooth, ZigBee, Wi Wide Web. Furthermore, the system can be improved for the door control, the temperature detection, the light dimmer control etc. Similarly, the application can be improved for voice recognition. The Smart Home Automation can be improved for receiving and sending signal through ESP8266 Wi-Fi module and can be controlled through mobile or computer via web.
  • 46.
    38 APPLICATIONS OF SMARTHOME AUTOMATION 1. Enhances energy saving, quality of living and security 2. Provides ease of control, management and energy optimization in industry, commercial buildings & homes. 3. Beneficial for physically challenged 4. Cost effective and easy to installed in homes 5. Saving the water overflow problem thereby saving the water 6. Medical alert / Tele assistance. 7. Detection of fire, gas leaks and water leaks. 8. Smoke detector can detect a fire or smoke condition, causing all lights in the house to blink to alert any person of the house to the possible emergency. 9. The system can call the home owner on their mobile phone to alert them, or call the fire department or alarm monitoring company. 10. In terms of lighting control, it is possible to save energy when hours of wasted energy in both residential and commercial applications by auto on/off light at night time in all major city office buildings, say after 10pm.
  • 47.
    39 REFERENCES Books 1. McRoberts, Michael.Beginning Arduino. New York: Apress, 2010. Print. 2. Banzi, Massimo. Getting Started with Arduino. Sebastopol, CA: O'Reilly, 2009. 3. Margolis, Michael. Arduino Cookbook. Sebastopol, CA: O'Reilly, 2011. 4. Analog Devices Inc. "ADXL322 Datasheet." Small and Thin +- 2g Accelerometer. 5. Norwood: Analog Devices, 2007. Website Site Links 1. http://www.codevista.net/182/how-to-connect-bluetooth-module-hc-06-with-arduino-uno 2. http://www.codevista.net/85/how-to-control-lights-through-mobile-app-using-bluetooth- module-hc-06-and-arduino 3. http://www.codevista.net/269/introduction-to-the-arduino-platform-and-why-you-need- one 4. http://www.instructables.com/id/Controlling-AC-light-using-Arduino-with-relay- modu/?ALLSTEPS 5. http://googleblog.blogspot.in/2011/05/android-momentu m-mobile-and-more-at.html 6. http://developer.android.com/about/index.html 7. http://research.microsoft.com/en-us/projects/homeos 8. http://source.android.com/tech/accessories/index.html 9. http://developer.android.com/guide/topics/connectivity/us b/accessory.html#manifest. 10. http://source.android.com/tech/accessories/aoap/aoa.html 11. http://arduino.cc/en/Main/ArduinoBoardADK 12. http://source.android.com/tech/accessories/aoap/aoa2.htm Reference Papers 1. “Smart Home for Elderly Care based on wireless sensor networks”, Ransing, Rasika S, Nascent Technologies in Engineering Field (ICNTE), IEEE 2015. 2. “Smart Home Automation using wi-fi low power devices”, Folea S, Bordencea D, Hotea C, Valean H, Automation Quality and Testing Robotics(AQTR), IEEE 2012 3. “Universal Mobile Application Development (UMAD) on Home Automation”, Amul Jadhav, S. Anand, Nilesh Dhangare, K.S. Wagh, India Network and Complex Systems ISSN 2224-610X (Paper) ISSN 2225-0603 (Online) Vol 2, No. 2, 2012.
  • 48.
    40 4. “Ad-Hoc LowPowered 802.15.1 Protocol Based Automation System for Residence using Mobile Devices”, Pradeep G., B. Santhi Chandra, M. Venkateswarao, Department of ECE, K.L. University, Vijaywada, Andhra Pradesh, India IJCST Vol 2, SP 1, 2011 5. “Bluetooth Based Home Automation System using Cell Phone”, R Piyare, M. Tazil, IEEE 15th International Symposium on Consumer Electronics, 2011. 6. “Zigbee Based Home Automation”, Rana, Jitendra, Rajendra and Sunil N., April 2010. 7. “Safe and Secure PIC Based Remote Control Application for Intelligent Home”, E. Yavuz, B. Hasan, I. Serkan and K. Duygu, International Journal of Computer Science and Network Security, Vol 7. No. 5, May 2007. 8. “Towards Smart Home: Control Electrical Devices Online”, Muhammad Izhar Ramli, Mohd. Wahab, Nabihah, Nornabihah Ahmad, International Conference on Science and Technology: Application in Industry and Education, 2006. 9. “Java-Based Home Automation”, Al-Ali, Member IEEE & M. Al-Rousan, IEEE Transaction on Consumer Electronics, Vol 50. No. 2, May 2004. [10] “Bluetooth Based Home Automation System”, N. Sriskanthan and Tan Karand,Journal of Microprocessors and Microsystems, Vol 26, 2002. 10. Hsien-Tang Lin" Implementing Smart Homes with Open Source Solutions" International Journal of Smart Home Vol. 7, No. 4, July, 2013. 11. Rosslin John Robles1 and Tai-hoon Kim1" Applications, Systems and Methods in Smart Home Technology: AReview" International Journal of Advanced Science and Technology Vol. 15, February, 2010. 12. Sook-Ling Chua and Stephen Marsland and HansW. Guesgen" Beha viour Recognition in Smart Homes Sook" Proceedings of the TwentySecond International Joint Conference on Artificial Intelligence 2011. 13. Gowthami, Dr. Adiline macriga "Smart Home Monitoring and Con trolling System Using Android Phone" International Journal of Emerging Technology and Advanced Engineering Website: www.ijetae.com ISSN 2250-2459, ISO 9001:2008 Certified Journal, Volume 3, Issue 11, November 2013. 14. Saisakul Chernbumroong, Anthony S. Atkins, and Hongnian Yu Perception of Smart Home Technologies to Assist Elderly People" 4th International conference on software, Knowledge information manage and applications (SKIMA 2010). 15. Christian Reinisch, Mario J. Kofler, Wolfgang Kastner"ThinkHome: A Smart Home as Digital Ecosystem" 4th IEEE International Conference on Digital Ecosystems and Technologies (IEEE DEST 2010).