1
Renal
Transplantation
Presented by
Dr. Md. Tasnimul Khair Shovon
MS- Student (Part- 3)
Department of Urology
Sir Salimullah Medical College and Mitford hospital
2
Introduction
 First successful live-related donor organ
transplantation (Kidney transplantation -
BSMMU) started in Bangladesh in 1982.
3
Renal Transplantation
Renal transplantation is the most preferred method
of renal replacement therapy for patients with end
stage renal disease. When the GFR is less than 15
ml/min patient become dialysis dependent for life.
So, a renal transplant should be offered to restore
the quality of life.
4
Indications of renal transplantation
1. Dialysis dependent ESRD from
 Diabetic nephropathy.
 Hypertensive nephropathy/ Hypertensive
nephrosclerosis.
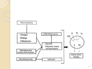
 Chronic Glomerulonephritis.
 Chronic pyelonephritis.
 Adult polycystic kidney disease. Etc.
2. Bilateral renal malignant tumors when nephron sparing
surgery is not possible.
3. trauma at the single kidney when preservation of kidney is
not possible
5
Contraindications of renal
transplantation
 Active infection: TB, CMV, EBV, VCZ, Hepatitis B
and C virus
 Active malignancy or recurrent malignant disease
 Sever obstructive and restrictive lung disease
 Severe pelvic vein thrombosis or atherosclerosis of
iliac vessels are contraindications of renal
transplantation
6
Types of donor (according to Act)
 Living donor
 Brain dead donor
7
Organ donation from Living Donors
 The Act prescribes that a living person who is
healthy and has the mental capacity can donate
his/her organs or body part to a close relative if
it is not likely to disrupt their ability to live a
normal life (Section 3:1)
 It also prescribes that the condition does not
apply to transplantation of the eye, skin, tissue,
and bone marrow (Section 6:1b).
8
Close relative (according to Act) (Section 2:4)
1. first-degree blood relatives - parents, adult sons and
daughters, adult brothers and sisters
2. second-degree blood relatives- uncles and aunts from
both the paternal and maternal sides
3. non-blood relatives- spouses
4. include certain other relatives such as grandparents,
grandchildren, and first cousins (include in list on
revision of act in 2018)
If the donor and recipient are not close relatives as set out
in the Act, donation is not legally allowed.
9
Brain death
 Brain death is defined in terms of permanent
functional death of the brain stem as neither
consciousness nor spontaneous respiration is
possible in the absence of a functional brain
stem.
10
Declaration of brain Death
 The Act authorizes a brain death committee to
declare brain death included three expert physicians
with the rank of Professor or Associate Professor in
1. Medicine or Critical Care Medicine
2. Neurology
3. Anesthesiology
None of the member of committee or their close
relative is connected with any transplantation team.
11
Clinical testing for brain-stem death
12
After declaration of brain death by
committee
 Brain death declaration committee will inform the
transplantation co-ordinator (above Associate
Professor – recruit by government)
 Transplantation co-ordinator will inform medical
board to take necessary action for transplatation.
13
Medical board formation
 Related subject professor ( expert in surgery) – 1
 Above Associate Professor in Anesthesiology – 1
 Director of the hospital or nominated person
(director rank) – 1
14
Medical board will do
1. Clarify the relationship between donor and
recipient.
2. Take decision for transplantation.
3. Take action for brain death donor organ
collection.
4. Give decision for priority of recipient.
15
Eligible as donor
 Brain death declare as for cadaveric donor -
Age - 2 year to 70 year
 As living donor : age – 18 year to 65 year
(This section will not applicable for eye, skin,
tissue and bone marrow transplantation)
16
Basic criteria for donor selection
 Absence of renal disease.
 Absence of active infection
 Absence of transmissible malignancy
17
Not eligible as donor
 Patient has written objection about organ donation
before death.
 Patient was HBsAg or Anti HCV or HIV positive.
 Medical board declare as not eligible.
 Presence of cancer except primary CNS or skin
cancer.
 Malignant hypertension, insulin dependent diabetes
mellitus, chronic kidney disease.
18
Eligible as recipient
 Age – 2 year to 70 year (15 year to 50 year of
age patient will get Priority as recipient)
 Medical board declare as eligible.
19
Questions addressed by
multidisciplinary evaluation of a
transplant candidate
20
ESRD Recurrence
 primary oxalosis,
 cystinosis,
 atypical hemolytic uremic
syndrome (aHUS),
 focal segmental
glomerulosclerosis,
 membranoproliferative
glomerulonephritis,
 membranous nephropathy,
 IgA nephropathy,
 systemic lupus erythematosis,
 anti-glomerular basement
membrane disease,
 antineutrophil cytoplasmic
antibody (ANCA)-associated
vasculitis,
 renal amyloidosis
21
Diseases that do not recur in a
kidney transplant
 Polycystic renal diseases,
 Renal dysplasia,
 Chronic pyelonephritis.
22
Suggested disease-free waiting
times before active listing after
treatment of genitourinary cancers
23
Questions to be answered by urinary
tract evaluation of a kidney
transplant candidate
24
Basic urinary tract evaluation
25
Indications for pretransplant
nephrectomies
26
Extra corporeal renal preservation
 Extra corporeal renal preservation is especially
important for deceased donor transplantation.
27
Perfusion fluids
 During organ preservation, hypothermia is induced to
reduce cellular metabolism. But despite hypothermia,
effect of tissue ischemia causes following changes
 Cell swelling
 Acidosis
 Altered enzyme activity
 Calcium accumulation
 Production of reactive oxygen species (ROS)
28
Clinically used solutions
 Eurocollins Solution
 University of Wisconsin Solution
 Histidine-Tryptophan-Ketoglutarate (HTK)
Solution
 Hyperosmolar Citrate Solution
29
University of Wisconsin Solution
 UW is considered the gold standard preservation
solution for kidney, liver, pancreas, and small bowel.
 Metabolically inert substrates such as lactobionate and
raffinose served as osmotic agents. HES
(hydroxyethylene starch) is used as a colloid.
 in UW, the compounds allopurinol and glutathione
(GSH) are included to prevent formation of ROS.
 Adenosine used as energy source.
30
Warm ischemia Time (WIT)
 It is defined as the time period starting from
clamping of the renal artery during donor
nephrectomy until beginning of perfusion by
cold storage solution in the bench.
 Renal damage during this period is reversible if
warm ischemia is < 30 minutes.
31
32
Cold Ishchemia Time (CIT)
 It is the time period between start of the perfusion
with cold storages solution to reperfusion by new
circulation in the recipient body.
 CIT for Kidneys:
 Static Cold storage preservation- up to 24 hours
 If placed on a perfusion pump - may go up to 72
hours following recovery
33
Organ recovery from brain death
donors
 After brain-stem death has been confirmed (in ICU)
 Donors are a usually given vasopressin,
methylprednisolone to aid fluid and metabolic
management, together with triiodothyronine (T3) to help
cardiovascular stability
 Donor shift to OT , incision was made, perfused with
chilled organ preservation solution via an aortic and
portal cannula.
34
 Blood and perfusate are vented from the left atrial
appendage and the inferior venacava, Additional surface
cooling of the abdominal organs may be achieved by
application of saline ice slush
 heart and lungs are excised simultaneously with the liver
and pancreas, followed by the kidneys, either en bloc or
separately.
35
 When removing the donor kidneys care is taken to
ensure that any polar renal arteries are included on an
aortic patch with the renal artery
36
 After removal from the donor, the organs may undergo a
further flush with chilled preservation solution before
they are placed in double or triple sterile bags and stored
at 4°C by immersion in ice, while they are transported to
the recipient centre and await implantation.
37
Technique of renal Implantation
 curved incision is made in the lower abdomen and, after
dividing the muscles of the abdominal wall, the
peritoneum is swept upwards and medially to expose the
iliac vessels, controlled with vascular clamps.
 kidney is then removed from ice and the donor renal
vein is anastomosed end to side to the external iliac vein.
38
 donor renal artery (patch of donor aorta) is
anastomosed end to side to the external
iliac artery.
 While the vascular anastomoses are being
undertaken, the kidney is kept cold by
application of topical ice.
39
 After completion of the venous and
arterial anastomoses, the vascular clamps
are removed and the kidney is allowed to
reperfuse with blood.
 Then direct implantation of the ureter into
the dome of the bladder with a mucosa-to-
mucosal anastomosis with double j stent
in situ.
40
Transplant kidney is placed in the iliac fossa, in
the retroperitoneal position, leaving the native
kidneys in situ.
41
Living donor kidney implantation
42
Post renal transplant complication
 Surgical complications.
 Medical complication.
 Immunological
 Graft rejection.
 Hyper acute rejection
 Acute rejection
 Chronic rejection
 Complications of imnunosuppression. 43
Surgical complication
 Vascular problems
 Haemorrhage
 Twisting or compression of the vessels
 thrombosis
 Haematoma
 Transplant renal artery stenosis
 Pseudoaneurysm
44
 Urological problem
 Urinary retention.
 Ureteral fistula.
 Ureteral stenosis.
 Post transplant lymphocele.
 Hydrocele /scrotal abscess.
 Oliguria/Aneuria.
 Wound problem.
 Wound infection
 Wound dehiscence.
 Incisional hernia
45
Medical complication
 Bacterial infection
 Viral infection
 Fungal infection
 Post transplant diabetis
 Post transplant cancers
46
Hyperacute rejection
 It may be defined as immediate rejection of the
transplanted kidney after revascularization due to
presence of preformed antibody in the recipient against
donor antigens (HLA and ABO blood group antigens).
47
Acute rejection of renal allograft
 Acute rejection is defined as sudden
deterioration in graft function associated with
specific immunopathological changes.
 It can occur any time but typically develops in
the first 2-6 wks of transplantation,
 <10% experience acute rejection after 1 year.
48
49
Chronic Rejection
 Chronic rejection may be defined as a
immunological process resulting in gradual and
progressive decline in renal allograft function.
 This can be detected as early as — 6 months of
KT
 Mechanism: Both cell mediated and humoral
immunity plays role in chronic rejection.
50
Differetiante between acute
rejection, chronic rejection,
ATN and CNI toxicity by renal
biopsy
51
Immunosuppression after kidney
transplantation
 Immunosuppressive agents can be used in one of
three ways:
 Induction or high-dose therapy to prevent a
primary immune response immediately after
transplantation
 Low-dose or maintenance therapy once
engraftment has stabilized or
 Additional high-dose therapy to treat acute
rejection should it arise
52
Drugs used in immunosuppression:
 A. Chemical immunosuppression using small molecules:
 1. Corticosteroids
 2. Anti-proliferative drugs:
 Azathioprime
 Mycophenolate mofetil
 Cyclophosphamide
 Leflunomide
 3. Anti-lymphocyte drugs:
 a. Calcinurm inhibitors
 • Cyclosporin
 • Tacrolimus
 b. mTOR inhibitors
 • Sirolimus
 • Everolimus
53
 B. Anti-lymphocyte antibody:
 1. Polyclonal antibody - Anti thymocyte globulin (ATG)
 2. Monoclonal antibody
 a. Lymphocyte depleting:
 • Alemtuzumals
 • Muromonab CD3
 • Rituximab (Anti CD-20)
 c. Lymphocytenon-depheting:
 Basiliximub
 Balatcept
54
Adverse effects of
immunosuppressive drugs
 Corticosteroids: Hypertension, Cushing syndrome, poor
wound healing, Hyperlipidemia, Hyperglycemia,
osteoporosis
 MMF: Nausea, vomiting, Bone marrow suppression.
 Cyclosporin: Nephrotoxicity, Hyperlipidemia, HTN,
Hirsuitism, Gingival hyperplasia, Hemolytic uraemic
syndrome
55
 Tacrolimus:Nephrotoxicity HTN,
Hyperlipidemia
 mTOR inhibitors: Hyperlipidemia, poor wound
healing, Bone marrow suppression,
Lymphocele.
 Polyclonal Ab (ATG):fever, chills, Arthralgia.
56
Punishment according to act
 If any one give wrong information about closed relative
will be punished – not more than 2 year Rigorous
imprisonment or not more than 5 lac penalty or both
 Other than this if the law is broken - not more than 3
year Rigorous imprisonment or not more than 10 lac
penalty or both
 If any doctor punish by this law, his or her registration
will be canceled from BMDC.
 Hospital is lost its permission to transplantation work.
57
58
ABO incompatible Kidney
transplantation
 Desensitization principle
 Anti A/B antibody depletion by
 a. Plasmapheresis
 b. immuno adsorption
 Imununomodulation by IV Ig
 Reduction of B lymphocyte pool by
splenectomy or Anti CD-20 drug (Rituximab) ,
59
Desensitization protocol,
 Commonly used protocol is as follows
 28 days before KT— A single dose of Rituximab 375
mg /m 2
 14 days days before before KT
 start immunosuppression by MMF, tacrolimus and
prednisolone
 Start antibody removal by Plasma exchange (PEX)
+ FFP of donor blood group, every alternate day
until Ab titre < 1:16
 IV IG Every alternate day
60
 Measure Ab titre In between two PEX Sessions,
 Administer Basiliximub 20 mg on the day of KT
and on day 4.
 Continue Monitoring of Ab titre upto 14 days post
operatively.
 Plasma exchange if Ab titre > 1:32
 After 2 weeks, accomodation occurs, so no further
desensitization is needed.
61
62

renal transplantation.pptx

  • 1.
  • 2.
    Renal Transplantation Presented by Dr. Md.Tasnimul Khair Shovon MS- Student (Part- 3) Department of Urology Sir Salimullah Medical College and Mitford hospital 2
  • 3.
    Introduction  First successfullive-related donor organ transplantation (Kidney transplantation - BSMMU) started in Bangladesh in 1982. 3
  • 4.
    Renal Transplantation Renal transplantationis the most preferred method of renal replacement therapy for patients with end stage renal disease. When the GFR is less than 15 ml/min patient become dialysis dependent for life. So, a renal transplant should be offered to restore the quality of life. 4
  • 5.
    Indications of renaltransplantation 1. Dialysis dependent ESRD from  Diabetic nephropathy.  Hypertensive nephropathy/ Hypertensive nephrosclerosis.  Chronic Glomerulonephritis.  Chronic pyelonephritis.  Adult polycystic kidney disease. Etc. 2. Bilateral renal malignant tumors when nephron sparing surgery is not possible. 3. trauma at the single kidney when preservation of kidney is not possible 5
  • 6.
    Contraindications of renal transplantation Active infection: TB, CMV, EBV, VCZ, Hepatitis B and C virus  Active malignancy or recurrent malignant disease  Sever obstructive and restrictive lung disease  Severe pelvic vein thrombosis or atherosclerosis of iliac vessels are contraindications of renal transplantation 6
  • 7.
    Types of donor(according to Act)  Living donor  Brain dead donor 7
  • 8.
    Organ donation fromLiving Donors  The Act prescribes that a living person who is healthy and has the mental capacity can donate his/her organs or body part to a close relative if it is not likely to disrupt their ability to live a normal life (Section 3:1)  It also prescribes that the condition does not apply to transplantation of the eye, skin, tissue, and bone marrow (Section 6:1b). 8
  • 9.
    Close relative (accordingto Act) (Section 2:4) 1. first-degree blood relatives - parents, adult sons and daughters, adult brothers and sisters 2. second-degree blood relatives- uncles and aunts from both the paternal and maternal sides 3. non-blood relatives- spouses 4. include certain other relatives such as grandparents, grandchildren, and first cousins (include in list on revision of act in 2018) If the donor and recipient are not close relatives as set out in the Act, donation is not legally allowed. 9
  • 10.
    Brain death  Braindeath is defined in terms of permanent functional death of the brain stem as neither consciousness nor spontaneous respiration is possible in the absence of a functional brain stem. 10
  • 11.
    Declaration of brainDeath  The Act authorizes a brain death committee to declare brain death included three expert physicians with the rank of Professor or Associate Professor in 1. Medicine or Critical Care Medicine 2. Neurology 3. Anesthesiology None of the member of committee or their close relative is connected with any transplantation team. 11
  • 12.
    Clinical testing forbrain-stem death 12
  • 13.
    After declaration ofbrain death by committee  Brain death declaration committee will inform the transplantation co-ordinator (above Associate Professor – recruit by government)  Transplantation co-ordinator will inform medical board to take necessary action for transplatation. 13
  • 14.
    Medical board formation Related subject professor ( expert in surgery) – 1  Above Associate Professor in Anesthesiology – 1  Director of the hospital or nominated person (director rank) – 1 14
  • 15.
    Medical board willdo 1. Clarify the relationship between donor and recipient. 2. Take decision for transplantation. 3. Take action for brain death donor organ collection. 4. Give decision for priority of recipient. 15
  • 16.
    Eligible as donor Brain death declare as for cadaveric donor - Age - 2 year to 70 year  As living donor : age – 18 year to 65 year (This section will not applicable for eye, skin, tissue and bone marrow transplantation) 16
  • 17.
    Basic criteria fordonor selection  Absence of renal disease.  Absence of active infection  Absence of transmissible malignancy 17
  • 18.
    Not eligible asdonor  Patient has written objection about organ donation before death.  Patient was HBsAg or Anti HCV or HIV positive.  Medical board declare as not eligible.  Presence of cancer except primary CNS or skin cancer.  Malignant hypertension, insulin dependent diabetes mellitus, chronic kidney disease. 18
  • 19.
    Eligible as recipient Age – 2 year to 70 year (15 year to 50 year of age patient will get Priority as recipient)  Medical board declare as eligible. 19
  • 20.
    Questions addressed by multidisciplinaryevaluation of a transplant candidate 20
  • 21.
    ESRD Recurrence  primaryoxalosis,  cystinosis,  atypical hemolytic uremic syndrome (aHUS),  focal segmental glomerulosclerosis,  membranoproliferative glomerulonephritis,  membranous nephropathy,  IgA nephropathy,  systemic lupus erythematosis,  anti-glomerular basement membrane disease,  antineutrophil cytoplasmic antibody (ANCA)-associated vasculitis,  renal amyloidosis 21
  • 22.
    Diseases that donot recur in a kidney transplant  Polycystic renal diseases,  Renal dysplasia,  Chronic pyelonephritis. 22
  • 23.
    Suggested disease-free waiting timesbefore active listing after treatment of genitourinary cancers 23
  • 24.
    Questions to beanswered by urinary tract evaluation of a kidney transplant candidate 24
  • 25.
    Basic urinary tractevaluation 25
  • 26.
  • 27.
    Extra corporeal renalpreservation  Extra corporeal renal preservation is especially important for deceased donor transplantation. 27
  • 28.
    Perfusion fluids  Duringorgan preservation, hypothermia is induced to reduce cellular metabolism. But despite hypothermia, effect of tissue ischemia causes following changes  Cell swelling  Acidosis  Altered enzyme activity  Calcium accumulation  Production of reactive oxygen species (ROS) 28
  • 29.
    Clinically used solutions Eurocollins Solution  University of Wisconsin Solution  Histidine-Tryptophan-Ketoglutarate (HTK) Solution  Hyperosmolar Citrate Solution 29
  • 30.
    University of WisconsinSolution  UW is considered the gold standard preservation solution for kidney, liver, pancreas, and small bowel.  Metabolically inert substrates such as lactobionate and raffinose served as osmotic agents. HES (hydroxyethylene starch) is used as a colloid.  in UW, the compounds allopurinol and glutathione (GSH) are included to prevent formation of ROS.  Adenosine used as energy source. 30
  • 31.
    Warm ischemia Time(WIT)  It is defined as the time period starting from clamping of the renal artery during donor nephrectomy until beginning of perfusion by cold storage solution in the bench.  Renal damage during this period is reversible if warm ischemia is < 30 minutes. 31
  • 32.
  • 33.
    Cold Ishchemia Time(CIT)  It is the time period between start of the perfusion with cold storages solution to reperfusion by new circulation in the recipient body.  CIT for Kidneys:  Static Cold storage preservation- up to 24 hours  If placed on a perfusion pump - may go up to 72 hours following recovery 33
  • 34.
    Organ recovery frombrain death donors  After brain-stem death has been confirmed (in ICU)  Donors are a usually given vasopressin, methylprednisolone to aid fluid and metabolic management, together with triiodothyronine (T3) to help cardiovascular stability  Donor shift to OT , incision was made, perfused with chilled organ preservation solution via an aortic and portal cannula. 34
  • 35.
     Blood andperfusate are vented from the left atrial appendage and the inferior venacava, Additional surface cooling of the abdominal organs may be achieved by application of saline ice slush  heart and lungs are excised simultaneously with the liver and pancreas, followed by the kidneys, either en bloc or separately. 35
  • 36.
     When removingthe donor kidneys care is taken to ensure that any polar renal arteries are included on an aortic patch with the renal artery 36
  • 37.
     After removalfrom the donor, the organs may undergo a further flush with chilled preservation solution before they are placed in double or triple sterile bags and stored at 4°C by immersion in ice, while they are transported to the recipient centre and await implantation. 37
  • 38.
    Technique of renalImplantation  curved incision is made in the lower abdomen and, after dividing the muscles of the abdominal wall, the peritoneum is swept upwards and medially to expose the iliac vessels, controlled with vascular clamps.  kidney is then removed from ice and the donor renal vein is anastomosed end to side to the external iliac vein. 38
  • 39.
     donor renalartery (patch of donor aorta) is anastomosed end to side to the external iliac artery.  While the vascular anastomoses are being undertaken, the kidney is kept cold by application of topical ice. 39
  • 40.
     After completionof the venous and arterial anastomoses, the vascular clamps are removed and the kidney is allowed to reperfuse with blood.  Then direct implantation of the ureter into the dome of the bladder with a mucosa-to- mucosal anastomosis with double j stent in situ. 40
  • 41.
    Transplant kidney isplaced in the iliac fossa, in the retroperitoneal position, leaving the native kidneys in situ. 41
  • 42.
    Living donor kidneyimplantation 42
  • 43.
    Post renal transplantcomplication  Surgical complications.  Medical complication.  Immunological  Graft rejection.  Hyper acute rejection  Acute rejection  Chronic rejection  Complications of imnunosuppression. 43
  • 44.
    Surgical complication  Vascularproblems  Haemorrhage  Twisting or compression of the vessels  thrombosis  Haematoma  Transplant renal artery stenosis  Pseudoaneurysm 44
  • 45.
     Urological problem Urinary retention.  Ureteral fistula.  Ureteral stenosis.  Post transplant lymphocele.  Hydrocele /scrotal abscess.  Oliguria/Aneuria.  Wound problem.  Wound infection  Wound dehiscence.  Incisional hernia 45
  • 46.
    Medical complication  Bacterialinfection  Viral infection  Fungal infection  Post transplant diabetis  Post transplant cancers 46
  • 47.
    Hyperacute rejection  Itmay be defined as immediate rejection of the transplanted kidney after revascularization due to presence of preformed antibody in the recipient against donor antigens (HLA and ABO blood group antigens). 47
  • 48.
    Acute rejection ofrenal allograft  Acute rejection is defined as sudden deterioration in graft function associated with specific immunopathological changes.  It can occur any time but typically develops in the first 2-6 wks of transplantation,  <10% experience acute rejection after 1 year. 48
  • 49.
  • 50.
    Chronic Rejection  Chronicrejection may be defined as a immunological process resulting in gradual and progressive decline in renal allograft function.  This can be detected as early as — 6 months of KT  Mechanism: Both cell mediated and humoral immunity plays role in chronic rejection. 50
  • 51.
    Differetiante between acute rejection,chronic rejection, ATN and CNI toxicity by renal biopsy 51
  • 52.
    Immunosuppression after kidney transplantation Immunosuppressive agents can be used in one of three ways:  Induction or high-dose therapy to prevent a primary immune response immediately after transplantation  Low-dose or maintenance therapy once engraftment has stabilized or  Additional high-dose therapy to treat acute rejection should it arise 52
  • 53.
    Drugs used inimmunosuppression:  A. Chemical immunosuppression using small molecules:  1. Corticosteroids  2. Anti-proliferative drugs:  Azathioprime  Mycophenolate mofetil  Cyclophosphamide  Leflunomide  3. Anti-lymphocyte drugs:  a. Calcinurm inhibitors  • Cyclosporin  • Tacrolimus  b. mTOR inhibitors  • Sirolimus  • Everolimus 53
  • 54.
     B. Anti-lymphocyteantibody:  1. Polyclonal antibody - Anti thymocyte globulin (ATG)  2. Monoclonal antibody  a. Lymphocyte depleting:  • Alemtuzumals  • Muromonab CD3  • Rituximab (Anti CD-20)  c. Lymphocytenon-depheting:  Basiliximub  Balatcept 54
  • 55.
    Adverse effects of immunosuppressivedrugs  Corticosteroids: Hypertension, Cushing syndrome, poor wound healing, Hyperlipidemia, Hyperglycemia, osteoporosis  MMF: Nausea, vomiting, Bone marrow suppression.  Cyclosporin: Nephrotoxicity, Hyperlipidemia, HTN, Hirsuitism, Gingival hyperplasia, Hemolytic uraemic syndrome 55
  • 56.
     Tacrolimus:Nephrotoxicity HTN, Hyperlipidemia mTOR inhibitors: Hyperlipidemia, poor wound healing, Bone marrow suppression, Lymphocele.  Polyclonal Ab (ATG):fever, chills, Arthralgia. 56
  • 57.
    Punishment according toact  If any one give wrong information about closed relative will be punished – not more than 2 year Rigorous imprisonment or not more than 5 lac penalty or both  Other than this if the law is broken - not more than 3 year Rigorous imprisonment or not more than 10 lac penalty or both  If any doctor punish by this law, his or her registration will be canceled from BMDC.  Hospital is lost its permission to transplantation work. 57
  • 58.
  • 59.
    ABO incompatible Kidney transplantation Desensitization principle  Anti A/B antibody depletion by  a. Plasmapheresis  b. immuno adsorption  Imununomodulation by IV Ig  Reduction of B lymphocyte pool by splenectomy or Anti CD-20 drug (Rituximab) , 59
  • 60.
    Desensitization protocol,  Commonlyused protocol is as follows  28 days before KT— A single dose of Rituximab 375 mg /m 2  14 days days before before KT  start immunosuppression by MMF, tacrolimus and prednisolone  Start antibody removal by Plasma exchange (PEX) + FFP of donor blood group, every alternate day until Ab titre < 1:16  IV IG Every alternate day 60
  • 61.
     Measure Abtitre In between two PEX Sessions,  Administer Basiliximub 20 mg on the day of KT and on day 4.  Continue Monitoring of Ab titre upto 14 days post operatively.  Plasma exchange if Ab titre > 1:32  After 2 weeks, accomodation occurs, so no further desensitization is needed. 61
  • 62.