Introduction to sequence control, PLCs –
working, specifications of PLC
Onboard/Inline/Remote IO’s,
comparison PLC & PC,
relay ladder logic- PLC Programmg – realisation
of AND, OR logic, concePt of latching ,
intro to timers/counter, exercise based on
counters, timers
• Industrial Automation:
“Automation is the use of control systems and information
technologies to reduce the need for human work in the
production of goods and services”
The main disadvantages of automation are:
Technology limits
Unpredictable development costs
High initial cost
Different types of automation tools exist:
• ANN - Artificial neural network
• DCS - Distributed Control System
• HMI - Human Machine Interface
• SCADA - Supervisory Control and Data Acquisition
• PLC - Programmable Logic Controller
• PAC - Programmable automation controller
• Instrumentation
• Motion control
• Robotics
specific features suited for industrial
control:
• (a) Rugged, noise immune equipment;
• (b) Modular plug-in construction, allowing easy replacement or
addition of units
• (e.g. input/output);
• (c) Standard input/output connections and signal levels;
• (d) Easily understood programming language;
• (e) Ease of programming and reprogramming in-plant;
• (f) Capable of communicating with other PLCs, computers and
intelligent devices;
• (g) Competitive in both cost and space occupied with relay
and solid-state logic
• systems;
WHAT
• A programmable logic controller(PLC) is a special
form of microprocessor-based controller that uses
programmable memory to store instructions and to
implement functions such as logic, sequencing, timing,
counting, and arithmetic in order to control machines
and Processes.
• operated by engineers with a limited knowledge of
computers and computing languages.
• Input devices (that is, sensors such as switches) and
output devices (motors, valves, etc.) in the system being
controlled are connected to the PLC.
• The operator enters a sequence of instructions, a program,
into the memory of the PLC.
• The controller monitors the inputs and outputs according to
this program and carries out the control rules for which it
has been programmed.
• PLCs are optimized for control tasks and the
industrial environment. Thus PLCs:
Are rugged and designed to withstand vibrations,
temperature, humidity, and noise
Have interfacing for inputs and outputs already
inside the controller
What are Inputs?
• Switches and Pushbuttons
• Sensing Devices
• Limit Switches
• Photoelectric Sensors
• Proximity Sensors
• Condition Sensors
• Pressure Switches
• Level Switches
• Temperature Switches
• Vacuum Switches
• Float Switches
• Encoders
What are Outputs?
• Valves
• Motor Starters
• Solenoids
• Actuators
• Control Relays
• Horns & Alarms
• Stack Lights
• Fans
• Counter/Totalizer
• Pumps
• Printers
PLC COMPONENTS
1. Processor Microprocessor based, may allow arithmetic
operations, logic operators, block memory moves,
computer interface, local area network, functions, etc.
2. Memory Measured in words.
ROM (Read Only Memory),
RAM (Random Access Memory),
PROM (Programmable Read Only Memory),
EEPROM (Electric Erasable Programmable ROM),
EPROM (Erasable Programmable Read Only Memory),
EAPROM (Electronically Alterable Programmable
Read Only Memory), and
Bubble Memory.
PLC COMPONENTS
3. I/O Modular plug-in periphery
AC voltage input and output,
DC voltage input and output,
Low level analog input,
High level analog input and output,
Special purpose modules, e.g., high speed timers,
Stepping motor controllers, etc. PID, Motion
4. Power supply AC power
5. Peripheral hand-held programmer (HHP)
CRT programmer
operator console
printer
simulator
EPROM loader
graphics processor
network communication interface
modular PC
structure of a PLC
• divided into four parts.
input/output modules,
central processing unit (CPU),
memory and
programming terminal.
HARDWARE
1. processor unit or central processing unit(CPU):
• unit containing the microprocessor.
• interprets the input signals and carries out the control actions
according to the program stored in its memory
• communicate the decisions as action signals to the outputs.
2. The power supply unit :
• convert the mains AC voltage to the low DC voltage (5 V) for the
processor and the circuits in the input and output interface modules.
3. programming device :
• used to enter the required program into the memory of the processor.
4. The memory unit :
• where the program containing the control actions to be exercised by
the microprocessor is stored
• the data is stored from the input for processing and for the output
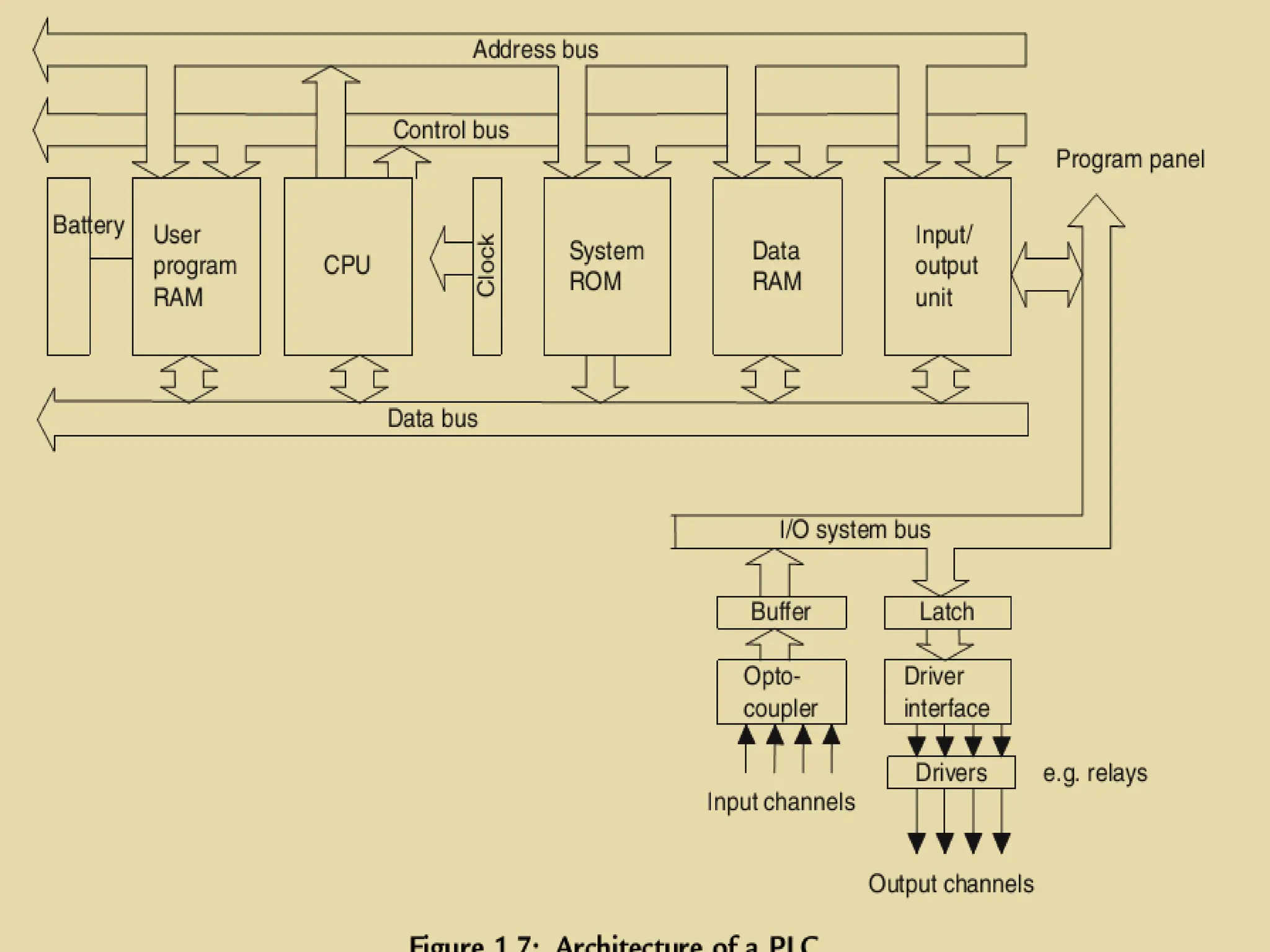
Internal Architecture
• consists of a central processing unit (CPU) containing the system
microprocessor, memory, and input/output circuitry.
• CPU controls and processes all the operations within the PLC.
• It is supplied with a clock with frequency 1 to 8 MHz - determines the
operating speed of the PLC - provides the timing and synchronization
for all elements
• internal paths along which digital signals flow - buses.
• bus - a number of conductors along which electrical signals can flow.
• tracks on a printed circuit board or wires in a ribbon cable.
• data bus - send data between the constituent elements
• address bus -send the addresses of locations for accessing stored data
• control bus - internal control actions
• system bus - communications between the input/output ports and the
input/output unit.
1. CPU
• CPUs have the following:
1. Arithmetic and logic unit(ALU)
• for data manipulation and carrying out arithmetic operations of
addition and subtraction
• logic operations of AND, OR, NOT, and EXCLUSIVE-OR.
2. Memory(register)
• store information involved in program execution.
3. control unit
• control the timing of operations.
2. The Buses
• the paths used for communication within the PLC.
• The information is transmitted in binary form, indicating on/off states..
1. data bus :
 carries the data used in the processing done by the CPU.
 It is a 8-bit with internal data bus, handle 8-bit numbers.
2. address bus :
 carry the addresses of memory locations.
 each word can be located in memory, every memory location is given a
unique address.
 so that data stored at a particular location can be accessed by the CPU,
 For eight lines, the number of 8-bit words, and hence number of
distinct addresses, is 2^8= 256. With 16 address lines, 65,536 addresses
are possible.
3. The control bus :
carries the signals used by the CPU for control, such
as to inform memory devices whether they are to
receive data from an input or output data and to carry
timing signals used to synchronize actions.
4. The system bus :
is used for communications between the input/output
ports and the input/ output unit
3. Memory
• memory elements in a PLC system:
1. System read-only-memory(ROM):
• gives permanent storage for the operating system and
fixed data used by the CPU.
2. Random-access memory(RAM):
• is used for the user’s program.
• information is stored on the status of input and
output devices and the values of timers and counters
and other internal devices.
• data RAM is referred to as a data table or register
table.
3. EPROM: is used to store programs permanently.
• The storage capacity of a memory unit is determined by the
number of binary words that it can store.
• if a memory size is 256 words, it can store 256 * 8=2048 bits
if 8-bit words are used
• 256 * 16=4096 bits if 16-bit words are used.
Memory
• PLCs contain both RAM and ROM
• all PLC memories can be subdivided into at
least five major areas
1.Executive Memory
• executive memory for the PLC is always in ROM
• Once programmed and developed by the manufacturer,
needs no changing.
• It does the scanning in a PLC.
• The operating system is a special machine language
program that runs the PLC.
• It instructs the microprocessor to read each user
instruction,
• interpret user programmed symbols and instructions,
• track the I/O status,
• maintaining/monitoring the current status of the health
of the system and all its components
2. System memory
• For operating system to function, memory is allotted for system
administration.
• to store intermediate results and information.
• not available to the user for programming.
• PLCs use this area for storing the information which passes
between programmer and operating system, e.g. the operating
system generates certain error codes store in the specific
address in this area during the execution of user program
3. I/O Status Memory - I/O Image Table
• portion of RAM allocated for the storage of current I/O status.
• Every input/output module assigned a particular location within
the input/output - are identified by addresses, each location has its
own unique address.
• Various output device status generated during the execution of
user program are stored in the output image table
4. Data Memory
• Whenever timers, counters, mathematics and process parameters
are required, an area of memory must be set aside for data
storage.
• Some manufacturers subdivide the data memory area into two
sub-memories, one for fixed data and other for variable data.
• The fixed data portion can only be programmed via the
programming device.
• The CPU is not permitted to place data values in this area.
• The variable portion of the data memory is available to the CPU for
data storage.
5. User Program Memory
• allocated to the storage of the user program.
• executive program instructs the microprocessor to examine
or 'scan' to find the user instructions.
• The user program area may be subdivided if the CPU
allocates a portion of this memory area for the storage of
ASCII messages, subroutine programs, or other special
programming functions or routines
4. Input/Output Unit
• The input/output unit provides the interface between the system and
the outside world,
• allow connections to be made through input/output channels to
input devices such as sensors and output devices such as motors and
solenoids.
• Also programs are entered from a program panel.
• has a unique address that can be used by the CPU.
• The input/output channels provide isolation and signal conditioning
functions so that sensors and actuators can often be directly
connected to them without the need for other circuitry.
• Electrical isolation from the external world is usually by means of
opto-isolators
• When a digital pulse passes through the light-emitting diode, a
pulse of infrared radiation is produced. This pulse is detected by
the phototransistor and gives rise to a voltage in that circuit.
• The digital signal that is generally compatible with the
microprocessor in the PLC is 5 V DC.
5. SOURCING AND SINKING
• The terms describe the way in which DC devices are connected to
a PLC.
• With sourcing, using the conventional current flow direction as
from positive to negative, an input device receives current from the
input module, that is, the input module is the source of the current
• With sinking, using the conventional current flow direction, an
input device supplies current to the input module, that is, the input
module is the sink for the current
• If the current flows from the output module to an output load, the
output module is referred to as sourcing
• If the current flows to the output module from an output load, the
output module is referred to as sinking
PLC Systems
• 2 types of mechanical design for PLC systems
single box and the modular/rack types.
1. The single-box type (or, a brick)
• used for small programmable controllers
• supplied as an integral compact package complete
with power supply, processor, memory, and
input/output units.
• 6, 8, 12, or 24 inputs and 4, 8, or 16 outputs and a
memory that can store some 300 to 1000
instructions.
• capacity to be extended to cope with more inputs
and outputs by linking input/output boxes
2. Modular/Rack
• Systems with larger numbers of inputs and outputs - designed
to fit in racks.
• separate modules for power supply, processor - mounted on
rails within a metal cabinet.
• functional units packaged in individual modules that can be
plugged into sockets in a base rack.
• The power and data interfaces for modules in a rack are
provided by copper conductors in the backplane of the rack.
• Rack - A rack is often large and can hold multiple cards - which
realize the CPU, power, communication, i/o and special function
modules, are connected by a bus, often called a backplane.
• When necessary, multiple racks can be connected together by
bus extenders.
• Each channel in a card can be addressed by a rack– slot –
channel
Programs
• Programs for use with PLCs can be written in a
number of formats.
• To make it easier for engineers with no great
knowledge of programming to write programs for
PLCs, ladder programming was developed.
Input/Output Devices
1. Input Devices
• The term sensor is used for an input device
• provides a usable output in response to a specified physical
input.
• For example, a thermocouple is a sensor that converts a
temperature difference into an electrical output
• Sensors that give digital or discrete, that is, on/off, outputs can
be easily connected to the input ports of PLCs.
• An analog sensor gives an output proportional to the measured
variable.
• Such analog signals have to be converted to digital signals
before they can be input to PLC ports.
Commonly used PLC input devices and
their sensors.
a) Mechanical Switches
• generates an on/off signal or signals as a result of some mechanical
input causing the switch to open or close.
• Such a switch might be used to indicate the presence of a workpiece
on a machining table, the workpiece pressing against the switch
and so closing it.
• The absence of the workpiece is indicated by the switch being open
and its presence by it being closed
• Workpiece not present: 0
• Workpiece present: 1
• Switches are available withnormally open (NO)or normally closed
(NC)contacts
b) Proximity Switches
• to detect the presence of an item without making
contact with it.
c) Photoelectric Sensors and Switches
D) Encoders
• used for a device that provides a digital output as a result of angular
or linear displacement.
e) Temperature Sensors
• provide an on/off signal when a particular temperature is reached is
the bimetal element.
f) Position/Displacement Sensors
• position sensor is used for a sensor that gives a measure of the
distance between a reference point and the current location of the
target,
• displacement sensor gives a measure of the distance between the
present position of the target and the previously recorded position
F) Pressure Sensors
• designed to give outputs that are proportional to the difference in
Pressure between two input ports
g) Liquid-Level Detectors
• Pressure sensors may be used to monitor the depth of a liquid
in a tank.
• The pressure due to a height of liquid above some level is =
hρg
h) Fluid Flow Measurement
• based on measuring the difference in pressure that results
when a fluid flows through a constriction.
• f) Smart Sensors
2. Output Devices
• The output ports of a PLC are relay or optoisolator with transistor or
triac, depending on the devices that are to be switched on or off
a) Relay
• When a current passes through a solenoid, a magnetic field is
produced; this can then attract ferrous metal components in its
vicinity.
• With the relay, this attraction is used to operate a switch.
• relay connected to the output of a PLC, when the output switches on,
the solenoid magnetic field is produced, and this pulls on the contacts
and so closes a switch or switches
b) Directional Control Valves
• Another example of the use of a solenoid as an actuator is
a solenoid operated valve.
• The valve may be used to control the directions of flow of
pressurized air or oil and so used to operate other devices,
such as a piston moving in a cylinder.
c) Motors:
• A PLC might thus control the speed of rotation of a motor
by controlling the electronic circuit used to control the
width of the voltage pulses
PLC can be Programmed as
• LADDER LOGIC
• STRUCTURED TEXT
• INSTRUCTION LIST
• FUNCTIONAL BLOCK DIAGRAM
• SEQUENTIAL FUNCTION CHART
PLC ARE OF 2 TYPES
• FIXED PLC : fixed inPut and outPut
• MODULAR PLC: ExPandable inPut and outPut
PLC OPERATION
• 1. INPUT SCAN
• 2.PROGRAM SCAN
• 3. OUTPUT SCAN
How does the PLC replace relay logic from a ladder logic
diagram?
Consider the following example : simple generic PLC
with four inputs and four outputs. One input is wired to a
push button and one output is wired to an indicator light.
Inputs include the following types or
attributes:
• DC voltage
• AC voltage, ranges of 50 Hz or 60 Hz available
• True High or True Low DC voltages
• Analog inputs, ranges 0-10V or 4-20 ma most popular
• BCD, Binary Coded Decimal
• Thermocouple
• Scale/load cells/LVDT, weight and force sensors
• RTD, Resistance Temperature Detector
• Latching
• Isolated or Common Neutral
• Intelligent (Smart with own CPU on board I/O card)
• Resolver
• Encoder
• Serial Communications Port
Outputs include the following types or
attributes:
• DC voltage
• AC voltage, ranges of 50 Hz or 60 Hz available
• Isolated or Common Source
• True High or True Low DC voltages
• Analog Output
• Serial Communications Port
• Intelligent (Smart with own CPU on board I/O
card)
• Servo Controller
HOW DOES PLC WORK?
1. Input scan
• the current status of every input module is stored in the input image
(memory) table, bringing it up-to-date
2. Program scan
• the CPU enters its user program execution, or program scan.
• The execution involves starting at the program's first instruction,
then moving on to the second instruction and carrying out its
execution sequence.
• the CPU continually keeps its output image (memory) table up-
to-date.
3. Output scan
• the entire output image table is transferred to the output modules
during the output scan after the program execution.
LOGIC PROGRAMMING - TWO TECHNIQUES
• Combinational logic : where the output is purely
dependent on the combination of the inputs at any
instant in time.
• Sequential networks : where the output is dependent
not only on the actual inputs but on the sequence of the
previous inputs and outputs. (memorising events)
• Combinational logic design
• All programmable controllers have standard logic
instructions – AND, OR, NOT etc.
• combined to create logic networks.
• Boolean algebra may be used as a tool to assist in the
design of logic networks.
• E.g. Y5 = X1.X2.X3
3 MODULES:
• PROCESSOR MODULE
• INPUT MODULE
ANALOG AND DIGITAL
• OUTPUT MODULE
ANALOG AND DIGITAL
1.Processor modules
• contain function block libraries, configured to work
with other modules,
• realize various automation related functionality, such as,
Counting up to 10 – 100 KHz
 PID Control with algorithms realized in different forms
Controlled positioning for manufacturing by CNC
machines with stepper / servo drives,
Input/output MODULES
• categorized as digital / analog depending on
the nature of the signal or as
local/remote/networked, depending on the
interface through which it is acquired.
2. Input Module
• convert process level signals from sensors to processor
level digital signals such as 5V or 3.3 V.
• also accept direct inputs from thermocouples and RTDs in
the analog case, and limit switches or encoders in the
digital case.
• modules include circuitry for galvanic isolation, such as
those using optocouplers.
a) Analog input modules
• convert analog process level signals to digital values
• then processed by the digital electronic hardware of the
programmable controller.
• The analog modules sense 8/16 analog signals in the range ±5
V, ±10 V or 0 to 10 V.
• Each channel can either be single-ended, or differential.
• For single ended channels only one wire is connected to a
channel terminal. The analog voltage on each channel terminal
that is sensed is referred to a common ground.
• differential channels, each channel terminal involves two wires
and the voltage between the pair of wires is sensed.
• both the wires are at different voltages and their difference is
sensed and converted to digital.
An analog module typically contains:
Analog to digital (A/D) converters
Analog multiplexers and simultaneous sample-hold (S/H)
Analog Signal termination
PLC bus ports
Synchronisation
B )Digital Input Modules
• The digital inputs modules convert the external binary
signals from the process to the internal digital signal
level of programmable controllers.
• Digital input channel processing involves isolation and
signal conditioning before inputting to a comparator for
conversion to a 0 or a 1.
3. OUTPUT MODULES
• Common actuators
1. Solenoid Valves - logical outputs that can switch a hydraulic or
pneumatic flow.
2. Lights - logical outputs often powered directly from PLC boards. 3.
3. Motor Starters - motor draw a large amount of current when started,
so they require motor starters, which are basically large relays.
4. Servo Motors - a continuous output from the PLC can command a
variable speed or position to a servo motor drive system.
• Continuous outputs require output cards with D/A converters.
• Sometimes they also provide potential free relay contacts (NO/NC),
which may be used to drive higher power actuators using a separate
power source.
a) Analog Output Module
• convert digital values from the PLC processor
module into an analog signal required by the
process.
• require a D/A converter for providing analog
outputs.
b) Digital output modules
• convert internal signal levels of the
programmable controllers into the binary signal
levels required externally by the process.
• Up to 16 outputs can be connected in parallel.
What is remote i/o? How is it different
from the other kinds of i/o?
• Local i/o, as contrasted with remote i/o is where the field terminals
of the PLC i/o modules are connected directly to the field devices.
• Each channel carries data that is not
• multiplexed.
• On the other hand for remote i/o, multiplexed data for several field
channels is sent in multiplexed form to a remote i/o device that
demultiplexes and transmits data for each field device to it, with or
without data conversion and signal conditioning.
• Local i/o may be analog or digital.
• Remote i/o is always digital.
• Remote i/o issused to mainly to save on cabling of individual data
channels from the device to the PLC rack.
77
Programmable Logic Controllers
( Definition according to NEMA standard ICS3-1978)
A digitally operating electronic apparatus which uses a
programming memory for the internal storage of instructions for
implementing specific functions such as logic, sequencing, timing,
counting and arithmetic to control through digital or analog
modules, various types of machines or process.
PLC and Computer
A PLC and a computer both are electronic
processor unit. The architecture of a PLC’s CPU is
basically same as that of a general purpose
computer; however, some important
characteristics set them apart.
Unlike computer, PLCs are specifically designed to
survive the harsh conditions of the industrial
environment. A well-designed PLC can be placed
in an area with substantial amounts of electrical
noise, electromagnetic interference, mechanical
vibration, and non condensing humidity.
PLC and Computer
The modular and self-diagnosing interface circuits
are able to pin point malfunctions and moreover,
are easily removed and replaced.
Software programming uses conventional relay
ladder symbols, or other easily learned
languages, which are familiar to plant personnel.
A computer can execute a complex programming
task and also multitasking. An standard PLC is
designed to executes a single program in an
orderly fashion. As PLCs are rapidly changing,
modern PLCs have multitasking capabilities.
Why PLCs ?
 Soft Manufacturing Process
 Flexible Manufacturing Process
 Retrofit Existing Process
 Less Maintenance
 Easy to Debug
84
85
Major Components of a Common PLC
PROCESSOR
POWER
SUPPLY
I M
N O
P D
U U
T L
E
O M
U O
T D
P U
U L
T E
PROGRAMMING
DEVICE
From
SENSORS
Pushbuttons,
contacts,
limit switches,
etc.
To
OUTPUT
Solenoids,
contactors,
alarms
etc.
N.
O
C
L2 L1
L1
L2
OUTPUT MODULE
WIRING
MOTOR
CONTACTOR
O:4
0
CONTACTOR
LADDER PROGRAM
L1 L2
FIELD WIRING
•SOLENOID
•VALVES
•LAMP
•BUZZER
Discrete Input
A discrete input also referred as digital input is an input that is either ON or OFF are
connected to the PLC digital input. In the ON condition it is referred to as logic 1 or a
logic high and in the OFF condition maybe referred to as logic o or logic low.
Normally Open Pushbutton
Normally Closed Pushbutton
Normally Open switch
Normally Closed switch
Normally Open contact
Normally closed contact
OFF
Logic 0
IN
PLC
Input
Module
24 V dc
OFF
Logic 1
IN
PLC
Input
Module
24 V dc
OUT
PLC
Digital
Output
Module
Lamp
A discrete output is either in an ON or OFF condition. Solenoids,
contactors coils, lamps are example of devices connected to the
Discrete or digital outputs. Below, the lamp can be turned ON or OFF by the PLC output it
is connected to.
Digital Output
IN
PLC
Analog
Input
Module
Tank
Level Transmitter
An analog input is an input signal that has a continuous
signal. Typical inputs may vary from 0 to 20mA, 4 to 20mA
or 0 to10V. Below, a level transmitter monitors the level of
liquid in the tank. Depending on the level Tx, the signal to the
PLC can either increase or decrease as the level increases
or decreases.
Analog Input
91
OUT
PLC
Analog
Output
Module
An analog output is an output signal that has a continuous signal. Typical outputs may vary
from 0 to 20mA, 4 to 20mA or 0 to10V.
Analog Output
E
P
Pneumatic control valve
Supply air
Electric to pneumatic transducer
0 to 10V
PLC Communications
Serial Communications
PLC communications facilities normally provides serial transmission of
information.
Common Standards
RS 232
 Used in short-distance computer communications, with the majority of
computer hardware and peripherals.
 Has a maximum effective distance of approx. 30 m at 9600 baud.
PLC Communications
Local Area Network (LAN)
Local Area Network provides a physical link between all devices plus providing overall
data exchange management or protocol, ensuring that each device can “talk” to other
machines and understand data received from them.
LANs provide the common, high-speed data communications bus which interconnects
any or all devices within the local area.
LANs are commonly used in business applications to allow several users to share costly
software packages and peripheral equipment such as printers and hard disk storage.
PLC Communications
RS 422 / RS 485
 Used for longer-distance links, often between several PCs in a distributed
system. RS 485 can have a maximum distance of about 1000 meters.
Advantages of PLC
A. Flexibility
 Universal Controller - can replace various independent/ standalone
controller.
B. Implementing Changes and Correcting Errors
 Do not have to rewiring relay panel.
 Change program using keyboard.
C. Large Quantity of Contact
 Large number of' Soft Contact' available.
D. Lower Cost
 Advancement in technology and open architecture of PLC will reduce
the market price.
E. Pilot Running (Simulation Capability)
 A program can be simulated or run without actual input connection.
Advantages of PLC
F. Visual Observation.
 Can observe the opening and closing of contact switch on CRT .
 Operator message can be programmed for each possible malfunction.
G. Speed of Operation
 Depends on scan time -millisecond.
 Asynchronous operation.
H. Ladder or Boolean Programming Method.
 Easy for 'Electrician ,
I. Reliability
 In general -very reliable
J. Simplicity of Ordering Control Sys. Components
 One package with Relay, Timers, Control Block, etc.
Advantages of PLC
K. Documentation
 Printout of ladder logic can be printed easily
L. Security
 Software lock on a program (Password)
M. Ease of Changes by Programming
 Ability to program and reprogram, loading and down loading
98
Disadvantages of PLC
A. New Technology
 Change from ladder and relay to PLC concept
B. Fixed program Application
 Not cost effective for single- function application
C. Environment Consideration
 Not adapted for very high temperature, high humidity level, high
vibration, etc.
D. Fail-safe operation
 Does not start automatically when power failure ( can be programmed
into )
 Not "Fail-safe" -Fail-shorted rather than OPEN
E. Fixed-circuit operation
 Fixed control system -less costly
 An application example : Conveyor System
 PLC can be used to start/stop latching logic for motor control
 Counters can be used for monitoring product amounts

PLC Programming - Working, Specifications of PLC

  • 1.
    Introduction to sequencecontrol, PLCs – working, specifications of PLC Onboard/Inline/Remote IO’s, comparison PLC & PC, relay ladder logic- PLC Programmg – realisation of AND, OR logic, concePt of latching , intro to timers/counter, exercise based on counters, timers
  • 2.
    • Industrial Automation: “Automationis the use of control systems and information technologies to reduce the need for human work in the production of goods and services”
  • 3.
    The main disadvantagesof automation are: Technology limits Unpredictable development costs High initial cost
  • 4.
    Different types ofautomation tools exist: • ANN - Artificial neural network • DCS - Distributed Control System • HMI - Human Machine Interface • SCADA - Supervisory Control and Data Acquisition • PLC - Programmable Logic Controller • PAC - Programmable automation controller • Instrumentation • Motion control • Robotics
  • 5.
    specific features suitedfor industrial control: • (a) Rugged, noise immune equipment; • (b) Modular plug-in construction, allowing easy replacement or addition of units • (e.g. input/output); • (c) Standard input/output connections and signal levels; • (d) Easily understood programming language; • (e) Ease of programming and reprogramming in-plant; • (f) Capable of communicating with other PLCs, computers and intelligent devices; • (g) Competitive in both cost and space occupied with relay and solid-state logic • systems;
  • 8.
    WHAT • A programmablelogic controller(PLC) is a special form of microprocessor-based controller that uses programmable memory to store instructions and to implement functions such as logic, sequencing, timing, counting, and arithmetic in order to control machines and Processes. • operated by engineers with a limited knowledge of computers and computing languages.
  • 9.
    • Input devices(that is, sensors such as switches) and output devices (motors, valves, etc.) in the system being controlled are connected to the PLC. • The operator enters a sequence of instructions, a program, into the memory of the PLC. • The controller monitors the inputs and outputs according to this program and carries out the control rules for which it has been programmed.
  • 10.
    • PLCs areoptimized for control tasks and the industrial environment. Thus PLCs: Are rugged and designed to withstand vibrations, temperature, humidity, and noise Have interfacing for inputs and outputs already inside the controller
  • 11.
    What are Inputs? •Switches and Pushbuttons • Sensing Devices • Limit Switches • Photoelectric Sensors • Proximity Sensors • Condition Sensors • Pressure Switches • Level Switches • Temperature Switches • Vacuum Switches • Float Switches • Encoders
  • 12.
    What are Outputs? •Valves • Motor Starters • Solenoids • Actuators • Control Relays • Horns & Alarms • Stack Lights • Fans • Counter/Totalizer • Pumps • Printers
  • 13.
    PLC COMPONENTS 1. ProcessorMicroprocessor based, may allow arithmetic operations, logic operators, block memory moves, computer interface, local area network, functions, etc. 2. Memory Measured in words. ROM (Read Only Memory), RAM (Random Access Memory), PROM (Programmable Read Only Memory), EEPROM (Electric Erasable Programmable ROM), EPROM (Erasable Programmable Read Only Memory), EAPROM (Electronically Alterable Programmable Read Only Memory), and Bubble Memory.
  • 14.
    PLC COMPONENTS 3. I/OModular plug-in periphery AC voltage input and output, DC voltage input and output, Low level analog input, High level analog input and output, Special purpose modules, e.g., high speed timers, Stepping motor controllers, etc. PID, Motion 4. Power supply AC power 5. Peripheral hand-held programmer (HHP) CRT programmer operator console printer simulator EPROM loader graphics processor network communication interface modular PC
  • 15.
    structure of aPLC • divided into four parts. input/output modules, central processing unit (CPU), memory and programming terminal.
  • 16.
    HARDWARE 1. processor unitor central processing unit(CPU): • unit containing the microprocessor. • interprets the input signals and carries out the control actions according to the program stored in its memory • communicate the decisions as action signals to the outputs. 2. The power supply unit : • convert the mains AC voltage to the low DC voltage (5 V) for the processor and the circuits in the input and output interface modules. 3. programming device : • used to enter the required program into the memory of the processor. 4. The memory unit : • where the program containing the control actions to be exercised by the microprocessor is stored • the data is stored from the input for processing and for the output
  • 19.
    Internal Architecture • consistsof a central processing unit (CPU) containing the system microprocessor, memory, and input/output circuitry. • CPU controls and processes all the operations within the PLC. • It is supplied with a clock with frequency 1 to 8 MHz - determines the operating speed of the PLC - provides the timing and synchronization for all elements • internal paths along which digital signals flow - buses. • bus - a number of conductors along which electrical signals can flow. • tracks on a printed circuit board or wires in a ribbon cable. • data bus - send data between the constituent elements • address bus -send the addresses of locations for accessing stored data • control bus - internal control actions • system bus - communications between the input/output ports and the input/output unit.
  • 21.
    1. CPU • CPUshave the following: 1. Arithmetic and logic unit(ALU) • for data manipulation and carrying out arithmetic operations of addition and subtraction • logic operations of AND, OR, NOT, and EXCLUSIVE-OR. 2. Memory(register) • store information involved in program execution. 3. control unit • control the timing of operations.
  • 22.
    2. The Buses •the paths used for communication within the PLC. • The information is transmitted in binary form, indicating on/off states.. 1. data bus :  carries the data used in the processing done by the CPU.  It is a 8-bit with internal data bus, handle 8-bit numbers. 2. address bus :  carry the addresses of memory locations.  each word can be located in memory, every memory location is given a unique address.  so that data stored at a particular location can be accessed by the CPU,  For eight lines, the number of 8-bit words, and hence number of distinct addresses, is 2^8= 256. With 16 address lines, 65,536 addresses are possible.
  • 23.
    3. The controlbus : carries the signals used by the CPU for control, such as to inform memory devices whether they are to receive data from an input or output data and to carry timing signals used to synchronize actions. 4. The system bus : is used for communications between the input/output ports and the input/ output unit
  • 24.
    3. Memory • memoryelements in a PLC system: 1. System read-only-memory(ROM): • gives permanent storage for the operating system and fixed data used by the CPU. 2. Random-access memory(RAM): • is used for the user’s program. • information is stored on the status of input and output devices and the values of timers and counters and other internal devices. • data RAM is referred to as a data table or register table. 3. EPROM: is used to store programs permanently.
  • 25.
    • The storagecapacity of a memory unit is determined by the number of binary words that it can store. • if a memory size is 256 words, it can store 256 * 8=2048 bits if 8-bit words are used • 256 * 16=4096 bits if 16-bit words are used.
  • 26.
    Memory • PLCs containboth RAM and ROM • all PLC memories can be subdivided into at least five major areas
  • 27.
    1.Executive Memory • executivememory for the PLC is always in ROM • Once programmed and developed by the manufacturer, needs no changing. • It does the scanning in a PLC. • The operating system is a special machine language program that runs the PLC. • It instructs the microprocessor to read each user instruction, • interpret user programmed symbols and instructions, • track the I/O status, • maintaining/monitoring the current status of the health of the system and all its components
  • 28.
    2. System memory •For operating system to function, memory is allotted for system administration. • to store intermediate results and information. • not available to the user for programming. • PLCs use this area for storing the information which passes between programmer and operating system, e.g. the operating system generates certain error codes store in the specific address in this area during the execution of user program
  • 29.
    3. I/O StatusMemory - I/O Image Table • portion of RAM allocated for the storage of current I/O status. • Every input/output module assigned a particular location within the input/output - are identified by addresses, each location has its own unique address. • Various output device status generated during the execution of user program are stored in the output image table
  • 30.
    4. Data Memory •Whenever timers, counters, mathematics and process parameters are required, an area of memory must be set aside for data storage. • Some manufacturers subdivide the data memory area into two sub-memories, one for fixed data and other for variable data. • The fixed data portion can only be programmed via the programming device. • The CPU is not permitted to place data values in this area. • The variable portion of the data memory is available to the CPU for data storage.
  • 31.
    5. User ProgramMemory • allocated to the storage of the user program. • executive program instructs the microprocessor to examine or 'scan' to find the user instructions. • The user program area may be subdivided if the CPU allocates a portion of this memory area for the storage of ASCII messages, subroutine programs, or other special programming functions or routines
  • 32.
    4. Input/Output Unit •The input/output unit provides the interface between the system and the outside world, • allow connections to be made through input/output channels to input devices such as sensors and output devices such as motors and solenoids. • Also programs are entered from a program panel. • has a unique address that can be used by the CPU. • The input/output channels provide isolation and signal conditioning functions so that sensors and actuators can often be directly connected to them without the need for other circuitry.
  • 33.
    • Electrical isolationfrom the external world is usually by means of opto-isolators • When a digital pulse passes through the light-emitting diode, a pulse of infrared radiation is produced. This pulse is detected by the phototransistor and gives rise to a voltage in that circuit. • The digital signal that is generally compatible with the microprocessor in the PLC is 5 V DC.
  • 35.
    5. SOURCING ANDSINKING • The terms describe the way in which DC devices are connected to a PLC. • With sourcing, using the conventional current flow direction as from positive to negative, an input device receives current from the input module, that is, the input module is the source of the current • With sinking, using the conventional current flow direction, an input device supplies current to the input module, that is, the input module is the sink for the current • If the current flows from the output module to an output load, the output module is referred to as sourcing • If the current flows to the output module from an output load, the output module is referred to as sinking
  • 37.
    PLC Systems • 2types of mechanical design for PLC systems single box and the modular/rack types. 1. The single-box type (or, a brick) • used for small programmable controllers • supplied as an integral compact package complete with power supply, processor, memory, and input/output units. • 6, 8, 12, or 24 inputs and 4, 8, or 16 outputs and a memory that can store some 300 to 1000 instructions. • capacity to be extended to cope with more inputs and outputs by linking input/output boxes
  • 39.
    2. Modular/Rack • Systemswith larger numbers of inputs and outputs - designed to fit in racks. • separate modules for power supply, processor - mounted on rails within a metal cabinet. • functional units packaged in individual modules that can be plugged into sockets in a base rack. • The power and data interfaces for modules in a rack are provided by copper conductors in the backplane of the rack.
  • 40.
    • Rack -A rack is often large and can hold multiple cards - which realize the CPU, power, communication, i/o and special function modules, are connected by a bus, often called a backplane. • When necessary, multiple racks can be connected together by bus extenders. • Each channel in a card can be addressed by a rack– slot – channel
  • 42.
    Programs • Programs foruse with PLCs can be written in a number of formats. • To make it easier for engineers with no great knowledge of programming to write programs for PLCs, ladder programming was developed.
  • 43.
    Input/Output Devices 1. InputDevices • The term sensor is used for an input device • provides a usable output in response to a specified physical input. • For example, a thermocouple is a sensor that converts a temperature difference into an electrical output • Sensors that give digital or discrete, that is, on/off, outputs can be easily connected to the input ports of PLCs. • An analog sensor gives an output proportional to the measured variable. • Such analog signals have to be converted to digital signals before they can be input to PLC ports.
  • 44.
    Commonly used PLCinput devices and their sensors. a) Mechanical Switches • generates an on/off signal or signals as a result of some mechanical input causing the switch to open or close. • Such a switch might be used to indicate the presence of a workpiece on a machining table, the workpiece pressing against the switch and so closing it. • The absence of the workpiece is indicated by the switch being open and its presence by it being closed • Workpiece not present: 0 • Workpiece present: 1 • Switches are available withnormally open (NO)or normally closed (NC)contacts
  • 45.
    b) Proximity Switches •to detect the presence of an item without making contact with it.
  • 46.
    c) Photoelectric Sensorsand Switches D) Encoders • used for a device that provides a digital output as a result of angular or linear displacement. e) Temperature Sensors • provide an on/off signal when a particular temperature is reached is the bimetal element. f) Position/Displacement Sensors • position sensor is used for a sensor that gives a measure of the distance between a reference point and the current location of the target, • displacement sensor gives a measure of the distance between the present position of the target and the previously recorded position F) Pressure Sensors • designed to give outputs that are proportional to the difference in Pressure between two input ports
  • 47.
    g) Liquid-Level Detectors •Pressure sensors may be used to monitor the depth of a liquid in a tank. • The pressure due to a height of liquid above some level is = hρg h) Fluid Flow Measurement • based on measuring the difference in pressure that results when a fluid flows through a constriction. • f) Smart Sensors
  • 48.
    2. Output Devices •The output ports of a PLC are relay or optoisolator with transistor or triac, depending on the devices that are to be switched on or off a) Relay • When a current passes through a solenoid, a magnetic field is produced; this can then attract ferrous metal components in its vicinity. • With the relay, this attraction is used to operate a switch. • relay connected to the output of a PLC, when the output switches on, the solenoid magnetic field is produced, and this pulls on the contacts and so closes a switch or switches
  • 49.
    b) Directional ControlValves • Another example of the use of a solenoid as an actuator is a solenoid operated valve. • The valve may be used to control the directions of flow of pressurized air or oil and so used to operate other devices, such as a piston moving in a cylinder. c) Motors: • A PLC might thus control the speed of rotation of a motor by controlling the electronic circuit used to control the width of the voltage pulses
  • 50.
    PLC can beProgrammed as • LADDER LOGIC • STRUCTURED TEXT • INSTRUCTION LIST • FUNCTIONAL BLOCK DIAGRAM • SEQUENTIAL FUNCTION CHART
  • 51.
    PLC ARE OF2 TYPES • FIXED PLC : fixed inPut and outPut • MODULAR PLC: ExPandable inPut and outPut
  • 52.
    PLC OPERATION • 1.INPUT SCAN • 2.PROGRAM SCAN • 3. OUTPUT SCAN
  • 57.
    How does thePLC replace relay logic from a ladder logic diagram? Consider the following example : simple generic PLC with four inputs and four outputs. One input is wired to a push button and one output is wired to an indicator light.
  • 59.
    Inputs include thefollowing types or attributes: • DC voltage • AC voltage, ranges of 50 Hz or 60 Hz available • True High or True Low DC voltages • Analog inputs, ranges 0-10V or 4-20 ma most popular • BCD, Binary Coded Decimal • Thermocouple • Scale/load cells/LVDT, weight and force sensors • RTD, Resistance Temperature Detector • Latching • Isolated or Common Neutral • Intelligent (Smart with own CPU on board I/O card) • Resolver • Encoder • Serial Communications Port
  • 60.
    Outputs include thefollowing types or attributes: • DC voltage • AC voltage, ranges of 50 Hz or 60 Hz available • Isolated or Common Source • True High or True Low DC voltages • Analog Output • Serial Communications Port • Intelligent (Smart with own CPU on board I/O card) • Servo Controller
  • 61.
  • 63.
    1. Input scan •the current status of every input module is stored in the input image (memory) table, bringing it up-to-date 2. Program scan • the CPU enters its user program execution, or program scan. • The execution involves starting at the program's first instruction, then moving on to the second instruction and carrying out its execution sequence. • the CPU continually keeps its output image (memory) table up- to-date. 3. Output scan • the entire output image table is transferred to the output modules during the output scan after the program execution.
  • 64.
    LOGIC PROGRAMMING -TWO TECHNIQUES • Combinational logic : where the output is purely dependent on the combination of the inputs at any instant in time. • Sequential networks : where the output is dependent not only on the actual inputs but on the sequence of the previous inputs and outputs. (memorising events)
  • 65.
    • Combinational logicdesign • All programmable controllers have standard logic instructions – AND, OR, NOT etc. • combined to create logic networks. • Boolean algebra may be used as a tool to assist in the design of logic networks. • E.g. Y5 = X1.X2.X3
  • 66.
    3 MODULES: • PROCESSORMODULE • INPUT MODULE ANALOG AND DIGITAL • OUTPUT MODULE ANALOG AND DIGITAL
  • 67.
    1.Processor modules • containfunction block libraries, configured to work with other modules, • realize various automation related functionality, such as, Counting up to 10 – 100 KHz  PID Control with algorithms realized in different forms Controlled positioning for manufacturing by CNC machines with stepper / servo drives,
  • 68.
    Input/output MODULES • categorizedas digital / analog depending on the nature of the signal or as local/remote/networked, depending on the interface through which it is acquired.
  • 69.
    2. Input Module •convert process level signals from sensors to processor level digital signals such as 5V or 3.3 V. • also accept direct inputs from thermocouples and RTDs in the analog case, and limit switches or encoders in the digital case. • modules include circuitry for galvanic isolation, such as those using optocouplers.
  • 70.
    a) Analog inputmodules • convert analog process level signals to digital values • then processed by the digital electronic hardware of the programmable controller. • The analog modules sense 8/16 analog signals in the range ±5 V, ±10 V or 0 to 10 V. • Each channel can either be single-ended, or differential. • For single ended channels only one wire is connected to a channel terminal. The analog voltage on each channel terminal that is sensed is referred to a common ground. • differential channels, each channel terminal involves two wires and the voltage between the pair of wires is sensed. • both the wires are at different voltages and their difference is sensed and converted to digital.
  • 71.
    An analog moduletypically contains: Analog to digital (A/D) converters Analog multiplexers and simultaneous sample-hold (S/H) Analog Signal termination PLC bus ports Synchronisation
  • 72.
    B )Digital InputModules • The digital inputs modules convert the external binary signals from the process to the internal digital signal level of programmable controllers. • Digital input channel processing involves isolation and signal conditioning before inputting to a comparator for conversion to a 0 or a 1.
  • 73.
    3. OUTPUT MODULES •Common actuators 1. Solenoid Valves - logical outputs that can switch a hydraulic or pneumatic flow. 2. Lights - logical outputs often powered directly from PLC boards. 3. 3. Motor Starters - motor draw a large amount of current when started, so they require motor starters, which are basically large relays. 4. Servo Motors - a continuous output from the PLC can command a variable speed or position to a servo motor drive system. • Continuous outputs require output cards with D/A converters. • Sometimes they also provide potential free relay contacts (NO/NC), which may be used to drive higher power actuators using a separate power source.
  • 74.
    a) Analog OutputModule • convert digital values from the PLC processor module into an analog signal required by the process. • require a D/A converter for providing analog outputs.
  • 75.
    b) Digital outputmodules • convert internal signal levels of the programmable controllers into the binary signal levels required externally by the process. • Up to 16 outputs can be connected in parallel.
  • 76.
    What is remotei/o? How is it different from the other kinds of i/o? • Local i/o, as contrasted with remote i/o is where the field terminals of the PLC i/o modules are connected directly to the field devices. • Each channel carries data that is not • multiplexed. • On the other hand for remote i/o, multiplexed data for several field channels is sent in multiplexed form to a remote i/o device that demultiplexes and transmits data for each field device to it, with or without data conversion and signal conditioning. • Local i/o may be analog or digital. • Remote i/o is always digital. • Remote i/o issused to mainly to save on cabling of individual data channels from the device to the PLC rack.
  • 77.
    77 Programmable Logic Controllers (Definition according to NEMA standard ICS3-1978) A digitally operating electronic apparatus which uses a programming memory for the internal storage of instructions for implementing specific functions such as logic, sequencing, timing, counting and arithmetic to control through digital or analog modules, various types of machines or process.
  • 82.
    PLC and Computer APLC and a computer both are electronic processor unit. The architecture of a PLC’s CPU is basically same as that of a general purpose computer; however, some important characteristics set them apart. Unlike computer, PLCs are specifically designed to survive the harsh conditions of the industrial environment. A well-designed PLC can be placed in an area with substantial amounts of electrical noise, electromagnetic interference, mechanical vibration, and non condensing humidity.
  • 83.
    PLC and Computer Themodular and self-diagnosing interface circuits are able to pin point malfunctions and moreover, are easily removed and replaced. Software programming uses conventional relay ladder symbols, or other easily learned languages, which are familiar to plant personnel. A computer can execute a complex programming task and also multitasking. An standard PLC is designed to executes a single program in an orderly fashion. As PLCs are rapidly changing, modern PLCs have multitasking capabilities.
  • 84.
    Why PLCs ? Soft Manufacturing Process  Flexible Manufacturing Process  Retrofit Existing Process  Less Maintenance  Easy to Debug 84
  • 85.
    85 Major Components ofa Common PLC PROCESSOR POWER SUPPLY I M N O P D U U T L E O M U O T D P U U L T E PROGRAMMING DEVICE From SENSORS Pushbuttons, contacts, limit switches, etc. To OUTPUT Solenoids, contactors, alarms etc.
  • 86.
    N. O C L2 L1 L1 L2 OUTPUT MODULE WIRING MOTOR CONTACTOR O:4 0 CONTACTOR LADDERPROGRAM L1 L2 FIELD WIRING •SOLENOID •VALVES •LAMP •BUZZER
  • 87.
    Discrete Input A discreteinput also referred as digital input is an input that is either ON or OFF are connected to the PLC digital input. In the ON condition it is referred to as logic 1 or a logic high and in the OFF condition maybe referred to as logic o or logic low. Normally Open Pushbutton Normally Closed Pushbutton Normally Open switch Normally Closed switch Normally Open contact Normally closed contact
  • 88.
    OFF Logic 0 IN PLC Input Module 24 Vdc OFF Logic 1 IN PLC Input Module 24 V dc
  • 89.
    OUT PLC Digital Output Module Lamp A discrete outputis either in an ON or OFF condition. Solenoids, contactors coils, lamps are example of devices connected to the Discrete or digital outputs. Below, the lamp can be turned ON or OFF by the PLC output it is connected to. Digital Output
  • 90.
    IN PLC Analog Input Module Tank Level Transmitter An analoginput is an input signal that has a continuous signal. Typical inputs may vary from 0 to 20mA, 4 to 20mA or 0 to10V. Below, a level transmitter monitors the level of liquid in the tank. Depending on the level Tx, the signal to the PLC can either increase or decrease as the level increases or decreases. Analog Input
  • 91.
    91 OUT PLC Analog Output Module An analog outputis an output signal that has a continuous signal. Typical outputs may vary from 0 to 20mA, 4 to 20mA or 0 to10V. Analog Output E P Pneumatic control valve Supply air Electric to pneumatic transducer 0 to 10V
  • 92.
    PLC Communications Serial Communications PLCcommunications facilities normally provides serial transmission of information. Common Standards RS 232  Used in short-distance computer communications, with the majority of computer hardware and peripherals.  Has a maximum effective distance of approx. 30 m at 9600 baud.
  • 93.
    PLC Communications Local AreaNetwork (LAN) Local Area Network provides a physical link between all devices plus providing overall data exchange management or protocol, ensuring that each device can “talk” to other machines and understand data received from them. LANs provide the common, high-speed data communications bus which interconnects any or all devices within the local area. LANs are commonly used in business applications to allow several users to share costly software packages and peripheral equipment such as printers and hard disk storage.
  • 94.
    PLC Communications RS 422/ RS 485  Used for longer-distance links, often between several PCs in a distributed system. RS 485 can have a maximum distance of about 1000 meters.
  • 95.
    Advantages of PLC A.Flexibility  Universal Controller - can replace various independent/ standalone controller. B. Implementing Changes and Correcting Errors  Do not have to rewiring relay panel.  Change program using keyboard. C. Large Quantity of Contact  Large number of' Soft Contact' available. D. Lower Cost  Advancement in technology and open architecture of PLC will reduce the market price. E. Pilot Running (Simulation Capability)  A program can be simulated or run without actual input connection.
  • 96.
    Advantages of PLC F.Visual Observation.  Can observe the opening and closing of contact switch on CRT .  Operator message can be programmed for each possible malfunction. G. Speed of Operation  Depends on scan time -millisecond.  Asynchronous operation. H. Ladder or Boolean Programming Method.  Easy for 'Electrician , I. Reliability  In general -very reliable J. Simplicity of Ordering Control Sys. Components  One package with Relay, Timers, Control Block, etc.
  • 97.
    Advantages of PLC K.Documentation  Printout of ladder logic can be printed easily L. Security  Software lock on a program (Password) M. Ease of Changes by Programming  Ability to program and reprogram, loading and down loading
  • 98.
    98 Disadvantages of PLC A.New Technology  Change from ladder and relay to PLC concept B. Fixed program Application  Not cost effective for single- function application C. Environment Consideration  Not adapted for very high temperature, high humidity level, high vibration, etc. D. Fail-safe operation  Does not start automatically when power failure ( can be programmed into )  Not "Fail-safe" -Fail-shorted rather than OPEN E. Fixed-circuit operation  Fixed control system -less costly
  • 99.
     An applicationexample : Conveyor System  PLC can be used to start/stop latching logic for motor control  Counters can be used for monitoring product amounts