UKURAN KINERJA

1
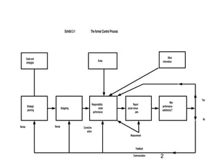
Exhibit 2-1

The formal Control Process

Goals and
strategies

Strategic
planning

Responsibility
center
performance

Other
information

Rules

Budgeting

Report
actual versus
plan

Was
performance
satisfactory?

Yes

No
Revise

Revise

Corrective
action
Measurement

Feedback
Communication

2
KINERJA ORGANISASI
•Kinerja disebut juga sebagai performance atau performansi yang
artinya adalah pencapaian suatu target (keberhasilan) dari sesuatu
yang direncanakan di dalam organisasi,
•Kinerja ini harus dinilai secara formal dengan mengunakan
ukuran-ukuran dari suatu sistem pengukuran kinerja.
KINERJA ORGANISASI TERDIRI DARI :
1. KINERJA KEUANGAN
Adalah kinerja (keberhasilan) yang dinilai berdasarkan ukuranukuran angka dalam satuan nilai uang, dengan cara
membandingkan realisasi keuangan berdasarkan anggarannya,
disebut tradisional karena tidak ada keharusan melakukan
inovasi contoh :
a. Pencapaian laba.
b. Ketersediaan kas.
d. Dan sebagainya.
2. KINERJA NON KEUANGAN
Adalah kinerja (keberhasilan) yang dinilai tidak berdasarkan
ukuran-ukuran angka dalam satuan nilai uang, contoh :
a. Kehadiran pegawai.
b. Kualitas produk.
c. Kepadatan telepon (telephone density).
d. Dan lain sebagainya.
3
KERANGKA RANCANGAN SISTEM
PENGUKURAN KINERJA
Apa yang penting

diukur

Apa yang diberi imbalan
benar-benar penting

Apa yang diukur
diselesaikan

STRATEGI

Apa yang diselesaikan
diberi imbalan

KERANGKA RANCANGAN SUATU
SISTEM PENGUKURAN KINERJA

4
Manfaat Pengukuran Kinerja
1. Mengelola operasi organisasi secara efektif
dan efisien melalui pemotivasian personel
secara maksimum.
2. Membantu pengambilan keputusan yang
berkaitan dengan penghargaan personel,
seperti : promosi, transfer, dan pemberhentian.
3. Mengidentifikasi kebutuhan pelatihan dan
pengembangan personel dan untuk
menyediakan kriteria seleksi dan evaluasi
program pelatihan personel.
4. Menyediakan suatu dasar untuk
mendistribusikan penghargaan.
5
SISTEM PENGUKURAN KINERJA
SISTEM PENGUKURAN KINERJA dapat diselenggarakan
berdasarkan berbagai faktor/ukuran.
Ukuran-ukuran yang dapat dipergunakan adalah faktor-faktor
sukses penting (critical success factors) baik pada masa kini
maupun yang akan datang, yang terdiri dari :
1. Ukuran Kesuksesan Keuangan Perusahaan, misalnya tingkat
pengembalian yang optimal bagi pemegang saham melalui
pencapaian laba. Namun, hal ini ada kelemahannya sehingga
tidak bisa untuk memastikan
bahwa strategi akan dilaksanakan
dengan sukses, yaitu :
a. Hanya mementingkan target laba jangka pendek tanpa
memperhatikan kepentingan perusahaan jangka panjang,
mis : melalui pengiriman produk yang kualitasnya rendah
kepada pelanggan.
b. Manajer unit bisnis tidak mengambil tindakan yang
berguna untuk jangka panjang, mis. : tidak melakukan
investasi karena akan berakibat pada jangka pendek
mengurangi laba.

6
SISTEM PENGUKURAN KINERJA
1. c. Menggunakan laba jangka pendek sebagai satu-satunya
tujuan,
sehingga terjadi distorsi komunikasi dengan
Manajer Senior yang
berakibat menetapkan target yang
mudah dicapai saja.
d. Pengendalian keuangan yang ketat dapat memotivasi
Manajer
untuk memanipulasi data dengan berbagai
tindakan, mis. :
memilih metode akuntansi tertentu atau
menyediakan informasi yang tidak akurat.
2. Menilai kesuksesan organisasi melalui pengukuran kinerja
ibaratnya melihat panel instrument pada dash board mobil
yang mempunyai berbagai indikator operasi, sehingga
diperlukan juga adanya ukuran kinerja non keuangan.

7
Balance Score Card
•

Balance Score Card merupakan salah satu model
pengukuran kinerja gabungan antara ukuran kinerja
keuangan dan non keuangan. Oleh sebab itu unit bisnis
harus diberi cita-cita dan diukur dari 4 (empat) perspektif,
yaitu :
–
–
–
–

•

Keuangan, contoh : margin laba, ROA, arus kas, dll.
Pelanggan, contoh : pangsa pasar, indeks kepuasan pelanggan
(CSI).
Bisnis internal, contoh : retensi karyawan, pengurangan waktu
siklus.
Inovasi dan pembelajaran, contoh : persentase penjualan
produk baru.

BSC bertujuan untuk memelihara keseimbangan antara
ukuran-ukuran strategis yang berbeda dengan pencapaian
cita-cita untuk mendorong karyawan agar bertindak sesuai
kepentingan terbaik organisasi

8
SISTEM PENGUKURAN KINERJA
HUBUNGAN SEBAB AKIBAT
ANTARA UKURAN
PERSPEKTIF
CONTOH UKURAN
PERSPEKTIF INOVASI
DAN
PEMBELAJARAN

PERSPEKTIF BISNIS
INTERNAL

KETRAMPILAN
MANUFAKTUR

WAKTU SIKLUS
PESANAN

PERSPEKTIF
KONSUMEN

KEPUASAN
PELANGGAN

PERSPEKTIF
KEUANGAN

PERTUMBUHAN
PENDAPATAN
PENJUALAN

9
FAKTOR KUNCI KEBERHASILAN
Faktor Kunci Keberhasilan  ini meliputi beberapa ukuran “non
keuangan” atau juga disebut “faktor kunci keberhasilan”, terdiri dari :
a. Variabel Kunci yang Berfokus Pada Pelanggan
1) Pemesanan
2) Pesanan tertunda
3) Pangsa pasar
4) Kepuasan pelanggan
5) Retensi pelanggan
6) Loyalitas pelanggan
b. Varibel Kunci yang Berkaitan dengan Proses Bisnis Internal
1) Utilisasi kapasitas
2) Pengiriman tepat waktu
3) Perputaran persediaan
4) Kualitas
5) Waktu siklus, rumusnya = Waktu Pemrosesan + Waktu
Penyimpanan + Waktu Pemindahan + Waktu Inspeksi
10
IMPLEMENTASI SISTEM PENGUKURAN
KINERJA
Implementasi Sistem Pengukuran Kinerja meliputi 4 (empat) langkah
yaitu :
a. Mendifinisikan strategi  kemudian didifiniskan scorecard agar
cita-cita organisasi dinyatakan secara eksplisit dan targetnya
telah ditetapkan. Departemen fungsional pada suatu unit bisnis
perlu memiliki scorecard tersendiri dan diselaraskan dengan unit
dibawahnya.
b. MendifinisIkan ukuran-ukuran strategi  organisasi harus
mengembangkan ukuran-ukuran strategi, tetapi harus fokus pada
yang penting-penting saja, sehingga manajemen tidak melihat
banyak indikator pada dashboard organisasi, tetapi harus dilihat
ukuran sebab-akibatnya.
c. Mengintegrasikan Ukuran Strategi ke Dalam Sistem Manajemen 
scorecard harus diintegrasikan dengan struktur formal dan non
formal dari organisasi, budaya dan praktek sumber daya manusia.
d. Meninjau Ukuran Strategi dan Hasilnya secara Berkala 
scorecard harus ditinjau secara konsisten dan terus menerus oleh
Manajemen Senior, hal ini meliputi :
11
Kesulitan/kelemahan BSC
a.

b.

c.

Kadang-kala terdapat korelasi yang buruk antara ukuran
keuangan dengan non keuangan karena tidak ada jaminan
bahwa profitabilitas masa depan mengikuti pencapaian
target non keuangan. Oleh sebab itu perlu dikembangkan
ukuran-ukuran yang mewakili kinerja masa depan.
Terpaku pada Hasil Keuangan . Bukan hanya manajer senior
yang terlatih dan terbiasa dengan ukuran keuangan, tetapi
mereka juga mendapatkan tekanan tentang kinerja
keuangan perusahaan. Akibatnya tekanan ini akan
mengurangi perhatian terhadap ukuran non keuangan dalam
jangka waktu panjang. Atas kinerja kuangan ini diberikan
insentif, sehingga manajer lebih peduli terhadap ukuran
keuangan dari pada yang lainnya.
Ukuran-ukuran tidak diperbarui. Banyak perusahaan tidak
punya mekanisme formal untuk memperbaharui ukuranukuran tersebut agar selaras dengan perubahan strateginya.
Yang terjadi ukuran-ukuran strategi yang lalu tetap
digunakan sehingga
menimbulkan kemalasan.
12
Kesulitan/kelemahan BSC
(lanjutan)
d. Terlalu banyak pengukuran  Berapa banyak
ukuran penting yang dapat diikuti seorang manajer
dalam waktu yang sama?, jika terlalu banyak ukuran
maka resikonya adalah manajer kehilangan fokus
karena pada waktu yang sama banyak hal hal
dilakukan.
e. Kesulitan menerapkan trade-off  Beberapa
perusahaan
menggabungkan ukuran keuangan
dan non keuangan kemudian
diberi bobot, jika
tidak demikian maka sulit untuk melakukan
trade
off.

13
KOMPENSASI MANAJEMEN
(PEMBERIAN INSENTIF KEPADA MANAJEMEN)

14
KOMPENSASI MANAJEMEN
(PEMBERIAN INSENTIF KEPADA MANAJEMEN)
Latar Belakang
•
Kebutuhan kepuasan individu seseorang sangat dipengaruhi oleh
insentif yang positif (pemberian penghargaan) atau yang negatif
(hukuman).
•
Pemberian penghargaan akan merangsang kepuasan kebutuhan
seseorang pada saat bergabung pada organisasi tersebut.
•
Hasil penelitian pemberian insentif cenderung:
1. Individu termotivasi oleh suatu penghargaan pendapatan
potensial dari pada suatu rasa takut akan adanya hukuman.
2. Penghargaan pribadi bersifat relatif dan situasional.
3. Sinyal-sinyal atau tindakan dari Manajemen Senior kepada level
di bawahnya sangat mendorong pentingnya SPM.
4. Individu sangat termotivasi dengan adanya laporan atau umpan
balik atas kinerjanya.
5. Insentif tidak efektif jika periode antara tindakan pemberian
insentif dan umpan balik semakin panjang.
6. Motivasi mereka menjadi lemah apabila mereka merasa bahwa
untuk memperoleh insentif terlalu sulit atau terlalu mudah.
7. Insentif harus disusun bersama-sama dengan atasannya pada
saat menetapkan suatu tujuan dan anggaran.
15
KARAKTERISTIK RENCANA PEMBERIAN INSENTIF
(KOMPENSASI) KEPADA MANAJEMEN
Paket pemberian paket insentif secara total kepada manajemen terdiri dari
3 (tiga) komponen, yaitu :
1. Gaji
Saling mempunyai
2. Tunjangan Pensiun dan Kesehatan
ketergantungan, dan
3. Kompensasi atau Insentif
proporsinya berbeda
Paket tersebut diatas yang diberikan kepada Manajemen pada perusahaan
yang besar dan kecil berbeda, terutama perusahaan pada industri yang
sama akan bersaing  Manajer Garuda dengan Manajer Batavia.
Peraturan pasar modal dan perusahaan mengharuskan agar rencana
kompensasi atau revisinya harus disetujui oleh Pemegang Saham 
melalui DEKOM sebelumnya baru ke RUPS.
Rencana pemberian insentif (kompensasi) kepada Manajemen terdiri dari 2
(dua) macam, yaitu
1. Rencana Insentif (Kompensasi) Jangka Pendek  ini diberikan
dengan mempertimbangkan pencapaian kinerja dalam tahun berjalan,
yang diterima dalam bentuk :
a. Bonus Pool  diberikan berdasarkan rumusan profitabilitas
perusahaan secara keseluruhan, kemudian ditetapkan
%tasenya
terhadap total laba atau per lembar
saham. Hal ini tidak
mempertimbangkan
peningkatan investasi yang berakibat
terhadap laba
tahun berjalan, tetapi sudah mempertimbangkan
hak dari pemegang saham. Metodenya :
16
KARAKTERISTIK RENCANA PEMBERIAN INSENTIF
(KOMPENSASI) KEPADA MANAJEMEN
1.

a.

1)

Formula bonus yang paling sederhana , dengan %tase
tertentu terhadap laba bersih :
Dana Bonus = X % x Laba Bersih.
2) Prosentase tertentu dari laba pada tingkat laba minimum
dapat dicapai :
Dana Bonus = X% x (Laba Bersih – Total EPS Minimum)
3) Metode lain menghubungkan laba dengan modal yang
digunakan  Bonus = %tase laba sebelum pajak dan
bunga
atas hutang jangka panjang –{beban modal
atas (total
kekayaan pemegang saham + hutang
jangka panjang)}.
4) Sama dengan metode ke 3, tetapi ditekankan pada
pengertian modal = kekayaan pemegang saham.
5) Bonus diberikan berdasarkan %tase kenaikan laba
dibandingkan laba yang sebelumnya.
6) Bonus diberikan berdasarkan kemampuan memperoleh laba
relatif dibandingkan dengan kemampuan rata-rata laba
industri.
b. Carryover  adalah rencana insentif jangka pendek dengan
pengaturan agar setiap tahun dapat dibagi bonus, caranya
membentuk rekening khusus sehingga dapat ditentukan
berapa
bonus yang dapat ditambahkan pada dana bonus
(carryover) dan
berapa banyak yang 17
dapat digunakan
jika kegiatannya terlalu
rendah.
KARAKTERISTIK RENCANA PEMBERIAN INSENTIF
(KOMPENSASI) KEPADA MANAJEMEN
1.

2.

c.

Kompensasi yang ditunda  jumlah bonus dihitung setiap tahun
dan pembayarannya bisa saja dilakukan beberapa kali sepanjang
periode tertentu, contoh : pada tahun I pegawai hanya menerima
20%, dan tahun ke II 20% kemudian tahun III 20% dan seterusnya.
Rencana Insentif (Kompensasi) Jangka Panjang  ini diberikan
dengan mempertimbangkan pertumbuhan nilai saham perusahaan di
pasar modal, karena menunjukkan prestasi perusahaan dalam jangka
panjang. Tipe insentif ini meliputi :
a. Stock Options (opsi saham)  bonus dalam bentuk hak membeli
sejumlah saham di masa depan dengan harga yang disetujui
pada saat opsi dilakukan, ini biasanya dibawah harga pasar
saham pada saat itu.
b. Phantom Stock (saham fantom)  memberikan saham sebagai
penghargaan kepada Manajer untuk tujuan pembukuan atau
secara akuntansi saja, karena tidak mempunyai biaya transasksi.
c. Stock Appreciation Right (hak apresiasi saham)  merupakan
hak menerima pembayaran kas berhubung kenaikan nilai saham
sejak saat pemberian hadiah hingga periode yang ditentukan
dimasa yang akan datang.

18
KARAKTERISTIK RENCANA PEMBERIAN INSENTIF
(KOMPENSASI) KEPADA MANAJEMEN
2.

d.

e.

Performance Shares (Saham Kinerja)  pemberian sejumlah
saham karena kinerja jangka panjang telah tercapai, biasanya
%tase dari pertumbuhan laba per lembar saham pada periode 3
s/d 5 tahun.
Performance Units (Unit Kinerja)  penghargaan kinerja berupa
uang atas tercapainya target tertentu jangka panjang, ini
merupakan gabungan antara stock Appreciation Right dan
Performance Shares.

19
FILOSOFI PEMBERIAN INSENTIF (KOMPENSASI) KEPADA
MANAJER UNIT BISNIS
PEMBAYARAN TETAP
Merekrut orang yang baik
Membayar mereka dengan baik
Mengharapkan kinerja yang baik

PEMBAYARAN BERDASARKAN KINERJA
Merekrut orang yang baik
Mengharapkan kinerja yang baik
Membayar mereka dengan baik jika
kinerja benar-benar baik

20
PEMBERIAN INSENTIF (KOMPENSASI) KEPADA
MANAJER UNIT BISNIS
Ada beberapa pilihan paket kompensasi yang dapat diberikan kepada
Manajer Unit Bisnis, ini meliputi :
1. Jenis Insentif (Kompensasi)
a. Penghargaan keuangan, yang terdiri dari :
1) Peningkatan Gaji
2) Bonus
3) Manfaat
4) Fasilitas
b. Penghargaan sosial dan psikologi, yang terdiri dari :
1) Kemungkinan promosi
2) Peningkatan tanggungjawab
3) Peningkatan otonomi
4) Menempatkan pada wilayah geografis yang lebih baik
5) Pengakuan
2. Ukuran Relatif Bonus terhadap Gaji
a. Batas atas
b. Batas bawah
21
PEMBERIAN INSENTIF (KOMPENSASI) KEPADA
MANAJER UNIT BISNIS
3.

4.

Bonus didasarkan kepada :
a. Laba unit usaha
b. Laba perusahaan
c. Kombinasi laba unit usaha dan laba perusahaan
Kriteria Kinerja, ini terdiri dari :
a. Kriteria Keuangan, yang meliputi :
1) Kontribusi margin
2) Laba langsung unit usaha
3) Laba unit usaha yang bisa dikendalikan
4) Laba usaha sebelum pajak
5) Laba bersih
6) Tingkat pengembalian investasi (ROI)
7) EVA (Residual Income)
b. Periode Waktu :
1) Kinerja keuangan tahunan
2) Kinerja keuangan multi tahun
22
PEMBERIAN INSENTIF (KOMPENSASI) KEPADA
MANAJER UNIT BISNIS
4.

5.

6.

c.

Bobot Relatif yang diberikan berdasarkan kriteria keuangan
dan non keuangan
d. Tolok ukur (pengukur perbandingan :
1) Anggaran Laba
2) Kinerja masa lalu
3) Kinerja pesaing
Pendekatan Penentuan Bonus, yang terdiri dari :
a. Berdasarkan rumus
b. Subyektif
c. Kombinasi (gabungan) berdasarkan rumus dan subyektif
Bentuk Pembayaran Bonus, yang terdiri dari :
a. Tunai
b. Saham
c. Opsi Saham
d. Saham Fantom
e. Saham Kinerja
23
HUBUNGAN KEAGENAN (PRINCIPLE-AGENT) DAN
INSENTIF (KOMPENSASI) KEPADA MANAJEMEN
•

Pemberian insentif (kompensasi) tidak terlepas (erat sekali)
dengan paradigma hubungan antara principle-agent.
•
Konsep Agency Theory (teori keagenan) adalah hubungan antara
prinsipal (principle) yang menyewa pihak lain yaitu (agent) untuk
melaksanakan pekerjaan jasa.
•
Untuk melaksanakan pekerjaan jasa tersebut Prinsipal
mendelegasikan otoritas pembuatan keputusannya kepada Agen.
•
Bentuk hubungan keagenan terdiri dari :
1. Ada kesepakatan antara Prinsipal secara Eksternal (Pemilik
Perusahaan/ Pemegang Saham suatu perusahaan)
menyewa
CEO untuk menjadi Agen mereka untuk
mengelola
perusahaan dengan menjaga kepentingan
terbaik perusahaan.
2. Ada kesepakatan antara Prinsipal secara Internal (CEO)
menyewa Manajer pada suatu Unit Bisnis atau Divisi
sebagai
Agen, untuk mengelola suatu unit organisasi yang
telah
didesentralisasi dengan harapan dapat memotivasi
Agen agar
produktif sama halnya jika ia sebagai pemilik
24
PT. X telah memutuskan untuk mengadopsi rencana
insentif jangka pendek dengan menggunakan
kompensasi yang ditunda kepada semua anggota
perusahaan. Menurut ketentuan, bonus tertentu akan
di-spread (disebar) selama 4 tahun. Perusahaan baru
berdiri pada tahun 2001 tetapi mengalami kerugian
sebesar Rp. 100 juta, sehingga pada tahun 1 tidak
diberikan bonus. Baru pada tahun 2002 bonus ditentukan sebesar 25% dari laba bersih. Informasi perolehan laba perusahaan sejak tahun 2002 s/d 2005
adalah sebagai berikut: 2002 laba Rp. 250 juta, 2003
laba Rp. 300 juta, dan 2004 laba Rp. 200 juta serta
2005 laba Rp. 500 juta. Saudara diminta menghitung
bonus yang dibagikan oleh perusahaan kepada
anggota perusahaan sejak tahun 2001 s/d 2005.
Pendisitribusian bonus tersebut kelemahannya apa
dan bagaimana akibatnya terhadap pegawai
25
perusahaan.

Pengukuran kinerja

  • 1.
  • 2.
    Exhibit 2-1 The formalControl Process Goals and strategies Strategic planning Responsibility center performance Other information Rules Budgeting Report actual versus plan Was performance satisfactory? Yes No Revise Revise Corrective action Measurement Feedback Communication 2
  • 3.
    KINERJA ORGANISASI •Kinerja disebutjuga sebagai performance atau performansi yang artinya adalah pencapaian suatu target (keberhasilan) dari sesuatu yang direncanakan di dalam organisasi, •Kinerja ini harus dinilai secara formal dengan mengunakan ukuran-ukuran dari suatu sistem pengukuran kinerja. KINERJA ORGANISASI TERDIRI DARI : 1. KINERJA KEUANGAN Adalah kinerja (keberhasilan) yang dinilai berdasarkan ukuranukuran angka dalam satuan nilai uang, dengan cara membandingkan realisasi keuangan berdasarkan anggarannya, disebut tradisional karena tidak ada keharusan melakukan inovasi contoh : a. Pencapaian laba. b. Ketersediaan kas. d. Dan sebagainya. 2. KINERJA NON KEUANGAN Adalah kinerja (keberhasilan) yang dinilai tidak berdasarkan ukuran-ukuran angka dalam satuan nilai uang, contoh : a. Kehadiran pegawai. b. Kualitas produk. c. Kepadatan telepon (telephone density). d. Dan lain sebagainya. 3
  • 4.
    KERANGKA RANCANGAN SISTEM PENGUKURANKINERJA Apa yang penting diukur Apa yang diberi imbalan benar-benar penting Apa yang diukur diselesaikan STRATEGI Apa yang diselesaikan diberi imbalan KERANGKA RANCANGAN SUATU SISTEM PENGUKURAN KINERJA 4
  • 5.
    Manfaat Pengukuran Kinerja 1.Mengelola operasi organisasi secara efektif dan efisien melalui pemotivasian personel secara maksimum. 2. Membantu pengambilan keputusan yang berkaitan dengan penghargaan personel, seperti : promosi, transfer, dan pemberhentian. 3. Mengidentifikasi kebutuhan pelatihan dan pengembangan personel dan untuk menyediakan kriteria seleksi dan evaluasi program pelatihan personel. 4. Menyediakan suatu dasar untuk mendistribusikan penghargaan. 5
  • 6.
    SISTEM PENGUKURAN KINERJA SISTEMPENGUKURAN KINERJA dapat diselenggarakan berdasarkan berbagai faktor/ukuran. Ukuran-ukuran yang dapat dipergunakan adalah faktor-faktor sukses penting (critical success factors) baik pada masa kini maupun yang akan datang, yang terdiri dari : 1. Ukuran Kesuksesan Keuangan Perusahaan, misalnya tingkat pengembalian yang optimal bagi pemegang saham melalui pencapaian laba. Namun, hal ini ada kelemahannya sehingga tidak bisa untuk memastikan bahwa strategi akan dilaksanakan dengan sukses, yaitu : a. Hanya mementingkan target laba jangka pendek tanpa memperhatikan kepentingan perusahaan jangka panjang, mis : melalui pengiriman produk yang kualitasnya rendah kepada pelanggan. b. Manajer unit bisnis tidak mengambil tindakan yang berguna untuk jangka panjang, mis. : tidak melakukan investasi karena akan berakibat pada jangka pendek mengurangi laba. 6
  • 7.
    SISTEM PENGUKURAN KINERJA 1.c. Menggunakan laba jangka pendek sebagai satu-satunya tujuan, sehingga terjadi distorsi komunikasi dengan Manajer Senior yang berakibat menetapkan target yang mudah dicapai saja. d. Pengendalian keuangan yang ketat dapat memotivasi Manajer untuk memanipulasi data dengan berbagai tindakan, mis. : memilih metode akuntansi tertentu atau menyediakan informasi yang tidak akurat. 2. Menilai kesuksesan organisasi melalui pengukuran kinerja ibaratnya melihat panel instrument pada dash board mobil yang mempunyai berbagai indikator operasi, sehingga diperlukan juga adanya ukuran kinerja non keuangan. 7
  • 8.
    Balance Score Card • BalanceScore Card merupakan salah satu model pengukuran kinerja gabungan antara ukuran kinerja keuangan dan non keuangan. Oleh sebab itu unit bisnis harus diberi cita-cita dan diukur dari 4 (empat) perspektif, yaitu : – – – – • Keuangan, contoh : margin laba, ROA, arus kas, dll. Pelanggan, contoh : pangsa pasar, indeks kepuasan pelanggan (CSI). Bisnis internal, contoh : retensi karyawan, pengurangan waktu siklus. Inovasi dan pembelajaran, contoh : persentase penjualan produk baru. BSC bertujuan untuk memelihara keseimbangan antara ukuran-ukuran strategis yang berbeda dengan pencapaian cita-cita untuk mendorong karyawan agar bertindak sesuai kepentingan terbaik organisasi 8
  • 9.
    SISTEM PENGUKURAN KINERJA HUBUNGANSEBAB AKIBAT ANTARA UKURAN PERSPEKTIF CONTOH UKURAN PERSPEKTIF INOVASI DAN PEMBELAJARAN PERSPEKTIF BISNIS INTERNAL KETRAMPILAN MANUFAKTUR WAKTU SIKLUS PESANAN PERSPEKTIF KONSUMEN KEPUASAN PELANGGAN PERSPEKTIF KEUANGAN PERTUMBUHAN PENDAPATAN PENJUALAN 9
  • 10.
    FAKTOR KUNCI KEBERHASILAN FaktorKunci Keberhasilan  ini meliputi beberapa ukuran “non keuangan” atau juga disebut “faktor kunci keberhasilan”, terdiri dari : a. Variabel Kunci yang Berfokus Pada Pelanggan 1) Pemesanan 2) Pesanan tertunda 3) Pangsa pasar 4) Kepuasan pelanggan 5) Retensi pelanggan 6) Loyalitas pelanggan b. Varibel Kunci yang Berkaitan dengan Proses Bisnis Internal 1) Utilisasi kapasitas 2) Pengiriman tepat waktu 3) Perputaran persediaan 4) Kualitas 5) Waktu siklus, rumusnya = Waktu Pemrosesan + Waktu Penyimpanan + Waktu Pemindahan + Waktu Inspeksi 10
  • 11.
    IMPLEMENTASI SISTEM PENGUKURAN KINERJA ImplementasiSistem Pengukuran Kinerja meliputi 4 (empat) langkah yaitu : a. Mendifinisikan strategi  kemudian didifiniskan scorecard agar cita-cita organisasi dinyatakan secara eksplisit dan targetnya telah ditetapkan. Departemen fungsional pada suatu unit bisnis perlu memiliki scorecard tersendiri dan diselaraskan dengan unit dibawahnya. b. MendifinisIkan ukuran-ukuran strategi  organisasi harus mengembangkan ukuran-ukuran strategi, tetapi harus fokus pada yang penting-penting saja, sehingga manajemen tidak melihat banyak indikator pada dashboard organisasi, tetapi harus dilihat ukuran sebab-akibatnya. c. Mengintegrasikan Ukuran Strategi ke Dalam Sistem Manajemen  scorecard harus diintegrasikan dengan struktur formal dan non formal dari organisasi, budaya dan praktek sumber daya manusia. d. Meninjau Ukuran Strategi dan Hasilnya secara Berkala  scorecard harus ditinjau secara konsisten dan terus menerus oleh Manajemen Senior, hal ini meliputi : 11
  • 12.
    Kesulitan/kelemahan BSC a. b. c. Kadang-kala terdapatkorelasi yang buruk antara ukuran keuangan dengan non keuangan karena tidak ada jaminan bahwa profitabilitas masa depan mengikuti pencapaian target non keuangan. Oleh sebab itu perlu dikembangkan ukuran-ukuran yang mewakili kinerja masa depan. Terpaku pada Hasil Keuangan . Bukan hanya manajer senior yang terlatih dan terbiasa dengan ukuran keuangan, tetapi mereka juga mendapatkan tekanan tentang kinerja keuangan perusahaan. Akibatnya tekanan ini akan mengurangi perhatian terhadap ukuran non keuangan dalam jangka waktu panjang. Atas kinerja kuangan ini diberikan insentif, sehingga manajer lebih peduli terhadap ukuran keuangan dari pada yang lainnya. Ukuran-ukuran tidak diperbarui. Banyak perusahaan tidak punya mekanisme formal untuk memperbaharui ukuranukuran tersebut agar selaras dengan perubahan strateginya. Yang terjadi ukuran-ukuran strategi yang lalu tetap digunakan sehingga menimbulkan kemalasan. 12
  • 13.
    Kesulitan/kelemahan BSC (lanjutan) d. Terlalubanyak pengukuran  Berapa banyak ukuran penting yang dapat diikuti seorang manajer dalam waktu yang sama?, jika terlalu banyak ukuran maka resikonya adalah manajer kehilangan fokus karena pada waktu yang sama banyak hal hal dilakukan. e. Kesulitan menerapkan trade-off  Beberapa perusahaan menggabungkan ukuran keuangan dan non keuangan kemudian diberi bobot, jika tidak demikian maka sulit untuk melakukan trade off. 13
  • 14.
  • 15.
    KOMPENSASI MANAJEMEN (PEMBERIAN INSENTIFKEPADA MANAJEMEN) Latar Belakang • Kebutuhan kepuasan individu seseorang sangat dipengaruhi oleh insentif yang positif (pemberian penghargaan) atau yang negatif (hukuman). • Pemberian penghargaan akan merangsang kepuasan kebutuhan seseorang pada saat bergabung pada organisasi tersebut. • Hasil penelitian pemberian insentif cenderung: 1. Individu termotivasi oleh suatu penghargaan pendapatan potensial dari pada suatu rasa takut akan adanya hukuman. 2. Penghargaan pribadi bersifat relatif dan situasional. 3. Sinyal-sinyal atau tindakan dari Manajemen Senior kepada level di bawahnya sangat mendorong pentingnya SPM. 4. Individu sangat termotivasi dengan adanya laporan atau umpan balik atas kinerjanya. 5. Insentif tidak efektif jika periode antara tindakan pemberian insentif dan umpan balik semakin panjang. 6. Motivasi mereka menjadi lemah apabila mereka merasa bahwa untuk memperoleh insentif terlalu sulit atau terlalu mudah. 7. Insentif harus disusun bersama-sama dengan atasannya pada saat menetapkan suatu tujuan dan anggaran. 15
  • 16.
    KARAKTERISTIK RENCANA PEMBERIANINSENTIF (KOMPENSASI) KEPADA MANAJEMEN Paket pemberian paket insentif secara total kepada manajemen terdiri dari 3 (tiga) komponen, yaitu : 1. Gaji Saling mempunyai 2. Tunjangan Pensiun dan Kesehatan ketergantungan, dan 3. Kompensasi atau Insentif proporsinya berbeda Paket tersebut diatas yang diberikan kepada Manajemen pada perusahaan yang besar dan kecil berbeda, terutama perusahaan pada industri yang sama akan bersaing  Manajer Garuda dengan Manajer Batavia. Peraturan pasar modal dan perusahaan mengharuskan agar rencana kompensasi atau revisinya harus disetujui oleh Pemegang Saham  melalui DEKOM sebelumnya baru ke RUPS. Rencana pemberian insentif (kompensasi) kepada Manajemen terdiri dari 2 (dua) macam, yaitu 1. Rencana Insentif (Kompensasi) Jangka Pendek  ini diberikan dengan mempertimbangkan pencapaian kinerja dalam tahun berjalan, yang diterima dalam bentuk : a. Bonus Pool  diberikan berdasarkan rumusan profitabilitas perusahaan secara keseluruhan, kemudian ditetapkan %tasenya terhadap total laba atau per lembar saham. Hal ini tidak mempertimbangkan peningkatan investasi yang berakibat terhadap laba tahun berjalan, tetapi sudah mempertimbangkan hak dari pemegang saham. Metodenya : 16
  • 17.
    KARAKTERISTIK RENCANA PEMBERIANINSENTIF (KOMPENSASI) KEPADA MANAJEMEN 1. a. 1) Formula bonus yang paling sederhana , dengan %tase tertentu terhadap laba bersih : Dana Bonus = X % x Laba Bersih. 2) Prosentase tertentu dari laba pada tingkat laba minimum dapat dicapai : Dana Bonus = X% x (Laba Bersih – Total EPS Minimum) 3) Metode lain menghubungkan laba dengan modal yang digunakan  Bonus = %tase laba sebelum pajak dan bunga atas hutang jangka panjang –{beban modal atas (total kekayaan pemegang saham + hutang jangka panjang)}. 4) Sama dengan metode ke 3, tetapi ditekankan pada pengertian modal = kekayaan pemegang saham. 5) Bonus diberikan berdasarkan %tase kenaikan laba dibandingkan laba yang sebelumnya. 6) Bonus diberikan berdasarkan kemampuan memperoleh laba relatif dibandingkan dengan kemampuan rata-rata laba industri. b. Carryover  adalah rencana insentif jangka pendek dengan pengaturan agar setiap tahun dapat dibagi bonus, caranya membentuk rekening khusus sehingga dapat ditentukan berapa bonus yang dapat ditambahkan pada dana bonus (carryover) dan berapa banyak yang 17 dapat digunakan jika kegiatannya terlalu rendah.
  • 18.
    KARAKTERISTIK RENCANA PEMBERIANINSENTIF (KOMPENSASI) KEPADA MANAJEMEN 1. 2. c. Kompensasi yang ditunda  jumlah bonus dihitung setiap tahun dan pembayarannya bisa saja dilakukan beberapa kali sepanjang periode tertentu, contoh : pada tahun I pegawai hanya menerima 20%, dan tahun ke II 20% kemudian tahun III 20% dan seterusnya. Rencana Insentif (Kompensasi) Jangka Panjang  ini diberikan dengan mempertimbangkan pertumbuhan nilai saham perusahaan di pasar modal, karena menunjukkan prestasi perusahaan dalam jangka panjang. Tipe insentif ini meliputi : a. Stock Options (opsi saham)  bonus dalam bentuk hak membeli sejumlah saham di masa depan dengan harga yang disetujui pada saat opsi dilakukan, ini biasanya dibawah harga pasar saham pada saat itu. b. Phantom Stock (saham fantom)  memberikan saham sebagai penghargaan kepada Manajer untuk tujuan pembukuan atau secara akuntansi saja, karena tidak mempunyai biaya transasksi. c. Stock Appreciation Right (hak apresiasi saham)  merupakan hak menerima pembayaran kas berhubung kenaikan nilai saham sejak saat pemberian hadiah hingga periode yang ditentukan dimasa yang akan datang. 18
  • 19.
    KARAKTERISTIK RENCANA PEMBERIANINSENTIF (KOMPENSASI) KEPADA MANAJEMEN 2. d. e. Performance Shares (Saham Kinerja)  pemberian sejumlah saham karena kinerja jangka panjang telah tercapai, biasanya %tase dari pertumbuhan laba per lembar saham pada periode 3 s/d 5 tahun. Performance Units (Unit Kinerja)  penghargaan kinerja berupa uang atas tercapainya target tertentu jangka panjang, ini merupakan gabungan antara stock Appreciation Right dan Performance Shares. 19
  • 20.
    FILOSOFI PEMBERIAN INSENTIF(KOMPENSASI) KEPADA MANAJER UNIT BISNIS PEMBAYARAN TETAP Merekrut orang yang baik Membayar mereka dengan baik Mengharapkan kinerja yang baik PEMBAYARAN BERDASARKAN KINERJA Merekrut orang yang baik Mengharapkan kinerja yang baik Membayar mereka dengan baik jika kinerja benar-benar baik 20
  • 21.
    PEMBERIAN INSENTIF (KOMPENSASI)KEPADA MANAJER UNIT BISNIS Ada beberapa pilihan paket kompensasi yang dapat diberikan kepada Manajer Unit Bisnis, ini meliputi : 1. Jenis Insentif (Kompensasi) a. Penghargaan keuangan, yang terdiri dari : 1) Peningkatan Gaji 2) Bonus 3) Manfaat 4) Fasilitas b. Penghargaan sosial dan psikologi, yang terdiri dari : 1) Kemungkinan promosi 2) Peningkatan tanggungjawab 3) Peningkatan otonomi 4) Menempatkan pada wilayah geografis yang lebih baik 5) Pengakuan 2. Ukuran Relatif Bonus terhadap Gaji a. Batas atas b. Batas bawah 21
  • 22.
    PEMBERIAN INSENTIF (KOMPENSASI)KEPADA MANAJER UNIT BISNIS 3. 4. Bonus didasarkan kepada : a. Laba unit usaha b. Laba perusahaan c. Kombinasi laba unit usaha dan laba perusahaan Kriteria Kinerja, ini terdiri dari : a. Kriteria Keuangan, yang meliputi : 1) Kontribusi margin 2) Laba langsung unit usaha 3) Laba unit usaha yang bisa dikendalikan 4) Laba usaha sebelum pajak 5) Laba bersih 6) Tingkat pengembalian investasi (ROI) 7) EVA (Residual Income) b. Periode Waktu : 1) Kinerja keuangan tahunan 2) Kinerja keuangan multi tahun 22
  • 23.
    PEMBERIAN INSENTIF (KOMPENSASI)KEPADA MANAJER UNIT BISNIS 4. 5. 6. c. Bobot Relatif yang diberikan berdasarkan kriteria keuangan dan non keuangan d. Tolok ukur (pengukur perbandingan : 1) Anggaran Laba 2) Kinerja masa lalu 3) Kinerja pesaing Pendekatan Penentuan Bonus, yang terdiri dari : a. Berdasarkan rumus b. Subyektif c. Kombinasi (gabungan) berdasarkan rumus dan subyektif Bentuk Pembayaran Bonus, yang terdiri dari : a. Tunai b. Saham c. Opsi Saham d. Saham Fantom e. Saham Kinerja 23
  • 24.
    HUBUNGAN KEAGENAN (PRINCIPLE-AGENT)DAN INSENTIF (KOMPENSASI) KEPADA MANAJEMEN • Pemberian insentif (kompensasi) tidak terlepas (erat sekali) dengan paradigma hubungan antara principle-agent. • Konsep Agency Theory (teori keagenan) adalah hubungan antara prinsipal (principle) yang menyewa pihak lain yaitu (agent) untuk melaksanakan pekerjaan jasa. • Untuk melaksanakan pekerjaan jasa tersebut Prinsipal mendelegasikan otoritas pembuatan keputusannya kepada Agen. • Bentuk hubungan keagenan terdiri dari : 1. Ada kesepakatan antara Prinsipal secara Eksternal (Pemilik Perusahaan/ Pemegang Saham suatu perusahaan) menyewa CEO untuk menjadi Agen mereka untuk mengelola perusahaan dengan menjaga kepentingan terbaik perusahaan. 2. Ada kesepakatan antara Prinsipal secara Internal (CEO) menyewa Manajer pada suatu Unit Bisnis atau Divisi sebagai Agen, untuk mengelola suatu unit organisasi yang telah didesentralisasi dengan harapan dapat memotivasi Agen agar produktif sama halnya jika ia sebagai pemilik 24
  • 25.
    PT. X telahmemutuskan untuk mengadopsi rencana insentif jangka pendek dengan menggunakan kompensasi yang ditunda kepada semua anggota perusahaan. Menurut ketentuan, bonus tertentu akan di-spread (disebar) selama 4 tahun. Perusahaan baru berdiri pada tahun 2001 tetapi mengalami kerugian sebesar Rp. 100 juta, sehingga pada tahun 1 tidak diberikan bonus. Baru pada tahun 2002 bonus ditentukan sebesar 25% dari laba bersih. Informasi perolehan laba perusahaan sejak tahun 2002 s/d 2005 adalah sebagai berikut: 2002 laba Rp. 250 juta, 2003 laba Rp. 300 juta, dan 2004 laba Rp. 200 juta serta 2005 laba Rp. 500 juta. Saudara diminta menghitung bonus yang dibagikan oleh perusahaan kepada anggota perusahaan sejak tahun 2001 s/d 2005. Pendisitribusian bonus tersebut kelemahannya apa dan bagaimana akibatnya terhadap pegawai 25 perusahaan.