Assignment
Subject : Advanced Plant Breeding System (GPB903)
Presented by: Mr. Indranil Bhattacharjee
Student I.D. No.: 17PHGPB102
Presented to : Prof. (Dr.) S. Marker
Sam Higginbottom University of Agriculture, Technology &
Sciences
Allahabad-211007
Male Sterility
Male Sterility
•Male sterility is characterized by nonfunctional pollen
grains, while female gametes function normally.
•Inability to produce or to release viable or functional pollen
as a result of failure of formation or development of
functional stamens, microspores or gametes.
•Main reason is mutation.
Manifestations of Male Sterility
•Absence or malformation of male organs.
•Failure to develop normal microsporogenous tissue-
anther
•Abnormal microsporogenesis (deformed or inviable
pollen)
•Abnormal pollen maturation
•Non dehiscent anthers but viable pollen, sporophytic
control
•Barriers other than incompatibility preventing pollen
from reaching ovule
History of Male Sterility
•J.K. Koelreuter (1763) observed anther abortion within species
& species hybrids.
•Genic male sterility has been reported in cabbage (Rundfeldt
1960), cauliflower (Nieuwhof 1961)
•Male sterility systems have been also developed through
genetic engineering (Williams et al. 1997) and protoplast fusion
(Pelletier et al. 1995)
•Male sterility were artificially induced through mutagenesis
(Kaul 1988)
There are several forms of pollination control
•Manual emasculation
•Use of male sterility
•Use of self-incompatibility alleles
•Use of male gametocides
•Use of genetically engineered “pollen killer” genetic system
Why Male Sterility ???
•Reduced the cost of hybrid seed production.
•Production of large scale of F1 seeds.
•Avoids enormous manual work of emasculation and pollination.
•Speed up the hybridization programme.
•Commercial exploitation of hybrid vigour.
Modes of Creating Male Sterility
•Spontaneous mutations
•Interspecific hybridization
•Mutation induction (Ethidium Bromide)
•Genetic Engineering
•Chemically induced male sterility (CHAs)
Detection of Male Sterility system
Whether a particular sterile genotype belongs to which MS
system can be detected by its progeny performance on crossing
with a few normal genotypes.
•Trend-I- All progenies in all the rows may be sterile- CMS
•Trend-II- Some rows may consist all fertile Some rows sterile
and fertile in 1:1 ratio- GMS
•Trend-III- Some rows fertile. Some rows sterile and some rows
sterile and fertile in 1:1 ratio - CGMS
Classification of Male Sterility
Kaul (1988) Classified Male Sterility in three major groups
1. Phenotypic Male Sterility (Morphological)
I. Structural or Staminal Male Sterility
II. Pollen Male Sterility
III. Functional Male Sterility
2. Genotypic Male Sterility
I. Genetic Male Sterility (GMS)
II. Environmental Sensitive (EGMS)
a) Thermo sensitive genetic male sterility (TGMS)
b) Photoperiod sensitive genetic male sterility (PGMS)
III. Environmental non-sensitive
IV. Cytoplasmic Male Sterility (CMS)
V. Cytoplasmic Genetic Male Sterility (CGMS)
VI. Transgenic Male Sterility (TMS)
3. Chemically Induced Male Sterility (CHA)
Phenotypic Male Sterility
1. Pollen sterility: in which male sterile individuals differ from
normal only in the absence or extreme scarcity of functional
pollen grains (the most common and the only one that has
played a major role in plant breeding).
2. Structural or staminal male sterility: in which male flowers
or stamen are malformed and non functional or completely
absent.
3. Functional male sterility: in which perfectly good and
viable pollen is trapped in indehiscent anther and thus
prevented from functioning
Cytoplasmic Male Sterility (CMS)
•Determined by the cytoplasm (mitochondrial or chloroplast genes).
•Result of mutation in mitochondrial genome (mtDNA)- Mitochondrial
dysfunction.
•Progenies would always be male sterile since the cytoplasm comes
primarily from female gamete only.
•Nuclear genotype of male sterile line is almost identical to that of the
recurrent pollinator strain.
•Male fertile line (maintainer line or B line) is used to maintain the
male sterile line (A line).
•CMS is not influenced by environmental factors (temperature) so is
stable.
Utilization of CMS in Plant Breeding
•CMS can used in hybrid seed production of certain ornamental
species or in species where a vegetative part is of economic
value.
•But not for crop plants where seed is the economic part
because the hybrid progeny would be male sterile.
•This type of male sterility found in onion, fodder jowar,
cabbage etc.
Use of CMS lines
Transfer of CMS to new strains (Diversification)
Genetic Male Sterility (GMS)
Also called as nuclear male sterility.
•Mostly governed by single recessive gene (ms) but dominant gene
governing male sterility (safflower).
•Origin: Spontaneous mutation or artificial mutations (Gamma rays,
EMS) are common.
•‘ms’ alleles may affect staminal initiation, stamen or anther sac
development, PMC formation, meiosis, pollen formation,
maturation and dehiscence.
Types of GMS
•Environment insensitive GMS: ms gene expression is much less
affected by the environment.
•Environment sensitive GMS: ms gene expression occurs within
a specified range of temperature and /or photoperiod regimes
(Rice, Tomato, Wheat etc.).
1. TGMS: sterility is at particular temperature e.g. In rice TGMS
line (Pei- Ai645) at 23.30C (China).
a.TGMS at high temperature is due to failure of pairing of two
chromosomes at metaphase was evident.
b.This abnormality led to abnormal meiosis, abnormal or
sterile pollens.
c.Anthers were shriveled and non-dehiscence-Male sterile.
d.However, these lines produced normal fertile pollen at low
temp.
Sensitive period : PMC formation to Meiosis
2. PGMS: Governed by 2 recessive genes.
Sterility is obtained in long day conditions while in short days,
normal fertile plant.
Rice:- Sterile under Long day conditions (13 hr. 45 min + Temp.
23-290 C) but fertile under short day conditions.
Sensitive period: Differentiation of secondary rachis branches to
PMC formation
Inheritance & Maintenance Of Male Sterile Line
Nuclear male sterility and hybrid seed production
Cytoplasmic Genetic Male Sterility (CGMS)
•CGMS is also known as nucleoplasmic male sterility.
•Case of CMS, where a nuclear gene (R) for restoring fertility in
male sterile line is known.
•R (restorer gene) is generally dominant can be transferred from
related strains or species.
•This system is known in cotton, maize, jowar, bajra, sunflower,
cotton, rice and wheat etc.
Hybrid seed production using CGMS system
Transfer of Restorer gene ‘R’ to non restorer strain
Production of Double cross maize hybrids using
CGMS
Sources of CMS & Restorer genes in some Crops
Male Sterility based Hybrids in Important Crops
Limitations of Cytoplasmic-Genetic Male Sterility
•Undesirable effects of the cytoplasm
•Unsatisfactory fertility restoration
•Unsatisfactory pollination
•Spontaneous reversion
•Modifying genes
•Contribution of cytoplasm by male gamete
•Environmental effects
•Non availability of a suitable restorer line
Transgenic Male Sterility
•Recombinant DNA techniques for disturbing any or number of
developmental steps required for the production of functional
pollen within the microspore or for the development of any somatic
tissues supporting the microspores.
•Transgenes for male sterility are dominant to fertility.
•Also to develop effective fertility restoration system for hybrid seed
production.
•Example: Barnase/Barstar system
•Barnase is extracellular RNase; barstar is inhibitor of barnase
(Bacillus amyloliquefaciens)
•Plants with TA29 promoter-Barnase construct are male sterile
•Those with TA29-Barstar are not affected by the transgene
barnase.
•Barstar is dominant over the Barnase
•Fuse the barnase and barstar genes to TA29 promoter–TA29 is a
plant gene that has tapetum specific expression.
•Cross male sterile (barnase) with male fertile (barstar) to get
hybrid seed, which now has both barnase and barstar expressed
in tapetum and, hence, is fully fertile
Barnase/Barstar system (mechanism)
Hybrid seed production using Barnase/Barstar
system
Chemical Induced Male Sterility
•CHA is a chemical that induces artificial, non-genetic male sterility
in plants so that they can be effectively used as female parent in
hybrid seed production.
•Also called as Male gametocides, male sterilants, selective male
sterilants, pollen suppressants, pollenocide, androcide etc.
•The first report was given by Moore and Naylor (1950), they
induced male sterility in Maize using maleic hydrazide (MH).
Properties of an Ideal CHA
•Must be highly male or female selective.
•Should be easily applicable and economic in use.
•Time of application should be flexible.
•Must not be mutagenic.
•Must not be carried over in F1 seeds.
•Must consistently produce >95% male sterility.
•Must cause minimum reduction in seed set.
•Should not affect out crossing.
•Should not be hazardous to the environment
Some important CHAs
Hybrid Seed Production based on CHAs
Conditions required:-
1. Proper environmental conditions (Rain, Sunshine, temp, RH
etc.)
2. Synchronisation of flowering of Male & Female parents.
3. Effective chemical emasculation and cross pollination
4. CHA at precise stage and with recommended dose
5. GA3 spray to promote stigma exertion.
6. Supplementary pollination to maximise seed set
7. Avoid CHA spray on pollinator row.
Advantages of CHAs
•Any line can be used as female parent.
•Choice of parents is flexible.
•Rapid method of developing male sterile line.
•No need of maintaining A,B&R lines.
•Hybrid seed production is based on only 2 line system.
•Maintenance of parental line is possible by self pollination.
•CHA based F2 hybrids are fully fertile as compared to few
sterile hybrids in case of CMS or GMS.
Limitations of CHAs
•Expression and duration of CHA is stage specific.
•Sensitive to environmental conditions.
•Incomplete male sterility produce selfed seeds.
•Many CHAs are toxic to plants and animals.
•Possess carryover residual effects in F1 seeds.
•Interfere with cell division.
•Affect human health.
•Genotype, dose application stage specific.
Significance of male Sterility in Plant Breeding
•Male sterility a primary tool to avoid emasculation in
hybridization.
•Hybrid production requires a female plant in which no viable
pollens are borne. Inefficient emasculation may produce some self
fertile progenies.
•GMS is being exploited (Eg.USA-Castor, India-Arhar).
•CMS/ CGMS are routinely used in Hybrid seed production in corn,
sorghum, sunflower and sugarbeet, ornamental plants.
•Saves lot of time, money and labour.
Limitations in using Male Sterile line
•Existence and maintenance of A, B & R Lines is laborious and
difficult.
•If exotic lines are not suitable to our conditions, the
native/adaptive lines have to be converted into MS lines.
•Adequate cross pollination should be there between A and R
lines for good seed set.
•Synchronization of flowering should be there between A & R
lines.
•Fertility restoration should be complete otherwise the F1 seed
will be sterile Isolation is needed for maintenance of parental
lines and for producing hybrid seed.
Applications of Male Sterility in Hybrid Seed
Production
Male sterility system in Rice hybrid seed
production
Male sterility: a condition in which the pollen grain is unviable or cannot germinate
and fertilize normally to set seeds.
Male Sterility Systems (genetic and non-genetic):
• Cytoplasmic genetic male sterility (CMS)
Male sterility is controlled by the interaction of a genetic factor (S) present in
the cytoplasm and nuclear gene (s).
• Environment-sensitive genic male sterility (EGMS)
Male sterility system is controlled by nuclear gene expression, which is
influenced by environmental factors such as temperature (TGMS), daylength
(PGMS), or both (TPGMS).
• Chemically induced male sterility
Male sterility is induced by some chemicals (gametocides)
Two Commercial MS Systems for Hybrid Rice
TGMS and two-line hybrid
Advantage & Disadvantage of 2-line hybrid rice
system
Advantages
•Simplified procedure of hybrid seed production
•Multiple and diverse germplasm available as parents
1) Any line could be bred as female
2) 97% (2-line) vs 5% (3-line) of germplasm as male
•Increased chance of developing desirable & heterotic hybrids
•Multiple cytoplasm courses as female parents
Disadvantages
•Environmental effect on sterility could cause seed purity problem
Requirements for 3 Lines in CMS System
A-line
1) Stable Sterility
2) Well developed floral traits for outcrossing
3) Easily, wide-spectum, & strongly to be restored
B-line
1) Well developed floral traits with large pollen load
2) Good combining ability
R-line
1) Strong restore ability
2) Good combining ability
3) Taller than A-line
4) Large pollen load, normal flowering traits and timing
Advantage & Disadvantage of 3-line hybrid rice
system
Advantages
•Stable male sterility.
Disadvantages
•Limit germplasm source (CMS, Restorer)
•Dominant CMS cytoplasm in large area (WA)
•One more step for parental seed production
•Time consuming of CMS breeding
Male sterility system in Maize hybrid seed
production
Different ways of inducing male sterility in maize
I. Manual/mechanical emasculation (detasselling)
II. Genic male sterility
III. Cytoplasmic genetic male sterility
IV. Gametocides
1. Genetic Male sterility
Male sterility determined by single recessive gene 40 loci involved
have been identified (ms1 to ms52) ms5 –cloned
Problem : impossible to maintain male sterile inbred detasselling
required
2. Cytoplasmic Male sterility
A. CMS-T (Texas) (Rogers and Edwardson, 1952)
•Highly stable under all environmental conditions
•Characterized by failure of anther exertion and pollen abortion
•Susceptible to race T of the southern corn leaf blight -
(Cochliobolus heterostrophus = Bipolaris maydis)
•Widespread use of T-cytoplasm for hybrid corn production led to
epidemic in 1970 with the widespread rise of Race T.
•Toxin produced by C. heterostrophus = T-toxin.
•Fertility restoration is sporophytic
•Rf1 (chr. 3) & Rf2 (chr.9) are responsible for fertility restoration
T-urf13 gene in T cytoplasm maize
Mitochondrial gene T-urf13 is a unique chimeric sequence
Effect of URF13 protein-
•Degeneration of the tapetum during microsporogenesis
•Disruption of pollen development leading to male cell abortion
B. CMS-C (Charrua) (Beckett, 1971)
•Mutations in three genes viz atp6, atp 9 and cosII- confer CMS
phenotype
•Fertility restoration is Sporophytic
•Rf4, Rf5, Rf6 are responsible for fertility restoration
C. CMS-S (USDA) (Jones,1957)
•Sterility associated with orf355-orf77 chimeric mt gene
•Fertility restoration is Gametophytic
•Rf3 (chr. 2) are responsible for fertility restoration
•Plasmid like element S1 & S2
Reversion to fertility
The reversion of CMS strain to male fertility is based on genetic
change
•Reversion can be spontaneous or mutagen induced
•S-cytoplasm revert rather frequently to male fertility (than T & C).
Maize-CMS Restoration of fertility system: different classes of pollen grains are
produced, but not all of them are viable
Male sterility system in Bajra hybrid seed
production
Types of Hybrids
1) Single cross hybrid (A×B)
2) Double cross hybrid (A×B)×(C×D)
3) Three way cross Hybrid (A×B)×C
4) Top cross (C×OPV)
5) Hybrid blends
6) Inter-population hybrids
7) Chance hybrids
Hybrid seed production using CGMS
Depends on the cytoplasm that produce male sterility and gene
that restores the fertility.
Steps:
1. Multiplication of CMS (A) line
2. Multiplication of Maintainer (B) line and Restorer (R) line
3. Production of Hybrid seed (A×R)
Maintenace of A & B lines:
i. Grow A line and its corresponding B line together in an
isolated plots.
ii. Isolation distance for A×B production fields is at least 1000m.
iii. A ratio of 1A:1B row is maintained.
iv. Pollens produced by the B line fertilize the male sterile plant
(A) and seeds produced thus
v. Give rise to A line again.
Maintenance of R line:
•Pearl millet R line could be either an inbred line or an Open
pollinated variety which can be multiplied as variety.
•Seeds of R lines are produced by multiplying seeds in isolated
plots having distance 1000m.
•Any plant in the R line plot appearing different from true R type
should be uprooted or rogued out before anthesis.
•Purity of the parental seed is very important because it affects the
quality of the hybrid seeds that is generated.
Scheme of hybrid seed
production in pearl millet
Layout of hybrid seed
production plot
Identification of potential hybrid parents
(A,B and R lines)
•Potential male and female parents for hybrid seed production are
identified by crossing male fertile parent (Inbreds, variety,
germplasm, breeding stocks in advanced generations) to a male
sterile line (A line) and observing their corresponding hybrids in
small plots of an observation nursery.
•A few plants of each cross are subjected to the bagging test i.e.
covering the few panicles with the paper bags before anthesis and
observing the seed set under the bag after few weeks.
Crop Source of cytoplasm Drawbacks
Sorghum Combined kafir Black glumes and chalky endosperm
Male sterility system in Brassica hybrid seed
production
Cytoplasmic male-sterile
Stamen (anther and filament) and pollen grains are affected
It is divided into:
a. Autoplasmic
•Arisen within a species as a result of spontaneous mutational
changes in the cytoplasm, most likely in the mitochondrial genome
b. Alloplasmic
•Arisen from intergeneric, interpecific or occasionally intraspecific
crosses and where the male sterility can be interpreted as being due
to incompatibility or poor co-operation between nuclear genome of
one species and the organellar genome.
•Another CMS can be a result of interspecific protoplast fusion
Various CMS systems
1. Raphanus or ogu system
2. Polima or pol system
3. Shiga-Thompson or nap system
4. Diplotaxis muralis or mur system
5. Tournefortii (tour) system
6. Moricandia arvensis or mori system
7. Chinese juncea or jun system
17 systems are available, only difference is the use of male sterile
cytoplasmic sources differs for each system
1. Nap system– B.napuus cross b/w winter & spring var.
2. pol system – B.napus var polima
3. mur system--Diplotaxis muralis x B.campestris cv Yukina
4. tour system– B.juncea collections
Ogu system:-
First discovered in Japanese radish (Raphanus sativus) by Ogura,
1968
B.napus genome was transferred into the back round of R.sativus
(mst) through intergeneric crosses followed by back crossing with
B.napus.
CMS seedling under low temperature showed chlorosis , because
chloroplast of R.sativus is sensitive to cold, it is governed by cp-
DNA , but mst is governed by mt DNA.
Protoplast fusion of R.sativus with B.napus carried out to have
normal green plants with ogu CMS characterisitics
This system now has been used for developing alloplasmic male
sterile line in B.juncea and B.campestris.
Genetic Male Sterility
•GMS is governed by two genes either recessive or dominant
genes(Kaul,1988)
•One more dominant gene is associated with development of
male sterility in B.napus type by means of transgenic male
sterility
Chemical Male sterility
1. Enthrel – Brassica juncea
2. Zinc methy arsenate- B.napus
3. GA- B.oleracea var capitata
Development of Male sterile B. napus from R.
sativus
Development of Alloplasmic Male sterile Brassica
campestris
Male sterility system in Safflower hybrid seed
production
•Presently genetic male sterility (GMS), cytoplasmic male sterility
(CMS) and thermo sensitive genetic male sterility (TGMS) lines are
available in India.
•Development of agronomically superior genetic male-sterile lines in
safflower in India have resulted in the development and release of
spiny safflower hybrids DSH-129 and MKH-11 in 1997 and NARIH-15 in
2005, the first non-spiny hybrid safflower NARI-NH-1 in 2001.
Male sterility system in Sunflower hybrid seed
production
Genetic Male sterility (GMS)
A. Complete male sterility
ms1-ms5 = male sterility in sunflower recessive gene
Two types of g-mst
i. Type 1-gmst-Bloomington type
ii. Type 2-gmst-Modern type
Cultivated Sunflower variety Karlik-68(Dwarf 68)- two recessive
genes msi1,msi2 (Stable and complete male sterile)
B. Partial male sterility –p mst
Male sterility system in Cotton hybrid seed
production
All three types of male sterility occurs (g mst,c mst,gc mst) in cotton
Genetic Male Sterility (GMS):
1. Reported in upland, Egyptian and arboreum cottons.
2. In tetraploid cotton, male sterility is governed by both recessive and
dominant genes.
3. However, male sterility governed by recessive genes is used in
practical plant breeding
4. Sixteen different genes in tetraploid cottons (13 in G. hirsutum and 3
in G. barbadense) and two in G. arboreum have been identified for
genetic male sterility.
5. Sterility is conditioned by dominant alleles at five loci viz, MS4, MS7,
MS10, MS11 and MS12 by recessive allele at other loci viz. msl, ms2,
ms3, ms13, ms14 (Dong A), ms15 (Lang A) and ms16 (81 A).
6. G. hirsutum line Gregg (MS 399) from USA is the basic source of
GMS possessing ms5 ms6 gene for male sterility.
Genetic Male Sterility
CMS System
•In case of CMS, the originally discovered CMS sources involving G.
arboreum and G. anomalum cytoplasmic systems having interaction
with ms3 locus were not found effective or stable under different
environments.
•The only stable and dependable CMS source under varied
environment was developed through the utilization of G. harknessii.
The complete genome of G.hirsutum was transferred into the G.
harknessii cytoplasm.
•A single dominant gene ‘Rf’ from G.harknessii is essential for
fertility restoration.
•Fertility enhancer factor 'E' for this CMS restorer system was
obtained from a G.barbadense stock.
•The harknessii system is reported to contribute to good agronomic
properties and attraction to honey bees.
Sources of Male sterility in Cotton
Mutation
G. arboreum, the first spontaneous male sterility mutant was
identified in variety DS-5
Chemical based male sterility
•FW 450(Sodium B-Dichloro-iso-butyrate)
•MH-30 (Maleic hydrazide)
•Ethidium bromide
Male sterility based hybrid Production
•GMS system. CPH2 (Suguna), First hybrid based on GMS released
at CICR, RS, Coimbatore
•G. harknessii based cms with fertility restoration gene sources
were used in developing the hybrid CAHH 468 (PKV Hy-3).
Male sterility system in Potato hybrid seed
production
Inter-specific Hybridization
Chemical mutagens
Development of Male sterility
1. FW 450(Sodium B-Dichloro-iso-butyrate)
2. MH-30 (Maleic hydrazide)
3. Ethidium bromide
Genome transfer
S cytoplasm is in the genome of fr genes
Unreduced Gamete Production
S.tuberosum (2x) × S.tuberosum (4x)
Protoplast Fusion
S cytoplasm is retained
$Male sterility
$Male sterility
$Male sterility
$Male sterility
$Male sterility
$Male sterility
$Male sterility
$Male sterility
$Male sterility
$Male sterility
$Male sterility
$Male sterility
$Male sterility

$Male sterility

  • 1.
    Assignment Subject : AdvancedPlant Breeding System (GPB903) Presented by: Mr. Indranil Bhattacharjee Student I.D. No.: 17PHGPB102 Presented to : Prof. (Dr.) S. Marker Sam Higginbottom University of Agriculture, Technology & Sciences Allahabad-211007 Male Sterility
  • 2.
    Male Sterility •Male sterilityis characterized by nonfunctional pollen grains, while female gametes function normally. •Inability to produce or to release viable or functional pollen as a result of failure of formation or development of functional stamens, microspores or gametes. •Main reason is mutation.
  • 3.
    Manifestations of MaleSterility •Absence or malformation of male organs. •Failure to develop normal microsporogenous tissue- anther •Abnormal microsporogenesis (deformed or inviable pollen) •Abnormal pollen maturation •Non dehiscent anthers but viable pollen, sporophytic control •Barriers other than incompatibility preventing pollen from reaching ovule
  • 4.
    History of MaleSterility •J.K. Koelreuter (1763) observed anther abortion within species & species hybrids. •Genic male sterility has been reported in cabbage (Rundfeldt 1960), cauliflower (Nieuwhof 1961) •Male sterility systems have been also developed through genetic engineering (Williams et al. 1997) and protoplast fusion (Pelletier et al. 1995) •Male sterility were artificially induced through mutagenesis (Kaul 1988)
  • 5.
    There are severalforms of pollination control •Manual emasculation •Use of male sterility •Use of self-incompatibility alleles •Use of male gametocides •Use of genetically engineered “pollen killer” genetic system Why Male Sterility ??? •Reduced the cost of hybrid seed production. •Production of large scale of F1 seeds. •Avoids enormous manual work of emasculation and pollination. •Speed up the hybridization programme. •Commercial exploitation of hybrid vigour.
  • 6.
    Modes of CreatingMale Sterility •Spontaneous mutations •Interspecific hybridization •Mutation induction (Ethidium Bromide) •Genetic Engineering •Chemically induced male sterility (CHAs)
  • 7.
    Detection of MaleSterility system Whether a particular sterile genotype belongs to which MS system can be detected by its progeny performance on crossing with a few normal genotypes. •Trend-I- All progenies in all the rows may be sterile- CMS •Trend-II- Some rows may consist all fertile Some rows sterile and fertile in 1:1 ratio- GMS •Trend-III- Some rows fertile. Some rows sterile and some rows sterile and fertile in 1:1 ratio - CGMS
  • 8.
    Classification of MaleSterility Kaul (1988) Classified Male Sterility in three major groups 1. Phenotypic Male Sterility (Morphological) I. Structural or Staminal Male Sterility II. Pollen Male Sterility III. Functional Male Sterility 2. Genotypic Male Sterility I. Genetic Male Sterility (GMS) II. Environmental Sensitive (EGMS) a) Thermo sensitive genetic male sterility (TGMS) b) Photoperiod sensitive genetic male sterility (PGMS) III. Environmental non-sensitive IV. Cytoplasmic Male Sterility (CMS) V. Cytoplasmic Genetic Male Sterility (CGMS) VI. Transgenic Male Sterility (TMS) 3. Chemically Induced Male Sterility (CHA)
  • 9.
    Phenotypic Male Sterility 1.Pollen sterility: in which male sterile individuals differ from normal only in the absence or extreme scarcity of functional pollen grains (the most common and the only one that has played a major role in plant breeding). 2. Structural or staminal male sterility: in which male flowers or stamen are malformed and non functional or completely absent. 3. Functional male sterility: in which perfectly good and viable pollen is trapped in indehiscent anther and thus prevented from functioning
  • 10.
    Cytoplasmic Male Sterility(CMS) •Determined by the cytoplasm (mitochondrial or chloroplast genes). •Result of mutation in mitochondrial genome (mtDNA)- Mitochondrial dysfunction. •Progenies would always be male sterile since the cytoplasm comes primarily from female gamete only. •Nuclear genotype of male sterile line is almost identical to that of the recurrent pollinator strain. •Male fertile line (maintainer line or B line) is used to maintain the male sterile line (A line). •CMS is not influenced by environmental factors (temperature) so is stable.
  • 11.
    Utilization of CMSin Plant Breeding •CMS can used in hybrid seed production of certain ornamental species or in species where a vegetative part is of economic value. •But not for crop plants where seed is the economic part because the hybrid progeny would be male sterile. •This type of male sterility found in onion, fodder jowar, cabbage etc.
  • 12.
  • 13.
    Transfer of CMSto new strains (Diversification)
  • 14.
    Genetic Male Sterility(GMS) Also called as nuclear male sterility. •Mostly governed by single recessive gene (ms) but dominant gene governing male sterility (safflower). •Origin: Spontaneous mutation or artificial mutations (Gamma rays, EMS) are common. •‘ms’ alleles may affect staminal initiation, stamen or anther sac development, PMC formation, meiosis, pollen formation, maturation and dehiscence.
  • 15.
    Types of GMS •Environmentinsensitive GMS: ms gene expression is much less affected by the environment. •Environment sensitive GMS: ms gene expression occurs within a specified range of temperature and /or photoperiod regimes (Rice, Tomato, Wheat etc.). 1. TGMS: sterility is at particular temperature e.g. In rice TGMS line (Pei- Ai645) at 23.30C (China). a.TGMS at high temperature is due to failure of pairing of two chromosomes at metaphase was evident. b.This abnormality led to abnormal meiosis, abnormal or sterile pollens. c.Anthers were shriveled and non-dehiscence-Male sterile. d.However, these lines produced normal fertile pollen at low temp. Sensitive period : PMC formation to Meiosis
  • 16.
    2. PGMS: Governedby 2 recessive genes. Sterility is obtained in long day conditions while in short days, normal fertile plant. Rice:- Sterile under Long day conditions (13 hr. 45 min + Temp. 23-290 C) but fertile under short day conditions. Sensitive period: Differentiation of secondary rachis branches to PMC formation
  • 17.
    Inheritance & MaintenanceOf Male Sterile Line
  • 18.
    Nuclear male sterilityand hybrid seed production
  • 19.
    Cytoplasmic Genetic MaleSterility (CGMS) •CGMS is also known as nucleoplasmic male sterility. •Case of CMS, where a nuclear gene (R) for restoring fertility in male sterile line is known. •R (restorer gene) is generally dominant can be transferred from related strains or species. •This system is known in cotton, maize, jowar, bajra, sunflower, cotton, rice and wheat etc.
  • 20.
    Hybrid seed productionusing CGMS system
  • 21.
    Transfer of Restorergene ‘R’ to non restorer strain
  • 22.
    Production of Doublecross maize hybrids using CGMS
  • 23.
    Sources of CMS& Restorer genes in some Crops
  • 25.
    Male Sterility basedHybrids in Important Crops
  • 26.
    Limitations of Cytoplasmic-GeneticMale Sterility •Undesirable effects of the cytoplasm •Unsatisfactory fertility restoration •Unsatisfactory pollination •Spontaneous reversion •Modifying genes •Contribution of cytoplasm by male gamete •Environmental effects •Non availability of a suitable restorer line
  • 27.
    Transgenic Male Sterility •RecombinantDNA techniques for disturbing any or number of developmental steps required for the production of functional pollen within the microspore or for the development of any somatic tissues supporting the microspores. •Transgenes for male sterility are dominant to fertility. •Also to develop effective fertility restoration system for hybrid seed production. •Example: Barnase/Barstar system
  • 29.
    •Barnase is extracellularRNase; barstar is inhibitor of barnase (Bacillus amyloliquefaciens) •Plants with TA29 promoter-Barnase construct are male sterile •Those with TA29-Barstar are not affected by the transgene barnase. •Barstar is dominant over the Barnase •Fuse the barnase and barstar genes to TA29 promoter–TA29 is a plant gene that has tapetum specific expression. •Cross male sterile (barnase) with male fertile (barstar) to get hybrid seed, which now has both barnase and barstar expressed in tapetum and, hence, is fully fertile
  • 30.
  • 31.
    Hybrid seed productionusing Barnase/Barstar system
  • 32.
    Chemical Induced MaleSterility •CHA is a chemical that induces artificial, non-genetic male sterility in plants so that they can be effectively used as female parent in hybrid seed production. •Also called as Male gametocides, male sterilants, selective male sterilants, pollen suppressants, pollenocide, androcide etc. •The first report was given by Moore and Naylor (1950), they induced male sterility in Maize using maleic hydrazide (MH).
  • 33.
    Properties of anIdeal CHA •Must be highly male or female selective. •Should be easily applicable and economic in use. •Time of application should be flexible. •Must not be mutagenic. •Must not be carried over in F1 seeds. •Must consistently produce >95% male sterility. •Must cause minimum reduction in seed set. •Should not affect out crossing. •Should not be hazardous to the environment
  • 34.
  • 35.
    Hybrid Seed Productionbased on CHAs Conditions required:- 1. Proper environmental conditions (Rain, Sunshine, temp, RH etc.) 2. Synchronisation of flowering of Male & Female parents. 3. Effective chemical emasculation and cross pollination 4. CHA at precise stage and with recommended dose 5. GA3 spray to promote stigma exertion. 6. Supplementary pollination to maximise seed set 7. Avoid CHA spray on pollinator row.
  • 36.
    Advantages of CHAs •Anyline can be used as female parent. •Choice of parents is flexible. •Rapid method of developing male sterile line. •No need of maintaining A,B&R lines. •Hybrid seed production is based on only 2 line system. •Maintenance of parental line is possible by self pollination. •CHA based F2 hybrids are fully fertile as compared to few sterile hybrids in case of CMS or GMS.
  • 37.
    Limitations of CHAs •Expressionand duration of CHA is stage specific. •Sensitive to environmental conditions. •Incomplete male sterility produce selfed seeds. •Many CHAs are toxic to plants and animals. •Possess carryover residual effects in F1 seeds. •Interfere with cell division. •Affect human health. •Genotype, dose application stage specific.
  • 38.
    Significance of maleSterility in Plant Breeding •Male sterility a primary tool to avoid emasculation in hybridization. •Hybrid production requires a female plant in which no viable pollens are borne. Inefficient emasculation may produce some self fertile progenies. •GMS is being exploited (Eg.USA-Castor, India-Arhar). •CMS/ CGMS are routinely used in Hybrid seed production in corn, sorghum, sunflower and sugarbeet, ornamental plants. •Saves lot of time, money and labour.
  • 39.
    Limitations in usingMale Sterile line •Existence and maintenance of A, B & R Lines is laborious and difficult. •If exotic lines are not suitable to our conditions, the native/adaptive lines have to be converted into MS lines. •Adequate cross pollination should be there between A and R lines for good seed set. •Synchronization of flowering should be there between A & R lines. •Fertility restoration should be complete otherwise the F1 seed will be sterile Isolation is needed for maintenance of parental lines and for producing hybrid seed.
  • 40.
    Applications of MaleSterility in Hybrid Seed Production
  • 41.
    Male sterility systemin Rice hybrid seed production Male sterility: a condition in which the pollen grain is unviable or cannot germinate and fertilize normally to set seeds. Male Sterility Systems (genetic and non-genetic): • Cytoplasmic genetic male sterility (CMS) Male sterility is controlled by the interaction of a genetic factor (S) present in the cytoplasm and nuclear gene (s). • Environment-sensitive genic male sterility (EGMS) Male sterility system is controlled by nuclear gene expression, which is influenced by environmental factors such as temperature (TGMS), daylength (PGMS), or both (TPGMS). • Chemically induced male sterility Male sterility is induced by some chemicals (gametocides)
  • 43.
    Two Commercial MSSystems for Hybrid Rice
  • 45.
  • 46.
    Advantage & Disadvantageof 2-line hybrid rice system Advantages •Simplified procedure of hybrid seed production •Multiple and diverse germplasm available as parents 1) Any line could be bred as female 2) 97% (2-line) vs 5% (3-line) of germplasm as male •Increased chance of developing desirable & heterotic hybrids •Multiple cytoplasm courses as female parents Disadvantages •Environmental effect on sterility could cause seed purity problem
  • 47.
    Requirements for 3Lines in CMS System A-line 1) Stable Sterility 2) Well developed floral traits for outcrossing 3) Easily, wide-spectum, & strongly to be restored B-line 1) Well developed floral traits with large pollen load 2) Good combining ability R-line 1) Strong restore ability 2) Good combining ability 3) Taller than A-line 4) Large pollen load, normal flowering traits and timing
  • 49.
    Advantage & Disadvantageof 3-line hybrid rice system Advantages •Stable male sterility. Disadvantages •Limit germplasm source (CMS, Restorer) •Dominant CMS cytoplasm in large area (WA) •One more step for parental seed production •Time consuming of CMS breeding
  • 58.
    Male sterility systemin Maize hybrid seed production Different ways of inducing male sterility in maize I. Manual/mechanical emasculation (detasselling) II. Genic male sterility III. Cytoplasmic genetic male sterility IV. Gametocides 1. Genetic Male sterility Male sterility determined by single recessive gene 40 loci involved have been identified (ms1 to ms52) ms5 –cloned Problem : impossible to maintain male sterile inbred detasselling required
  • 59.
    2. Cytoplasmic Malesterility A. CMS-T (Texas) (Rogers and Edwardson, 1952) •Highly stable under all environmental conditions •Characterized by failure of anther exertion and pollen abortion •Susceptible to race T of the southern corn leaf blight - (Cochliobolus heterostrophus = Bipolaris maydis) •Widespread use of T-cytoplasm for hybrid corn production led to epidemic in 1970 with the widespread rise of Race T. •Toxin produced by C. heterostrophus = T-toxin. •Fertility restoration is sporophytic •Rf1 (chr. 3) & Rf2 (chr.9) are responsible for fertility restoration
  • 60.
    T-urf13 gene inT cytoplasm maize Mitochondrial gene T-urf13 is a unique chimeric sequence Effect of URF13 protein- •Degeneration of the tapetum during microsporogenesis •Disruption of pollen development leading to male cell abortion B. CMS-C (Charrua) (Beckett, 1971) •Mutations in three genes viz atp6, atp 9 and cosII- confer CMS phenotype •Fertility restoration is Sporophytic •Rf4, Rf5, Rf6 are responsible for fertility restoration C. CMS-S (USDA) (Jones,1957) •Sterility associated with orf355-orf77 chimeric mt gene •Fertility restoration is Gametophytic •Rf3 (chr. 2) are responsible for fertility restoration •Plasmid like element S1 & S2
  • 61.
    Reversion to fertility Thereversion of CMS strain to male fertility is based on genetic change •Reversion can be spontaneous or mutagen induced •S-cytoplasm revert rather frequently to male fertility (than T & C). Maize-CMS Restoration of fertility system: different classes of pollen grains are produced, but not all of them are viable
  • 69.
    Male sterility systemin Bajra hybrid seed production Types of Hybrids 1) Single cross hybrid (A×B) 2) Double cross hybrid (A×B)×(C×D) 3) Three way cross Hybrid (A×B)×C 4) Top cross (C×OPV) 5) Hybrid blends 6) Inter-population hybrids 7) Chance hybrids
  • 70.
    Hybrid seed productionusing CGMS Depends on the cytoplasm that produce male sterility and gene that restores the fertility. Steps: 1. Multiplication of CMS (A) line 2. Multiplication of Maintainer (B) line and Restorer (R) line 3. Production of Hybrid seed (A×R) Maintenace of A & B lines: i. Grow A line and its corresponding B line together in an isolated plots. ii. Isolation distance for A×B production fields is at least 1000m. iii. A ratio of 1A:1B row is maintained. iv. Pollens produced by the B line fertilize the male sterile plant (A) and seeds produced thus v. Give rise to A line again.
  • 71.
    Maintenance of Rline: •Pearl millet R line could be either an inbred line or an Open pollinated variety which can be multiplied as variety. •Seeds of R lines are produced by multiplying seeds in isolated plots having distance 1000m. •Any plant in the R line plot appearing different from true R type should be uprooted or rogued out before anthesis. •Purity of the parental seed is very important because it affects the quality of the hybrid seeds that is generated.
  • 72.
    Scheme of hybridseed production in pearl millet Layout of hybrid seed production plot
  • 73.
    Identification of potentialhybrid parents (A,B and R lines) •Potential male and female parents for hybrid seed production are identified by crossing male fertile parent (Inbreds, variety, germplasm, breeding stocks in advanced generations) to a male sterile line (A line) and observing their corresponding hybrids in small plots of an observation nursery. •A few plants of each cross are subjected to the bagging test i.e. covering the few panicles with the paper bags before anthesis and observing the seed set under the bag after few weeks.
  • 76.
    Crop Source ofcytoplasm Drawbacks Sorghum Combined kafir Black glumes and chalky endosperm
  • 77.
    Male sterility systemin Brassica hybrid seed production Cytoplasmic male-sterile Stamen (anther and filament) and pollen grains are affected It is divided into: a. Autoplasmic •Arisen within a species as a result of spontaneous mutational changes in the cytoplasm, most likely in the mitochondrial genome b. Alloplasmic •Arisen from intergeneric, interpecific or occasionally intraspecific crosses and where the male sterility can be interpreted as being due to incompatibility or poor co-operation between nuclear genome of one species and the organellar genome. •Another CMS can be a result of interspecific protoplast fusion
  • 78.
    Various CMS systems 1.Raphanus or ogu system 2. Polima or pol system 3. Shiga-Thompson or nap system 4. Diplotaxis muralis or mur system 5. Tournefortii (tour) system 6. Moricandia arvensis or mori system 7. Chinese juncea or jun system 17 systems are available, only difference is the use of male sterile cytoplasmic sources differs for each system 1. Nap system– B.napuus cross b/w winter & spring var. 2. pol system – B.napus var polima 3. mur system--Diplotaxis muralis x B.campestris cv Yukina 4. tour system– B.juncea collections
  • 79.
    Ogu system:- First discoveredin Japanese radish (Raphanus sativus) by Ogura, 1968 B.napus genome was transferred into the back round of R.sativus (mst) through intergeneric crosses followed by back crossing with B.napus. CMS seedling under low temperature showed chlorosis , because chloroplast of R.sativus is sensitive to cold, it is governed by cp- DNA , but mst is governed by mt DNA. Protoplast fusion of R.sativus with B.napus carried out to have normal green plants with ogu CMS characterisitics This system now has been used for developing alloplasmic male sterile line in B.juncea and B.campestris.
  • 80.
    Genetic Male Sterility •GMSis governed by two genes either recessive or dominant genes(Kaul,1988) •One more dominant gene is associated with development of male sterility in B.napus type by means of transgenic male sterility Chemical Male sterility 1. Enthrel – Brassica juncea 2. Zinc methy arsenate- B.napus 3. GA- B.oleracea var capitata
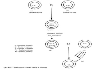
  • 81.
    Development of Malesterile B. napus from R. sativus
  • 83.
    Development of AlloplasmicMale sterile Brassica campestris
  • 91.
    Male sterility systemin Safflower hybrid seed production •Presently genetic male sterility (GMS), cytoplasmic male sterility (CMS) and thermo sensitive genetic male sterility (TGMS) lines are available in India. •Development of agronomically superior genetic male-sterile lines in safflower in India have resulted in the development and release of spiny safflower hybrids DSH-129 and MKH-11 in 1997 and NARIH-15 in 2005, the first non-spiny hybrid safflower NARI-NH-1 in 2001.
  • 92.
    Male sterility systemin Sunflower hybrid seed production Genetic Male sterility (GMS) A. Complete male sterility ms1-ms5 = male sterility in sunflower recessive gene Two types of g-mst i. Type 1-gmst-Bloomington type ii. Type 2-gmst-Modern type Cultivated Sunflower variety Karlik-68(Dwarf 68)- two recessive genes msi1,msi2 (Stable and complete male sterile) B. Partial male sterility –p mst
  • 99.
    Male sterility systemin Cotton hybrid seed production All three types of male sterility occurs (g mst,c mst,gc mst) in cotton Genetic Male Sterility (GMS): 1. Reported in upland, Egyptian and arboreum cottons. 2. In tetraploid cotton, male sterility is governed by both recessive and dominant genes. 3. However, male sterility governed by recessive genes is used in practical plant breeding 4. Sixteen different genes in tetraploid cottons (13 in G. hirsutum and 3 in G. barbadense) and two in G. arboreum have been identified for genetic male sterility. 5. Sterility is conditioned by dominant alleles at five loci viz, MS4, MS7, MS10, MS11 and MS12 by recessive allele at other loci viz. msl, ms2, ms3, ms13, ms14 (Dong A), ms15 (Lang A) and ms16 (81 A). 6. G. hirsutum line Gregg (MS 399) from USA is the basic source of GMS possessing ms5 ms6 gene for male sterility.
  • 100.
  • 102.
    CMS System •In caseof CMS, the originally discovered CMS sources involving G. arboreum and G. anomalum cytoplasmic systems having interaction with ms3 locus were not found effective or stable under different environments. •The only stable and dependable CMS source under varied environment was developed through the utilization of G. harknessii. The complete genome of G.hirsutum was transferred into the G. harknessii cytoplasm. •A single dominant gene ‘Rf’ from G.harknessii is essential for fertility restoration. •Fertility enhancer factor 'E' for this CMS restorer system was obtained from a G.barbadense stock. •The harknessii system is reported to contribute to good agronomic properties and attraction to honey bees.
  • 103.
    Sources of Malesterility in Cotton
  • 104.
    Mutation G. arboreum, thefirst spontaneous male sterility mutant was identified in variety DS-5 Chemical based male sterility •FW 450(Sodium B-Dichloro-iso-butyrate) •MH-30 (Maleic hydrazide) •Ethidium bromide Male sterility based hybrid Production •GMS system. CPH2 (Suguna), First hybrid based on GMS released at CICR, RS, Coimbatore •G. harknessii based cms with fertility restoration gene sources were used in developing the hybrid CAHH 468 (PKV Hy-3).
  • 108.
    Male sterility systemin Potato hybrid seed production Inter-specific Hybridization
  • 109.
    Chemical mutagens Development ofMale sterility 1. FW 450(Sodium B-Dichloro-iso-butyrate) 2. MH-30 (Maleic hydrazide) 3. Ethidium bromide Genome transfer S cytoplasm is in the genome of fr genes Unreduced Gamete Production S.tuberosum (2x) × S.tuberosum (4x) Protoplast Fusion S cytoplasm is retained