EEEC4340318 INSTRUMENTATION AND CONTROL SYSTEMS
System Models
FACULTY OF ENGINEERING AND COMPUTER TECHNOLOGY
DIPLOMA IN ELECTRICALAND ELECTRONIC ENGINEERING
Ravandran Muttiah BEng (Hons) MSc MIET
1
Differential Equation Models
• Most of the systems that we will deal with are dynamic
• Differential equations provide a powerful way to describe
dynamic systems
• Will form the basis of our models
• We saw differential equations for inductors and capacitors.
• What about mechanical systems?
both translational and rotational
2
Translational Spring
𝐹 𝑡 : resultant force in direction 𝑥
Recall free body diagrams and “action and reaction”
• Spring. 𝑘: spring constant, 𝐿r: relaxed length of spring
𝐹 𝑡 = 𝑘 𝑥2 𝑡 − 𝑥1 𝑡 − 𝐿r
𝑥 𝑥1 𝑡 𝑥2 𝑡
𝐹 𝑡
3
Translational Damper
𝐹 𝑡 : resultant force in direction 𝑥
• Viscous damper. 𝑏: viscous friction coefficient
𝐹 𝑡 = 𝑏
d𝑥2 𝑡
d𝑡
−
d𝑥1 𝑡
d𝑡
= 𝑏 𝑣2 𝑡 − 𝑣1 𝑡
𝑥 𝑥1 𝑡 𝑥2 𝑡
𝐹 𝑡
4
Mass
𝐹 𝑡 : resultant force in direction 𝑥
• Mass: 𝑀
𝐹 𝑡 = 𝑀
d2
𝑥m 𝑡
d𝑡2
= 𝑀
d𝑣m 𝑡
d𝑡
= 𝑀𝑎m 𝑡
𝑥
𝑥m 𝑡
𝐹 𝑡
5
Rotational Spring
𝑇 𝑡 : resultant force in direction 𝜃
• Rotational spring. 𝑘: rotational spring constant,
∅r: rotation of relaxed spring
𝑇 𝑡 = 𝑘 𝜃2 𝑡 − 𝜃1 𝑡 − ∅r
𝜃
𝜃1 𝑡 𝜃2 𝑡 𝑇 𝑡
6
Rotational Damper
𝑇 𝑡 : resultant torque in direction 𝜃
• Rotational viscous damper.
𝑏: rotational viscous friction coefficient
𝜃
𝜃1 𝑡 𝜃2 𝑡 𝑇 𝑡
𝑇 𝑡 = 𝑏
d𝜃2 𝑡
d𝑡
−
d𝜃1 𝑡
d𝑡
= 𝑏 𝜔2 𝑡 − 𝜔1 𝑡
7
Rotational Inertia
𝑇 𝑡 : resultant torque in direction 𝜃
• Rotational inertia: 𝐽
𝜃
𝜃m 𝑡 𝑇 𝑡
𝑇 𝑡 = 𝐽
d2
𝜃m 𝑡
d𝑡2
= 𝐽
d𝜔m 𝑡
d𝑡
= 𝐽𝛼m 𝑡
8
Translational
Horizontal. Origin for y: y = 0 when spring relaxed
𝐹 = 𝑀
d𝑣 𝑡
d𝑡
𝑣 𝑡 =
d𝑦 𝑡
d𝑡
𝐹 𝑡 = 𝑟 𝑡 − 𝑏
d𝑦 𝑡
d𝑡
− 𝑘𝑦 𝑡
𝑀
d2
𝑦 𝑡
d𝑡
+ 𝑏
d𝑦 𝑡
d𝑡
+ 𝑘𝑦 𝑡 = 𝑟 𝑡
Mass
𝑀
Wall
Friction, 𝑏
y
𝑘
𝑟 𝑡
Force
𝑀
𝑘𝑦
𝑏𝑦
𝑟 𝑡
y
Figure 1
9
Mass
𝑀
Wall
Friction, 𝑏
y
𝑘
𝑟 𝑡
Force
𝑀
𝑘𝑦
𝑏𝑦
𝑟 𝑡
y
• Stretch the spring a little and hold.
• Assume an under-damped system.
• What happens when we let it go?
Figure 2
10
• Nature does not have many linear systems.
• However, many systems behave approximately linearly in the
neighbourhood of a given point.
• Apply first-order Taylor’s Series at a given point.
• Obtain a locally linear model.
• In this course we will focus on the case of a single linearized
differential equation model for the system, in which the
coefficients are constants.
• e.g., in previous examples mass, viscosity and spring constant
did not change with time, position, velocity, temperature, etc.
Taylor’s Series
11
Pendulum Example
Assume shaft is light with respect to 𝑀, and stiff with respect to
gravitational forces.
Torque due to gravity: 𝑇 𝜃 = 𝑀𝑔𝐿 sin 𝜃
Apply Taylor’s series around 𝜃 = 0:
𝑇 𝜃 = 𝑀𝑔𝐿 𝜃 −
𝜃3
3!
+
𝜃5
5!
−
𝜃7
7!
+ ⋯
For small 𝜃 around 𝜃 = 0 we can build an approximate model that
is linear,
𝑇 𝜃 ≈ 𝑀𝑔𝐿𝜃
12
𝜃
𝑇
𝜃
−π
−
π
2
π
2
π
Figure 3
Length 𝑇
Mass 𝑀
13
Laplace Transform
Once we have a linearised differential equation (with constant
coefficients) we can take Laplace Transforms to obtain the transfer
function.
We will consider the “one-sided” Laplace transform, for signals
that are zero to the left of the origin.
𝐹 𝑠 =
0−
∞
𝑓 𝑡 e−𝑠𝑡
d𝑡
What does
∞
mean ? lim𝑇→∞
𝑇
.
Does this limit exist ?
If 𝑓 𝑡 < 𝑀e𝛼𝑡
, then exists for all Re 𝑠 > 𝛼.
Includes all physically realisable signals.
Note: When multiplying transfer function by Laplace of input,
output is only valid for values of 𝑠 in intersection of regions of
convergence.
14
Poles And Zeros
In this course, most Laplace transforms will be rational functions,
that is, a ratio of two polynomials in 𝑠; i.e.,
𝐹 𝑠 =
𝑛F 𝑠
𝑑F 𝑠
where 𝑛F 𝑠 and 𝑑F 𝑠 are polynomials.
Definitions:
- Poles of 𝐹 𝑠 are the roots of 𝑑F 𝑠
- Zeros of 𝐹 𝑠 are the roots of 𝑛F 𝑠
Hence,
𝐹 𝑠 =
𝐾F 𝑖=1
𝑀
𝑠 + 𝑧𝑖
𝑗=1
𝑛
𝑠 + 𝑝𝑗
=
𝐾F 𝑖=1
𝑀
𝑧𝑖
𝑗=1
𝑛
𝑝𝑗
𝑖=1
𝑀 𝑠
𝑧𝑖 + 1
𝑗=1
𝑛 𝑠
𝑝𝑗 + 1
where −𝑧𝑖 are the zeros and −𝑝𝑗 are the poles.
15
Visualising Poles And Zeros
Consider the simple Laplace transform 𝐹 𝑠 =
𝑠 𝑠+3
𝑠2+2𝑠+5
zeros: 0, −3; poles: −1 + j2, −1 − j2
Figure 4: Pole-zero plot (left) and magnitude of 𝐹 𝑠 right
16
𝐹 𝑠 from above (left) and previous view of 𝐹 𝑠 right.
Figure 5
17
Laplace Transforms Pairs
Simple ones can be computed analytically;
For more complicated ones, one can typically obtain the inverse
Laplace transform by:
- Identifying poles;
- Constructing partial fraction expansion;
- Using of properties and some simple pairs to invent each
component of partial fraction expansion.
18
Figure 6
Recall that complex poles come in conjugate pairs
19
Key Properties
Linearity,
d𝑓 𝑡
d𝑡
↔ 𝑠𝐹 𝑠 − 𝑓 0−
−∞
𝑡
𝑓 𝑥 d𝑥 ↔
𝐹 𝑠
𝑠
+
1
𝑠 −∞
0−
𝑓 𝑥 d𝑥
20
Final Value Theorem
Can we avoid having to do an inverse Laplace transform ?
Sometimes.
Consider the case when we only want to find the final value of
𝑓 𝑡 , namely lim𝑡→∞𝑓 𝑡 .
If 𝐹 𝑠 has all its poles in the left half plane, except, perhaps, for a
single pole at the origin, then,
lim
𝑡→∞
𝑓 𝑡 = lim
𝑠→0
𝑠𝐹 𝑠
Common application: Steady state value of step response.
What if there are poles in Right Half Plane (RHP), or on the j𝜔 -
axis and not at the origin ?
21
Mass-Spring-Damper System
Horizontal (no gravity)
Set origin of 𝑦 where spring is “relaxed”
𝐹 = 𝑀
d𝑣 𝑡
d𝑡
𝑣 𝑡 =
d𝑦 𝑡
d𝑡
𝐹 𝑡 = 𝑟 𝑡 − 𝑏
d𝑦 𝑡
d𝑡
− 𝑘𝑦 𝑡 𝑀
d2
𝑦 𝑡
d𝑡
+ 𝑏
d𝑦 𝑡
d𝑡
+ 𝑘𝑦 𝑡 = 𝑟 𝑡
Mass
𝑀
Wall
Friction, 𝑏
y
𝑘
𝑟 𝑡
Force
𝑀
𝑘𝑦
𝑏𝑦
𝑟 𝑡
y
Figure 7
22
𝑀
d2
𝑦 𝑡
d𝑡
+ 𝑏
d𝑦 𝑡
d𝑡
+ 𝑘𝑦 𝑡 = 𝑟 𝑡
Consider 𝑡 ≥ 0 and take Laplace transform.
𝑀 𝑠2
𝑌 𝑠 − 𝑠𝑦 0−
−
d𝑦 𝑡
d𝑡 𝑡=0−
+ 𝑏 𝑠𝑌 𝑠 − 𝑦 0−1
+ 𝑘𝑌 𝑠 = 𝑅 𝑠
Hence,
𝑌 𝑠 =
1
𝑀
𝑠2 +
𝑏
𝑀
𝑠 +
𝑘
𝑀
𝑅 𝑠 +
𝑠 +
𝑏
𝑀
𝑠2 +
𝑏
𝑀
𝑠 +
𝑘
𝑀
𝑦 0−
+
1
𝑠2 +
𝑏
𝑀
𝑠 +
𝑘
𝑀
d𝑦(𝑡)
d𝑡
𝑡=0−
Note that linearity yields superposition.
23
Response To Static Initial Condition
Spring stretched to a point 𝑦0, held, then let go at time 𝑡 = 0
Hence, 𝑟 𝑡 = 0 and
d𝑦 𝑡
d𝑡 𝑡=0
= 0
Hence,
𝑌 𝑠 =
𝑠 +
𝑏
𝑀
𝑠2 +
𝑏
𝑀
𝑠 +
𝑘
𝑀
𝑦0
What can we learn about this response without having to invert 𝑌 𝑠
24
Standard Form
𝑌 𝑠 =
𝑠 +
𝑏
𝑀
𝑠2 +
𝑏
𝑀
𝑠 +
𝑘
𝑀
𝑦0
=
𝑠 + 2𝜁𝜔𝑛
𝑠2 + 2𝜁𝜔𝑛𝑠 + 𝜔𝑛
2 𝑦0
where 𝜔𝑛 =
𝑘
𝑀
and 𝜁 =
𝑏
2 𝑘𝑀
Poles: 𝑠1, 𝑠2 = −𝜁𝜔𝑛 ± 𝜔𝑛 𝜁2 − 1
• 𝜁 > 1 (equivalent 𝑏 > 2 𝑘𝑀 ): distinct real roots, overdamped
• 𝜁 = 1 (equivalent 𝑏 = 2 𝑘𝑀 ): equal real roots, critically damped
• 𝜁 < 1 (equivalent 𝑏 < 2 𝑘𝑀 ): complex conjugate roots, underdamped
25
Overdamped Case
𝑠1, 𝑠2 = −𝜁𝜔𝑛 ± 𝜔𝑛 𝜁2 − 1
Overdamped response: 𝜁 > 1 (equivalent 𝑏 > 2 𝑘𝑀 )
𝑦 𝑡 = 𝑐1e𝑠1𝑡
+ 𝑐2e𝑠2𝑡
𝑦 0 = 𝑦0 ⇒ 𝑐1 + 𝑐2 = 𝑦0
d𝑦 𝑡
d𝑡 𝑡=0
= 0 ⇒ 𝑠1𝑐1 +𝑠2𝑐2 = 0
What does this look like when strongly overdamped.
𝑠2 is large and negative, 𝑠1 is small and negative.
Hence e𝑠2𝑡
decays much faster than e𝑠1𝑡
.
Also, 𝑐2 = −
𝑐1𝑠1
𝑠2
. Hence, small.
Hence 𝑦 𝑡 ≈ 𝑐1e𝑠1𝑡
. Looks like a first order system.
26
Critically Damped Case
𝑠1 = 𝑠2 = −𝜔𝑛
𝑦 𝑡 = 𝑐1e𝜔𝑛𝑡
+ 𝑐2𝑡e−𝜔𝑛𝑡
𝑦 0 = 𝑦0 ⇒ 𝑐1 = 𝑦0
d𝑦 𝑡
d𝑡 𝑡=0
= 0 ⇒ −𝑐1𝜔𝑛 +𝑐2 = 0
27
Underdamped Case
𝑠1, 𝑠2 = −𝜁𝜔𝑛 ± 𝑗𝜔𝑛 1 − 𝜁2
Therefore, 𝑆𝑖 = 𝜔𝑛: poles lies on a circle.
Angle to negative real axis is cos−1
𝜁 .
×
×
j𝜔𝑛 1 − 𝜁2
−j𝜔𝑛 1 − 𝜁2
j𝜔
𝑠1
𝑠2
−𝜁𝜔𝑛
𝜔𝑛
𝜃 = cos−1
𝜁
−2𝜁𝜔𝑛
j𝜔𝑛
−j𝜔𝑛
j𝜔
𝜁 > 1
𝜔𝑛
𝜁 increasing
𝜁 = 1
𝜁 > 1
𝜁 < 1
𝜎 𝜎
Figure 8
0
0
𝜁 = 0
28
Define 𝜎 = 𝜁𝜔𝑛, 𝜔d = 𝜔𝑛 1 − 𝜁2. Response is:
𝑦 𝑡 = 𝑐1e−𝜎𝑡
cos 𝜔d𝑡 + 𝑐2e−𝜎𝑡
sin 𝜔d𝑡
= 𝐴e−𝜎𝑡
cos 𝜔d𝑡 + 𝜙
Homework: Relate 𝐴 and 𝜙 to 𝑐1 and 𝑐2.
Homework: Write the initial conditions 𝑦 0 = 𝑦0 and
d𝑦 𝑡
d𝑥 𝑡=0
= 0 in terms of 𝑐1 and 𝑐2, and in terms of 𝐴 and 𝜙
29
𝑌 𝑠 =
𝑠 + 2𝜁𝜔𝑛
𝑠2 + 2𝜁𝜔𝑛𝑠 + 𝜔𝑛
2 𝑦0
where 𝜔𝑛 =
𝑘
𝑀
and 𝜁 =
𝑏
2 𝑘𝑀
Poles: 𝑠1, 𝑠2 = −𝜁𝜔𝑛 ± 𝜔𝑛 𝜁2 − 1
𝜁 > 1: overdamped; 𝜁 < 1: underdamped
Consider the case of 𝑀 = 1, 𝑘 = 1.
Hence, 𝜔𝑛 = 1,
𝑏 = 3 → 0.
Hence, 𝜁 = 1.5 → 0
Initial conditions: 𝑦0 = 1,
d𝑦 𝑡
d𝑥 𝑡=0
= 0
30
𝑏 = 3 𝑏 = 3
Re s t
Poles And Transient Response, 𝒃 = 𝟑
31
𝑏 = 2.75 𝑏 = 2.75
Poles And Transient Response, 𝒃 = 𝟐. 𝟕𝟓
Re s t
32
Poles And Transient Response, 𝒃 = 𝟐. 𝟓
𝑏 = 2.5 𝑏 = 2.5
Re s t
33
Poles And Transient Response, 𝒃 = 𝟐. 𝟐𝟓
𝑏 = 2.25 𝑏 = 2.25
Re s t
34
Poles And Transient Response, 𝒃 = 𝟐
𝑏 = 2 𝑏 = 2
Re s t
35
Poles And Transient Response, 𝒃 = 𝟏. 𝟗𝟓
𝑏 = 1.95 𝑏 = 1.95
Re s t
36
Poles And Transient Response, 𝒃 = 𝟏. 𝟕𝟓
𝑏 = 1.75 𝑏 = 1.75
Re s t
37
Poles And Transient Response, 𝒃 = 𝟏. 𝟓
𝑏 = 1.5 𝑏 = 1.5
Re s t
38
Poles And Transient Response, 𝒃 = 𝟏. 𝟐𝟓
𝑏 = 1.25 𝑏 = 1.25
Re s t
39
Poles And Transient Response, 𝒃 = 𝟏
𝑏 = 1 𝑏 = 1
Re s t
40
Poles And Transient Response, 𝒃 = 𝟎. 𝟕𝟓
𝑏 = 0.75 𝑏 = 0.75
Re s t
41
Poles And Transient Response, 𝒃 = 𝟎. 𝟓
𝑏 = 0.5 𝑏 = 0.5
Re s t
42
Poles And Transient Response, 𝒃 = 𝟎. 𝟐𝟓
𝑏 = 0.25 𝑏 = 0.25
Re s t
43
Poles And Transient Response, 𝒃 = 𝟎
𝑏 = 0 𝑏 = 0
Re s t
44
Transfer Function
Definition:
Laplace transform of output over Laplace transform of input when
initial conditions are zero.
Most of the transfer functions in this course will be ratios of
polynomials in 𝑠.
Hence, poles and zeros of transfer functions have natural definitions.
Example:
Recall the mass-spring-damper system,
45
Transfer Function, Mass-Spring-Damper
For the mass-spring-damper system,
𝑌 𝑠 =
1
𝑀
𝑠2 +
𝑏
𝑀
𝑠 +
𝑘
𝑀
𝑅 𝑠 +
𝑠 +
𝑏
𝑀
𝑠2 +
𝑏
𝑀
𝑠 +
𝑘
𝑀
𝑦 0−
+
1
𝑠2 +
𝑏
𝑀
𝑠 +
𝑘
𝑀
d𝑦(𝑡)
d𝑡
𝑡=0−
Therefore, transfer function is:
1
𝑀
𝑠2 +
𝑏
𝑀
𝑠 +
𝑘
𝑀
=
1
𝑀𝑠2 + 𝑏𝑠 + 𝑘
46
Step Response
Recall that 𝑢 𝑡 ↔
1
𝑠
Therefore, for transfer function 𝐺 𝑠 , the step response is:
ℒ−1
𝐺 𝑠
𝑠
For the mass-spring-damper system, step response is,
ℒ−1
1
𝑠 𝑀𝑠2 + 𝑏𝑠 + 𝑘
What is the final position for a step input ?
Recall final value theorem. Final position is
1
𝐾
.
What about the complete step response ?
47
Step response:
ℒ−1
𝐺 𝑠
1
𝑠
Hence poles of Laplace transform of step response are poles of 𝐺 𝑠 ,
plus an additional pole at 𝑠 = 0.
For the mass-spring-damper system, using partial fractions, step
response is:
ℒ−1
1
𝑠 𝑀𝑠2 + 𝑏𝑠 + 𝑘
= ℒ−1
1
𝑘
𝑠
−
1
𝑘
ℒ−1
𝑀𝑠 + 𝑏
𝑀𝑠2 + 𝑏𝑠 + 𝑘
=
1
𝑘
𝑢 𝑡 −
1
𝑘
ℒ−1
𝑀𝑠 + 𝑏
𝑀𝑠2 + 𝑏𝑠 + 𝑘
Consider again the case of 𝑀 = 𝑘 = 1, 𝑏 = 3 → 0.
𝜔𝑛 = 1, 𝜁 = 1.5 → 0.
48
Poles And Step Response, 𝒃 = 𝟑
49
Poles And Step Response, 𝒃 = 𝟐. 𝟕𝟓
50
Poles And Step Response, 𝒃 = 𝟐. 𝟓
51
Poles And Step Response, 𝒃 = 𝟐. 𝟐𝟓
52
Poles And Step Response, 𝒃 = 𝟐
53
Poles And Step Response, 𝒃 = 𝟏. 𝟗𝟓
54
Poles And Step Response, 𝒃 = 𝟏. 𝟕𝟓
55
Poles And Step Response, 𝒃 = 𝟏. 𝟓
56
Poles And Step Response, 𝒃 = 𝟏. 𝟐𝟓
57
Poles And Step Response, 𝒃 = 𝟏
58
Poles And Step Response, 𝒃 = 𝟎. 𝟕𝟓
59
Poles And Step Response, 𝒃 = 𝟎. 𝟓
60
Poles And Step Response, 𝒃 = 𝟎. 𝟐𝟓
61
Poles And Step Response, 𝒃 = 𝟎
62
We will consider linearised model for each component.
Flux in the air gap: ∅ 𝑡 = 𝐾f𝑖f 𝑡
Torque: 𝑇m 𝑡 = 𝐾1∅ 𝑡 𝑖a 𝑡 = 𝐾1𝐾f𝑖f 𝑡 𝑖a 𝑡
Is that linear ? Only if one of 𝑖f 𝑡 or 𝑖f 𝑡 is constant.
We will consider “armature control”: 𝑖f 𝑡 constant.
A DC Motor
Figure 9
63
Armature Controlled DC Motor
𝑖f 𝑡 will be constant (to set up magnetic field), 𝑖f 𝑡 = 𝐼f
Torque: 𝑇m 𝑡 = 𝐾1𝐾f𝐼f𝑖a 𝑡 = 𝐾m𝑖a 𝑡
Will control motor using armature voltage 𝑉
a 𝑡 .
What is the transfer function from 𝑉
a 𝑠 to angular position 𝜃 𝑠 ?
Origin ?
64
𝑇m 𝑡 = 𝐾m𝑖a 𝑡 ↔ 𝑇m 𝑠 = 𝐾m𝐼a 𝑠
Kirchhoff Voltage Law: 𝑉
a 𝑠 = 𝑅a + 𝑠𝐿a 𝐼a 𝑠 + 𝑉b 𝑠
𝑉b 𝑠 is back-emf voltage, due to Faraday’s Law.
𝑉b 𝑠 = 𝐾b𝜔 𝑠 ,
where 𝜔 𝑠 = 𝑠𝜃 𝑠 is rotational velocity.
Remember: transfer function implies zero initial conditions.
Towards Transfer Function
65
Torque on load: 𝑇L 𝑠 = 𝑇m 𝑠 − 𝑇d 𝑠
𝑇d 𝑠 : disturbance. Often small, unknown.
Load torque and load angle (Newton plus friction):
𝑇L 𝑠 = 𝐽𝑠2
𝜃 𝑠 + 𝑏𝑠𝜃 𝑠
Now put it all together.
66
𝑇m 𝑠 = 𝐾m𝐼a 𝑠 = 𝐾m
𝑉
a 𝑠 − 𝑉b 𝑠
𝑅a + 𝑠𝐿a
𝑉b 𝑠 = 𝐾b𝜔 𝑠
𝑇L 𝑠 = 𝑇m 𝑠 − 𝑇d 𝑠
𝑇L 𝑠 = 𝐽𝑠2
𝜃 𝑠 + 𝑏𝑠𝜃 𝑠 = 𝐽𝑠𝜔 𝑠 + 𝑏𝜔 𝑠
Hence 𝜔 𝑠 =
𝑇L 𝑠
𝐽𝑠+𝑏
𝜃 𝑠 =
𝜔 𝑠
𝑠
67
Transfer Function
𝐾m
𝑅a + 𝐿a𝑠
Armature
1
𝐽𝑠 + 𝑏
1
𝑠
𝐾b
Disturbance
𝑇d 𝑠
Position
𝜃 𝑠
𝑉
a 𝑠
+
−
+
−
𝑇m 𝑠 𝑇L 𝑠
Speed
𝜔 𝑠
Back Electromotive Force
Set 𝑇d 𝑠 = 0 and solve (you MUST do this yourself)
𝐺 𝑠 =
𝜃 𝑠
𝑉
a 𝑠
=
𝐾m
𝑠 𝑅a + 𝑠𝐿a 𝐽𝑠 + 𝑏 + 𝐾b𝐾m
=
𝐾m
𝑠 𝑠2 + 2𝜁𝜔𝑛𝑠 + 𝜔𝑛
2
Figure 10
68
Second Order Approximation
𝐺 𝑠 =
𝜃 𝑠
𝑉
a 𝑠
=
𝐾m
𝑠 𝑅a + 𝑠𝐿a 𝐽𝑠 + 𝑏 + 𝐾b𝐾m
Sometimes armature time constant, 𝜏𝑎 =
𝐿a
𝑅a
is negligible
Hence (you MUST derive this yourself)
𝐺 𝑠 ≈
𝐾m
𝑠 𝑅a 𝐽𝑠 + 𝑏 𝐾b𝐾m
=
𝐾𝑚
𝑅a𝑏 + 𝐾b𝐾m
𝑠 𝜏1𝑠 + 1
where 𝜏1 =
𝑅a𝐽
𝑅a𝑏+𝐾b𝐾m
69
Model For A Disk Drive Read System
Uses a permanent magnet DC motor
Can be modelled using armature control model with 𝐾b = 0
Hence, motor transfer function:
𝐺 𝑠 =
𝜃 𝑠
𝑉
a 𝑠
=
𝐾m
𝑠 𝑅a + 𝑠𝐿a 𝐽𝑠 + 𝑏
Assume for now that the arm is stiff.
Figure 11
70
Typical Values
Parameter Symbol Typical Value
Inertia of Arm and Read Head 𝐽 1 Nm𝑠2
/rad
Friction 𝑏 20 Nms/rad
Amplifier 𝐾a 10-1000
Armature Resistance 𝑅 1 Ω
Motor Constant 𝐾m 5 Nm/A
Armature Inductance 𝐿 1 mH
𝐺 𝑠 =
5000
𝑠 𝑠 + 20 𝑠 + 1000
Table 1
71
Time Constants
Initial model,
𝐺 𝑠 =
5000
𝑠 𝑠 + 20 𝑠 + 1000
Motor time constant =
1
20
= 50 ms
Armature time constant =
1
1000
= 1 ms
Hence,
𝐺 𝑠 ≈ 𝐺 𝑠 =
5
𝑠 𝑠 + 20
72
A Simple Feedback Controller
Now that we have a model, how to control ?
Simple idea: Apply voltage to motor that is proportional to error
between where we are and where we want to be.
Amplifier
Control Device Actuator and Read Arm
Input
Voltage Actual
Head
Position
+
−
DC Motor and Arm
Sensor
Read Head and Index Track on Disk
Desired
Head
Position
Error
Figure 12
73
𝐾a
Amplifier Motor and Arm 𝐺 𝑠
𝑉 𝑠
𝑌 𝑠
+
−
𝐺 𝑠 =
𝐾m
𝑠 𝐽𝑠 + 𝑏 𝐿𝑠 + 𝑅
Sensor
𝐻 𝑠 = 1
𝑅 𝑠
𝐸 𝑠
Here, 𝑉 𝑠 = 𝑉
a 𝑠 and 𝑌 𝑠 = 𝜃 𝑠
Figure 13
74
Simplified Block Diagram
𝐾a 𝑌 𝑠
+
−
𝐺 𝑠
𝑅 𝑠
What is the transfer function from command to position ? Derive this
yourself.
𝑌 𝑠
𝑅 𝑠
=
𝐾a𝐺 𝑠
1 + 𝐾a𝐺 𝑠
Using second-order approximation, 𝐺 𝑠 ≈ 𝐺 𝑠 =
5
𝑠 𝑠+20
𝑌 𝑠 ≈
5𝐾a
𝑠2 + 20𝑠 + 5𝐾a
𝑅 𝑠
For 0 < 𝐾a < 20: overdamped
For 𝐾a > 20: underdamped
Figure 14
75
Response To 𝒓 𝒕 = 𝟎. 𝟏𝒖 𝒕 ; 𝑲𝐚 = 𝟏𝟎
Slow. Slower than IBMs first drive from late 1950’s.
Disks in the 1970’s had 25 ms seek times; now < 10 ms
Perhaps increase 𝐾a ?
That would result in a “bigger” input to the motor for a given error.
Poles in s-plane Response
76
Response To 𝒓 𝒕 = 𝟎. 𝟏𝒖 𝒕 ; 𝑲𝐚 = 𝟏𝟎, 𝟏𝟓
Poles in s-plane Response
Changing 𝐾a changes the position of the closed loop poles.
Hence, step response changes.
77
Response To 𝒓 𝒕 = 𝟎. 𝟏𝒖 𝒕 ; 𝑲𝐚 = 𝟏𝟎, 𝟏𝟓, 𝟐𝟎
Changing 𝐾a changes the position of the closed loop poles.
Hence, step response changes (now critically damped).
78
Response To 𝒓 𝒕 = 𝟎. 𝟏𝒖 𝒕 ; 𝑲𝐚 = 𝟏𝟎, 𝟏𝟓, 𝟐𝟎, 𝟒𝟎
Changing 𝐾a changes the position of the closed loop poles.
Hence, step response changes (now underdamped).
79
Response To 𝒓 𝒕 = 𝟎. 𝟏𝒖 𝒕 ; 𝑲𝐚 = 𝟏𝟎, 𝟏𝟓, 𝟐𝟎, 𝟒𝟎, 𝟔𝟎
Changing 𝐾a changes the position of the closed loop poles.
Hence, step response changes (now more underdamped).
80
Response To 𝒓 𝒕 = 𝟎. 𝟏𝒖 𝒕 ; 𝑲𝐚 = 𝟏𝟎, 𝟏𝟓, 𝟐𝟎, 𝟒𝟎, 𝟔𝟎, 𝟖𝟎
What is happening to the settling time of the underdamped cases ?
Only just beats IBM’s first drive.
What else could we do with the controller ? Prediction ?
81
Block Diagram Models
As we have just seen, a convenient way to represent a transfer function is via
a block diagram.
In this case, 𝑈 𝑠 = 𝐺c 𝑠 𝑅 𝑠 and 𝑌 𝑠 = 𝐺 𝑠 𝑈 𝑠
Hence, 𝑌 𝑠 = 𝐺 𝑠 𝐺c 𝑠 𝑅 𝑠
Consistent with the engineering procedure of breaking things up into little
bits, studying the little bits, and then put them together.
𝐺c 𝑠 𝑌 𝑠
𝐺 𝑠
𝑅 𝑠
Figure 15
Controller Process
𝑈 𝑠
82
𝐺11 𝑠 𝑌1 𝑠
𝑅1 𝑠
Simple Example
𝐺22 𝑠
+
+
𝑌2 𝑠
𝑅2 𝑠
+
+
𝑌1 𝑠 = 𝐺11 𝑠 𝑅1 𝑠 + 𝐺12 𝑠 𝑅2 𝑠
𝑌2 𝑠 = 𝐺21 𝑠 𝑅1 𝑠 + 𝐺22 𝑠 𝑅2 𝑠
Figure 16
83
Example: Loop Transfer Function
𝐺c 𝑠
Controller
𝑍 𝑠
𝑌 𝑠
+
−
𝑅 𝑠
𝐸a 𝑠
Figure 17
𝐺a 𝑠
Actuator
𝐺 𝑠
Process
𝐻 𝑠
Sensor
𝑈 𝑠
𝐵 𝑠
𝐸𝑎 𝑠 = 𝑅 𝑠 − 𝐵 𝑠 = 𝑅 𝑠 − 𝐻 𝑠 𝑌 𝑠
𝑌 𝑠 = 𝐺 𝑠 𝑈 𝑠 = 𝐺 𝑠 𝐺a 𝑠 𝑍 𝑠 = 𝐺 𝑠 𝐺a 𝑠 𝐺c 𝑠 𝐸a 𝑠
= 𝐺 𝑠 𝐺a 𝑠 𝐺c 𝑠 𝑅 𝑠 − 𝐻 𝑠 𝑌 𝑠
𝑌 𝑠
𝑅 𝑠
=
𝐺 𝑠 𝐺a 𝑠 𝐺c 𝑠
1 + 𝐺 𝑠 𝐺𝑎 𝑠 𝐺𝑐 𝑠 𝐻 𝑠
Each transfer function is a ratio of polynomials in 𝑠.
What is
𝐸a 𝑠
𝑅 𝑠
?
84
Block Diagram Transformations
Combining Block In Cascade
Original Diagram Equivalent Diagram
𝐺1 𝑠
𝑋1 𝐺2 𝑠 𝑋3
𝑋2
𝐺1𝐺2
𝑋1 𝑋3
Moving A Summing Point Behind A Block
𝐺 𝑋3
+
±
𝑋1
𝑋2
𝐺
+
±
𝑋1
𝑋2
𝐺
𝑋3
Original Diagram Equivalent Diagram
85
Moving A Pickoff Point Ahead Of A Block
Original Diagram Equivalent Diagram
𝐺
𝑋1 𝑋2 𝐺
𝑋1 𝑋3
Moving A Pickoff Point Behind A Block
𝐺
𝑋1
1
𝐺
𝑋2
Original Diagram Equivalent Diagram
𝑋2
𝐺
𝑋2
𝐺
𝑋1 𝑋2
𝑋1
𝑋1
86
Moving A Summing Point Ahead Of A Block
Original Diagram Equivalent Diagram
𝐺
𝑋1 𝑋3 𝐺 𝑋3
Eliminating A Feedback Loop
𝐺
1 ± 𝐺𝐻
𝑋1
𝑋2
Original Diagram Equivalent Diagram
𝑋2
1
𝐺
𝑋2
+
± ±
𝑋1
+
𝐺 𝑋2
𝐻
±
𝑋1
+
87
𝐺1
+
−
𝑅 𝑠
𝐻2
𝐺2
+
−
+
𝐻1
𝐺3 𝐺4 𝑌 𝑠
𝐻3
Using Block Diagram Transformations
Figure 18
+
88
𝐺1
+
−
𝑅 𝑠
+
𝐻2
𝐺4
𝐺2
+
−
+
𝐻1
𝐺3 𝐺4 𝑌 𝑠
𝐻3
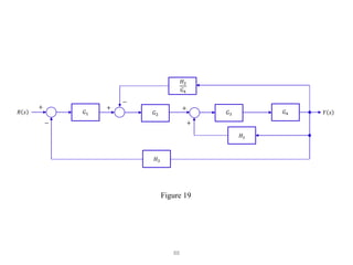
Figure 19
88
𝐺1
+
−
𝑅 𝑠
+
𝐻2
𝐺4
−
𝐺2
𝐺3𝐺4
1 − 𝐺3𝐺4𝐻1
𝑌 𝑠
𝐻3
Figure 20
89
+
−
𝑅 𝑠 𝐺1
𝐺2𝐺3𝐺4
1 − 𝐺3𝐺4𝐻1 + 𝐺2𝐺3𝐻2
𝑌 𝑠
𝐻3
Figure 21
𝑅 𝑠
𝐺1𝐺2𝐺3𝐺4
1 − 𝐺3𝐺4𝐻1 + 𝐺2𝐺3𝐻2 + 𝐺1𝐺2𝐺3𝐺4𝐻3
𝑌 𝑠
Figure 22
90
References
(1) Tim Davidson, Introduction to Linear Control Systems, McMaster
University, 2018.

Lecture Notes: EEEC4340318 Instrumentation and Control Systems - System Models

  • 1.
    EEEC4340318 INSTRUMENTATION ANDCONTROL SYSTEMS System Models FACULTY OF ENGINEERING AND COMPUTER TECHNOLOGY DIPLOMA IN ELECTRICALAND ELECTRONIC ENGINEERING Ravandran Muttiah BEng (Hons) MSc MIET
  • 2.
    1 Differential Equation Models •Most of the systems that we will deal with are dynamic • Differential equations provide a powerful way to describe dynamic systems • Will form the basis of our models • We saw differential equations for inductors and capacitors. • What about mechanical systems? both translational and rotational
  • 3.
    2 Translational Spring 𝐹 𝑡: resultant force in direction 𝑥 Recall free body diagrams and “action and reaction” • Spring. 𝑘: spring constant, 𝐿r: relaxed length of spring 𝐹 𝑡 = 𝑘 𝑥2 𝑡 − 𝑥1 𝑡 − 𝐿r 𝑥 𝑥1 𝑡 𝑥2 𝑡 𝐹 𝑡
  • 4.
    3 Translational Damper 𝐹 𝑡: resultant force in direction 𝑥 • Viscous damper. 𝑏: viscous friction coefficient 𝐹 𝑡 = 𝑏 d𝑥2 𝑡 d𝑡 − d𝑥1 𝑡 d𝑡 = 𝑏 𝑣2 𝑡 − 𝑣1 𝑡 𝑥 𝑥1 𝑡 𝑥2 𝑡 𝐹 𝑡
  • 5.
    4 Mass 𝐹 𝑡 :resultant force in direction 𝑥 • Mass: 𝑀 𝐹 𝑡 = 𝑀 d2 𝑥m 𝑡 d𝑡2 = 𝑀 d𝑣m 𝑡 d𝑡 = 𝑀𝑎m 𝑡 𝑥 𝑥m 𝑡 𝐹 𝑡
  • 6.
    5 Rotational Spring 𝑇 𝑡: resultant force in direction 𝜃 • Rotational spring. 𝑘: rotational spring constant, ∅r: rotation of relaxed spring 𝑇 𝑡 = 𝑘 𝜃2 𝑡 − 𝜃1 𝑡 − ∅r 𝜃 𝜃1 𝑡 𝜃2 𝑡 𝑇 𝑡
  • 7.
    6 Rotational Damper 𝑇 𝑡: resultant torque in direction 𝜃 • Rotational viscous damper. 𝑏: rotational viscous friction coefficient 𝜃 𝜃1 𝑡 𝜃2 𝑡 𝑇 𝑡 𝑇 𝑡 = 𝑏 d𝜃2 𝑡 d𝑡 − d𝜃1 𝑡 d𝑡 = 𝑏 𝜔2 𝑡 − 𝜔1 𝑡
  • 8.
    7 Rotational Inertia 𝑇 𝑡: resultant torque in direction 𝜃 • Rotational inertia: 𝐽 𝜃 𝜃m 𝑡 𝑇 𝑡 𝑇 𝑡 = 𝐽 d2 𝜃m 𝑡 d𝑡2 = 𝐽 d𝜔m 𝑡 d𝑡 = 𝐽𝛼m 𝑡
  • 9.
    8 Translational Horizontal. Origin fory: y = 0 when spring relaxed 𝐹 = 𝑀 d𝑣 𝑡 d𝑡 𝑣 𝑡 = d𝑦 𝑡 d𝑡 𝐹 𝑡 = 𝑟 𝑡 − 𝑏 d𝑦 𝑡 d𝑡 − 𝑘𝑦 𝑡 𝑀 d2 𝑦 𝑡 d𝑡 + 𝑏 d𝑦 𝑡 d𝑡 + 𝑘𝑦 𝑡 = 𝑟 𝑡 Mass 𝑀 Wall Friction, 𝑏 y 𝑘 𝑟 𝑡 Force 𝑀 𝑘𝑦 𝑏𝑦 𝑟 𝑡 y Figure 1
  • 10.
    9 Mass 𝑀 Wall Friction, 𝑏 y 𝑘 𝑟 𝑡 Force 𝑀 𝑘𝑦 𝑏𝑦 𝑟𝑡 y • Stretch the spring a little and hold. • Assume an under-damped system. • What happens when we let it go? Figure 2
  • 11.
    10 • Nature doesnot have many linear systems. • However, many systems behave approximately linearly in the neighbourhood of a given point. • Apply first-order Taylor’s Series at a given point. • Obtain a locally linear model. • In this course we will focus on the case of a single linearized differential equation model for the system, in which the coefficients are constants. • e.g., in previous examples mass, viscosity and spring constant did not change with time, position, velocity, temperature, etc. Taylor’s Series
  • 12.
    11 Pendulum Example Assume shaftis light with respect to 𝑀, and stiff with respect to gravitational forces. Torque due to gravity: 𝑇 𝜃 = 𝑀𝑔𝐿 sin 𝜃 Apply Taylor’s series around 𝜃 = 0: 𝑇 𝜃 = 𝑀𝑔𝐿 𝜃 − 𝜃3 3! + 𝜃5 5! − 𝜃7 7! + ⋯ For small 𝜃 around 𝜃 = 0 we can build an approximate model that is linear, 𝑇 𝜃 ≈ 𝑀𝑔𝐿𝜃
  • 13.
  • 14.
    13 Laplace Transform Once wehave a linearised differential equation (with constant coefficients) we can take Laplace Transforms to obtain the transfer function. We will consider the “one-sided” Laplace transform, for signals that are zero to the left of the origin. 𝐹 𝑠 = 0− ∞ 𝑓 𝑡 e−𝑠𝑡 d𝑡 What does ∞ mean ? lim𝑇→∞ 𝑇 . Does this limit exist ? If 𝑓 𝑡 < 𝑀e𝛼𝑡 , then exists for all Re 𝑠 > 𝛼. Includes all physically realisable signals. Note: When multiplying transfer function by Laplace of input, output is only valid for values of 𝑠 in intersection of regions of convergence.
  • 15.
    14 Poles And Zeros Inthis course, most Laplace transforms will be rational functions, that is, a ratio of two polynomials in 𝑠; i.e., 𝐹 𝑠 = 𝑛F 𝑠 𝑑F 𝑠 where 𝑛F 𝑠 and 𝑑F 𝑠 are polynomials. Definitions: - Poles of 𝐹 𝑠 are the roots of 𝑑F 𝑠 - Zeros of 𝐹 𝑠 are the roots of 𝑛F 𝑠 Hence, 𝐹 𝑠 = 𝐾F 𝑖=1 𝑀 𝑠 + 𝑧𝑖 𝑗=1 𝑛 𝑠 + 𝑝𝑗 = 𝐾F 𝑖=1 𝑀 𝑧𝑖 𝑗=1 𝑛 𝑝𝑗 𝑖=1 𝑀 𝑠 𝑧𝑖 + 1 𝑗=1 𝑛 𝑠 𝑝𝑗 + 1 where −𝑧𝑖 are the zeros and −𝑝𝑗 are the poles.
  • 16.
    15 Visualising Poles AndZeros Consider the simple Laplace transform 𝐹 𝑠 = 𝑠 𝑠+3 𝑠2+2𝑠+5 zeros: 0, −3; poles: −1 + j2, −1 − j2 Figure 4: Pole-zero plot (left) and magnitude of 𝐹 𝑠 right
  • 17.
    16 𝐹 𝑠 fromabove (left) and previous view of 𝐹 𝑠 right. Figure 5
  • 18.
    17 Laplace Transforms Pairs Simpleones can be computed analytically; For more complicated ones, one can typically obtain the inverse Laplace transform by: - Identifying poles; - Constructing partial fraction expansion; - Using of properties and some simple pairs to invent each component of partial fraction expansion.
  • 19.
    18 Figure 6 Recall thatcomplex poles come in conjugate pairs
  • 20.
    19 Key Properties Linearity, d𝑓 𝑡 d𝑡 ↔𝑠𝐹 𝑠 − 𝑓 0− −∞ 𝑡 𝑓 𝑥 d𝑥 ↔ 𝐹 𝑠 𝑠 + 1 𝑠 −∞ 0− 𝑓 𝑥 d𝑥
  • 21.
    20 Final Value Theorem Canwe avoid having to do an inverse Laplace transform ? Sometimes. Consider the case when we only want to find the final value of 𝑓 𝑡 , namely lim𝑡→∞𝑓 𝑡 . If 𝐹 𝑠 has all its poles in the left half plane, except, perhaps, for a single pole at the origin, then, lim 𝑡→∞ 𝑓 𝑡 = lim 𝑠→0 𝑠𝐹 𝑠 Common application: Steady state value of step response. What if there are poles in Right Half Plane (RHP), or on the j𝜔 - axis and not at the origin ?
  • 22.
    21 Mass-Spring-Damper System Horizontal (nogravity) Set origin of 𝑦 where spring is “relaxed” 𝐹 = 𝑀 d𝑣 𝑡 d𝑡 𝑣 𝑡 = d𝑦 𝑡 d𝑡 𝐹 𝑡 = 𝑟 𝑡 − 𝑏 d𝑦 𝑡 d𝑡 − 𝑘𝑦 𝑡 𝑀 d2 𝑦 𝑡 d𝑡 + 𝑏 d𝑦 𝑡 d𝑡 + 𝑘𝑦 𝑡 = 𝑟 𝑡 Mass 𝑀 Wall Friction, 𝑏 y 𝑘 𝑟 𝑡 Force 𝑀 𝑘𝑦 𝑏𝑦 𝑟 𝑡 y Figure 7
  • 23.
    22 𝑀 d2 𝑦 𝑡 d𝑡 + 𝑏 d𝑦𝑡 d𝑡 + 𝑘𝑦 𝑡 = 𝑟 𝑡 Consider 𝑡 ≥ 0 and take Laplace transform. 𝑀 𝑠2 𝑌 𝑠 − 𝑠𝑦 0− − d𝑦 𝑡 d𝑡 𝑡=0− + 𝑏 𝑠𝑌 𝑠 − 𝑦 0−1 + 𝑘𝑌 𝑠 = 𝑅 𝑠 Hence, 𝑌 𝑠 = 1 𝑀 𝑠2 + 𝑏 𝑀 𝑠 + 𝑘 𝑀 𝑅 𝑠 + 𝑠 + 𝑏 𝑀 𝑠2 + 𝑏 𝑀 𝑠 + 𝑘 𝑀 𝑦 0− + 1 𝑠2 + 𝑏 𝑀 𝑠 + 𝑘 𝑀 d𝑦(𝑡) d𝑡 𝑡=0− Note that linearity yields superposition.
  • 24.
    23 Response To StaticInitial Condition Spring stretched to a point 𝑦0, held, then let go at time 𝑡 = 0 Hence, 𝑟 𝑡 = 0 and d𝑦 𝑡 d𝑡 𝑡=0 = 0 Hence, 𝑌 𝑠 = 𝑠 + 𝑏 𝑀 𝑠2 + 𝑏 𝑀 𝑠 + 𝑘 𝑀 𝑦0 What can we learn about this response without having to invert 𝑌 𝑠
  • 25.
    24 Standard Form 𝑌 𝑠= 𝑠 + 𝑏 𝑀 𝑠2 + 𝑏 𝑀 𝑠 + 𝑘 𝑀 𝑦0 = 𝑠 + 2𝜁𝜔𝑛 𝑠2 + 2𝜁𝜔𝑛𝑠 + 𝜔𝑛 2 𝑦0 where 𝜔𝑛 = 𝑘 𝑀 and 𝜁 = 𝑏 2 𝑘𝑀 Poles: 𝑠1, 𝑠2 = −𝜁𝜔𝑛 ± 𝜔𝑛 𝜁2 − 1 • 𝜁 > 1 (equivalent 𝑏 > 2 𝑘𝑀 ): distinct real roots, overdamped • 𝜁 = 1 (equivalent 𝑏 = 2 𝑘𝑀 ): equal real roots, critically damped • 𝜁 < 1 (equivalent 𝑏 < 2 𝑘𝑀 ): complex conjugate roots, underdamped
  • 26.
    25 Overdamped Case 𝑠1, 𝑠2= −𝜁𝜔𝑛 ± 𝜔𝑛 𝜁2 − 1 Overdamped response: 𝜁 > 1 (equivalent 𝑏 > 2 𝑘𝑀 ) 𝑦 𝑡 = 𝑐1e𝑠1𝑡 + 𝑐2e𝑠2𝑡 𝑦 0 = 𝑦0 ⇒ 𝑐1 + 𝑐2 = 𝑦0 d𝑦 𝑡 d𝑡 𝑡=0 = 0 ⇒ 𝑠1𝑐1 +𝑠2𝑐2 = 0 What does this look like when strongly overdamped. 𝑠2 is large and negative, 𝑠1 is small and negative. Hence e𝑠2𝑡 decays much faster than e𝑠1𝑡 . Also, 𝑐2 = − 𝑐1𝑠1 𝑠2 . Hence, small. Hence 𝑦 𝑡 ≈ 𝑐1e𝑠1𝑡 . Looks like a first order system.
  • 27.
    26 Critically Damped Case 𝑠1= 𝑠2 = −𝜔𝑛 𝑦 𝑡 = 𝑐1e𝜔𝑛𝑡 + 𝑐2𝑡e−𝜔𝑛𝑡 𝑦 0 = 𝑦0 ⇒ 𝑐1 = 𝑦0 d𝑦 𝑡 d𝑡 𝑡=0 = 0 ⇒ −𝑐1𝜔𝑛 +𝑐2 = 0
  • 28.
    27 Underdamped Case 𝑠1, 𝑠2= −𝜁𝜔𝑛 ± 𝑗𝜔𝑛 1 − 𝜁2 Therefore, 𝑆𝑖 = 𝜔𝑛: poles lies on a circle. Angle to negative real axis is cos−1 𝜁 . × × j𝜔𝑛 1 − 𝜁2 −j𝜔𝑛 1 − 𝜁2 j𝜔 𝑠1 𝑠2 −𝜁𝜔𝑛 𝜔𝑛 𝜃 = cos−1 𝜁 −2𝜁𝜔𝑛 j𝜔𝑛 −j𝜔𝑛 j𝜔 𝜁 > 1 𝜔𝑛 𝜁 increasing 𝜁 = 1 𝜁 > 1 𝜁 < 1 𝜎 𝜎 Figure 8 0 0 𝜁 = 0
  • 29.
    28 Define 𝜎 =𝜁𝜔𝑛, 𝜔d = 𝜔𝑛 1 − 𝜁2. Response is: 𝑦 𝑡 = 𝑐1e−𝜎𝑡 cos 𝜔d𝑡 + 𝑐2e−𝜎𝑡 sin 𝜔d𝑡 = 𝐴e−𝜎𝑡 cos 𝜔d𝑡 + 𝜙 Homework: Relate 𝐴 and 𝜙 to 𝑐1 and 𝑐2. Homework: Write the initial conditions 𝑦 0 = 𝑦0 and d𝑦 𝑡 d𝑥 𝑡=0 = 0 in terms of 𝑐1 and 𝑐2, and in terms of 𝐴 and 𝜙
  • 30.
    29 𝑌 𝑠 = 𝑠+ 2𝜁𝜔𝑛 𝑠2 + 2𝜁𝜔𝑛𝑠 + 𝜔𝑛 2 𝑦0 where 𝜔𝑛 = 𝑘 𝑀 and 𝜁 = 𝑏 2 𝑘𝑀 Poles: 𝑠1, 𝑠2 = −𝜁𝜔𝑛 ± 𝜔𝑛 𝜁2 − 1 𝜁 > 1: overdamped; 𝜁 < 1: underdamped Consider the case of 𝑀 = 1, 𝑘 = 1. Hence, 𝜔𝑛 = 1, 𝑏 = 3 → 0. Hence, 𝜁 = 1.5 → 0 Initial conditions: 𝑦0 = 1, d𝑦 𝑡 d𝑥 𝑡=0 = 0
  • 31.
    30 𝑏 = 3𝑏 = 3 Re s t Poles And Transient Response, 𝒃 = 𝟑
  • 32.
    31 𝑏 = 2.75𝑏 = 2.75 Poles And Transient Response, 𝒃 = 𝟐. 𝟕𝟓 Re s t
  • 33.
    32 Poles And TransientResponse, 𝒃 = 𝟐. 𝟓 𝑏 = 2.5 𝑏 = 2.5 Re s t
  • 34.
    33 Poles And TransientResponse, 𝒃 = 𝟐. 𝟐𝟓 𝑏 = 2.25 𝑏 = 2.25 Re s t
  • 35.
    34 Poles And TransientResponse, 𝒃 = 𝟐 𝑏 = 2 𝑏 = 2 Re s t
  • 36.
    35 Poles And TransientResponse, 𝒃 = 𝟏. 𝟗𝟓 𝑏 = 1.95 𝑏 = 1.95 Re s t
  • 37.
    36 Poles And TransientResponse, 𝒃 = 𝟏. 𝟕𝟓 𝑏 = 1.75 𝑏 = 1.75 Re s t
  • 38.
    37 Poles And TransientResponse, 𝒃 = 𝟏. 𝟓 𝑏 = 1.5 𝑏 = 1.5 Re s t
  • 39.
    38 Poles And TransientResponse, 𝒃 = 𝟏. 𝟐𝟓 𝑏 = 1.25 𝑏 = 1.25 Re s t
  • 40.
    39 Poles And TransientResponse, 𝒃 = 𝟏 𝑏 = 1 𝑏 = 1 Re s t
  • 41.
    40 Poles And TransientResponse, 𝒃 = 𝟎. 𝟕𝟓 𝑏 = 0.75 𝑏 = 0.75 Re s t
  • 42.
    41 Poles And TransientResponse, 𝒃 = 𝟎. 𝟓 𝑏 = 0.5 𝑏 = 0.5 Re s t
  • 43.
    42 Poles And TransientResponse, 𝒃 = 𝟎. 𝟐𝟓 𝑏 = 0.25 𝑏 = 0.25 Re s t
  • 44.
    43 Poles And TransientResponse, 𝒃 = 𝟎 𝑏 = 0 𝑏 = 0 Re s t
  • 45.
    44 Transfer Function Definition: Laplace transformof output over Laplace transform of input when initial conditions are zero. Most of the transfer functions in this course will be ratios of polynomials in 𝑠. Hence, poles and zeros of transfer functions have natural definitions. Example: Recall the mass-spring-damper system,
  • 46.
    45 Transfer Function, Mass-Spring-Damper Forthe mass-spring-damper system, 𝑌 𝑠 = 1 𝑀 𝑠2 + 𝑏 𝑀 𝑠 + 𝑘 𝑀 𝑅 𝑠 + 𝑠 + 𝑏 𝑀 𝑠2 + 𝑏 𝑀 𝑠 + 𝑘 𝑀 𝑦 0− + 1 𝑠2 + 𝑏 𝑀 𝑠 + 𝑘 𝑀 d𝑦(𝑡) d𝑡 𝑡=0− Therefore, transfer function is: 1 𝑀 𝑠2 + 𝑏 𝑀 𝑠 + 𝑘 𝑀 = 1 𝑀𝑠2 + 𝑏𝑠 + 𝑘
  • 47.
    46 Step Response Recall that𝑢 𝑡 ↔ 1 𝑠 Therefore, for transfer function 𝐺 𝑠 , the step response is: ℒ−1 𝐺 𝑠 𝑠 For the mass-spring-damper system, step response is, ℒ−1 1 𝑠 𝑀𝑠2 + 𝑏𝑠 + 𝑘 What is the final position for a step input ? Recall final value theorem. Final position is 1 𝐾 . What about the complete step response ?
  • 48.
    47 Step response: ℒ−1 𝐺 𝑠 1 𝑠 Hencepoles of Laplace transform of step response are poles of 𝐺 𝑠 , plus an additional pole at 𝑠 = 0. For the mass-spring-damper system, using partial fractions, step response is: ℒ−1 1 𝑠 𝑀𝑠2 + 𝑏𝑠 + 𝑘 = ℒ−1 1 𝑘 𝑠 − 1 𝑘 ℒ−1 𝑀𝑠 + 𝑏 𝑀𝑠2 + 𝑏𝑠 + 𝑘 = 1 𝑘 𝑢 𝑡 − 1 𝑘 ℒ−1 𝑀𝑠 + 𝑏 𝑀𝑠2 + 𝑏𝑠 + 𝑘 Consider again the case of 𝑀 = 𝑘 = 1, 𝑏 = 3 → 0. 𝜔𝑛 = 1, 𝜁 = 1.5 → 0.
  • 49.
    48 Poles And StepResponse, 𝒃 = 𝟑
  • 50.
    49 Poles And StepResponse, 𝒃 = 𝟐. 𝟕𝟓
  • 51.
    50 Poles And StepResponse, 𝒃 = 𝟐. 𝟓
  • 52.
    51 Poles And StepResponse, 𝒃 = 𝟐. 𝟐𝟓
  • 53.
    52 Poles And StepResponse, 𝒃 = 𝟐
  • 54.
    53 Poles And StepResponse, 𝒃 = 𝟏. 𝟗𝟓
  • 55.
    54 Poles And StepResponse, 𝒃 = 𝟏. 𝟕𝟓
  • 56.
    55 Poles And StepResponse, 𝒃 = 𝟏. 𝟓
  • 57.
    56 Poles And StepResponse, 𝒃 = 𝟏. 𝟐𝟓
  • 58.
    57 Poles And StepResponse, 𝒃 = 𝟏
  • 59.
    58 Poles And StepResponse, 𝒃 = 𝟎. 𝟕𝟓
  • 60.
    59 Poles And StepResponse, 𝒃 = 𝟎. 𝟓
  • 61.
    60 Poles And StepResponse, 𝒃 = 𝟎. 𝟐𝟓
  • 62.
    61 Poles And StepResponse, 𝒃 = 𝟎
  • 63.
    62 We will considerlinearised model for each component. Flux in the air gap: ∅ 𝑡 = 𝐾f𝑖f 𝑡 Torque: 𝑇m 𝑡 = 𝐾1∅ 𝑡 𝑖a 𝑡 = 𝐾1𝐾f𝑖f 𝑡 𝑖a 𝑡 Is that linear ? Only if one of 𝑖f 𝑡 or 𝑖f 𝑡 is constant. We will consider “armature control”: 𝑖f 𝑡 constant. A DC Motor Figure 9
  • 64.
    63 Armature Controlled DCMotor 𝑖f 𝑡 will be constant (to set up magnetic field), 𝑖f 𝑡 = 𝐼f Torque: 𝑇m 𝑡 = 𝐾1𝐾f𝐼f𝑖a 𝑡 = 𝐾m𝑖a 𝑡 Will control motor using armature voltage 𝑉 a 𝑡 . What is the transfer function from 𝑉 a 𝑠 to angular position 𝜃 𝑠 ? Origin ?
  • 65.
    64 𝑇m 𝑡 =𝐾m𝑖a 𝑡 ↔ 𝑇m 𝑠 = 𝐾m𝐼a 𝑠 Kirchhoff Voltage Law: 𝑉 a 𝑠 = 𝑅a + 𝑠𝐿a 𝐼a 𝑠 + 𝑉b 𝑠 𝑉b 𝑠 is back-emf voltage, due to Faraday’s Law. 𝑉b 𝑠 = 𝐾b𝜔 𝑠 , where 𝜔 𝑠 = 𝑠𝜃 𝑠 is rotational velocity. Remember: transfer function implies zero initial conditions. Towards Transfer Function
  • 66.
    65 Torque on load:𝑇L 𝑠 = 𝑇m 𝑠 − 𝑇d 𝑠 𝑇d 𝑠 : disturbance. Often small, unknown. Load torque and load angle (Newton plus friction): 𝑇L 𝑠 = 𝐽𝑠2 𝜃 𝑠 + 𝑏𝑠𝜃 𝑠 Now put it all together.
  • 67.
    66 𝑇m 𝑠 =𝐾m𝐼a 𝑠 = 𝐾m 𝑉 a 𝑠 − 𝑉b 𝑠 𝑅a + 𝑠𝐿a 𝑉b 𝑠 = 𝐾b𝜔 𝑠 𝑇L 𝑠 = 𝑇m 𝑠 − 𝑇d 𝑠 𝑇L 𝑠 = 𝐽𝑠2 𝜃 𝑠 + 𝑏𝑠𝜃 𝑠 = 𝐽𝑠𝜔 𝑠 + 𝑏𝜔 𝑠 Hence 𝜔 𝑠 = 𝑇L 𝑠 𝐽𝑠+𝑏 𝜃 𝑠 = 𝜔 𝑠 𝑠
  • 68.
    67 Transfer Function 𝐾m 𝑅a +𝐿a𝑠 Armature 1 𝐽𝑠 + 𝑏 1 𝑠 𝐾b Disturbance 𝑇d 𝑠 Position 𝜃 𝑠 𝑉 a 𝑠 + − + − 𝑇m 𝑠 𝑇L 𝑠 Speed 𝜔 𝑠 Back Electromotive Force Set 𝑇d 𝑠 = 0 and solve (you MUST do this yourself) 𝐺 𝑠 = 𝜃 𝑠 𝑉 a 𝑠 = 𝐾m 𝑠 𝑅a + 𝑠𝐿a 𝐽𝑠 + 𝑏 + 𝐾b𝐾m = 𝐾m 𝑠 𝑠2 + 2𝜁𝜔𝑛𝑠 + 𝜔𝑛 2 Figure 10
  • 69.
    68 Second Order Approximation 𝐺𝑠 = 𝜃 𝑠 𝑉 a 𝑠 = 𝐾m 𝑠 𝑅a + 𝑠𝐿a 𝐽𝑠 + 𝑏 + 𝐾b𝐾m Sometimes armature time constant, 𝜏𝑎 = 𝐿a 𝑅a is negligible Hence (you MUST derive this yourself) 𝐺 𝑠 ≈ 𝐾m 𝑠 𝑅a 𝐽𝑠 + 𝑏 𝐾b𝐾m = 𝐾𝑚 𝑅a𝑏 + 𝐾b𝐾m 𝑠 𝜏1𝑠 + 1 where 𝜏1 = 𝑅a𝐽 𝑅a𝑏+𝐾b𝐾m
  • 70.
    69 Model For ADisk Drive Read System Uses a permanent magnet DC motor Can be modelled using armature control model with 𝐾b = 0 Hence, motor transfer function: 𝐺 𝑠 = 𝜃 𝑠 𝑉 a 𝑠 = 𝐾m 𝑠 𝑅a + 𝑠𝐿a 𝐽𝑠 + 𝑏 Assume for now that the arm is stiff. Figure 11
  • 71.
    70 Typical Values Parameter SymbolTypical Value Inertia of Arm and Read Head 𝐽 1 Nm𝑠2 /rad Friction 𝑏 20 Nms/rad Amplifier 𝐾a 10-1000 Armature Resistance 𝑅 1 Ω Motor Constant 𝐾m 5 Nm/A Armature Inductance 𝐿 1 mH 𝐺 𝑠 = 5000 𝑠 𝑠 + 20 𝑠 + 1000 Table 1
  • 72.
    71 Time Constants Initial model, 𝐺𝑠 = 5000 𝑠 𝑠 + 20 𝑠 + 1000 Motor time constant = 1 20 = 50 ms Armature time constant = 1 1000 = 1 ms Hence, 𝐺 𝑠 ≈ 𝐺 𝑠 = 5 𝑠 𝑠 + 20
  • 73.
    72 A Simple FeedbackController Now that we have a model, how to control ? Simple idea: Apply voltage to motor that is proportional to error between where we are and where we want to be. Amplifier Control Device Actuator and Read Arm Input Voltage Actual Head Position + − DC Motor and Arm Sensor Read Head and Index Track on Disk Desired Head Position Error Figure 12
  • 74.
    73 𝐾a Amplifier Motor andArm 𝐺 𝑠 𝑉 𝑠 𝑌 𝑠 + − 𝐺 𝑠 = 𝐾m 𝑠 𝐽𝑠 + 𝑏 𝐿𝑠 + 𝑅 Sensor 𝐻 𝑠 = 1 𝑅 𝑠 𝐸 𝑠 Here, 𝑉 𝑠 = 𝑉 a 𝑠 and 𝑌 𝑠 = 𝜃 𝑠 Figure 13
  • 75.
    74 Simplified Block Diagram 𝐾a𝑌 𝑠 + − 𝐺 𝑠 𝑅 𝑠 What is the transfer function from command to position ? Derive this yourself. 𝑌 𝑠 𝑅 𝑠 = 𝐾a𝐺 𝑠 1 + 𝐾a𝐺 𝑠 Using second-order approximation, 𝐺 𝑠 ≈ 𝐺 𝑠 = 5 𝑠 𝑠+20 𝑌 𝑠 ≈ 5𝐾a 𝑠2 + 20𝑠 + 5𝐾a 𝑅 𝑠 For 0 < 𝐾a < 20: overdamped For 𝐾a > 20: underdamped Figure 14
  • 76.
    75 Response To 𝒓𝒕 = 𝟎. 𝟏𝒖 𝒕 ; 𝑲𝐚 = 𝟏𝟎 Slow. Slower than IBMs first drive from late 1950’s. Disks in the 1970’s had 25 ms seek times; now < 10 ms Perhaps increase 𝐾a ? That would result in a “bigger” input to the motor for a given error. Poles in s-plane Response
  • 77.
    76 Response To 𝒓𝒕 = 𝟎. 𝟏𝒖 𝒕 ; 𝑲𝐚 = 𝟏𝟎, 𝟏𝟓 Poles in s-plane Response Changing 𝐾a changes the position of the closed loop poles. Hence, step response changes.
  • 78.
    77 Response To 𝒓𝒕 = 𝟎. 𝟏𝒖 𝒕 ; 𝑲𝐚 = 𝟏𝟎, 𝟏𝟓, 𝟐𝟎 Changing 𝐾a changes the position of the closed loop poles. Hence, step response changes (now critically damped).
  • 79.
    78 Response To 𝒓𝒕 = 𝟎. 𝟏𝒖 𝒕 ; 𝑲𝐚 = 𝟏𝟎, 𝟏𝟓, 𝟐𝟎, 𝟒𝟎 Changing 𝐾a changes the position of the closed loop poles. Hence, step response changes (now underdamped).
  • 80.
    79 Response To 𝒓𝒕 = 𝟎. 𝟏𝒖 𝒕 ; 𝑲𝐚 = 𝟏𝟎, 𝟏𝟓, 𝟐𝟎, 𝟒𝟎, 𝟔𝟎 Changing 𝐾a changes the position of the closed loop poles. Hence, step response changes (now more underdamped).
  • 81.
    80 Response To 𝒓𝒕 = 𝟎. 𝟏𝒖 𝒕 ; 𝑲𝐚 = 𝟏𝟎, 𝟏𝟓, 𝟐𝟎, 𝟒𝟎, 𝟔𝟎, 𝟖𝟎 What is happening to the settling time of the underdamped cases ? Only just beats IBM’s first drive. What else could we do with the controller ? Prediction ?
  • 82.
    81 Block Diagram Models Aswe have just seen, a convenient way to represent a transfer function is via a block diagram. In this case, 𝑈 𝑠 = 𝐺c 𝑠 𝑅 𝑠 and 𝑌 𝑠 = 𝐺 𝑠 𝑈 𝑠 Hence, 𝑌 𝑠 = 𝐺 𝑠 𝐺c 𝑠 𝑅 𝑠 Consistent with the engineering procedure of breaking things up into little bits, studying the little bits, and then put them together. 𝐺c 𝑠 𝑌 𝑠 𝐺 𝑠 𝑅 𝑠 Figure 15 Controller Process 𝑈 𝑠
  • 83.
    82 𝐺11 𝑠 𝑌1𝑠 𝑅1 𝑠 Simple Example 𝐺22 𝑠 + + 𝑌2 𝑠 𝑅2 𝑠 + + 𝑌1 𝑠 = 𝐺11 𝑠 𝑅1 𝑠 + 𝐺12 𝑠 𝑅2 𝑠 𝑌2 𝑠 = 𝐺21 𝑠 𝑅1 𝑠 + 𝐺22 𝑠 𝑅2 𝑠 Figure 16
  • 84.
    83 Example: Loop TransferFunction 𝐺c 𝑠 Controller 𝑍 𝑠 𝑌 𝑠 + − 𝑅 𝑠 𝐸a 𝑠 Figure 17 𝐺a 𝑠 Actuator 𝐺 𝑠 Process 𝐻 𝑠 Sensor 𝑈 𝑠 𝐵 𝑠 𝐸𝑎 𝑠 = 𝑅 𝑠 − 𝐵 𝑠 = 𝑅 𝑠 − 𝐻 𝑠 𝑌 𝑠 𝑌 𝑠 = 𝐺 𝑠 𝑈 𝑠 = 𝐺 𝑠 𝐺a 𝑠 𝑍 𝑠 = 𝐺 𝑠 𝐺a 𝑠 𝐺c 𝑠 𝐸a 𝑠 = 𝐺 𝑠 𝐺a 𝑠 𝐺c 𝑠 𝑅 𝑠 − 𝐻 𝑠 𝑌 𝑠 𝑌 𝑠 𝑅 𝑠 = 𝐺 𝑠 𝐺a 𝑠 𝐺c 𝑠 1 + 𝐺 𝑠 𝐺𝑎 𝑠 𝐺𝑐 𝑠 𝐻 𝑠 Each transfer function is a ratio of polynomials in 𝑠. What is 𝐸a 𝑠 𝑅 𝑠 ?
  • 85.
    84 Block Diagram Transformations CombiningBlock In Cascade Original Diagram Equivalent Diagram 𝐺1 𝑠 𝑋1 𝐺2 𝑠 𝑋3 𝑋2 𝐺1𝐺2 𝑋1 𝑋3 Moving A Summing Point Behind A Block 𝐺 𝑋3 + ± 𝑋1 𝑋2 𝐺 + ± 𝑋1 𝑋2 𝐺 𝑋3 Original Diagram Equivalent Diagram
  • 86.
    85 Moving A PickoffPoint Ahead Of A Block Original Diagram Equivalent Diagram 𝐺 𝑋1 𝑋2 𝐺 𝑋1 𝑋3 Moving A Pickoff Point Behind A Block 𝐺 𝑋1 1 𝐺 𝑋2 Original Diagram Equivalent Diagram 𝑋2 𝐺 𝑋2 𝐺 𝑋1 𝑋2 𝑋1 𝑋1
  • 87.
    86 Moving A SummingPoint Ahead Of A Block Original Diagram Equivalent Diagram 𝐺 𝑋1 𝑋3 𝐺 𝑋3 Eliminating A Feedback Loop 𝐺 1 ± 𝐺𝐻 𝑋1 𝑋2 Original Diagram Equivalent Diagram 𝑋2 1 𝐺 𝑋2 + ± ± 𝑋1 + 𝐺 𝑋2 𝐻 ± 𝑋1 +
  • 88.
    87 𝐺1 + − 𝑅 𝑠 𝐻2 𝐺2 + − + 𝐻1 𝐺3 𝐺4𝑌 𝑠 𝐻3 Using Block Diagram Transformations Figure 18 +
  • 89.
  • 90.
  • 91.
    89 + − 𝑅 𝑠 𝐺1 𝐺2𝐺3𝐺4 1− 𝐺3𝐺4𝐻1 + 𝐺2𝐺3𝐻2 𝑌 𝑠 𝐻3 Figure 21 𝑅 𝑠 𝐺1𝐺2𝐺3𝐺4 1 − 𝐺3𝐺4𝐻1 + 𝐺2𝐺3𝐻2 + 𝐺1𝐺2𝐺3𝐺4𝐻3 𝑌 𝑠 Figure 22
  • 92.
    90 References (1) Tim Davidson,Introduction to Linear Control Systems, McMaster University, 2018.