CS304PC:Computer Organization
and Architecture (R18 II(I sem))
Department of computer science and engineering (AI/ML)
Session 27
by
Asst.Prof.M.Gokilavani
VITS
2/28/2023 Department of CSE (AI/ML) 1
TEXTBOOK:
• 1. Computer System Architecture – M. Moris Mano,
Third Edition, Pearson/PHI.
REFERENCES:
• Computer Organization – Car Hamacher, Zvonks
Vranesic, Safea Zaky, Vth Edition, McGraw Hill.
• Computer Organization and Architecture – William
Stallings Sixth Edition, Pearson/PHI.
• Structured Computer Organization – Andrew S.
Tanenbaum, 4th Edition, PHI/Pearson.
2/28/2023 Department of CSE (AI/ML) 2
Unit IV
Input-Output Organization: Input-Output
Interface, Asynchronous data transfer, Modes of
transfer, Priority Interrupt Direct memory
Access.
Memory Organization: Memory Hierarchy,
Main memory, Auxiliary memory, Associate
memory, cache memory.
2/28/2023 Department of CSE (AI/ML) 3
Topics covered in session 27
2/28/2023 Department of CSE (AI/ML) 4
•Input-Output Organization
•Input-Output Interface
•Asynchronous data transfer
•Modes of transfer
•Priority Interrupt
•Direct memory Access.
Priority Interrupt
 A priority interrupt is a system that establishes a priority
over the various sources to determine which condition is to
be services first when two or more requests arise
simultaneously.
 Higher priority interrupt levels are assigned to requests which,
if delayed or interrupted could have serious consequences.
 Devices with high speed transfers such as magnetic disks are
given high priority and slow devices such as keyboards
receive low priority.
2/28/2023 5
Department of CSE (AI/ML)
Priority Interrupt
• When two devices interrupt the computer at the same
time, the computer services the devices with the higher
priority first.
• Establishing the priority of simultaneous interrupts
can be done by software or hardware:
 Software: Polling
 Hardware: Daisy chain, Parallel Priority
2/28/2023 6
Department of CSE (AI/ML)
Polling
A polling procedure is used to identify the highest-
priority source by software means.
 In this method, there is one common branch
address for all interrupts.
 The program that takes care of interrupts begins
at the branch address and polls the interrupt
sources in sequence.
 The order in which they are tested determines the
priority of each interrupt.
2/28/2023 7
Department of CSE (AI/ML)
Polling
The disadvantage of the software method is that if there
are many interrupts, the time required to poll them can
exceed the time available to service the I/O device.
 a hardware priority interrupt unit can be
used to speed up the operation.
A hardware priority-interrupt unit functions as
an overall manager in an interrupt system
environment.
It accepts interrupt requests from many
sources, determines which of the incoming
requests has the highest priority, and issues an
interrupt request to the computer based on the
determination.
2/28/2023 8
Department of CSE (AI/ML)
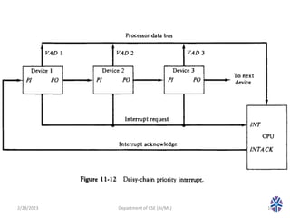
Daisy-Chaining Priority
• The daisy-chaining method of establishing priority
consists of a serial connection of all devices that request an
interrupt.
• The device with the highest priority is placed in the first
position, followed by the lower-priority devices up to the
device with the lowest priority, which is placed last in the
chain.
• The interrupt request line is common to all devices and
forms a wired logic connection.
• If any device has an interrupt signal in the low-level state,
the interrupt line goes to the low-level state and enables
the interrupt input in the CPU.
2/28/2023 9
Department of CSE (AI/ML)
2/28/2023 Department of CSE (AI/ML) 10
Daisy-Chaining Priority
 When no interrupts are pending, the interrupt line stays in the
high-level state and no interrupts are recognized by the CPU.
 This is equivalent to the negative logic OR operation.
 The CPU responds to an interrupt request by enabling the
interrupt acknowledge line. This signal is received by device 1
at its PI (Priority In) input.
 The acknowledge signal passes on to the next device through
the PO (Priority Out) output only if device 1 is not requesting
an interrupt.
 If device 1 has a pending interrupt, it blocks the acknowledge
signal from the next device by placing a 0 in the PO output.
2/28/2023 11
Department of CSE (AI/ML)
Parallel Priority Interrupt
• The parallel priority interrupt method uses a
register whose bits are set separately by the
interrupt signal from each device.
• Priority is established according to the
position of the bits in the register.
• Mask register is used to provide facility for the
higher priority devices to interrupt when lower
priority device is being serviced or disable all
lower priority devices when higher is being
services.
2/28/2023 12
Department of CSE (AI/ML)
2/28/2023 Department of CSE (AI/ML) 13
Parallel Priority Interrupt
It consists of:
 an interrupt register whose individual bits are set
by external conditions and cleared by program
instructions.
The magnetic disk, being a high-speed
device is given the highest priority.
 The mask register has the same number of bits as
the interrupt register. By means of program
instructions, it is possible to set or reset any bit in
the mask register.
 Each interrupt bit and it corresponding mask bit are
applied to an AND gate to produce the four inputs
to a priority encoder.
2/28/2023 14
Department of CSE (AI/ML)
Parallel Priority Interrupt
• In this way an interrupt is recognized only if its corresponding
mask bit is set to 1 by the program. The priority encoder
generates two bits of the vector address, which is transferred to
the CPU.
 Another output from the encoder sets an interrupt status
flip-flop IST when an interrupt that is not masked occurs.
 The interrupt enable flip-flop IEN can be set or cleared by
the program to provide an overall control over the interrupt
system.
 The outputs of IST ANDed with IEN provide a common
interrupt signal for the CPU.
 The interrupt acknowledge INTACK signal from the CPU
enables the bus buffers in the output register and a vector
address VAD is placed into the data bus.
• The priority encoder is a circuit that implements the priority
function. The logic of the priority encoder is such that if two or
more inputs arrive at the same time, the input having the highest
priority will take precedence.
2/28/2023 15
Department of CSE (AI/ML)
Topics to be covered in next session 28
• Direct memory Access
2/28/2023 Department of CSE (AI/ML) 16
Thank you!!!

CS304PC: Computer Organization and Architecture Session 27 priority interrupt.pptx

  • 1.
    CS304PC:Computer Organization and Architecture(R18 II(I sem)) Department of computer science and engineering (AI/ML) Session 27 by Asst.Prof.M.Gokilavani VITS 2/28/2023 Department of CSE (AI/ML) 1
  • 2.
    TEXTBOOK: • 1. ComputerSystem Architecture – M. Moris Mano, Third Edition, Pearson/PHI. REFERENCES: • Computer Organization – Car Hamacher, Zvonks Vranesic, Safea Zaky, Vth Edition, McGraw Hill. • Computer Organization and Architecture – William Stallings Sixth Edition, Pearson/PHI. • Structured Computer Organization – Andrew S. Tanenbaum, 4th Edition, PHI/Pearson. 2/28/2023 Department of CSE (AI/ML) 2
  • 3.
    Unit IV Input-Output Organization:Input-Output Interface, Asynchronous data transfer, Modes of transfer, Priority Interrupt Direct memory Access. Memory Organization: Memory Hierarchy, Main memory, Auxiliary memory, Associate memory, cache memory. 2/28/2023 Department of CSE (AI/ML) 3
  • 4.
    Topics covered insession 27 2/28/2023 Department of CSE (AI/ML) 4 •Input-Output Organization •Input-Output Interface •Asynchronous data transfer •Modes of transfer •Priority Interrupt •Direct memory Access.
  • 5.
    Priority Interrupt  Apriority interrupt is a system that establishes a priority over the various sources to determine which condition is to be services first when two or more requests arise simultaneously.  Higher priority interrupt levels are assigned to requests which, if delayed or interrupted could have serious consequences.  Devices with high speed transfers such as magnetic disks are given high priority and slow devices such as keyboards receive low priority. 2/28/2023 5 Department of CSE (AI/ML)
  • 6.
    Priority Interrupt • Whentwo devices interrupt the computer at the same time, the computer services the devices with the higher priority first. • Establishing the priority of simultaneous interrupts can be done by software or hardware:  Software: Polling  Hardware: Daisy chain, Parallel Priority 2/28/2023 6 Department of CSE (AI/ML)
  • 7.
    Polling A polling procedureis used to identify the highest- priority source by software means.  In this method, there is one common branch address for all interrupts.  The program that takes care of interrupts begins at the branch address and polls the interrupt sources in sequence.  The order in which they are tested determines the priority of each interrupt. 2/28/2023 7 Department of CSE (AI/ML)
  • 8.
    Polling The disadvantage ofthe software method is that if there are many interrupts, the time required to poll them can exceed the time available to service the I/O device.  a hardware priority interrupt unit can be used to speed up the operation. A hardware priority-interrupt unit functions as an overall manager in an interrupt system environment. It accepts interrupt requests from many sources, determines which of the incoming requests has the highest priority, and issues an interrupt request to the computer based on the determination. 2/28/2023 8 Department of CSE (AI/ML)
  • 9.
    Daisy-Chaining Priority • Thedaisy-chaining method of establishing priority consists of a serial connection of all devices that request an interrupt. • The device with the highest priority is placed in the first position, followed by the lower-priority devices up to the device with the lowest priority, which is placed last in the chain. • The interrupt request line is common to all devices and forms a wired logic connection. • If any device has an interrupt signal in the low-level state, the interrupt line goes to the low-level state and enables the interrupt input in the CPU. 2/28/2023 9 Department of CSE (AI/ML)
  • 10.
  • 11.
    Daisy-Chaining Priority  Whenno interrupts are pending, the interrupt line stays in the high-level state and no interrupts are recognized by the CPU.  This is equivalent to the negative logic OR operation.  The CPU responds to an interrupt request by enabling the interrupt acknowledge line. This signal is received by device 1 at its PI (Priority In) input.  The acknowledge signal passes on to the next device through the PO (Priority Out) output only if device 1 is not requesting an interrupt.  If device 1 has a pending interrupt, it blocks the acknowledge signal from the next device by placing a 0 in the PO output. 2/28/2023 11 Department of CSE (AI/ML)
  • 12.
    Parallel Priority Interrupt •The parallel priority interrupt method uses a register whose bits are set separately by the interrupt signal from each device. • Priority is established according to the position of the bits in the register. • Mask register is used to provide facility for the higher priority devices to interrupt when lower priority device is being serviced or disable all lower priority devices when higher is being services. 2/28/2023 12 Department of CSE (AI/ML)
  • 13.
  • 14.
    Parallel Priority Interrupt Itconsists of:  an interrupt register whose individual bits are set by external conditions and cleared by program instructions. The magnetic disk, being a high-speed device is given the highest priority.  The mask register has the same number of bits as the interrupt register. By means of program instructions, it is possible to set or reset any bit in the mask register.  Each interrupt bit and it corresponding mask bit are applied to an AND gate to produce the four inputs to a priority encoder. 2/28/2023 14 Department of CSE (AI/ML)
  • 15.
    Parallel Priority Interrupt •In this way an interrupt is recognized only if its corresponding mask bit is set to 1 by the program. The priority encoder generates two bits of the vector address, which is transferred to the CPU.  Another output from the encoder sets an interrupt status flip-flop IST when an interrupt that is not masked occurs.  The interrupt enable flip-flop IEN can be set or cleared by the program to provide an overall control over the interrupt system.  The outputs of IST ANDed with IEN provide a common interrupt signal for the CPU.  The interrupt acknowledge INTACK signal from the CPU enables the bus buffers in the output register and a vector address VAD is placed into the data bus. • The priority encoder is a circuit that implements the priority function. The logic of the priority encoder is such that if two or more inputs arrive at the same time, the input having the highest priority will take precedence. 2/28/2023 15 Department of CSE (AI/ML)
  • 16.
    Topics to becovered in next session 28 • Direct memory Access 2/28/2023 Department of CSE (AI/ML) 16 Thank you!!!