ОПИСАНИЕ
ПОЛЕЗНОЙ
МОДЕЛИ К
ПАТЕНТУ
(12)
РЕСПУБЛИКА БЕЛАРУСЬ
НАЦИОНАЛЬНЫЙ ЦЕНТР
ИНТЕЛЛЕКТУАЛЬНОЙ
СОБСТВЕННОСТИ
(19) BY (11) 7227
(13) U
(46) 2011.04.30
(51) МПК (2009)
A 01K 5/00
(54) РАЗДАТЧИК-СМЕСИТЕЛЬ КОРМОВ
(21) Номер заявки: u 20100806
(22) 2010.09.24
(71) Заявитель: Учреждение образования
"Белорусский государственный аг-
рарный технический университет"
(BY)
(72) Авторы: Шило Иван Николаевич;
Агейчик Валерий Александрович; Ро-
манюк Николай Николаевич; Агейчик
Михаил Валерьевич (BY)
(73) Патентообладатель: Учреждение обра-
зования "Белорусский государствен-
ный аграрный технический универси-
тет" (BY)
(57)
Раздатчик-смеситель кормов, содержащий бункер с выгрузным транспортером в ниж-
ней части, боковыми смесительными шнеками и донным выгрузным шнеком, причем
донный шнек выполнен с разрывом навивки над выгрузным транспортером и с разносто-
ронними навивками на противоположных от разрыва концах, а вал донного шнека выпол-
нен полым и снабжен установленным внутри него воздуховодом, входной конец которого
выступает за переднюю стенку бункера и соединен с трубкой подачи газообразной среды
под давлением, при этом вал донного шнека в месте навивки выполнен перфорированным
с отверстиями, а вал донного шнека снабжен поперечной перегородкой, установленной за
перфорированной его частью, а воздуховод выполнен в виде трубы с обращенным вверх
направляющим диффузором, кромки выходного окна которого примыкают к внутренней
поверхности вала в зоне перфорации, причем свободный конец трубы заглушен и уста-
новлен с возможностью вращения в перегородке вала, а направляющий диффузор снаб-
жен уплотнением по периметру выходного окна, а входной конец воздуховода снабжен
жестко прикрепленной к нему фиксаторной пластиной с болтом, завинченным в перед-
нюю стенку бункера, отличающийся тем, что перфорированные отверстия на валу поло-
го донного шнека выполнены в осевых плоскостях круглыми и содержат на их
внутренних цилиндрических поверхностях винтовые канавки в виде многозаходной труб-
ной резьбы через один в шахматном порядке левой и правой навивки.
Фиг. 1
BY7227U2011.04.30
BY 7227 U 2011.04.30
2
(56)
1. Патент на изобретение РФ 2070385 C1, МПК A 01K 5/00, 1996.
Полезная модель относится к области сельскохозяйственного машиностроения, в
частности к раздатчикам-смесителям кормов, используемым на животноводческих фермах
и комплексах.
Известен [1] раздатчик-смеситель кормов, содержащий бункер с выгрузным транспор-
тером в нижней части, боковыми смесительными шнеками и донным выгрузным шнеком,
причем донный шнек выполнен с разрывом навивки над выгрузным транспортером и с
разносторонними навивками на противоположных от разрыва концах, а вал донного шне-
ка выполнен полым и снабжен установленным внутри него воздуховодом, входной конец
которого выступает за переднюю стенку бункера и соединен с трубкой подачи газообраз-
ной среды под давлением, при этом вал донного шнека в месте навивки выполнен перфо-
рированным с отверстиями, а вал донного шнека снабжен поперечной перегородкой,
установленной за перфорированной его частью, а воздуховод выполнен в виде трубы с
обращенным вверх направляющим диффузором, кромки выходного окна которого при-
мыкают к внутренней поверхности вала в зоне перфорации, причем свободный конец тру-
бы заглушен и установлен с возможностью вращения в перегородке вала, а направляющий
диффузор снабжен уплотнением по периметру выходного окна, а входной конец воздухо-
вода снабжен жестко прикрепленной к нему фиксаторной пластиной с болтом, завинчен-
ным в переднюю стенку бункера.
Такой смеситель имеет низкое качество смешения, так как воздушные потоки воздей-
ствуют на корм строго в радиальных направлениях и оказывают на него слабое смешива-
ющее воздействие.
Задача, которую решает полезная модель, заключается в повышении качества смеше-
ния корма.
Поставленная задача решается с помощью раздатчика-смесителя кормов, содержащего
бункер с выгрузным транспортером в нижней части, боковыми смесительными шнеками и
донным выгрузным шнеком, причем донный шнек выполнен с разрывом навивки над вы-
грузным транспортером и с разносторонними навивками на противоположных от разрыва
концах, а вал донного шнека выполнен полым и снабжен установленным внутри него воз-
духоводом, входной конец которого выступает за переднюю стенку бункера и соединен с
трубкой подачи газообразной среды под давлением, при этом вал донного шнека в месте
навивки выполнен перфорированным с отверстиями, а вал донного шнека снабжен попе-
речной перегородкой, установленной за перфорированной его частью, а воздуховод вы-
полнен в виде трубы с обращенным вверх направляющим диффузором, кромки выходного
окна которого примыкают к внутренней поверхности вала в зоне перфорации, причем
свободный конец трубы заглушен и установлен с возможностью вращения в перегородке
вала, а направляющий диффузор снабжен уплотнением по периметру выходного окна, а
входной конец воздуховода снабжен жестко прикрепленной к нему фиксаторной пласти-
ной с болтом, завинченным в переднюю стенку бункера, где перфорированные отверстия
на валу полого донного шнека выполнены в осевых плоскостях круглыми и содержат на
их внутренних цилиндрических поверхностях винтовые канавки в виде многозаходной
трубной резьбы через один в шахматном порядке левой и правой навивки.
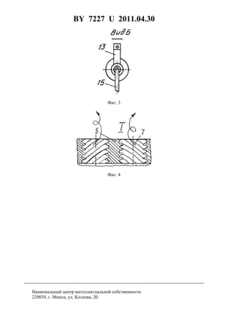
На фиг. 1 изображен донный выгрузной шнек раздатчика-смесителя кормов; на фиг. 2 -
поперечный разрез A-A донного выгрузного шнека на фиг. 1; на фиг. 3 - вид Б на фиг. 1;
на фиг. 4 показаны соседние отверстия на валу полого донного шнека в узле I на фиг. 1.
Раздатчик-смеситель кормов содержит бункер 1 (фиг. 1) с размещенными продольно
внутри него шнеками 2 и 3. Верхние шнеки 2 расположены вдоль боковых стенок бункера 1,
BY 7227 U 2011.04.30
3
а донный выгрузной шнек 3 расположен в его днище. В передней части боковой стенки
бункера 1 выполнен выгрузной транспортер 4. Донный выгрузной шнек 3 выполнен с раз-
рывом навивки над выгрузным транспортером 4 и с разносторонними навивками на про-
тивоположных от разрыва концах, а вал 5 донного выгрузного шнека 3 выполнен полым и
снабжен установленными внутри него воздуховодом 6, входной конец которого выступает
за переднюю стенку бункера 1. Вал 5 донного выгрузного шнека 3 в месте навивки вы-
полнен перфорированным с отверстиями 7, которые выполнены в осевых плоскостях
круглыми и содержат на их внутренних цилиндрических поверхностях винтовые канавки
в виде многозаходней трубной резьбы через один в шахматном порядке левой и правой
навивки. Вал 5 донного выгрузного шнека 3 снабжен поперечной перегородкой 8, уста-
новленной за перфорированной его частью, а воздуховод 6 выполнен в виде трубы 9 с об-
ращенным вверх направляющим диффузором 10. Кромки выходного окна 11 примыкают к
внутренней поверхности вала 5 в зоне перфорации, причем свободный конец трубы 9 за-
глушен и установлен с возможностью вращения в перегородке 8 вала 5, а направляющий
диффузор 10 снабжен уплотнением 12 по периметру выходного окна 11. Входной конец
трубы 9 воздуховода 6 снабжен жестко прикрепленной к нему фиксаторной пластиной 13
с болтом 14, завинченным в переднюю стенку бункера 1. Входной конец трубы 9 воздухо-
вода 6 соединен с трубкой 15 подачи газообразной сред под давлением.
Раздатчик-смеситель кормов работает следующим образом.
Приготовленный к работе раздатчик-смеситель кормов оператор-водитель подает под
выгрузку кормовыми компонентами. Компоненты кормов загружают в бункер 1, они па-
дают на донный выгрузной шнек 3 и верхние шнеки 2. Донный выгрузной шнек 3 направ-
ляет массу корма встречно направленным винтовым линиям к разрыву, где под действием
винтовых линий и воздушного (газового) потока за счет эффективного воздействия с вин-
товыми вращениями после прохождения нарезных отверстий в разных направлениях газо-
вых струй эффективно смешивает и подает массу корма к верхним шнекам 2, которые
захватывают массу корма и направляют к задней стенке бункера 1, где корм под соб-
ственным весом падает на донный выгрузной шнек 3.
Смешивание компонентов кормов производится как в процессе загрузки, так и в про-
цессе транспортировки к месту раздачи.
Фиг. 2
BY 7227 U 2011.04.30
4
Фиг. 3
Фиг. 4
Национальный центр интеллектуальной собственности.
220034, г. Минск, ул. Козлова, 20.

7227

  • 1.
    ОПИСАНИЕ ПОЛЕЗНОЙ МОДЕЛИ К ПАТЕНТУ (12) РЕСПУБЛИКА БЕЛАРУСЬ НАЦИОНАЛЬНЫЙЦЕНТР ИНТЕЛЛЕКТУАЛЬНОЙ СОБСТВЕННОСТИ (19) BY (11) 7227 (13) U (46) 2011.04.30 (51) МПК (2009) A 01K 5/00 (54) РАЗДАТЧИК-СМЕСИТЕЛЬ КОРМОВ (21) Номер заявки: u 20100806 (22) 2010.09.24 (71) Заявитель: Учреждение образования "Белорусский государственный аг- рарный технический университет" (BY) (72) Авторы: Шило Иван Николаевич; Агейчик Валерий Александрович; Ро- манюк Николай Николаевич; Агейчик Михаил Валерьевич (BY) (73) Патентообладатель: Учреждение обра- зования "Белорусский государствен- ный аграрный технический универси- тет" (BY) (57) Раздатчик-смеситель кормов, содержащий бункер с выгрузным транспортером в ниж- ней части, боковыми смесительными шнеками и донным выгрузным шнеком, причем донный шнек выполнен с разрывом навивки над выгрузным транспортером и с разносто- ронними навивками на противоположных от разрыва концах, а вал донного шнека выпол- нен полым и снабжен установленным внутри него воздуховодом, входной конец которого выступает за переднюю стенку бункера и соединен с трубкой подачи газообразной среды под давлением, при этом вал донного шнека в месте навивки выполнен перфорированным с отверстиями, а вал донного шнека снабжен поперечной перегородкой, установленной за перфорированной его частью, а воздуховод выполнен в виде трубы с обращенным вверх направляющим диффузором, кромки выходного окна которого примыкают к внутренней поверхности вала в зоне перфорации, причем свободный конец трубы заглушен и уста- новлен с возможностью вращения в перегородке вала, а направляющий диффузор снаб- жен уплотнением по периметру выходного окна, а входной конец воздуховода снабжен жестко прикрепленной к нему фиксаторной пластиной с болтом, завинченным в перед- нюю стенку бункера, отличающийся тем, что перфорированные отверстия на валу поло- го донного шнека выполнены в осевых плоскостях круглыми и содержат на их внутренних цилиндрических поверхностях винтовые канавки в виде многозаходной труб- ной резьбы через один в шахматном порядке левой и правой навивки. Фиг. 1 BY7227U2011.04.30
  • 2.
    BY 7227 U2011.04.30 2 (56) 1. Патент на изобретение РФ 2070385 C1, МПК A 01K 5/00, 1996. Полезная модель относится к области сельскохозяйственного машиностроения, в частности к раздатчикам-смесителям кормов, используемым на животноводческих фермах и комплексах. Известен [1] раздатчик-смеситель кормов, содержащий бункер с выгрузным транспор- тером в нижней части, боковыми смесительными шнеками и донным выгрузным шнеком, причем донный шнек выполнен с разрывом навивки над выгрузным транспортером и с разносторонними навивками на противоположных от разрыва концах, а вал донного шне- ка выполнен полым и снабжен установленным внутри него воздуховодом, входной конец которого выступает за переднюю стенку бункера и соединен с трубкой подачи газообраз- ной среды под давлением, при этом вал донного шнека в месте навивки выполнен перфо- рированным с отверстиями, а вал донного шнека снабжен поперечной перегородкой, установленной за перфорированной его частью, а воздуховод выполнен в виде трубы с обращенным вверх направляющим диффузором, кромки выходного окна которого при- мыкают к внутренней поверхности вала в зоне перфорации, причем свободный конец тру- бы заглушен и установлен с возможностью вращения в перегородке вала, а направляющий диффузор снабжен уплотнением по периметру выходного окна, а входной конец воздухо- вода снабжен жестко прикрепленной к нему фиксаторной пластиной с болтом, завинчен- ным в переднюю стенку бункера. Такой смеситель имеет низкое качество смешения, так как воздушные потоки воздей- ствуют на корм строго в радиальных направлениях и оказывают на него слабое смешива- ющее воздействие. Задача, которую решает полезная модель, заключается в повышении качества смеше- ния корма. Поставленная задача решается с помощью раздатчика-смесителя кормов, содержащего бункер с выгрузным транспортером в нижней части, боковыми смесительными шнеками и донным выгрузным шнеком, причем донный шнек выполнен с разрывом навивки над вы- грузным транспортером и с разносторонними навивками на противоположных от разрыва концах, а вал донного шнека выполнен полым и снабжен установленным внутри него воз- духоводом, входной конец которого выступает за переднюю стенку бункера и соединен с трубкой подачи газообразной среды под давлением, при этом вал донного шнека в месте навивки выполнен перфорированным с отверстиями, а вал донного шнека снабжен попе- речной перегородкой, установленной за перфорированной его частью, а воздуховод вы- полнен в виде трубы с обращенным вверх направляющим диффузором, кромки выходного окна которого примыкают к внутренней поверхности вала в зоне перфорации, причем свободный конец трубы заглушен и установлен с возможностью вращения в перегородке вала, а направляющий диффузор снабжен уплотнением по периметру выходного окна, а входной конец воздуховода снабжен жестко прикрепленной к нему фиксаторной пласти- ной с болтом, завинченным в переднюю стенку бункера, где перфорированные отверстия на валу полого донного шнека выполнены в осевых плоскостях круглыми и содержат на их внутренних цилиндрических поверхностях винтовые канавки в виде многозаходной трубной резьбы через один в шахматном порядке левой и правой навивки. На фиг. 1 изображен донный выгрузной шнек раздатчика-смесителя кормов; на фиг. 2 - поперечный разрез A-A донного выгрузного шнека на фиг. 1; на фиг. 3 - вид Б на фиг. 1; на фиг. 4 показаны соседние отверстия на валу полого донного шнека в узле I на фиг. 1. Раздатчик-смеситель кормов содержит бункер 1 (фиг. 1) с размещенными продольно внутри него шнеками 2 и 3. Верхние шнеки 2 расположены вдоль боковых стенок бункера 1,
  • 3.
    BY 7227 U2011.04.30 3 а донный выгрузной шнек 3 расположен в его днище. В передней части боковой стенки бункера 1 выполнен выгрузной транспортер 4. Донный выгрузной шнек 3 выполнен с раз- рывом навивки над выгрузным транспортером 4 и с разносторонними навивками на про- тивоположных от разрыва концах, а вал 5 донного выгрузного шнека 3 выполнен полым и снабжен установленными внутри него воздуховодом 6, входной конец которого выступает за переднюю стенку бункера 1. Вал 5 донного выгрузного шнека 3 в месте навивки вы- полнен перфорированным с отверстиями 7, которые выполнены в осевых плоскостях круглыми и содержат на их внутренних цилиндрических поверхностях винтовые канавки в виде многозаходней трубной резьбы через один в шахматном порядке левой и правой навивки. Вал 5 донного выгрузного шнека 3 снабжен поперечной перегородкой 8, уста- новленной за перфорированной его частью, а воздуховод 6 выполнен в виде трубы 9 с об- ращенным вверх направляющим диффузором 10. Кромки выходного окна 11 примыкают к внутренней поверхности вала 5 в зоне перфорации, причем свободный конец трубы 9 за- глушен и установлен с возможностью вращения в перегородке 8 вала 5, а направляющий диффузор 10 снабжен уплотнением 12 по периметру выходного окна 11. Входной конец трубы 9 воздуховода 6 снабжен жестко прикрепленной к нему фиксаторной пластиной 13 с болтом 14, завинченным в переднюю стенку бункера 1. Входной конец трубы 9 воздухо- вода 6 соединен с трубкой 15 подачи газообразной сред под давлением. Раздатчик-смеситель кормов работает следующим образом. Приготовленный к работе раздатчик-смеситель кормов оператор-водитель подает под выгрузку кормовыми компонентами. Компоненты кормов загружают в бункер 1, они па- дают на донный выгрузной шнек 3 и верхние шнеки 2. Донный выгрузной шнек 3 направ- ляет массу корма встречно направленным винтовым линиям к разрыву, где под действием винтовых линий и воздушного (газового) потока за счет эффективного воздействия с вин- товыми вращениями после прохождения нарезных отверстий в разных направлениях газо- вых струй эффективно смешивает и подает массу корма к верхним шнекам 2, которые захватывают массу корма и направляют к задней стенке бункера 1, где корм под соб- ственным весом падает на донный выгрузной шнек 3. Смешивание компонентов кормов производится как в процессе загрузки, так и в про- цессе транспортировки к месту раздачи. Фиг. 2
  • 4.
    BY 7227 U2011.04.30 4 Фиг. 3 Фиг. 4 Национальный центр интеллектуальной собственности. 220034, г. Минск, ул. Козлова, 20.