РЕСПУБЛИКА КАЗАХСТАН
(19) KZ (13) A4 (11) 28775
(51) A01C 7/16 (2006.01)
КОМИТЕТ ПО ПРАВАМ
ИНТЕЛЛЕКТУАЛЬНОЙ СОБСТВЕННОСТИ
МИНИСТЕРСТВА ЮСТИЦИИ РЕСПУБЛИКИ КАЗАХСТАН
ОПИСАНИЕ ИЗОБРЕТЕНИЯ
К ИННОВАЦИОННОМУ ПАТЕНТУ
(21) 2013/1426.1
(22) 24.10.2013
(45) 15.08.2014, бюл. №8
(72) Нукешев Саяхат Оразович (KZ); Есхожин
Джадыгер Зарлыкович (KZ); Шило Иван
Николаевич (BY); Романюк Николай Николаевич
(BY); Агейчик Валерий Александрович (BY);
Романюк Вадим Николаевич (BY); Тлеумбетов
Калдыбек Мирамбекович (KZ); Умбеталиев Саламат
Муратович (KZ)
(73) Акционерное общество "Казахский
агротехнический университет им. Сакена
Сейфуллина"
(56) Патент РФ №2182756, 2004
(54) ВЫСЕВАЮЩЕЕ УСТРОЙСТВО
(57) Изобретение относится к
сельскохозяйственному машиностроению, в
частности к устройствам для внесения минеральных
удобрений.
Задача, которую решает изобретение,
заключается в повышении равномерности внесения
минеральных удобрений.
Поставленная задача решается с помощью
высевающего устройства, содержащего бункер с
высевным окном, на дне которого, против
высевного окна установлена высевающая катушка и
питатель-сводоразрушитель, где питатель-
сводоразрушитель выполнен в виде двух
симметрично расположенных относительно
совпадающей с направлением движения продольной
вертикальной плоскости симметрии устройства
конических пружин сжатия с противоположными
навивками, основания которых прикреплены к
кольцу, связанного через упругие спицы с втулкой,
жестко прикрепленной на валу, а вторые концы -
свободно скользят в шлицевых втулках, с
возможностью вращения их вместе с валом.
(19)KZ(13)A4(11)28775
28775
2
Изобретение относится к сельскохозяйственному
машиностроению, в частности к устройствам для
внесения минеральных удобрений.
Известно [см. Патент РФ №2179383, МПК А01С
15/16. Бюл. №36, 27.12.2003] устройство для
внесения минеральных удобрений, содержащее
емкость с регулируемыми выгрузными окнами и
высевающий аппарат, выполненный в виде
установленной на валу цилиндрической пружины, с
правой и левой навивкой. Внутри пружины
расположены упругие ворошилки, причем
направление навивки каждой ворошилки совпадает
с направлением навивки, соответствующей
половины пружины, а диаметр витка ворошилки не
более диаметра витка пружины.
Недостатком данного устройства является
сложность конструкции и непригодность для
разрушения устойчивых сводов в среде
минеральных удобрений.
Наиболее близким техническим решением по
совокупности признаков и достигаемому
положительному эффекту (прототипом) является
устройство для внесения минеральных удобрений
[см. Патент РФ №2182756, МПК А01С 15/16.
Бюл.№8, 20.03.2004], содержащее бункер с
выгрузным окном и высевающий аппарат,
выполненный в виде установленной на валу
пружины. В бункере над катушкой высевающего
аппарата горизонтально размещены две соосно
установленные цилиндрические пружины,
состоящие каждая из двух равных частей, одна
часть - с правой и вторая часть с левой навивкой,
при этом концы пружин жестко прикреплены к
цапфам, установленным с возможностью
вращательного движения.
Недостатком данного устройства является
недостаточная равномерность внесения
минеральных удобрений.
Задача, которую решает изобретение,
заключается в повышении равномерности внесения
минеральных удобрений.
Поставленная задача решается с помощью
высевающего устройства, содержащего бункер с
высевным окном, на дне которого, против
высевного окна установлена высевающая катушка и
питатель-сводоразрушитель, где питатель-
сводоразрушитель выполнен в виде двух
симметрично расположенных относительно
совпадающей с направлением движения продольной
вертикальной плоскости симметрии устройства
конических пружин сжатия с противоположными
навивками, основания которых прикреплены к
кольцу, связанного через упругие спицы с втулкой,
жестко прикрепленной на валу, а вторые концы -
свободно скользят в шлицевых втулках, с
возможностью вращения их вместе с валом.
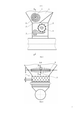
На фиг.1 представлен общий вид высевающего
устройства, на фиг.2-разрез А-А на фиг.1, на фиг.3 -
разрез В-В на фиг.2.
Высевающее устройство содержит бункер 1, на
дне которого против выпускных окон 2 на валу 3
расположена штифтовая катушка 4 с заслонкой 5 и
вал 6, на котором установлен питатель-
сводоразрушитель 7, концы которого свободно
скользят в шлицевых втулках 8, а средняя часть -
основания спиралей крепятся к кольцу 9, связанного
через упругие спицы 10 с втулкой 11, при этом
питатель-сводоразрушитель 7 выполнен в виде двух
симметрично расположенных относительно
совпадающей с направлением движения продольной
вертикальной плоскости симметрии устройства
конических пружин сжатия с противоположными
навивками, основания которых прикреплены к
кольцу 9. Втулка 11 жестко закреплена валу 6.
Привод осуществляется от механизма опорных
колес при помощи цепной передачи 12.
Устройство работает следующим образом.
По мере загрузки минеральные удобрения из
бункера 1 поступают на питатель-сводоразрушитель
7, который транспортирует материал на катушку 4.
Питатель-сводоразрушитель 7 за счет
вращательного движения и свободно скользящих в
шлицевых втулках 8 концов, работает на
растяжение и сжатие. При этом комки материала,
попадая в межвитковое пространство, разрушаются.
Средняя его часть - основания спиралей за счет
гибких спиц 10 также могут совершать колебания
по горизонтали, что способствует разрушению
постоянно образующихся над высевным окном 2
динамических и статических сводов, непрерывному
питанию катушки 4 трудносыпучим материалом, и
как следствие, качественному обеспечению
выполнения технологического процесса внесения
минеральных удобрений в почву.
Доза внесения устанавливается изменением
частоты вращения катушки 4 и зазора между
катушкой 4 и заслонки 5. Заслонка 5 при полном
открытии также позволяет провести опорожнение
бункера 1.
ФОРМУЛА ИЗОБРЕТЕНИЯ
Высевающее устройство, содержащее бункер с
высевным окном, на дне которого, против
высевного окна установлена высевающая катушка и
питатель-сводоразрушитель, отличающееся тем,
что питатель-сводоразрушитель выполнен в виде
двух симметрично расположенных относительно
совпадающей с направлением движения продольной
вертикальной плоскости симметрии устройства
конических пружин сжатия с противоположными
навивками, основания которых прикреплены к
кольцу, связанного через упругие спицы с втулкой,
жестко прикрепленной на валу, а вторые концы -
свободно скользят в шлицевых втулках, с
возможностью вращения их вместе с валом.
28775
3
28775
4
Верстка Ж. Жомартбек
Корректор Е. Барч

28775ip

  • 1.
    РЕСПУБЛИКА КАЗАХСТАН (19) KZ(13) A4 (11) 28775 (51) A01C 7/16 (2006.01) КОМИТЕТ ПО ПРАВАМ ИНТЕЛЛЕКТУАЛЬНОЙ СОБСТВЕННОСТИ МИНИСТЕРСТВА ЮСТИЦИИ РЕСПУБЛИКИ КАЗАХСТАН ОПИСАНИЕ ИЗОБРЕТЕНИЯ К ИННОВАЦИОННОМУ ПАТЕНТУ (21) 2013/1426.1 (22) 24.10.2013 (45) 15.08.2014, бюл. №8 (72) Нукешев Саяхат Оразович (KZ); Есхожин Джадыгер Зарлыкович (KZ); Шило Иван Николаевич (BY); Романюк Николай Николаевич (BY); Агейчик Валерий Александрович (BY); Романюк Вадим Николаевич (BY); Тлеумбетов Калдыбек Мирамбекович (KZ); Умбеталиев Саламат Муратович (KZ) (73) Акционерное общество "Казахский агротехнический университет им. Сакена Сейфуллина" (56) Патент РФ №2182756, 2004 (54) ВЫСЕВАЮЩЕЕ УСТРОЙСТВО (57) Изобретение относится к сельскохозяйственному машиностроению, в частности к устройствам для внесения минеральных удобрений. Задача, которую решает изобретение, заключается в повышении равномерности внесения минеральных удобрений. Поставленная задача решается с помощью высевающего устройства, содержащего бункер с высевным окном, на дне которого, против высевного окна установлена высевающая катушка и питатель-сводоразрушитель, где питатель- сводоразрушитель выполнен в виде двух симметрично расположенных относительно совпадающей с направлением движения продольной вертикальной плоскости симметрии устройства конических пружин сжатия с противоположными навивками, основания которых прикреплены к кольцу, связанного через упругие спицы с втулкой, жестко прикрепленной на валу, а вторые концы - свободно скользят в шлицевых втулках, с возможностью вращения их вместе с валом. (19)KZ(13)A4(11)28775
  • 2.
    28775 2 Изобретение относится ксельскохозяйственному машиностроению, в частности к устройствам для внесения минеральных удобрений. Известно [см. Патент РФ №2179383, МПК А01С 15/16. Бюл. №36, 27.12.2003] устройство для внесения минеральных удобрений, содержащее емкость с регулируемыми выгрузными окнами и высевающий аппарат, выполненный в виде установленной на валу цилиндрической пружины, с правой и левой навивкой. Внутри пружины расположены упругие ворошилки, причем направление навивки каждой ворошилки совпадает с направлением навивки, соответствующей половины пружины, а диаметр витка ворошилки не более диаметра витка пружины. Недостатком данного устройства является сложность конструкции и непригодность для разрушения устойчивых сводов в среде минеральных удобрений. Наиболее близким техническим решением по совокупности признаков и достигаемому положительному эффекту (прототипом) является устройство для внесения минеральных удобрений [см. Патент РФ №2182756, МПК А01С 15/16. Бюл.№8, 20.03.2004], содержащее бункер с выгрузным окном и высевающий аппарат, выполненный в виде установленной на валу пружины. В бункере над катушкой высевающего аппарата горизонтально размещены две соосно установленные цилиндрические пружины, состоящие каждая из двух равных частей, одна часть - с правой и вторая часть с левой навивкой, при этом концы пружин жестко прикреплены к цапфам, установленным с возможностью вращательного движения. Недостатком данного устройства является недостаточная равномерность внесения минеральных удобрений. Задача, которую решает изобретение, заключается в повышении равномерности внесения минеральных удобрений. Поставленная задача решается с помощью высевающего устройства, содержащего бункер с высевным окном, на дне которого, против высевного окна установлена высевающая катушка и питатель-сводоразрушитель, где питатель- сводоразрушитель выполнен в виде двух симметрично расположенных относительно совпадающей с направлением движения продольной вертикальной плоскости симметрии устройства конических пружин сжатия с противоположными навивками, основания которых прикреплены к кольцу, связанного через упругие спицы с втулкой, жестко прикрепленной на валу, а вторые концы - свободно скользят в шлицевых втулках, с возможностью вращения их вместе с валом. На фиг.1 представлен общий вид высевающего устройства, на фиг.2-разрез А-А на фиг.1, на фиг.3 - разрез В-В на фиг.2. Высевающее устройство содержит бункер 1, на дне которого против выпускных окон 2 на валу 3 расположена штифтовая катушка 4 с заслонкой 5 и вал 6, на котором установлен питатель- сводоразрушитель 7, концы которого свободно скользят в шлицевых втулках 8, а средняя часть - основания спиралей крепятся к кольцу 9, связанного через упругие спицы 10 с втулкой 11, при этом питатель-сводоразрушитель 7 выполнен в виде двух симметрично расположенных относительно совпадающей с направлением движения продольной вертикальной плоскости симметрии устройства конических пружин сжатия с противоположными навивками, основания которых прикреплены к кольцу 9. Втулка 11 жестко закреплена валу 6. Привод осуществляется от механизма опорных колес при помощи цепной передачи 12. Устройство работает следующим образом. По мере загрузки минеральные удобрения из бункера 1 поступают на питатель-сводоразрушитель 7, который транспортирует материал на катушку 4. Питатель-сводоразрушитель 7 за счет вращательного движения и свободно скользящих в шлицевых втулках 8 концов, работает на растяжение и сжатие. При этом комки материала, попадая в межвитковое пространство, разрушаются. Средняя его часть - основания спиралей за счет гибких спиц 10 также могут совершать колебания по горизонтали, что способствует разрушению постоянно образующихся над высевным окном 2 динамических и статических сводов, непрерывному питанию катушки 4 трудносыпучим материалом, и как следствие, качественному обеспечению выполнения технологического процесса внесения минеральных удобрений в почву. Доза внесения устанавливается изменением частоты вращения катушки 4 и зазора между катушкой 4 и заслонки 5. Заслонка 5 при полном открытии также позволяет провести опорожнение бункера 1. ФОРМУЛА ИЗОБРЕТЕНИЯ Высевающее устройство, содержащее бункер с высевным окном, на дне которого, против высевного окна установлена высевающая катушка и питатель-сводоразрушитель, отличающееся тем, что питатель-сводоразрушитель выполнен в виде двух симметрично расположенных относительно совпадающей с направлением движения продольной вертикальной плоскости симметрии устройства конических пружин сжатия с противоположными навивками, основания которых прикреплены к кольцу, связанного через упругие спицы с втулкой, жестко прикрепленной на валу, а вторые концы - свободно скользят в шлицевых втулках, с возможностью вращения их вместе с валом.
  • 3.
  • 4.