‫ה‬‫ערכת‬‫פרוייקטים‬
‫בגישה‬‫אמצעים‬ ‫רבת‬-‫גר‬"‫א‬
(Multi-Modal Studies)
:‫ע"י‬ ‫הוכן‬‫סיינוק‬ ‫מרכוס‬‫אדיב‬ ‫רוני‬ ,
‫אפריל‬2005
‫התחבורה‬ ‫משרד‬
‫בד‬‫כלכלית‬ ‫כדאיות‬ ‫יקות‬
‫פר"ת‬ ‫נוהל‬ ‫עדכון‬ ‫פרוייקט‬
i
‫אמצעים‬ ‫רבת‬ ‫בגישה‬ ‫פרוייקטים‬ ‫הערכת‬
‫עניינים‬ ‫תוכן‬
1‫כללי‬ ..................................................................................................................................1
2‫רבת‬ ‫תכנונית‬ ‫גישה‬ ‫התפתחות‬ .-( ‫אמצעים‬‫הברית‬ ‫בארצות‬ )‫גר"א‬.......................................................2
2.1‫כללי‬................................................................................................................................................2
2.2‫רבת‬ ‫יבשתית‬ ‫תחבורה‬ ‫של‬ ‫היעילות‬ ‫להגדלת‬ ‫החוק‬-,‫אמצעים‬ISTEA......................................................2
2.3,‫ואחת‬ ‫העשרים‬ ‫למאה‬ ‫התחבורתי‬ ‫השוויון‬ ‫חוק‬21-TEA.......................................................................4
2.4‫במסגרת‬ ‫תועלות‬ ‫הגדרת‬21-TEA.......................................................................................................5
2.5‫תכניו‬( ‫יעודיות‬ ‫ת‬Set Aside)..............................................................................................................6
2.6( ‫מטרה‬ ‫תכניות‬Targeted Communities)...........................................................................................6
2.7‫ומתודולוגיה‬ ‫תוכנות‬.........................................................................................................................7
2.7.1Sketch Planning Analysis Spreadsheet Model–SPASM.............................................7
2.7.2Surface Transportation Efficiency Analysis Model–STEAM.......................................7
3.‫רבת‬ ‫תכנונית‬ ‫גישה‬ ‫התפתחות‬-‫באנגליה‬ )‫(גר"א‬ ‫אמצעים‬..............................................................10
3.1‫כללי‬..............................................................................................................................................11
3.2‫האמצעים‬ ‫רבת‬ ‫הגישה‬ ‫הגדרת‬..........................................................................................................12
3.3‫פרוייקטים‬ ‫סוגי‬..............................................................................................................................13
3.4‫אמצעים‬ ‫רבת‬ ‫בגישה‬ ‫העבודה‬ ‫תהליך‬.................................................................................................13
3.5‫ויעדים‬ ‫מטרות‬................................................................................................................................15
3.5.1‫של‬ ‫האמריקאית‬ ‫הגישה‬ ‫לבין‬ ‫הבריטית‬ ‫הגישה‬ ‫בין‬ ‫מטרות‬ ‫השוואת‬21-TEA........................................16
3.6‫ההערכה‬ ‫תהליך‬..............................................................................................................................17
3.6.1‫כללי‬.............................................................................................................................................17
3.6.2‫של‬ ‫הערכה‬ ‫תהליך‬NATA...............................................................................................................17
3.7‫ל‬ ‫דוגמא‬( ‫אמצעים‬ ‫רבי‬ ‫פרוייקטים‬MMS-Multi-Modal Studies)‫בבריטניה‬.......................................25
3.8‫העולמיות‬ ‫והמגמות‬ ‫אמצעים‬ ‫רבת‬ ‫גישה‬............................................................................................28
4‫פר"ת‬ ‫בנוהל‬ ‫ראשוני‬ ‫לשיפור‬ ‫הצעה‬ ...........................................................................................29
4.1‫כללי‬..............................................................................................................................................29
4.2‫ראשוניות‬ ‫המלצות‬..........................................................................................................................29
4.2.1‫הממשלה‬ ‫של‬ ‫על‬ ‫מטרות‬ ‫קביעת‬.......................................................................................................29
4.2.2‫המקומית‬ ‫ברמה‬ ‫מטרות‬ ‫קביעת‬.......................................................................................................29
4.2.3)‫(טע"מ‬ ‫מסכמות‬ ‫הערכה‬ ‫בטבלאות‬ ‫שימוש‬........................................................................................29
4.3‫עבודה‬ ‫להמשך‬ ‫המלצות‬...................................................................................................................36
5‫סיכום‬ ..............................................................................................................................37
1
‫אמצעים‬ ‫רבת‬ ‫בגישה‬ ‫פרוייקטים‬ ‫הערכת‬
1‫כללי‬ .
‫רבת‬ ‫גישה‬-( ‫אמצעים‬Multimodal Approach‫בארה"ב‬ ‫האחרונות‬ ‫בשנים‬ ‫פותחה‬ ‫אשר‬ ,)
‫לתכנ‬ ‫חדשנית‬ ‫גישה‬ ‫הינה‬ ,‫ובאנגליה‬‫המתייחס‬ ,‫תחבורתיים‬ ‫ופרויקטים‬ ‫תכניות‬ ‫של‬ ‫והערכה‬ ‫ון‬‫ת‬
.‫הפרויקט‬ ‫באזור‬ )‫לפעול‬ ‫פוטנציאל‬ ‫בעלי‬ ‫(או‬ ‫הפועלים‬ ‫התחבורה‬ ‫אמצעי‬ ‫לכלל‬
‫רבת‬ ‫הגישה‬ ‫של‬ ‫ההתמקדות‬-‫תחבורתיים‬ ‫פרויקטים‬ ‫של‬ ‫ובבחינה‬ ‫בתכנון‬ ‫הינה‬ )‫(גר"א‬ ‫האמצעים‬
‫בהתייחסו‬‫ת‬‫באז‬ ‫והפוטנציאליים‬ ‫הקיימים‬ ‫התחבורה‬ ‫אמצעי‬ ‫לכלל‬ ‫כוללת‬‫הגר"א‬ .‫הפרויקט‬ ‫ור‬
‫המשלבים‬ ‫פרויקטים‬ ‫פיתוח‬ ‫ובוחן‬ )‫אחד‬ ‫דרך‬ ‫בקטע‬ ‫רק‬ ‫(ולא‬ ‫תחבורתיים‬ ‫במסדרונות‬ ‫מתמקד‬
.)‫הדרך‬ ‫בקטע‬ ‫הכלולים‬ ‫האמצעי/טכנולוגיה‬ ‫את‬ ‫רק‬ ‫(ולא‬ ‫המסדרון‬ ‫בתוך‬ ‫שונים‬ ‫תחבורה‬ ‫אמצעי‬
‫מתודול‬ ‫גם‬ ‫ומציעה‬ ,‫תחבורתיים‬ ‫פרויקטים‬ ‫של‬ ‫להערכה‬ ‫מובילה‬ ‫גישה‬ ‫מהווה‬ ‫גר"א‬ ‫זו‬ ‫מבחינה‬‫וגיה‬
.‫תחבורתיות‬ ‫בבעיות‬ ‫לטיפול‬ ‫חדשנית‬ ‫וגישה‬ ‫תכנונית‬
:‫היו‬ ‫העבודה‬ ‫מטרות‬
•‫רבת‬ ‫הגישה‬ ‫של‬ ‫ספרות‬ ‫סקר‬ ‫לערוך‬-( ‫האמצעים‬Multimodal Approach)‫לפרויקטים‬
.‫ואנגליה‬ ‫ארה"ב‬ ‫על‬ ‫בהתמקדות‬ ,‫תחבורתיים‬
•.‫לישראל‬ ‫רלוונטיים‬ ‫נושאים‬ ‫על‬ ‫התמקדות‬ ‫תוך‬ ,‫הממצאים‬ ‫של‬ ‫סיכום‬ ‫להכין‬
•‫אפשרויות‬ ‫לבחון‬.‫החדש‬ ‫פר"ת‬ ‫נוהל‬ ‫במסגרת‬ ‫אמצעית‬ ‫הרב‬ ‫הגישה‬ ‫לשילוב‬
:‫הבאים‬ ‫הפרקים‬ ‫את‬ ‫כולל‬ ‫העבודה‬ ‫נייר‬
‫פרק‬2–‫ה‬ ‫התפתחות‬ ‫של‬ ‫סקירה‬‫רבת‬ ‫התכנונית‬ ‫גישה‬-.‫הברית‬ ‫בארצות‬ )‫(גר"א‬ ‫האמצעים‬
‫פרק‬3-‫רבת‬ ‫התכנונית‬ ‫הגישה‬ ‫התפתחות‬ ‫של‬ ‫סקירה‬-.‫באנגליה‬ )‫(גר"א‬ ‫האמצעים‬
‫פרק‬4–‫לישראל‬ ‫ישימות‬–‫לשיפו‬ ‫הצעה‬.‫פר"ת‬ ‫בנוהל‬ ‫ראשוני‬ ‫ר‬‫לגבי‬ ‫והמלצות‬ ‫ניתוח‬ ‫יכלול‬ ‫זה‬ ‫פרק‬
.‫פר"ת‬ ‫נוהל‬ ‫במסגרת‬ ‫אמצעית‬ ‫הרב‬ ‫הגישה‬ ‫לשילוב‬ ‫האפשרויות‬
2
2.‫רבת‬ ‫תכנונית‬ ‫גישה‬ ‫התפתחות‬-‫הברית‬ ‫בארצות‬ )‫(גר"א‬ ‫אמצעים‬
2.1‫כללי‬
‫רבת‬ ‫תכנונית‬ ‫גישה‬ ‫לפתוח‬ ‫הדחיפה‬-‫חוקים‬ ‫שני‬ ‫במסגרת‬ ‫נעשתה‬ ‫הברית‬ ‫בארצות‬ )‫(גר"א‬ ‫אמצעים‬
‫פדרל‬:‫עיקריים‬ ‫יים‬
•Intermodal Surface Transportation Efficiency Act (ISTEA), 1991
‫רבת‬ ‫יבשתית‬ ‫תחבורה‬ ‫של‬ ‫היעילות‬ ‫להגדלת‬ ‫החוק‬ ,‫בעברית‬-,‫אמצעים‬1991.
ISTEA‫רבות‬ ‫חלופות‬ ‫להערכת‬ ‫בגישה‬ ‫התמקד‬-( ‫אמצעים‬Alternatives
Multimodal( ‫הביקוש‬ ‫לניהול‬ ‫ואסטרטגיות‬ )Demand Management
Strategies.)
•Transportation Equity Act for the Twenty-First Century (TEA-21)
‫זה‬ ‫חוק‬ ,‫פורמלית‬ .‫ואחת‬ ‫העשרים‬ ‫למאה‬ ‫התחבורתי‬ ‫השוויון‬ ‫חוק‬ ,‫בעברית‬
‫לתקופה‬ ‫יבשתית‬ ‫בתחבורה‬ ‫ההשקעה‬ ‫את‬ ‫מתקצב‬1998-2003‫הוא‬ ‫למעשה‬ .
‫פרויי‬ ‫לקידום‬ ‫והמתודולוגיות‬ ‫התכנוניות‬ ‫בגישות‬ ‫גם‬ ‫עוסק‬‫תחבורתיים‬ ‫קטים‬
‫רבי‬-.‫אמצעים‬
‫לבחינת‬ ‫המתודולוגיה‬ ‫על‬ ‫השפעתן‬ ,‫אלו‬ ‫מחקיקות‬ ‫אחת‬ ‫כל‬ ‫של‬ ‫המאפיינים‬ ‫את‬ ‫מסכם‬ ‫הפרק‬ ‫המשך‬
‫רבי‬ ‫פרויקטים‬-‫עלות‬ ‫בחינות‬ ‫לביצוע‬ ‫בארה"ב‬ ‫הקיימים‬ ‫המודלים‬ ‫ואיפיון‬ ‫אמצעים‬-‫עבור‬ ‫תועלת‬
‫רבי‬ ‫פרויקטים‬–.‫אמצעים‬
2.2‫רבת‬ ‫יבשתית‬ ‫תחבורה‬ ‫של‬ ‫היעילות‬ ‫להגדלת‬ ‫החוק‬-‫א‬,‫מצעים‬ISTEA
‫רבת‬ ‫יבשתית‬ ‫תחבורה‬ ‫של‬ ‫היעילות‬ ‫להגדלת‬ ‫החוק‬-‫משנת‬ ‫אמצעים‬1991,
Intermodal Surface Transportation Efficiency Act (ISTEA), 1991‫תחילתה‬ ‫את‬ ‫מסמל‬ ,
‫המדיניות‬ ‫את‬ ‫מכוון‬ ‫זה‬ ‫חוק‬ .‫בארה"ב‬ ‫תחבורתי‬ ‫ולתכנון‬ ‫למדיניות‬ ‫בגישה‬ ‫חדשה‬ ‫תקופה‬ ‫של‬
‫לאינט‬ ‫הלאומית‬ ‫התחבורתית‬‫רבת‬ ‫ולגישה‬ ‫התחבורה‬ ‫מערכות‬ ‫של‬ ‫מלאה‬ ‫גרציה‬-.‫אמצעים‬
‫שנת‬ ‫של‬ ‫בחקיקה‬ ‫הנכללות‬ ‫התוכניות‬ ‫כוונת‬1991‫רבת‬ ‫לאומית‬ ‫תחבורה‬ ‫מערכת‬ ‫לקדם‬ ‫הינה‬-
,‫הדדית‬ ‫ומקושרת‬ ‫מחוברת‬ ,‫מאוחדת‬ ‫במערכת‬ ‫התחבורה‬ ‫אמצעי‬ ‫כל‬ ‫"את‬ ‫הכוללת‬ ‫אמצעים‬
‫ה‬ ,‫המדיניות‬ ‫הצהרת‬ ‫פי‬ ‫על‬ ."‫עתידיות‬ ‫תחבורה‬ ‫מערכות‬ ‫גם‬ ‫הכוללת‬‫שיפור‬ ‫לקדם‬ ‫מיועדת‬ ‫חקיקה‬
‫האמריקאית‬ ‫העסקית‬ ‫המערכת‬ ‫של‬ ‫התחרותיות‬ ‫והגדלת‬ ‫האוויר‬ ‫זיהום‬ ‫הפחתת‬ ,‫אנרגיה‬ ‫בצריכת‬
.‫העולמי‬ ‫בשוק‬
‫המערכת‬ ‫תשתית‬ ‫בשימור‬ ‫התמקדות‬ :‫כוללים‬ ‫המדיניות‬ ‫בהצהרת‬ ‫הנכללים‬ ‫נוספים‬ ‫היבטים‬
‫ת‬ ‫בתשתיות‬ ‫השקעות‬ ‫במימון‬ ‫הפרטי‬ ‫הסקטור‬ ‫על‬ ‫ההסתמכות‬ ‫הגדלת‬ ,‫התחבורתית‬,‫חבורתיות‬
‫תחבורה‬ ‫לבין‬ )‫פרטי‬ ‫(רכב‬ ‫כבישים‬ ‫בין‬ ‫משאבים‬ ‫ובהקצאת‬ ‫תוכניות‬ ‫בפיתוח‬ ‫הגמישות‬ ‫הגדלת‬
‫הגברת‬ ,)‫אדם‬ ‫לנסיעות‬ ‫(בנוסף‬ ‫וסחורות‬ ‫מטענים‬ ‫תנועת‬ ‫בתכנון‬ ‫ההתמקדות‬ ‫הגדלת‬ ,‫ציבורית‬
3
‫והגברת‬ ,‫המטרופולינית‬ ‫וברמה‬ ‫המדינות‬ ‫ברמת‬ ‫הרשויות‬ ‫בין‬ ‫תחבורה‬ ‫בתכנון‬ ‫ותיאום‬ ‫שיתוף‬
‫של‬ ‫המודעות‬.‫הסביבה‬ ‫איכות‬ ‫על‬ ‫התחבורה‬ ‫השפעת‬
‫להקים‬ ‫הומלץ‬ ‫הלאומית‬ ‫ברמה‬ ,‫היתר‬ ‫בין‬ .‫פתיחה‬ ‫צעדי‬ ‫מספר‬ ‫על‬ ‫המליצה‬ ‫החדשה‬ ‫החקיקה‬
‫רבות‬ ‫במערכות‬ ‫העוסקת‬ ‫הפדרלי‬ ‫התחבורה‬ ‫במשרד‬ ‫יחידה‬-( ‫אמצעים‬Intermodalism‫ועל‬ ,)
‫רבת‬ ‫תחבורה‬ ‫בנושא‬ ‫ציבורית‬ ‫ועדה‬ ‫של‬ ‫הקמתה‬-‫המ‬ ‫את‬ ‫משקפים‬ ‫אלו‬ ‫צעדים‬ .‫אמצעים‬‫חויבות‬
‫כלל‬ ‫תכנון‬ ‫של‬ ‫לכיוון‬ ‫הלאומית‬ ‫התחבורה‬ ‫מדיניות‬ ‫בנושא‬ ‫הקונגרס‬ ‫של‬ ‫הציבורית‬-‫מערכתי‬
(System-Wide Planning.)
:‫עיקריים‬ ‫נושאים‬ ‫שמונה‬ ‫לבחון‬ ‫התבקשה‬ ‫הציבורית‬ ‫הועדה‬
1.‫רבת‬ ‫תחבורתית‬ ‫טכנולוגיה‬ ‫עבור‬ ‫בינלאומית‬ ‫מתקינה‬ ‫הצפוי‬ ‫הפוטנציאלי‬ ‫הרווח‬-‫אמצעים‬
2.‫ה‬ ‫השוק‬‫רבת‬ ‫לתחבורה‬ ‫והמתוכנן‬ ‫קיים‬-‫גודל‬ ‫על‬ ‫התנועה‬ ‫תחזיות‬ ‫של‬ ‫וההשפעה‬ ‫אמצעים‬
‫התחבורתית‬ ‫בתשתית‬ ‫הנדרשות‬ ‫ההשקעות‬
3.‫רבת‬ ‫תחבורה‬ ‫מערכת‬ ‫של‬ ‫ביעילותה‬ ‫לפגוע‬ ‫העלולים‬ ‫חוקיים‬ ‫מכשולים‬-‫והקשר‬ ‫אמצעים‬
‫תחבורה‬ ‫מערכת‬ ‫של‬ ‫יעילותה‬ ‫לבין‬ ‫נפרדים‬ ‫תחבורה‬ ‫אמצעי‬ ‫עבור‬ ‫קיימות‬ ‫תוכניות‬ ‫בין‬
‫רבת‬-‫אמצעים‬
4.‫רבת‬ ‫בתחבורה‬ ‫לשיפורים‬ ‫פיננסיות‬ ‫מגבלות‬-‫אמצעים‬
5.‫רבת‬ ‫תחבורה‬ ‫של‬ ‫יעילותה‬ ‫לשיפור‬ ‫חדשות‬ ‫טכנולוגיות‬ ‫של‬ ‫הפוטנציאל‬-‫אמצעים‬
6.‫רבת‬ ‫בתחבורה‬ ‫מטענים‬ ‫שינוע‬ ‫של‬ ‫מנהליות‬ ‫בעיות‬-‫אמצעים‬
7.‫רבת‬ ‫תחבורה‬ ‫בין‬ ‫קשר‬-‫ויעילות‬ ‫תחבורתיות‬ ‫עלויות‬ ,‫מיסוי‬ :‫כלכליים‬ ‫והיבטים‬ ‫אמצעים‬
‫כלכלית‬
8.‫נ‬ ‫מחקר‬ ‫נושאי‬‫רבת‬ ‫לתחבורה‬ ‫הנוגעים‬ ‫וספים‬-‫הוועדה‬ ‫לממצאי‬ ‫בהתאם‬ ,‫אמצעים‬
‫בספטמבר‬ ‫פורסם‬ ‫הוועדה‬ ‫של‬ ‫הסופי‬ ‫הדוח‬1994‫שתים‬ ‫כולל‬ ‫הוא‬ .-‫המסווגות‬ ‫המלצות‬ ‫עשרה‬
:‫עיקריות‬ ‫קטגוריות‬ ‫בשלוש‬
1.‫רבת‬ ‫תחבורה‬ ‫יצירת‬-‫הפדרלית‬ ‫התחבורתית‬ ‫המדיניות‬ ‫של‬ ‫כיעד‬ ‫יעילה‬ ‫אמצעים‬
2.‫רבת‬ ‫בתחבורה‬ ‫ההשקעות‬ ‫הגברת‬-‫אמצעים‬
3.‫רבת‬ ‫בתחבורה‬ ‫התמיכה‬ ‫לשיפור‬ ‫הממשלתיים‬ ‫המוסדות‬ ‫של‬ ‫מחדש‬ ‫ארגון‬-‫אמצעים‬
,‫ניהוליות‬ ‫מערכות‬ ‫שש‬ ‫הקמת‬ ‫על‬ ‫ממליצה‬ ‫החקיקה‬ ,‫הרצוי‬ ‫בכיוון‬ ‫שינויים‬ ‫להבטיח‬ ‫מנת‬ ‫על‬
:‫עבור‬
1.‫רגל‬ ‫להולכי‬ ‫ומתקנים‬ ‫דרכים‬
2.‫גשרים‬
3.‫בדרכים‬ ‫בטיחות‬
4.‫גודש‬
5.‫ציבורית‬ ‫תחבורה‬
6.‫רבת‬ ‫תחבורה‬-‫אמצעים‬
4
‫רב‬ ‫תחבורה‬ ‫משרדי‬ ,‫בפועל‬‫נתקלו‬ ,‫המטרופולינית‬ ‫וברמה‬ ‫המדינות‬ ‫ברמת‬ ,‫תכנוניים‬ ‫וגופים‬ ‫ים‬
‫רבת‬ ‫הגישה‬ ‫ביישום‬ ‫בקשיים‬-‫היה‬ ‫שלא‬ ‫מקצועי‬ ‫לצוות‬ ,‫היתר‬ ‫בין‬ ,‫זאת‬ ‫לזקוף‬ ‫ניתן‬ .‫האמצעים‬
‫ב‬ ‫הנכללת‬ ‫הרחבה‬ ‫התכנונית‬ ‫לגישה‬ ‫התאימו‬ ‫שלא‬ ‫ולמודלים‬ ‫בנושא‬ ‫מספיק‬ ‫מיומן‬-ISTEA.
‫להסכמה‬ ‫הגיעו‬ ‫לא‬ ‫התחבורה‬ ‫מתכנני‬ ‫כי‬ ‫נראה‬‫להתמודד‬ ‫יש‬ ‫אתם‬ ‫והבעיות‬ ‫הנושאים‬ ‫אודות‬
‫רבת‬ ‫תחבורה‬ ‫של‬ ‫לגישה‬ ‫המעבר‬ ‫במסגרת‬-‫להתאים‬ ‫יש‬ ‫כיצד‬ ‫ברור‬ ‫היה‬ ‫לא‬ ,‫בנוסף‬ .‫אמצעים‬
‫תכנונית‬ ‫בגישה‬ ‫שיתמכו‬ ‫כדי‬ ‫המסורתיים‬ ‫התחבורתיים‬ ‫והמודלים‬ ‫התהליכים‬ ‫את‬ ‫ולשנות‬
.‫התחבורה‬ ‫אמצעי‬ ‫כל‬ ‫את‬ ‫המשלבת‬
‫ולרשויות‬ ‫למדינות‬ ‫לסייע‬ ‫במטרה‬ ,‫השאר‬ ‫בין‬‫ה‬ ‫דרישות‬ ‫ביישום‬ ‫השונות‬-ISTEA‫ולמעבר‬
‫רבת‬ ‫לגישה‬-‫כלל‬ ‫ותכנון‬ ‫אמצעים‬-‫בדצמבר‬ ‫נערך‬ ‫מערכתי‬1992‫כללו‬ ‫שמטרותיו‬ ‫ארצי‬ ‫כנס‬
‫מנגנון‬ ‫ואפיון‬ ‫בארה"ב‬ ‫התחבורה‬ ‫מערכות‬ ‫של‬ ‫והמימון‬ ‫התכנון‬ ‫מערכות‬ ‫התפתחות‬ ‫של‬ ‫סקירה‬
‫ה‬ ‫במסגרת‬ ‫שפותח‬ ‫החדש‬ ‫התכנון‬-ISTEA.
‫בכנ‬ ‫שנדונו‬ ‫המרכזיים‬ ‫הנושאים‬ ‫אחד‬‫התחבורה‬ ‫תכנון‬ ‫בו‬ ‫התחום‬ ‫על‬ ‫קונצנזוס‬ ‫פיתוח‬ ‫היה‬ ‫ס‬
‫ב‬ ‫שנקבעו‬ ‫הדברים‬ ‫לרוח‬ ‫במלואו‬ ‫להתאים‬ ‫מנת‬ ‫על‬ ‫והרחבה‬ ‫שינוי‬ ‫לעבור‬ ‫צריך‬-ISTEA.
‫רבת‬ ‫לתחבורה‬ ‫המסורתית‬ ‫ההגדרה‬-( ‫אמצעים‬Intermodal Transportation)‫תחבורה‬ ‫הינה‬
‫נסיעת‬ ‫של‬ ‫היצע‬ ‫ליצירת‬ ,‫יותר‬ ‫או‬ ‫אמצעים‬ ‫שני‬ ‫המערבת‬-‫אחת‬ ‫נוסע‬.‫אחד‬ ‫מטען‬ ‫למשלוח‬ ‫או‬
‫ועל‬ ‫אמצעים‬ ‫בין‬ ‫מעבר‬ ‫נקודות‬ ‫על‬ ‫הינו‬ ‫הדגש‬ ‫זו‬ ‫ובגישה‬ ‫מאחר‬ ,‫כמוגבלת‬ ‫נתפשה‬ ‫זו‬ ‫הגדרה‬
‫חקיקת‬ .‫אלו‬ ‫מנקודות‬ ‫ופיזור‬ ‫הגעה‬ISTEA‫אמצעיות‬ ‫הרב‬ ‫נושא‬ ‫את‬ ‫הכולל‬ ‫תכנון‬ ‫על‬ ‫מתמקדת‬
‫וי‬ ‫בטיחות‬ ,‫אוויר‬ ‫זיהום‬ ,‫גודש‬ ,‫בינלאומית‬ ‫תחרותיות‬ ‫כגון‬ ‫נוספות‬ ‫מטרות‬ ‫גם‬ ‫כולל‬ ‫אך‬‫עילות‬
‫רב‬ ‫תחבורה‬ ‫תכנון‬ ‫של‬ ‫הרעיון‬ ‫את‬ ‫אימץ‬ ‫הכנס‬ ,‫יוצא‬ ‫כפועל‬ .‫כלכלית‬-‫אמצעי‬
(Multimodal‫במקום‬Intermodal):‫הכולל‬
•‫פרטני‬ ‫לאמצעי‬ ‫המתייחסים‬ ‫במונחים‬ ‫שימוש‬ ‫ללא‬ ‫תחבורתיות‬ ‫בעיות‬ ‫של‬ ‫בחינה‬
(Non Mode-Specific Terms)
•‫רבות‬ ‫חלופות‬ ‫של‬ ‫זיהוי‬-‫תחבורתיות‬ ‫בעיות‬ ‫לפתרון‬ ‫אמצעים‬
•‫הע‬‫לפתרון‬ ‫התחבורה‬ ‫אמצעי‬ ‫כל‬ ‫של‬ ‫לתרומה‬ ‫המתייחס‬ ‫באופן‬ ‫חלופות‬ ‫רכת‬
‫התחבורתית‬ ‫הבעיה‬
2.3,‫ואחת‬ ‫העשרים‬ ‫למאה‬ ‫התחבורתי‬ ‫השוויון‬ ‫חוק‬21-TEA
,‫ואחת‬ ‫העשרים‬ ‫למאה‬ ‫התחבורתי‬ ‫השוויון‬ ‫חוק‬ ,‫גרידא‬ ‫טכנית‬ ‫מבחינה‬Transportation Equity
Act for the Twenty-First Century (TEA-21),‫הינו‬‫ההשקעה‬ ‫את‬ ‫המתקצב‬ ‫חוק‬ ‫בעיקרו‬
‫לתקופה‬ ‫יבשתית‬ ‫בתחבורה‬1998-2003‫שיטות‬ ‫בעניין‬ ‫בתקנות‬ ‫פורמלי‬ ‫שנוי‬ ‫כלל‬ ‫לא‬ ‫החוק‬ .
‫עלות‬ ‫בחינת‬ ‫של‬ ‫החישוב‬-‫של‬ ‫ההגדרה‬ ‫את‬ ‫הרחיב‬ ‫זה‬ ‫חוק‬ ,‫מעשית‬ ‫מבחינה‬ ,‫אולם‬ .‫תועלת‬
( ‫ההשפעות‬ ‫ושל‬ ‫התועלות‬(Impacts.‫בארה"ב‬ ‫תחבורתיים‬ ‫פרויקטים‬ ‫בהערכת‬ ‫נכללות‬ ‫אשר‬
‫השקעה‬ ‫אודות‬ ‫ממשלתית‬ ‫החלטה‬ ‫על‬ ‫ידוע‬ ‫לא‬ ,‫בפרט‬ ‫ובארה"ב‬ ‫בכלל‬ ‫המערבי‬ ‫בעולם‬ ,‫כללית‬
‫עלות‬ ‫המספרי‬ ‫היחס‬ ‫על‬ ‫ורק‬ ‫אך‬ ‫המבוססת‬ ‫תחבורתיים‬ ‫בפרויקטים‬-.‫מדידים‬ ‫מרכיבים‬ ‫של‬ ‫תועלת‬
5
( ‫חיצוניות‬ ‫להשפעות‬ ‫גם‬ ‫מתייחסת‬ ‫ההחלטה‬ ‫כלל‬ ‫בדרך‬Externalities,‫מדידות‬ ‫לא‬ ‫או‬ ‫מדידות‬ ,)
‫על‬ ‫להשפעות‬ ‫וגם‬( ‫שוויוניות‬Distributional Equity Impacts‫ה‬ ‫של‬ ‫החידוש‬ .)-21-TEA‫בכך‬ ‫הינו‬
‫בעת‬ ‫בחשבון‬ ‫להילקח‬ ‫שצריכות‬ ‫והשוויוניות‬ ‫החיצוניות‬ ‫ההשפעות‬ ‫מגוון‬ ‫את‬ ‫הרחיב‬ ‫שהוא‬
.‫אלה‬ ‫פרויקטים‬ ‫של‬ ‫מימון‬ ‫אודות‬ ‫ההחלטה‬
:‫נושאים‬ ‫לשלשה‬ ‫מתייחסת‬ ‫ההרחבה‬
1.‫תועלות‬ ‫של‬ ‫קריטריונים‬ ‫הגדרת‬-‫ה‬ ‫של‬ ‫הגדרה‬‫בצורה‬ ‫מוגדרות‬ ‫אשר‬ ‫שפעות‬
‫נחשבות‬ ‫אשר‬ ‫והשוויוניות‬ ‫החיצוניות‬ ‫ההשפעות‬ ‫סוג‬ ‫של‬ ‫והגדרה‬ ,‫רצויות‬ ‫כתועלות‬ ‫ישירה‬
.‫פרויקט‬ ‫של‬ )‫דחייה‬ ‫(או‬ ‫לקבלה‬ ‫קריטיות‬
2.( ‫ייעודיות‬ ‫תכניות‬ ‫קביעת‬Set Aside)-‫המשך‬ ‫או‬ ,‫ייעודיות‬ ‫תכניות‬ ‫של‬ ‫קביעה‬
‫ה‬ ‫במסגרת‬ ‫שנכללו‬ ‫קודמות‬ ‫תכניות‬ ‫של‬-ISTEA‫הו‬ ‫אשר‬ ,‫גם‬ ,‫חברתי‬ ‫ערך‬ ‫כבעלות‬ ‫כרו‬
‫עלות‬ ‫במבחני‬ ‫המקובל‬ ‫המינימום‬ ‫סף‬ ‫את‬ ‫עברו‬ ‫לא‬ ‫באם‬-.‫תועלת‬
3.‫מטרה‬ ‫תכניות‬ ‫קביעת‬(Targeting)-‫אוכלוסיות‬ ‫או‬ ‫לאזורים‬ ‫משאבים‬ ‫העברת‬
.‫השוויוניות‬ ‫הגברת‬ ‫של‬ ‫מטרות‬ ‫על‬ ‫בהתבסס‬ ,‫נזקקות‬
2.4‫במסגרת‬ ‫תועלות‬ ‫הגדרת‬21-TEA
‫של‬ ‫פדרלי‬ ‫למימון‬ ‫בקשות‬ , ‫בארה"ב‬‫תכנון‬ ‫מרשויות‬ ‫בדר"כ‬ ‫מתקבלות‬ ‫תחבורתיים‬ ‫פרויקטים‬
‫של‬ ‫למימון‬ ‫ההנחיות‬ ‫פי‬ ‫על‬ .‫המדינות‬ ‫של‬ ‫תחבורה‬ ‫וממשרדי‬ ‫מטרופוליניות‬21-TEA‫אלו‬ ‫רשויות‬
‫התייחסות‬ ‫בבקשה‬ ‫לכלול‬ ‫נדרשות‬‫קריטריונים‬ ‫לשבעה‬:)‫תכנוניים‬ ‫(מרכיבים‬
•‫כלכלית‬ ‫צמיחה‬-( ‫כלכלית‬ ‫וחיות‬ ‫בצמיחה‬ ‫תמיכה‬Economic Vitality)‫של‬
( ‫המדינות‬ ,‫ארה"ב‬States‫בתחרותיות‬ ‫מיקומן‬ ‫הגדלת‬ ‫ע"י‬ ,‫המטרופוליניים‬ ‫והאזורים‬ )
.‫והיעילות‬ ‫היצרניות‬ ,‫הגלובלית‬
•‫בטיחות‬-( ‫בדרכים‬ ‫הבטיחות‬ ‫הגברת‬Safety( ‫והביטחון‬ )Security‫מערכות‬ ‫של‬ )
.‫מוטוריים‬ ‫ולא‬ ‫מוטוריים‬ ‫באמצעים‬ ‫משתמשים‬ ‫עבור‬ ‫התחבורה‬
•‫נגישות‬-‫לנג‬ ‫האפשרויות‬ ‫הגדלת‬‫שינוע‬ ‫ועבור‬ ‫אדם‬ ‫נסיעות‬ ‫עבור‬ ‫ולניידות‬ ‫ישות‬
.‫מטענים‬
•‫סביבה‬–‫איכות‬ ‫ושיפור‬ ‫באנרגיה‬ ‫החיסכון‬ ‫הגדלת‬ ,‫הסביבה‬ ‫של‬ ‫והעשרה‬ ‫שמירה‬
.‫החיים‬
•‫שילוב‬–( ‫השילוב‬ ‫הגדלת‬Integration( ‫והקישור‬ )Connectivity‫המערכות‬ ‫בין‬ )
.‫מטענים‬ ‫ושינוע‬ ‫אדם‬ ‫נסיעות‬ ‫עבור‬ ,‫אמצעים‬ ‫ובין‬ ‫התחבורתיות‬
•‫יעילות‬-( ‫היעילות‬ ‫הגברת‬Efficiency.‫והתפעולית‬ ‫הניהולית‬ )
•‫מיטבי‬ ‫ניצול‬-( ‫מיטבי‬ ‫ניצול‬Preservation.‫קיימות‬ ‫תחבורתיות‬ ‫מערכות‬ ‫של‬ )
6
‫שהופיעו‬ ‫קריטריונים‬ ‫של‬ ‫רב‬ ‫מספר‬ ‫של‬ ‫וריכוז‬ ‫צמצום‬ ‫הינם‬ ‫הללו‬ ‫הקריטריונים‬ ‫שבעת‬ ‫כי‬ ‫לציין‬ ‫יש‬
‫של‬ ‫הקודמות‬ ‫בהנחיות‬ISTEA‫כללו‬ ‫הקודמות‬ ‫ההנחיות‬ .16‫לאזורים‬ ‫תכניות‬ ‫עבור‬ ‫קריטריונים‬
‫ו‬ ‫מטרופוליניים‬-23( ‫מדינתי‬ ‫לתכנון‬ ‫תכניות‬ ‫עבור‬ ‫קריטריונים‬Statewide Planning.)
‫של‬ ,‫מדידות‬ ,‫מסורתיות‬ ‫בבדיקות‬ ‫כלולים‬ "‫"בטיחות‬ ‫ושל‬ "‫"יעילות‬ ‫של‬ ‫הקריטריונים‬ ,‫כללית‬
‫עלות‬-‫כמ‬ ‫להיכלל‬ ‫יכולים‬ ‫האחרים‬ ‫הקריטריונים‬ ‫שאר‬ ‫כל‬ ‫גם‬ ,‫תאורטית‬ .‫תועלת‬‫מדידים‬ ‫רכיבים‬
‫עלות‬ ‫בבדיקות‬-( ‫כלכליים‬ ‫חיים‬ ‫של‬ ‫כוללת‬ ‫מעלות‬ ‫כחלק‬ ‫שימור‬ ,‫לדוגמא‬ .‫תועלת‬Life Cycle
Costing‫לא‬ ‫מעשית‬ ,‫אולם‬ .‫העסקי‬ ‫לסקטור‬ ‫תחבורתיות‬ ‫בהוצאות‬ ‫כחיסכון‬ ‫כלכלית‬ ‫יעילות‬ ‫או‬ ,)
‫עלות‬ ‫של‬ ‫המדידה‬ ‫בבחינה‬ ‫נכללים‬ ‫כולם‬-‫של‬ ‫החידוש‬ .‫תועלת‬21-TEA‫מציג‬ ‫שהוא‬ ‫בכך‬ ‫הינו‬
‫כמוליכים‬ ‫מופיעים‬ ‫הם‬ ‫אין‬ ‫אם‬ ‫גם‬ ,)‫פדרלי‬ ‫מימון‬ ‫(אודות‬ ‫להחלטה‬ ‫חשובים‬ ‫כקריטריונים‬ ‫אותם‬
‫עלות‬ ‫של‬ ‫המסורתית‬ ‫בבחינה‬-.‫תועלת‬
‫הנחיות‬21-TEA‫מקומית‬ "‫חיים‬ ‫"איכות‬ ‫של‬ ‫בנושאים‬ ‫יותר‬ ‫מתמקדות‬ ‫שהן‬ ‫בכך‬ ‫גם‬ ‫מחדשות‬
‫רבות‬ ‫סמכויות‬ ‫העברת‬ ‫ע"י‬ ,)‫כלכלי‬ ‫פיתוח‬ ‫ושל‬ ‫סביבתית‬ ,‫(חברתית‬‫התכנון‬ ‫לרשויות‬ ‫יותר‬
‫למשתמשים‬ ,‫המדינות‬ ‫ושל‬ ‫המטרופוליניות‬ ‫התכנון‬ ‫לרשויות‬ :‫המעורבים‬ ‫המקומיים‬ ‫ולגורמים‬
‫התכנון‬ ‫את‬ ‫משלבות‬ ‫הן‬ ,‫כן‬ ‫כמו‬ .‫ציבורית‬ ‫בתחבורה‬ ‫ולמשתמשים‬ ‫מטענים‬ ‫בשינוע‬ ‫המקומיים‬
.‫אחד‬ ‫לדוח‬ ‫הסביבתית‬ ‫הבחינה‬ ‫ואת‬ ‫התחבורתי‬
2.5( ‫יעודיות‬ ‫תכניות‬Set Aside)
‫ה‬-21-TEA( ‫היעודיות‬ ‫התכניות‬ ‫עבור‬ ‫מיוחד‬ ‫תקצוב‬ ‫כולל‬Set Aside:‫הבאות‬ )
•‫בטיחות‬-‫בדרכים‬ ‫בטיחות‬ ‫להגברת‬ ‫סלילה‬ ‫תכניות‬
•‫נופיות‬ ‫דרכים‬
•‫לאומיים‬ ‫גנים‬-‫לאומיים‬ ‫גנים‬ ‫בשטחי‬ ‫תח"צ‬ ‫לשיפור‬ ‫כבישים‬ ‫בתקציבי‬ ‫שימוש‬
•‫אופניים‬ ‫ורוכבי‬ ‫רגל‬ ‫להולכי‬ ‫דרכים‬
•‫בינ"ל‬ ‫גבול‬ ‫ומתקני‬ ‫כניסה‬ ‫דרכי‬ ‫פיתוח‬–‫ל‬‫בינ"ל‬ ‫כלכליים‬ ‫קשרים‬ ‫הגברת‬ ‫שם‬
‫כ‬ ‫(ידוע‬-NAFTA Trade Corridor)
•‫חדשניות‬ ‫טכנולוגיות‬ ‫פיתוח‬
2.6( ‫מטרה‬ ‫תכניות‬Targeted Communities)
:‫כולל‬ ‫נזקקות‬ ‫ואוכלוסיות‬ ‫אזורים‬ ‫של‬ ‫מצבם‬ ‫לשיפור‬ ‫מיועדות‬ ‫המטרה‬ ‫תכניות‬
•‫אפלצ'יה‬ ‫באזור‬ ‫דרכים‬
•‫אנדיאניות‬ ‫בשמורות‬ ‫דרכים‬
•‫מה‬ ‫מעבר‬ ‫עבור‬ ‫תקציבים‬( ‫לעבודה‬ ‫תקציביות‬ ‫עברות‬Welfare to Work)
7
•‫כפריים‬ ‫באזורים‬ ‫אוטובוס‬ ‫שירותי‬
•‫כפריים‬ ‫באזורים‬ ‫איסוף/פיזור‬ ‫דרכי‬ ‫פיתוח‬
•)‫אבטלה‬ ‫מוכי‬ ‫(באזורים‬ ‫כלכלי‬ ‫לפיתוח‬ ‫למנוף‬ ‫המיועדות‬ ‫דרכים‬
•‫מיעוטים‬ ‫של‬ ‫לעסקים‬ ‫סיוע‬
•( ‫מיוחדים‬ ‫פרויקטים‬Earmarks)
2.7‫ומתודולוגיה‬ ‫תוכנות‬
‫הפדרלית‬ ‫הממשלה‬‫להלן‬ .‫תחבורתיים‬ ‫פרויקטים‬ ‫של‬ ‫להערכה‬ ‫ותכנות‬ ‫מודלים‬ ‫מספר‬ ‫פיתחה‬
‫ומאפייניה‬ ‫העיקריים‬ ‫המודלים‬ ‫סיכום‬‫ם‬:
2.7.1Sketch Planning Analysis Spreadsheet Model–SPASM
‫בשנת‬1995( ‫לדרכים‬ ‫הפדרלית‬ ‫הרשות‬ ‫ע"י‬ ‫פותח‬Federal Highway Administration, FHWA)
‫ש‬ ‫מערכת‬ ‫על‬ ‫המבוסס‬ ‫מודל‬‫גיליונו‬ ‫ל‬‫ת‬( ‫עבודה‬Spreadsheets‫בשם‬ ‫ראשונית‬ ‫תכנונית‬ ‫להערכה‬ )
SPASM-Sketch Planning Analysis Spreadsheet Model‫למתכננים‬ ‫לסייע‬ ‫נועד‬ ‫המודל‬ .
‫בפיתוח‬‫מערכות‬‫מידע‬‫של‬‫יעילות‬‫כלכלית‬‫ונתונים‬‫אחרים‬‫הנועדים‬‫להשוואה‬
‫בין‬‫בי‬ ‫החותכות‬ ‫מערכות‬( ‫שונים‬ ‫אמצעים‬ ‫ן‬Cross-Modal‫תנועה‬ ‫לניהול‬ ‫ואסטרטגיות‬ )
(Demand Management Strategies.)
,‫פרטנית‬ ‫יותר‬ ‫בדיקה‬ ‫נדרשה‬ ‫כאשר‬ ‫אולם‬SPASM,‫הנדרשים‬ ‫הנתונים‬ ‫את‬ ‫לספק‬ ‫מסוגל‬ ‫היה‬ ‫לא‬
( ‫ראשוני‬ ‫תכנון‬ ‫לצורך‬ ‫פשטניות‬ ‫הנחות‬ ‫על‬ ‫התבססותו‬ ‫עקב‬Sketch Planning,‫לדוגמא‬ .)
SPASM‫המסדרון‬ ‫של‬ ‫קצוות‬ ‫שני‬ ‫בין‬ ‫הממוצע‬ ‫הנסיעה‬ ‫אורך‬ ‫הינו‬ ‫הנסיעות‬ ‫כל‬ ‫שאורך‬ ‫הניח‬
‫ב‬ ‫בשימוש‬ ‫קושי‬ ‫היה‬ ,‫כן‬ ‫כמו‬ .‫הנבחן‬-SPASM( ‫רחבה‬ ‫מערכת‬ ‫בדיקת‬ ‫לצורכי‬System-wide
Analysis.)
2.7.2Surface Transportation Efficiency Analysis Model–STEAM
‫בעק‬‫בדיקת‬ ‫ולאפשר‬ ‫פרוזדורים‬ ‫ניתוח‬ ‫לצורכי‬ ‫פרטניים‬ ‫נתונים‬ ‫לספק‬ ‫מנת‬ ‫על‬ ,‫לעיל‬ ‫החקיקה‬ ‫בות‬
‫לדרכים‬ ‫הפדרלית‬ ‫הרשות‬ ,‫רחבה‬ ‫מערכת‬FHWA))‫של‬ ‫משודרג‬ ‫מודל‬ ‫לפתח‬ ‫החליטה‬
‫ה‬-SPASM‫קרוי‬ ‫החדש‬ ‫המודל‬ .Surface Transportation Efficiency Analysis Model
STEAM.
‫של‬ ‫הראשון‬ ‫המודל‬STEAM‫פ‬‫בשנת‬ ‫ותח‬1997‫ה‬ ‫ע"י‬-FHWA‫מערכת‬ ‫של‬ ‫פרטנית‬ ‫בחינה‬ ‫לצורכי‬
.‫תחבורתיות‬ ‫חלופות‬ ‫עבור‬ ‫רחבה‬STEAM‫ה‬ ‫של‬ ‫הראשון‬ ‫הבחינה‬ ‫מודל‬ ‫הינו‬-FHWA‫אשר‬
‫שלבי‬ ‫הארבע‬ ‫המודל‬ ‫של‬ ‫בפלטים‬ ‫ישירות‬ ‫השתמש‬‫והצבה‬ ‫פיצול‬ ,‫פילוג‬ ,‫ומשיכה‬ ‫(יצירה‬.)
8
‫ה‬ ,‫המודל‬ ‫של‬ ‫שיפור‬-2.0STEAM‫ה‬ ‫עבור‬ ‫הוכן‬-FHWA‫סיסטמטיקס‬ '‫קמברידג‬ ‫חברת‬ ‫ע"י‬
‫ה‬ ‫שנות‬ ‫בתחילת‬-2000:‫ראה‬
FHWA/Cambridge Systematics Inc., “Surface Transportation Efficiency Analysis
Model (STEAM 2.0),” December, 2000.
‫ב‬ ‫הכלולים‬ ‫העיקריים‬ ‫השיפורים‬-2.0STEAM:‫הינם‬
•‫המו‬ ‫של‬ ‫מפלטים‬ ‫נתונים‬ ‫ישירות‬ ‫לקבל‬ ‫מאפשר‬ ‫המודל‬‫הארבע‬ ‫המקובלים‬ ‫דלים‬-
‫של‬ ‫תחבורה‬ ‫ביקושי‬ ‫לניהול‬ ‫התכנה‬ ‫כגון‬ ‫אחרים‬ ‫ממקורות‬ ‫או‬ ,‫תחבורה‬ ‫לתכנון‬ ‫שלביים‬
,‫לדרכים‬ ‫הפדרלית‬ ‫הרשות‬Travel Demand Management (TDM).
•‫הארבע‬ ‫מהמודלים‬ ‫התנועה‬ ‫הצבות‬ ‫של‬ ‫תוצאות‬ ‫מחדש‬ ‫מעבד‬ ‫המודל‬-‫על‬ ‫שלביים‬
‫גוד‬ ‫בתנאי‬ ‫מהירויות‬ ‫של‬ ‫מעודכנת‬ ‫הערכה‬ ‫לקבל‬ ‫מנת‬.‫ש‬
•( ‫סיכונים‬ ‫בדיקת‬ ‫מבצע‬ ‫המודל‬Risk Analysis‫אי‬ ‫את‬ ‫להקטין‬ ‫מנת‬ ‫על‬ )-
‫הנובעים‬ ‫כספיים‬ ‫ערכים‬ ‫בנושאי‬ ‫מיותרים‬ ‫ויכוחים‬ ‫למזער‬ ‫ובכך‬ ‫התוצאות‬ ‫של‬ ‫הוודאות‬
.‫הכלכלית‬ ‫מהבחינה‬
•( ‫רחבה‬ ‫מערכת‬ ‫עבור‬ ‫הערכה‬ ‫נתוני‬ ‫מייצר‬ ‫המודל‬System-wide Analysis.)
STEAM‫הת‬ ‫המודלים‬ ‫של‬ ‫הפלט‬ ‫בנתוני‬ ‫משתמש‬‫הארבע‬ ‫חבורתיים‬-‫נתוני‬ ‫לייצר‬ ‫מנת‬ ‫על‬ ‫שלביים‬
‫בעלי‬ ‫רציונליים‬ ‫תחבורתיים‬ ‫מפרויקטים‬ ‫הנגזרים‬ ,‫בדרכים‬ ‫בטיחות‬ ‫ושל‬ ‫ניידות‬ ‫של‬ ‫נקי‬ ‫ערך‬
‫של‬ ‫העדכנית‬ ‫הגרסא‬ .‫חשיבות‬STEAM,2.0STEAM‫ניידות‬ ‫של‬ ‫תועלות‬ ‫אודות‬ ‫נתונים‬ ‫,מספקת‬
( ‫לאזורים‬ ‫בהתאם‬ ,‫בדרכים‬ ‫בטיחות‬ ‫ושל‬(Districts‫נגיש‬ ‫ומדדי‬.‫המשתמש‬ ‫ע"י‬ ‫המוגדרים‬ ‫ות‬
‫על‬ ‫תחבורתיות‬ ‫השקעות‬ ‫של‬ ‫ההשפעה‬ ‫את‬ ‫להשוות‬ ‫למשתמש‬ ‫מאפשר‬ ‫לאזורים‬ ‫בהתאם‬ ‫הדיווח‬
‫כוללים‬ ‫הנגישות‬ ‫מדדי‬ .‫מוניצפאליות‬ ‫יחידות‬ ‫או‬ ‫מגורים‬ ‫שכונות‬ ‫כגון‬ ‫שונות‬ ‫הקבצה‬ ‫יחידות‬
‫שונים‬ ‫בתרחישים‬ ‫נסיעה‬ ‫זמני‬ ‫של‬ ‫כניסה‬ ‫לספי‬ ‫בהתאם‬ ‫תעסוקה‬ ‫אפשרויות‬ ‫של‬ ‫אומדנים‬
‫(המ‬‫מייצר‬ ‫נגישות‬ ‫מדדי‬ ‫ושל‬ ‫האזור‬ ‫ברמת‬ ‫נתונים‬ ‫הצגת‬ ‫של‬ ‫השילוב‬ .)‫המשתמש‬ ‫ע"י‬ ‫וגדרים‬
.‫תחבורתיות‬ ‫השקעות‬ ‫של‬ ‫חברתית‬ ‫השפעה‬ ‫לבחינת‬ ‫יעיל‬ ‫מכשיר‬
STEAM‫המודל‬ .‫היום‬ ‫ותקופות‬ ‫הנסיעה‬ ‫מטרות‬ ,‫התחבורה‬ ‫אמצעי‬ ‫מבחינת‬ ‫גמיש‬ ‫מודל‬ ‫הינו‬
( ‫מחדל‬ ‫ברירת‬ ‫ערכי‬ ‫כולל‬Default Values‫אמ‬ ‫שבעה‬ ‫עבור‬ ):‫תחבורה‬ ‫צעי‬
1.‫פרטי‬ ‫רכב‬
2.( ‫משותפת‬ ‫נסיעה‬Carpool)
3.‫משאית‬
4.‫מקומי‬ ‫אוטובוס‬
5.( ‫מהיר‬ ‫אוטובוס‬Express)
6.‫קלה‬ ‫רכבת‬
9
7.‫כבדה‬ ‫רכבת‬
.‫אלה‬ ‫בפרמטרים‬ ‫שינוי‬ ‫ע"י‬ ‫חדשים‬ ‫אמצעים‬ ‫הגדרת‬ ‫מאפשר‬ ‫גם‬ ‫הוא‬
STEAM( ‫מודולריות‬ ‫יחידות‬ ‫מארבע‬ ‫מורכב‬Modules‫באיור‬ ‫כמוצג‬ ,)1:
1.‫מממשק‬ ‫יחידת‬(Interface‫המ‬ ‫עם‬ ).‫שתמש‬
2.‫רשתות‬ ‫ניתוח‬ ‫יחידת‬–‫ומפיקה‬ '‫וכו‬ ‫קיבולות‬ ‫נפחים‬ ,‫קטעים‬ ‫מאפייני‬ ‫קולטת‬
.‫מינימלי‬ ‫נסיעה‬ ‫זמן‬ ‫על‬ ‫המבוססים‬ ,‫נסיעה‬ ‫ומרחקי‬ ‫זמני‬
3.‫נסיעות‬ ‫מטריצות‬ ‫ניתוח‬ ‫יחידת‬-,‫המשתמש‬ ‫של‬ ‫תועלות‬ ‫אומדני‬ ‫מפיקה‬
( ‫ישירות‬ ‫והוצאות‬ ‫נסיעה‬ ‫זמני‬ ‫על‬ ‫המבוססות‬Out of Pocket Costs‫אזורי‬ ‫בין‬ ).‫תנועה‬
‫תאונות‬ ‫עלויות‬ ,‫רעש‬ ‫עלויות‬ ,‫אוויר‬ ‫מזהמי‬ ‫יצירת‬ ‫של‬ ‫אומדנים‬ ‫מפיקה‬ ‫היא‬ ,‫כן‬ ‫כמו‬
.‫בכבישים‬ ‫בשימוש‬ ‫הכרוכות‬ ‫נוספות‬ ‫חיצוניות‬ ‫והשפעות‬ ‫אנרגיה‬ ‫צריכת‬ ,‫דרכים‬
4.‫חלופות‬ ‫בין‬ ‫והשוואה‬ ‫הערכה‬ ‫יחידה‬–‫ערך‬ ‫מחשבת‬-‫נוכחי‬-‫עלות‬ ‫ויחסי‬ ‫נקי‬-
‫היא‬ ‫כן‬ ‫כמו‬ .‫המתוכננים‬ ‫השיפורים‬ ‫עבור‬ ‫תועלת‬‫כל‬ ‫עבור‬ ‫נתונים‬ ‫סיכום‬ ‫מפיקה‬
‫הסתברות‬ ‫הצגת‬ ‫מפיקה‬ ‫ובנוסף‬ ,‫בבחינה‬ ‫הנכללים‬ ‫ועלות‬ ‫תועלת‬ ‫מרכיבי‬ ‫של‬ ‫סוג‬
( ‫סיכונים‬ ‫ניתוח‬ ‫בחינת‬ ‫על‬ ‫המבוססת‬ ,‫ההערכה‬ ‫מדדי‬ ‫של‬Risk Analysis.)
STEAM( ‫מקרה‬ ‫ניתוח‬ ‫יחידת‬ ‫גם‬ ‫כוללת‬Case Study‫דמיונית‬ ‫מעיר‬ ‫נתונים‬ ‫על‬ ‫המבוססת‬ )
.‫ארה"ב‬ ‫במערב‬ ‫הממוקמת‬
:‫ראה‬ ‫נוספים‬ ‫לפרטים‬
Patrick DeCorla-Souza and James T. Hunt, “Use of Steam in Evaluating
Transportation Alternatives”
Patrick DeCorla-Souza, H. Cohen & K. Bhatt “ Using Bebefit-Cost Analysis to
Evaluate Across Modes and Demand Management Strategies”; Compendium of
Technical Papers for the 66th
ITE Annual Meeting; ITE Sptember 1996.
10
‫איור‬1.‫מודל‬ ‫מבנה‬STEAM
11
3.‫רבת‬ ‫תכנונית‬ ‫גישה‬ ‫התפתחות‬-‫בא‬ )‫(גר"א‬ ‫אמצעים‬‫נגליה‬
3.1‫כללי‬
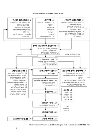
‫מס‬ ‫באמצעות‬ ‫הדרגתי‬ ‫באופן‬ ‫באנגליה‬ ‫התפתחה‬ ‫האמצעים‬ ‫רבת‬ ‫הגישה‬‫שיצאו‬ ‫מדיניות‬ ‫מסמכי‬ ‫פר‬
‫ה‬ ‫שנות‬ ‫סוף‬ ‫לקראת‬ ‫לאור‬-90‫בתרשים‬ ‫כמוצג‬ ,1.
‫תרשים‬1‫באנגליה‬ ‫אמצעית‬ ‫הרב‬ ‫הגישה‬ ‫התפתחות‬ .
•‫מדריך‬ ‫בעזרת‬ ‫באנגליה‬ ‫התחבורה‬ ‫תכנון‬ ‫התבצע‬ ‫השנים‬ ‫במשך‬DMRB(Design Manual
for Roads and Bridges.)‫ש‬ ,‫ההערכה‬ ‫תהליך‬‫מ‬‫מדיניות‬ ‫של‬ ‫יעילותה‬ ‫את‬ ‫לבדוק‬ ‫טרתו‬
,‫הממשלתית‬ ‫המשאבים‬ ‫הקצאת‬ ‫ושל‬ ‫התכנון‬‫עלות‬ ‫ניתוחי‬ ‫בעזרת‬ ‫התבצע‬-‫תועלת‬
(Cost Benefit Analysis.)‫ניתוחי‬ ‫בעזרת‬CBA‫ה‬ ‫חושבה‬‫הפרוייקטים‬ ‫של‬ ‫הכלכלית‬ ‫יעילות‬
‫וחושב‬ ‫התחבורתיים‬‫הכספ‬ ‫להשקעה‬ ‫יחסית‬ ‫המתקבל‬ ‫הערך‬,‫ית‬‫תוכנת‬ ‫על‬ ‫הישענות‬ ‫תוך‬
COBA.
•‫בשנת‬1998‫ה‬ ‫הממשלה‬ ‫ידי‬ ‫על‬ ‫פורסם‬-( "‫הלבן‬ ‫"נייר‬“The White Paper”)
"A New Deal for Transport-Better for Everyone‫המלצה‬ ‫כלל‬ "‫הלבן‬ ‫"הנייר‬ ."‫גישה‬ ‫על‬
.‫תחבורתיות‬ ‫לבעיות‬ ‫פתרונות‬ ‫להערכת‬ ‫חדשה‬,‫בעיות‬ ‫של‬ ‫והערכה‬ ‫זיהוי‬ ‫כוללת‬ ‫החדשה‬ ‫הגישה‬
.‫השונות‬ ‫החלופות‬ ‫של‬ ‫והערכה‬ ‫הבעיות‬ ‫לפתרון‬ ‫חלופות‬ ‫זיהוי‬
•‫ה‬ ‫פרוייקטים‬ ‫של‬ ‫להערכה‬ ‫החדשה‬ ‫הגישה‬ ‫פותחה‬ "‫הלבן‬ ‫"הנייר‬ ‫במסגרת‬-NATA
(The New Approach to Appraisal( ‫החדשה‬ ‫ההערכה‬ ‫גישת‬ ‫של‬ ‫מטרתה‬ .)NATA‫לסייע‬ ‫היה‬ )
‫החלופות‬ ‫בין‬ ‫עדיפות‬ ‫סדרי‬ ‫לקבוע‬ ,‫תחבורתיות‬ ‫בעיות‬ ‫לפתרון‬ ‫שונות‬ ‫חלופות‬ ‫בין‬ ‫בבחירה‬
The White Paper
1998
DMRB
COBA
NATA
1998
GOMMS
2000
TAG
2004
The Green Book
2003
‫של‬ ‫מסמכים‬
‫התחבורה‬ ‫משרד‬
‫של‬ ‫מסמכים‬
‫הממשלה‬
The White Paper
1998
The White Paper
1998
DMRB
COBA
DMRB
COBA
NATA
1998
NATA
1998
GOMMS
2000
GOMMS
2000
TAG
2004
TAG
2004
The Green Book
2003
The Green Book
2003
‫של‬ ‫מסמכים‬
‫התחבורה‬ ‫משרד‬
‫של‬ ‫מסמכים‬
‫הממשלה‬
The White Paper
1998
DMRB
COBA
NATA
1998
GOMMS
2000
TAG
2004
The Green Book
2003
‫של‬ ‫מסמכים‬
‫התחבורה‬ ‫משרד‬
‫של‬ ‫מסמכים‬
‫הממשלה‬
The White Paper
1998
The White Paper
1998
DMRB
COBA
DMRB
COBA
NATA
1998
NATA
1998
GOMMS
2000
GOMMS
2000
TAG
2004
TAG
2004
The Green Book
2003
The Green Book
2003
‫של‬ ‫מסמכים‬
‫התחבורה‬ ‫משרד‬
‫של‬ ‫מסמכים‬
‫הממשלה‬
The White Paper
1998
DMRB
COBA
NATA
1998
GOMMS
2000
TAG
2004
The Green Book
2003
‫של‬ ‫מסמכים‬
‫התחבורה‬ ‫משרד‬
‫של‬ ‫מסמכים‬
‫הממשלה‬
The White Paper
1998
The White Paper
1998
DMRB
COBA
DMRB
COBA
NATA
1998
NATA
1998
GOMMS
2000
GOMMS
2000
TAG
2004
TAG
2004
The Green Book
2003
The Green Book
2003
‫של‬ ‫מסמכים‬
‫התחבורה‬ ‫משרד‬
‫של‬ ‫מסמכים‬
‫הממשלה‬
The White Paper
1998
DMRB
COBA
NATA
1998
GOMMS
2000
TAG
2004
The Green Book
2003
‫של‬ ‫מסמכים‬
‫התחבורה‬ ‫משרד‬
‫של‬ ‫מסמכים‬
‫הממשלה‬
The White Paper
1998
The White Paper
1998
DMRB
COBA
DMRB
COBA
NATA
1998
NATA
1998
GOMMS
2000
GOMMS
2000
TAG
2004
TAG
2004
The Green Book
2003
The Green Book
2003
‫של‬ ‫מסמכים‬
‫התחבורה‬ ‫משרד‬
‫של‬ ‫מסמכים‬
‫הממשלה‬
The White Paper
1998
DMRB
COBA
NATA
1998
GOMMS
2000
TAG
2004
The Green Book
2003
‫של‬ ‫מסמכים‬
‫התחבורה‬ ‫משרד‬
‫של‬ ‫מסמכים‬
‫הממשלה‬
The White Paper
1998
The White Paper
1998
DMRB
COBA
DMRB
COBA
NATA
1998
NATA
1998
GOMMS
2000
GOMMS
2000
TAG
2004
TAG
2004
The Green Book
2003
The Green Book
2003
‫של‬ ‫מסמכים‬
‫התחבורה‬ ‫משרד‬
‫של‬ ‫מסמכים‬
‫הממשלה‬
The White Paper
1998
DMRB
COBA
NATA
1998
GOMMS
2000
TAG
2004
The Green Book
2003
‫של‬ ‫מסמכים‬
‫התחבורה‬ ‫משרד‬
‫של‬ ‫מסמכים‬
‫הממשלה‬
The White Paper
1998
The White Paper
1998
DMRB
COBA
DMRB
COBA
NATA
1998
NATA
1998
GOMMS
2000
GOMMS
2000
TAG
2004
TAG
2004
The Green Book
2003
The Green Book
2003
‫של‬ ‫מסמכים‬
‫התחבורה‬ ‫משרד‬
‫של‬ ‫מסמכים‬
‫הממשלה‬
12
( ‫הכספית‬ ‫להשקעה‬ ‫יחסית‬ ‫החלופות‬ ‫ערך‬ ‫את‬ ‫ולקבוע‬Value of Money.)NATA‫מבוססת‬
‫עלות‬ ‫גישת‬ ‫על‬ ‫היא‬ ‫אף‬-‫ב‬ ‫המוצגים‬ ‫העקרונות‬ ‫עם‬ ‫אחד‬ ‫בקנה‬ ‫ועולה‬ ‫תועלת‬-DMRB‫השימוש‬ .
‫ב‬ ‫הראשון‬-NATA‫אמצעי‬ ‫רבת‬ ‫ובגישה‬‫ם‬,‫בבריטניה‬‫בשנת‬ ‫נעשה‬1998‫של‬ ‫בחינה‬ ‫במסגרת‬
( ‫כבישים‬ ‫מערכות‬Road Review‫הכבישים‬ ‫ברשת‬ ‫ספציפיות‬ ‫בעיות‬ ‫עם‬ ‫להתמודד‬ ‫כדי‬ ,)
‫ברשת‬ ‫מערכתיות‬ ‫בעיות‬ ‫על‬ ‫להתגבר‬ ‫הייתה‬ ‫המטרה‬ ,‫יישומית‬ ‫מבחינה‬ .‫הבינעירונית‬
‫השא‬ ‫בין‬ .‫ואוויר‬ ‫ים‬ ‫לנמלי‬ ‫גם‬ ‫התייחסות‬ ‫תוך‬ ,‫והאוטובוסים‬ ‫הרכבות‬ ,‫הכבישים‬‫הבחינה‬ ‫ר‬
‫מים‬ ‫ונתיבי‬ ‫לחוף‬ ‫מחוף‬ ‫מטענים‬ ‫העברת‬ ,‫אווירית‬ ‫תחבורה‬ ‫של‬ ‫לנושאים‬ ‫התייחסות‬ ‫כללה‬
.‫ארציים‬ ‫פנים‬
•‫בשנת‬2000‫ה‬ ‫לאור‬ ‫יצא‬-GOMMMS–(The Governments Guidance on the
Methodology for Multi-Modal Studies.)‫ה‬–GOMMMS‫עיקרי‬ ‫הנחיה‬ ‫מקור‬ ‫מהווה‬
‫פרוייקטי‬ ‫של‬ ‫והערכה‬ ‫לפיתוח‬‫לתכנון‬ ‫הנחיה‬ ‫היא‬ ‫הגישה‬ ‫תמצית‬ .‫יבשתית‬ ‫בתחבורה‬ ‫ם‬
‫יעיל‬ ‫ליישום‬ ‫המפתח‬ ‫הינם‬ ‫ההערכה‬ ‫אמצעי‬ ‫כאשר‬ ,‫משולבת‬ ‫תחבורתית‬ ‫מדיניות‬ ‫של‬ ‫והערכה‬
‫של‬ ‫בחינה‬ ‫על‬ ‫להתבסס‬ ‫אמור‬ ‫זו‬ ‫במסגרת‬ ‫המתבצע‬ ‫ההחלטות‬ ‫קבלת‬ ‫תהליך‬ .‫זו‬ ‫מדיניות‬ ‫של‬
‫השפעותיהן‬ ‫של‬ ‫מקיף‬ ‫ניתוח‬ ‫ועל‬ ‫אמצעים‬ ‫רבות‬ ‫חלופות‬ ‫של‬ ‫קשת‬ ‫טווח‬‫גישת‬ ‫על‬ ‫בהתבססות‬ ,
.‫תועלת‬ ‫עלות‬
•‫בשנת‬2003"‫הירוק‬ ‫"הספר‬ ‫של‬ ‫ומעודכנת‬ ‫חדשה‬ ‫גרסה‬ ‫פורסמה‬(“The New Green
Book”" )Appraisal and Evaluation in Central Government”.
‫הינו‬ "‫הירוק‬ ‫"הספר‬( ‫פרוייקטים‬ ‫ושל‬ ‫מדיניות‬ ‫של‬ ‫להערכה‬ ‫המדריך‬Capital Projects,)
‫נערכו‬ ‫מחדש‬ ‫הפרסום‬ ‫בעקבות‬ .‫באנגליה‬ ‫הממשלתיים‬ ‫והגופים‬ ‫המשרדים‬ ‫כל‬ ‫את‬ ‫המשמש‬
‫ב‬ ‫שינויים‬-NATA,."‫הירוק‬ ‫"הספר‬ ‫עם‬ ‫אחד‬ ‫בקנה‬ ‫שתעלה‬ ‫כדי‬
•‫בשנת‬2004‫מדריך‬ ‫נערך‬GOMMMS‫כ‬ ‫נוספים‬ ‫מסמכים‬ ‫בצירוף‬ ‫לאור‬ ‫והוצא‬ ,‫מחדש‬-
TAG(Transport Analysis Guidance,‫תחבורתי‬ ‫לניתוח‬ ‫ההנחיות‬ .)‫ב‬ ‫המופיעות‬-TAG
‫מחייבות‬.‫ממשלתי‬ ‫תקצוב‬ ‫לקבל‬ ‫המבקש‬ ‫פרוייקט‬ ‫כל‬
3.2‫האמצעים‬ ‫רבת‬ ‫הגישה‬ ‫הגדרת‬
‫אמצעים‬ ‫רבת‬ ‫גישה‬‫הינה‬ )‫(גר"א‬‫הבוחנת‬ ,‫משולבת‬ ‫תחבורתית‬ ‫אסטרטגיה‬ ‫לפיתוח‬ ‫חדשה‬ ‫גישה‬
‫טווח‬ ‫ארוכי‬ ‫פתרונות‬ ‫לפיתוח‬ ‫לתרום‬ ‫יכולים‬ ‫הנסיעה‬ ‫אמצעי‬ ‫כל‬ ‫כיצד‬‫בעיות‬ ‫עבור‬ ‫קיימא‬ ‫וברי‬
‫תחבורתי‬.‫נבחרות‬ ‫מהותיות‬ ‫ות‬‫אמצעים‬ ‫רבת‬ ‫גישה‬‫בפתרון‬ ‫התמקדות‬ ‫של‬ ‫הישנה‬ ‫לגישה‬ ‫מנוגדת‬
‫ושל‬ ‫התחבורה‬ ‫אמצעי‬ ‫כל‬ ‫של‬ ‫התרומה‬ ‫את‬ ‫הבוחנת‬ ‫גישה‬ ‫במקומה‬ ‫ומציעה‬ ,‫יחיד‬ ‫ממד‬ ‫בעל‬
‫בגישה‬ .‫ואופניים‬ ‫הליכה‬ ,‫קלה‬ ‫רכבת‬ ,‫אוטובוסים‬ ,‫רכבות‬ ,‫כבישים‬ :‫כולל‬ ‫תנועה‬ ‫לניהול‬ ‫השיטות‬
‫התחב‬ ‫בעיית‬ ‫על‬ ‫ההסתכלות‬ ‫זו‬‫אחד‬ ‫לכל‬ ‫חלק‬ ‫יהיה‬ ‫בהם‬ ‫פתרונות‬ ‫ותציע‬ ‫מקיפה‬ ‫תהיה‬ ‫ורה‬
.‫התחבורה‬ ‫מאמצעי‬
‫ופתיחות‬ ‫הציבור‬ ‫של‬ ‫השיתוף‬ ‫היקף‬ ‫היה‬ ,‫הגישה‬ ‫הכנסת‬ ‫במסגרת‬ ‫שהוטמע‬ ,‫נוסף‬ ‫משמעותי‬ ‫שינוי‬
‫תוך‬ ,‫התהליך‬‫השקפותיהם‬ ‫כי‬ ‫להבטיח‬ ‫מנת‬ ‫על‬ ‫ואזוריים‬ ‫מקומיים‬ ‫באינטרסים‬ ‫התחשבות‬
.‫העבודה‬ ‫תהליך‬ ‫לתוך‬ ‫יוזנו‬ ‫ודעותיהם‬‫בקרב‬ ‫התכנון‬ ‫תוצרי‬ ‫של‬ ‫רחבה‬ ‫הסכמה‬ ‫להבטיח‬ ‫כדי‬ ,‫זאת‬
13
‫ידי‬ ‫על‬ ‫רק‬ ‫ולא‬ ‫האסטרטגיה‬ ‫בבחירת‬ ‫קולו‬ ‫את‬ ‫להשמיע‬ ‫לציבור‬ ‫לאפשר‬ ‫מנת‬ ‫ועל‬ ,‫העניין‬ ‫בעלי‬
‫התהליכים‬ ‫קיצור‬ ‫הוא‬ ‫זו‬ ‫בגישה‬ ‫הטמונים‬ ‫היתרונות‬ ‫אחד‬ .‫אחר‬ ‫או‬ ‫כזה‬ ‫תחבורה‬ ‫אמצעי‬ ‫בחירת‬
‫והמחקר‬ ‫מאחר‬ ‫המשפטיים‬ ‫הסיכונים‬ ‫וצמצום‬ ‫המינהליים‬‫החלופות‬ ‫כל‬ ‫את‬ ‫בחשבון‬ ‫לוקחים‬ ‫ים‬
.‫שניתן‬ ‫ככל‬ ‫רחבה‬ ‫בהסכמה‬ ‫מתקבלת‬ ‫החלופה‬ ‫ובחירת‬ ‫האפשריות‬ ‫התחבורתיות‬
3.3‫פרוייקטים‬ ‫סוגי‬
‫ה‬ ‫הנחיות‬-TAG:‫פרוייקטים‬ ‫סוגי‬ ‫לארבעה‬ ‫מתייחסות‬
1.‫אמצעים‬ ‫רבי‬ ‫פרוייקטים‬–‫המערבים‬ ‫ולפתרונות‬ ‫לבעיות‬ ‫המתייחסים‬ ‫פרוייקטים‬
.‫הנסיעה‬ ‫אמצעי‬ ‫כל‬ ‫את‬
2.‫פרוייקט‬‫כבישים‬ ‫של‬ ‫ים‬–‫פרוייקטים‬‫לשיפורים‬‫נרחבים‬‫ומהותיים‬‫ברשת‬
‫הכבישים‬(MHS=Major Highway Schemes.)
3.‫גדולים‬ ‫מקומיים‬ ‫פרוייקטים‬–‫ל‬ ‫מעל‬ ‫שתקציבם‬ ‫מקומיים‬ ‫פרוייקטים‬-5‫מיליון‬
.‫סטרלינג‬ ‫לירות‬
4.‫אזוריים‬ ‫פרוייקטים‬–‫שימושי‬ ‫של‬ ‫משולב‬ ‫אזורי‬ ‫לפיתוח‬ ‫אסטרטגיות‬ ‫תכניות‬
‫ות‬ ‫קרקע‬.‫חבורה‬
‫נעשות‬ ‫מהם‬ ‫בחלק‬ ‫כאשר‬ ,‫הפרוייקטים‬ ‫סוגי‬ ‫בכל‬ ‫מיושמת‬ ‫אמצעית‬ ‫הרב‬ ‫הגישה‬ ,‫כללי‬ ‫באופן‬
‫נעשה‬ ‫כבישים‬ ‫של‬ ‫פרוייקטים‬ ‫של‬ ‫במקרה‬ ,‫לדוגמא‬ .‫הפרוייקט‬ ‫לסוג‬ ‫בהתאם‬ ,‫הדרושות‬ ‫ההתאמות‬
‫ה‬ ‫במדריך‬ ‫שימוש‬ ‫התכנון‬ ‫במהלך‬-DMRB(Design Manual for Roads and Bridges.)‫מנת‬ ‫על‬
‫ה‬ ‫בין‬ ‫לקשר‬-GOMMMS‫ל‬-DMRB"( '"‫גישור‬ ‫"מסמך‬ ‫נוצר‬ ,The Bridging Document)"
.‫כבישים‬ ‫של‬ ‫פרוייקטים‬ ‫במסגרת‬ ‫אמצעית‬ ‫הרב‬ ‫הגישה‬ ‫את‬ ‫ליישם‬ ‫המאפשר‬
3.4‫האמצעים‬ ‫רבת‬ ‫בגישה‬ ‫העבודה‬ ‫תהליך‬
‫ה‬ ‫של‬ ‫תחבורתי‬ ‫לניתוח‬ ‫ההנחיות‬-TAG‫מ‬ ‫המורכב‬ ‫עבודה‬ ‫תהליך‬ ‫כוללות‬-15‫באיור‬ ‫כמוצג‬ ,‫שלבים‬
2‫העבודה‬ ‫תהליך‬ .‫תהליך‬ ‫דרך‬ ‫עובר‬ ,‫להתערבות‬ ‫הסיבה‬ ‫בזיהוי‬ ‫מתחיל‬ ‫האמצעים‬ ‫רבת‬ ‫בגישה‬
‫הבודק‬ ‫ההערכה‬ ‫תהליך‬ ‫דרך‬ ‫וממשיך‬ ,‫התחבורתיות‬ ‫הבעיות‬ ‫לפתרון‬ ‫חלופות‬ ‫פיתוח‬ ‫הכולל‬ ,‫התכנון‬
‫לאחר‬ ‫של‬ ‫והערכה‬ ‫ניטור‬ ‫ולבסוף‬ ,‫המועדפת‬ ‫החלופה‬ ‫לאיתור‬ ‫עד‬ ,‫ליישום‬ ‫החלופות‬ ‫טווח‬ ‫את‬
‫האמצע‬ ‫רבת‬ ‫הגישה‬ ‫של‬ ‫החדשנות‬ .‫מעשה‬‫הגדרת‬ :‫הבאים‬ ‫העבודה‬ ‫בשלבי‬ ‫בעיקר‬ ‫טמונה‬ ‫ים‬
‫(בר‬ ‫מימון‬ ‫ואפשרויות‬ ‫הערכה‬ ‫מסגרת‬ ,‫לפתרונות‬ ‫חלופות‬ ,‫והשתתפות‬ ‫התייעצות‬ ,‫המטרות‬-.)‫קימא‬
.‫ההערכה‬ ‫תהליך‬ ‫על‬ ‫הדגש‬ ‫עיקר‬ ‫יושם‬ ‫הנוכחית‬ ‫העבודה‬ ‫במסגרת‬
14
‫איור‬2‫אמצעים‬ ‫רבת‬ ‫בגישה‬ ‫העבודה‬ ‫תהליך‬ .
15
3.5‫ו‬ ‫מטרות‬‫יעדים‬
:‫חדשה‬ ‫כללית‬ ‫תחבורתית‬ ‫גישה‬ ‫ליצירת‬ ‫מטרות‬ ‫שלוש‬ ‫הבריטית‬ ‫הממשלה‬ ‫הגדירה‬ ,‫האחרון‬ ‫בעשור‬
•‫חדשה‬ ‫כלכלה‬ ‫לקדם‬
•‫הסביבה‬ ‫איכות‬ ‫את‬ ‫לשפר‬ ‫הגנה‬ ‫לספק‬
•‫יותר‬ ‫ושוויונית‬ ‫פתוחה‬ ‫חברה‬ ‫לפתח‬
‫נשיאה‬ ‫יכולת‬ ‫בעלי‬ ‫להיות‬ ‫צריכים‬ ‫תחבורתיים‬ ‫פרוייקטים‬ ‫כי‬ ‫התפיסה‬ ‫עומדת‬ ‫זו‬ ‫גישה‬ ‫בבסיס‬
‫ופי‬ ‫פיננסית‬‫איכות‬ ‫על‬ ‫שמירה‬ ‫עם‬ ‫ביד‬ ‫יד‬ ‫ללכת‬ ‫צריכה‬ ‫הכלכלית‬ ‫הצמיחה‬ ,‫כן‬ ‫כמו‬ .‫קיימא‬ ‫בר‬ ‫תוח‬
‫ככל‬ ‫שוויונית‬ ‫בצורה‬ ‫וליהנות‬ ‫חברתית‬ ‫שייכות‬ ‫לחוש‬ ‫צריכים‬ ‫בחברה‬ ‫הפרטים‬ ‫כל‬ ‫וכי‬ ,‫הסביבה‬
.‫מפרותיה‬ ‫האפשר‬
‫עבור‬ ‫על‬ ‫מטרות‬ ‫חמש‬ ‫הבריטית‬ ‫הממשלה‬ ‫קבעה‬ ,‫האמצעים‬ ‫רבת‬ ‫הגישה‬ ‫במסגרת‬ ,‫זו‬ ‫ברוח‬
‫ב‬ ‫פרוייקטים‬:‫גר"א‬ ‫מסגרת‬
•( ‫סביבתיות‬ ‫השפעות‬Environment Impact)–‫מתמקדת‬ ‫הסביבתית‬ ‫המטרה‬
.‫תחבורתית‬ ‫מפעילות‬ ‫הנובעות‬ ‫והעקיפות‬ ‫הישירות‬ ‫ההשפעות‬ ‫ובצמצום‬ ‫הסביבה‬ ‫על‬ ‫בהגנה‬
:‫משניים‬ ‫יעדים‬ ‫מעשרה‬ ‫מורכבת‬ ‫הסביבתית‬ ‫המטרה‬
-‫רעש‬ ‫צמצום‬
-‫האוויר‬ ‫איכות‬ ‫שיפור‬
-‫החממה‬ ‫גזי‬ ‫צמצום‬
-‫הה‬ ‫של‬ ‫והגדלה‬ ‫הגנה‬‫הנופית‬ ‫שפעה‬
-‫היסטוריים‬ ‫אתרים‬ ‫שימור‬
-‫חיים‬ ‫צורות‬ ‫במגוון‬ ‫תמיכה‬
-‫המים‬ ‫סביבת‬ ‫על‬ ‫הגנה‬
-‫פיסית‬ ‫התאמה‬ ‫עידוד‬
-‫הנסיעה‬ ‫סביבת‬ ‫שיפור‬
•‫בטיחות‬(Safety)–‫ונזקים‬ ‫פציעות‬ ,‫חיים‬ ‫אובדן‬ ‫לצמצום‬ ‫נוגעת‬ ‫הבטיחות‬ ‫מטרת‬
‫י‬ ‫שני‬ ‫ידי‬ ‫על‬ ‫מוגדרת‬ ‫הבטיחות‬ ‫מטרת‬ .‫ומפשיעה‬ ‫דרכים‬ ‫מתאונות‬ ‫הנובעים‬ ‫לרכוש‬‫עדים‬
:‫משניים‬
-‫הדרכים‬ ‫תאונות‬ ‫הפחתת‬
-‫הבטחון‬ ‫שיפור‬
•‫כלכלה‬(Economy)–,‫הכלכלית‬ ‫היעילות‬ ‫להגברת‬ ‫מתייחסת‬ ‫הכלכלית‬ ‫המטרה‬
‫יחסית‬ ‫האפשר‬ ‫ככל‬ ‫גבוהה‬ ‫כלכלית‬ ‫תועלת‬ ‫ולהשגת‬ ,‫קיימא‬ ‫בת‬ ‫כלכלית‬ ‫בפעילות‬ ‫לתמיכה‬
.‫בתחבורה‬ ‫והתפעולית‬ ‫הכלכלית‬ ‫היעילות‬ ‫שיפור‬ ‫ידי‬ ‫על‬ ‫מושגת‬ ‫היא‬ .‫הכספית‬ ‫להשקעה‬
‫עלות‬ ‫ניתוחי‬ ‫בסיס‬ ‫על‬ ‫נבחנת‬ ‫הכלכלית‬ ‫היעילות‬-.‫תועלת‬‫של‬ ‫הכלכלית‬ ‫היעילות‬
:‫משניים‬ ‫יעדים‬ ‫חמישה‬ ‫ידי‬ ‫על‬ ‫מוגדרת‬ ‫התחבורתיים‬ ‫הפרויקטים‬
16
-‫הציבורית‬ ‫להשקעה‬ ‫ביחס‬ ‫גבוה‬ ‫נקי‬ ‫נוכחי‬ ‫ערך‬ ‫השגת‬
-‫התחבורה‬ ‫וספקי‬ ‫העסקיים‬ ‫המשתמשים‬ ‫של‬ ‫הכלכלית‬ ‫היעילות‬ ‫שיפור‬
-‫המש‬ ‫של‬ ‫הכלכלית‬ ‫היעילות‬ ‫שיפור‬)‫(הנוסעים‬ ‫תמשים‬
-‫התחבותית‬ ‫המערכת‬ ‫של‬ ‫האמינות‬ ‫שיפור‬
-‫של‬ ‫כלכלית‬ ‫התחדשות‬ ‫במסגרת‬ ,‫נרחבות‬ ‫כלכליות‬ ‫השפעות‬ ‫יצירת‬
‫אזורים‬(Regeneration)
‫עלות‬ ‫במונחי‬ ‫נמדדים‬ ‫הכלכליים‬ ‫היעדים‬-‫הקצאת‬ ‫של‬ ‫יעילותה‬ ‫את‬ ‫בודקים‬ ,‫תועלת‬
‫המבוטאי‬ ‫כלכלית‬ ‫יעילות‬ ‫מדדי‬ ‫וכוללים‬ ,‫המשאבים‬,‫נסיעה‬ ‫בזמני‬ ‫חסכון‬ ‫של‬ ‫במונחים‬ ‫ם‬
.‫וכיוצ"ב‬ ‫תפעול‬ ‫בעלויות‬ ‫חסכון‬
•( ‫נגישות‬Accessibility)–‫מטרת‬ .‫שונים‬ ‫ליעדים‬ ‫ההגעה‬ ‫כקלות‬ ‫מוגדרת‬ ‫נגישות‬
‫זמינות‬ ‫ועם‬ ‫שונים‬ ‫במיקומים‬ ,‫אנשים‬ ‫של‬ ‫היכולת‬ ‫בהגדלת‬ ‫עוסקת‬ ‫הנגישות‬
‫מוגדרת‬ ‫הנגישות‬ ‫מטרת‬ .‫יעדים‬ ‫רחב‬ ‫למגוון‬ ‫להגיע‬ ,‫משתנה‬ ‫תחבורתית‬‫ידי‬ ‫על‬
:‫משניים‬ ‫יעדים‬ ‫שלושה‬
-‫האופציונלי‬ ‫הערך‬ ‫העלאת‬-‫את‬ ‫בודק‬ ‫זה‬ ‫יעד‬‫שירותי‬ ‫זמינות‬‫ה‬‫תחבורה‬
‫ה‬ ‫באזור‬‫פרוייקט‬
-‫מוטורית‬ ‫לא‬ ‫לתנועה‬ ‫ההפרעות‬ ‫צמצום‬
-‫התחבורה‬ ‫למערכת‬ ‫הנגישות‬ ‫שיפור‬
•( ‫שילוב‬Integration)–‫אמצעים‬ ‫ובין‬ ‫בתוך‬ ‫באינטגרציה‬ ‫עוסקת‬ ‫השילוב‬ ‫מטרת‬
‫אינטג‬ ,‫שונים‬ ‫תחבורתיים‬‫אינטגרציה‬ ,‫הסביבה‬ ‫עם‬ ‫התחבורה‬ ‫מערכת‬ ‫של‬ ‫רציה‬
‫עם‬ ‫ואינטגרציה‬ ‫והמקומית‬ ‫האזורית‬ ,‫הארצית‬ ‫ברמה‬ ‫הקרקע‬ ‫שימושי‬ ‫תכנון‬ ‫עם‬
.‫והרווחה‬ ‫הבריאות‬ ,‫החינוך‬ ‫בתחומי‬ ‫אחרת‬ ‫ממשלתית‬ ‫ומדיניות‬ ‫תכניות‬‫מטרת‬
:‫משניים‬ ‫יעדים‬ ‫שלושה‬ ‫ידי‬ ‫על‬ ‫מוגדרת‬ ‫הנגישות‬
-‫אמצעים‬ ‫בין‬ ‫מעבר‬ ‫שיפור‬
-‫תח‬ ‫מדיניות‬ ‫שילוב‬‫הקרקע‬ ‫שימושי‬ ‫מדיניות‬ ‫עם‬ ‫בורתית‬
-‫אחרת‬ ‫ממשלתית‬ ‫מדיניות‬ ‫עם‬ ‫תחבורתית‬ ‫מדיניות‬ ‫שילוב‬
,‫עצמאי‬ ‫באופן‬ ‫המוגדר‬ ‫מקומיים‬ ‫ויעדים‬ ‫מטרות‬ ‫של‬ ‫נוסף‬ ‫לסט‬ ‫ביחס‬ ‫הפרוייקטים‬ ‫נבחנים‬ ,‫בנוסף‬
.‫המקומית‬ ‫הממשלה‬ ‫ידי‬ ‫על‬ ,‫מהפרוייקטים‬ ‫אחד‬ ‫כל‬ ‫במסגרת‬
3.5.1‫לבין‬ ‫הבריטית‬ ‫הגישה‬ ‫בין‬ ‫מטרות‬ ‫השוואת‬‫של‬ ‫האמריקאית‬ ‫הגישה‬21-TEA
,‫(סביבה‬ ‫תחבורתיים‬ ‫פרוייקטים‬ ‫בהערכת‬ ‫עיקריות‬ ‫מטרות‬ ‫לחמש‬ ‫מתייחסת‬ ‫הבריטית‬ ‫הגישה‬
‫לעומת‬ ,)‫ושילוב‬ ‫נגישות‬ ,‫כלכלה‬ ,‫בטיחות‬7‫של‬ ‫האמריקאית‬ ‫בגישה‬ ‫מטרות‬21-TEA(‫צמיחה‬
‫כלכלית‬,‫מיטבי‬ ‫וניצול‬ ‫יעילות‬ ,‫שילוב‬ ,‫סביבה‬ ,‫נגישות‬ ,‫בטיחות‬.)‫המט‬ ,‫כללי‬ ‫באופן‬‫הבריטיות‬ ‫רות‬
:‫בתחומים‬ ‫הינם‬ ‫העיקריים‬ ‫ההבדלים‬ .‫האמריקאיות‬ ‫למטרות‬ ‫דומות‬
17
•‫כלכלי‬ ‫פיתוח‬–‫מחדש‬ ‫צמיחה‬ ‫במונחי‬ ‫כלכלי‬ ‫פיתוח‬ ‫על‬ ‫התמקדות‬ ,‫בבריטניה‬
(Regeneration‫הגברת‬ ‫במונחי‬ ‫כלכלי‬ ‫לפיתוח‬ ‫מתייחסת‬ ‫גם‬ ‫המטרה‬ ‫שבארה"ב‬ ‫בעוד‬ ,)
.‫התחרותיות‬
•‫מיטבי‬ ‫ניצול‬-‫התייח‬ ‫אין‬ ,‫הבריטית‬ ‫בגישה‬‫שימור‬ ‫של‬ ‫למטרה‬ ‫פרטנית‬ ‫סות‬
( ‫הקיימת‬ ‫התחבורה‬ ‫מערכת‬System Preservation,‫משנה‬ ‫ומטרת‬ ‫מטרה‬ ‫כל‬ ‫עבור‬ .)
.‫הכל‬ ‫סך‬ ‫ובמונחי‬ ‫איכותיים‬ ‫מונחים‬ ,‫כמותיים‬ ‫במונחים‬ ‫מבוטאת‬ ‫הפרוייקט‬ ‫של‬ ‫ההשפעה‬
3.6‫ההערכה‬ ‫תהליך‬
3.6.1‫כללי‬
‫שיט‬ ‫הן‬ ‫התחבורה‬ ‫בתחום‬ ‫חלופות‬ ‫בין‬ ‫לבחירה‬ ‫המסורתיות‬ ‫השיטות‬‫על‬ ‫המבוססות‬ ‫כלכליות‬ ‫ות‬
‫עלות‬ ‫בחינת‬-( ‫תועלת‬CBA-Cost Benefit Analysis‫של‬ ‫כלכלית‬ ‫וכדאיות‬ ‫יעילות‬ ‫הבודקות‬ ,)
‫איננה‬ ‫המסורתית‬ ‫הכלכלית‬ ‫הגישה‬ .‫בלבד‬ ‫מדידים‬ ‫מוניטריים‬ ‫בערכים‬ ‫שימוש‬ ‫ידי‬ ‫על‬ ‫חלופות‬
‫עלות‬ ‫ניתוחי‬ .‫רחבות‬ ‫מטרות‬ ‫בעלי‬ ‫פרוייקטים‬ ‫להערכת‬ ‫מספקת‬-‫באו‬ ‫מטפלים‬ ‫אינם‬ ‫תועלת‬‫ישיר‬ ‫פן‬
.‫מדידים‬ ‫מוניטריים‬ ‫במונחים‬ ‫ביטוי‬ ‫לידי‬ ‫באות‬ ‫שאינן‬ ‫כאלו‬ ‫בעיקר‬ ,‫ההשפעות‬ ‫סוגי‬ ‫בכל‬
‫ריבוי‬ ‫על‬ ‫המבוססות‬ ‫הערכה‬ ‫בשיטות‬ ‫שימוש‬ ‫של‬ ‫גוברת‬ ‫מגמה‬ ‫בעולם‬ ‫כיום‬ ‫מורגשת‬ ‫לכך‬ ‫כתדובה‬
‫משתנים‬(MCA-Multi-Criteria Analysis)‫על‬ ‫המסתמכות‬ ‫חלופות‬ ‫בין‬ ‫לבחור‬ ‫בעזרתן‬ ‫ניתן‬ ‫אשר‬ ,
‫משתנים‬‫ייצוג‬ ‫מאפשרות‬ ‫המשתנים‬ ‫רבות‬ ‫הערכה‬ ‫שיטות‬ .‫ואיכותיים‬ ‫כמותיים‬ ,‫רבים‬ ‫וקריטריונים‬
.‫וריאליסטית‬ ‫כוללנית‬ ‫בצורה‬ ‫הבעיה‬ ‫לייצוג‬ ‫תורמות‬ ‫ובכך‬ ‫הבעיה‬ ‫של‬ ‫ההיבטים‬ ‫כלל‬ ‫של‬ ‫מרבי‬
‫ציבור‬ ‫או‬ ‫מתכננים‬ ,‫(רשויות‬ ‫עניין‬ ‫בעלי‬ ‫ושיתוף‬ ‫קבוצתית‬ ‫החלטות‬ ‫קבלת‬ ‫על‬ ‫דגש‬ ‫בהן‬ ‫מושם‬
‫ב‬ ‫בתהליך‬ )‫המשתמשים‬‫תוך‬ ,‫שונות‬ ‫ערכיות‬ ‫לגישות‬ ‫ביטוי‬ ‫לתת‬ ‫מנת‬ ‫על‬ ,‫זאת‬ ‫כל‬ .‫החלופות‬ ‫חירת‬
.‫גורמים‬ ‫מקסימום‬ ‫בקרב‬ ‫רחבה‬ ‫הסכמה‬ ‫השגת‬ ‫כדי‬
‫הינו‬ ‫הערכה‬ ‫תהליך‬‫עזר‬ ‫כלי‬‫ההחלטות‬ ‫מקבלי‬ ‫בידי‬ ‫לסייע‬ ‫ומטרתו‬ ,‫ההחלטות‬ ‫קבלת‬ ‫בתהליך‬‫אך‬
‫ה‬ ‫ידי‬ ‫על‬ ‫היטב‬ ‫נוסחה‬ ‫זו‬ ‫קביעה‬ .‫הסופית‬ ‫התוצאה‬ ‫את‬ ‫לקבוע‬ ‫לא‬-ECMT:
"The purpose of appraisal is not to attempt to make the decision but to present the
decision maker with the information they need to make an adequately well informed
decision" (European Committee of Ministers of Transport).
‫והס‬ ‫ניתוחים‬ ‫לכלול‬ ‫צריך‬ ‫ההערכה‬ ‫תהליך‬‫לאפשר‬ ‫בכדי‬ ,‫ותפקודן‬ ‫החלופות‬ ‫מהות‬ ‫לגבי‬ ‫ברים‬
‫נוסחה‬ ‫מגדיר‬ ‫אינו‬ ‫הערכה‬ ‫תהליך‬ .‫הנשקלות‬ ‫החלופות‬ ‫של‬ ‫מעמיקה‬ ‫הבנה‬ ‫ההחלטות‬ ‫למקבלי‬
.‫חוזרות‬ ‫התאמות‬ ‫דורש‬ ‫וחלעיתים‬ ‫מתמטית‬
3.6.2‫של‬ ‫הערכה‬ ‫תהליך‬NATA
The New Approach to Appraisal) NATA)‫הגיש‬ ‫במסגרת‬ ‫שפותח‬ ,‫ההערכה‬ ‫תהליך‬ ‫הנו‬‫רבת‬ ‫ה‬
.‫האמצעים‬
18
‫של‬ ‫הערכה‬ ‫תהליך‬ ‫מטרות‬NATA:‫הן‬
•‫לספק‬‫יעילה‬ ‫ולהקצאה‬ ‫הממשלה‬ ‫מדיניות‬ ‫של‬ ‫יעיל‬ ‫ליישום‬ ‫כלים‬‫של‬‫משאבים‬.
•‫מתחרות‬ ‫חלופות‬ ‫מספר‬ ‫לבדוק‬‫התייחסות‬ ‫באמצעות‬‫שתהיה‬‫עקבית‬‫בין‬‫החלופות‬,
‫מאוזנת‬‫הנסיעה‬ ‫אמצעי‬ ‫לכלל‬ ‫ביחס‬‫ו‬‫כוללנית‬‫השפעות‬ ‫של‬ ‫רחב‬ ‫לטווח‬ ‫ביחס‬.
•‫לספק‬‫מידע‬‫כולל‬‫על‬‫התכנוניות‬ ‫והחלופות‬ ‫הפרויקט‬ ‫השפעות‬
•‫להגדיל‬‫התהליך‬ ‫שקיפות‬ ‫את‬
‫של‬ ‫ההערכה‬ ‫מסגרת‬NATA:‫נפרדים‬ ‫חלקים‬ ‫מארבעה‬ ‫מורכבת‬
1.)‫(טע"מ‬ ‫מסכמת‬ ‫הערכה‬ ‫טבלת‬-(AST - Appraisal Summary Table)-‫טבלת‬
‫טבלה‬ ‫(ראה‬ ‫המסכמת‬ ‫ההערכה‬1.‫ההערכה‬ ‫תהליך‬ ‫של‬ ‫המרכזי‬ ‫כנדבך‬ ‫משמשת‬ )‫להלן‬
‫מ‬ ‫הטבלה‬‫הסביבתיות‬ ,‫הכלכליות‬ ‫ההשפעות‬ ‫ואת‬ ‫הממשלתיים‬ ‫היעדים‬ ‫השגת‬ ‫את‬ ‫סכמת‬
‫ההערכה‬ ‫טבלת‬ ‫של‬ ‫מטרתה‬ .‫המוצע‬ ‫התחבורתי‬ ‫בפתרון‬ ‫ביטוי‬ ‫לידי‬ ‫הבאות‬ ‫והחברתיות‬
.‫ההחלטות‬ ‫מקבלי‬ ‫בידי‬ ‫ומתומצת‬ ‫מרוכז‬ ‫מידע‬ ‫לספק‬ ‫המסכמת‬
‫את‬ ‫תמציתי‬ ‫באופן‬ ‫מציגה‬ ‫היא‬ .‫חלופה‬ ‫כל‬ ‫עבור‬ ‫מופקת‬ ‫המסכמת‬ ‫ההערכה‬ ‫טבלת‬
‫חשיב‬‫הממשלתיים‬ ‫היעדים‬ ‫בחמשת‬ ‫בהתחשב‬ ,‫בבעיה‬ ‫טיפולה‬ ‫אופן‬ ‫את‬ ‫ותה‬-
( ‫המקיפות‬ ‫ההשפעות‬ ‫ואת‬ ,‫ושילוב‬ ‫נגישות‬ ,‫כלכלה‬ ,‫בטחון‬ ,‫סביבה‬System Wide)
‫והבעיה‬ ‫החלופה‬ ‫של‬ ‫תיאור‬ ‫כוללת‬ ‫טע"מ‬ .‫התחבורתי‬ ‫מהפרוייקט‬ ‫הנובעות‬
‫ותיאו‬ ,‫שנדחו‬ ‫אחרות‬ ‫חלופות‬ ‫של‬ ‫תיאור‬ ,‫מתמודדת‬ ‫היא‬ ‫איתה‬ ‫התחבורתית‬‫ר‬
‫הכולל‬ ‫הציבורי‬ ‫התקציב‬ ‫על‬ ‫ההשפעה‬ ‫את‬ ‫מסכמת‬ ‫היא‬ .‫מביאה‬ ‫שהיא‬ ‫השיפור‬
‫הערך‬ ‫ואת‬ ‫ואת‬ ,‫הפעלה‬ ‫עלויות‬ ,‫תחזוקה‬ ‫עלויות‬ ,‫סובסידיות‬ ,‫השקעה‬ ‫עלויות‬
‫אחד‬ ‫כי‬ ‫נמצא‬ ‫כאשר‬ ,‫אולם‬ .‫פרטני‬ ‫באופן‬ ‫אלמנט‬ ‫כל‬ ‫בודקת‬ ‫טע"מ‬ .‫הנקי‬ ‫הנוכי‬
‫השאלה‬ ‫את‬ ‫מציגה‬ ‫היא‬ ‫ניכר‬ ‫שלילי‬ ‫כלכלי‬ ‫לערך‬ ‫גורם‬ ‫האלמנטים‬‫מקום‬ ‫יש‬ ‫האם‬
.‫בחלופה‬ ‫האלמנטים‬ ‫שאר‬ ‫בניתוח‬ ‫להמשיך‬
.‫הכספית‬ ‫להשקעה‬ ‫יחסית‬ ‫החלופה‬ ‫של‬ ‫הכולל‬ ‫הערך‬ ‫הצגת‬ ‫לצורך‬ ‫משמשת‬ ‫טע"מ‬
‫רק‬ ‫ולא‬ ,‫כאחד‬ ‫וכמותיות‬ ‫איכותיות‬ ,‫ההשפעות‬ ‫כל‬ ‫בחשבון‬ ‫נלקחות‬ ‫זו‬ ‫במסגרת‬
‫בחלופה‬ ‫הטמונות‬ ‫והתועלות‬ ‫העלויות‬ ‫כל‬ ‫את‬ ‫מציגה‬ ‫טע"מ‬ .‫המוניטריות‬ ‫ההשפעות‬
‫בערכים‬( ‫אורדינלית‬ ‫בסקאלה‬ ‫או‬ ‫כמותיים‬ ‫בערכים‬ ,‫מוניטריים‬1-7.)
.‫והחסרונות‬ ‫היתרונות‬ ‫מאזן‬ ‫של‬ ‫תמונה‬ ‫ההחלטות‬ ‫מקבל‬ ‫בפני‬ ‫מציגה‬ ‫טע"מ‬
‫מקבלי‬ ‫של‬ ‫דעת‬ ‫ושיקול‬ ‫משיפוט‬ ‫ומתקבלת‬ ‫סובייקטיבית‬ ‫הינה‬ ‫החלופה‬ ‫הבחירה‬
.‫ולהשפעותיהם‬ ‫השונים‬ ‫לגורמים‬ ‫מיחסים‬ ‫שהם‬ ‫החשיבות‬ ‫על‬ ‫בהתבסס‬ ,‫ההחלטות‬
2.‫הערכ‬‫ומקומיים‬ ‫אזוריים‬ ‫יעדים‬ ‫של‬ ‫השגתם‬ ‫מידת‬ ‫של‬ ‫ה‬–‫זו‬ ‫הערכה‬ ‫לצורך‬
‫בטבלת‬ ‫המופיעים‬ ‫לאלה‬ ‫הדומים‬ ‫באינדיקטורים‬ ‫ההערכה‬ ‫לצורך‬ ‫להשתמש‬ ‫מומלץ‬
( ‫המסכמת‬ ‫ההערכה‬AST.)
3.‫שהושגה‬ ‫השיפור‬ ‫מידת‬ ‫של‬ ‫הערכה‬–,‫בעיות‬ ‫לזיהוי‬ ‫בגישות‬ ‫עוסק‬ ‫זה‬ ‫חלק‬
‫הבעיו‬ ‫לפתרון‬ ‫השונות‬ ‫החלופות‬ ‫של‬ ‫היעילות‬ ‫ובבחינת‬.‫ת‬
19
4.‫תומכים‬ ‫ניתוחים‬:
•‫והגינות‬ ‫פיזור‬–‫שבהתפלגותן‬ ‫ההגינות‬ ‫והערכת‬ ‫ההשפעות‬ ‫פיזור‬ ‫אופן‬ ‫בדיקת‬
:‫לדוגמא‬
-‫פיזור‬‫אויר‬ ‫וזיהום‬ ‫רעש‬ ‫כגון‬ ‫השפעות‬ ‫של‬ ‫גיאוגרפי‬
-‫נגישות‬‫התחבורה‬ ‫למערכת‬
-‫השפעות‬‫כלכליות‬
•‫פיננסית‬ ‫נשיאה‬ ‫יכולת‬-(AFS - Affordability & Financial
Sustainability)–‫ט‬‫בלת‬AFS‫טבלה‬ ‫(ראה‬2,)‫להלן‬‫את‬ ‫מציגה‬‫הביצועים‬
‫הפיננסים‬‫ואת‬‫ה‬‫חלופה‬ ‫בכל‬ ‫והציבורי‬ ‫הפרטי‬ ‫הסקטור‬ ‫של‬ ‫תרומה‬‫הטבלה‬ .
‫תחבורתיים‬ ‫ספקים‬ ‫ועל‬ ‫הציבורי‬ ‫התקציב‬ ‫על‬ ‫הפיננסית‬ ‫ההשפעה‬ ‫את‬ ‫מסכמת‬
.‫הפרטי‬ ‫בסקטור‬
‫שישקפו‬ ‫כך‬ )‫שינויים‬ ‫(מינימום‬ ‫מוסכמת‬ ‫אפס‬ ‫לחלופת‬ ‫ביחס‬ ‫נמדדות‬ ‫ההשפעות‬
‫שינו‬‫השקעה‬ ‫עלויות‬ :‫כוללים‬ ‫בטבלה‬ ‫הערכים‬ .‫ובתקבולים‬ ‫בעלויות‬ ‫יים‬
‫בין‬ ‫הפיננסיות‬ ‫ההעברות‬ ‫ואת‬ ‫ובתקבולים‬ ‫הפעלה‬ ‫בהוצאות‬ ‫שינויים‬ ,‫בחלופה‬
‫תזרים‬ ‫במונחי‬ ‫מופיעות‬ ‫העלויות‬ .‫הציבורי‬ ‫הסקטור‬ ‫לבין‬ ‫הפרטי‬ ‫הסקטור‬
‫יכולת‬ ‫של‬ ‫בהקשר‬ ‫המפתח‬ ‫שאלת‬ .)‫העתידי‬ ‫האינפלציה‬ ‫שיעור‬ ‫(כולל‬ ‫מזומנים‬
‫נשיאה‬‫והאם‬ ,‫פיננסית‬ ‫מבחינה‬ ‫עצמאית‬ ‫הינה‬ ‫תוכנית‬ ‫איזו‬ ‫היא‬ ‫פיננסית‬
‫נושאת‬ ‫לא‬ ‫והתוכנית‬ ‫במידה‬ .‫וההפעלה‬ ‫ההשקעה‬ ‫הוצאות‬ ‫את‬ ‫מכסות‬ ‫ההכנסות‬
.‫הפועל‬ ‫אל‬ ‫להוציאה‬ ‫כדי‬ ‫הנדרשת‬ ‫הסובסידיה‬ ‫גודל‬ ‫מה‬ ‫השאלה‬ ‫נשאלת‬ ‫עצמה‬
•‫ציבורית‬ ‫וקבלה‬ ‫ישימות‬-‫אזור‬ ,‫ישימות‬ ‫כגון‬ ‫מדדים‬ ‫הכוללת‬ ‫רשימה‬
‫ההתייח‬‫אופי‬ ,‫קונפליקטים‬ ,‫השלמה‬ ,‫שלביות‬ ,‫מורכבות‬ ,‫זמן‬ ‫מרכיבי‬ ,‫סות‬
.'‫וכו‬ ‫פוליטי‬
‫הסופי‬ ‫ההערכה‬ ‫תהליך‬ ‫סיכום‬
‫ניירות‬ ‫לשבעה‬ ‫עד‬ ‫ההערכה‬ ‫תהליך‬ ‫בסוף‬ ‫מוכנים‬ ‫תכנונית‬ ‫חלופה‬ ‫או‬ ‫אסטרטגיה‬ ‫כל‬ ‫עבור‬
:‫כוללים‬ ‫הם‬ .‫ההערכה‬ ‫תהליך‬ ‫של‬ ‫שונים‬ ‫אספקטים‬ ‫המסכמים‬
•‫החלו‬ ‫את‬ ‫או‬ ‫האסטרטגיה‬ ‫את‬ ‫המתארת‬ ‫מפה‬‫פה‬
•‫שנדחו‬ ‫לכך‬ ‫והסיבה‬ ‫שנשקלו‬ ‫האלטרנטיבות‬ ‫רשימת‬
•( ‫מסכמת‬ ‫הערכה‬ ‫טבלת‬AST)
•‫והאזוריים‬ ‫המקומיים‬ ‫היעדים‬ ‫השגת‬ ‫סיכום‬
•‫האפס‬ ‫לחלופת‬ ‫ביחס‬ ‫הבעיות‬ ‫בהיקף‬ ‫השינויים‬ ‫את‬ ‫המציגה‬ ‫מפה‬
•‫התומכים‬ ‫בניתוחים‬ ‫שעלו‬ ‫העיקריות‬ ‫הנקודות‬ ‫של‬ ‫סיכום‬
•‫ב‬ ‫משנה‬ ‫מטרת‬ ‫לכל‬ ‫ביחס‬ ‫מסמכים‬ ‫יוכנו‬ ‫בנוסף‬-AST
20
21
‫תיאור‬‫בעיות‬
‫עלויות‬ ‫של‬ ‫נוכחי‬ ‫ערך‬
)₪ ‫מיליוני‬ ( ‫הציבורי‬ ‫התקציב‬
‫מטרות‬‫משנה‬ ‫מטרות‬‫איכותיות‬ ‫השפעות‬‫כמותיות‬ ‫השפעות‬‫הערכה‬
‫רעש‬‫נטו‬ ‫אוכלוסייה‬ ‫של‬ ‫הפסד‬ /‫תוספת‬
‫מקומית‬ ‫אוויר‬ ‫איכות‬‫באוויר‬ ‫המזהמים‬ ‫ריכוז‬
‫חממה‬ ‫גזי‬)CO2( ‫חמצני‬ ‫דו‬ ‫פחמן‬
‫נופית‬ ‫השפעה‬‫ציון‬
‫עירוני‬ ‫עיצוב‬‫ציון‬
‫היסטוריים‬‫אתרים‬ ‫שימור‬‫ציון‬
‫חיים‬ ‫צורות‬ ‫מגוון‬‫ציון‬
‫מים‬‫ציון‬
‫פיסית‬ ‫התאמה‬‫ציון‬
‫הנסיעה‬ ‫סביבת‬‫ציון‬
‫דרכים‬ ‫תאונות‬)₪ ‫(מיליוני‬ ‫תועלות‬ ‫של‬ ‫נוכחי‬ ‫ערך‬
‫בטחון‬‫ציון‬
‫הציבורי‬ ‫התקציב‬‫מקומית‬ ‫רשות‬ ‫ושל‬ ‫הממשלה‬ ‫של‬ ‫ע‬ "‫ענ‬)₪ ‫(מיליוני‬ ‫עלויות‬ ‫של‬ ‫נוכחי‬ ‫ערך‬
‫משתמשים‬ :‫יעילה‬ ‫תחבורה‬ ‫כלכלת‬
‫תחבורה‬ ‫ספקי‬ & ‫עסקיים‬
‫תחבורה‬ ‫ספקי‬ ,‫משתמשים‬ ‫של‬ ‫ת‬ "‫ענ‬
‫ואחרים‬
)₪ ‫(מיליוני‬ ‫תועלות‬ ‫של‬ ‫נוכחי‬ ‫ערך‬
‫צרכנים‬ :‫יעילה‬ ‫תחבורה‬ ‫כלכלת‬‫המשתמשים‬ ‫של‬ ‫ת‬ "‫ענ‬)₪ ‫(מיליוני‬ ‫תועלות‬ ‫של‬ ‫נוכחי‬ ‫ערך‬
‫אמינות‬‫ציון‬
‫נרחבות‬ ‫כלכליות‬ ‫השפעות‬‫ציון‬
‫אופציונלי‬ ‫ערך‬)₪ ‫(מיליוני‬ ‫תועלות‬ ‫של‬ ‫נוכחי‬ ‫ערך‬
‫מוטורית‬ ‫לא‬ ‫לתנועה‬ ‫הפרעות‬‫ציון‬
‫תחבורה‬ ‫למערכת‬ ‫נגישות‬‫ציון‬
‫אמצעים‬ ‫בין‬ ‫מעבר‬‫ציון‬
‫הקרקע‬‫שימושי‬ ‫מדיניות‬‫ציון‬
‫אחרת‬ ‫ממשלתית‬ ‫מדיניות‬‫ציון‬
‫הגדרות‬
‫עלויות‬ ‫של‬ ‫נוכחי‬ ‫ערך‬ - ‫ענ"ע‬
‫תועלות‬ ‫של‬ ‫נוכחי‬ ‫ערך‬ - ‫ענ"ת‬
‫חלופה‬
‫נגישות‬
‫שילוב‬
‫סביבה‬
‫בטיחות‬
‫כלכלה‬
‫טב‬‫לה‬1( ‫מסכמת‬ ‫הערכה‬ ‫טבלת‬ .AST)
22
‫טבלה‬2( ‫פיננסית‬ ‫נשיאה‬ ‫יכולת‬ .AFS)
‫עלויות‬)‫מהוון‬ ‫לא‬( ‫סה"כ‬
‫השקעה‬ ‫עלויות‬‫מקומיים‬ ‫כבישים‬‫אחר‬
I ‫שנה‬
II ‫שנה‬
III ‫שנה‬
IV ‫שנה‬
V ‫שנה‬
‫סה"כ‬(1)
‫ואחרות‬ ‫היזם‬ ‫תרומות‬(2)
‫מהממשלה‬ ‫העברות‬(3)
‫הפרטי‬ ‫לסקטור‬ ‫העברות‬(4)
‫העברות‬ ‫ללא‬ ‫המקומית‬ ‫לרשות‬ ‫עלויות‬(5)=(1)+(4)-(2)-(3)
‫הציבורי‬ ‫הסקטור‬ ‫תפעול‬
1 ‫שנה‬‫מקומיים‬ ‫כבישים‬‫אחר‬
‫המפעיל‬ ‫בהוצאות‬ ‫שינויים‬(6)
‫המפעיל‬ ‫בתקבולי‬ ‫שינויים‬(7)
)‫(נטו‬ ‫נקייה‬ ‫השפעה‬(8)=(7)-(6)
5 ‫שנה‬
‫המפעיל‬ ‫בהוצאות‬ ‫שינויים‬(9)
‫המפעיל‬ ‫בתקבולי‬ ‫שינויים‬(10)
)‫(נטו‬ ‫נקייה‬ ‫השפעה‬(11)=(10)-(9)
10 ‫שנה‬
‫המפעיל‬ ‫בהוצאות‬ ‫שינויים‬(11)
‫המפעיל‬ ‫בתקבולי‬ ‫שינויים‬(12)
)‫(נטו‬ ‫נקייה‬ ‫השפעה‬(14)=(13)-(12)
‫המקומית‬ ‫הרשות‬ ‫של‬ ‫קיימא‬ ‫בת‬ ‫פיננסית‬ ‫יכולת‬
‫ארגון/תקציב‬ ‫לפי‬ ‫סיווג‬
‫קלה‬ ‫רכבת‬
‫ארגון/תקציב‬ ‫לפי‬ ‫סיווג‬
‫קלה‬ ‫רכבת‬
23
‫עלויות‬)‫מהוון‬ ‫לא‬( ‫סה"כ‬
‫השקעה‬ ‫עלויות‬‫כבישים‬ ‫רשות‬‫רכבות‬ ‫רשות‬1 ‫אחר‬2 ‫אחר‬
I ‫שנה‬
II ‫שנה‬
III ‫שנה‬
IV ‫שנה‬
V ‫שנה‬
‫סה"כ‬(15)
‫ואחרות‬ ‫היזם‬ ‫תרומות‬(16)
‫המקומית‬ ‫לרשות‬ ‫העברות‬(17)
‫הפרטי‬ ‫לסקטור‬ ‫העבורת‬(18)
‫עקיפים‬ ‫ממיסים‬ ‫תקבולים‬(19)
)‫העברות‬ ‫כולל‬ ( ‫הממשלה‬ ‫עלויות‬(20)=(15)+(17)+(18)-(16)-(19)
‫תפעול‬
1 ‫שנה‬‫כבישים‬ ‫רשות‬‫רכבות‬ ‫רשות‬1 ‫אחר‬2 ‫אחר‬
‫המפעיל‬ ‫בהוצאות‬ ‫שינויים‬(21)
‫המפעיל‬ ‫בתקבולי‬ ‫שינויים‬(22)
)‫(נטו‬ ‫נקייה‬ ‫השפעה‬(23)=(21)-(20)
5 ‫שנה‬
‫המפעיל‬ ‫בהוצאות‬ ‫שינויים‬(24)
‫המפעיל‬ ‫בתקבולי‬ ‫שינויים‬(25)
)‫(נטו‬ ‫נקייה‬ ‫השפעה‬(26)=(24)-(23)
10 ‫שנה‬
‫המפעיל‬ ‫בהוצאות‬ ‫שינויים‬(26)
‫המפעיל‬ ‫בתקבולי‬ ‫שינויים‬(27)
)‫(נטו‬ ‫נקייה‬ ‫השפעה‬(29)=(28)-(27)
‫הממשלה‬ ‫של‬ ‫קיימא‬ ‫בת‬ ‫פיננסית‬ ‫יכולת‬
‫ארגון/תקציב‬ ‫לפי‬ ‫סיווג‬
‫ארגון/תקציב‬ ‫לפי‬ ‫סיווג‬
‫טבלה‬2‫המשך‬ .
24
‫הפרטי‬ ‫בסקטור‬ ‫והעברות‬ ‫השקעה‬ ‫עלויות‬)‫מהוון‬ ‫(לא‬ ‫סה"כ‬
‫השקעה‬ ‫עלויות‬1 ‫רכבת‬ ‫תוואי‬2 ‫רכבת‬ ‫תוואי‬
‫פרוזדור‬
1 ‫אוטובוס‬
‫פרוזדור‬
2 ‫אוטובוס‬
‫מטענים‬ ‫רכבת‬‫אחר‬
I ‫שנה‬
II ‫שנה‬
III ‫שנה‬
IV ‫שנה‬
V ‫שנה‬
‫סה"כ‬(30)
‫מקומית‬ ‫ומרשות‬ ‫מהממשלה‬ ‫העברות‬(31)
‫הפרטי‬ ‫בסקטור‬ ‫מפעילים‬
1 ‫שנה‬
1 ‫רכבת‬ ‫תוואי‬2 ‫רכבת‬ ‫תוואי‬
‫פרוזדור‬
1 ‫אוטובוס‬
‫פרוזדור‬
2 ‫אוטובוס‬
‫מטענים‬ ‫רכבת‬‫אחר‬
‫המפעיל‬ ‫בהוצאות‬ ‫שינויים‬(32)
‫המפעיל‬ ‫בתקבולי‬ ‫שינויים‬(33)
)‫(נטו‬ ‫נקייה‬ ‫השפעה‬(34)=(33)-(32)
‫סובסידיה‬(35)
5 ‫שנה‬
‫המפעיל‬ ‫בהוצאות‬ ‫שינויים‬(36)
‫המפעיל‬ ‫בתקבולי‬ ‫שינויים‬(37)
)‫(נטו‬ ‫נקייה‬ ‫השפעה‬(38)=(37)-(36)
‫סובסידיה‬(39)
10 ‫שנה‬
‫המפעיל‬ ‫בהוצאות‬ ‫שינויים‬(40)
‫המפעיל‬ ‫בתקבולי‬ ‫שינויים‬(41)
)‫(נטו‬ ‫נקייה‬ ‫השפעה‬(42)=(41)-(40)
‫סובסידיה‬(43)
‫הפרטי‬ ‫הסקטור‬ ‫של‬ )‫(נטו‬ ‫נקיה‬ ‫השפעה‬
‫הון‬ ‫העברות‬ ‫ללא‬ ,‫נטו‬ ‫השקעות‬=(30)-(31)
‫סובסידיה‬ ‫ללא‬ ,‫נטו‬ ‫הפעלה‬ ‫הוצאות‬
1 ‫שנה‬=(34)-(35)
5 ‫שנה‬=(38)-(39)
10 ‫שנה‬=(42)-(43)
‫ארגון‬ ‫לפי‬ ‫סיווג‬
‫ארגון‬ ‫לפי‬ ‫סיווג‬
‫הפרטי‬ ‫הסקטור‬ ‫של‬ ‫קיימא‬ ‫בת‬ ‫פיננסית‬ ‫יכולת‬
‫טבלה‬2‫המשך‬ .
25
3.7( ‫אמצעים‬ ‫רבי‬ ‫לפרוייקטים‬ ‫דוגמא‬MMS - Multi-Modal Studies)
‫בבריטניה‬
‫בשנת‬1999‫רבי‬ ‫פרוייקטים‬ ‫ליישום‬ ‫תוכנית‬ ‫באנגליה‬ ‫הושקה‬( ‫אמצעים‬MMS - Multi-Modal
Studies.)‫בכבישים‬ ‫חדש‬ ‫בטיפול‬ ‫שעסק‬ ,‫ממשלתי‬ ‫דוח‬ ‫פרסום‬ ‫בעקבות‬ ‫פותחה‬ ‫התוכנית‬
‫באנגליה‬ ‫הבינעירוניים‬(A New Deal for Trunk Roads)‫ליזום‬ ‫הציע‬ ‫הממשלתי‬ ‫הדוח‬ .
‫כבי‬ ‫של‬ ‫מפתח‬ ‫באזורי‬ ‫שזוהו‬ ‫בעיות‬ ‫עבור‬ ‫קיימא‬ ‫וברי‬ ‫טווח‬ ‫ארוכי‬ ‫פתרונות‬ ‫לפיתוח‬ ‫פרוייקטים‬‫שים‬
.‫ברשת‬ ‫אסטרטגיים‬‫קבעה‬ ,‫כך‬ ‫בעקבות‬‫ו‬‫התחבורה‬ ‫משרד‬ ‫של‬ ‫היגוי‬ ‫ועדת‬‫הבריטי‬21‫בהם‬ ‫אזורים‬
‫הפתרונות‬‫גיש‬ ‫על‬ ‫יתבססו‬ ‫התחבורתיים‬.‫אמצעים‬ ‫רבת‬ ‫ה‬
‫הפרוייקטים‬ ‫כל‬ ,‫מכן‬ ‫לאחר‬ .‫היגוי‬ ‫וועדת‬ ‫ומונתה‬ ‫פרטניות‬ ‫דרישות‬ ‫הוגדרו‬ ‫פרוייקט‬ ‫לכל‬ ‫עבור‬
‫בדר‬ ‫לעמוד‬ ‫נדרשו‬ ‫היועצים‬ ‫כאשר‬ ‫למכרז‬ ‫הוצאו‬‫ה‬ ‫ובדרישות‬ ‫הספציפי‬ ‫המכרז‬ ‫ישות‬-GOMMMS
‫החמורות‬ ‫האסטרטגיות‬ ‫התחבורתיות‬ ‫בבעיות‬ ‫לטפל‬ ‫ייועדו‬ ,‫שנבחרו‬ ,‫האמצעים‬ ‫רבי‬ ‫הפרוייקטים‬
,‫מעשית‬ .‫אזורית‬ ‫מדיניות‬ ‫של‬ ‫ברמה‬ ‫טיפול‬ ‫והדורשות‬ ‫נרחב‬ ‫אזור‬ ‫פני‬ ‫על‬ ‫המשתרעות‬ ‫בעיות‬ ,‫ביותר‬
‫חמ‬ ‫בעיות‬ ‫זוהו‬ ‫שבהם‬ ‫אלה‬ ‫היו‬ ‫ליישום‬ ‫שנבחרו‬ ‫הפרוייקטים‬‫לעומת‬ .‫הכבישים‬ ‫ברשת‬ ‫בעיקר‬ ,‫ורות‬
.‫זו‬ ‫פרוייקטים‬ ‫בסדרת‬ ‫נכללו‬ ‫לא‬ ‫המקומית‬ ‫הרמה‬ ‫במסגרת‬ ‫בהן‬ ‫לטפל‬ ‫היה‬ ‫שניתן‬ ‫בעיות‬ ,‫זאת‬
‫בעוד‬ .‫ליישומם‬ ‫הזמנים‬ ‫ובלוח‬ ‫תקציבם‬ ‫בהיקף‬ ,‫במורכבותם‬ ‫מגוונים‬ ‫היו‬ ‫שנבחרו‬ ‫הפרוייקטים‬
‫השתנו‬ ‫הטכניות‬ ‫השיטות‬ ,‫זהה‬ ‫היה‬ ‫הפרוייקטים‬ ‫בכל‬ ‫הכללי‬ ‫ההערכה‬ ‫תהליך‬‫לאזור‬ ‫בהתאם‬
‫נעשה‬ ‫בהם‬ ‫והמודלים‬ ‫הנתונים‬ ,‫הנשקלים‬ ‫הפתרונות‬ ,‫הבעיה‬ ‫סוג‬ ,‫הפרוייקט‬ ‫של‬ ‫הגיאוגרפי‬
.‫שימוש‬
‫לחקור‬ ‫הייתה‬ ‫האמצעים‬ ‫רבי‬ ‫הפרוייקטים‬ ‫מטרת‬‫בעיות‬‫אחר‬ ‫חיפוש‬ ‫ידי‬ ‫על‬ ‫תחבורתיות‬‫פתרונות‬
‫שימוש‬ ‫נעשה‬ ‫בהם‬.‫התחבורה‬ ‫אמצעי‬ ‫בכל‬‫שאינה‬ ‫למדיניות‬ ‫גם‬ ‫להתייחס‬ ‫יכלו‬ ‫הפתרונות‬
‫תחב‬.‫ובריאות‬ ‫חינוך‬ ,‫קרקע‬ ‫שימושי‬ ‫כגון‬ ‫ורתית‬‫תוצרי‬‫חלופות‬ ‫מספר‬ ‫היו‬ ‫הפרוייקטים‬
‫מייצגת‬ ‫חלופה‬ ‫כל‬ ‫כאשר‬ ,‫הפרוייקט‬ ‫באזור‬ ‫הבעיות‬ ‫פתרון‬ ‫עם‬ ‫המתמודדות‬‫תוכנית‬‫גם‬ ‫ולעיתים‬
‫אסטרטגיה‬‫תהליך‬ ‫להבטיח‬ ‫מנת‬ ‫על‬ ‫מפורט‬ ‫להיות‬ ‫צריך‬ ‫היה‬ ‫החלופות‬ ‫ניתוח‬ .‫שונה‬ ‫תחבורתית‬
‫תוצ‬ .‫החלטות‬ ‫קבלת‬ ‫של‬ ‫נכון‬‫האזוריות‬ ‫התכנון‬ ‫רשויות‬ ‫את‬ ‫לשמש‬ ‫אמורות‬ ‫היו‬ ‫הפרוייקטים‬ ‫אות‬
.‫תחבורתיות‬ ‫אסטרטגיות‬ ‫בפיתוח‬
,‫כאמור‬‫בחשבון‬ ‫לוקחים‬ ‫אשר‬ ,‫מאוזנים‬ ‫פתרונות‬ ‫לספק‬ ‫הייתה‬ ‫האמצעים‬ ‫רבי‬ ‫הפרוייקטים‬ ‫מטרת‬
‫שבין‬ ‫ההשפעה‬ ‫את‬ ‫וכן‬ ,‫מוטוריים‬ ‫לא‬ ‫אמצעים‬ ‫כולל‬ ,‫התחבורה‬ ‫אמצעי‬ ‫כל‬ ‫שילוב‬ ‫של‬ ‫ההשפעה‬ ‫את‬
‫התחבור‬.‫הקרקע‬ ‫לשימושי‬ ‫ה‬
:‫כללו‬ ‫שנבדקו‬ ‫התחבורה‬ ‫אמצעי‬
•‫כבישים‬
•‫רכבות‬ ‫רשת‬
•‫אוטובוסים‬
•‫אופניים‬ ‫על‬ ‫רכיבה‬
•‫ברגל‬ ‫הליכה‬
•‫מים‬ ‫נתיבי‬
26
‫התחבורה‬ ‫בבעיות‬ ‫לטיפול‬ ‫שונים‬ ‫תחבורתיים‬ ‫אמצעים‬ ‫של‬ ‫תרומתם‬ ‫את‬ ‫בחנו‬ ‫הפרוייקטים‬
‫הקשר‬ ‫את‬ ‫בחנו‬ ‫הם‬ ,‫כן‬ ‫כמו‬ .‫שינוי‬ ‫להשגת‬ ‫בהם‬ ‫הטמונה‬ ‫ההזדמנות‬ ‫את‬ ‫ובמיוחד‬‫שימושי‬ ‫בין‬
‫טווח‬ ‫ארוכי‬ ‫תחבורתיים‬ ‫פתרונות‬ ‫מציאת‬ ‫על‬ ‫היה‬ ‫הדגש‬ .‫התחבורתיות‬ ‫לחלופות‬ ‫העתידיים‬ ‫הקרקע‬
‫הממשלתיות‬ ‫המטרות‬ ‫חמשת‬ ‫כנגד‬ ‫הוערכו‬ ‫החלופות‬ ‫כאשר‬ ,‫הנבדקים‬ ‫מהאזורים‬ ‫אחד‬ ‫בכל‬
‫במסגרת‬ ‫שהוגדרו‬NATA.‫ושילוב‬ ‫נגישות‬ ,‫כלכלה‬ ,‫בטיחות‬ ,‫סביבה‬ :
‫בעיקר‬ ‫נבע‬ ‫הפרוייקטים‬ ‫של‬ ‫החידוש‬‫מה‬‫כולל‬ ,‫המוצעים‬ ‫לפתרונות‬ ‫הנוגע‬ ‫בכל‬ ‫המחשבתית‬ ‫פתיחות‬
( ‫ביקושים‬ ‫ניהול‬Demand Management‫ומשיתוף‬ ,‫הקיבולת‬ ‫והגבלת‬ ‫בתח"צ‬ ‫שיפורים‬ ,)
.‫בפרוייקט‬ ‫העניין‬ ‫בעלי‬ ‫של‬ ‫רבה‬ ‫וייצוגיות‬
‫עבור‬ ‫ההיגוי‬ ‫ועדות‬ ‫של‬ ‫ולהקמתן‬ ‫האמצעים‬ ‫רבי‬ ‫הפרוייקטים‬ ‫לניהול‬ ‫האחראית‬ ‫הייתה‬ ‫הממשלה‬
.‫מהם‬ ‫אחד‬ ‫כל‬‫הפרוייקטים‬ .‫ההיגוי‬ ‫ועדות‬ ‫ידי‬ ‫על‬ ‫ולוו‬ ‫יועצים‬ ‫בעזרת‬ ‫בוצעו‬ ‫עצמם‬ ‫הפרוייקטים‬
.‫המדינה‬ ‫למזכיר‬ ‫המלצותיהן‬ ‫את‬ ‫שהעבירו‬ ,‫האזוריות‬ ‫התכנון‬ ‫לרשויות‬ ‫דווחו‬
‫תוכנית‬Multi-Modal Studies‫תחבורה‬ ‫לתכנון‬ ‫האנגלית‬ ‫העשור‬ ‫מתוכנית‬ ‫אינטגרלי‬ ‫חלק‬ ‫מהווה‬
The Ten Year Plan).)‫יחד‬‫שבתוכה‬ ‫אסטרטגית‬ ‫מסגרת‬ ‫יצרו‬ ‫הפרוייקטים‬ ‫העשור‬ ‫תוכנית‬ ‫עם‬
,‫פרוייקט‬ ‫לכל‬ ‫ביחס‬ ‫מסקנותיו‬ ‫על‬ ‫הודיע‬ ‫המדינה‬ ‫שמזכיר‬ ‫לאחר‬ .‫תחבורתיות‬ ‫תוכניות‬ ‫לקדם‬ ‫ניתן‬
.‫האסטרטגיות‬ ‫בתוכניותיהן‬ ‫לשלבם‬ ‫מנת‬ ‫על‬ ‫והתפעול‬ ‫היישום‬ ,‫התכנון‬ ‫לרשויות‬ ‫ההמלצות‬ ‫הועברו‬
‫ספטמבר‬ ‫שבין‬ ‫בתקופה‬2002‫ליוני‬2003‫של‬ ‫הערכה‬ ‫תהליך‬ ‫התבצע‬ ,,‫באנגליה‬ ‫אמצעית‬ ‫הרב‬ ‫הגישה‬
‫במסגרת‬21:‫את‬ ‫לבדוק‬ ‫היו‬ ‫התהליך‬ ‫מטרות‬ .‫הנבחרים‬ ‫הפרוייקטים‬
•,‫קיימא‬ ‫ובת‬ ‫משולבת‬ ‫תחבורתית‬ ‫אסטרטגיה‬ ‫לפיתוח‬ ‫התכנון‬ ‫תהליך‬ ‫אפקטיביות‬
‫ב‬ ‫המוצגת‬ ‫למתודולוגיה‬ ‫בכפיפה‬ ‫המושגת‬-GOMMMS.
•‫הטכ‬ ‫הישימות‬ ‫של‬ ‫ההערכה‬ ‫היקף‬.‫הפרוייקטים‬ ‫במסגרת‬ ‫ההמלצות‬ ‫ועלות‬ ‫נית‬
•‫לתמיכה‬ ‫קונצנזוס‬ ‫בהשגת‬ ‫עזר‬ ‫הדבר‬ ‫האם‬ .‫התהליך‬ ‫של‬ ‫ופתיחות‬ ‫שקיפות‬
.‫הפרוייקט‬ ‫בהמלצות‬
•‫דרישות‬ ‫את‬ ‫התואמת‬ ‫אסטרטגיה‬ ‫להכנת‬ ‫הנדרשות‬ ‫הכספיות‬ ‫וההוצאות‬ ‫הזמן‬ ‫משך‬
‫ה‬–GOMMMS..‫עלויות‬ ‫ולהפחית‬ ‫התהליך‬ ‫את‬ ‫ליעל‬ ‫ניתן‬ ‫האם‬
•‫ה‬.‫העבודה‬ ‫בתהליך‬ ‫שיפור‬ ‫נחוץ‬ ‫בהם‬ ‫תחומים‬
‫רבי‬ ‫הפרוייקטים‬ ‫את‬ ‫והעריך‬ ‫בדק‬ ‫אשר‬ ‫הצוות‬ ‫של‬ ,‫העיקריות‬ ‫וההמלצות‬ ‫המסקנות‬ ‫להלן‬
:‫האמצעים‬
•,‫למדי‬ ‫טובים‬ ‫תוצריו‬ ‫ואת‬ ‫העבודה‬ ‫תהליך‬ ‫את‬ ‫המגדירים‬ ‫והמפרטים‬ ‫ההוראות‬
‫של‬ ‫יותר‬ ‫טובה‬ ‫בהגדרה‬ ‫צורך‬ ‫יש‬ ,‫זאת‬ ‫עם‬ .‫המקרים‬ ‫ברוב‬ ‫וברורים‬ ‫ונהירים‬
‫השי‬.‫המלצותיהם‬ ‫את‬ ‫ליישם‬ ‫כיצד‬ ‫להחליט‬ ‫ויש‬ ,‫הפרוייקטים‬ ‫בתוצרי‬ ‫מוש‬
•.‫והתקציב‬ ‫הזמן‬ ‫ממסגרות‬ ‫גלשו‬ ‫הפרוייקטים‬ ‫רוב‬ ‫כי‬ ‫נמצא‬ ,‫הניהול‬ ‫יעילות‬ ‫מבחינת‬
,‫התקדמות‬ ‫דוחות‬ :‫כגון‬ ‫במרכיבים‬ ‫שימוש‬ ‫ידי‬ ‫על‬ ‫והתקציב‬ ‫הזמן‬ ‫את‬ ‫לייעל‬ ‫ניתן‬
‫נמצ‬ .‫וכיוצ"ב‬ ‫ופרוייקטים‬ ‫רשויות‬ ‫בין‬ ‫שת"פ‬ ,‫משובים‬ ‫מערכת‬‫בפרוייקטים‬ ‫כי‬ ‫א‬
27
‫יותר‬ ‫טובים‬ ‫היו‬ ‫וביצועיהם‬ ‫מהלקחים‬ ‫חלק‬ ‫יושמו‬ ,‫יותר‬ ‫מאוחר‬ ‫בשלב‬ ‫שבוצעו‬
.‫והתקציב‬ ‫הזמן‬ ‫למסגרת‬ ‫ביחס‬
•‫השקפה‬ ‫נקודות‬ ‫בהטמעת‬ ‫בייחוד‬ ,‫בפרוייקטים‬ ‫מרכזי‬ ‫תפקיד‬ ‫ההיגוי‬ ‫לוועדות‬
‫לא‬ ‫מהפרוייקטים‬ ‫בחלק‬ ,‫זאת‬ ‫עם‬ .‫הפרוייקטים‬ ‫במסגרת‬ ‫מקומי‬ ‫וידע‬ ‫מגוונות‬
‫הו‬ ‫תפקיד‬ ‫הוגדר‬‫יעילות‬ ‫את‬ ‫לשפר‬ ‫מנת‬ ‫על‬ ,‫כן‬ ‫כמו‬ .‫מספיק‬ ‫בהירה‬ ‫בצורה‬ ‫ועדות‬
.‫בהן‬ ‫החברים‬ ‫מספר‬ ‫את‬ ‫ולצמצם‬ ‫להגביל‬ ‫מומלץ‬ ‫בוועדות‬ ‫הפעילות‬
•‫המלצות‬ ‫בפיתוח‬ ,‫השונים‬ ‫לפרוייקטים‬ ‫עניין‬ ‫בעלי‬ ‫ושל‬ ‫הציבור‬ ‫של‬ ‫התרומה‬
‫ובמסגרת‬ ‫ההיגוי‬ ‫וועדות‬ ‫במסגרת‬ ‫בעיקר‬ ‫משמעותית‬ ‫הייתה‬ ,‫ואסטרטגיות‬
.‫התייחסות‬ ‫קבוצות‬‫את‬ ‫לשתף‬ ‫הניסיון‬ ‫מהמחקרים‬ ‫בחלק‬ ‫כי‬ ‫נמצא‬ ,‫זאת‬ ‫עם‬ ‫יחד‬
.‫גבוהות‬ ‫בעלויות‬ ‫כרוך‬ ‫והיה‬ ‫כלכלי‬ ‫לא‬ ‫היה‬ ‫רחב‬ ‫בהיקף‬ ‫הציבור‬
•‫ה‬ ‫של‬ ‫הערכה‬ ‫מסגרת‬-GOMMMES‫ויישום‬ ,‫למטרתה‬ ‫כמתאימה‬ ‫נמצאה‬
.‫בהצלחה‬ ‫הוכתר‬ ‫הפרוייקטים‬ ‫במסגרת‬ ‫המתודולוגיה‬
•‫בסי‬ ‫מספקת‬ ‫אמצעית‬ ‫הרב‬ ‫הגישה‬ ‫האם‬ ‫לקבוע‬ ‫מכדי‬ ‫מדי‬ ‫מוקדם‬‫לקדם‬ ‫אפקטיבי‬ ‫ס‬
‫בפרוייקטים‬ ‫עניין‬ ‫בעלי‬ ‫של‬ ‫גבוהה‬ ‫מעורבות‬ ,‫זאת‬ ‫עם‬ ‫יחד‬ .‫פעולות‬ ‫לכדי‬ ‫המלצות‬
‫במהלך‬ ‫שנוצרו‬ ‫הפעולה‬ ‫משיתופי‬ ‫חלק‬ ,‫בנוסף‬ .‫בתהליך‬ ‫ולסייע‬ ‫להקל‬ ‫אמורה‬
‫של‬ ‫ההמלצות‬ ‫כי‬ ‫נמצא‬ ,‫כן‬ ‫כמו‬ .‫היישום‬ ‫לשלב‬ ‫במעבר‬ ‫לעזור‬ ‫אמורים‬ ‫הפרוייקט‬
‫טכנ‬ ‫מבחינה‬ ‫ישימות‬ ‫הינן‬ ‫הפרוייקטים‬ ‫רוב‬‫על‬ ‫מספק‬ ‫דגש‬ ‫הושם‬ ‫לא‬ ‫אולם‬ ,‫ית‬
.‫פיננסית‬ ‫נשיאה‬ ‫ויכולת‬ ‫עלויות‬ ‫בדיקת‬
•‫כי‬ ‫נמצא‬ ‫כלכלית‬ ‫יעילות‬ ‫מבחינת‬
•‫יחסית‬ ‫המתקבל‬ ‫בערך‬ ‫המתבטאת‬ ,‫הפרוייקטים‬ ‫של‬ ‫הכלכלית‬ ‫היעילות‬ ‫מבחינת‬
‫הכספית‬ ‫להשקעה‬(Value for money)‫הטוענים‬ ‫יש‬ .‫חלוקות‬ ‫הדעות‬ ,
‫ארוכת‬ ‫תשתית‬ ‫יוצרים‬ ‫אמצעים‬ ‫רבי‬ ‫שהפרוייקטים‬‫בעיות‬ ‫לפתרון‬ ‫טווח‬
‫הפיננסיות‬ ‫מהתועלות‬ ‫קטן‬ ‫חלק‬ ‫רק‬ ‫מהוות‬ ‫הפרוייקט‬ ‫עלויות‬ ‫ולכן‬ ,‫תחבורתיות‬
‫לאותן‬ ‫להגיע‬ ‫ניתן‬ ‫כי‬ ‫אחרים‬ ‫טוענים‬ ,‫לעומתם‬ .‫בעתיד‬ ‫המלצותיו‬ ‫מיישום‬ ‫שיצמחו‬
.‫יותר‬ ‫ומהירות‬ ‫זולות‬ ,‫אחרות‬ ‫בגישות‬ ‫שימוש‬ ‫ידי‬ ‫על‬ ‫והמלצות‬ ‫תוצאות‬
•‫ה‬ ‫הגישה‬ ‫כי‬ ‫מאמין‬ ‫ההערכה‬ ‫צוות‬ ,‫לסיכום‬‫ובעל‬ ‫חשוב‬ ‫נדבך‬ ‫מספקת‬ ‫אמצעית‬ ‫רב‬
‫בין‬ ‫האיזון‬ ‫את‬ ‫מחפשים‬ ‫גר"א‬ ‫של‬ ‫פרוייקטים‬ .‫ההחלטות‬ ‫קבלת‬ ‫לתהליך‬ ‫מוסף‬ ‫ערך‬
,‫אזורי‬ ‫תכנון‬ ‫של‬ ‫בקונטקסט‬ ‫ציבורית‬ ‫בתחבורה‬ ‫ושימוש‬ ‫ביקושים‬ ‫ניהול‬ ,‫השקעות‬
‫מקום‬ ‫בכל‬ ‫ידרשו‬ ‫אמצעים‬ ‫רבי‬ ‫פרוייקטים‬ .‫בעתיד‬ ‫גם‬ ‫אליהם‬ ‫ביקוש‬ ‫יהיה‬ ‫ולכן‬
‫אינטרקציה‬ ‫תהיה‬ ‫שבו‬‫בהם‬ ‫במקומות‬ ,‫קרקע‬ ‫לשימושי‬ ‫תחבורה‬ ‫בין‬ ‫משמעותית‬
‫ובמקומות‬ ,‫חדשות‬ ‫קיבולות‬ ‫של‬ ‫ואספקה‬ ‫ביקושים‬ ‫ניהול‬ ‫בין‬ ‫בחירות‬ ‫לבצע‬ ‫יש‬
,‫שכאלה‬ ‫במקרים‬ .‫וציבורית‬ ‫פרטית‬ ‫לתחבורה‬ ‫הביקוש‬ ‫בין‬ ‫ניכר‬ ‫שילוב‬ ‫קיים‬ ‫בהם‬
‫הכללית‬ ‫באסטרטגיה‬ ‫התבוננות‬ ‫ללא‬ ,‫בודד‬ ‫אלמנט‬ ‫בדיקת‬ ‫ידי‬ ‫על‬ ‫תוכניות‬ ‫הערכת‬
‫ובקו‬.‫ומספקת‬ ‫מתאימה‬ ‫איננה‬ ,‫הרחב‬ ‫נטקסט‬
28
3.8‫העולמיות‬ ‫והמגמות‬ ‫אמצעים‬ ‫רבת‬ ‫גישה‬
‫העיקריות‬ ‫המגמות‬ ‫עם‬ ‫אחד‬ ‫בקנה‬ ‫העולים‬ ‫הבריטית‬ ‫האמצעים‬ ‫רבת‬ ‫בגישה‬ ‫המרכזיים‬ ‫העקרונות‬
:‫כוללות‬ ‫הכלכלית‬ ‫ההערכה‬ ‫בתחום‬ ‫בעולם‬ ‫היום‬ ‫הקיימות‬
•‫יותר‬ ‫גבוהה‬ ‫חברתית‬ ‫מודעות‬–‫לציב‬ ‫התהליך‬ ‫ושקיפות‬ ‫פתיחות‬.‫ור‬
•‫השפעות‬ :‫כגון‬ ‫מגוונות‬ ‫השפעות‬ ‫הכוללת‬ ‫מורכבת‬ ‫בסביבה‬ ‫פועל‬ ‫ההערכה‬ ‫תהליך‬
.‫וסביבתיות‬ ‫כלכליות‬ ,‫חברתיות‬
•‫בשוק‬ ‫תלויות‬ ‫שאינן‬ ‫השפעות‬ ‫מדידת‬ ‫של‬ ‫מגמה‬–‫צמיחה‬ ,‫אזורי‬ ‫פיתוח‬ ,‫נוף‬ ,‫סביבה‬
.‫חברתי‬ ‫וצדק‬ ‫שוויוניות‬ ‫ושיקולי‬ ‫כלכלית‬
•‫כלכליות‬ ‫ותיאוריות‬ ‫גישות‬–‫לש‬ ‫הנכונות‬ ‫תאוריית‬( ‫לם‬Willingness to Pay)
( ‫הצרכן‬ ‫עודף‬ ‫ותיאוריית‬Consumer Surplus)
•‫האזורית‬ ,‫הארצית‬ ‫ברמה‬ ‫מעורבת‬ ‫לאחריות‬ ‫ממשלתית‬ ‫מאחריות‬ ‫מעבר‬
.‫והמקומית‬
•.‫והפרטי‬ ‫הציבורי‬ ‫הסקטור‬ ‫בין‬ ‫יותר‬ ‫נרחב‬ ‫פעולה‬ ‫שיתוף‬
•‫רשויות‬ ,‫ממשלתיות‬ ‫(רשויות‬ ‫וארגונים‬ ‫גופים‬ ‫של‬ ‫רחב‬ ‫מגוון‬ ‫של‬ ‫מעורבות‬
‫מוניציפליו‬,‫ירוקים‬ ‫ארגונים‬ ,‫עסקיים‬ ‫גופים‬ ,‫תחבורה‬ ‫מפעילי‬ ,‫תכנון‬ ‫רשויות‬ ,‫ת‬
)'‫וכו‬ ‫הציבור‬ ‫נציגי‬
•‫טכנולוגים‬ ‫בכלים‬ ‫שימוש‬–.‫ההערכה‬ ‫לתהליך‬ ‫תומכות‬ ‫תוכנות‬ ‫פיתוח‬
29
4‫פר"ת‬ ‫בנוהל‬ ‫ראשוני‬ ‫לשיפור‬ ‫הצעה‬ .
4.1‫כללי‬
‫לשי‬ ‫ובאפשרויות‬ ,‫לישראל‬ ‫הרלוונטים‬ ‫הנושאים‬ ‫בבחינת‬ ‫מתמקד‬ ‫העבודה‬ ‫של‬ ‫זה‬ ‫שלב‬‫הגישה‬ ‫לוב‬
‫הרב‬-.‫החדש‬ ‫פר"ת‬ ‫נוהל‬ ‫במסגרת‬ ‫אמצעית‬‫הראשון‬ ‫בשלב‬ ‫כי‬ ‫מורה‬ ‫והבריטי‬ ‫האמריקאי‬ ‫הניסיון‬
‫רבת‬ ‫הגישה‬ ‫את‬ ‫גורף‬ ‫באופן‬ ‫לאמץ‬ ‫וצורך‬ ‫אפשרות‬ ‫אין‬ ‫פר"ת‬ ‫נהל‬ ‫עדכון‬ ‫של‬-‫הן‬ ,‫בפועל‬ .‫האמצעים‬
‫נתקלו‬ ,‫באנגליה‬ ‫והן‬ ‫בארה"ב‬‫רבת‬ ‫הגישה‬ ‫ביישום‬ ‫ניכרים‬ ‫בקשיים‬-‫הספרות‬ ‫סקר‬ .‫האמצעים‬
‫הראה‬‫להסכמה‬ ‫הגיעו‬ ‫לא‬ ‫התחבורה‬ ‫מתכנני‬ ‫וכי‬ ‫בנושא‬ ‫דיו‬ ‫מיומן‬ ‫היה‬ ‫לא‬ ‫המקצועי‬ ‫הצוות‬ ‫כי‬
‫רבת‬ ‫תחבורה‬ ‫של‬ ‫לגישה‬ ‫המעבר‬ ‫במסגרת‬ ‫להתמודד‬ ‫יש‬ ‫אתם‬ ‫והבעיות‬ ‫הנושאים‬ ‫אודות‬-.‫אמצעים‬
‫התחבורתיים‬ ‫והמודלים‬ ‫התהליכים‬ ‫את‬ ‫ולשנות‬ ‫להתאים‬ ‫יש‬ ‫כיצד‬ ‫ברור‬ ‫היה‬ ‫לא‬ ‫וכי‬ ,‫בנוסף‬
‫בגיש‬ ‫שיתמכו‬ ‫כדי‬ ‫המסורתיים‬.‫התחבורה‬ ‫אמצעי‬ ‫כל‬ ‫את‬ ‫המשלבת‬ ‫תכנונית‬ ‫ה‬
‫מהנוהל‬ )‫מסכמות‬ ‫טבלאות‬ ‫(בעיקר‬ ‫מרכיבים‬ ‫לאמץ‬ ‫מומלץ‬ ‫פר"ת‬ ‫נוהל‬ ‫עדכון‬ ‫של‬ ‫הראשון‬ ‫בשלב‬
‫שניתן‬ ‫אותן‬ ‫מסכמות‬ ‫בטבלאות‬ ‫בעיקר‬ ‫מדובר‬ .‫לישראל‬ ‫הנדרשות‬ ‫וההתאמות‬ ‫ביצוע‬ ‫תוך‬ ,‫הבריטי‬
‫דווקא‬ ‫לאו‬ .‫פר"ת‬ ‫נוהל‬ ‫העובר‬ ‫תחבורתי‬ ‫פרוייקט‬ ‫כל‬ ‫עבור‬ ‫ליישם‬‫רבי‬ ‫פרוייקטים‬-.‫אמצעים‬
4.2‫ראשוניות‬ ‫המלצות‬
‫מומלץ‬ ,‫הראשון‬ ‫בשלב‬:‫הבא‬ ‫באופן‬ ‫פר"ת‬ ‫בנוהל‬ ‫ולשלבם‬ ‫הבריטי‬ ‫מהנוהל‬ ‫מרכיבים‬ ‫מספר‬ ‫לאמץ‬
4.2.1‫הממשלה‬ ‫של‬ ‫על‬ ‫מטרות‬ ‫קביעת‬
‫מטרות‬ ‫המרכזית‬ ‫הממשלה‬ ‫ידי‬ ‫על‬ ‫הוגדרו‬ ‫באנגליה‬ ‫וגם‬ ‫בארה"ב‬ ‫גם‬ ,‫הספרות‬ ‫מסקר‬ ‫שעולה‬ ‫כפי‬-
‫הוגדר‬ ‫בארה"ב‬ .‫על‬‫ו‬7‫מטרות‬-‫וניצול‬ ‫יעילות‬ ‫שילוב‬ ,‫סביבה‬ ,‫נגישות‬ ,‫בטיחות‬ ,‫כלכלית‬ ‫צמיחה‬
‫ובאנגליה‬ ,‫מיטבי‬5‫מטרות‬-‫מאפיינות‬ ‫אלה‬ ‫מטרות‬ .‫ושילוב‬ ‫נגישות‬ ,‫כלכלה‬ ,‫בטיחות‬ ,‫סביבה‬
‫בר‬ ‫פיתוח‬ ‫של‬ ‫מדיניות‬-‫מטרות‬ ‫של‬ ‫קביעתן‬ ‫על‬ ‫ממליצים‬ ‫אנו‬ ,‫זו‬ ‫ברוח‬ .‫קיימא‬-,‫הממשלה‬ ‫ידי‬ ‫על‬
‫הערכ‬ ‫תהליך‬ ‫יתבצע‬ ‫שלאורן‬‫וקיים‬ ‫מאחר‬ .‫השונים‬ ‫בפרוייקטים‬ ‫החלופות‬ ‫של‬ ‫ביצועיהן‬ ‫ויבדקו‬ ‫ה‬
‫וכנקודת‬ ‫כבסיס‬ ‫בהן‬ ‫להשתמש‬ ‫ממליצים‬ ‫אנו‬ ,‫והבריטיות‬ ‫האמריקאיות‬ ‫המטרות‬ ‫בין‬ ‫רב‬ ‫דמיון‬
‫מטרות‬ ‫של‬ ‫הגדרה‬ ‫בעת‬ ‫התייחסות‬-.‫בישראל‬ ‫הממשלה‬ ‫של‬ ‫העל‬
4.2.2‫המקומית‬ ‫ברמה‬ ‫מטרות‬ ‫קביעת‬
‫יוגד‬ ‫תחבורתי‬ ‫פרוייקט‬ ‫כל‬ ‫שעבור‬ ‫מומלץ‬‫הרשויות‬ ‫ידי‬ ‫על‬ ‫שיקבעו‬ ,‫מקומיות‬ ‫מטרות‬ ‫רו‬
‫יקבעו‬ ‫המקומיות‬ ‫המטרות‬ .‫הפרוייקט‬ ‫מתבצע‬ ‫הגיאוגרפי‬ ‫שבשטחן‬ ‫המוניציפליות/האזוריות‬
‫ייבחן‬ ‫פרוייקט‬ ‫כל‬ ,‫דבר‬ ‫של‬ ‫שבסופו‬ ‫כך‬ .‫מהמפרוייקטים‬ ‫אחד‬ ‫כל‬ ‫עבור‬ ,‫תלוי‬ ‫ובלתי‬ ‫פרטני‬ ‫באופן‬
‫המ‬ ‫של‬ ‫העל‬ ‫מטרות‬ :‫מטרות‬ ‫של‬ ‫סטים‬ ‫לשני‬ ‫ביחס‬ ‫ההערכה‬ ‫בתהליך‬.‫המקומיות‬ ‫והמטרות‬ ‫משלה‬
4.2.3)‫(טע"מ‬ ‫מסכמות‬ ‫הערכה‬ ‫בטבלאות‬ ‫שימוש‬
‫ההנחיות‬ ‫מסמך‬ ‫מתוך‬ ‫מסכמות‬ ‫טבלאות‬ ‫של‬ ‫סט‬ ‫לאמץ‬ ‫היא‬ ‫זו‬ ‫עבודה‬ ‫של‬ ‫העיקרית‬ ‫ההמלצה‬
‫ה‬ .‫הבריטי‬ ‫תחבורתי‬ ‫לניתוח‬-TAG‫הינו‬‫מסמך‬‫בתהליך‬ ‫השלבים‬ ‫כל‬ ‫את‬ ‫ביסודיות‬ ‫המתאר‬
‫תיאור‬ ‫במסגרת‬ .‫האמצעים‬ ‫רבת‬ ‫הגישה‬ ‫לפי‬ ‫העבודה‬‫ה‬ ‫כולל‬ ‫ההערכה‬ ‫תהליך‬-TAG‫יחידות‬
30
‫טבלה‬ ‫(ראה‬ ‫המסכמת‬ ‫הערכה‬ ‫בטבלת‬ ‫המופיעים‬ ‫המשנה‬ ‫מיעדי‬ ‫אחד‬ ‫לכל‬ ‫המתייחסות‬ ‫מפורטות‬1
‫ב‬ ‫המוצגות‬ ‫הטבלאות‬ ‫מגוון‬ ‫מתוך‬ .‫מדידתם‬ ‫ולדרכי‬ )‫להלן‬-TAG‫את‬ ‫בעיקר‬ ‫לאמץ‬ ‫מומלץ‬
‫בשל‬ .‫האמצעים‬ ‫רבת‬ ‫הגישה‬ ‫של‬ ‫והפיננסים‬ ‫הכלכליים‬ ‫לאספקטים‬ ‫המתייחסות‬ ‫הטבלאות‬,‫זה‬ ‫ב‬
‫ב‬ ‫מופיעות‬ ‫שהן‬ ‫כפי‬ ,‫הטבלאות‬ ‫של‬ ‫הכללי‬ ‫המבנה‬ ‫את‬ ‫מציגים‬ ‫אנו‬-TAG‫הטמעתן‬ ‫לקראת‬ .
‫ההתאמות‬ ‫יתבצעו‬ ,‫הפרוייקט‬ ‫של‬ ‫ההיגוי‬ ‫צוות‬ ‫עם‬ ‫ובהתייעצות‬ ‫בשיתוף‬ ,‫פר"ת‬ ‫נוהל‬ ‫בעידכון‬
.‫פר"ת‬ ‫לנוהל‬ ‫הסופיות‬
:‫הינן‬ ‫פר"ת‬ ‫בנהול‬ ‫לשלב‬ ‫ממליצים‬ ‫אנו‬ ‫אותן‬ ‫המסכמות‬ ‫הטבלאות‬
•‫ביקורת‬ ‫רשימת‬(Checklist)–‫לספק‬ ‫שיש‬ ‫המרכיבים‬ ‫כל‬ ‫את‬ ‫הכוללת‬ ‫רשימה‬
.‫התחבורה‬ ‫למשרד‬ ‫הגשה‬ ‫בכל‬‫את‬ ‫כוללים‬ ‫הטבלה‬ ‫מרכיבי‬,‫הפרוייקט‬ ‫תאור‬ :
‫ניתוחי‬ ,‫תחבורתיים‬ ‫מודלים‬ ,‫תועלת‬ ‫עלות‬ ‫ניתוח‬ ,‫סיכונים‬ ‫ניתוח‬ ,‫ההערכה‬ ‫תהליך‬
.‫והערכה‬ ‫לניטור‬ ‫ותכניות‬ ‫רגישות‬
•( ‫מסכמת‬ ‫הערכה‬ ‫טבלת‬AST)–‫טבלה‬ ‫ראה‬1‫סעיף‬ ,6.23..‫להלן‬‫הטבלה‬ ‫מרכיבי‬
‫את‬ ‫כוללים‬‫ומדד‬ ‫כמותית‬ ‫הערכה‬ ,‫איכותית‬ ‫הערכה‬ ,‫המשנה‬ ‫מטרות‬ ,‫המטרות‬ :
.‫להערכה‬
•( ‫פיננסית‬ ‫נשיאה‬ ‫יכולת‬AFS)–‫טבלה‬ ‫ראה‬2‫סעיף‬ ,3.6.2‫נשיאה‬ ‫יכולת‬ .‫להלן‬
‫רשויות‬ ‫עבור‬ ‫טבלה‬ ,‫הממשלה‬ ‫עבור‬ ‫טבלה‬ :‫טבלאות‬ ‫משלוש‬ ‫מורכבת‬ ‫פיננסית‬
‫ה‬ ‫הסקטור‬ ‫עבור‬ ‫וטבלה‬ ‫מקומיות‬.‫פרטי‬‫מרכיבי‬ ‫כוללת‬ ‫הטבלה‬,‫היזם‬ ‫(מימון‬ ‫עלות‬ :
,‫הפעלה‬ ‫בהוצאות‬ ‫(שינוי‬ ‫ותפעול‬ )‫נקייה‬ ‫ועלות‬ ‫עקיפים‬ ‫ממיסים‬ ‫הכנסות‬ ,‫העברות‬
,‫ועשירית‬ ‫חמישית‬ ,‫ראשונה‬ ‫שנה‬ ‫עבור‬ )‫סובסידיה‬ ,‫מהמשתמשים‬ ‫בתקבולים‬ ‫שינוי‬
.‫תוואי‬ ‫ו/או‬ ‫אמצעי‬ ‫לפי‬ ‫הכל‬ ‫וסך‬ ‫נקייה‬ ‫השפעה‬
•‫התחבו‬ ‫מערכת‬ ‫של‬ ‫כלכלית‬ ‫יעילות‬( ‫רה‬TEE)-‫את‬ ‫ולהציג‬ ‫לסכם‬ ‫הטבלה‬ ‫מטרת‬
‫קבוצות‬ ‫לפי‬ ‫הנקיות‬ ‫התועלות‬ ‫את‬ ‫מציגה‬ ‫הטבלה‬ .‫התחבורה‬ ‫למשתמשי‬ ‫התועלות‬
‫והשפעה‬ ‫אמצעי‬ ‫לפי‬ ,)‫שני‬ ‫מצד‬ ,‫מפעילים‬ ‫כולל‬ ,‫העסקי‬ ‫והצד‬ ‫אחד‬ ‫מצד‬ ‫(צרכנים‬
‫את‬ ‫מצרפת‬ ‫הטבלה‬ .‫מוניטרית‬ ‫מבוטאות‬ ‫ההשפעות‬ ‫רוב‬ .)'‫וכו‬ ‫הפעלה‬ ‫הוצאות‬ ,‫(זמן‬
‫עבור‬ ‫התוצאות‬‫טבלת‬ .‫המסכמת‬ ‫ההערכה‬ ‫טבלת‬ ‫של‬ ‫קלט‬ ‫ומהווה‬ ‫קבוצה‬ ‫כל‬TEE
‫ה‬ ‫עם‬ ‫ובצירוף‬ ,‫חלופה‬ ‫כל‬ ‫עבור‬ ‫ממלאים‬-AST‫השינוי‬ ‫את‬ ‫לבטא‬ ‫אמורות‬ ‫הן‬
‫הנכללים‬ ‫כלכליים‬ ‫מפתח‬ ‫מדדי‬ .‫האפס‬ ‫לחלופת‬ ‫ביחס‬ ‫חלופה‬ ‫כל‬ ‫איתה‬ ‫שמביאה‬
:‫הינם‬ ‫בטבלה‬‫המשתמשים‬ ‫של‬ ‫שונים‬ ‫בחיובים‬ ‫שינויים‬ ,‫נסיעה‬ ‫בזמני‬ ‫שינויים‬
‫תע‬ :‫כולל‬‫ולרכבים‬ ‫פרטי‬ ‫(לרכב‬ ‫הפעלה‬ ‫בהוצאות‬ ‫ושינויים‬ ,‫ואגרות‬ ‫מסים‬ ,‫ריפים‬
.)‫סחורות‬ ‫להעברת‬
‫הינם‬ ‫הטבלה‬ ‫מרכיבי‬‫עלויות‬ ,‫הפרטי‬ ‫לסקטור‬ ‫תועלות‬ ,‫למשתמשים‬ ‫תועלות‬ :
‫סיכום‬ ,‫נקי‬ ‫ערך‬ ‫הכל‬ ‫סך‬ ,‫אחרות‬ ‫עסקיות‬ ‫השפעות‬ ,‫הפרטי‬ ‫היזם‬ ‫של‬ ‫ותקבולים‬
‫עבו‬ ‫וסיכום‬ )‫רכבת‬ ,‫אוטובוס‬ ,‫(כביש‬ ‫אמצעי‬ ‫כל‬ ‫עבור‬.‫מטענים‬ ‫ועבור‬ ‫נוסעים‬ ‫ר‬
•( ‫הציבורי‬ ‫התקציב‬PA)–‫מ‬ ‫הציבורי‬ ‫התקציב‬‫או‬ ‫לממשלה‬ ‫הנקייה‬ ‫כעלות‬ ‫וגדר‬
‫ושינויים‬ ‫וסובסידיות‬ ‫מענקים‬ ,‫והפעלה‬ ‫השקעה‬ ‫עלויות‬ :‫כולל‬ ,‫המקומיות‬ ‫לרשויות‬
31
)‫החלופה‬ ‫שמכניסה‬ ‫התחבורתי‬ ‫בסקטור‬ ‫משינויים‬ ‫(כתוצאה‬ ‫ישיר‬ ‫לא‬ ‫במיסוי‬
‫הסק‬ ‫בהם‬ ‫(במקומות‬ ‫אחרות‬ ‫והכנסות‬‫התקציב‬ ‫עלויות‬ ‫להפחתת‬ ‫תורם‬ ‫הפרטי‬ ‫טור‬
‫טבלת‬ .)‫שלילי‬ ‫כערך‬ ‫יופיע‬ ‫הדבר‬ ‫הציבורי‬PA‫הנוכחי‬ ‫הערך‬ ‫חישוב‬ ‫לצורך‬ ‫משמשת‬
‫לטבלת‬ ‫מוזנים‬ ‫יש‬ ‫זו‬ ‫מטבלה‬ ‫הערכים‬ .‫הציבורי‬ ‫לחשבון‬ ‫העלויות‬ ‫של‬AST.
‫הינם‬ ‫הטבלה‬ ‫מרכיבי‬,‫היזם‬ ‫תרומת‬ ,‫השקעה‬ ‫עלויות‬ ,‫הפעלה‬ ‫עלויות‬ ,‫תקבולים‬ :
‫וסו‬ ‫העברה‬ ‫תשלומי‬‫וערך‬ ‫נקייה‬ ‫השפעה‬ ,‫עקיפים‬ ‫ממיסים‬ ‫תקבולים‬ ,‫בסידיות‬
.‫עלויות‬ ‫של‬ ‫נוכחי‬
‫טבלה‬3-( ‫ביקורת‬ ‫רשימת‬Checklist)
‫החלופה‬ ‫תיאור‬
‫נבחנו‬ ‫אשר‬ ‫החלופות‬ ‫כל‬ ‫של‬ ‫ברור‬ ‫תאור‬
‫רצינית‬ ‫בצורה‬ ‫נשקלו‬ ‫אכן‬ ‫חלופות‬ ‫של‬ ‫הדעת‬ ‫על‬ ‫מתקבל‬ ‫שמספר‬ ‫לכך‬ ‫הוכחה‬
‫נ‬ ‫מקובלות‬ ‫חלופות‬ ‫של‬ ‫אמינה‬ ‫קבוצה‬ ‫פיתוח‬‫מוכות‬-‫עלות‬
‫מסכמות‬ ‫טבלאות‬ ‫של‬ ‫מקיף‬ ‫סט‬ ‫כולל‬
‫רגישות‬ ‫ומבחני‬ ‫תרחישים‬ ‫בחינת‬ ‫כולל‬
‫תומכים‬ ‫ניתוחים‬ ‫כולל‬
‫עלויות‬ ‫אומדני‬ ‫של‬ ‫סווג‬
)‫ודאות‬ ‫חוסר‬ ‫מרכיבי‬ ‫של‬ ‫הכללה‬ ‫(או‬ ‫עלויות‬ ‫של‬ ‫צפוי‬ ‫ערך‬
‫צפויות‬ ‫עלויות‬ ‫פרופיל‬
‫הערכה‬ ‫דוחות‬
‫(והכללת‬ ‫הבאים‬ ‫הגופים‬ ‫עם‬ ‫התייעצות‬ ‫התקיימה‬)‫תגובותיהם‬
‫הטבע‬ ‫להגנת‬ ‫החברה‬
‫הסביבה‬ ‫לאיכות‬ ‫המשרד‬
‫העתיקות‬ ‫רשות‬
‫אחרים‬ "‫"ירוקים‬ ‫ארגונים‬
‫סביבתית‬ ‫השפעה‬ ‫הערכה‬
‫דרכים‬ ‫תאונות‬ ‫מדדי‬ ‫והצגת‬ ‫בטיחות‬ ‫הערכת‬
‫כלכלית‬ ‫השפעה‬ ‫הערכה‬
‫נגישות‬ ‫של‬ ‫השפעות‬ ‫הערכת‬
‫אמצעים‬ ‫בין‬ ‫שילוב‬ ‫של‬ ‫השפעות‬ ‫הערכת‬
)‫(טע"מ‬ ‫מסכמת‬ ‫הערכה‬ ‫טבלת‬
32
:‫תומכים‬ ‫ניתוחים‬
‫ושוויוניות‬ ‫ההשפעה‬ ‫פיזור‬
‫בת‬ ‫פיננסית‬ ‫יכולת‬-‫קיימא‬
)‫הציבור‬ ‫שיתוף‬ ‫של‬ ‫(הוכחה‬ ‫הציבור‬ ‫ושיתוף‬ ‫ישומיות‬
‫ל‬ ‫התכנית‬ ‫במטרות‬ ‫תמיכה‬-10‫שנים‬
‫גר"א‬ ‫של‬ ‫עבודה‬ ‫גיליונות‬
‫סיכון‬
‫עלות‬ ‫ניתוח‬-‫תועלת‬
‫שמ‬ ‫ההנחות‬ ‫של‬ ‫ברור‬ ‫הסבר‬‫הכלכלית‬ ‫הבדיקה‬ ‫אחורי‬
‫ה‬ ‫חלופת‬ ‫של‬ ‫מלא‬ ‫תאור‬-0)‫פרויקט‬ ‫(ללא‬
‫שנכללו‬ ‫מקומיים‬ ‫מקדמים‬ ‫של‬ ‫מלא‬ ‫תאור‬
‫ה‬ ‫חלופת‬ ‫עבור‬ ‫תנועה‬ ‫נפחי‬ ‫של‬ ‫תרשים‬-0‫הנבחרים‬ ‫המסדרונות‬ ‫עבור‬ ,‫הנבחרות‬ ‫והחלופות‬
‫התנועה‬ ‫אזורי‬ ‫ושל‬ ‫הרשת‬ ‫של‬ ‫תרשים‬
‫ה‬ ‫בחלופת‬ ‫שנבחנו‬ ‫הצמתים‬ ‫מספר‬ ‫אודות‬ ‫נתונים‬-0‫ל‬ ‫ובחלופות‬‫בחינה‬
‫וצמתים‬ ‫דרך‬ ‫קטעי‬ ‫בין‬ ‫נסיעה‬ ‫בזמן‬ ‫חסכון‬ ‫תועלות‬ ‫של‬ ‫החלוקה‬ ‫אודות‬ ‫נתונים‬
‫יום‬ ‫תקופות‬ ‫לפי‬ ‫נסיעה‬ ‫בזמן‬ ‫חסכון‬ ‫אודות‬ ‫נתונים‬
‫אחזקה‬ ‫מדחיית‬ ‫הנובעים‬ ‫עלויות/חסכונות‬ ‫אודות‬ ‫פרטים‬
‫ההקמה‬ ‫בתקופת‬ ‫איחורים‬ ‫אודות‬ ‫פרטים‬
‫גבוה‬ ‫עכבות‬ ‫או‬ ‫במיוחד‬ ‫נמוכות‬ ‫מהירויות‬ ‫כולל‬ ‫המודל‬ ‫באם‬‫בצמתים‬ ‫במיוחד‬ ‫ות‬–‫הוכחה‬
‫לקבילותם‬
‫ה‬ ‫חלופת‬ ‫עבור‬ ‫בייחוד‬ ,‫לקיבולת‬ ‫מעבר‬ ‫תנועה‬ ‫נפחי‬ ‫של‬ ‫במיוחד‬ ‫גבוהות‬ ‫לתחזיות‬ ‫הסבר‬-0‫וכיצד‬ ,
‫בהערכה‬ ‫בחשבון‬ ‫נלקחים‬ ‫הם‬
( ‫מחוללת‬ ‫תנועה‬ ‫של‬ ‫הערכה‬Induced Traffic)
‫גיליו‬‫ן‬‫תחבורתית‬ ‫יעילות‬ ‫הערכת‬ ‫טבלת‬ ‫של‬ ‫עבודה‬
‫סיכונים‬ ‫רשימת‬
‫מלאה‬ ‫סיכונים‬ ‫הערכת‬
33
‫תחבורתי‬ ‫מודל‬
‫תיקו‬ ‫דוח‬:‫כולל‬ ,‫המקומי‬ ‫למודל‬ ‫ף‬
‫תנועה‬ ‫וספירות‬ ‫קיים‬ ‫מצב‬ ‫נתוני‬
‫תנועה‬ ‫לאזורי‬ ‫וחלוקה‬ ‫במודל‬ ‫הרשת‬ ‫של‬ ‫תרשים‬
‫תנועות‬ ‫עבור‬ ‫נסיעה‬ ‫וזמני‬ ‫נסיעה‬ ‫מסלולי‬ ,‫קטעים‬ ‫אורך‬ :‫כולל‬ ,‫הרשת‬ ‫אודות‬ ‫המידע‬ ‫תיקוף‬
‫נבחרות‬
‫נסיעות‬ ‫מטריצת‬ ‫תיקוף‬
‫מ‬ ‫יותר‬ ‫בן‬ ‫והמודל‬ ‫במידה‬ ,‫הבדיקה‬ ‫לשנת‬ ‫המודל‬ ‫תיקוף‬-5‫שנים‬
‫אחרים‬ ‫רלוונטיים‬ ‫במסדרונות‬ ‫וגם‬ ‫הנבחן‬ ‫במסדרון‬ ‫גם‬ ,‫קיימים‬ ‫תנועה‬ ‫נפחי‬ ‫של‬ ‫תרשים‬
‫רגישות‬ ‫ומבחני‬ ‫תסריטים‬ ‫בדיקת‬
‫ופסימיים‬ ‫אופטימיים‬ ‫תסריטים‬
‫מתאימים‬ ‫רגישות‬ ‫מבחני‬
‫והערכה‬ ‫ניטור‬
‫ונשקלו‬ ‫הותוו‬ ‫והערכה‬ ‫לנטור‬ ‫תוכניות‬
34
‫צרכנים‬‫האמצעים‬ ‫כל‬‫אוטובוס‬‫אחר‬
‫המשתמשים‬ ‫תועלות‬‫סה"כ‬‫נוסעים‬
‫נסיעה‬ ‫זמן‬
‫רכב‬ ‫כלי‬ ‫של‬ ‫הפעלה‬ ‫הוצאות‬
‫שים‬‫המשתמ‬ ‫של‬ ‫שלומים‬‫ת‬
‫האחזקה‬ & ‫הבנייה‬ ‫שך‬‫במ‬
‫הצרכן‬ ‫של‬ )‫(נטו‬ ‫נקיות‬ ‫תועלות‬( 1 )
‫עסקי‬
‫המשתמשים‬ ‫תועלות‬
‫רכבי‬
‫סחורות‬
‫משא‬ ‫ורכבי‬‫עסקיים‬ ‫רכבים‬
‫קלים‬
‫נוסעים‬‫מטענים‬‫נוסעים‬
‫נסיעה‬ ‫זמן‬
‫רכב‬ ‫כלי‬ ‫של‬ ‫הפעלה‬ ‫הוצאות‬
‫שים‬‫המשתמ‬ ‫של‬ ‫שלומים‬‫ת‬
‫האחזקה‬ & ‫הבנייה‬ ‫שך‬‫במ‬
‫ביניים‬ ‫סיכום‬( 2 )
‫הפרטי‬ ‫בסקטור‬ ‫יזם‬ ‫השפעות‬
‫מטענים‬‫נוסעים‬
‫תקבולים‬
‫הפעלה‬ ‫הוצאות‬
‫שקעה‬‫ה‬ ‫עלויות‬
‫העברה/סובסידיה‬
‫ביניים‬ ‫סיכום‬( 3 )
‫אחרות‬‫עסקיות‬ ‫השפעות‬
‫היזם‬ ‫תרומת‬( 4 )
)‫(נטו‬ ‫נקיה‬‫עסקית‬ ‫השפעה‬
‫סה"כ‬
‫כלכלה‬ ‫תועלות‬ ‫של‬ ‫נוכחי‬ ‫ערך‬
‫יעילה‬ ‫תחבורתית‬
‫שלילי‬ ‫כמספר‬ ‫מופיעות‬ ‫עלויות‬,‫חיובי‬ ‫כמספר‬ ‫מופיעות‬ ‫תועלות‬:‫הערה‬
)‫יוחלט‬ ‫עליהם‬( ‫הבסיס‬ ‫נת‬‫ש‬ ‫מחירי‬ ‫לפי‬,‫נוכחי‬ ‫לערך‬ ‫נים‬‫מהוו‬ ‫שומים‬‫הרי‬ ‫כל‬
) 5 ( + ) 1 ( = ) 6 (
) 4 ( + ) 3 ( + ) 2 ( = ) 5 (
‫כביש‬‫רכבת‬
‫קלים‬ ‫משא‬ ‫ורכבי‬‫פרטיים‬ ‫רכבים‬‫נוסעים‬
‫טבלה‬4‫מער‬ ‫של‬ ‫כלכלית‬ ‫יעילות‬ .( ‫התחבורה‬ ‫כת‬TEE)
35
‫האמצעים‬ ‫כל‬‫אוטובוס‬‫רכבת‬‫אחר‬
‫המקומיות‬ ‫הרשויות‬ ‫מימון‬‫סה"כ‬
‫תקבולים‬
‫הפעלה‬ ‫עלויות‬
‫שקעה‬‫ה‬ ‫עלויות‬
‫ואחרים‬ ‫היזם‬ ‫תרומות‬
‫מענקים/סובסידיות‬ ‫שלומי‬‫ת‬
)‫(נטו‬ ‫נקיה‬ ‫השפעה‬( 7 )
‫ממשלתי‬ ‫מימון‬
‫תקבולים‬
‫הפעלה‬ ‫עלויות‬
‫שקעה‬‫ה‬ ‫עלויות‬
‫ואחרים‬ ‫המפתח‬ ‫תרומות‬
‫העברות/סובסידיות‬ ‫שלומי‬‫ת‬
‫עקיפים‬ ‫ממיסים‬ ‫הכנסות‬
)‫(נטו‬ ‫נקיה‬ ‫השפעה‬( 8 )
)‫(ענ"ע‬ ‫העלויות‬ ‫של‬ ‫הנוכחי‬ ‫הערך‬ ‫סה"כ‬
‫כביש‬
‫תשתית‬
‫שליליים‬ ‫כמספרים‬ ‫מופיעות‬'‫ואחרים‬ ‫המפתח‬ ‫תרומות‬'‫ו‬ ‫נסות‬‫והכ‬,‫חיובי‬ ‫כמספר‬ ‫מופיעות‬ ‫עלויות‬:‫הערה‬
)‫יוחלט‬ ‫עליהם‬( ‫הבסיס‬ ‫נת‬‫ש‬ ‫מחירי‬ ‫לפי‬,‫נוכחי‬ ‫לערך‬ ‫נים‬‫מהוו‬ ‫שומים‬‫הרי‬ ‫כל‬
) 7 ( + ) 8 ( = ) 9 (
‫טבלה‬5( ‫הציבורי‬ ‫התקציב‬ .PA)
36
4.3‫עבודה‬ ‫להמשך‬ ‫המלצות‬
‫רבת‬ ‫הגישה‬ ‫של‬ ‫נוספים‬ ‫מרכיבים‬ ‫לאמץ‬ ‫ויוחלט‬ ‫במידה‬-,‫נוספת‬ ‫עבודה‬ ‫במסגרת‬ ,‫מומלץ‬ ‫האמצעים‬
:‫הבאים‬ ‫בצעדים‬ ‫לנקוט‬
•.‫לישראל‬ ‫האמצעים‬ ‫רבת‬ ‫הגישה‬ ‫של‬ ‫הערכה‬ ‫וכלי‬ ‫המתודולוגיה‬ ‫התאמת‬
•‫ל‬ ‫סף‬ ‫קביעת‬‫רבת‬ ‫בגישה‬ ‫שיטופלו‬ ‫פרוייקטים‬-‫הבעיה‬ ‫היקף‬ ‫(לפי‬ ‫אמצעים‬
.)‫וכיוצ"ב‬ ‫הפרוייקט‬ ‫עלות‬ ,‫הגיאוגרפי‬ ‫האזור‬ ,‫התחבורתית‬
•‫לבחינה‬ ‫פרוזדורים‬ ‫הגדרת‬-‫אמצעים‬ ‫רבת‬ ‫גישה‬ ‫לפיתוח‬ ‫בהמשך‬ ‫שפותח‬ ‫נוסף‬ ‫נושא‬
‫הרב‬ ‫המסדרון‬ ‫פרוייקט‬ ‫הינו‬-‫אמצעי‬(Multiumodal Corridor Project‫העוסק‬ ,)
‫ב‬ ‫הגר"א‬ ‫ביישום‬.‫לתחבורה‬ ‫אב‬ ‫ובתכניות‬ ‫תחבורתיים‬ ‫מסדרונות‬
•‫והשתתפות‬ ‫התייעצות‬–‫לנושא‬ ,‫היתר‬ ‫בין‬ ,‫קשורה‬ ‫הגר"א‬ ‫של‬ ‫הרבה‬ ‫החדשנות‬
‫ה‬,‫בפרוייקט‬ ‫עניין‬ ‫בעלי‬ ‫של‬ ‫הרבה‬ ‫והייצוגיות‬ ‫שיתוף‬‫של‬ ‫רחבה‬ ‫הסכמה‬ ‫להבטיח‬ ‫כדי‬
‫נוספים‬ ‫במקומות‬ ‫תאוצה‬ ‫צוברת‬ ‫זו‬ ‫מגמה‬ .‫העניין‬ ‫בעלי‬ ‫בקרב‬ .‫התכנון‬ ‫תוצרי‬
‫בהקש‬ ,‫בעולם‬‫פורום‬ ‫של‬ ‫הקמתו‬ ‫את‬ ‫לשקול‬ ‫יש‬ ,‫זה‬ ‫בהקשר‬ .‫הערכה‬ ‫תהליכי‬ ‫של‬ ‫ר‬
‫פורום‬ ‫להקים‬ ‫מומלץ‬ ,‫בנוסף‬ .‫התכנון‬ ‫גופי‬ ‫כל‬ ‫של‬ ‫נציגיהם‬ ‫את‬ ‫שיכלול‬ ‫תכנון‬
.‫המשתתפים‬ ‫רשימת‬ ‫ואת‬ ‫הארגוני‬ ‫מבנהו‬ ‫את‬ ‫ולקבוע‬ ‫פעולה‬ ‫ושיתוף‬ ‫התייעצות‬
•‫תומכות‬ ‫תוכנות‬–‫תומכות‬ ‫תוכנות‬ ‫ופיתוח‬ ,‫טכנולוגים‬ ‫בכלים‬ ‫שימוש‬‫לתהליך‬
.‫בעולם‬ ‫הרווחת‬ ‫מגמה‬ ‫הינה‬ ,‫ההערכה‬‫ה‬ ‫יישום‬ ‫במסגרת‬-TAG
•‫משתמש‬ ‫באנגליה‬:‫הערכה‬ ‫תוכנות‬ ‫בשתי‬ ‫התחבורה‬ ‫משרד‬
-COBA–‫וניתוח‬ ‫קשיחה‬ ‫נסיעות‬ ‫מטריצת‬ ‫של‬ ‫במקרים‬ ‫לשימוש‬ ‫מתאים‬
.‫ראשיים‬ ‫כבישים‬ ‫תוכניות‬
-TUBA–‫מטריצות‬ ‫וניתוח‬ ‫גר"א‬ ‫של‬ ‫יותר‬ ‫מורכבים‬ ‫מודלים‬ ‫לניתוח‬ ‫מתאים‬
‫מש‬ ‫נסיעות‬.‫תנה‬
•:‫בתוכנות‬ ‫משתמשים‬ ‫בארה"ב‬
-SPASM
-STEAM 2.0
•)‫(פיילוט‬ ‫מקדים‬ ‫סקר‬–‫רבת‬ ‫הגישה‬ ‫של‬ ‫שילובה‬ ‫לאחר‬-‫יישומה‬ ‫וטרם‬ ‫האמצעים‬
‫לבצע‬ ‫מומלץ‬ ,‫הגורף‬‫עקרוניות‬ ‫סוגיות‬ ‫לבירור‬ ‫פרוייקטים‬ ‫מספר‬ ‫על‬ ‫פיילוט‬
.‫לישראל‬ ‫והתאמתה‬ ‫השיטה‬ ‫לישימות‬ ‫הקשורות‬
37
5‫סיכום‬ .
‫הגי‬ ‫את‬ ‫סקר‬ ‫זה‬ ‫עבודה‬ ‫נייר‬‫רבת‬ ‫שה‬-( ‫האמצעים‬Multimodal Approach‫בשנים‬ ‫פותחה‬ ‫אשר‬ ,)
,‫תחבורתיים‬ ‫פרויקטים‬ ‫של‬ ‫להערכה‬ ‫מובילה‬ ‫גישה‬ ‫מהווה‬ ‫הגר"א‬ .‫ובאנגליה‬ ‫בארה"ב‬ ‫האחרונות‬
‫של‬ ‫ההתמקדות‬ .‫תחבורתיות‬ ‫בבעיות‬ ‫לטיפול‬ ‫חדשנית‬ ‫וגישה‬ ‫תכנונית‬ ‫מתודולוגיה‬ ‫גם‬ ‫ומציעה‬
‫רבת‬ ‫הגישה‬-‫ובהערכ‬ ‫בתכנון‬ ‫הינה‬ )‫(גר"א‬ ‫האמצעים‬‫בהתייחסו‬ ‫תחבורתיים‬ ‫פרויקטים‬ ‫של‬ ‫ה‬‫ת‬
.‫הפרויקט‬ ‫באזור‬ ‫והפוטנציאליים‬ ‫הקיימים‬ ‫התחבורה‬ ‫אמצעי‬ ‫לכלל‬ ‫כוללת‬
‫רבת‬ ‫הגישה‬ ‫של‬ ‫ספרות‬ ‫סקר‬ ‫נערך‬ ‫העבודה‬ ‫של‬ ‫הראשון‬ ‫בחלקה‬-‫התפתחות‬ ‫ונסקרו‬ ,‫האמצעים‬
‫אפשרויות‬ ‫ונבחנו‬ ,‫לישראל‬ ‫הרלוונטים‬ ‫בנושאים‬ ‫התמקד‬ ,‫השני‬ ‫השלב‬ .‫ואנגליה‬ ‫בארה"ב‬ ‫הגר"א‬
‫לשי‬‫הרב‬ ‫הגישה‬ ‫לוב‬-.‫החדש‬ ‫פר"ת‬ ‫נוהל‬ ‫במסגרת‬ ‫אמצעית‬
‫באופן‬ ‫לאמץ‬ ‫אין‬ ‫פרת‬ ‫נוהל‬ ‫עדכון‬ ‫של‬ ‫ראשון‬ ‫בשלב‬ ‫כי‬ ‫נראה‬ ,‫והבריטי‬ ‫האמריקאי‬ ‫הניסיון‬ ‫סמך‬ ‫על‬
‫בנוהל‬ ‫מיידי‬ ‫באופן‬ ‫ליישם‬ ‫ניתן‬ ‫אותם‬ ‫הבריטי‬ ‫מהנוהל‬ ‫מרכיבים‬ ‫לאמץ‬ ‫מומלץ‬ .‫הגר"א‬ ‫את‬ ‫גורף‬
‫מדו‬ .‫לישראל‬ ‫הנדרשות‬ ‫ההתאמות‬ ‫ביצוע‬ ‫תוך‬ ,‫פר"ת‬‫פרוייקט‬ ‫כל‬ ‫במסגרת‬ ‫ליישם‬ ‫שניתן‬ ‫בכלים‬ ‫בר‬
‫רבי‬ ‫פרוייקטים‬ ‫רק‬ ‫דווקא‬ ‫(לאו‬ ‫פר"ת‬ ‫נוהל‬ ‫העובר‬ ‫תחבורתי‬-‫ממליצים‬ ‫אנו‬ ,‫זה‬ ‫בשלב‬ .‫אמצעים‬
‫מטרות‬ ‫קביעת‬ ,‫הממשלה‬ ‫של‬ ‫על‬ ‫מטרות‬ ‫קביעת‬ :‫הבאים‬ ‫האלמנטים‬ ‫את‬ ‫פר"ת‬ ‫בנוהל‬ ‫להטמיע‬
.)‫(טע"מ‬ ‫מסכמות‬ ‫הערכה‬ ‫בטבלאות‬ ‫ושימוש‬ ‫המקומית‬ ‫ברמה‬
‫לפרויי‬ ‫מעבר‬‫רבת‬ ‫הגישה‬ ‫של‬ ‫נוספים‬ ‫מרכיבים‬ ‫לאמץ‬ ‫ויוחלט‬ ‫שבמידה‬ ‫מומלץ‬ ,‫הנוכחי‬ ‫קט‬-
‫לפרוייקטים‬ ‫סף‬ ‫לקביעת‬ ,‫גר"א‬ ‫להערכת‬ ‫וכלים‬ ‫מתודולוגיה‬ ‫ופיתוח‬ ‫לאימוץ‬ ‫מקום‬ ‫יש‬ ‫האמצעים‬
‫רבי‬-,‫בנוסף‬ .‫ההערכה‬ ‫לתהליך‬ ‫תומכות‬ ‫תוכנות‬ ‫ולפיתוח‬ ‫לבחינה‬ ‫פרוזדורים‬ ‫להגדרת‬ ,‫אמצעים‬
,‫התהליך‬ ‫ושקיפות‬ ‫פתיחות‬ ‫לצורך‬‫לפני‬ ,‫אולם‬ .‫פעולה‬ ‫ושיתוף‬ ‫להתייעצות‬ ‫פורום‬ ‫להקים‬ ‫מומלץ‬
‫והתאמות‬ ‫עידונים‬ ‫ביצוע‬ ‫לצורך‬ ‫פרוייקטים‬ ‫מספר‬ ‫על‬ ‫פיילוט‬ ‫לבצע‬ ‫מומלץ‬ ‫הגישה‬ ‫של‬ ‫מלא‬ ‫יישום‬
.‫הצורך‬ ‫במידת‬
I:TransportationJob1065-MultimodalDoc‫אמצעים‬ ‫רבת‬ ‫גישה‬-.‫דוח‬doc

Multimodal project evaluation (in hebrew) 2005

  • 1.
    ‫ה‬‫ערכת‬‫פרוייקטים‬ ‫בגישה‬‫אמצעים‬ ‫רבת‬-‫גר‬"‫א‬ (Multi-Modal Studies) :‫ע"י‬‫הוכן‬‫סיינוק‬ ‫מרכוס‬‫אדיב‬ ‫רוני‬ , ‫אפריל‬2005 ‫התחבורה‬ ‫משרד‬ ‫בד‬‫כלכלית‬ ‫כדאיות‬ ‫יקות‬ ‫פר"ת‬ ‫נוהל‬ ‫עדכון‬ ‫פרוייקט‬
  • 2.
    i ‫אמצעים‬ ‫רבת‬ ‫בגישה‬‫פרוייקטים‬ ‫הערכת‬ ‫עניינים‬ ‫תוכן‬ 1‫כללי‬ ..................................................................................................................................1 2‫רבת‬ ‫תכנונית‬ ‫גישה‬ ‫התפתחות‬ .-( ‫אמצעים‬‫הברית‬ ‫בארצות‬ )‫גר"א‬.......................................................2 2.1‫כללי‬................................................................................................................................................2 2.2‫רבת‬ ‫יבשתית‬ ‫תחבורה‬ ‫של‬ ‫היעילות‬ ‫להגדלת‬ ‫החוק‬-,‫אמצעים‬ISTEA......................................................2 2.3,‫ואחת‬ ‫העשרים‬ ‫למאה‬ ‫התחבורתי‬ ‫השוויון‬ ‫חוק‬21-TEA.......................................................................4 2.4‫במסגרת‬ ‫תועלות‬ ‫הגדרת‬21-TEA.......................................................................................................5 2.5‫תכניו‬( ‫יעודיות‬ ‫ת‬Set Aside)..............................................................................................................6 2.6( ‫מטרה‬ ‫תכניות‬Targeted Communities)...........................................................................................6 2.7‫ומתודולוגיה‬ ‫תוכנות‬.........................................................................................................................7 2.7.1Sketch Planning Analysis Spreadsheet Model–SPASM.............................................7 2.7.2Surface Transportation Efficiency Analysis Model–STEAM.......................................7 3.‫רבת‬ ‫תכנונית‬ ‫גישה‬ ‫התפתחות‬-‫באנגליה‬ )‫(גר"א‬ ‫אמצעים‬..............................................................10 3.1‫כללי‬..............................................................................................................................................11 3.2‫האמצעים‬ ‫רבת‬ ‫הגישה‬ ‫הגדרת‬..........................................................................................................12 3.3‫פרוייקטים‬ ‫סוגי‬..............................................................................................................................13 3.4‫אמצעים‬ ‫רבת‬ ‫בגישה‬ ‫העבודה‬ ‫תהליך‬.................................................................................................13 3.5‫ויעדים‬ ‫מטרות‬................................................................................................................................15 3.5.1‫של‬ ‫האמריקאית‬ ‫הגישה‬ ‫לבין‬ ‫הבריטית‬ ‫הגישה‬ ‫בין‬ ‫מטרות‬ ‫השוואת‬21-TEA........................................16 3.6‫ההערכה‬ ‫תהליך‬..............................................................................................................................17 3.6.1‫כללי‬.............................................................................................................................................17 3.6.2‫של‬ ‫הערכה‬ ‫תהליך‬NATA...............................................................................................................17 3.7‫ל‬ ‫דוגמא‬( ‫אמצעים‬ ‫רבי‬ ‫פרוייקטים‬MMS-Multi-Modal Studies)‫בבריטניה‬.......................................25 3.8‫העולמיות‬ ‫והמגמות‬ ‫אמצעים‬ ‫רבת‬ ‫גישה‬............................................................................................28 4‫פר"ת‬ ‫בנוהל‬ ‫ראשוני‬ ‫לשיפור‬ ‫הצעה‬ ...........................................................................................29 4.1‫כללי‬..............................................................................................................................................29 4.2‫ראשוניות‬ ‫המלצות‬..........................................................................................................................29 4.2.1‫הממשלה‬ ‫של‬ ‫על‬ ‫מטרות‬ ‫קביעת‬.......................................................................................................29 4.2.2‫המקומית‬ ‫ברמה‬ ‫מטרות‬ ‫קביעת‬.......................................................................................................29 4.2.3)‫(טע"מ‬ ‫מסכמות‬ ‫הערכה‬ ‫בטבלאות‬ ‫שימוש‬........................................................................................29 4.3‫עבודה‬ ‫להמשך‬ ‫המלצות‬...................................................................................................................36 5‫סיכום‬ ..............................................................................................................................37
  • 3.
    1 ‫אמצעים‬ ‫רבת‬ ‫בגישה‬‫פרוייקטים‬ ‫הערכת‬ 1‫כללי‬ . ‫רבת‬ ‫גישה‬-( ‫אמצעים‬Multimodal Approach‫בארה"ב‬ ‫האחרונות‬ ‫בשנים‬ ‫פותחה‬ ‫אשר‬ ,) ‫לתכנ‬ ‫חדשנית‬ ‫גישה‬ ‫הינה‬ ,‫ובאנגליה‬‫המתייחס‬ ,‫תחבורתיים‬ ‫ופרויקטים‬ ‫תכניות‬ ‫של‬ ‫והערכה‬ ‫ון‬‫ת‬ .‫הפרויקט‬ ‫באזור‬ )‫לפעול‬ ‫פוטנציאל‬ ‫בעלי‬ ‫(או‬ ‫הפועלים‬ ‫התחבורה‬ ‫אמצעי‬ ‫לכלל‬ ‫רבת‬ ‫הגישה‬ ‫של‬ ‫ההתמקדות‬-‫תחבורתיים‬ ‫פרויקטים‬ ‫של‬ ‫ובבחינה‬ ‫בתכנון‬ ‫הינה‬ )‫(גר"א‬ ‫האמצעים‬ ‫בהתייחסו‬‫ת‬‫באז‬ ‫והפוטנציאליים‬ ‫הקיימים‬ ‫התחבורה‬ ‫אמצעי‬ ‫לכלל‬ ‫כוללת‬‫הגר"א‬ .‫הפרויקט‬ ‫ור‬ ‫המשלבים‬ ‫פרויקטים‬ ‫פיתוח‬ ‫ובוחן‬ )‫אחד‬ ‫דרך‬ ‫בקטע‬ ‫רק‬ ‫(ולא‬ ‫תחבורתיים‬ ‫במסדרונות‬ ‫מתמקד‬ .)‫הדרך‬ ‫בקטע‬ ‫הכלולים‬ ‫האמצעי/טכנולוגיה‬ ‫את‬ ‫רק‬ ‫(ולא‬ ‫המסדרון‬ ‫בתוך‬ ‫שונים‬ ‫תחבורה‬ ‫אמצעי‬ ‫מתודול‬ ‫גם‬ ‫ומציעה‬ ,‫תחבורתיים‬ ‫פרויקטים‬ ‫של‬ ‫להערכה‬ ‫מובילה‬ ‫גישה‬ ‫מהווה‬ ‫גר"א‬ ‫זו‬ ‫מבחינה‬‫וגיה‬ .‫תחבורתיות‬ ‫בבעיות‬ ‫לטיפול‬ ‫חדשנית‬ ‫וגישה‬ ‫תכנונית‬ :‫היו‬ ‫העבודה‬ ‫מטרות‬ •‫רבת‬ ‫הגישה‬ ‫של‬ ‫ספרות‬ ‫סקר‬ ‫לערוך‬-( ‫האמצעים‬Multimodal Approach)‫לפרויקטים‬ .‫ואנגליה‬ ‫ארה"ב‬ ‫על‬ ‫בהתמקדות‬ ,‫תחבורתיים‬ •.‫לישראל‬ ‫רלוונטיים‬ ‫נושאים‬ ‫על‬ ‫התמקדות‬ ‫תוך‬ ,‫הממצאים‬ ‫של‬ ‫סיכום‬ ‫להכין‬ •‫אפשרויות‬ ‫לבחון‬.‫החדש‬ ‫פר"ת‬ ‫נוהל‬ ‫במסגרת‬ ‫אמצעית‬ ‫הרב‬ ‫הגישה‬ ‫לשילוב‬ :‫הבאים‬ ‫הפרקים‬ ‫את‬ ‫כולל‬ ‫העבודה‬ ‫נייר‬ ‫פרק‬2–‫ה‬ ‫התפתחות‬ ‫של‬ ‫סקירה‬‫רבת‬ ‫התכנונית‬ ‫גישה‬-.‫הברית‬ ‫בארצות‬ )‫(גר"א‬ ‫האמצעים‬ ‫פרק‬3-‫רבת‬ ‫התכנונית‬ ‫הגישה‬ ‫התפתחות‬ ‫של‬ ‫סקירה‬-.‫באנגליה‬ )‫(גר"א‬ ‫האמצעים‬ ‫פרק‬4–‫לישראל‬ ‫ישימות‬–‫לשיפו‬ ‫הצעה‬.‫פר"ת‬ ‫בנוהל‬ ‫ראשוני‬ ‫ר‬‫לגבי‬ ‫והמלצות‬ ‫ניתוח‬ ‫יכלול‬ ‫זה‬ ‫פרק‬ .‫פר"ת‬ ‫נוהל‬ ‫במסגרת‬ ‫אמצעית‬ ‫הרב‬ ‫הגישה‬ ‫לשילוב‬ ‫האפשרויות‬
  • 4.
    2 2.‫רבת‬ ‫תכנונית‬ ‫גישה‬‫התפתחות‬-‫הברית‬ ‫בארצות‬ )‫(גר"א‬ ‫אמצעים‬ 2.1‫כללי‬ ‫רבת‬ ‫תכנונית‬ ‫גישה‬ ‫לפתוח‬ ‫הדחיפה‬-‫חוקים‬ ‫שני‬ ‫במסגרת‬ ‫נעשתה‬ ‫הברית‬ ‫בארצות‬ )‫(גר"א‬ ‫אמצעים‬ ‫פדרל‬:‫עיקריים‬ ‫יים‬ •Intermodal Surface Transportation Efficiency Act (ISTEA), 1991 ‫רבת‬ ‫יבשתית‬ ‫תחבורה‬ ‫של‬ ‫היעילות‬ ‫להגדלת‬ ‫החוק‬ ,‫בעברית‬-,‫אמצעים‬1991. ISTEA‫רבות‬ ‫חלופות‬ ‫להערכת‬ ‫בגישה‬ ‫התמקד‬-( ‫אמצעים‬Alternatives Multimodal( ‫הביקוש‬ ‫לניהול‬ ‫ואסטרטגיות‬ )Demand Management Strategies.) •Transportation Equity Act for the Twenty-First Century (TEA-21) ‫זה‬ ‫חוק‬ ,‫פורמלית‬ .‫ואחת‬ ‫העשרים‬ ‫למאה‬ ‫התחבורתי‬ ‫השוויון‬ ‫חוק‬ ,‫בעברית‬ ‫לתקופה‬ ‫יבשתית‬ ‫בתחבורה‬ ‫ההשקעה‬ ‫את‬ ‫מתקצב‬1998-2003‫הוא‬ ‫למעשה‬ . ‫פרויי‬ ‫לקידום‬ ‫והמתודולוגיות‬ ‫התכנוניות‬ ‫בגישות‬ ‫גם‬ ‫עוסק‬‫תחבורתיים‬ ‫קטים‬ ‫רבי‬-.‫אמצעים‬ ‫לבחינת‬ ‫המתודולוגיה‬ ‫על‬ ‫השפעתן‬ ,‫אלו‬ ‫מחקיקות‬ ‫אחת‬ ‫כל‬ ‫של‬ ‫המאפיינים‬ ‫את‬ ‫מסכם‬ ‫הפרק‬ ‫המשך‬ ‫רבי‬ ‫פרויקטים‬-‫עלות‬ ‫בחינות‬ ‫לביצוע‬ ‫בארה"ב‬ ‫הקיימים‬ ‫המודלים‬ ‫ואיפיון‬ ‫אמצעים‬-‫עבור‬ ‫תועלת‬ ‫רבי‬ ‫פרויקטים‬–.‫אמצעים‬ 2.2‫רבת‬ ‫יבשתית‬ ‫תחבורה‬ ‫של‬ ‫היעילות‬ ‫להגדלת‬ ‫החוק‬-‫א‬,‫מצעים‬ISTEA ‫רבת‬ ‫יבשתית‬ ‫תחבורה‬ ‫של‬ ‫היעילות‬ ‫להגדלת‬ ‫החוק‬-‫משנת‬ ‫אמצעים‬1991, Intermodal Surface Transportation Efficiency Act (ISTEA), 1991‫תחילתה‬ ‫את‬ ‫מסמל‬ , ‫המדיניות‬ ‫את‬ ‫מכוון‬ ‫זה‬ ‫חוק‬ .‫בארה"ב‬ ‫תחבורתי‬ ‫ולתכנון‬ ‫למדיניות‬ ‫בגישה‬ ‫חדשה‬ ‫תקופה‬ ‫של‬ ‫לאינט‬ ‫הלאומית‬ ‫התחבורתית‬‫רבת‬ ‫ולגישה‬ ‫התחבורה‬ ‫מערכות‬ ‫של‬ ‫מלאה‬ ‫גרציה‬-.‫אמצעים‬ ‫שנת‬ ‫של‬ ‫בחקיקה‬ ‫הנכללות‬ ‫התוכניות‬ ‫כוונת‬1991‫רבת‬ ‫לאומית‬ ‫תחבורה‬ ‫מערכת‬ ‫לקדם‬ ‫הינה‬- ,‫הדדית‬ ‫ומקושרת‬ ‫מחוברת‬ ,‫מאוחדת‬ ‫במערכת‬ ‫התחבורה‬ ‫אמצעי‬ ‫כל‬ ‫"את‬ ‫הכוללת‬ ‫אמצעים‬ ‫ה‬ ,‫המדיניות‬ ‫הצהרת‬ ‫פי‬ ‫על‬ ."‫עתידיות‬ ‫תחבורה‬ ‫מערכות‬ ‫גם‬ ‫הכוללת‬‫שיפור‬ ‫לקדם‬ ‫מיועדת‬ ‫חקיקה‬ ‫האמריקאית‬ ‫העסקית‬ ‫המערכת‬ ‫של‬ ‫התחרותיות‬ ‫והגדלת‬ ‫האוויר‬ ‫זיהום‬ ‫הפחתת‬ ,‫אנרגיה‬ ‫בצריכת‬ .‫העולמי‬ ‫בשוק‬ ‫המערכת‬ ‫תשתית‬ ‫בשימור‬ ‫התמקדות‬ :‫כוללים‬ ‫המדיניות‬ ‫בהצהרת‬ ‫הנכללים‬ ‫נוספים‬ ‫היבטים‬ ‫ת‬ ‫בתשתיות‬ ‫השקעות‬ ‫במימון‬ ‫הפרטי‬ ‫הסקטור‬ ‫על‬ ‫ההסתמכות‬ ‫הגדלת‬ ,‫התחבורתית‬,‫חבורתיות‬ ‫תחבורה‬ ‫לבין‬ )‫פרטי‬ ‫(רכב‬ ‫כבישים‬ ‫בין‬ ‫משאבים‬ ‫ובהקצאת‬ ‫תוכניות‬ ‫בפיתוח‬ ‫הגמישות‬ ‫הגדלת‬ ‫הגברת‬ ,)‫אדם‬ ‫לנסיעות‬ ‫(בנוסף‬ ‫וסחורות‬ ‫מטענים‬ ‫תנועת‬ ‫בתכנון‬ ‫ההתמקדות‬ ‫הגדלת‬ ,‫ציבורית‬
  • 5.
    3 ‫והגברת‬ ,‫המטרופולינית‬ ‫וברמה‬‫המדינות‬ ‫ברמת‬ ‫הרשויות‬ ‫בין‬ ‫תחבורה‬ ‫בתכנון‬ ‫ותיאום‬ ‫שיתוף‬ ‫של‬ ‫המודעות‬.‫הסביבה‬ ‫איכות‬ ‫על‬ ‫התחבורה‬ ‫השפעת‬ ‫להקים‬ ‫הומלץ‬ ‫הלאומית‬ ‫ברמה‬ ,‫היתר‬ ‫בין‬ .‫פתיחה‬ ‫צעדי‬ ‫מספר‬ ‫על‬ ‫המליצה‬ ‫החדשה‬ ‫החקיקה‬ ‫רבות‬ ‫במערכות‬ ‫העוסקת‬ ‫הפדרלי‬ ‫התחבורה‬ ‫במשרד‬ ‫יחידה‬-( ‫אמצעים‬Intermodalism‫ועל‬ ,) ‫רבת‬ ‫תחבורה‬ ‫בנושא‬ ‫ציבורית‬ ‫ועדה‬ ‫של‬ ‫הקמתה‬-‫המ‬ ‫את‬ ‫משקפים‬ ‫אלו‬ ‫צעדים‬ .‫אמצעים‬‫חויבות‬ ‫כלל‬ ‫תכנון‬ ‫של‬ ‫לכיוון‬ ‫הלאומית‬ ‫התחבורה‬ ‫מדיניות‬ ‫בנושא‬ ‫הקונגרס‬ ‫של‬ ‫הציבורית‬-‫מערכתי‬ (System-Wide Planning.) :‫עיקריים‬ ‫נושאים‬ ‫שמונה‬ ‫לבחון‬ ‫התבקשה‬ ‫הציבורית‬ ‫הועדה‬ 1.‫רבת‬ ‫תחבורתית‬ ‫טכנולוגיה‬ ‫עבור‬ ‫בינלאומית‬ ‫מתקינה‬ ‫הצפוי‬ ‫הפוטנציאלי‬ ‫הרווח‬-‫אמצעים‬ 2.‫ה‬ ‫השוק‬‫רבת‬ ‫לתחבורה‬ ‫והמתוכנן‬ ‫קיים‬-‫גודל‬ ‫על‬ ‫התנועה‬ ‫תחזיות‬ ‫של‬ ‫וההשפעה‬ ‫אמצעים‬ ‫התחבורתית‬ ‫בתשתית‬ ‫הנדרשות‬ ‫ההשקעות‬ 3.‫רבת‬ ‫תחבורה‬ ‫מערכת‬ ‫של‬ ‫ביעילותה‬ ‫לפגוע‬ ‫העלולים‬ ‫חוקיים‬ ‫מכשולים‬-‫והקשר‬ ‫אמצעים‬ ‫תחבורה‬ ‫מערכת‬ ‫של‬ ‫יעילותה‬ ‫לבין‬ ‫נפרדים‬ ‫תחבורה‬ ‫אמצעי‬ ‫עבור‬ ‫קיימות‬ ‫תוכניות‬ ‫בין‬ ‫רבת‬-‫אמצעים‬ 4.‫רבת‬ ‫בתחבורה‬ ‫לשיפורים‬ ‫פיננסיות‬ ‫מגבלות‬-‫אמצעים‬ 5.‫רבת‬ ‫תחבורה‬ ‫של‬ ‫יעילותה‬ ‫לשיפור‬ ‫חדשות‬ ‫טכנולוגיות‬ ‫של‬ ‫הפוטנציאל‬-‫אמצעים‬ 6.‫רבת‬ ‫בתחבורה‬ ‫מטענים‬ ‫שינוע‬ ‫של‬ ‫מנהליות‬ ‫בעיות‬-‫אמצעים‬ 7.‫רבת‬ ‫תחבורה‬ ‫בין‬ ‫קשר‬-‫ויעילות‬ ‫תחבורתיות‬ ‫עלויות‬ ,‫מיסוי‬ :‫כלכליים‬ ‫והיבטים‬ ‫אמצעים‬ ‫כלכלית‬ 8.‫נ‬ ‫מחקר‬ ‫נושאי‬‫רבת‬ ‫לתחבורה‬ ‫הנוגעים‬ ‫וספים‬-‫הוועדה‬ ‫לממצאי‬ ‫בהתאם‬ ,‫אמצעים‬ ‫בספטמבר‬ ‫פורסם‬ ‫הוועדה‬ ‫של‬ ‫הסופי‬ ‫הדוח‬1994‫שתים‬ ‫כולל‬ ‫הוא‬ .-‫המסווגות‬ ‫המלצות‬ ‫עשרה‬ :‫עיקריות‬ ‫קטגוריות‬ ‫בשלוש‬ 1.‫רבת‬ ‫תחבורה‬ ‫יצירת‬-‫הפדרלית‬ ‫התחבורתית‬ ‫המדיניות‬ ‫של‬ ‫כיעד‬ ‫יעילה‬ ‫אמצעים‬ 2.‫רבת‬ ‫בתחבורה‬ ‫ההשקעות‬ ‫הגברת‬-‫אמצעים‬ 3.‫רבת‬ ‫בתחבורה‬ ‫התמיכה‬ ‫לשיפור‬ ‫הממשלתיים‬ ‫המוסדות‬ ‫של‬ ‫מחדש‬ ‫ארגון‬-‫אמצעים‬ ,‫ניהוליות‬ ‫מערכות‬ ‫שש‬ ‫הקמת‬ ‫על‬ ‫ממליצה‬ ‫החקיקה‬ ,‫הרצוי‬ ‫בכיוון‬ ‫שינויים‬ ‫להבטיח‬ ‫מנת‬ ‫על‬ :‫עבור‬ 1.‫רגל‬ ‫להולכי‬ ‫ומתקנים‬ ‫דרכים‬ 2.‫גשרים‬ 3.‫בדרכים‬ ‫בטיחות‬ 4.‫גודש‬ 5.‫ציבורית‬ ‫תחבורה‬ 6.‫רבת‬ ‫תחבורה‬-‫אמצעים‬
  • 6.
    4 ‫רב‬ ‫תחבורה‬ ‫משרדי‬,‫בפועל‬‫נתקלו‬ ,‫המטרופולינית‬ ‫וברמה‬ ‫המדינות‬ ‫ברמת‬ ,‫תכנוניים‬ ‫וגופים‬ ‫ים‬ ‫רבת‬ ‫הגישה‬ ‫ביישום‬ ‫בקשיים‬-‫היה‬ ‫שלא‬ ‫מקצועי‬ ‫לצוות‬ ,‫היתר‬ ‫בין‬ ,‫זאת‬ ‫לזקוף‬ ‫ניתן‬ .‫האמצעים‬ ‫ב‬ ‫הנכללת‬ ‫הרחבה‬ ‫התכנונית‬ ‫לגישה‬ ‫התאימו‬ ‫שלא‬ ‫ולמודלים‬ ‫בנושא‬ ‫מספיק‬ ‫מיומן‬-ISTEA. ‫להסכמה‬ ‫הגיעו‬ ‫לא‬ ‫התחבורה‬ ‫מתכנני‬ ‫כי‬ ‫נראה‬‫להתמודד‬ ‫יש‬ ‫אתם‬ ‫והבעיות‬ ‫הנושאים‬ ‫אודות‬ ‫רבת‬ ‫תחבורה‬ ‫של‬ ‫לגישה‬ ‫המעבר‬ ‫במסגרת‬-‫להתאים‬ ‫יש‬ ‫כיצד‬ ‫ברור‬ ‫היה‬ ‫לא‬ ,‫בנוסף‬ .‫אמצעים‬ ‫תכנונית‬ ‫בגישה‬ ‫שיתמכו‬ ‫כדי‬ ‫המסורתיים‬ ‫התחבורתיים‬ ‫והמודלים‬ ‫התהליכים‬ ‫את‬ ‫ולשנות‬ .‫התחבורה‬ ‫אמצעי‬ ‫כל‬ ‫את‬ ‫המשלבת‬ ‫ולרשויות‬ ‫למדינות‬ ‫לסייע‬ ‫במטרה‬ ,‫השאר‬ ‫בין‬‫ה‬ ‫דרישות‬ ‫ביישום‬ ‫השונות‬-ISTEA‫ולמעבר‬ ‫רבת‬ ‫לגישה‬-‫כלל‬ ‫ותכנון‬ ‫אמצעים‬-‫בדצמבר‬ ‫נערך‬ ‫מערכתי‬1992‫כללו‬ ‫שמטרותיו‬ ‫ארצי‬ ‫כנס‬ ‫מנגנון‬ ‫ואפיון‬ ‫בארה"ב‬ ‫התחבורה‬ ‫מערכות‬ ‫של‬ ‫והמימון‬ ‫התכנון‬ ‫מערכות‬ ‫התפתחות‬ ‫של‬ ‫סקירה‬ ‫ה‬ ‫במסגרת‬ ‫שפותח‬ ‫החדש‬ ‫התכנון‬-ISTEA. ‫בכנ‬ ‫שנדונו‬ ‫המרכזיים‬ ‫הנושאים‬ ‫אחד‬‫התחבורה‬ ‫תכנון‬ ‫בו‬ ‫התחום‬ ‫על‬ ‫קונצנזוס‬ ‫פיתוח‬ ‫היה‬ ‫ס‬ ‫ב‬ ‫שנקבעו‬ ‫הדברים‬ ‫לרוח‬ ‫במלואו‬ ‫להתאים‬ ‫מנת‬ ‫על‬ ‫והרחבה‬ ‫שינוי‬ ‫לעבור‬ ‫צריך‬-ISTEA. ‫רבת‬ ‫לתחבורה‬ ‫המסורתית‬ ‫ההגדרה‬-( ‫אמצעים‬Intermodal Transportation)‫תחבורה‬ ‫הינה‬ ‫נסיעת‬ ‫של‬ ‫היצע‬ ‫ליצירת‬ ,‫יותר‬ ‫או‬ ‫אמצעים‬ ‫שני‬ ‫המערבת‬-‫אחת‬ ‫נוסע‬.‫אחד‬ ‫מטען‬ ‫למשלוח‬ ‫או‬ ‫ועל‬ ‫אמצעים‬ ‫בין‬ ‫מעבר‬ ‫נקודות‬ ‫על‬ ‫הינו‬ ‫הדגש‬ ‫זו‬ ‫ובגישה‬ ‫מאחר‬ ,‫כמוגבלת‬ ‫נתפשה‬ ‫זו‬ ‫הגדרה‬ ‫חקיקת‬ .‫אלו‬ ‫מנקודות‬ ‫ופיזור‬ ‫הגעה‬ISTEA‫אמצעיות‬ ‫הרב‬ ‫נושא‬ ‫את‬ ‫הכולל‬ ‫תכנון‬ ‫על‬ ‫מתמקדת‬ ‫וי‬ ‫בטיחות‬ ,‫אוויר‬ ‫זיהום‬ ,‫גודש‬ ,‫בינלאומית‬ ‫תחרותיות‬ ‫כגון‬ ‫נוספות‬ ‫מטרות‬ ‫גם‬ ‫כולל‬ ‫אך‬‫עילות‬ ‫רב‬ ‫תחבורה‬ ‫תכנון‬ ‫של‬ ‫הרעיון‬ ‫את‬ ‫אימץ‬ ‫הכנס‬ ,‫יוצא‬ ‫כפועל‬ .‫כלכלית‬-‫אמצעי‬ (Multimodal‫במקום‬Intermodal):‫הכולל‬ •‫פרטני‬ ‫לאמצעי‬ ‫המתייחסים‬ ‫במונחים‬ ‫שימוש‬ ‫ללא‬ ‫תחבורתיות‬ ‫בעיות‬ ‫של‬ ‫בחינה‬ (Non Mode-Specific Terms) •‫רבות‬ ‫חלופות‬ ‫של‬ ‫זיהוי‬-‫תחבורתיות‬ ‫בעיות‬ ‫לפתרון‬ ‫אמצעים‬ •‫הע‬‫לפתרון‬ ‫התחבורה‬ ‫אמצעי‬ ‫כל‬ ‫של‬ ‫לתרומה‬ ‫המתייחס‬ ‫באופן‬ ‫חלופות‬ ‫רכת‬ ‫התחבורתית‬ ‫הבעיה‬ 2.3,‫ואחת‬ ‫העשרים‬ ‫למאה‬ ‫התחבורתי‬ ‫השוויון‬ ‫חוק‬21-TEA ,‫ואחת‬ ‫העשרים‬ ‫למאה‬ ‫התחבורתי‬ ‫השוויון‬ ‫חוק‬ ,‫גרידא‬ ‫טכנית‬ ‫מבחינה‬Transportation Equity Act for the Twenty-First Century (TEA-21),‫הינו‬‫ההשקעה‬ ‫את‬ ‫המתקצב‬ ‫חוק‬ ‫בעיקרו‬ ‫לתקופה‬ ‫יבשתית‬ ‫בתחבורה‬1998-2003‫שיטות‬ ‫בעניין‬ ‫בתקנות‬ ‫פורמלי‬ ‫שנוי‬ ‫כלל‬ ‫לא‬ ‫החוק‬ . ‫עלות‬ ‫בחינת‬ ‫של‬ ‫החישוב‬-‫של‬ ‫ההגדרה‬ ‫את‬ ‫הרחיב‬ ‫זה‬ ‫חוק‬ ,‫מעשית‬ ‫מבחינה‬ ,‫אולם‬ .‫תועלת‬ ( ‫ההשפעות‬ ‫ושל‬ ‫התועלות‬(Impacts.‫בארה"ב‬ ‫תחבורתיים‬ ‫פרויקטים‬ ‫בהערכת‬ ‫נכללות‬ ‫אשר‬ ‫השקעה‬ ‫אודות‬ ‫ממשלתית‬ ‫החלטה‬ ‫על‬ ‫ידוע‬ ‫לא‬ ,‫בפרט‬ ‫ובארה"ב‬ ‫בכלל‬ ‫המערבי‬ ‫בעולם‬ ,‫כללית‬ ‫עלות‬ ‫המספרי‬ ‫היחס‬ ‫על‬ ‫ורק‬ ‫אך‬ ‫המבוססת‬ ‫תחבורתיים‬ ‫בפרויקטים‬-.‫מדידים‬ ‫מרכיבים‬ ‫של‬ ‫תועלת‬
  • 7.
    5 ( ‫חיצוניות‬ ‫להשפעות‬‫גם‬ ‫מתייחסת‬ ‫ההחלטה‬ ‫כלל‬ ‫בדרך‬Externalities,‫מדידות‬ ‫לא‬ ‫או‬ ‫מדידות‬ ,) ‫על‬ ‫להשפעות‬ ‫וגם‬( ‫שוויוניות‬Distributional Equity Impacts‫ה‬ ‫של‬ ‫החידוש‬ .)-21-TEA‫בכך‬ ‫הינו‬ ‫בעת‬ ‫בחשבון‬ ‫להילקח‬ ‫שצריכות‬ ‫והשוויוניות‬ ‫החיצוניות‬ ‫ההשפעות‬ ‫מגוון‬ ‫את‬ ‫הרחיב‬ ‫שהוא‬ .‫אלה‬ ‫פרויקטים‬ ‫של‬ ‫מימון‬ ‫אודות‬ ‫ההחלטה‬ :‫נושאים‬ ‫לשלשה‬ ‫מתייחסת‬ ‫ההרחבה‬ 1.‫תועלות‬ ‫של‬ ‫קריטריונים‬ ‫הגדרת‬-‫ה‬ ‫של‬ ‫הגדרה‬‫בצורה‬ ‫מוגדרות‬ ‫אשר‬ ‫שפעות‬ ‫נחשבות‬ ‫אשר‬ ‫והשוויוניות‬ ‫החיצוניות‬ ‫ההשפעות‬ ‫סוג‬ ‫של‬ ‫והגדרה‬ ,‫רצויות‬ ‫כתועלות‬ ‫ישירה‬ .‫פרויקט‬ ‫של‬ )‫דחייה‬ ‫(או‬ ‫לקבלה‬ ‫קריטיות‬ 2.( ‫ייעודיות‬ ‫תכניות‬ ‫קביעת‬Set Aside)-‫המשך‬ ‫או‬ ,‫ייעודיות‬ ‫תכניות‬ ‫של‬ ‫קביעה‬ ‫ה‬ ‫במסגרת‬ ‫שנכללו‬ ‫קודמות‬ ‫תכניות‬ ‫של‬-ISTEA‫הו‬ ‫אשר‬ ,‫גם‬ ,‫חברתי‬ ‫ערך‬ ‫כבעלות‬ ‫כרו‬ ‫עלות‬ ‫במבחני‬ ‫המקובל‬ ‫המינימום‬ ‫סף‬ ‫את‬ ‫עברו‬ ‫לא‬ ‫באם‬-.‫תועלת‬ 3.‫מטרה‬ ‫תכניות‬ ‫קביעת‬(Targeting)-‫אוכלוסיות‬ ‫או‬ ‫לאזורים‬ ‫משאבים‬ ‫העברת‬ .‫השוויוניות‬ ‫הגברת‬ ‫של‬ ‫מטרות‬ ‫על‬ ‫בהתבסס‬ ,‫נזקקות‬ 2.4‫במסגרת‬ ‫תועלות‬ ‫הגדרת‬21-TEA ‫של‬ ‫פדרלי‬ ‫למימון‬ ‫בקשות‬ , ‫בארה"ב‬‫תכנון‬ ‫מרשויות‬ ‫בדר"כ‬ ‫מתקבלות‬ ‫תחבורתיים‬ ‫פרויקטים‬ ‫של‬ ‫למימון‬ ‫ההנחיות‬ ‫פי‬ ‫על‬ .‫המדינות‬ ‫של‬ ‫תחבורה‬ ‫וממשרדי‬ ‫מטרופוליניות‬21-TEA‫אלו‬ ‫רשויות‬ ‫התייחסות‬ ‫בבקשה‬ ‫לכלול‬ ‫נדרשות‬‫קריטריונים‬ ‫לשבעה‬:)‫תכנוניים‬ ‫(מרכיבים‬ •‫כלכלית‬ ‫צמיחה‬-( ‫כלכלית‬ ‫וחיות‬ ‫בצמיחה‬ ‫תמיכה‬Economic Vitality)‫של‬ ( ‫המדינות‬ ,‫ארה"ב‬States‫בתחרותיות‬ ‫מיקומן‬ ‫הגדלת‬ ‫ע"י‬ ,‫המטרופוליניים‬ ‫והאזורים‬ ) .‫והיעילות‬ ‫היצרניות‬ ,‫הגלובלית‬ •‫בטיחות‬-( ‫בדרכים‬ ‫הבטיחות‬ ‫הגברת‬Safety( ‫והביטחון‬ )Security‫מערכות‬ ‫של‬ ) .‫מוטוריים‬ ‫ולא‬ ‫מוטוריים‬ ‫באמצעים‬ ‫משתמשים‬ ‫עבור‬ ‫התחבורה‬ •‫נגישות‬-‫לנג‬ ‫האפשרויות‬ ‫הגדלת‬‫שינוע‬ ‫ועבור‬ ‫אדם‬ ‫נסיעות‬ ‫עבור‬ ‫ולניידות‬ ‫ישות‬ .‫מטענים‬ •‫סביבה‬–‫איכות‬ ‫ושיפור‬ ‫באנרגיה‬ ‫החיסכון‬ ‫הגדלת‬ ,‫הסביבה‬ ‫של‬ ‫והעשרה‬ ‫שמירה‬ .‫החיים‬ •‫שילוב‬–( ‫השילוב‬ ‫הגדלת‬Integration( ‫והקישור‬ )Connectivity‫המערכות‬ ‫בין‬ ) .‫מטענים‬ ‫ושינוע‬ ‫אדם‬ ‫נסיעות‬ ‫עבור‬ ,‫אמצעים‬ ‫ובין‬ ‫התחבורתיות‬ •‫יעילות‬-( ‫היעילות‬ ‫הגברת‬Efficiency.‫והתפעולית‬ ‫הניהולית‬ ) •‫מיטבי‬ ‫ניצול‬-( ‫מיטבי‬ ‫ניצול‬Preservation.‫קיימות‬ ‫תחבורתיות‬ ‫מערכות‬ ‫של‬ )
  • 8.
    6 ‫שהופיעו‬ ‫קריטריונים‬ ‫של‬‫רב‬ ‫מספר‬ ‫של‬ ‫וריכוז‬ ‫צמצום‬ ‫הינם‬ ‫הללו‬ ‫הקריטריונים‬ ‫שבעת‬ ‫כי‬ ‫לציין‬ ‫יש‬ ‫של‬ ‫הקודמות‬ ‫בהנחיות‬ISTEA‫כללו‬ ‫הקודמות‬ ‫ההנחיות‬ .16‫לאזורים‬ ‫תכניות‬ ‫עבור‬ ‫קריטריונים‬ ‫ו‬ ‫מטרופוליניים‬-23( ‫מדינתי‬ ‫לתכנון‬ ‫תכניות‬ ‫עבור‬ ‫קריטריונים‬Statewide Planning.) ‫של‬ ,‫מדידות‬ ,‫מסורתיות‬ ‫בבדיקות‬ ‫כלולים‬ "‫"בטיחות‬ ‫ושל‬ "‫"יעילות‬ ‫של‬ ‫הקריטריונים‬ ,‫כללית‬ ‫עלות‬-‫כמ‬ ‫להיכלל‬ ‫יכולים‬ ‫האחרים‬ ‫הקריטריונים‬ ‫שאר‬ ‫כל‬ ‫גם‬ ,‫תאורטית‬ .‫תועלת‬‫מדידים‬ ‫רכיבים‬ ‫עלות‬ ‫בבדיקות‬-( ‫כלכליים‬ ‫חיים‬ ‫של‬ ‫כוללת‬ ‫מעלות‬ ‫כחלק‬ ‫שימור‬ ,‫לדוגמא‬ .‫תועלת‬Life Cycle Costing‫לא‬ ‫מעשית‬ ,‫אולם‬ .‫העסקי‬ ‫לסקטור‬ ‫תחבורתיות‬ ‫בהוצאות‬ ‫כחיסכון‬ ‫כלכלית‬ ‫יעילות‬ ‫או‬ ,) ‫עלות‬ ‫של‬ ‫המדידה‬ ‫בבחינה‬ ‫נכללים‬ ‫כולם‬-‫של‬ ‫החידוש‬ .‫תועלת‬21-TEA‫מציג‬ ‫שהוא‬ ‫בכך‬ ‫הינו‬ ‫כמוליכים‬ ‫מופיעים‬ ‫הם‬ ‫אין‬ ‫אם‬ ‫גם‬ ,)‫פדרלי‬ ‫מימון‬ ‫(אודות‬ ‫להחלטה‬ ‫חשובים‬ ‫כקריטריונים‬ ‫אותם‬ ‫עלות‬ ‫של‬ ‫המסורתית‬ ‫בבחינה‬-.‫תועלת‬ ‫הנחיות‬21-TEA‫מקומית‬ "‫חיים‬ ‫"איכות‬ ‫של‬ ‫בנושאים‬ ‫יותר‬ ‫מתמקדות‬ ‫שהן‬ ‫בכך‬ ‫גם‬ ‫מחדשות‬ ‫רבות‬ ‫סמכויות‬ ‫העברת‬ ‫ע"י‬ ,)‫כלכלי‬ ‫פיתוח‬ ‫ושל‬ ‫סביבתית‬ ,‫(חברתית‬‫התכנון‬ ‫לרשויות‬ ‫יותר‬ ‫למשתמשים‬ ,‫המדינות‬ ‫ושל‬ ‫המטרופוליניות‬ ‫התכנון‬ ‫לרשויות‬ :‫המעורבים‬ ‫המקומיים‬ ‫ולגורמים‬ ‫התכנון‬ ‫את‬ ‫משלבות‬ ‫הן‬ ,‫כן‬ ‫כמו‬ .‫ציבורית‬ ‫בתחבורה‬ ‫ולמשתמשים‬ ‫מטענים‬ ‫בשינוע‬ ‫המקומיים‬ .‫אחד‬ ‫לדוח‬ ‫הסביבתית‬ ‫הבחינה‬ ‫ואת‬ ‫התחבורתי‬ 2.5( ‫יעודיות‬ ‫תכניות‬Set Aside) ‫ה‬-21-TEA( ‫היעודיות‬ ‫התכניות‬ ‫עבור‬ ‫מיוחד‬ ‫תקצוב‬ ‫כולל‬Set Aside:‫הבאות‬ ) •‫בטיחות‬-‫בדרכים‬ ‫בטיחות‬ ‫להגברת‬ ‫סלילה‬ ‫תכניות‬ •‫נופיות‬ ‫דרכים‬ •‫לאומיים‬ ‫גנים‬-‫לאומיים‬ ‫גנים‬ ‫בשטחי‬ ‫תח"צ‬ ‫לשיפור‬ ‫כבישים‬ ‫בתקציבי‬ ‫שימוש‬ •‫אופניים‬ ‫ורוכבי‬ ‫רגל‬ ‫להולכי‬ ‫דרכים‬ •‫בינ"ל‬ ‫גבול‬ ‫ומתקני‬ ‫כניסה‬ ‫דרכי‬ ‫פיתוח‬–‫ל‬‫בינ"ל‬ ‫כלכליים‬ ‫קשרים‬ ‫הגברת‬ ‫שם‬ ‫כ‬ ‫(ידוע‬-NAFTA Trade Corridor) •‫חדשניות‬ ‫טכנולוגיות‬ ‫פיתוח‬ 2.6( ‫מטרה‬ ‫תכניות‬Targeted Communities) :‫כולל‬ ‫נזקקות‬ ‫ואוכלוסיות‬ ‫אזורים‬ ‫של‬ ‫מצבם‬ ‫לשיפור‬ ‫מיועדות‬ ‫המטרה‬ ‫תכניות‬ •‫אפלצ'יה‬ ‫באזור‬ ‫דרכים‬ •‫אנדיאניות‬ ‫בשמורות‬ ‫דרכים‬ •‫מה‬ ‫מעבר‬ ‫עבור‬ ‫תקציבים‬( ‫לעבודה‬ ‫תקציביות‬ ‫עברות‬Welfare to Work)
  • 9.
    7 •‫כפריים‬ ‫באזורים‬ ‫אוטובוס‬‫שירותי‬ •‫כפריים‬ ‫באזורים‬ ‫איסוף/פיזור‬ ‫דרכי‬ ‫פיתוח‬ •)‫אבטלה‬ ‫מוכי‬ ‫(באזורים‬ ‫כלכלי‬ ‫לפיתוח‬ ‫למנוף‬ ‫המיועדות‬ ‫דרכים‬ •‫מיעוטים‬ ‫של‬ ‫לעסקים‬ ‫סיוע‬ •( ‫מיוחדים‬ ‫פרויקטים‬Earmarks) 2.7‫ומתודולוגיה‬ ‫תוכנות‬ ‫הפדרלית‬ ‫הממשלה‬‫להלן‬ .‫תחבורתיים‬ ‫פרויקטים‬ ‫של‬ ‫להערכה‬ ‫ותכנות‬ ‫מודלים‬ ‫מספר‬ ‫פיתחה‬ ‫ומאפייניה‬ ‫העיקריים‬ ‫המודלים‬ ‫סיכום‬‫ם‬: 2.7.1Sketch Planning Analysis Spreadsheet Model–SPASM ‫בשנת‬1995( ‫לדרכים‬ ‫הפדרלית‬ ‫הרשות‬ ‫ע"י‬ ‫פותח‬Federal Highway Administration, FHWA) ‫ש‬ ‫מערכת‬ ‫על‬ ‫המבוסס‬ ‫מודל‬‫גיליונו‬ ‫ל‬‫ת‬( ‫עבודה‬Spreadsheets‫בשם‬ ‫ראשונית‬ ‫תכנונית‬ ‫להערכה‬ ) SPASM-Sketch Planning Analysis Spreadsheet Model‫למתכננים‬ ‫לסייע‬ ‫נועד‬ ‫המודל‬ . ‫בפיתוח‬‫מערכות‬‫מידע‬‫של‬‫יעילות‬‫כלכלית‬‫ונתונים‬‫אחרים‬‫הנועדים‬‫להשוואה‬ ‫בין‬‫בי‬ ‫החותכות‬ ‫מערכות‬( ‫שונים‬ ‫אמצעים‬ ‫ן‬Cross-Modal‫תנועה‬ ‫לניהול‬ ‫ואסטרטגיות‬ ) (Demand Management Strategies.) ,‫פרטנית‬ ‫יותר‬ ‫בדיקה‬ ‫נדרשה‬ ‫כאשר‬ ‫אולם‬SPASM,‫הנדרשים‬ ‫הנתונים‬ ‫את‬ ‫לספק‬ ‫מסוגל‬ ‫היה‬ ‫לא‬ ( ‫ראשוני‬ ‫תכנון‬ ‫לצורך‬ ‫פשטניות‬ ‫הנחות‬ ‫על‬ ‫התבססותו‬ ‫עקב‬Sketch Planning,‫לדוגמא‬ .) SPASM‫המסדרון‬ ‫של‬ ‫קצוות‬ ‫שני‬ ‫בין‬ ‫הממוצע‬ ‫הנסיעה‬ ‫אורך‬ ‫הינו‬ ‫הנסיעות‬ ‫כל‬ ‫שאורך‬ ‫הניח‬ ‫ב‬ ‫בשימוש‬ ‫קושי‬ ‫היה‬ ,‫כן‬ ‫כמו‬ .‫הנבחן‬-SPASM( ‫רחבה‬ ‫מערכת‬ ‫בדיקת‬ ‫לצורכי‬System-wide Analysis.) 2.7.2Surface Transportation Efficiency Analysis Model–STEAM ‫בעק‬‫בדיקת‬ ‫ולאפשר‬ ‫פרוזדורים‬ ‫ניתוח‬ ‫לצורכי‬ ‫פרטניים‬ ‫נתונים‬ ‫לספק‬ ‫מנת‬ ‫על‬ ,‫לעיל‬ ‫החקיקה‬ ‫בות‬ ‫לדרכים‬ ‫הפדרלית‬ ‫הרשות‬ ,‫רחבה‬ ‫מערכת‬FHWA))‫של‬ ‫משודרג‬ ‫מודל‬ ‫לפתח‬ ‫החליטה‬ ‫ה‬-SPASM‫קרוי‬ ‫החדש‬ ‫המודל‬ .Surface Transportation Efficiency Analysis Model STEAM. ‫של‬ ‫הראשון‬ ‫המודל‬STEAM‫פ‬‫בשנת‬ ‫ותח‬1997‫ה‬ ‫ע"י‬-FHWA‫מערכת‬ ‫של‬ ‫פרטנית‬ ‫בחינה‬ ‫לצורכי‬ .‫תחבורתיות‬ ‫חלופות‬ ‫עבור‬ ‫רחבה‬STEAM‫ה‬ ‫של‬ ‫הראשון‬ ‫הבחינה‬ ‫מודל‬ ‫הינו‬-FHWA‫אשר‬ ‫שלבי‬ ‫הארבע‬ ‫המודל‬ ‫של‬ ‫בפלטים‬ ‫ישירות‬ ‫השתמש‬‫והצבה‬ ‫פיצול‬ ,‫פילוג‬ ,‫ומשיכה‬ ‫(יצירה‬.)
  • 10.
    8 ‫ה‬ ,‫המודל‬ ‫של‬‫שיפור‬-2.0STEAM‫ה‬ ‫עבור‬ ‫הוכן‬-FHWA‫סיסטמטיקס‬ '‫קמברידג‬ ‫חברת‬ ‫ע"י‬ ‫ה‬ ‫שנות‬ ‫בתחילת‬-2000:‫ראה‬ FHWA/Cambridge Systematics Inc., “Surface Transportation Efficiency Analysis Model (STEAM 2.0),” December, 2000. ‫ב‬ ‫הכלולים‬ ‫העיקריים‬ ‫השיפורים‬-2.0STEAM:‫הינם‬ •‫המו‬ ‫של‬ ‫מפלטים‬ ‫נתונים‬ ‫ישירות‬ ‫לקבל‬ ‫מאפשר‬ ‫המודל‬‫הארבע‬ ‫המקובלים‬ ‫דלים‬- ‫של‬ ‫תחבורה‬ ‫ביקושי‬ ‫לניהול‬ ‫התכנה‬ ‫כגון‬ ‫אחרים‬ ‫ממקורות‬ ‫או‬ ,‫תחבורה‬ ‫לתכנון‬ ‫שלביים‬ ,‫לדרכים‬ ‫הפדרלית‬ ‫הרשות‬Travel Demand Management (TDM). •‫הארבע‬ ‫מהמודלים‬ ‫התנועה‬ ‫הצבות‬ ‫של‬ ‫תוצאות‬ ‫מחדש‬ ‫מעבד‬ ‫המודל‬-‫על‬ ‫שלביים‬ ‫גוד‬ ‫בתנאי‬ ‫מהירויות‬ ‫של‬ ‫מעודכנת‬ ‫הערכה‬ ‫לקבל‬ ‫מנת‬.‫ש‬ •( ‫סיכונים‬ ‫בדיקת‬ ‫מבצע‬ ‫המודל‬Risk Analysis‫אי‬ ‫את‬ ‫להקטין‬ ‫מנת‬ ‫על‬ )- ‫הנובעים‬ ‫כספיים‬ ‫ערכים‬ ‫בנושאי‬ ‫מיותרים‬ ‫ויכוחים‬ ‫למזער‬ ‫ובכך‬ ‫התוצאות‬ ‫של‬ ‫הוודאות‬ .‫הכלכלית‬ ‫מהבחינה‬ •( ‫רחבה‬ ‫מערכת‬ ‫עבור‬ ‫הערכה‬ ‫נתוני‬ ‫מייצר‬ ‫המודל‬System-wide Analysis.) STEAM‫הת‬ ‫המודלים‬ ‫של‬ ‫הפלט‬ ‫בנתוני‬ ‫משתמש‬‫הארבע‬ ‫חבורתיים‬-‫נתוני‬ ‫לייצר‬ ‫מנת‬ ‫על‬ ‫שלביים‬ ‫בעלי‬ ‫רציונליים‬ ‫תחבורתיים‬ ‫מפרויקטים‬ ‫הנגזרים‬ ,‫בדרכים‬ ‫בטיחות‬ ‫ושל‬ ‫ניידות‬ ‫של‬ ‫נקי‬ ‫ערך‬ ‫של‬ ‫העדכנית‬ ‫הגרסא‬ .‫חשיבות‬STEAM,2.0STEAM‫ניידות‬ ‫של‬ ‫תועלות‬ ‫אודות‬ ‫נתונים‬ ‫,מספקת‬ ( ‫לאזורים‬ ‫בהתאם‬ ,‫בדרכים‬ ‫בטיחות‬ ‫ושל‬(Districts‫נגיש‬ ‫ומדדי‬.‫המשתמש‬ ‫ע"י‬ ‫המוגדרים‬ ‫ות‬ ‫על‬ ‫תחבורתיות‬ ‫השקעות‬ ‫של‬ ‫ההשפעה‬ ‫את‬ ‫להשוות‬ ‫למשתמש‬ ‫מאפשר‬ ‫לאזורים‬ ‫בהתאם‬ ‫הדיווח‬ ‫כוללים‬ ‫הנגישות‬ ‫מדדי‬ .‫מוניצפאליות‬ ‫יחידות‬ ‫או‬ ‫מגורים‬ ‫שכונות‬ ‫כגון‬ ‫שונות‬ ‫הקבצה‬ ‫יחידות‬ ‫שונים‬ ‫בתרחישים‬ ‫נסיעה‬ ‫זמני‬ ‫של‬ ‫כניסה‬ ‫לספי‬ ‫בהתאם‬ ‫תעסוקה‬ ‫אפשרויות‬ ‫של‬ ‫אומדנים‬ ‫(המ‬‫מייצר‬ ‫נגישות‬ ‫מדדי‬ ‫ושל‬ ‫האזור‬ ‫ברמת‬ ‫נתונים‬ ‫הצגת‬ ‫של‬ ‫השילוב‬ .)‫המשתמש‬ ‫ע"י‬ ‫וגדרים‬ .‫תחבורתיות‬ ‫השקעות‬ ‫של‬ ‫חברתית‬ ‫השפעה‬ ‫לבחינת‬ ‫יעיל‬ ‫מכשיר‬ STEAM‫המודל‬ .‫היום‬ ‫ותקופות‬ ‫הנסיעה‬ ‫מטרות‬ ,‫התחבורה‬ ‫אמצעי‬ ‫מבחינת‬ ‫גמיש‬ ‫מודל‬ ‫הינו‬ ( ‫מחדל‬ ‫ברירת‬ ‫ערכי‬ ‫כולל‬Default Values‫אמ‬ ‫שבעה‬ ‫עבור‬ ):‫תחבורה‬ ‫צעי‬ 1.‫פרטי‬ ‫רכב‬ 2.( ‫משותפת‬ ‫נסיעה‬Carpool) 3.‫משאית‬ 4.‫מקומי‬ ‫אוטובוס‬ 5.( ‫מהיר‬ ‫אוטובוס‬Express) 6.‫קלה‬ ‫רכבת‬
  • 11.
    9 7.‫כבדה‬ ‫רכבת‬ .‫אלה‬ ‫בפרמטרים‬‫שינוי‬ ‫ע"י‬ ‫חדשים‬ ‫אמצעים‬ ‫הגדרת‬ ‫מאפשר‬ ‫גם‬ ‫הוא‬ STEAM( ‫מודולריות‬ ‫יחידות‬ ‫מארבע‬ ‫מורכב‬Modules‫באיור‬ ‫כמוצג‬ ,)1: 1.‫מממשק‬ ‫יחידת‬(Interface‫המ‬ ‫עם‬ ).‫שתמש‬ 2.‫רשתות‬ ‫ניתוח‬ ‫יחידת‬–‫ומפיקה‬ '‫וכו‬ ‫קיבולות‬ ‫נפחים‬ ,‫קטעים‬ ‫מאפייני‬ ‫קולטת‬ .‫מינימלי‬ ‫נסיעה‬ ‫זמן‬ ‫על‬ ‫המבוססים‬ ,‫נסיעה‬ ‫ומרחקי‬ ‫זמני‬ 3.‫נסיעות‬ ‫מטריצות‬ ‫ניתוח‬ ‫יחידת‬-,‫המשתמש‬ ‫של‬ ‫תועלות‬ ‫אומדני‬ ‫מפיקה‬ ( ‫ישירות‬ ‫והוצאות‬ ‫נסיעה‬ ‫זמני‬ ‫על‬ ‫המבוססות‬Out of Pocket Costs‫אזורי‬ ‫בין‬ ).‫תנועה‬ ‫תאונות‬ ‫עלויות‬ ,‫רעש‬ ‫עלויות‬ ,‫אוויר‬ ‫מזהמי‬ ‫יצירת‬ ‫של‬ ‫אומדנים‬ ‫מפיקה‬ ‫היא‬ ,‫כן‬ ‫כמו‬ .‫בכבישים‬ ‫בשימוש‬ ‫הכרוכות‬ ‫נוספות‬ ‫חיצוניות‬ ‫והשפעות‬ ‫אנרגיה‬ ‫צריכת‬ ,‫דרכים‬ 4.‫חלופות‬ ‫בין‬ ‫והשוואה‬ ‫הערכה‬ ‫יחידה‬–‫ערך‬ ‫מחשבת‬-‫נוכחי‬-‫עלות‬ ‫ויחסי‬ ‫נקי‬- ‫היא‬ ‫כן‬ ‫כמו‬ .‫המתוכננים‬ ‫השיפורים‬ ‫עבור‬ ‫תועלת‬‫כל‬ ‫עבור‬ ‫נתונים‬ ‫סיכום‬ ‫מפיקה‬ ‫הסתברות‬ ‫הצגת‬ ‫מפיקה‬ ‫ובנוסף‬ ,‫בבחינה‬ ‫הנכללים‬ ‫ועלות‬ ‫תועלת‬ ‫מרכיבי‬ ‫של‬ ‫סוג‬ ( ‫סיכונים‬ ‫ניתוח‬ ‫בחינת‬ ‫על‬ ‫המבוססת‬ ,‫ההערכה‬ ‫מדדי‬ ‫של‬Risk Analysis.) STEAM( ‫מקרה‬ ‫ניתוח‬ ‫יחידת‬ ‫גם‬ ‫כוללת‬Case Study‫דמיונית‬ ‫מעיר‬ ‫נתונים‬ ‫על‬ ‫המבוססת‬ ) .‫ארה"ב‬ ‫במערב‬ ‫הממוקמת‬ :‫ראה‬ ‫נוספים‬ ‫לפרטים‬ Patrick DeCorla-Souza and James T. Hunt, “Use of Steam in Evaluating Transportation Alternatives” Patrick DeCorla-Souza, H. Cohen & K. Bhatt “ Using Bebefit-Cost Analysis to Evaluate Across Modes and Demand Management Strategies”; Compendium of Technical Papers for the 66th ITE Annual Meeting; ITE Sptember 1996.
  • 12.
  • 13.
    11 3.‫רבת‬ ‫תכנונית‬ ‫גישה‬‫התפתחות‬-‫בא‬ )‫(גר"א‬ ‫אמצעים‬‫נגליה‬ 3.1‫כללי‬ ‫מס‬ ‫באמצעות‬ ‫הדרגתי‬ ‫באופן‬ ‫באנגליה‬ ‫התפתחה‬ ‫האמצעים‬ ‫רבת‬ ‫הגישה‬‫שיצאו‬ ‫מדיניות‬ ‫מסמכי‬ ‫פר‬ ‫ה‬ ‫שנות‬ ‫סוף‬ ‫לקראת‬ ‫לאור‬-90‫בתרשים‬ ‫כמוצג‬ ,1. ‫תרשים‬1‫באנגליה‬ ‫אמצעית‬ ‫הרב‬ ‫הגישה‬ ‫התפתחות‬ . •‫מדריך‬ ‫בעזרת‬ ‫באנגליה‬ ‫התחבורה‬ ‫תכנון‬ ‫התבצע‬ ‫השנים‬ ‫במשך‬DMRB(Design Manual for Roads and Bridges.)‫ש‬ ,‫ההערכה‬ ‫תהליך‬‫מ‬‫מדיניות‬ ‫של‬ ‫יעילותה‬ ‫את‬ ‫לבדוק‬ ‫טרתו‬ ,‫הממשלתית‬ ‫המשאבים‬ ‫הקצאת‬ ‫ושל‬ ‫התכנון‬‫עלות‬ ‫ניתוחי‬ ‫בעזרת‬ ‫התבצע‬-‫תועלת‬ (Cost Benefit Analysis.)‫ניתוחי‬ ‫בעזרת‬CBA‫ה‬ ‫חושבה‬‫הפרוייקטים‬ ‫של‬ ‫הכלכלית‬ ‫יעילות‬ ‫וחושב‬ ‫התחבורתיים‬‫הכספ‬ ‫להשקעה‬ ‫יחסית‬ ‫המתקבל‬ ‫הערך‬,‫ית‬‫תוכנת‬ ‫על‬ ‫הישענות‬ ‫תוך‬ COBA. •‫בשנת‬1998‫ה‬ ‫הממשלה‬ ‫ידי‬ ‫על‬ ‫פורסם‬-( "‫הלבן‬ ‫"נייר‬“The White Paper”) "A New Deal for Transport-Better for Everyone‫המלצה‬ ‫כלל‬ "‫הלבן‬ ‫"הנייר‬ ."‫גישה‬ ‫על‬ .‫תחבורתיות‬ ‫לבעיות‬ ‫פתרונות‬ ‫להערכת‬ ‫חדשה‬,‫בעיות‬ ‫של‬ ‫והערכה‬ ‫זיהוי‬ ‫כוללת‬ ‫החדשה‬ ‫הגישה‬ .‫השונות‬ ‫החלופות‬ ‫של‬ ‫והערכה‬ ‫הבעיות‬ ‫לפתרון‬ ‫חלופות‬ ‫זיהוי‬ •‫ה‬ ‫פרוייקטים‬ ‫של‬ ‫להערכה‬ ‫החדשה‬ ‫הגישה‬ ‫פותחה‬ "‫הלבן‬ ‫"הנייר‬ ‫במסגרת‬-NATA (The New Approach to Appraisal( ‫החדשה‬ ‫ההערכה‬ ‫גישת‬ ‫של‬ ‫מטרתה‬ .)NATA‫לסייע‬ ‫היה‬ ) ‫החלופות‬ ‫בין‬ ‫עדיפות‬ ‫סדרי‬ ‫לקבוע‬ ,‫תחבורתיות‬ ‫בעיות‬ ‫לפתרון‬ ‫שונות‬ ‫חלופות‬ ‫בין‬ ‫בבחירה‬ The White Paper 1998 DMRB COBA NATA 1998 GOMMS 2000 TAG 2004 The Green Book 2003 ‫של‬ ‫מסמכים‬ ‫התחבורה‬ ‫משרד‬ ‫של‬ ‫מסמכים‬ ‫הממשלה‬ The White Paper 1998 The White Paper 1998 DMRB COBA DMRB COBA NATA 1998 NATA 1998 GOMMS 2000 GOMMS 2000 TAG 2004 TAG 2004 The Green Book 2003 The Green Book 2003 ‫של‬ ‫מסמכים‬ ‫התחבורה‬ ‫משרד‬ ‫של‬ ‫מסמכים‬ ‫הממשלה‬ The White Paper 1998 DMRB COBA NATA 1998 GOMMS 2000 TAG 2004 The Green Book 2003 ‫של‬ ‫מסמכים‬ ‫התחבורה‬ ‫משרד‬ ‫של‬ ‫מסמכים‬ ‫הממשלה‬ The White Paper 1998 The White Paper 1998 DMRB COBA DMRB COBA NATA 1998 NATA 1998 GOMMS 2000 GOMMS 2000 TAG 2004 TAG 2004 The Green Book 2003 The Green Book 2003 ‫של‬ ‫מסמכים‬ ‫התחבורה‬ ‫משרד‬ ‫של‬ ‫מסמכים‬ ‫הממשלה‬ The White Paper 1998 DMRB COBA NATA 1998 GOMMS 2000 TAG 2004 The Green Book 2003 ‫של‬ ‫מסמכים‬ ‫התחבורה‬ ‫משרד‬ ‫של‬ ‫מסמכים‬ ‫הממשלה‬ The White Paper 1998 The White Paper 1998 DMRB COBA DMRB COBA NATA 1998 NATA 1998 GOMMS 2000 GOMMS 2000 TAG 2004 TAG 2004 The Green Book 2003 The Green Book 2003 ‫של‬ ‫מסמכים‬ ‫התחבורה‬ ‫משרד‬ ‫של‬ ‫מסמכים‬ ‫הממשלה‬ The White Paper 1998 DMRB COBA NATA 1998 GOMMS 2000 TAG 2004 The Green Book 2003 ‫של‬ ‫מסמכים‬ ‫התחבורה‬ ‫משרד‬ ‫של‬ ‫מסמכים‬ ‫הממשלה‬ The White Paper 1998 The White Paper 1998 DMRB COBA DMRB COBA NATA 1998 NATA 1998 GOMMS 2000 GOMMS 2000 TAG 2004 TAG 2004 The Green Book 2003 The Green Book 2003 ‫של‬ ‫מסמכים‬ ‫התחבורה‬ ‫משרד‬ ‫של‬ ‫מסמכים‬ ‫הממשלה‬ The White Paper 1998 DMRB COBA NATA 1998 GOMMS 2000 TAG 2004 The Green Book 2003 ‫של‬ ‫מסמכים‬ ‫התחבורה‬ ‫משרד‬ ‫של‬ ‫מסמכים‬ ‫הממשלה‬ The White Paper 1998 The White Paper 1998 DMRB COBA DMRB COBA NATA 1998 NATA 1998 GOMMS 2000 GOMMS 2000 TAG 2004 TAG 2004 The Green Book 2003 The Green Book 2003 ‫של‬ ‫מסמכים‬ ‫התחבורה‬ ‫משרד‬ ‫של‬ ‫מסמכים‬ ‫הממשלה‬ The White Paper 1998 DMRB COBA NATA 1998 GOMMS 2000 TAG 2004 The Green Book 2003 ‫של‬ ‫מסמכים‬ ‫התחבורה‬ ‫משרד‬ ‫של‬ ‫מסמכים‬ ‫הממשלה‬ The White Paper 1998 The White Paper 1998 DMRB COBA DMRB COBA NATA 1998 NATA 1998 GOMMS 2000 GOMMS 2000 TAG 2004 TAG 2004 The Green Book 2003 The Green Book 2003 ‫של‬ ‫מסמכים‬ ‫התחבורה‬ ‫משרד‬ ‫של‬ ‫מסמכים‬ ‫הממשלה‬
  • 14.
    12 ( ‫הכספית‬ ‫להשקעה‬‫יחסית‬ ‫החלופות‬ ‫ערך‬ ‫את‬ ‫ולקבוע‬Value of Money.)NATA‫מבוססת‬ ‫עלות‬ ‫גישת‬ ‫על‬ ‫היא‬ ‫אף‬-‫ב‬ ‫המוצגים‬ ‫העקרונות‬ ‫עם‬ ‫אחד‬ ‫בקנה‬ ‫ועולה‬ ‫תועלת‬-DMRB‫השימוש‬ . ‫ב‬ ‫הראשון‬-NATA‫אמצעי‬ ‫רבת‬ ‫ובגישה‬‫ם‬,‫בבריטניה‬‫בשנת‬ ‫נעשה‬1998‫של‬ ‫בחינה‬ ‫במסגרת‬ ( ‫כבישים‬ ‫מערכות‬Road Review‫הכבישים‬ ‫ברשת‬ ‫ספציפיות‬ ‫בעיות‬ ‫עם‬ ‫להתמודד‬ ‫כדי‬ ,) ‫ברשת‬ ‫מערכתיות‬ ‫בעיות‬ ‫על‬ ‫להתגבר‬ ‫הייתה‬ ‫המטרה‬ ,‫יישומית‬ ‫מבחינה‬ .‫הבינעירונית‬ ‫השא‬ ‫בין‬ .‫ואוויר‬ ‫ים‬ ‫לנמלי‬ ‫גם‬ ‫התייחסות‬ ‫תוך‬ ,‫והאוטובוסים‬ ‫הרכבות‬ ,‫הכבישים‬‫הבחינה‬ ‫ר‬ ‫מים‬ ‫ונתיבי‬ ‫לחוף‬ ‫מחוף‬ ‫מטענים‬ ‫העברת‬ ,‫אווירית‬ ‫תחבורה‬ ‫של‬ ‫לנושאים‬ ‫התייחסות‬ ‫כללה‬ .‫ארציים‬ ‫פנים‬ •‫בשנת‬2000‫ה‬ ‫לאור‬ ‫יצא‬-GOMMMS–(The Governments Guidance on the Methodology for Multi-Modal Studies.)‫ה‬–GOMMMS‫עיקרי‬ ‫הנחיה‬ ‫מקור‬ ‫מהווה‬ ‫פרוייקטי‬ ‫של‬ ‫והערכה‬ ‫לפיתוח‬‫לתכנון‬ ‫הנחיה‬ ‫היא‬ ‫הגישה‬ ‫תמצית‬ .‫יבשתית‬ ‫בתחבורה‬ ‫ם‬ ‫יעיל‬ ‫ליישום‬ ‫המפתח‬ ‫הינם‬ ‫ההערכה‬ ‫אמצעי‬ ‫כאשר‬ ,‫משולבת‬ ‫תחבורתית‬ ‫מדיניות‬ ‫של‬ ‫והערכה‬ ‫של‬ ‫בחינה‬ ‫על‬ ‫להתבסס‬ ‫אמור‬ ‫זו‬ ‫במסגרת‬ ‫המתבצע‬ ‫ההחלטות‬ ‫קבלת‬ ‫תהליך‬ .‫זו‬ ‫מדיניות‬ ‫של‬ ‫השפעותיהן‬ ‫של‬ ‫מקיף‬ ‫ניתוח‬ ‫ועל‬ ‫אמצעים‬ ‫רבות‬ ‫חלופות‬ ‫של‬ ‫קשת‬ ‫טווח‬‫גישת‬ ‫על‬ ‫בהתבססות‬ , .‫תועלת‬ ‫עלות‬ •‫בשנת‬2003"‫הירוק‬ ‫"הספר‬ ‫של‬ ‫ומעודכנת‬ ‫חדשה‬ ‫גרסה‬ ‫פורסמה‬(“The New Green Book”" )Appraisal and Evaluation in Central Government”. ‫הינו‬ "‫הירוק‬ ‫"הספר‬( ‫פרוייקטים‬ ‫ושל‬ ‫מדיניות‬ ‫של‬ ‫להערכה‬ ‫המדריך‬Capital Projects,) ‫נערכו‬ ‫מחדש‬ ‫הפרסום‬ ‫בעקבות‬ .‫באנגליה‬ ‫הממשלתיים‬ ‫והגופים‬ ‫המשרדים‬ ‫כל‬ ‫את‬ ‫המשמש‬ ‫ב‬ ‫שינויים‬-NATA,."‫הירוק‬ ‫"הספר‬ ‫עם‬ ‫אחד‬ ‫בקנה‬ ‫שתעלה‬ ‫כדי‬ •‫בשנת‬2004‫מדריך‬ ‫נערך‬GOMMMS‫כ‬ ‫נוספים‬ ‫מסמכים‬ ‫בצירוף‬ ‫לאור‬ ‫והוצא‬ ,‫מחדש‬- TAG(Transport Analysis Guidance,‫תחבורתי‬ ‫לניתוח‬ ‫ההנחיות‬ .)‫ב‬ ‫המופיעות‬-TAG ‫מחייבות‬.‫ממשלתי‬ ‫תקצוב‬ ‫לקבל‬ ‫המבקש‬ ‫פרוייקט‬ ‫כל‬ 3.2‫האמצעים‬ ‫רבת‬ ‫הגישה‬ ‫הגדרת‬ ‫אמצעים‬ ‫רבת‬ ‫גישה‬‫הינה‬ )‫(גר"א‬‫הבוחנת‬ ,‫משולבת‬ ‫תחבורתית‬ ‫אסטרטגיה‬ ‫לפיתוח‬ ‫חדשה‬ ‫גישה‬ ‫טווח‬ ‫ארוכי‬ ‫פתרונות‬ ‫לפיתוח‬ ‫לתרום‬ ‫יכולים‬ ‫הנסיעה‬ ‫אמצעי‬ ‫כל‬ ‫כיצד‬‫בעיות‬ ‫עבור‬ ‫קיימא‬ ‫וברי‬ ‫תחבורתי‬.‫נבחרות‬ ‫מהותיות‬ ‫ות‬‫אמצעים‬ ‫רבת‬ ‫גישה‬‫בפתרון‬ ‫התמקדות‬ ‫של‬ ‫הישנה‬ ‫לגישה‬ ‫מנוגדת‬ ‫ושל‬ ‫התחבורה‬ ‫אמצעי‬ ‫כל‬ ‫של‬ ‫התרומה‬ ‫את‬ ‫הבוחנת‬ ‫גישה‬ ‫במקומה‬ ‫ומציעה‬ ,‫יחיד‬ ‫ממד‬ ‫בעל‬ ‫בגישה‬ .‫ואופניים‬ ‫הליכה‬ ,‫קלה‬ ‫רכבת‬ ,‫אוטובוסים‬ ,‫רכבות‬ ,‫כבישים‬ :‫כולל‬ ‫תנועה‬ ‫לניהול‬ ‫השיטות‬ ‫התחב‬ ‫בעיית‬ ‫על‬ ‫ההסתכלות‬ ‫זו‬‫אחד‬ ‫לכל‬ ‫חלק‬ ‫יהיה‬ ‫בהם‬ ‫פתרונות‬ ‫ותציע‬ ‫מקיפה‬ ‫תהיה‬ ‫ורה‬ .‫התחבורה‬ ‫מאמצעי‬ ‫ופתיחות‬ ‫הציבור‬ ‫של‬ ‫השיתוף‬ ‫היקף‬ ‫היה‬ ,‫הגישה‬ ‫הכנסת‬ ‫במסגרת‬ ‫שהוטמע‬ ,‫נוסף‬ ‫משמעותי‬ ‫שינוי‬ ‫תוך‬ ,‫התהליך‬‫השקפותיהם‬ ‫כי‬ ‫להבטיח‬ ‫מנת‬ ‫על‬ ‫ואזוריים‬ ‫מקומיים‬ ‫באינטרסים‬ ‫התחשבות‬ .‫העבודה‬ ‫תהליך‬ ‫לתוך‬ ‫יוזנו‬ ‫ודעותיהם‬‫בקרב‬ ‫התכנון‬ ‫תוצרי‬ ‫של‬ ‫רחבה‬ ‫הסכמה‬ ‫להבטיח‬ ‫כדי‬ ,‫זאת‬
  • 15.
    13 ‫ידי‬ ‫על‬ ‫רק‬‫ולא‬ ‫האסטרטגיה‬ ‫בבחירת‬ ‫קולו‬ ‫את‬ ‫להשמיע‬ ‫לציבור‬ ‫לאפשר‬ ‫מנת‬ ‫ועל‬ ,‫העניין‬ ‫בעלי‬ ‫התהליכים‬ ‫קיצור‬ ‫הוא‬ ‫זו‬ ‫בגישה‬ ‫הטמונים‬ ‫היתרונות‬ ‫אחד‬ .‫אחר‬ ‫או‬ ‫כזה‬ ‫תחבורה‬ ‫אמצעי‬ ‫בחירת‬ ‫והמחקר‬ ‫מאחר‬ ‫המשפטיים‬ ‫הסיכונים‬ ‫וצמצום‬ ‫המינהליים‬‫החלופות‬ ‫כל‬ ‫את‬ ‫בחשבון‬ ‫לוקחים‬ ‫ים‬ .‫שניתן‬ ‫ככל‬ ‫רחבה‬ ‫בהסכמה‬ ‫מתקבלת‬ ‫החלופה‬ ‫ובחירת‬ ‫האפשריות‬ ‫התחבורתיות‬ 3.3‫פרוייקטים‬ ‫סוגי‬ ‫ה‬ ‫הנחיות‬-TAG:‫פרוייקטים‬ ‫סוגי‬ ‫לארבעה‬ ‫מתייחסות‬ 1.‫אמצעים‬ ‫רבי‬ ‫פרוייקטים‬–‫המערבים‬ ‫ולפתרונות‬ ‫לבעיות‬ ‫המתייחסים‬ ‫פרוייקטים‬ .‫הנסיעה‬ ‫אמצעי‬ ‫כל‬ ‫את‬ 2.‫פרוייקט‬‫כבישים‬ ‫של‬ ‫ים‬–‫פרוייקטים‬‫לשיפורים‬‫נרחבים‬‫ומהותיים‬‫ברשת‬ ‫הכבישים‬(MHS=Major Highway Schemes.) 3.‫גדולים‬ ‫מקומיים‬ ‫פרוייקטים‬–‫ל‬ ‫מעל‬ ‫שתקציבם‬ ‫מקומיים‬ ‫פרוייקטים‬-5‫מיליון‬ .‫סטרלינג‬ ‫לירות‬ 4.‫אזוריים‬ ‫פרוייקטים‬–‫שימושי‬ ‫של‬ ‫משולב‬ ‫אזורי‬ ‫לפיתוח‬ ‫אסטרטגיות‬ ‫תכניות‬ ‫ות‬ ‫קרקע‬.‫חבורה‬ ‫נעשות‬ ‫מהם‬ ‫בחלק‬ ‫כאשר‬ ,‫הפרוייקטים‬ ‫סוגי‬ ‫בכל‬ ‫מיושמת‬ ‫אמצעית‬ ‫הרב‬ ‫הגישה‬ ,‫כללי‬ ‫באופן‬ ‫נעשה‬ ‫כבישים‬ ‫של‬ ‫פרוייקטים‬ ‫של‬ ‫במקרה‬ ,‫לדוגמא‬ .‫הפרוייקט‬ ‫לסוג‬ ‫בהתאם‬ ,‫הדרושות‬ ‫ההתאמות‬ ‫ה‬ ‫במדריך‬ ‫שימוש‬ ‫התכנון‬ ‫במהלך‬-DMRB(Design Manual for Roads and Bridges.)‫מנת‬ ‫על‬ ‫ה‬ ‫בין‬ ‫לקשר‬-GOMMMS‫ל‬-DMRB"( '"‫גישור‬ ‫"מסמך‬ ‫נוצר‬ ,The Bridging Document)" .‫כבישים‬ ‫של‬ ‫פרוייקטים‬ ‫במסגרת‬ ‫אמצעית‬ ‫הרב‬ ‫הגישה‬ ‫את‬ ‫ליישם‬ ‫המאפשר‬ 3.4‫האמצעים‬ ‫רבת‬ ‫בגישה‬ ‫העבודה‬ ‫תהליך‬ ‫ה‬ ‫של‬ ‫תחבורתי‬ ‫לניתוח‬ ‫ההנחיות‬-TAG‫מ‬ ‫המורכב‬ ‫עבודה‬ ‫תהליך‬ ‫כוללות‬-15‫באיור‬ ‫כמוצג‬ ,‫שלבים‬ 2‫העבודה‬ ‫תהליך‬ .‫תהליך‬ ‫דרך‬ ‫עובר‬ ,‫להתערבות‬ ‫הסיבה‬ ‫בזיהוי‬ ‫מתחיל‬ ‫האמצעים‬ ‫רבת‬ ‫בגישה‬ ‫הבודק‬ ‫ההערכה‬ ‫תהליך‬ ‫דרך‬ ‫וממשיך‬ ,‫התחבורתיות‬ ‫הבעיות‬ ‫לפתרון‬ ‫חלופות‬ ‫פיתוח‬ ‫הכולל‬ ,‫התכנון‬ ‫לאחר‬ ‫של‬ ‫והערכה‬ ‫ניטור‬ ‫ולבסוף‬ ,‫המועדפת‬ ‫החלופה‬ ‫לאיתור‬ ‫עד‬ ,‫ליישום‬ ‫החלופות‬ ‫טווח‬ ‫את‬ ‫האמצע‬ ‫רבת‬ ‫הגישה‬ ‫של‬ ‫החדשנות‬ .‫מעשה‬‫הגדרת‬ :‫הבאים‬ ‫העבודה‬ ‫בשלבי‬ ‫בעיקר‬ ‫טמונה‬ ‫ים‬ ‫(בר‬ ‫מימון‬ ‫ואפשרויות‬ ‫הערכה‬ ‫מסגרת‬ ,‫לפתרונות‬ ‫חלופות‬ ,‫והשתתפות‬ ‫התייעצות‬ ,‫המטרות‬-.)‫קימא‬ .‫ההערכה‬ ‫תהליך‬ ‫על‬ ‫הדגש‬ ‫עיקר‬ ‫יושם‬ ‫הנוכחית‬ ‫העבודה‬ ‫במסגרת‬
  • 16.
  • 17.
    15 3.5‫ו‬ ‫מטרות‬‫יעדים‬ :‫חדשה‬ ‫כללית‬‫תחבורתית‬ ‫גישה‬ ‫ליצירת‬ ‫מטרות‬ ‫שלוש‬ ‫הבריטית‬ ‫הממשלה‬ ‫הגדירה‬ ,‫האחרון‬ ‫בעשור‬ •‫חדשה‬ ‫כלכלה‬ ‫לקדם‬ •‫הסביבה‬ ‫איכות‬ ‫את‬ ‫לשפר‬ ‫הגנה‬ ‫לספק‬ •‫יותר‬ ‫ושוויונית‬ ‫פתוחה‬ ‫חברה‬ ‫לפתח‬ ‫נשיאה‬ ‫יכולת‬ ‫בעלי‬ ‫להיות‬ ‫צריכים‬ ‫תחבורתיים‬ ‫פרוייקטים‬ ‫כי‬ ‫התפיסה‬ ‫עומדת‬ ‫זו‬ ‫גישה‬ ‫בבסיס‬ ‫ופי‬ ‫פיננסית‬‫איכות‬ ‫על‬ ‫שמירה‬ ‫עם‬ ‫ביד‬ ‫יד‬ ‫ללכת‬ ‫צריכה‬ ‫הכלכלית‬ ‫הצמיחה‬ ,‫כן‬ ‫כמו‬ .‫קיימא‬ ‫בר‬ ‫תוח‬ ‫ככל‬ ‫שוויונית‬ ‫בצורה‬ ‫וליהנות‬ ‫חברתית‬ ‫שייכות‬ ‫לחוש‬ ‫צריכים‬ ‫בחברה‬ ‫הפרטים‬ ‫כל‬ ‫וכי‬ ,‫הסביבה‬ .‫מפרותיה‬ ‫האפשר‬ ‫עבור‬ ‫על‬ ‫מטרות‬ ‫חמש‬ ‫הבריטית‬ ‫הממשלה‬ ‫קבעה‬ ,‫האמצעים‬ ‫רבת‬ ‫הגישה‬ ‫במסגרת‬ ,‫זו‬ ‫ברוח‬ ‫ב‬ ‫פרוייקטים‬:‫גר"א‬ ‫מסגרת‬ •( ‫סביבתיות‬ ‫השפעות‬Environment Impact)–‫מתמקדת‬ ‫הסביבתית‬ ‫המטרה‬ .‫תחבורתית‬ ‫מפעילות‬ ‫הנובעות‬ ‫והעקיפות‬ ‫הישירות‬ ‫ההשפעות‬ ‫ובצמצום‬ ‫הסביבה‬ ‫על‬ ‫בהגנה‬ :‫משניים‬ ‫יעדים‬ ‫מעשרה‬ ‫מורכבת‬ ‫הסביבתית‬ ‫המטרה‬ -‫רעש‬ ‫צמצום‬ -‫האוויר‬ ‫איכות‬ ‫שיפור‬ -‫החממה‬ ‫גזי‬ ‫צמצום‬ -‫הה‬ ‫של‬ ‫והגדלה‬ ‫הגנה‬‫הנופית‬ ‫שפעה‬ -‫היסטוריים‬ ‫אתרים‬ ‫שימור‬ -‫חיים‬ ‫צורות‬ ‫במגוון‬ ‫תמיכה‬ -‫המים‬ ‫סביבת‬ ‫על‬ ‫הגנה‬ -‫פיסית‬ ‫התאמה‬ ‫עידוד‬ -‫הנסיעה‬ ‫סביבת‬ ‫שיפור‬ •‫בטיחות‬(Safety)–‫ונזקים‬ ‫פציעות‬ ,‫חיים‬ ‫אובדן‬ ‫לצמצום‬ ‫נוגעת‬ ‫הבטיחות‬ ‫מטרת‬ ‫י‬ ‫שני‬ ‫ידי‬ ‫על‬ ‫מוגדרת‬ ‫הבטיחות‬ ‫מטרת‬ .‫ומפשיעה‬ ‫דרכים‬ ‫מתאונות‬ ‫הנובעים‬ ‫לרכוש‬‫עדים‬ :‫משניים‬ -‫הדרכים‬ ‫תאונות‬ ‫הפחתת‬ -‫הבטחון‬ ‫שיפור‬ •‫כלכלה‬(Economy)–,‫הכלכלית‬ ‫היעילות‬ ‫להגברת‬ ‫מתייחסת‬ ‫הכלכלית‬ ‫המטרה‬ ‫יחסית‬ ‫האפשר‬ ‫ככל‬ ‫גבוהה‬ ‫כלכלית‬ ‫תועלת‬ ‫ולהשגת‬ ,‫קיימא‬ ‫בת‬ ‫כלכלית‬ ‫בפעילות‬ ‫לתמיכה‬ .‫בתחבורה‬ ‫והתפעולית‬ ‫הכלכלית‬ ‫היעילות‬ ‫שיפור‬ ‫ידי‬ ‫על‬ ‫מושגת‬ ‫היא‬ .‫הכספית‬ ‫להשקעה‬ ‫עלות‬ ‫ניתוחי‬ ‫בסיס‬ ‫על‬ ‫נבחנת‬ ‫הכלכלית‬ ‫היעילות‬-.‫תועלת‬‫של‬ ‫הכלכלית‬ ‫היעילות‬ :‫משניים‬ ‫יעדים‬ ‫חמישה‬ ‫ידי‬ ‫על‬ ‫מוגדרת‬ ‫התחבורתיים‬ ‫הפרויקטים‬
  • 18.
    16 -‫הציבורית‬ ‫להשקעה‬ ‫ביחס‬‫גבוה‬ ‫נקי‬ ‫נוכחי‬ ‫ערך‬ ‫השגת‬ -‫התחבורה‬ ‫וספקי‬ ‫העסקיים‬ ‫המשתמשים‬ ‫של‬ ‫הכלכלית‬ ‫היעילות‬ ‫שיפור‬ -‫המש‬ ‫של‬ ‫הכלכלית‬ ‫היעילות‬ ‫שיפור‬)‫(הנוסעים‬ ‫תמשים‬ -‫התחבותית‬ ‫המערכת‬ ‫של‬ ‫האמינות‬ ‫שיפור‬ -‫של‬ ‫כלכלית‬ ‫התחדשות‬ ‫במסגרת‬ ,‫נרחבות‬ ‫כלכליות‬ ‫השפעות‬ ‫יצירת‬ ‫אזורים‬(Regeneration) ‫עלות‬ ‫במונחי‬ ‫נמדדים‬ ‫הכלכליים‬ ‫היעדים‬-‫הקצאת‬ ‫של‬ ‫יעילותה‬ ‫את‬ ‫בודקים‬ ,‫תועלת‬ ‫המבוטאי‬ ‫כלכלית‬ ‫יעילות‬ ‫מדדי‬ ‫וכוללים‬ ,‫המשאבים‬,‫נסיעה‬ ‫בזמני‬ ‫חסכון‬ ‫של‬ ‫במונחים‬ ‫ם‬ .‫וכיוצ"ב‬ ‫תפעול‬ ‫בעלויות‬ ‫חסכון‬ •( ‫נגישות‬Accessibility)–‫מטרת‬ .‫שונים‬ ‫ליעדים‬ ‫ההגעה‬ ‫כקלות‬ ‫מוגדרת‬ ‫נגישות‬ ‫זמינות‬ ‫ועם‬ ‫שונים‬ ‫במיקומים‬ ,‫אנשים‬ ‫של‬ ‫היכולת‬ ‫בהגדלת‬ ‫עוסקת‬ ‫הנגישות‬ ‫מוגדרת‬ ‫הנגישות‬ ‫מטרת‬ .‫יעדים‬ ‫רחב‬ ‫למגוון‬ ‫להגיע‬ ,‫משתנה‬ ‫תחבורתית‬‫ידי‬ ‫על‬ :‫משניים‬ ‫יעדים‬ ‫שלושה‬ -‫האופציונלי‬ ‫הערך‬ ‫העלאת‬-‫את‬ ‫בודק‬ ‫זה‬ ‫יעד‬‫שירותי‬ ‫זמינות‬‫ה‬‫תחבורה‬ ‫ה‬ ‫באזור‬‫פרוייקט‬ -‫מוטורית‬ ‫לא‬ ‫לתנועה‬ ‫ההפרעות‬ ‫צמצום‬ -‫התחבורה‬ ‫למערכת‬ ‫הנגישות‬ ‫שיפור‬ •( ‫שילוב‬Integration)–‫אמצעים‬ ‫ובין‬ ‫בתוך‬ ‫באינטגרציה‬ ‫עוסקת‬ ‫השילוב‬ ‫מטרת‬ ‫אינטג‬ ,‫שונים‬ ‫תחבורתיים‬‫אינטגרציה‬ ,‫הסביבה‬ ‫עם‬ ‫התחבורה‬ ‫מערכת‬ ‫של‬ ‫רציה‬ ‫עם‬ ‫ואינטגרציה‬ ‫והמקומית‬ ‫האזורית‬ ,‫הארצית‬ ‫ברמה‬ ‫הקרקע‬ ‫שימושי‬ ‫תכנון‬ ‫עם‬ .‫והרווחה‬ ‫הבריאות‬ ,‫החינוך‬ ‫בתחומי‬ ‫אחרת‬ ‫ממשלתית‬ ‫ומדיניות‬ ‫תכניות‬‫מטרת‬ :‫משניים‬ ‫יעדים‬ ‫שלושה‬ ‫ידי‬ ‫על‬ ‫מוגדרת‬ ‫הנגישות‬ -‫אמצעים‬ ‫בין‬ ‫מעבר‬ ‫שיפור‬ -‫תח‬ ‫מדיניות‬ ‫שילוב‬‫הקרקע‬ ‫שימושי‬ ‫מדיניות‬ ‫עם‬ ‫בורתית‬ -‫אחרת‬ ‫ממשלתית‬ ‫מדיניות‬ ‫עם‬ ‫תחבורתית‬ ‫מדיניות‬ ‫שילוב‬ ,‫עצמאי‬ ‫באופן‬ ‫המוגדר‬ ‫מקומיים‬ ‫ויעדים‬ ‫מטרות‬ ‫של‬ ‫נוסף‬ ‫לסט‬ ‫ביחס‬ ‫הפרוייקטים‬ ‫נבחנים‬ ,‫בנוסף‬ .‫המקומית‬ ‫הממשלה‬ ‫ידי‬ ‫על‬ ,‫מהפרוייקטים‬ ‫אחד‬ ‫כל‬ ‫במסגרת‬ 3.5.1‫לבין‬ ‫הבריטית‬ ‫הגישה‬ ‫בין‬ ‫מטרות‬ ‫השוואת‬‫של‬ ‫האמריקאית‬ ‫הגישה‬21-TEA ,‫(סביבה‬ ‫תחבורתיים‬ ‫פרוייקטים‬ ‫בהערכת‬ ‫עיקריות‬ ‫מטרות‬ ‫לחמש‬ ‫מתייחסת‬ ‫הבריטית‬ ‫הגישה‬ ‫לעומת‬ ,)‫ושילוב‬ ‫נגישות‬ ,‫כלכלה‬ ,‫בטיחות‬7‫של‬ ‫האמריקאית‬ ‫בגישה‬ ‫מטרות‬21-TEA(‫צמיחה‬ ‫כלכלית‬,‫מיטבי‬ ‫וניצול‬ ‫יעילות‬ ,‫שילוב‬ ,‫סביבה‬ ,‫נגישות‬ ,‫בטיחות‬.)‫המט‬ ,‫כללי‬ ‫באופן‬‫הבריטיות‬ ‫רות‬ :‫בתחומים‬ ‫הינם‬ ‫העיקריים‬ ‫ההבדלים‬ .‫האמריקאיות‬ ‫למטרות‬ ‫דומות‬
  • 19.
    17 •‫כלכלי‬ ‫פיתוח‬–‫מחדש‬ ‫צמיחה‬‫במונחי‬ ‫כלכלי‬ ‫פיתוח‬ ‫על‬ ‫התמקדות‬ ,‫בבריטניה‬ (Regeneration‫הגברת‬ ‫במונחי‬ ‫כלכלי‬ ‫לפיתוח‬ ‫מתייחסת‬ ‫גם‬ ‫המטרה‬ ‫שבארה"ב‬ ‫בעוד‬ ,) .‫התחרותיות‬ •‫מיטבי‬ ‫ניצול‬-‫התייח‬ ‫אין‬ ,‫הבריטית‬ ‫בגישה‬‫שימור‬ ‫של‬ ‫למטרה‬ ‫פרטנית‬ ‫סות‬ ( ‫הקיימת‬ ‫התחבורה‬ ‫מערכת‬System Preservation,‫משנה‬ ‫ומטרת‬ ‫מטרה‬ ‫כל‬ ‫עבור‬ .) .‫הכל‬ ‫סך‬ ‫ובמונחי‬ ‫איכותיים‬ ‫מונחים‬ ,‫כמותיים‬ ‫במונחים‬ ‫מבוטאת‬ ‫הפרוייקט‬ ‫של‬ ‫ההשפעה‬ 3.6‫ההערכה‬ ‫תהליך‬ 3.6.1‫כללי‬ ‫שיט‬ ‫הן‬ ‫התחבורה‬ ‫בתחום‬ ‫חלופות‬ ‫בין‬ ‫לבחירה‬ ‫המסורתיות‬ ‫השיטות‬‫על‬ ‫המבוססות‬ ‫כלכליות‬ ‫ות‬ ‫עלות‬ ‫בחינת‬-( ‫תועלת‬CBA-Cost Benefit Analysis‫של‬ ‫כלכלית‬ ‫וכדאיות‬ ‫יעילות‬ ‫הבודקות‬ ,) ‫איננה‬ ‫המסורתית‬ ‫הכלכלית‬ ‫הגישה‬ .‫בלבד‬ ‫מדידים‬ ‫מוניטריים‬ ‫בערכים‬ ‫שימוש‬ ‫ידי‬ ‫על‬ ‫חלופות‬ ‫עלות‬ ‫ניתוחי‬ .‫רחבות‬ ‫מטרות‬ ‫בעלי‬ ‫פרוייקטים‬ ‫להערכת‬ ‫מספקת‬-‫באו‬ ‫מטפלים‬ ‫אינם‬ ‫תועלת‬‫ישיר‬ ‫פן‬ .‫מדידים‬ ‫מוניטריים‬ ‫במונחים‬ ‫ביטוי‬ ‫לידי‬ ‫באות‬ ‫שאינן‬ ‫כאלו‬ ‫בעיקר‬ ,‫ההשפעות‬ ‫סוגי‬ ‫בכל‬ ‫ריבוי‬ ‫על‬ ‫המבוססות‬ ‫הערכה‬ ‫בשיטות‬ ‫שימוש‬ ‫של‬ ‫גוברת‬ ‫מגמה‬ ‫בעולם‬ ‫כיום‬ ‫מורגשת‬ ‫לכך‬ ‫כתדובה‬ ‫משתנים‬(MCA-Multi-Criteria Analysis)‫על‬ ‫המסתמכות‬ ‫חלופות‬ ‫בין‬ ‫לבחור‬ ‫בעזרתן‬ ‫ניתן‬ ‫אשר‬ , ‫משתנים‬‫ייצוג‬ ‫מאפשרות‬ ‫המשתנים‬ ‫רבות‬ ‫הערכה‬ ‫שיטות‬ .‫ואיכותיים‬ ‫כמותיים‬ ,‫רבים‬ ‫וקריטריונים‬ .‫וריאליסטית‬ ‫כוללנית‬ ‫בצורה‬ ‫הבעיה‬ ‫לייצוג‬ ‫תורמות‬ ‫ובכך‬ ‫הבעיה‬ ‫של‬ ‫ההיבטים‬ ‫כלל‬ ‫של‬ ‫מרבי‬ ‫ציבור‬ ‫או‬ ‫מתכננים‬ ,‫(רשויות‬ ‫עניין‬ ‫בעלי‬ ‫ושיתוף‬ ‫קבוצתית‬ ‫החלטות‬ ‫קבלת‬ ‫על‬ ‫דגש‬ ‫בהן‬ ‫מושם‬ ‫ב‬ ‫בתהליך‬ )‫המשתמשים‬‫תוך‬ ,‫שונות‬ ‫ערכיות‬ ‫לגישות‬ ‫ביטוי‬ ‫לתת‬ ‫מנת‬ ‫על‬ ,‫זאת‬ ‫כל‬ .‫החלופות‬ ‫חירת‬ .‫גורמים‬ ‫מקסימום‬ ‫בקרב‬ ‫רחבה‬ ‫הסכמה‬ ‫השגת‬ ‫כדי‬ ‫הינו‬ ‫הערכה‬ ‫תהליך‬‫עזר‬ ‫כלי‬‫ההחלטות‬ ‫מקבלי‬ ‫בידי‬ ‫לסייע‬ ‫ומטרתו‬ ,‫ההחלטות‬ ‫קבלת‬ ‫בתהליך‬‫אך‬ ‫ה‬ ‫ידי‬ ‫על‬ ‫היטב‬ ‫נוסחה‬ ‫זו‬ ‫קביעה‬ .‫הסופית‬ ‫התוצאה‬ ‫את‬ ‫לקבוע‬ ‫לא‬-ECMT: "The purpose of appraisal is not to attempt to make the decision but to present the decision maker with the information they need to make an adequately well informed decision" (European Committee of Ministers of Transport). ‫והס‬ ‫ניתוחים‬ ‫לכלול‬ ‫צריך‬ ‫ההערכה‬ ‫תהליך‬‫לאפשר‬ ‫בכדי‬ ,‫ותפקודן‬ ‫החלופות‬ ‫מהות‬ ‫לגבי‬ ‫ברים‬ ‫נוסחה‬ ‫מגדיר‬ ‫אינו‬ ‫הערכה‬ ‫תהליך‬ .‫הנשקלות‬ ‫החלופות‬ ‫של‬ ‫מעמיקה‬ ‫הבנה‬ ‫ההחלטות‬ ‫למקבלי‬ .‫חוזרות‬ ‫התאמות‬ ‫דורש‬ ‫וחלעיתים‬ ‫מתמטית‬ 3.6.2‫של‬ ‫הערכה‬ ‫תהליך‬NATA The New Approach to Appraisal) NATA)‫הגיש‬ ‫במסגרת‬ ‫שפותח‬ ,‫ההערכה‬ ‫תהליך‬ ‫הנו‬‫רבת‬ ‫ה‬ .‫האמצעים‬
  • 20.
    18 ‫של‬ ‫הערכה‬ ‫תהליך‬‫מטרות‬NATA:‫הן‬ •‫לספק‬‫יעילה‬ ‫ולהקצאה‬ ‫הממשלה‬ ‫מדיניות‬ ‫של‬ ‫יעיל‬ ‫ליישום‬ ‫כלים‬‫של‬‫משאבים‬. •‫מתחרות‬ ‫חלופות‬ ‫מספר‬ ‫לבדוק‬‫התייחסות‬ ‫באמצעות‬‫שתהיה‬‫עקבית‬‫בין‬‫החלופות‬, ‫מאוזנת‬‫הנסיעה‬ ‫אמצעי‬ ‫לכלל‬ ‫ביחס‬‫ו‬‫כוללנית‬‫השפעות‬ ‫של‬ ‫רחב‬ ‫לטווח‬ ‫ביחס‬. •‫לספק‬‫מידע‬‫כולל‬‫על‬‫התכנוניות‬ ‫והחלופות‬ ‫הפרויקט‬ ‫השפעות‬ •‫להגדיל‬‫התהליך‬ ‫שקיפות‬ ‫את‬ ‫של‬ ‫ההערכה‬ ‫מסגרת‬NATA:‫נפרדים‬ ‫חלקים‬ ‫מארבעה‬ ‫מורכבת‬ 1.)‫(טע"מ‬ ‫מסכמת‬ ‫הערכה‬ ‫טבלת‬-(AST - Appraisal Summary Table)-‫טבלת‬ ‫טבלה‬ ‫(ראה‬ ‫המסכמת‬ ‫ההערכה‬1.‫ההערכה‬ ‫תהליך‬ ‫של‬ ‫המרכזי‬ ‫כנדבך‬ ‫משמשת‬ )‫להלן‬ ‫מ‬ ‫הטבלה‬‫הסביבתיות‬ ,‫הכלכליות‬ ‫ההשפעות‬ ‫ואת‬ ‫הממשלתיים‬ ‫היעדים‬ ‫השגת‬ ‫את‬ ‫סכמת‬ ‫ההערכה‬ ‫טבלת‬ ‫של‬ ‫מטרתה‬ .‫המוצע‬ ‫התחבורתי‬ ‫בפתרון‬ ‫ביטוי‬ ‫לידי‬ ‫הבאות‬ ‫והחברתיות‬ .‫ההחלטות‬ ‫מקבלי‬ ‫בידי‬ ‫ומתומצת‬ ‫מרוכז‬ ‫מידע‬ ‫לספק‬ ‫המסכמת‬ ‫את‬ ‫תמציתי‬ ‫באופן‬ ‫מציגה‬ ‫היא‬ .‫חלופה‬ ‫כל‬ ‫עבור‬ ‫מופקת‬ ‫המסכמת‬ ‫ההערכה‬ ‫טבלת‬ ‫חשיב‬‫הממשלתיים‬ ‫היעדים‬ ‫בחמשת‬ ‫בהתחשב‬ ,‫בבעיה‬ ‫טיפולה‬ ‫אופן‬ ‫את‬ ‫ותה‬- ( ‫המקיפות‬ ‫ההשפעות‬ ‫ואת‬ ,‫ושילוב‬ ‫נגישות‬ ,‫כלכלה‬ ,‫בטחון‬ ,‫סביבה‬System Wide) ‫והבעיה‬ ‫החלופה‬ ‫של‬ ‫תיאור‬ ‫כוללת‬ ‫טע"מ‬ .‫התחבורתי‬ ‫מהפרוייקט‬ ‫הנובעות‬ ‫ותיאו‬ ,‫שנדחו‬ ‫אחרות‬ ‫חלופות‬ ‫של‬ ‫תיאור‬ ,‫מתמודדת‬ ‫היא‬ ‫איתה‬ ‫התחבורתית‬‫ר‬ ‫הכולל‬ ‫הציבורי‬ ‫התקציב‬ ‫על‬ ‫ההשפעה‬ ‫את‬ ‫מסכמת‬ ‫היא‬ .‫מביאה‬ ‫שהיא‬ ‫השיפור‬ ‫הערך‬ ‫ואת‬ ‫ואת‬ ,‫הפעלה‬ ‫עלויות‬ ,‫תחזוקה‬ ‫עלויות‬ ,‫סובסידיות‬ ,‫השקעה‬ ‫עלויות‬ ‫אחד‬ ‫כי‬ ‫נמצא‬ ‫כאשר‬ ,‫אולם‬ .‫פרטני‬ ‫באופן‬ ‫אלמנט‬ ‫כל‬ ‫בודקת‬ ‫טע"מ‬ .‫הנקי‬ ‫הנוכי‬ ‫השאלה‬ ‫את‬ ‫מציגה‬ ‫היא‬ ‫ניכר‬ ‫שלילי‬ ‫כלכלי‬ ‫לערך‬ ‫גורם‬ ‫האלמנטים‬‫מקום‬ ‫יש‬ ‫האם‬ .‫בחלופה‬ ‫האלמנטים‬ ‫שאר‬ ‫בניתוח‬ ‫להמשיך‬ .‫הכספית‬ ‫להשקעה‬ ‫יחסית‬ ‫החלופה‬ ‫של‬ ‫הכולל‬ ‫הערך‬ ‫הצגת‬ ‫לצורך‬ ‫משמשת‬ ‫טע"מ‬ ‫רק‬ ‫ולא‬ ,‫כאחד‬ ‫וכמותיות‬ ‫איכותיות‬ ,‫ההשפעות‬ ‫כל‬ ‫בחשבון‬ ‫נלקחות‬ ‫זו‬ ‫במסגרת‬ ‫בחלופה‬ ‫הטמונות‬ ‫והתועלות‬ ‫העלויות‬ ‫כל‬ ‫את‬ ‫מציגה‬ ‫טע"מ‬ .‫המוניטריות‬ ‫ההשפעות‬ ‫בערכים‬( ‫אורדינלית‬ ‫בסקאלה‬ ‫או‬ ‫כמותיים‬ ‫בערכים‬ ,‫מוניטריים‬1-7.) .‫והחסרונות‬ ‫היתרונות‬ ‫מאזן‬ ‫של‬ ‫תמונה‬ ‫ההחלטות‬ ‫מקבל‬ ‫בפני‬ ‫מציגה‬ ‫טע"מ‬ ‫מקבלי‬ ‫של‬ ‫דעת‬ ‫ושיקול‬ ‫משיפוט‬ ‫ומתקבלת‬ ‫סובייקטיבית‬ ‫הינה‬ ‫החלופה‬ ‫הבחירה‬ .‫ולהשפעותיהם‬ ‫השונים‬ ‫לגורמים‬ ‫מיחסים‬ ‫שהם‬ ‫החשיבות‬ ‫על‬ ‫בהתבסס‬ ,‫ההחלטות‬ 2.‫הערכ‬‫ומקומיים‬ ‫אזוריים‬ ‫יעדים‬ ‫של‬ ‫השגתם‬ ‫מידת‬ ‫של‬ ‫ה‬–‫זו‬ ‫הערכה‬ ‫לצורך‬ ‫בטבלת‬ ‫המופיעים‬ ‫לאלה‬ ‫הדומים‬ ‫באינדיקטורים‬ ‫ההערכה‬ ‫לצורך‬ ‫להשתמש‬ ‫מומלץ‬ ( ‫המסכמת‬ ‫ההערכה‬AST.) 3.‫שהושגה‬ ‫השיפור‬ ‫מידת‬ ‫של‬ ‫הערכה‬–,‫בעיות‬ ‫לזיהוי‬ ‫בגישות‬ ‫עוסק‬ ‫זה‬ ‫חלק‬ ‫הבעיו‬ ‫לפתרון‬ ‫השונות‬ ‫החלופות‬ ‫של‬ ‫היעילות‬ ‫ובבחינת‬.‫ת‬
  • 21.
    19 4.‫תומכים‬ ‫ניתוחים‬: •‫והגינות‬ ‫פיזור‬–‫שבהתפלגותן‬‫ההגינות‬ ‫והערכת‬ ‫ההשפעות‬ ‫פיזור‬ ‫אופן‬ ‫בדיקת‬ :‫לדוגמא‬ -‫פיזור‬‫אויר‬ ‫וזיהום‬ ‫רעש‬ ‫כגון‬ ‫השפעות‬ ‫של‬ ‫גיאוגרפי‬ -‫נגישות‬‫התחבורה‬ ‫למערכת‬ -‫השפעות‬‫כלכליות‬ •‫פיננסית‬ ‫נשיאה‬ ‫יכולת‬-(AFS - Affordability & Financial Sustainability)–‫ט‬‫בלת‬AFS‫טבלה‬ ‫(ראה‬2,)‫להלן‬‫את‬ ‫מציגה‬‫הביצועים‬ ‫הפיננסים‬‫ואת‬‫ה‬‫חלופה‬ ‫בכל‬ ‫והציבורי‬ ‫הפרטי‬ ‫הסקטור‬ ‫של‬ ‫תרומה‬‫הטבלה‬ . ‫תחבורתיים‬ ‫ספקים‬ ‫ועל‬ ‫הציבורי‬ ‫התקציב‬ ‫על‬ ‫הפיננסית‬ ‫ההשפעה‬ ‫את‬ ‫מסכמת‬ .‫הפרטי‬ ‫בסקטור‬ ‫שישקפו‬ ‫כך‬ )‫שינויים‬ ‫(מינימום‬ ‫מוסכמת‬ ‫אפס‬ ‫לחלופת‬ ‫ביחס‬ ‫נמדדות‬ ‫ההשפעות‬ ‫שינו‬‫השקעה‬ ‫עלויות‬ :‫כוללים‬ ‫בטבלה‬ ‫הערכים‬ .‫ובתקבולים‬ ‫בעלויות‬ ‫יים‬ ‫בין‬ ‫הפיננסיות‬ ‫ההעברות‬ ‫ואת‬ ‫ובתקבולים‬ ‫הפעלה‬ ‫בהוצאות‬ ‫שינויים‬ ,‫בחלופה‬ ‫תזרים‬ ‫במונחי‬ ‫מופיעות‬ ‫העלויות‬ .‫הציבורי‬ ‫הסקטור‬ ‫לבין‬ ‫הפרטי‬ ‫הסקטור‬ ‫יכולת‬ ‫של‬ ‫בהקשר‬ ‫המפתח‬ ‫שאלת‬ .)‫העתידי‬ ‫האינפלציה‬ ‫שיעור‬ ‫(כולל‬ ‫מזומנים‬ ‫נשיאה‬‫והאם‬ ,‫פיננסית‬ ‫מבחינה‬ ‫עצמאית‬ ‫הינה‬ ‫תוכנית‬ ‫איזו‬ ‫היא‬ ‫פיננסית‬ ‫נושאת‬ ‫לא‬ ‫והתוכנית‬ ‫במידה‬ .‫וההפעלה‬ ‫ההשקעה‬ ‫הוצאות‬ ‫את‬ ‫מכסות‬ ‫ההכנסות‬ .‫הפועל‬ ‫אל‬ ‫להוציאה‬ ‫כדי‬ ‫הנדרשת‬ ‫הסובסידיה‬ ‫גודל‬ ‫מה‬ ‫השאלה‬ ‫נשאלת‬ ‫עצמה‬ •‫ציבורית‬ ‫וקבלה‬ ‫ישימות‬-‫אזור‬ ,‫ישימות‬ ‫כגון‬ ‫מדדים‬ ‫הכוללת‬ ‫רשימה‬ ‫ההתייח‬‫אופי‬ ,‫קונפליקטים‬ ,‫השלמה‬ ,‫שלביות‬ ,‫מורכבות‬ ,‫זמן‬ ‫מרכיבי‬ ,‫סות‬ .'‫וכו‬ ‫פוליטי‬ ‫הסופי‬ ‫ההערכה‬ ‫תהליך‬ ‫סיכום‬ ‫ניירות‬ ‫לשבעה‬ ‫עד‬ ‫ההערכה‬ ‫תהליך‬ ‫בסוף‬ ‫מוכנים‬ ‫תכנונית‬ ‫חלופה‬ ‫או‬ ‫אסטרטגיה‬ ‫כל‬ ‫עבור‬ :‫כוללים‬ ‫הם‬ .‫ההערכה‬ ‫תהליך‬ ‫של‬ ‫שונים‬ ‫אספקטים‬ ‫המסכמים‬ •‫החלו‬ ‫את‬ ‫או‬ ‫האסטרטגיה‬ ‫את‬ ‫המתארת‬ ‫מפה‬‫פה‬ •‫שנדחו‬ ‫לכך‬ ‫והסיבה‬ ‫שנשקלו‬ ‫האלטרנטיבות‬ ‫רשימת‬ •( ‫מסכמת‬ ‫הערכה‬ ‫טבלת‬AST) •‫והאזוריים‬ ‫המקומיים‬ ‫היעדים‬ ‫השגת‬ ‫סיכום‬ •‫האפס‬ ‫לחלופת‬ ‫ביחס‬ ‫הבעיות‬ ‫בהיקף‬ ‫השינויים‬ ‫את‬ ‫המציגה‬ ‫מפה‬ •‫התומכים‬ ‫בניתוחים‬ ‫שעלו‬ ‫העיקריות‬ ‫הנקודות‬ ‫של‬ ‫סיכום‬ •‫ב‬ ‫משנה‬ ‫מטרת‬ ‫לכל‬ ‫ביחס‬ ‫מסמכים‬ ‫יוכנו‬ ‫בנוסף‬-AST
  • 22.
  • 23.
    21 ‫תיאור‬‫בעיות‬ ‫עלויות‬ ‫של‬ ‫נוכחי‬‫ערך‬ )₪ ‫מיליוני‬ ( ‫הציבורי‬ ‫התקציב‬ ‫מטרות‬‫משנה‬ ‫מטרות‬‫איכותיות‬ ‫השפעות‬‫כמותיות‬ ‫השפעות‬‫הערכה‬ ‫רעש‬‫נטו‬ ‫אוכלוסייה‬ ‫של‬ ‫הפסד‬ /‫תוספת‬ ‫מקומית‬ ‫אוויר‬ ‫איכות‬‫באוויר‬ ‫המזהמים‬ ‫ריכוז‬ ‫חממה‬ ‫גזי‬)CO2( ‫חמצני‬ ‫דו‬ ‫פחמן‬ ‫נופית‬ ‫השפעה‬‫ציון‬ ‫עירוני‬ ‫עיצוב‬‫ציון‬ ‫היסטוריים‬‫אתרים‬ ‫שימור‬‫ציון‬ ‫חיים‬ ‫צורות‬ ‫מגוון‬‫ציון‬ ‫מים‬‫ציון‬ ‫פיסית‬ ‫התאמה‬‫ציון‬ ‫הנסיעה‬ ‫סביבת‬‫ציון‬ ‫דרכים‬ ‫תאונות‬)₪ ‫(מיליוני‬ ‫תועלות‬ ‫של‬ ‫נוכחי‬ ‫ערך‬ ‫בטחון‬‫ציון‬ ‫הציבורי‬ ‫התקציב‬‫מקומית‬ ‫רשות‬ ‫ושל‬ ‫הממשלה‬ ‫של‬ ‫ע‬ "‫ענ‬)₪ ‫(מיליוני‬ ‫עלויות‬ ‫של‬ ‫נוכחי‬ ‫ערך‬ ‫משתמשים‬ :‫יעילה‬ ‫תחבורה‬ ‫כלכלת‬ ‫תחבורה‬ ‫ספקי‬ & ‫עסקיים‬ ‫תחבורה‬ ‫ספקי‬ ,‫משתמשים‬ ‫של‬ ‫ת‬ "‫ענ‬ ‫ואחרים‬ )₪ ‫(מיליוני‬ ‫תועלות‬ ‫של‬ ‫נוכחי‬ ‫ערך‬ ‫צרכנים‬ :‫יעילה‬ ‫תחבורה‬ ‫כלכלת‬‫המשתמשים‬ ‫של‬ ‫ת‬ "‫ענ‬)₪ ‫(מיליוני‬ ‫תועלות‬ ‫של‬ ‫נוכחי‬ ‫ערך‬ ‫אמינות‬‫ציון‬ ‫נרחבות‬ ‫כלכליות‬ ‫השפעות‬‫ציון‬ ‫אופציונלי‬ ‫ערך‬)₪ ‫(מיליוני‬ ‫תועלות‬ ‫של‬ ‫נוכחי‬ ‫ערך‬ ‫מוטורית‬ ‫לא‬ ‫לתנועה‬ ‫הפרעות‬‫ציון‬ ‫תחבורה‬ ‫למערכת‬ ‫נגישות‬‫ציון‬ ‫אמצעים‬ ‫בין‬ ‫מעבר‬‫ציון‬ ‫הקרקע‬‫שימושי‬ ‫מדיניות‬‫ציון‬ ‫אחרת‬ ‫ממשלתית‬ ‫מדיניות‬‫ציון‬ ‫הגדרות‬ ‫עלויות‬ ‫של‬ ‫נוכחי‬ ‫ערך‬ - ‫ענ"ע‬ ‫תועלות‬ ‫של‬ ‫נוכחי‬ ‫ערך‬ - ‫ענ"ת‬ ‫חלופה‬ ‫נגישות‬ ‫שילוב‬ ‫סביבה‬ ‫בטיחות‬ ‫כלכלה‬ ‫טב‬‫לה‬1( ‫מסכמת‬ ‫הערכה‬ ‫טבלת‬ .AST)
  • 24.
    22 ‫טבלה‬2( ‫פיננסית‬ ‫נשיאה‬‫יכולת‬ .AFS) ‫עלויות‬)‫מהוון‬ ‫לא‬( ‫סה"כ‬ ‫השקעה‬ ‫עלויות‬‫מקומיים‬ ‫כבישים‬‫אחר‬ I ‫שנה‬ II ‫שנה‬ III ‫שנה‬ IV ‫שנה‬ V ‫שנה‬ ‫סה"כ‬(1) ‫ואחרות‬ ‫היזם‬ ‫תרומות‬(2) ‫מהממשלה‬ ‫העברות‬(3) ‫הפרטי‬ ‫לסקטור‬ ‫העברות‬(4) ‫העברות‬ ‫ללא‬ ‫המקומית‬ ‫לרשות‬ ‫עלויות‬(5)=(1)+(4)-(2)-(3) ‫הציבורי‬ ‫הסקטור‬ ‫תפעול‬ 1 ‫שנה‬‫מקומיים‬ ‫כבישים‬‫אחר‬ ‫המפעיל‬ ‫בהוצאות‬ ‫שינויים‬(6) ‫המפעיל‬ ‫בתקבולי‬ ‫שינויים‬(7) )‫(נטו‬ ‫נקייה‬ ‫השפעה‬(8)=(7)-(6) 5 ‫שנה‬ ‫המפעיל‬ ‫בהוצאות‬ ‫שינויים‬(9) ‫המפעיל‬ ‫בתקבולי‬ ‫שינויים‬(10) )‫(נטו‬ ‫נקייה‬ ‫השפעה‬(11)=(10)-(9) 10 ‫שנה‬ ‫המפעיל‬ ‫בהוצאות‬ ‫שינויים‬(11) ‫המפעיל‬ ‫בתקבולי‬ ‫שינויים‬(12) )‫(נטו‬ ‫נקייה‬ ‫השפעה‬(14)=(13)-(12) ‫המקומית‬ ‫הרשות‬ ‫של‬ ‫קיימא‬ ‫בת‬ ‫פיננסית‬ ‫יכולת‬ ‫ארגון/תקציב‬ ‫לפי‬ ‫סיווג‬ ‫קלה‬ ‫רכבת‬ ‫ארגון/תקציב‬ ‫לפי‬ ‫סיווג‬ ‫קלה‬ ‫רכבת‬
  • 25.
    23 ‫עלויות‬)‫מהוון‬ ‫לא‬( ‫סה"כ‬ ‫השקעה‬‫עלויות‬‫כבישים‬ ‫רשות‬‫רכבות‬ ‫רשות‬1 ‫אחר‬2 ‫אחר‬ I ‫שנה‬ II ‫שנה‬ III ‫שנה‬ IV ‫שנה‬ V ‫שנה‬ ‫סה"כ‬(15) ‫ואחרות‬ ‫היזם‬ ‫תרומות‬(16) ‫המקומית‬ ‫לרשות‬ ‫העברות‬(17) ‫הפרטי‬ ‫לסקטור‬ ‫העבורת‬(18) ‫עקיפים‬ ‫ממיסים‬ ‫תקבולים‬(19) )‫העברות‬ ‫כולל‬ ( ‫הממשלה‬ ‫עלויות‬(20)=(15)+(17)+(18)-(16)-(19) ‫תפעול‬ 1 ‫שנה‬‫כבישים‬ ‫רשות‬‫רכבות‬ ‫רשות‬1 ‫אחר‬2 ‫אחר‬ ‫המפעיל‬ ‫בהוצאות‬ ‫שינויים‬(21) ‫המפעיל‬ ‫בתקבולי‬ ‫שינויים‬(22) )‫(נטו‬ ‫נקייה‬ ‫השפעה‬(23)=(21)-(20) 5 ‫שנה‬ ‫המפעיל‬ ‫בהוצאות‬ ‫שינויים‬(24) ‫המפעיל‬ ‫בתקבולי‬ ‫שינויים‬(25) )‫(נטו‬ ‫נקייה‬ ‫השפעה‬(26)=(24)-(23) 10 ‫שנה‬ ‫המפעיל‬ ‫בהוצאות‬ ‫שינויים‬(26) ‫המפעיל‬ ‫בתקבולי‬ ‫שינויים‬(27) )‫(נטו‬ ‫נקייה‬ ‫השפעה‬(29)=(28)-(27) ‫הממשלה‬ ‫של‬ ‫קיימא‬ ‫בת‬ ‫פיננסית‬ ‫יכולת‬ ‫ארגון/תקציב‬ ‫לפי‬ ‫סיווג‬ ‫ארגון/תקציב‬ ‫לפי‬ ‫סיווג‬ ‫טבלה‬2‫המשך‬ .
  • 26.
    24 ‫הפרטי‬ ‫בסקטור‬ ‫והעברות‬‫השקעה‬ ‫עלויות‬)‫מהוון‬ ‫(לא‬ ‫סה"כ‬ ‫השקעה‬ ‫עלויות‬1 ‫רכבת‬ ‫תוואי‬2 ‫רכבת‬ ‫תוואי‬ ‫פרוזדור‬ 1 ‫אוטובוס‬ ‫פרוזדור‬ 2 ‫אוטובוס‬ ‫מטענים‬ ‫רכבת‬‫אחר‬ I ‫שנה‬ II ‫שנה‬ III ‫שנה‬ IV ‫שנה‬ V ‫שנה‬ ‫סה"כ‬(30) ‫מקומית‬ ‫ומרשות‬ ‫מהממשלה‬ ‫העברות‬(31) ‫הפרטי‬ ‫בסקטור‬ ‫מפעילים‬ 1 ‫שנה‬ 1 ‫רכבת‬ ‫תוואי‬2 ‫רכבת‬ ‫תוואי‬ ‫פרוזדור‬ 1 ‫אוטובוס‬ ‫פרוזדור‬ 2 ‫אוטובוס‬ ‫מטענים‬ ‫רכבת‬‫אחר‬ ‫המפעיל‬ ‫בהוצאות‬ ‫שינויים‬(32) ‫המפעיל‬ ‫בתקבולי‬ ‫שינויים‬(33) )‫(נטו‬ ‫נקייה‬ ‫השפעה‬(34)=(33)-(32) ‫סובסידיה‬(35) 5 ‫שנה‬ ‫המפעיל‬ ‫בהוצאות‬ ‫שינויים‬(36) ‫המפעיל‬ ‫בתקבולי‬ ‫שינויים‬(37) )‫(נטו‬ ‫נקייה‬ ‫השפעה‬(38)=(37)-(36) ‫סובסידיה‬(39) 10 ‫שנה‬ ‫המפעיל‬ ‫בהוצאות‬ ‫שינויים‬(40) ‫המפעיל‬ ‫בתקבולי‬ ‫שינויים‬(41) )‫(נטו‬ ‫נקייה‬ ‫השפעה‬(42)=(41)-(40) ‫סובסידיה‬(43) ‫הפרטי‬ ‫הסקטור‬ ‫של‬ )‫(נטו‬ ‫נקיה‬ ‫השפעה‬ ‫הון‬ ‫העברות‬ ‫ללא‬ ,‫נטו‬ ‫השקעות‬=(30)-(31) ‫סובסידיה‬ ‫ללא‬ ,‫נטו‬ ‫הפעלה‬ ‫הוצאות‬ 1 ‫שנה‬=(34)-(35) 5 ‫שנה‬=(38)-(39) 10 ‫שנה‬=(42)-(43) ‫ארגון‬ ‫לפי‬ ‫סיווג‬ ‫ארגון‬ ‫לפי‬ ‫סיווג‬ ‫הפרטי‬ ‫הסקטור‬ ‫של‬ ‫קיימא‬ ‫בת‬ ‫פיננסית‬ ‫יכולת‬ ‫טבלה‬2‫המשך‬ .
  • 27.
    25 3.7( ‫אמצעים‬ ‫רבי‬‫לפרוייקטים‬ ‫דוגמא‬MMS - Multi-Modal Studies) ‫בבריטניה‬ ‫בשנת‬1999‫רבי‬ ‫פרוייקטים‬ ‫ליישום‬ ‫תוכנית‬ ‫באנגליה‬ ‫הושקה‬( ‫אמצעים‬MMS - Multi-Modal Studies.)‫בכבישים‬ ‫חדש‬ ‫בטיפול‬ ‫שעסק‬ ,‫ממשלתי‬ ‫דוח‬ ‫פרסום‬ ‫בעקבות‬ ‫פותחה‬ ‫התוכנית‬ ‫באנגליה‬ ‫הבינעירוניים‬(A New Deal for Trunk Roads)‫ליזום‬ ‫הציע‬ ‫הממשלתי‬ ‫הדוח‬ . ‫כבי‬ ‫של‬ ‫מפתח‬ ‫באזורי‬ ‫שזוהו‬ ‫בעיות‬ ‫עבור‬ ‫קיימא‬ ‫וברי‬ ‫טווח‬ ‫ארוכי‬ ‫פתרונות‬ ‫לפיתוח‬ ‫פרוייקטים‬‫שים‬ .‫ברשת‬ ‫אסטרטגיים‬‫קבעה‬ ,‫כך‬ ‫בעקבות‬‫ו‬‫התחבורה‬ ‫משרד‬ ‫של‬ ‫היגוי‬ ‫ועדת‬‫הבריטי‬21‫בהם‬ ‫אזורים‬ ‫הפתרונות‬‫גיש‬ ‫על‬ ‫יתבססו‬ ‫התחבורתיים‬.‫אמצעים‬ ‫רבת‬ ‫ה‬ ‫הפרוייקטים‬ ‫כל‬ ,‫מכן‬ ‫לאחר‬ .‫היגוי‬ ‫וועדת‬ ‫ומונתה‬ ‫פרטניות‬ ‫דרישות‬ ‫הוגדרו‬ ‫פרוייקט‬ ‫לכל‬ ‫עבור‬ ‫בדר‬ ‫לעמוד‬ ‫נדרשו‬ ‫היועצים‬ ‫כאשר‬ ‫למכרז‬ ‫הוצאו‬‫ה‬ ‫ובדרישות‬ ‫הספציפי‬ ‫המכרז‬ ‫ישות‬-GOMMMS ‫החמורות‬ ‫האסטרטגיות‬ ‫התחבורתיות‬ ‫בבעיות‬ ‫לטפל‬ ‫ייועדו‬ ,‫שנבחרו‬ ,‫האמצעים‬ ‫רבי‬ ‫הפרוייקטים‬ ,‫מעשית‬ .‫אזורית‬ ‫מדיניות‬ ‫של‬ ‫ברמה‬ ‫טיפול‬ ‫והדורשות‬ ‫נרחב‬ ‫אזור‬ ‫פני‬ ‫על‬ ‫המשתרעות‬ ‫בעיות‬ ,‫ביותר‬ ‫חמ‬ ‫בעיות‬ ‫זוהו‬ ‫שבהם‬ ‫אלה‬ ‫היו‬ ‫ליישום‬ ‫שנבחרו‬ ‫הפרוייקטים‬‫לעומת‬ .‫הכבישים‬ ‫ברשת‬ ‫בעיקר‬ ,‫ורות‬ .‫זו‬ ‫פרוייקטים‬ ‫בסדרת‬ ‫נכללו‬ ‫לא‬ ‫המקומית‬ ‫הרמה‬ ‫במסגרת‬ ‫בהן‬ ‫לטפל‬ ‫היה‬ ‫שניתן‬ ‫בעיות‬ ,‫זאת‬ ‫בעוד‬ .‫ליישומם‬ ‫הזמנים‬ ‫ובלוח‬ ‫תקציבם‬ ‫בהיקף‬ ,‫במורכבותם‬ ‫מגוונים‬ ‫היו‬ ‫שנבחרו‬ ‫הפרוייקטים‬ ‫השתנו‬ ‫הטכניות‬ ‫השיטות‬ ,‫זהה‬ ‫היה‬ ‫הפרוייקטים‬ ‫בכל‬ ‫הכללי‬ ‫ההערכה‬ ‫תהליך‬‫לאזור‬ ‫בהתאם‬ ‫נעשה‬ ‫בהם‬ ‫והמודלים‬ ‫הנתונים‬ ,‫הנשקלים‬ ‫הפתרונות‬ ,‫הבעיה‬ ‫סוג‬ ,‫הפרוייקט‬ ‫של‬ ‫הגיאוגרפי‬ .‫שימוש‬ ‫לחקור‬ ‫הייתה‬ ‫האמצעים‬ ‫רבי‬ ‫הפרוייקטים‬ ‫מטרת‬‫בעיות‬‫אחר‬ ‫חיפוש‬ ‫ידי‬ ‫על‬ ‫תחבורתיות‬‫פתרונות‬ ‫שימוש‬ ‫נעשה‬ ‫בהם‬.‫התחבורה‬ ‫אמצעי‬ ‫בכל‬‫שאינה‬ ‫למדיניות‬ ‫גם‬ ‫להתייחס‬ ‫יכלו‬ ‫הפתרונות‬ ‫תחב‬.‫ובריאות‬ ‫חינוך‬ ,‫קרקע‬ ‫שימושי‬ ‫כגון‬ ‫ורתית‬‫תוצרי‬‫חלופות‬ ‫מספר‬ ‫היו‬ ‫הפרוייקטים‬ ‫מייצגת‬ ‫חלופה‬ ‫כל‬ ‫כאשר‬ ,‫הפרוייקט‬ ‫באזור‬ ‫הבעיות‬ ‫פתרון‬ ‫עם‬ ‫המתמודדות‬‫תוכנית‬‫גם‬ ‫ולעיתים‬ ‫אסטרטגיה‬‫תהליך‬ ‫להבטיח‬ ‫מנת‬ ‫על‬ ‫מפורט‬ ‫להיות‬ ‫צריך‬ ‫היה‬ ‫החלופות‬ ‫ניתוח‬ .‫שונה‬ ‫תחבורתית‬ ‫תוצ‬ .‫החלטות‬ ‫קבלת‬ ‫של‬ ‫נכון‬‫האזוריות‬ ‫התכנון‬ ‫רשויות‬ ‫את‬ ‫לשמש‬ ‫אמורות‬ ‫היו‬ ‫הפרוייקטים‬ ‫אות‬ .‫תחבורתיות‬ ‫אסטרטגיות‬ ‫בפיתוח‬ ,‫כאמור‬‫בחשבון‬ ‫לוקחים‬ ‫אשר‬ ,‫מאוזנים‬ ‫פתרונות‬ ‫לספק‬ ‫הייתה‬ ‫האמצעים‬ ‫רבי‬ ‫הפרוייקטים‬ ‫מטרת‬ ‫שבין‬ ‫ההשפעה‬ ‫את‬ ‫וכן‬ ,‫מוטוריים‬ ‫לא‬ ‫אמצעים‬ ‫כולל‬ ,‫התחבורה‬ ‫אמצעי‬ ‫כל‬ ‫שילוב‬ ‫של‬ ‫ההשפעה‬ ‫את‬ ‫התחבור‬.‫הקרקע‬ ‫לשימושי‬ ‫ה‬ :‫כללו‬ ‫שנבדקו‬ ‫התחבורה‬ ‫אמצעי‬ •‫כבישים‬ •‫רכבות‬ ‫רשת‬ •‫אוטובוסים‬ •‫אופניים‬ ‫על‬ ‫רכיבה‬ •‫ברגל‬ ‫הליכה‬ •‫מים‬ ‫נתיבי‬
  • 28.
    26 ‫התחבורה‬ ‫בבעיות‬ ‫לטיפול‬‫שונים‬ ‫תחבורתיים‬ ‫אמצעים‬ ‫של‬ ‫תרומתם‬ ‫את‬ ‫בחנו‬ ‫הפרוייקטים‬ ‫הקשר‬ ‫את‬ ‫בחנו‬ ‫הם‬ ,‫כן‬ ‫כמו‬ .‫שינוי‬ ‫להשגת‬ ‫בהם‬ ‫הטמונה‬ ‫ההזדמנות‬ ‫את‬ ‫ובמיוחד‬‫שימושי‬ ‫בין‬ ‫טווח‬ ‫ארוכי‬ ‫תחבורתיים‬ ‫פתרונות‬ ‫מציאת‬ ‫על‬ ‫היה‬ ‫הדגש‬ .‫התחבורתיות‬ ‫לחלופות‬ ‫העתידיים‬ ‫הקרקע‬ ‫הממשלתיות‬ ‫המטרות‬ ‫חמשת‬ ‫כנגד‬ ‫הוערכו‬ ‫החלופות‬ ‫כאשר‬ ,‫הנבדקים‬ ‫מהאזורים‬ ‫אחד‬ ‫בכל‬ ‫במסגרת‬ ‫שהוגדרו‬NATA.‫ושילוב‬ ‫נגישות‬ ,‫כלכלה‬ ,‫בטיחות‬ ,‫סביבה‬ : ‫בעיקר‬ ‫נבע‬ ‫הפרוייקטים‬ ‫של‬ ‫החידוש‬‫מה‬‫כולל‬ ,‫המוצעים‬ ‫לפתרונות‬ ‫הנוגע‬ ‫בכל‬ ‫המחשבתית‬ ‫פתיחות‬ ( ‫ביקושים‬ ‫ניהול‬Demand Management‫ומשיתוף‬ ,‫הקיבולת‬ ‫והגבלת‬ ‫בתח"צ‬ ‫שיפורים‬ ,) .‫בפרוייקט‬ ‫העניין‬ ‫בעלי‬ ‫של‬ ‫רבה‬ ‫וייצוגיות‬ ‫עבור‬ ‫ההיגוי‬ ‫ועדות‬ ‫של‬ ‫ולהקמתן‬ ‫האמצעים‬ ‫רבי‬ ‫הפרוייקטים‬ ‫לניהול‬ ‫האחראית‬ ‫הייתה‬ ‫הממשלה‬ .‫מהם‬ ‫אחד‬ ‫כל‬‫הפרוייקטים‬ .‫ההיגוי‬ ‫ועדות‬ ‫ידי‬ ‫על‬ ‫ולוו‬ ‫יועצים‬ ‫בעזרת‬ ‫בוצעו‬ ‫עצמם‬ ‫הפרוייקטים‬ .‫המדינה‬ ‫למזכיר‬ ‫המלצותיהן‬ ‫את‬ ‫שהעבירו‬ ,‫האזוריות‬ ‫התכנון‬ ‫לרשויות‬ ‫דווחו‬ ‫תוכנית‬Multi-Modal Studies‫תחבורה‬ ‫לתכנון‬ ‫האנגלית‬ ‫העשור‬ ‫מתוכנית‬ ‫אינטגרלי‬ ‫חלק‬ ‫מהווה‬ The Ten Year Plan).)‫יחד‬‫שבתוכה‬ ‫אסטרטגית‬ ‫מסגרת‬ ‫יצרו‬ ‫הפרוייקטים‬ ‫העשור‬ ‫תוכנית‬ ‫עם‬ ,‫פרוייקט‬ ‫לכל‬ ‫ביחס‬ ‫מסקנותיו‬ ‫על‬ ‫הודיע‬ ‫המדינה‬ ‫שמזכיר‬ ‫לאחר‬ .‫תחבורתיות‬ ‫תוכניות‬ ‫לקדם‬ ‫ניתן‬ .‫האסטרטגיות‬ ‫בתוכניותיהן‬ ‫לשלבם‬ ‫מנת‬ ‫על‬ ‫והתפעול‬ ‫היישום‬ ,‫התכנון‬ ‫לרשויות‬ ‫ההמלצות‬ ‫הועברו‬ ‫ספטמבר‬ ‫שבין‬ ‫בתקופה‬2002‫ליוני‬2003‫של‬ ‫הערכה‬ ‫תהליך‬ ‫התבצע‬ ,,‫באנגליה‬ ‫אמצעית‬ ‫הרב‬ ‫הגישה‬ ‫במסגרת‬21:‫את‬ ‫לבדוק‬ ‫היו‬ ‫התהליך‬ ‫מטרות‬ .‫הנבחרים‬ ‫הפרוייקטים‬ •,‫קיימא‬ ‫ובת‬ ‫משולבת‬ ‫תחבורתית‬ ‫אסטרטגיה‬ ‫לפיתוח‬ ‫התכנון‬ ‫תהליך‬ ‫אפקטיביות‬ ‫ב‬ ‫המוצגת‬ ‫למתודולוגיה‬ ‫בכפיפה‬ ‫המושגת‬-GOMMMS. •‫הטכ‬ ‫הישימות‬ ‫של‬ ‫ההערכה‬ ‫היקף‬.‫הפרוייקטים‬ ‫במסגרת‬ ‫ההמלצות‬ ‫ועלות‬ ‫נית‬ •‫לתמיכה‬ ‫קונצנזוס‬ ‫בהשגת‬ ‫עזר‬ ‫הדבר‬ ‫האם‬ .‫התהליך‬ ‫של‬ ‫ופתיחות‬ ‫שקיפות‬ .‫הפרוייקט‬ ‫בהמלצות‬ •‫דרישות‬ ‫את‬ ‫התואמת‬ ‫אסטרטגיה‬ ‫להכנת‬ ‫הנדרשות‬ ‫הכספיות‬ ‫וההוצאות‬ ‫הזמן‬ ‫משך‬ ‫ה‬–GOMMMS..‫עלויות‬ ‫ולהפחית‬ ‫התהליך‬ ‫את‬ ‫ליעל‬ ‫ניתן‬ ‫האם‬ •‫ה‬.‫העבודה‬ ‫בתהליך‬ ‫שיפור‬ ‫נחוץ‬ ‫בהם‬ ‫תחומים‬ ‫רבי‬ ‫הפרוייקטים‬ ‫את‬ ‫והעריך‬ ‫בדק‬ ‫אשר‬ ‫הצוות‬ ‫של‬ ,‫העיקריות‬ ‫וההמלצות‬ ‫המסקנות‬ ‫להלן‬ :‫האמצעים‬ •,‫למדי‬ ‫טובים‬ ‫תוצריו‬ ‫ואת‬ ‫העבודה‬ ‫תהליך‬ ‫את‬ ‫המגדירים‬ ‫והמפרטים‬ ‫ההוראות‬ ‫של‬ ‫יותר‬ ‫טובה‬ ‫בהגדרה‬ ‫צורך‬ ‫יש‬ ,‫זאת‬ ‫עם‬ .‫המקרים‬ ‫ברוב‬ ‫וברורים‬ ‫ונהירים‬ ‫השי‬.‫המלצותיהם‬ ‫את‬ ‫ליישם‬ ‫כיצד‬ ‫להחליט‬ ‫ויש‬ ,‫הפרוייקטים‬ ‫בתוצרי‬ ‫מוש‬ •.‫והתקציב‬ ‫הזמן‬ ‫ממסגרות‬ ‫גלשו‬ ‫הפרוייקטים‬ ‫רוב‬ ‫כי‬ ‫נמצא‬ ,‫הניהול‬ ‫יעילות‬ ‫מבחינת‬ ,‫התקדמות‬ ‫דוחות‬ :‫כגון‬ ‫במרכיבים‬ ‫שימוש‬ ‫ידי‬ ‫על‬ ‫והתקציב‬ ‫הזמן‬ ‫את‬ ‫לייעל‬ ‫ניתן‬ ‫נמצ‬ .‫וכיוצ"ב‬ ‫ופרוייקטים‬ ‫רשויות‬ ‫בין‬ ‫שת"פ‬ ,‫משובים‬ ‫מערכת‬‫בפרוייקטים‬ ‫כי‬ ‫א‬
  • 29.
    27 ‫יותר‬ ‫טובים‬ ‫היו‬‫וביצועיהם‬ ‫מהלקחים‬ ‫חלק‬ ‫יושמו‬ ,‫יותר‬ ‫מאוחר‬ ‫בשלב‬ ‫שבוצעו‬ .‫והתקציב‬ ‫הזמן‬ ‫למסגרת‬ ‫ביחס‬ •‫השקפה‬ ‫נקודות‬ ‫בהטמעת‬ ‫בייחוד‬ ,‫בפרוייקטים‬ ‫מרכזי‬ ‫תפקיד‬ ‫ההיגוי‬ ‫לוועדות‬ ‫לא‬ ‫מהפרוייקטים‬ ‫בחלק‬ ,‫זאת‬ ‫עם‬ .‫הפרוייקטים‬ ‫במסגרת‬ ‫מקומי‬ ‫וידע‬ ‫מגוונות‬ ‫הו‬ ‫תפקיד‬ ‫הוגדר‬‫יעילות‬ ‫את‬ ‫לשפר‬ ‫מנת‬ ‫על‬ ,‫כן‬ ‫כמו‬ .‫מספיק‬ ‫בהירה‬ ‫בצורה‬ ‫ועדות‬ .‫בהן‬ ‫החברים‬ ‫מספר‬ ‫את‬ ‫ולצמצם‬ ‫להגביל‬ ‫מומלץ‬ ‫בוועדות‬ ‫הפעילות‬ •‫המלצות‬ ‫בפיתוח‬ ,‫השונים‬ ‫לפרוייקטים‬ ‫עניין‬ ‫בעלי‬ ‫ושל‬ ‫הציבור‬ ‫של‬ ‫התרומה‬ ‫ובמסגרת‬ ‫ההיגוי‬ ‫וועדות‬ ‫במסגרת‬ ‫בעיקר‬ ‫משמעותית‬ ‫הייתה‬ ,‫ואסטרטגיות‬ .‫התייחסות‬ ‫קבוצות‬‫את‬ ‫לשתף‬ ‫הניסיון‬ ‫מהמחקרים‬ ‫בחלק‬ ‫כי‬ ‫נמצא‬ ,‫זאת‬ ‫עם‬ ‫יחד‬ .‫גבוהות‬ ‫בעלויות‬ ‫כרוך‬ ‫והיה‬ ‫כלכלי‬ ‫לא‬ ‫היה‬ ‫רחב‬ ‫בהיקף‬ ‫הציבור‬ •‫ה‬ ‫של‬ ‫הערכה‬ ‫מסגרת‬-GOMMMES‫ויישום‬ ,‫למטרתה‬ ‫כמתאימה‬ ‫נמצאה‬ .‫בהצלחה‬ ‫הוכתר‬ ‫הפרוייקטים‬ ‫במסגרת‬ ‫המתודולוגיה‬ •‫בסי‬ ‫מספקת‬ ‫אמצעית‬ ‫הרב‬ ‫הגישה‬ ‫האם‬ ‫לקבוע‬ ‫מכדי‬ ‫מדי‬ ‫מוקדם‬‫לקדם‬ ‫אפקטיבי‬ ‫ס‬ ‫בפרוייקטים‬ ‫עניין‬ ‫בעלי‬ ‫של‬ ‫גבוהה‬ ‫מעורבות‬ ,‫זאת‬ ‫עם‬ ‫יחד‬ .‫פעולות‬ ‫לכדי‬ ‫המלצות‬ ‫במהלך‬ ‫שנוצרו‬ ‫הפעולה‬ ‫משיתופי‬ ‫חלק‬ ,‫בנוסף‬ .‫בתהליך‬ ‫ולסייע‬ ‫להקל‬ ‫אמורה‬ ‫של‬ ‫ההמלצות‬ ‫כי‬ ‫נמצא‬ ,‫כן‬ ‫כמו‬ .‫היישום‬ ‫לשלב‬ ‫במעבר‬ ‫לעזור‬ ‫אמורים‬ ‫הפרוייקט‬ ‫טכנ‬ ‫מבחינה‬ ‫ישימות‬ ‫הינן‬ ‫הפרוייקטים‬ ‫רוב‬‫על‬ ‫מספק‬ ‫דגש‬ ‫הושם‬ ‫לא‬ ‫אולם‬ ,‫ית‬ .‫פיננסית‬ ‫נשיאה‬ ‫ויכולת‬ ‫עלויות‬ ‫בדיקת‬ •‫כי‬ ‫נמצא‬ ‫כלכלית‬ ‫יעילות‬ ‫מבחינת‬ •‫יחסית‬ ‫המתקבל‬ ‫בערך‬ ‫המתבטאת‬ ,‫הפרוייקטים‬ ‫של‬ ‫הכלכלית‬ ‫היעילות‬ ‫מבחינת‬ ‫הכספית‬ ‫להשקעה‬(Value for money)‫הטוענים‬ ‫יש‬ .‫חלוקות‬ ‫הדעות‬ , ‫ארוכת‬ ‫תשתית‬ ‫יוצרים‬ ‫אמצעים‬ ‫רבי‬ ‫שהפרוייקטים‬‫בעיות‬ ‫לפתרון‬ ‫טווח‬ ‫הפיננסיות‬ ‫מהתועלות‬ ‫קטן‬ ‫חלק‬ ‫רק‬ ‫מהוות‬ ‫הפרוייקט‬ ‫עלויות‬ ‫ולכן‬ ,‫תחבורתיות‬ ‫לאותן‬ ‫להגיע‬ ‫ניתן‬ ‫כי‬ ‫אחרים‬ ‫טוענים‬ ,‫לעומתם‬ .‫בעתיד‬ ‫המלצותיו‬ ‫מיישום‬ ‫שיצמחו‬ .‫יותר‬ ‫ומהירות‬ ‫זולות‬ ,‫אחרות‬ ‫בגישות‬ ‫שימוש‬ ‫ידי‬ ‫על‬ ‫והמלצות‬ ‫תוצאות‬ •‫ה‬ ‫הגישה‬ ‫כי‬ ‫מאמין‬ ‫ההערכה‬ ‫צוות‬ ,‫לסיכום‬‫ובעל‬ ‫חשוב‬ ‫נדבך‬ ‫מספקת‬ ‫אמצעית‬ ‫רב‬ ‫בין‬ ‫האיזון‬ ‫את‬ ‫מחפשים‬ ‫גר"א‬ ‫של‬ ‫פרוייקטים‬ .‫ההחלטות‬ ‫קבלת‬ ‫לתהליך‬ ‫מוסף‬ ‫ערך‬ ,‫אזורי‬ ‫תכנון‬ ‫של‬ ‫בקונטקסט‬ ‫ציבורית‬ ‫בתחבורה‬ ‫ושימוש‬ ‫ביקושים‬ ‫ניהול‬ ,‫השקעות‬ ‫מקום‬ ‫בכל‬ ‫ידרשו‬ ‫אמצעים‬ ‫רבי‬ ‫פרוייקטים‬ .‫בעתיד‬ ‫גם‬ ‫אליהם‬ ‫ביקוש‬ ‫יהיה‬ ‫ולכן‬ ‫אינטרקציה‬ ‫תהיה‬ ‫שבו‬‫בהם‬ ‫במקומות‬ ,‫קרקע‬ ‫לשימושי‬ ‫תחבורה‬ ‫בין‬ ‫משמעותית‬ ‫ובמקומות‬ ,‫חדשות‬ ‫קיבולות‬ ‫של‬ ‫ואספקה‬ ‫ביקושים‬ ‫ניהול‬ ‫בין‬ ‫בחירות‬ ‫לבצע‬ ‫יש‬ ,‫שכאלה‬ ‫במקרים‬ .‫וציבורית‬ ‫פרטית‬ ‫לתחבורה‬ ‫הביקוש‬ ‫בין‬ ‫ניכר‬ ‫שילוב‬ ‫קיים‬ ‫בהם‬ ‫הכללית‬ ‫באסטרטגיה‬ ‫התבוננות‬ ‫ללא‬ ,‫בודד‬ ‫אלמנט‬ ‫בדיקת‬ ‫ידי‬ ‫על‬ ‫תוכניות‬ ‫הערכת‬ ‫ובקו‬.‫ומספקת‬ ‫מתאימה‬ ‫איננה‬ ,‫הרחב‬ ‫נטקסט‬
  • 30.
    28 3.8‫העולמיות‬ ‫והמגמות‬ ‫אמצעים‬‫רבת‬ ‫גישה‬ ‫העיקריות‬ ‫המגמות‬ ‫עם‬ ‫אחד‬ ‫בקנה‬ ‫העולים‬ ‫הבריטית‬ ‫האמצעים‬ ‫רבת‬ ‫בגישה‬ ‫המרכזיים‬ ‫העקרונות‬ :‫כוללות‬ ‫הכלכלית‬ ‫ההערכה‬ ‫בתחום‬ ‫בעולם‬ ‫היום‬ ‫הקיימות‬ •‫יותר‬ ‫גבוהה‬ ‫חברתית‬ ‫מודעות‬–‫לציב‬ ‫התהליך‬ ‫ושקיפות‬ ‫פתיחות‬.‫ור‬ •‫השפעות‬ :‫כגון‬ ‫מגוונות‬ ‫השפעות‬ ‫הכוללת‬ ‫מורכבת‬ ‫בסביבה‬ ‫פועל‬ ‫ההערכה‬ ‫תהליך‬ .‫וסביבתיות‬ ‫כלכליות‬ ,‫חברתיות‬ •‫בשוק‬ ‫תלויות‬ ‫שאינן‬ ‫השפעות‬ ‫מדידת‬ ‫של‬ ‫מגמה‬–‫צמיחה‬ ,‫אזורי‬ ‫פיתוח‬ ,‫נוף‬ ,‫סביבה‬ .‫חברתי‬ ‫וצדק‬ ‫שוויוניות‬ ‫ושיקולי‬ ‫כלכלית‬ •‫כלכליות‬ ‫ותיאוריות‬ ‫גישות‬–‫לש‬ ‫הנכונות‬ ‫תאוריית‬( ‫לם‬Willingness to Pay) ( ‫הצרכן‬ ‫עודף‬ ‫ותיאוריית‬Consumer Surplus) •‫האזורית‬ ,‫הארצית‬ ‫ברמה‬ ‫מעורבת‬ ‫לאחריות‬ ‫ממשלתית‬ ‫מאחריות‬ ‫מעבר‬ .‫והמקומית‬ •.‫והפרטי‬ ‫הציבורי‬ ‫הסקטור‬ ‫בין‬ ‫יותר‬ ‫נרחב‬ ‫פעולה‬ ‫שיתוף‬ •‫רשויות‬ ,‫ממשלתיות‬ ‫(רשויות‬ ‫וארגונים‬ ‫גופים‬ ‫של‬ ‫רחב‬ ‫מגוון‬ ‫של‬ ‫מעורבות‬ ‫מוניציפליו‬,‫ירוקים‬ ‫ארגונים‬ ,‫עסקיים‬ ‫גופים‬ ,‫תחבורה‬ ‫מפעילי‬ ,‫תכנון‬ ‫רשויות‬ ,‫ת‬ )'‫וכו‬ ‫הציבור‬ ‫נציגי‬ •‫טכנולוגים‬ ‫בכלים‬ ‫שימוש‬–.‫ההערכה‬ ‫לתהליך‬ ‫תומכות‬ ‫תוכנות‬ ‫פיתוח‬
  • 31.
    29 4‫פר"ת‬ ‫בנוהל‬ ‫ראשוני‬‫לשיפור‬ ‫הצעה‬ . 4.1‫כללי‬ ‫לשי‬ ‫ובאפשרויות‬ ,‫לישראל‬ ‫הרלוונטים‬ ‫הנושאים‬ ‫בבחינת‬ ‫מתמקד‬ ‫העבודה‬ ‫של‬ ‫זה‬ ‫שלב‬‫הגישה‬ ‫לוב‬ ‫הרב‬-.‫החדש‬ ‫פר"ת‬ ‫נוהל‬ ‫במסגרת‬ ‫אמצעית‬‫הראשון‬ ‫בשלב‬ ‫כי‬ ‫מורה‬ ‫והבריטי‬ ‫האמריקאי‬ ‫הניסיון‬ ‫רבת‬ ‫הגישה‬ ‫את‬ ‫גורף‬ ‫באופן‬ ‫לאמץ‬ ‫וצורך‬ ‫אפשרות‬ ‫אין‬ ‫פר"ת‬ ‫נהל‬ ‫עדכון‬ ‫של‬-‫הן‬ ,‫בפועל‬ .‫האמצעים‬ ‫נתקלו‬ ,‫באנגליה‬ ‫והן‬ ‫בארה"ב‬‫רבת‬ ‫הגישה‬ ‫ביישום‬ ‫ניכרים‬ ‫בקשיים‬-‫הספרות‬ ‫סקר‬ .‫האמצעים‬ ‫הראה‬‫להסכמה‬ ‫הגיעו‬ ‫לא‬ ‫התחבורה‬ ‫מתכנני‬ ‫וכי‬ ‫בנושא‬ ‫דיו‬ ‫מיומן‬ ‫היה‬ ‫לא‬ ‫המקצועי‬ ‫הצוות‬ ‫כי‬ ‫רבת‬ ‫תחבורה‬ ‫של‬ ‫לגישה‬ ‫המעבר‬ ‫במסגרת‬ ‫להתמודד‬ ‫יש‬ ‫אתם‬ ‫והבעיות‬ ‫הנושאים‬ ‫אודות‬-.‫אמצעים‬ ‫התחבורתיים‬ ‫והמודלים‬ ‫התהליכים‬ ‫את‬ ‫ולשנות‬ ‫להתאים‬ ‫יש‬ ‫כיצד‬ ‫ברור‬ ‫היה‬ ‫לא‬ ‫וכי‬ ,‫בנוסף‬ ‫בגיש‬ ‫שיתמכו‬ ‫כדי‬ ‫המסורתיים‬.‫התחבורה‬ ‫אמצעי‬ ‫כל‬ ‫את‬ ‫המשלבת‬ ‫תכנונית‬ ‫ה‬ ‫מהנוהל‬ )‫מסכמות‬ ‫טבלאות‬ ‫(בעיקר‬ ‫מרכיבים‬ ‫לאמץ‬ ‫מומלץ‬ ‫פר"ת‬ ‫נוהל‬ ‫עדכון‬ ‫של‬ ‫הראשון‬ ‫בשלב‬ ‫שניתן‬ ‫אותן‬ ‫מסכמות‬ ‫בטבלאות‬ ‫בעיקר‬ ‫מדובר‬ .‫לישראל‬ ‫הנדרשות‬ ‫וההתאמות‬ ‫ביצוע‬ ‫תוך‬ ,‫הבריטי‬ ‫דווקא‬ ‫לאו‬ .‫פר"ת‬ ‫נוהל‬ ‫העובר‬ ‫תחבורתי‬ ‫פרוייקט‬ ‫כל‬ ‫עבור‬ ‫ליישם‬‫רבי‬ ‫פרוייקטים‬-.‫אמצעים‬ 4.2‫ראשוניות‬ ‫המלצות‬ ‫מומלץ‬ ,‫הראשון‬ ‫בשלב‬:‫הבא‬ ‫באופן‬ ‫פר"ת‬ ‫בנוהל‬ ‫ולשלבם‬ ‫הבריטי‬ ‫מהנוהל‬ ‫מרכיבים‬ ‫מספר‬ ‫לאמץ‬ 4.2.1‫הממשלה‬ ‫של‬ ‫על‬ ‫מטרות‬ ‫קביעת‬ ‫מטרות‬ ‫המרכזית‬ ‫הממשלה‬ ‫ידי‬ ‫על‬ ‫הוגדרו‬ ‫באנגליה‬ ‫וגם‬ ‫בארה"ב‬ ‫גם‬ ,‫הספרות‬ ‫מסקר‬ ‫שעולה‬ ‫כפי‬- ‫הוגדר‬ ‫בארה"ב‬ .‫על‬‫ו‬7‫מטרות‬-‫וניצול‬ ‫יעילות‬ ‫שילוב‬ ,‫סביבה‬ ,‫נגישות‬ ,‫בטיחות‬ ,‫כלכלית‬ ‫צמיחה‬ ‫ובאנגליה‬ ,‫מיטבי‬5‫מטרות‬-‫מאפיינות‬ ‫אלה‬ ‫מטרות‬ .‫ושילוב‬ ‫נגישות‬ ,‫כלכלה‬ ,‫בטיחות‬ ,‫סביבה‬ ‫בר‬ ‫פיתוח‬ ‫של‬ ‫מדיניות‬-‫מטרות‬ ‫של‬ ‫קביעתן‬ ‫על‬ ‫ממליצים‬ ‫אנו‬ ,‫זו‬ ‫ברוח‬ .‫קיימא‬-,‫הממשלה‬ ‫ידי‬ ‫על‬ ‫הערכ‬ ‫תהליך‬ ‫יתבצע‬ ‫שלאורן‬‫וקיים‬ ‫מאחר‬ .‫השונים‬ ‫בפרוייקטים‬ ‫החלופות‬ ‫של‬ ‫ביצועיהן‬ ‫ויבדקו‬ ‫ה‬ ‫וכנקודת‬ ‫כבסיס‬ ‫בהן‬ ‫להשתמש‬ ‫ממליצים‬ ‫אנו‬ ,‫והבריטיות‬ ‫האמריקאיות‬ ‫המטרות‬ ‫בין‬ ‫רב‬ ‫דמיון‬ ‫מטרות‬ ‫של‬ ‫הגדרה‬ ‫בעת‬ ‫התייחסות‬-.‫בישראל‬ ‫הממשלה‬ ‫של‬ ‫העל‬ 4.2.2‫המקומית‬ ‫ברמה‬ ‫מטרות‬ ‫קביעת‬ ‫יוגד‬ ‫תחבורתי‬ ‫פרוייקט‬ ‫כל‬ ‫שעבור‬ ‫מומלץ‬‫הרשויות‬ ‫ידי‬ ‫על‬ ‫שיקבעו‬ ,‫מקומיות‬ ‫מטרות‬ ‫רו‬ ‫יקבעו‬ ‫המקומיות‬ ‫המטרות‬ .‫הפרוייקט‬ ‫מתבצע‬ ‫הגיאוגרפי‬ ‫שבשטחן‬ ‫המוניציפליות/האזוריות‬ ‫ייבחן‬ ‫פרוייקט‬ ‫כל‬ ,‫דבר‬ ‫של‬ ‫שבסופו‬ ‫כך‬ .‫מהמפרוייקטים‬ ‫אחד‬ ‫כל‬ ‫עבור‬ ,‫תלוי‬ ‫ובלתי‬ ‫פרטני‬ ‫באופן‬ ‫המ‬ ‫של‬ ‫העל‬ ‫מטרות‬ :‫מטרות‬ ‫של‬ ‫סטים‬ ‫לשני‬ ‫ביחס‬ ‫ההערכה‬ ‫בתהליך‬.‫המקומיות‬ ‫והמטרות‬ ‫משלה‬ 4.2.3)‫(טע"מ‬ ‫מסכמות‬ ‫הערכה‬ ‫בטבלאות‬ ‫שימוש‬ ‫ההנחיות‬ ‫מסמך‬ ‫מתוך‬ ‫מסכמות‬ ‫טבלאות‬ ‫של‬ ‫סט‬ ‫לאמץ‬ ‫היא‬ ‫זו‬ ‫עבודה‬ ‫של‬ ‫העיקרית‬ ‫ההמלצה‬ ‫ה‬ .‫הבריטי‬ ‫תחבורתי‬ ‫לניתוח‬-TAG‫הינו‬‫מסמך‬‫בתהליך‬ ‫השלבים‬ ‫כל‬ ‫את‬ ‫ביסודיות‬ ‫המתאר‬ ‫תיאור‬ ‫במסגרת‬ .‫האמצעים‬ ‫רבת‬ ‫הגישה‬ ‫לפי‬ ‫העבודה‬‫ה‬ ‫כולל‬ ‫ההערכה‬ ‫תהליך‬-TAG‫יחידות‬
  • 32.
    30 ‫טבלה‬ ‫(ראה‬ ‫המסכמת‬‫הערכה‬ ‫בטבלת‬ ‫המופיעים‬ ‫המשנה‬ ‫מיעדי‬ ‫אחד‬ ‫לכל‬ ‫המתייחסות‬ ‫מפורטות‬1 ‫ב‬ ‫המוצגות‬ ‫הטבלאות‬ ‫מגוון‬ ‫מתוך‬ .‫מדידתם‬ ‫ולדרכי‬ )‫להלן‬-TAG‫את‬ ‫בעיקר‬ ‫לאמץ‬ ‫מומלץ‬ ‫בשל‬ .‫האמצעים‬ ‫רבת‬ ‫הגישה‬ ‫של‬ ‫והפיננסים‬ ‫הכלכליים‬ ‫לאספקטים‬ ‫המתייחסות‬ ‫הטבלאות‬,‫זה‬ ‫ב‬ ‫ב‬ ‫מופיעות‬ ‫שהן‬ ‫כפי‬ ,‫הטבלאות‬ ‫של‬ ‫הכללי‬ ‫המבנה‬ ‫את‬ ‫מציגים‬ ‫אנו‬-TAG‫הטמעתן‬ ‫לקראת‬ . ‫ההתאמות‬ ‫יתבצעו‬ ,‫הפרוייקט‬ ‫של‬ ‫ההיגוי‬ ‫צוות‬ ‫עם‬ ‫ובהתייעצות‬ ‫בשיתוף‬ ,‫פר"ת‬ ‫נוהל‬ ‫בעידכון‬ .‫פר"ת‬ ‫לנוהל‬ ‫הסופיות‬ :‫הינן‬ ‫פר"ת‬ ‫בנהול‬ ‫לשלב‬ ‫ממליצים‬ ‫אנו‬ ‫אותן‬ ‫המסכמות‬ ‫הטבלאות‬ •‫ביקורת‬ ‫רשימת‬(Checklist)–‫לספק‬ ‫שיש‬ ‫המרכיבים‬ ‫כל‬ ‫את‬ ‫הכוללת‬ ‫רשימה‬ .‫התחבורה‬ ‫למשרד‬ ‫הגשה‬ ‫בכל‬‫את‬ ‫כוללים‬ ‫הטבלה‬ ‫מרכיבי‬,‫הפרוייקט‬ ‫תאור‬ : ‫ניתוחי‬ ,‫תחבורתיים‬ ‫מודלים‬ ,‫תועלת‬ ‫עלות‬ ‫ניתוח‬ ,‫סיכונים‬ ‫ניתוח‬ ,‫ההערכה‬ ‫תהליך‬ .‫והערכה‬ ‫לניטור‬ ‫ותכניות‬ ‫רגישות‬ •( ‫מסכמת‬ ‫הערכה‬ ‫טבלת‬AST)–‫טבלה‬ ‫ראה‬1‫סעיף‬ ,6.23..‫להלן‬‫הטבלה‬ ‫מרכיבי‬ ‫את‬ ‫כוללים‬‫ומדד‬ ‫כמותית‬ ‫הערכה‬ ,‫איכותית‬ ‫הערכה‬ ,‫המשנה‬ ‫מטרות‬ ,‫המטרות‬ : .‫להערכה‬ •( ‫פיננסית‬ ‫נשיאה‬ ‫יכולת‬AFS)–‫טבלה‬ ‫ראה‬2‫סעיף‬ ,3.6.2‫נשיאה‬ ‫יכולת‬ .‫להלן‬ ‫רשויות‬ ‫עבור‬ ‫טבלה‬ ,‫הממשלה‬ ‫עבור‬ ‫טבלה‬ :‫טבלאות‬ ‫משלוש‬ ‫מורכבת‬ ‫פיננסית‬ ‫ה‬ ‫הסקטור‬ ‫עבור‬ ‫וטבלה‬ ‫מקומיות‬.‫פרטי‬‫מרכיבי‬ ‫כוללת‬ ‫הטבלה‬,‫היזם‬ ‫(מימון‬ ‫עלות‬ : ,‫הפעלה‬ ‫בהוצאות‬ ‫(שינוי‬ ‫ותפעול‬ )‫נקייה‬ ‫ועלות‬ ‫עקיפים‬ ‫ממיסים‬ ‫הכנסות‬ ,‫העברות‬ ,‫ועשירית‬ ‫חמישית‬ ,‫ראשונה‬ ‫שנה‬ ‫עבור‬ )‫סובסידיה‬ ,‫מהמשתמשים‬ ‫בתקבולים‬ ‫שינוי‬ .‫תוואי‬ ‫ו/או‬ ‫אמצעי‬ ‫לפי‬ ‫הכל‬ ‫וסך‬ ‫נקייה‬ ‫השפעה‬ •‫התחבו‬ ‫מערכת‬ ‫של‬ ‫כלכלית‬ ‫יעילות‬( ‫רה‬TEE)-‫את‬ ‫ולהציג‬ ‫לסכם‬ ‫הטבלה‬ ‫מטרת‬ ‫קבוצות‬ ‫לפי‬ ‫הנקיות‬ ‫התועלות‬ ‫את‬ ‫מציגה‬ ‫הטבלה‬ .‫התחבורה‬ ‫למשתמשי‬ ‫התועלות‬ ‫והשפעה‬ ‫אמצעי‬ ‫לפי‬ ,)‫שני‬ ‫מצד‬ ,‫מפעילים‬ ‫כולל‬ ,‫העסקי‬ ‫והצד‬ ‫אחד‬ ‫מצד‬ ‫(צרכנים‬ ‫את‬ ‫מצרפת‬ ‫הטבלה‬ .‫מוניטרית‬ ‫מבוטאות‬ ‫ההשפעות‬ ‫רוב‬ .)'‫וכו‬ ‫הפעלה‬ ‫הוצאות‬ ,‫(זמן‬ ‫עבור‬ ‫התוצאות‬‫טבלת‬ .‫המסכמת‬ ‫ההערכה‬ ‫טבלת‬ ‫של‬ ‫קלט‬ ‫ומהווה‬ ‫קבוצה‬ ‫כל‬TEE ‫ה‬ ‫עם‬ ‫ובצירוף‬ ,‫חלופה‬ ‫כל‬ ‫עבור‬ ‫ממלאים‬-AST‫השינוי‬ ‫את‬ ‫לבטא‬ ‫אמורות‬ ‫הן‬ ‫הנכללים‬ ‫כלכליים‬ ‫מפתח‬ ‫מדדי‬ .‫האפס‬ ‫לחלופת‬ ‫ביחס‬ ‫חלופה‬ ‫כל‬ ‫איתה‬ ‫שמביאה‬ :‫הינם‬ ‫בטבלה‬‫המשתמשים‬ ‫של‬ ‫שונים‬ ‫בחיובים‬ ‫שינויים‬ ,‫נסיעה‬ ‫בזמני‬ ‫שינויים‬ ‫תע‬ :‫כולל‬‫ולרכבים‬ ‫פרטי‬ ‫(לרכב‬ ‫הפעלה‬ ‫בהוצאות‬ ‫ושינויים‬ ,‫ואגרות‬ ‫מסים‬ ,‫ריפים‬ .)‫סחורות‬ ‫להעברת‬ ‫הינם‬ ‫הטבלה‬ ‫מרכיבי‬‫עלויות‬ ,‫הפרטי‬ ‫לסקטור‬ ‫תועלות‬ ,‫למשתמשים‬ ‫תועלות‬ : ‫סיכום‬ ,‫נקי‬ ‫ערך‬ ‫הכל‬ ‫סך‬ ,‫אחרות‬ ‫עסקיות‬ ‫השפעות‬ ,‫הפרטי‬ ‫היזם‬ ‫של‬ ‫ותקבולים‬ ‫עבו‬ ‫וסיכום‬ )‫רכבת‬ ,‫אוטובוס‬ ,‫(כביש‬ ‫אמצעי‬ ‫כל‬ ‫עבור‬.‫מטענים‬ ‫ועבור‬ ‫נוסעים‬ ‫ר‬ •( ‫הציבורי‬ ‫התקציב‬PA)–‫מ‬ ‫הציבורי‬ ‫התקציב‬‫או‬ ‫לממשלה‬ ‫הנקייה‬ ‫כעלות‬ ‫וגדר‬ ‫ושינויים‬ ‫וסובסידיות‬ ‫מענקים‬ ,‫והפעלה‬ ‫השקעה‬ ‫עלויות‬ :‫כולל‬ ,‫המקומיות‬ ‫לרשויות‬
  • 33.
    31 )‫החלופה‬ ‫שמכניסה‬ ‫התחבורתי‬‫בסקטור‬ ‫משינויים‬ ‫(כתוצאה‬ ‫ישיר‬ ‫לא‬ ‫במיסוי‬ ‫הסק‬ ‫בהם‬ ‫(במקומות‬ ‫אחרות‬ ‫והכנסות‬‫התקציב‬ ‫עלויות‬ ‫להפחתת‬ ‫תורם‬ ‫הפרטי‬ ‫טור‬ ‫טבלת‬ .)‫שלילי‬ ‫כערך‬ ‫יופיע‬ ‫הדבר‬ ‫הציבורי‬PA‫הנוכחי‬ ‫הערך‬ ‫חישוב‬ ‫לצורך‬ ‫משמשת‬ ‫לטבלת‬ ‫מוזנים‬ ‫יש‬ ‫זו‬ ‫מטבלה‬ ‫הערכים‬ .‫הציבורי‬ ‫לחשבון‬ ‫העלויות‬ ‫של‬AST. ‫הינם‬ ‫הטבלה‬ ‫מרכיבי‬,‫היזם‬ ‫תרומת‬ ,‫השקעה‬ ‫עלויות‬ ,‫הפעלה‬ ‫עלויות‬ ,‫תקבולים‬ : ‫וסו‬ ‫העברה‬ ‫תשלומי‬‫וערך‬ ‫נקייה‬ ‫השפעה‬ ,‫עקיפים‬ ‫ממיסים‬ ‫תקבולים‬ ,‫בסידיות‬ .‫עלויות‬ ‫של‬ ‫נוכחי‬ ‫טבלה‬3-( ‫ביקורת‬ ‫רשימת‬Checklist) ‫החלופה‬ ‫תיאור‬ ‫נבחנו‬ ‫אשר‬ ‫החלופות‬ ‫כל‬ ‫של‬ ‫ברור‬ ‫תאור‬ ‫רצינית‬ ‫בצורה‬ ‫נשקלו‬ ‫אכן‬ ‫חלופות‬ ‫של‬ ‫הדעת‬ ‫על‬ ‫מתקבל‬ ‫שמספר‬ ‫לכך‬ ‫הוכחה‬ ‫נ‬ ‫מקובלות‬ ‫חלופות‬ ‫של‬ ‫אמינה‬ ‫קבוצה‬ ‫פיתוח‬‫מוכות‬-‫עלות‬ ‫מסכמות‬ ‫טבלאות‬ ‫של‬ ‫מקיף‬ ‫סט‬ ‫כולל‬ ‫רגישות‬ ‫ומבחני‬ ‫תרחישים‬ ‫בחינת‬ ‫כולל‬ ‫תומכים‬ ‫ניתוחים‬ ‫כולל‬ ‫עלויות‬ ‫אומדני‬ ‫של‬ ‫סווג‬ )‫ודאות‬ ‫חוסר‬ ‫מרכיבי‬ ‫של‬ ‫הכללה‬ ‫(או‬ ‫עלויות‬ ‫של‬ ‫צפוי‬ ‫ערך‬ ‫צפויות‬ ‫עלויות‬ ‫פרופיל‬ ‫הערכה‬ ‫דוחות‬ ‫(והכללת‬ ‫הבאים‬ ‫הגופים‬ ‫עם‬ ‫התייעצות‬ ‫התקיימה‬)‫תגובותיהם‬ ‫הטבע‬ ‫להגנת‬ ‫החברה‬ ‫הסביבה‬ ‫לאיכות‬ ‫המשרד‬ ‫העתיקות‬ ‫רשות‬ ‫אחרים‬ "‫"ירוקים‬ ‫ארגונים‬ ‫סביבתית‬ ‫השפעה‬ ‫הערכה‬ ‫דרכים‬ ‫תאונות‬ ‫מדדי‬ ‫והצגת‬ ‫בטיחות‬ ‫הערכת‬ ‫כלכלית‬ ‫השפעה‬ ‫הערכה‬ ‫נגישות‬ ‫של‬ ‫השפעות‬ ‫הערכת‬ ‫אמצעים‬ ‫בין‬ ‫שילוב‬ ‫של‬ ‫השפעות‬ ‫הערכת‬ )‫(טע"מ‬ ‫מסכמת‬ ‫הערכה‬ ‫טבלת‬
  • 34.
    32 :‫תומכים‬ ‫ניתוחים‬ ‫ושוויוניות‬ ‫ההשפעה‬‫פיזור‬ ‫בת‬ ‫פיננסית‬ ‫יכולת‬-‫קיימא‬ )‫הציבור‬ ‫שיתוף‬ ‫של‬ ‫(הוכחה‬ ‫הציבור‬ ‫ושיתוף‬ ‫ישומיות‬ ‫ל‬ ‫התכנית‬ ‫במטרות‬ ‫תמיכה‬-10‫שנים‬ ‫גר"א‬ ‫של‬ ‫עבודה‬ ‫גיליונות‬ ‫סיכון‬ ‫עלות‬ ‫ניתוח‬-‫תועלת‬ ‫שמ‬ ‫ההנחות‬ ‫של‬ ‫ברור‬ ‫הסבר‬‫הכלכלית‬ ‫הבדיקה‬ ‫אחורי‬ ‫ה‬ ‫חלופת‬ ‫של‬ ‫מלא‬ ‫תאור‬-0)‫פרויקט‬ ‫(ללא‬ ‫שנכללו‬ ‫מקומיים‬ ‫מקדמים‬ ‫של‬ ‫מלא‬ ‫תאור‬ ‫ה‬ ‫חלופת‬ ‫עבור‬ ‫תנועה‬ ‫נפחי‬ ‫של‬ ‫תרשים‬-0‫הנבחרים‬ ‫המסדרונות‬ ‫עבור‬ ,‫הנבחרות‬ ‫והחלופות‬ ‫התנועה‬ ‫אזורי‬ ‫ושל‬ ‫הרשת‬ ‫של‬ ‫תרשים‬ ‫ה‬ ‫בחלופת‬ ‫שנבחנו‬ ‫הצמתים‬ ‫מספר‬ ‫אודות‬ ‫נתונים‬-0‫ל‬ ‫ובחלופות‬‫בחינה‬ ‫וצמתים‬ ‫דרך‬ ‫קטעי‬ ‫בין‬ ‫נסיעה‬ ‫בזמן‬ ‫חסכון‬ ‫תועלות‬ ‫של‬ ‫החלוקה‬ ‫אודות‬ ‫נתונים‬ ‫יום‬ ‫תקופות‬ ‫לפי‬ ‫נסיעה‬ ‫בזמן‬ ‫חסכון‬ ‫אודות‬ ‫נתונים‬ ‫אחזקה‬ ‫מדחיית‬ ‫הנובעים‬ ‫עלויות/חסכונות‬ ‫אודות‬ ‫פרטים‬ ‫ההקמה‬ ‫בתקופת‬ ‫איחורים‬ ‫אודות‬ ‫פרטים‬ ‫גבוה‬ ‫עכבות‬ ‫או‬ ‫במיוחד‬ ‫נמוכות‬ ‫מהירויות‬ ‫כולל‬ ‫המודל‬ ‫באם‬‫בצמתים‬ ‫במיוחד‬ ‫ות‬–‫הוכחה‬ ‫לקבילותם‬ ‫ה‬ ‫חלופת‬ ‫עבור‬ ‫בייחוד‬ ,‫לקיבולת‬ ‫מעבר‬ ‫תנועה‬ ‫נפחי‬ ‫של‬ ‫במיוחד‬ ‫גבוהות‬ ‫לתחזיות‬ ‫הסבר‬-0‫וכיצד‬ , ‫בהערכה‬ ‫בחשבון‬ ‫נלקחים‬ ‫הם‬ ( ‫מחוללת‬ ‫תנועה‬ ‫של‬ ‫הערכה‬Induced Traffic) ‫גיליו‬‫ן‬‫תחבורתית‬ ‫יעילות‬ ‫הערכת‬ ‫טבלת‬ ‫של‬ ‫עבודה‬ ‫סיכונים‬ ‫רשימת‬ ‫מלאה‬ ‫סיכונים‬ ‫הערכת‬
  • 35.
    33 ‫תחבורתי‬ ‫מודל‬ ‫תיקו‬ ‫דוח‬:‫כולל‬,‫המקומי‬ ‫למודל‬ ‫ף‬ ‫תנועה‬ ‫וספירות‬ ‫קיים‬ ‫מצב‬ ‫נתוני‬ ‫תנועה‬ ‫לאזורי‬ ‫וחלוקה‬ ‫במודל‬ ‫הרשת‬ ‫של‬ ‫תרשים‬ ‫תנועות‬ ‫עבור‬ ‫נסיעה‬ ‫וזמני‬ ‫נסיעה‬ ‫מסלולי‬ ,‫קטעים‬ ‫אורך‬ :‫כולל‬ ,‫הרשת‬ ‫אודות‬ ‫המידע‬ ‫תיקוף‬ ‫נבחרות‬ ‫נסיעות‬ ‫מטריצת‬ ‫תיקוף‬ ‫מ‬ ‫יותר‬ ‫בן‬ ‫והמודל‬ ‫במידה‬ ,‫הבדיקה‬ ‫לשנת‬ ‫המודל‬ ‫תיקוף‬-5‫שנים‬ ‫אחרים‬ ‫רלוונטיים‬ ‫במסדרונות‬ ‫וגם‬ ‫הנבחן‬ ‫במסדרון‬ ‫גם‬ ,‫קיימים‬ ‫תנועה‬ ‫נפחי‬ ‫של‬ ‫תרשים‬ ‫רגישות‬ ‫ומבחני‬ ‫תסריטים‬ ‫בדיקת‬ ‫ופסימיים‬ ‫אופטימיים‬ ‫תסריטים‬ ‫מתאימים‬ ‫רגישות‬ ‫מבחני‬ ‫והערכה‬ ‫ניטור‬ ‫ונשקלו‬ ‫הותוו‬ ‫והערכה‬ ‫לנטור‬ ‫תוכניות‬
  • 36.
    34 ‫צרכנים‬‫האמצעים‬ ‫כל‬‫אוטובוס‬‫אחר‬ ‫המשתמשים‬ ‫תועלות‬‫סה"כ‬‫נוסעים‬ ‫נסיעה‬‫זמן‬ ‫רכב‬ ‫כלי‬ ‫של‬ ‫הפעלה‬ ‫הוצאות‬ ‫שים‬‫המשתמ‬ ‫של‬ ‫שלומים‬‫ת‬ ‫האחזקה‬ & ‫הבנייה‬ ‫שך‬‫במ‬ ‫הצרכן‬ ‫של‬ )‫(נטו‬ ‫נקיות‬ ‫תועלות‬( 1 ) ‫עסקי‬ ‫המשתמשים‬ ‫תועלות‬ ‫רכבי‬ ‫סחורות‬ ‫משא‬ ‫ורכבי‬‫עסקיים‬ ‫רכבים‬ ‫קלים‬ ‫נוסעים‬‫מטענים‬‫נוסעים‬ ‫נסיעה‬ ‫זמן‬ ‫רכב‬ ‫כלי‬ ‫של‬ ‫הפעלה‬ ‫הוצאות‬ ‫שים‬‫המשתמ‬ ‫של‬ ‫שלומים‬‫ת‬ ‫האחזקה‬ & ‫הבנייה‬ ‫שך‬‫במ‬ ‫ביניים‬ ‫סיכום‬( 2 ) ‫הפרטי‬ ‫בסקטור‬ ‫יזם‬ ‫השפעות‬ ‫מטענים‬‫נוסעים‬ ‫תקבולים‬ ‫הפעלה‬ ‫הוצאות‬ ‫שקעה‬‫ה‬ ‫עלויות‬ ‫העברה/סובסידיה‬ ‫ביניים‬ ‫סיכום‬( 3 ) ‫אחרות‬‫עסקיות‬ ‫השפעות‬ ‫היזם‬ ‫תרומת‬( 4 ) )‫(נטו‬ ‫נקיה‬‫עסקית‬ ‫השפעה‬ ‫סה"כ‬ ‫כלכלה‬ ‫תועלות‬ ‫של‬ ‫נוכחי‬ ‫ערך‬ ‫יעילה‬ ‫תחבורתית‬ ‫שלילי‬ ‫כמספר‬ ‫מופיעות‬ ‫עלויות‬,‫חיובי‬ ‫כמספר‬ ‫מופיעות‬ ‫תועלות‬:‫הערה‬ )‫יוחלט‬ ‫עליהם‬( ‫הבסיס‬ ‫נת‬‫ש‬ ‫מחירי‬ ‫לפי‬,‫נוכחי‬ ‫לערך‬ ‫נים‬‫מהוו‬ ‫שומים‬‫הרי‬ ‫כל‬ ) 5 ( + ) 1 ( = ) 6 ( ) 4 ( + ) 3 ( + ) 2 ( = ) 5 ( ‫כביש‬‫רכבת‬ ‫קלים‬ ‫משא‬ ‫ורכבי‬‫פרטיים‬ ‫רכבים‬‫נוסעים‬ ‫טבלה‬4‫מער‬ ‫של‬ ‫כלכלית‬ ‫יעילות‬ .( ‫התחבורה‬ ‫כת‬TEE)
  • 37.
    35 ‫האמצעים‬ ‫כל‬‫אוטובוס‬‫רכבת‬‫אחר‬ ‫המקומיות‬ ‫הרשויות‬‫מימון‬‫סה"כ‬ ‫תקבולים‬ ‫הפעלה‬ ‫עלויות‬ ‫שקעה‬‫ה‬ ‫עלויות‬ ‫ואחרים‬ ‫היזם‬ ‫תרומות‬ ‫מענקים/סובסידיות‬ ‫שלומי‬‫ת‬ )‫(נטו‬ ‫נקיה‬ ‫השפעה‬( 7 ) ‫ממשלתי‬ ‫מימון‬ ‫תקבולים‬ ‫הפעלה‬ ‫עלויות‬ ‫שקעה‬‫ה‬ ‫עלויות‬ ‫ואחרים‬ ‫המפתח‬ ‫תרומות‬ ‫העברות/סובסידיות‬ ‫שלומי‬‫ת‬ ‫עקיפים‬ ‫ממיסים‬ ‫הכנסות‬ )‫(נטו‬ ‫נקיה‬ ‫השפעה‬( 8 ) )‫(ענ"ע‬ ‫העלויות‬ ‫של‬ ‫הנוכחי‬ ‫הערך‬ ‫סה"כ‬ ‫כביש‬ ‫תשתית‬ ‫שליליים‬ ‫כמספרים‬ ‫מופיעות‬'‫ואחרים‬ ‫המפתח‬ ‫תרומות‬'‫ו‬ ‫נסות‬‫והכ‬,‫חיובי‬ ‫כמספר‬ ‫מופיעות‬ ‫עלויות‬:‫הערה‬ )‫יוחלט‬ ‫עליהם‬( ‫הבסיס‬ ‫נת‬‫ש‬ ‫מחירי‬ ‫לפי‬,‫נוכחי‬ ‫לערך‬ ‫נים‬‫מהוו‬ ‫שומים‬‫הרי‬ ‫כל‬ ) 7 ( + ) 8 ( = ) 9 ( ‫טבלה‬5( ‫הציבורי‬ ‫התקציב‬ .PA)
  • 38.
    36 4.3‫עבודה‬ ‫להמשך‬ ‫המלצות‬ ‫רבת‬‫הגישה‬ ‫של‬ ‫נוספים‬ ‫מרכיבים‬ ‫לאמץ‬ ‫ויוחלט‬ ‫במידה‬-,‫נוספת‬ ‫עבודה‬ ‫במסגרת‬ ,‫מומלץ‬ ‫האמצעים‬ :‫הבאים‬ ‫בצעדים‬ ‫לנקוט‬ •.‫לישראל‬ ‫האמצעים‬ ‫רבת‬ ‫הגישה‬ ‫של‬ ‫הערכה‬ ‫וכלי‬ ‫המתודולוגיה‬ ‫התאמת‬ •‫ל‬ ‫סף‬ ‫קביעת‬‫רבת‬ ‫בגישה‬ ‫שיטופלו‬ ‫פרוייקטים‬-‫הבעיה‬ ‫היקף‬ ‫(לפי‬ ‫אמצעים‬ .)‫וכיוצ"ב‬ ‫הפרוייקט‬ ‫עלות‬ ,‫הגיאוגרפי‬ ‫האזור‬ ,‫התחבורתית‬ •‫לבחינה‬ ‫פרוזדורים‬ ‫הגדרת‬-‫אמצעים‬ ‫רבת‬ ‫גישה‬ ‫לפיתוח‬ ‫בהמשך‬ ‫שפותח‬ ‫נוסף‬ ‫נושא‬ ‫הרב‬ ‫המסדרון‬ ‫פרוייקט‬ ‫הינו‬-‫אמצעי‬(Multiumodal Corridor Project‫העוסק‬ ,) ‫ב‬ ‫הגר"א‬ ‫ביישום‬.‫לתחבורה‬ ‫אב‬ ‫ובתכניות‬ ‫תחבורתיים‬ ‫מסדרונות‬ •‫והשתתפות‬ ‫התייעצות‬–‫לנושא‬ ,‫היתר‬ ‫בין‬ ,‫קשורה‬ ‫הגר"א‬ ‫של‬ ‫הרבה‬ ‫החדשנות‬ ‫ה‬,‫בפרוייקט‬ ‫עניין‬ ‫בעלי‬ ‫של‬ ‫הרבה‬ ‫והייצוגיות‬ ‫שיתוף‬‫של‬ ‫רחבה‬ ‫הסכמה‬ ‫להבטיח‬ ‫כדי‬ ‫נוספים‬ ‫במקומות‬ ‫תאוצה‬ ‫צוברת‬ ‫זו‬ ‫מגמה‬ .‫העניין‬ ‫בעלי‬ ‫בקרב‬ .‫התכנון‬ ‫תוצרי‬ ‫בהקש‬ ,‫בעולם‬‫פורום‬ ‫של‬ ‫הקמתו‬ ‫את‬ ‫לשקול‬ ‫יש‬ ,‫זה‬ ‫בהקשר‬ .‫הערכה‬ ‫תהליכי‬ ‫של‬ ‫ר‬ ‫פורום‬ ‫להקים‬ ‫מומלץ‬ ,‫בנוסף‬ .‫התכנון‬ ‫גופי‬ ‫כל‬ ‫של‬ ‫נציגיהם‬ ‫את‬ ‫שיכלול‬ ‫תכנון‬ .‫המשתתפים‬ ‫רשימת‬ ‫ואת‬ ‫הארגוני‬ ‫מבנהו‬ ‫את‬ ‫ולקבוע‬ ‫פעולה‬ ‫ושיתוף‬ ‫התייעצות‬ •‫תומכות‬ ‫תוכנות‬–‫תומכות‬ ‫תוכנות‬ ‫ופיתוח‬ ,‫טכנולוגים‬ ‫בכלים‬ ‫שימוש‬‫לתהליך‬ .‫בעולם‬ ‫הרווחת‬ ‫מגמה‬ ‫הינה‬ ,‫ההערכה‬‫ה‬ ‫יישום‬ ‫במסגרת‬-TAG •‫משתמש‬ ‫באנגליה‬:‫הערכה‬ ‫תוכנות‬ ‫בשתי‬ ‫התחבורה‬ ‫משרד‬ -COBA–‫וניתוח‬ ‫קשיחה‬ ‫נסיעות‬ ‫מטריצת‬ ‫של‬ ‫במקרים‬ ‫לשימוש‬ ‫מתאים‬ .‫ראשיים‬ ‫כבישים‬ ‫תוכניות‬ -TUBA–‫מטריצות‬ ‫וניתוח‬ ‫גר"א‬ ‫של‬ ‫יותר‬ ‫מורכבים‬ ‫מודלים‬ ‫לניתוח‬ ‫מתאים‬ ‫מש‬ ‫נסיעות‬.‫תנה‬ •:‫בתוכנות‬ ‫משתמשים‬ ‫בארה"ב‬ -SPASM -STEAM 2.0 •)‫(פיילוט‬ ‫מקדים‬ ‫סקר‬–‫רבת‬ ‫הגישה‬ ‫של‬ ‫שילובה‬ ‫לאחר‬-‫יישומה‬ ‫וטרם‬ ‫האמצעים‬ ‫לבצע‬ ‫מומלץ‬ ,‫הגורף‬‫עקרוניות‬ ‫סוגיות‬ ‫לבירור‬ ‫פרוייקטים‬ ‫מספר‬ ‫על‬ ‫פיילוט‬ .‫לישראל‬ ‫והתאמתה‬ ‫השיטה‬ ‫לישימות‬ ‫הקשורות‬
  • 39.
    37 5‫סיכום‬ . ‫הגי‬ ‫את‬‫סקר‬ ‫זה‬ ‫עבודה‬ ‫נייר‬‫רבת‬ ‫שה‬-( ‫האמצעים‬Multimodal Approach‫בשנים‬ ‫פותחה‬ ‫אשר‬ ,) ,‫תחבורתיים‬ ‫פרויקטים‬ ‫של‬ ‫להערכה‬ ‫מובילה‬ ‫גישה‬ ‫מהווה‬ ‫הגר"א‬ .‫ובאנגליה‬ ‫בארה"ב‬ ‫האחרונות‬ ‫של‬ ‫ההתמקדות‬ .‫תחבורתיות‬ ‫בבעיות‬ ‫לטיפול‬ ‫חדשנית‬ ‫וגישה‬ ‫תכנונית‬ ‫מתודולוגיה‬ ‫גם‬ ‫ומציעה‬ ‫רבת‬ ‫הגישה‬-‫ובהערכ‬ ‫בתכנון‬ ‫הינה‬ )‫(גר"א‬ ‫האמצעים‬‫בהתייחסו‬ ‫תחבורתיים‬ ‫פרויקטים‬ ‫של‬ ‫ה‬‫ת‬ .‫הפרויקט‬ ‫באזור‬ ‫והפוטנציאליים‬ ‫הקיימים‬ ‫התחבורה‬ ‫אמצעי‬ ‫לכלל‬ ‫כוללת‬ ‫רבת‬ ‫הגישה‬ ‫של‬ ‫ספרות‬ ‫סקר‬ ‫נערך‬ ‫העבודה‬ ‫של‬ ‫הראשון‬ ‫בחלקה‬-‫התפתחות‬ ‫ונסקרו‬ ,‫האמצעים‬ ‫אפשרויות‬ ‫ונבחנו‬ ,‫לישראל‬ ‫הרלוונטים‬ ‫בנושאים‬ ‫התמקד‬ ,‫השני‬ ‫השלב‬ .‫ואנגליה‬ ‫בארה"ב‬ ‫הגר"א‬ ‫לשי‬‫הרב‬ ‫הגישה‬ ‫לוב‬-.‫החדש‬ ‫פר"ת‬ ‫נוהל‬ ‫במסגרת‬ ‫אמצעית‬ ‫באופן‬ ‫לאמץ‬ ‫אין‬ ‫פרת‬ ‫נוהל‬ ‫עדכון‬ ‫של‬ ‫ראשון‬ ‫בשלב‬ ‫כי‬ ‫נראה‬ ,‫והבריטי‬ ‫האמריקאי‬ ‫הניסיון‬ ‫סמך‬ ‫על‬ ‫בנוהל‬ ‫מיידי‬ ‫באופן‬ ‫ליישם‬ ‫ניתן‬ ‫אותם‬ ‫הבריטי‬ ‫מהנוהל‬ ‫מרכיבים‬ ‫לאמץ‬ ‫מומלץ‬ .‫הגר"א‬ ‫את‬ ‫גורף‬ ‫מדו‬ .‫לישראל‬ ‫הנדרשות‬ ‫ההתאמות‬ ‫ביצוע‬ ‫תוך‬ ,‫פר"ת‬‫פרוייקט‬ ‫כל‬ ‫במסגרת‬ ‫ליישם‬ ‫שניתן‬ ‫בכלים‬ ‫בר‬ ‫רבי‬ ‫פרוייקטים‬ ‫רק‬ ‫דווקא‬ ‫(לאו‬ ‫פר"ת‬ ‫נוהל‬ ‫העובר‬ ‫תחבורתי‬-‫ממליצים‬ ‫אנו‬ ,‫זה‬ ‫בשלב‬ .‫אמצעים‬ ‫מטרות‬ ‫קביעת‬ ,‫הממשלה‬ ‫של‬ ‫על‬ ‫מטרות‬ ‫קביעת‬ :‫הבאים‬ ‫האלמנטים‬ ‫את‬ ‫פר"ת‬ ‫בנוהל‬ ‫להטמיע‬ .)‫(טע"מ‬ ‫מסכמות‬ ‫הערכה‬ ‫בטבלאות‬ ‫ושימוש‬ ‫המקומית‬ ‫ברמה‬ ‫לפרויי‬ ‫מעבר‬‫רבת‬ ‫הגישה‬ ‫של‬ ‫נוספים‬ ‫מרכיבים‬ ‫לאמץ‬ ‫ויוחלט‬ ‫שבמידה‬ ‫מומלץ‬ ,‫הנוכחי‬ ‫קט‬- ‫לפרוייקטים‬ ‫סף‬ ‫לקביעת‬ ,‫גר"א‬ ‫להערכת‬ ‫וכלים‬ ‫מתודולוגיה‬ ‫ופיתוח‬ ‫לאימוץ‬ ‫מקום‬ ‫יש‬ ‫האמצעים‬ ‫רבי‬-,‫בנוסף‬ .‫ההערכה‬ ‫לתהליך‬ ‫תומכות‬ ‫תוכנות‬ ‫ולפיתוח‬ ‫לבחינה‬ ‫פרוזדורים‬ ‫להגדרת‬ ,‫אמצעים‬ ,‫התהליך‬ ‫ושקיפות‬ ‫פתיחות‬ ‫לצורך‬‫לפני‬ ,‫אולם‬ .‫פעולה‬ ‫ושיתוף‬ ‫להתייעצות‬ ‫פורום‬ ‫להקים‬ ‫מומלץ‬ ‫והתאמות‬ ‫עידונים‬ ‫ביצוע‬ ‫לצורך‬ ‫פרוייקטים‬ ‫מספר‬ ‫על‬ ‫פיילוט‬ ‫לבצע‬ ‫מומלץ‬ ‫הגישה‬ ‫של‬ ‫מלא‬ ‫יישום‬ .‫הצורך‬ ‫במידת‬ I:TransportationJob1065-MultimodalDoc‫אמצעים‬ ‫רבת‬ ‫גישה‬-.‫דוח‬doc